Организация автотранспортного предприятия
Министерство сельского хозяйства и продовольствия РФ
ФГОУ ВПО Ижевская государственная сельскохозяйственная академия
Кафедра трактора и автомобили
Организация Автотранспортного предприятия
Расчетно-пояснительная записка к курсовой работе
Содержание
Введение
1. Планировка автотранспортного предприятия
1.1 Факторы влияющие на планировочное решение автотранспортного
предприятия
1.2 Выбор земельного участка для автотранспортного предприятия
1.3 Планировочное решение предприятия
2. Хранение подвижного состава
2.1 Климатические условия
2.2.Выбор способа хранения подвижного состава
2.3.Выбор средств защиты двигателей автомобилей от действия низких температур окружающей среды
3. Технологический расчет предприятия
3.1 Организация работы предприятия. Схема технологического процессов
3.2 Расчет производственной программы и выбор способа производства
3.3 Расчет численности рабочих и распределение их по производственным участкам и зонам
3.4 Расчет количества ИТР и вспомогательных рабочих
3.5 Режимы производства
4. Проект разборочно-моечного участка
4.1 Характеристика объекта проектирования
4.2 Организация работы участка, схема технологического процесса
4.3 Выбор технологического оборудования
4.4 Расчет площади производственного помещения
5. Конструкторская разработка
5.1 Анализ существующих конструкций
5.2 Устройство и принцип работы
Заключение
Введение
Из года в год все возрастающими темпами сельское хозяйство оснащается техникой и сложным оборудованием. Наряду с увеличением технического ресурса машин и оборудования, поставляемых сельскому хозяйству, повышается их конструктивная сложность. В устройство современных тракторов и комбайнов входят компрессоры, гидравлические трансмиссии, гидроусилители рулевого управления, увеличители крутящего момента, электронное и другое оборудование, что в известной степени вызывает возрастание неравнопрочности конструктивных единиц и обусловливает увеличение объемов работ по техническому обслуживанию, эксплуатации и ремонту машин.
Для поддержания техники в исправном состоянии и для ее ремонта создана разветвленная сеть предприятий, имеющих необходимые здания, сооружения, оборудование и инструмент, транспорт, связь, материальные запасы, трудовые ресурсы и составляющих единое структурное подразделение — ремонтно-обслуживающую базу АПК.
1. ПЛАНИРОВКА АВТОТРАНСПОРТНОГО ПРЕДПРИЯТИЯ
Комплексный гараж строят обычно на одной территории с центральной мастерской. Он предназначен для хранения, технического обслуживания и текущего ремонта автомобилей путем замены агрегатов и несложных операций ремонта. Типовыми проектами предусмотрено строительство гаражей на 10, 25, 60, 100 и 150 автомобилей в хозяйстве или межхозяйственном предприятии. Гаражи представляют собой отапливаемые помещения с участками для технического обслуживания автомобилей, ремонта камер, аккумуляторных батарей, электрооборудования, топливной аппаратуры, бытовые и другие помещения.
1.1 Факторы влияющие на планировочное решение автотранспортного предприятия
1) Назначение
Сам принцип работы автотранспортного предприятия, предполагает как правило следующее размещение производственных зон:
|
Зона хранения |
|
Производственная зона |
|
Администрация |
2) Размеры предприятия
3) Габаритный размер и рельеф
4) Уровень грунтовых вод
5) Количество жителей в населенном пункте
Возможность кооперации с другими предприятиями по вопросам дорог, подъездных путей, энергетических сетей, водопровода, канализации и т.д.
Расположение основных транспортных магистралей
Направление развитие АТП
Автотранспортное предприятие должно качественно вписываться в архитектуру города.
1.2 Выбор земельного участка для автотранспортного предприятия
Выбор земельного участка для автотранспортного предприятия, исходя из размеров предприятия, его направленности, загруженности, оборотности и других подобных факторов.
Удмуртская республика имеет достаточно холмистую местность, и в следствии этого достаточно проблематично и затратно построить автотранспортное предприятие для большого количества автомобилей. Природно-климатические условия Удмуртии заставляют строить, достаточно крепкие, устойчивые и надежные конструкции, также это еще связано и наличием грунтовых вод.
1.3 Планировочное решение предприятия

Рис 1. План предприятия
Административное здание
Главный производственный корпус
Зона ЕО
Контрольно-пропускной пункт
Зона диагностики
Вспомогательный корпус
Площадка ожидания
Зона хранения
Зона озеленения
2. Хранение подвижного состава
2.1 Климатические условия
Удмуртская республика находится в зоне умеренного пояса, а именно в области умеренного континентального климата со значительным количеством смешанных лесов и лесостепей с достаточным увлажнением. Имеются большие колебания температур, что следовательно сильно затрудняет эксплуатацию автотранспорта. Паводковые ситуации бывают достаточно редко. В целом Удмуртскую республику можно отнести достаточно благоприятному для нормальной работы автотранспорта, при создании достаточных условий.
2.2 Выбор способа хранения подвижного состава
Существуют следующие виды хранения машин — межсменное, кратковременное и длительное. Межсменное хранение организуют при перерыве в использовании машин до десяти дней, кратковременное — от десяти дней до двух месяцев и длительное — более двух месяцев. Основные способы хранения машин — в помещении закрытого типа, под навесом, на открытых площадках, комбинированный.
В помещениях закрытого типа хранят сложные и дорогостоящие машины, а также машины, имеющие детали, изготовленные из текстильных и резинотекстильных материалов, древесины и других, легко подвергающихся порче. При таком способе хранения машины хорошо предохраняются от атмосферных воздействий, сокращаются затраты труда на выполнение операций, связанных с подготовкой машин к хранению, уменьшаются размеры складских помещений для снимаемых с машин агрегатов, узлов и деталей. Хранение на открытых площадках и под навесом также позволяет добиться надлежащей сохранности машин при соответствующей их подготовке и оборудовании мест. На открытых оборудованных площадках хранят несложные сельскохозяйственные машины (плуги, бороны, катки, грабли, культиваторы и др.).
При комбинированном способе машины стоят под навесами или на оборудованных площадках, а агрегаты, узлы и детали снимают с машин и сдают на склад. Сложные машины при этом способе хранятся в закрытых помещениях, а простые — на открытых площадках. Комбинированный способ хранения машин наиболее распространенный.
Исходя из природно-климатических условий Удмуртской республики выбираем комбинированный способ хранения автомобилей, в нашем случае это является автомобильный гараж.
2.3 Выбор средств защиты двигателей от действия низких температур окружающей среды
В связи с тем, что в зимнее время в Удмуртской республике бывают достаточно сильные и продолжительные по времени морозы, следует предпринять дополнительные меры, для запуска двигателей в холодное время. Для части автомобилей стоящих в теплом отапливаемом боксе, это не является проблемой, однако в проектируемом предприятии планируется ставить некоторое количество автомобилей под открытым небом.
Для этого планируется, организовать стационарные места постановки автомобилей, у которых будет организована устройство для подачи теплого воздуха в радиатор и масленый картер. Для это нужно соорудить либо по воздуху либо под землей систему трубопроводов.
Зона хранения
3. ТЕХНОЛОГИЧЕСКИЙ РАСЧЕТ ПРЕДПРИЯТИЯ
3.1 Организация работы предприятия. Схема технологического процесса
Так как рассчитываемое мною предприятие является комплексный гараж, а следовательно имеет сравнительную большую мощность и сфера его деятельности такова, то работа основного персонала на предприятии должна будет осуществляться оперативно, то там будут работать в две смены.
Схема технологического процесса
0100090000032a0200000200a20100000000a201000026060f003a03574d464301000000000001001ea20000000001000000180300000000000018030000010000006c0000000000000000000000350000006f00000000000000000000007d2100001615000020454d46000001001803000012000000020000000000000000000000000000007f120000771a0000c80000001f010000000000000000000000000000000f030058600400160000000c000000180000000a0000001000000000000000000000000900000010000000e9070000fb040000250000000c0000000e000080250000000c0000000e000080120000000c00000001000000520000007001000001000000a4ffffff00000000000000000000000090010000000000cc04400022430061006c00690062007200690000000000000000000000000000000000000000000000000000000000000000000000000000000000000000000000000000000000110040ae110010000000a4b1110024af110052516032a4b111009cae1100100000000cb0110088b1110024516032a4b111009cae11002000000049642f319cae1100a4b1110020000000ffffffff4c08f600d0642f31ffffffffffff0180ffff01800fff0180ffffffff000000000008000000080000d4fbcb0401000000000000005802000025000000372e9001cc00020f0502020204030204ef0200a07b20004000000000000000009f00000000000000430061006c00690062007200000000000000000064af1100dee32e31e88d0832c4b21100d0ae11009c38273108000000010000000caf11000caf1100e87825310800000034af11004c08f6006476000800000000250000000c00000001000000250000000c00000001000000250000000c00000001000000180000000c0000000000000254000000540000000000000000000000350000006f00000001000000e7298740a48e87400000000057000000010000004c000000040000000000000000000000e9070000fb0400005000000020008b973600000046000000280000001c0000004744494302000000ffffffffffffffffea070000fc040000000000004600000014000000080000004744494303000000250000000c0000000e000080250000000c0000000e0000800e000000140000000000000010000000140000000400000003010800050000000b0200000000050000000c02b8002501040000002e0118001c000000fb020200010000000000bc02000000cc0102022253797374656d0000000000000000000000000000000000000000000000000000040000002d010000040000002d01000004000000020101001c000000fb02f3ff0000000000009001000000cc0440002243616c6962726900000000000000000000000000000000000000000000000000040000002d010100040000002d010100040000002d010100050000000902000000020d000000320a0d00000001000400000000002401b80020ea0800040000002d010000040000002d010000030000000000
Рис 3. Схема техпроцесса ТР
3.2 Расчет производственной программы и выбор способа производства
1. Корректирование нормативных величин
1) Корректирование пробега до КР
>
>
>
>
тыс.км.
2) Средний пробег до КР
>
>
где А’- количество автомобилей не прошедших КР
А”- количество автомобилей прошедших КР
>
>
тыс.км.
3) Корректируем пробег до ТО-1 и ТО-2
>
>
>
>
км
>
>
>
>
км
4) Корректируем трудоемкости воздействий
>
>
чел-час
>
>
чел-час
>
>
чел-час
>
>
чел-час
>
>
чел-час
2. Годовой пробег и его определение
>
>
где α>в>- коэффициент выпуска подвижного состава, 0,6;
А – количество автомобилей
Для автомобилей МАЗ-5551
>
>
км
Для автомобилей ЗИЛ-4514
>
>
км
3. Определение количества ТО
Для автомобилей МАЗ-5551
Определение количества КР
>
>
Определение количества ТО-2
>
>
Определение количества ТО-1
>
>
Определение количества ЕО
>
>
Определение количества СО
N>co>=2A=2*40=80
Для автомобилей ЗИЛ-4514
Определение количества КР
>
>
Определение количества ТО-2
>
>
Определение количества ТО-1
>
>
Определение количества ЕО
>
>
Определение количества СО
N>co>=2A=2*80=160
4. Определение сменных программ по ТО
Для автомобилей МАЗ-5551
Определение сменных программ по ТО-2
>
>
обсл/см
Определение сменных программ по ТО-1
>
>
обсл/см
Определение сменных программ по ЕО
>
>
обсл/см
Для автомобилей ЗИЛ-4514
Определение сменных программ по ТО-2
>
>
обсл/см
Определение сменных программ по ТО-1
>
>
обсл/см
Определение сменных программ по ЕО
>
>
обсл/см
5. Определение трудоемкости
Для автомобилей МАЗ-5551
Определение трудоемкости ТО-2
>
>
чел-час
Определение трудоемкости ТО-1
>
>
чел-час
Определение трудоемкости ЕО
>
>
чел-час
Определение трудоемкости СО
>
>
чел-час
Определение трудоемкости ТР
>
>
чел-час
>
>
чел-час
Для автомобилей ЗИЛ-4514
Определение трудоемкости ТО-2
>
>
чел-час
Определение трудоемкости ТО-1
>
>
чел-час
Определение трудоемкости ЕО
>
>
чел-час
Определение трудоемкости СО
>
>
чел-час
Определение трудоемкости ТР
>
>
чел-час
>
>
чел-час
3.3 Расчет численности рабочих и распределение их по производственным зонам и участкам
>
>Распределение
по производственным зонам и участкам
Зона ЕО:Т>ЕО>= 62546
Зона ТО-1:Т>1>+(5-10%)Т>тр>=28047+6303=34350
Зона ТО-2:Т>со>+Т>2>+20%Т>тр>=1752+34638+0,02*126065=38911
Зона ТР:0,7*Т>тр>=0,7*126065=88245
Расчет численности рабочих по зонам
Зона ЕО:>
>
>
>>
>
Зона ТО-1:>
>
>
>>
>
Зона ТО-2:>
>
>
>>
>
Зона ТР:>
>
>
>>
>
3.4 Режим производства
Работа на проектируемом нами автотранспортом предприятии бут проводится в две смены. Изобразим схематически работу основных производственных зон по сменам.

Рис 4. Схема режима производства
4. ПРОЕКТ РАЗБОРОЧНО-МОЕЧНОГО УЧАСТКА
4.1 Характеристика объекта проектирования
В разборочно-моечных цехах (отделениях) выполняют наружную очистку объектов, разборку на сборочные единицы и детали, очистку сборочных единиц и деталей, дефекацию деталей, а на крупных предприятиях — и централизованное приготовление моющих растворов.
Структура разборочно-моечных подразделений ремонтных предприятий во многом определяется номенклатурой и программой предприятия, его специализацией и типом производства. Обычно, чтобы точнее определить структуру цеха (отделения), составляют схему технологического процесса разборочно-моечных работ, выполняемых в данном подразделении.
4.2 Организация работы участка, схема технологического процесса
Варианты схем технологических процессов разборочно-сборочных и моечно-очистительных работ при ремонте изображены на рисунках 5 и 6
С помощью таких схем определяют число и названия участков и рабочих мест, рассчитывают необходимое оборудование и в соответствии со схемой технологического процесса занимаются расстановкой оборудования по рабочим местам на участках.
Оборудование общего назначения расстанавливают с учетом норм расстояний между оборудованием и элементами зданий, между отдельными видами оборудования, а также с учетом ширины внутрицеховых проездов и проходов.

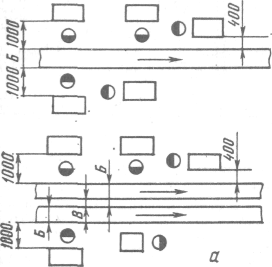
Рис. 5. Схема расстановки моечного оборудования:
а — расстояние между колонной и тыльной стороной моечной машины; б- расстояние между колонной и моечной машиной со стороны ее обслуживания и между моечной машиной и выварочной ванной; в — расстояния между колонной и выварочной ванной и между выварочными ваннами; г — расстояние между колонной и установкой для очистки деталей в расплаве солей.
4.3 Планировка и выбор технологического оборудования
Пример планировки участка разборки головок цилиндров тракторных двигателей показан на рисунке 8. С рабочего места подразборки двигателя головка по рольгангу 1 поступает на универсальный стенд 2 для разборки головок цилиндров, где детали с нагаром и накипью очищают в установке типа ОМ-4944, где эти загрязнения удаляют в расплаве солей. Мелкие детали и метизы укладывают в сетчатую тару и при помощи электротали 4 по монорельсу отправляют на очистку и промывают ну установке типа ОМ-6068.
Блок цилиндров подают в ванну 3 для удаления накипи, а затем в установку 5, где удаляют нагар косточковой крошкой или другим способом.

Рис. 8. Схема техпроцесса участка разборки и очистки головки цилиндров двигателей:
1 —секция рольганга; 2 — стенд для разборки головки цилиндров; 3 — ванна для выварки головки цилиндров; 4 — электроталь на монорельсе; 5 — установка для очистки деталей косточковой крошкой.
4.4 Расчет пощади производственного помещения


Рис. 6. Схема расстановки верстаков и монтажных столов относительно транспортных устройств:
а — рольганг или напольный конвейер; б— подвесной конвейер или монорельс с электроталью.

Рис. 7. Схемы расстановки моечного оборудования и разборочных стендов (сборочных):
а — расстояния между колонной, ванной для очистки в препарате АМ-15 и между ваннами по фронту: б — расстояния между колонной, разборочно-сборочным стендом и между стендами, расположенными «в затылок» или по фронту.
5. Конструкторская разработка
Стенд для съема рессор
5.1 Анализ существующих конструкции
Конструкции данного типа сложно осуществить ввиду, того что работы данного типа проводятся достаточно редко, и операции по его выполнению достаточно просты и не требую так токовой автоматизации. Что действительно принципиально необходимо для выполнения данных типов работ это универсальный подъемник. Вследствие этого фактора, так такового принципиально анализа по существующим данного типа конструкциям провести не возможно, поэтому можно предложить конструкцию такого типа подъемника, при котором можно было бы упросить некоторые операции.
5.2 Устройство и принцип работы
Предлагаемый мною стенд работает в паре с подъемником общего назначения предназначенный для полного подъема автомобиля за остов. Затем к той ступице у которой будет сниматься рессора подкатывается стенд на колесиках им поддамкрачивают переднюю балку или задний мост, заем болтовертом откручиваю стремянки, выбивают пальцы и немного при отпуская ось колеса вытягиваю рессору с помощью устройства на стенде.

0100090000032a0200000200a20100000000a201000026060f003a03574d464301000000000001001ea20000000001000000180300000000000018030000010000006c0000000000000000000000350000006f00000000000000000000007d2100001615000020454d46000001001803000012000000020000000000000000000000000000007f120000771a0000c80000001f010000000000000000000000000000000f030058600400160000000c000000180000000a0000001000000000000000000000000900000010000000e9070000fb040000250000000c0000000e000080250000000c0000000e000080120000000c00000001000000520000007001000001000000a4ffffff00000000000000000000000090010000000000cc04400022430061006c00690062007200690000000000000000000000000000000000000000000000000000000000000000000000000000000000000000000000000000000000110040ae110010000000a4b1110024af110052516032a4b111009cae1100100000000cb0110088b1110024516032a4b111009cae11002000000049642f319cae1100a4b1110020000000ffffffff4c08f600d0642f31ffffffffffff0180ffff01800fff0180ffffffff000000000008000000080000d4fbcb0401000000000000005802000025000000372e9001cc00020f0502020204030204ef0200a07b20004000000000000000009f00000000000000430061006c00690062007200000000000000000064af1100dee32e31e88d0832c4b21100d0ae11009c38273108000000010000000caf11000caf1100e87825310800000034af11004c08f6006476000800000000250000000c00000001000000250000000c00000001000000250000000c00000001000000180000000c0000000000000254000000540000000000000000000000350000006f00000001000000e7298740a48e87400000000057000000010000004c000000040000000000000000000000e9070000fb0400005000000020008b973600000046000000280000001c0000004744494302000000ffffffffffffffffea070000fc040000000000004600000014000000080000004744494303000000250000000c0000000e000080250000000c0000000e0000800e000000140000000000000010000000140000000400000003010800050000000b0200000000050000000c02b8002501040000002e0118001c000000fb020200010000000000bc02000000cc0102022253797374656d0000000000000000000000000000000000000000000000000000040000002d010000040000002d01000004000000020101001c000000fb02f3ff0000000000009001000000cc0440002243616c6962726900000000000000000000000000000000000000000000000000040000002d010100040000002d010100040000002d010100050000000902000000020d000000320a0d00000001000400000000002401b80020ea0800040000002d010000040000002d010000030000000000
Рис 9. Схематическое устройство проектируемого стенда
ЗАКЛЮЧЕНИЕ
Транспорт является отраслью народного хозяйства, включающей как материально-техническую базу перевозок, так и сам процесс перевозок. В отличие от других отраслей материального производства транспорт не создает новых продуктов «Люди и товары едут вместе с определенным средством транспорта, и движение последнего, его перемещение и есть тот процесс производства, который оно создает».
Использование транспорта в сельском хозяйстве имеет свои особенности. Ряд факторов усложняет высокопроизводительную роль транспортных средств. Это — большое разнообразие перевозимых грузов, неравномерность грузопотоков в течение года, плохие дорожные условия, зависимость от погодных условий и др.
Отмеченные факторы являются основными причинами, снижающими производительность автопарка сельскохозяйственных предприятий. Поэтому технические, технологические, организационные и экономические вопросы сельскохозяйственного транспорта должны находиться в центре внимания специалистов и руководящих работников сельскохозяйственных предприятий.