Источники искусственного освещения (работа 2)
СОДЕРЖАНИЕ
Введение
1. Виды искусственного освещения
2 Функциональное назначение искусственного освещения
3 Источники искусственного освещения. Лампы накаливания
3.1Типы ламп накаливания
3.2 Конструкция лампы накаливания
3.3 Преимущества и недостатки ламп накаливания
4. Газоразрядные лампы. Общая характеристика. Область применения. Виды
4.1 Натриевая газоразрядная лампа
4.2 Люминесцентная лампа
4.3 Ртутная газоразрядная лампа
Список литературы
Введение
Назначение искусственного освещения – создать благоприятные условия видимости, сохранить хорошее самочувствие человека и уменьшить утомляемость глаз. При искусственном освещении все предметы выглядят иначе, чем при дневном свете. Это происходит потому, что изменяется положение, спектральный состав и интенсивность источников излучения.
История искусственного освещения началась тогда, когда человек стал использовать огонь. Костер, факел и лучина стали первыми искусственными источниками света. Затем появились масляные лампы и свечи. В начале XIX века научились выделять газ и очищенные нефтепродукты, появилась керосиновая лампа , которая используется по сегодняшний день.
При зажигании фитиля возникает светящееся пламя. Пламя испускает свет только тогда, когда твердое тело нагревается этим пламенем. Не горение порождает свет, а лишь вещества, доведенные до раскаленного состояния, излучают свет. В пламени свет излучают раскаленные частички сажи. В этом можно убедиться, если поместить стекло над пламенем свечи или керосиновой лампы.
На улицах Москвы и Петербурга осветительные масляные фонари появилось в 30-х годах XVIII века. Затем масло заменили спиртово-скипидарной смесью. Позднее, в качестве горючего вещества, стали использовать керосин и, наконец, светильный газ, который получали искусственным путем. Световая отдача таких источников была очень мала из-за низкой цветовой температуры пламени. Она не превышала 2000К.
По цветовой температуре искусственный свет сильно отличается от дневного, и это различие давно было замечено по изменению цвета предметов при переходе от дневного к вечернему искусственному освещению. В первую очередь было замечено изменение цвета одежды. В ХХ веке с широким распространением электрического освещения изменение цвета при переходе к искусственному освещению уменьшилось, но не исчезло.
Сегодня редкий человек знает о заводах, производивших светильный газ. Газ получали при нагревании каменного угля в ретортах. Реторты – это большие металлические или глиняные полые сосуды, которые наполняли углем и нагревали в печи. Выделившийся газ очищали и собирали в сооружениях для хранения светильного газа – газгольдерах.
Более ста лет назад, в 1838 году, «Общество освещения газом Санкт-Петербурга» построило первый газовый завод. К концу XIX века почти во всех крупных городах России появились газгольдеры. Газом освещали улицы, железнодорожные станции, предприятия, театры и жилые дома. В Киеве инженером А.Е.Струве газовое освещение было устроено в 1872году.
Создание электрогенераторов постоянного тока с приводом от паровой машины позволило широко использовать возможности электричества. В первую очередь изобретатели позаботились об источниках света и обратили внимание на свойства электрической дуги, которую впервые наблюдал Василий Владимирович Петров в 1802 году. Ослепительно яркий свет позволял надеяться, что люди смогут отказаться от свечей, лучины, керосиновой лампы и даже газовых фонарей.
В дуговых светильниках приходилось постоянно пододвигать поставленные «носами» друг к другу электроды – они достаточно быстро выгорали. Сначала их сдвигали вручную, затем появились десятки регуляторов, самым простым из которых был регулятор Аршро. Светильник состоял из неподвижного положительного электрода, закрепленного на кронштейне, и подвижного отрицательного, соединенного с регулятором. Регулятор состоял из катушки и блока с грузом.
При включении светильника через катушку протекал ток, сердечник втягивался в катушку и отводил отрицательный электрод от положительного. Дуга поджигалась автоматически. При уменьшении тока втягивающее усилие катушки уменьшалось и отрицательный электрод поднимался под действием груза. Широкого распространения эта и другие системы не получили из-за низкой надежности.
В 1875 году Павел Николаевич Яблочков предложил надежное и простое решение. Он расположил угольные электроды параллельно, разделив их изолирующим слоем. Изобретение имело колоссальный успех, и «свеча Яблочкова» или «Русский свет» нашел широкое распространение в Европе.
Искусственное освещение предусматривается в помещениях, в которых недостаточно естественного света, или для освещения помещения в часы суток, когда естественная освещенность отсутствует.
1.Виды искусственного освещения
Искусственное освещение может быть общим (все производственные помещения освещаются однотипными светильниками, равномерно расположенными над освещаемой поверхностью и снабженными лампами одинаковой мощности) и комбинированным (к общему освещению добавляется местное освещение работах мест светильниками, находящимися у аппарата, станка, приборов и т. д.). Использование только местного освещения недопустимо, так как резкий контраст между ярко освещенными и неосвещенными участками утомляет глаза, замедляет процесс работы и может послужить причиной несчастных случаев аварий.
2.Функциональное назначение искусственного освещения
По функциональному назначению искусственное освещение подразделяется на рабочее, дежурное, аварийное.
Рабочее освещение обязательно во всех помещениях и на освещаемых территориях для обеспечения нормальной работы людей и движения транспорта.
Дежурное освещение включается во вне рабочее время.
Аварийное освещение предусматривается для обеспечения минимальной освещенности в производственном помещении на случай внезапного отключения рабочего освещения.
В современных многопролетных одноэтажных зданиях без световых фонарей с одним боковым остеклением в дневное время суток применяют одновременно естественное и искусственное освещение (совмещенное освещение). Важно, чтобы оба вида освещения гармонировали одно с другим. Для искусственного освещения в этом случае целесообразно использовать люминесцентные лампы.
3. Источники искусственного освещения. Лампы накаливания.
В современных осветительных установках, предназначенных для освещения производственных помещений, в качестве источников света применяют лампы накаливания, галогенные и газоразрядные.
Лампа накаливания— электрический источник света, светящимся телом которого служит так называемое тело накала (тело накал- проводник, нагреваемый протеканием электрического тока до высокой температуры). В качестве материала для изготовления тела накала в настоящее время применяется практически исключительно вольфрам и сплавы на его основе. В конце XIX - первой половине XX в. Тело накала изготавливалось из более доступного и простого в обработке материала — углеродного волокна.
3.1 Типы ламп накаливания
Промышленность выпускает различные типы ламп накаливания:
вакуумные, газонаполненные (наполнитель смесь аргона и азота), биспиральные, с криптоновым наполнением .
3.2 Конструкция лампы накала

Рис.1 Лампа накаливания
Конструкция современной лампы. На схеме: 1 - колба; 2 - полость колбы (вакуумированная или наполненная газом); 3 - тело накала; 4, 5 - электроды (токовые вводы); 6 - крючки-держатели тела накала; 7 - ножка лампы; 8 - внешнее звено токоввода, предохранитель; 9 - корпус цоколя; 10 - изолятор цоколя (стекло); 11 - контакт донышка цоколя.
Конструкции лампы накала весьма разнообразны и зависят от назначения конкретного вида ламп. Однако общими для всех ламп накала являются следующие элементы: тело накала, колба, токовводы. В зависимости от особенностей конкретного типа лампы могут применяться держатели тела накала различной конструкции; лампы могут изготавливаться бесцокольными или с цоколями различных типов, иметь дополнительную внешнюю колбу и иные дополнительные конструктивные элементы.
3.3 Преимущества и недостатки ламп накаливания
Преимущества:
-малая стоимость
-небольшие размеры
-ненужность пускорегулирующей аппаратуры
-при включении они зажигаются практически мгновенно
-отсутствие токсичных компонентов и как следствие отсутствие необходимости в инфраструктуре по сбору и утилизации
-возможность работы как на постоянном токе (любой полярности), так и на переменном
-возможность изготовления ламп на самое разное напряжение (от долей вольта до сотен вольт)
-отсутствие мерцания и гудения при работе на переменном токе
-непрерывный спектр излучения
-устойчивость к электромагнитному импульсу
-возможность использования регуляторов яркости
-нормальная работа при низкой температуре окружающей среды
Недостатки:
-низкая световая отдача
-относительно малый срок службы
-резкая зависимость световой отдачи и срока службы от напряжения
-цветовая температура лежит только в пределах 2300—2900 K, что придаёт свету желтоватый оттенок
-лампы накаливания представляют пожарную опасность. Через 30 минут после включения ламп накаливания температура наружной поверхности достигает в зависимости от мощности следующих величин: 40 Вт — 145°C, 75 Вт — 250°C, 100 Вт — 290°C, 200 Вт — 330°C. При соприкосновении ламп с текстильными материалами их колба нагревается еще сильнее. Солома, касающаяся поверхности лампы мощностью 60 Вт, вспыхивает примерно через 67 минут.
-световой коэффициент полезного действия ламп накаливания, определяемый как отношение мощности лучей видимого спектра к мощности потребляемой от электрической сети, весьма мал и не превышает 4%
4. Газоразрядные лампы. Общая характеристика. Область применения. Виды
В последнее время принято называть газоразрядные лампы разрядными лампами. Подразделяются на разрядные лампы высокого и низкого давления. Подавляющее большинство разрядных ламп работают в парах ртути. Обладают высокой эффективностью преобразования электрической энергии в световую. Эффективность измеряется отношении люмен/Ватт.
Разрядные источники света (газоразрядные лампы) постепенно вытесняют привычные ранее лампы накаливания, однако недостатками остаются линейчатый спектр излучения, утомляемость от мерцания света, шум пускорегулирующей аппаратуры (ПРА), вредность паров ртути в случае попадания в помещение при разрушении колбы, невозможность мгновенного перезажигания для ламп высокого давления.
В условиях продолжающегося роста цен на энергоносители и удорожания осветительной арматуры, ламп и комплектующих все более насущной становится потребность во внедрении технологий, позволяющих сократить непроизводственные затраты.
Общая характеристика газоразрядных ламп
-Срок службы от 3000 часов до 20000.
-Эффективность от 40 до 150 лм/Вт.
-Цвет излучения: тепло-белый (3000 K) или нейтрально-белый (4200 K)
-Цветопередача: хорошая (3000 K: Ra>80) , отличная (4200 K: Ra>90)
-Компактные размеры излучающей дуги, позволяют создавать световые пучки высокой интенсивности
Области применения газоразрядных ламп.
-Магазины и витрины, офисы и общественные места
-Декоративное наружное освещение: освещение зданий и пешеходных зон
-Художественное освещение театров, кино и эстрады (профессиональное световое оборудование)
Виды газоразрядных ламп.
Наибольшей эффективностью, на сегодняшний день, обладают лампы разрядные в парах натрия. Кроме этого вида разрядных ламп широко распространены люминесцентные лампы (разрядные лампы низкого давления), металлогалогенные лампы, дуговые ртутные люминесцентные лампы. Меньше распространены лампы в парах ксенона.
4.1 Натриевая газоразрядная лампа
Натриевая газоразрядная лампа (НЛ) - электрический источник света, светящимся телом которого служит газовый разряд в парах натрия. Поэтому преобладающим в спектре таких ламп является резонансное излучение натрия; лампы дают яркий оранжево-жёлтый свет. Эта специфическая особенность НЛ (монохроматичность излучения) вызывает при освещении ими неудовлетворительное качество цветопередачи. Из-за особенностей спектра НЛ применяются в основном для уличного освещения, утилитарного, архитектурного и декоративного. Применение НЛ для освещения производственных и общественных зданий крайне ограничено и обуславливается, как правило, требованиями эстетического характера.
В зависимости от величины парциального давления паров натрия лампы подразделяют на натриевые лампы низкого давления (НЛНД) и натриевые лампы высокого давления (НЛВД)
Исторически первыми из натриевых ламп были созданы натриевые лампы низкого давления (НЛНД). В 1930-х гг. этот вид источников света стал широко распространяться в Европе. В СССР велись эксперименты по освоению производства НЛНД, существовали даже модели, выпускавшиеся серийно, однако внедрение их в практику общего освещения прервалось из-за освоения более технологичных ламп ДРЛ, которые, в свою очередь, стали вытесняться НЛВД.
НЛНД отличаются рядом особенностей, существенно затрудняющих как их производство, так и эксплуатацию. Во-первых, пары натрия при высокой температуре дуги весьма агрессивно воздействуют на стекло колбы, разрушая его. Из-за этого горелки НЛНД обычно выполняются из боросиликатных стёкол. Во-вторых, эффективность НЛНД сильно зависит от температуры окружающей среды. Для обеспечения приемлемого температурного режима горелки последняя помещается во внешнюю стеклянную колбу, играющую роль «термоса».
Создание натриевых ламп высокого давления (НЛВД) потребовало иного решения проблемы защиты материала горелки от воздействия паров натрия: была разработана технология изготовления трубчатых горелок из оксида алюминия A>l2>O>3>. Такая керамическая горелка из термически и химически устойчивого и хорошо пропускающего свет материала помещается во внешнюю колбу из термостойкого стекла. Полость внешней колбы вакуумируется и тщательно дегазируется. Последнее необходимо для поддержания нормального температурного режима работы горелки и защиты ниобиевых токовых вводов от воздействия атмосферных газов.
Горелка НЛВД наполняется буферным газом, в качестве которого служат газовые смеси различного состава, а также в них дозируется амальгама натрия (сплав с ртутью). Существуют НЛВД «с улучшенными экологическими свойствами» — безртутные.
4.2 Люминесцентная лампа
Люминесцентная лампа — газоразрядный источник света, световой поток которого определяется в основном свечением люминофоров под воздействием ультрафиолетового излучения разряда; видимое свечение разряда не превышает нескольких процентов.
Люминесцентные лампы широко применяются для общего освещения, при этом их световая отдача в несколько раз больше, чем у ламп накаливания того же назначения. Срок службы люминесцентных ламп может до 20 раз превышать срок службы ламп накаливания при условии обеспечения достаточного качества электропитания, балласта и соблюдения ограничений по числу коммутаций, в противном случае быстро выходят из строя. Наиболее распространённой разновидностью подобных источников является ртутная люминесцентная лампа. Она представляет собой стеклянную трубку, заполненную парами ртути, с нанесённым на внутреннюю поверхность слоем люминофора.
Люминесцентные лампы — наиболее распространённый и экономичный источник света для создания рассеянного освещения в помещениях общественных зданий: офисах, школах, учебных и проектных институтах, больницах, магазинах, банках, предприятиях. С появлением современных компактных люминесцентных ламп, предназначенных для установки в обычные патроны E27 или E14 вместо ламп накаливания, они стали завоёвывать популярность и в быту. Применение электронных пускорегулирующих устройств (балластов) вместо традиционных электромагнитных позволяет улучшить характеристики люминесцентных ламп — избавиться от мерцания и гула, ещё больше увеличить экономичность, повысить компактность.
4.3 Ртутная газоразрядная лампа
Ртутные газоразрядные лампы представляют собой электрический источник света, в котором для генерации оптического излучения используется газовый разряд в парах ртути. Для наименования всех видов таких источников света в отечественной светотехнике используется термин "разрядная лампа", включенный в состав Международного светотехнического словаря, утверждённого Международной комиссией по освещению.
В зависимости от давления наполнения различают разрядные лампы низкого давления (РЛНД),разрядные лампы высокого давления (РЛВД) и разрядные лампы сверхвысокого давления (РЛСВД).
К разрядным лампам низкого давления относят ртутные лампы с величиной парциального давления паров ртути в установившемся режиме менее 100 Па. Для разрядных ламп низкого давления эта величина составляет порядка 100 кПа, а для разрядных ламп сверхвысокого давления - 1 МПа и более.
Для общего освещения цехов, улиц, промышленных предприятий и других объектов, не предъявляющих высоких требований к качеству цветопередачи, применяются разрядные лампы высокого давления типа ДРЛ.
ДРЛ (Дуговая Ртутная Люминофорная) - принятое в отечественной светотехнике обозначение РЛВД, в которых для исправления цветности светового потока, направленного на улучшение цветопередачи, используется излучение люминофора, нанесённого на внутреннюю поверхность колбы.
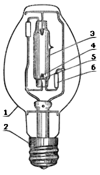
Устройство лампы ДРЛ
Первые лампы ДРЛ изготовлялись двухэлектродными. Для зажигания таких ламп требовался источник высоковольтных импульсов. В качестве него применялось устройство ПУРЛ-220 (Пусковое Устройство Ртутных Ламп на напряжение 220 В). Электроника тех времен не позволяла создать достаточно надёжных зажигающих устройств, а в состав ПУРЛ входил газовый разрядник, имевший срок службы меньший, чем у самой лампы. Поэтому в 1970-х гг. промышленность постепенно прекратила выпуск двухэлектродных ламп. На смену им пришли четырёхэлектродные, не требующие внешних зажигающих устройств.
Для согласования электрических параметров лампы и источника электропитания практически все виды РЛ, имеющие падающую внешнюю вольт-амперную характеристику, нуждаются в использования пускорегулирующего аппарата, в качестве которого в большинстве случаев используется дроссель, включенный последовательно с лампой.

Рис.1 Ртутная лампа высокого давления.
Четырёхэлектродная лампа ДРЛ состоит из внешней стеклянной колбы (1), снабжённой резьбовым цоколем (2). На ножке лампы смонтирована установленная на геометрической оси внешней колбы кварцевая горелка (разрядная трубка) (3), наполненная аргоном с добавкой ртути. Четырёхэлектродные лампы имеют основные электроды (4) и расположенные рядом с ними вспомогательные(зажигающие) электроды (5). Каждый зажигающий электрод соединён с находящимся в противоположном конце разрядной трубки основным электродом через токоограничвающее сопротивление (6). Вспомогательные электроды облегчают зажигание лампы и делают её работу в период пуска более стабильной.
В последнее время ряд зарубежных фирм изготавливает трёхэлектродныелампы ДРЛ, оснащённые только одним зажигающим электродом. Эта конструкция отличается только большей технологичностью в производстве, не имея никаких иных преимуществ перед четырёхэлектродными.
Принцип действия
Горелка лампы изготавливается из тугоплавкого и химически стойкого прозрачного материала (кварцевого стекла или специальной керамики) и наполняется строго дозированными порциями инертных газов. Кроме того, в горелку вводится металлическая ртуть, которая в холодной лампе имеет вид компактного шарика или оседает в виде налёта на стенках колбы и (или) электродах. Светящимся телом РЛВД является столб дугового электрического разряда.
Процесс зажигания лампы, оснащённой зажигающими электродами, выглядит следующим образом. При подаче на лампу питающего напряжения между близко расположенными основным и зажигающим электродом возникает тлеющий разряд, чему способствует малое расстояние между ними, которое существенно меньше расстояния между основными электродами, следовательно, ниже и напряжение пробоя этого промежутка. Возникновение в полости разрядной трубки достаточно большого числа носителей заряда (свободных электронов и положительных ионов) способствует пробою промежутка между основными электродами и зажиганию между ними тлеющего разряда, который практически мгновенно переходит в дуговой.
Стабилизация электрических и световых параметров лампы наступает через 10 - 15 минут после включения. В течение этого времени ток лампы существенно превосходит номинальный и ограничивается только сопротивлением пускорегулирующего аппарата. Продолжительность пускового режима сильно зависит от температуры окружающей среды - чем холоднее, тем дольше будет разгораться лампа.
Электрический разряд в горелке ртутной дуговой лампы создаёт видимое излучение голубого или фиолетового (а не белого как принято считать) цвета, а также мощное ультрафиолетовое излучение. Последнее возбуждает свечение люминофора, нанесённого на внутренней стенке внешней колбы лампы. Красноватое свечение люминофора, смешиваясь с бело-зеленоватым излучением горелки, даёт яркий свет, близкий к белому.
Изменение напряжения питающей сети в большую или меньшую сторону вызывает соответствующее изменение светового потока. Отклонение питающего напряжения на 10 - 15% допустимо и сопровождается изменением светового потока лампы на 25 - 30%. При уменьшении напряжения питания менее 80% номинального лампа может не зажечься, а горящая - погаснуть.
При горении лампа сильно нагревается. Это требует использования в световых приборах с дуговыми ртутными лампами термостойких проводов, предъявляет серьёзные требования к качеству контактов патронов. Поскольку давление в горелке горячей лампы существенно возрастает, увеличивается и напряжение её пробоя. Величина напряжения питающей сети оказывается недостаточной для зажигания горячей лампы. Поэтому перед повторным зажиганием лампа должна остыть. Этот эффект является существенным недостатком дуговых ртутных ламп высокого давления, поскольку даже весьма кратковременный перерыв электропитания гасит их, а для повторного зажигания требуется длительная пауза на остывание.
Традиционные области применения ламп ДРЛ
Освещение открытых территорий, производственных, сельскохозяйственных и складских помещений. Везде, где это связано с необходимостью большой экономии электроэнергии, эти лампы постепенно вытесняются НЛВД (освещение городов, больших строительных площадок, высоких производственных цехов и др.).
Список литературы
Безопасность жизнедеятельности. Конспект лекций. Ч. 2/ П.Г. Белов, А.Ф. Козьяков. С.В. Белов и др.; Под ред. С.В. Белова. – М.: ВАСОТ. 1993.
Безопасность жизнедеятельности/ Н.Г. Занько. Г.А. Корсаков, К. Р. Малаян и др. Под ред. О.Н. Русака. – С.-П.: Изд-во Петербургской лесотехнической академии, 1996.
Справочная книга по светотехнике / Под ред. Ю.Б. Айзенберга. М.: Энергоатомиздат, 1995.
1