Кристалоквазіхімія дефектів. Фізико-хімічні властивості легованих кристалів телуриду кадмію
Міністерство освіти і науки України
Прикарпатський університет імені Василя Стефаника
КРИСТАЛОКВАЗІХІМІЯ ДЕФЕКТІВ ФІЗИКО-ХІМІЧНІ ВЛАСТИВОСТІ ЛЕГОВАНИХ КРИСТАЛІВ ТЕЛУРИДУ КАДМІЮ
дипломна робота
м. Івано-Франківськ
2008
ЗМІСТ
Вступ 3
Моделі структур в халькогенідах кадмію і цинку 5
Характеристика областей існування структур сфалериту і в’юрциту
Кристалічна структура і антиструктура в телуриді кадмію 15
Кристалоквазіхімічний аналіз 17
Процеси легування 17
Утворення твердих розчинів 20
Обговорення результатів 21
Висновки 23
Література 24
Вступ
Актуальність вивчення поведінки домішок у телуриді кадмію обумовлена широким його використанням в оптоелектроніці, при створені модулів сонячних елементів, детекторів іонізуючого випромінювання, які працюють при кімнатній температурі [13-15].
Ширина області гомогенності в CdTe збагачена як Cd, так і Te, складає ~ 10-1 ат.%, при цьому на кожен заряджений дефект припадає 100 електрично неактивних дефектів. Переважаючими видами дефектів в телуриді кадмію, збагаченому Сd є електрично неактивні вакансії телуру, а з сторони Те – вакансії кадмію, що дає можливість припустити наявність в CdTe поряд з дефектами Френкеля дефектів Шоткі. Введення в основну матрицю телуриду кадмію як стехіометричного складу так і при нестехіометрії домішок дозволяє одержати матеріал з різною дефектною підсистемою, яка визначає тип провідності і концентрацію носіїв струму матеріалу. Так, надлишкові відносно стехіометричного складу атоми кадмію вкорінюються в міжвузля решітки і є донорами. При надлишку телуру утворюються вакансії кадмію, які є акцепторами з рівнем 0,15 еВ над валентною зоною [16].
Ряд елементів (Ga, In, Al) III групи в CdTe проявляють донорні властивості, тобто дають можливість одержати матеріал n-типу провідності [17]. Елементи VII групи, а саме хлор, утворює в телуриді кадмію малі донорні рівні і займає в кристалічній решітці позицію атомів телуру. Однак також відомо, що хлор поводить себе як акцептор, утворюючи з вакансіями кадмію комплекси (V>Cd-Cl>) [15].
В роботі на основі кристалоквазіхімічних підходів [18] запропоновані кристалоквазіхімічні моделі процесів нестехіометрії та легування телуриду кадмію хлором і утворення твердих розчинів Cd>1-x>Mn>x>Te, Cd>1-x>Zn>x>Te.
1. Моделі структур в халькогенідах кадмію і цинку
Кристалографія сполук А2В6, утворених із елементів II i VI груп періодичної системи, дещо ускладнена внаслідок того, що вони здатні кристалізуватися в різних поліморфних модифікаціях.
Цинкова обманка ZnS (сфалерит) – кубічна структура, в’юрцит – гексагональна, характеризуються тетраедричним розміщенням атомів. Крім того, вони утворюють ряд близьких за структурою політипів, які характеризуються також тетраедричним розміщенням атомів. Тип зв’язку в цих кристалах може змінюватися від чисто іонного характеру до ковалентного і змішаного [2].
Моделі структур сфалериту і в’юрциту показані на рис.1(а,б), параметри гратки в таблицях 1,2. Всі халькогеніди цинку і кадмію і в частковості CdTe, ZnTe і ZnSe кристалізуються в структурі цинкової обманки типу (В3). Структура сфалериту характеризується щільною трьохшаровою кубічною упаковкою шарів, в’юрциту - двохшаровою гексагональною. В структурі в’юрциту (В4) кристалізуються майже всі халькогеніди цинку і кадмію[2].

а) б)
Рис.1. Моделі структур: а – сфалериту, б – в’юрциту
Слід відмітити, що атомами будь-яких ідеальних щільних упаковок простір заповнюється на 74.05%. Т. чином ¼ всього простору упаковки належить пустотам [3]. Розрізняють два види пустот: пустоти оточені чотирма атомами – тетраедричні , оточені шістьма атомами – октаедричні. Щільноупакованні аніонні решітки мають одну октаедричну і дві тетраедричні порожнини. На рис.2(а,б) і 3(а,б) графічно показано розміщення цих порожнин (дефектів) в елементарній комірці сфалериту і в’юрциту. Із яких видно, що октаедричні пустоти в них не заповнені, а тетраедричні на половину. На основі розрахованої кількості розміщення атомів в елементарній комірці розрахували, що на одну комірку сфалериту припадає 4 октаедричні і 8 тетраедричних порожнин, в’юрциту – 12 тетраедричних, 6 октаедричних. Так як тетраедричні порожнини в цих структурах заповнені наполовино металом, а октаедричні не заповнені, то дефектна підсистема буде утворена тетраедричними і октаедричними кристалічними вакансіями і між вузловими атомами металу в тетраедричних порожнинах.


а) б)
Рис 2. Графічне розміщення тетраедричних порожнин (ТП) для структур: а – сфалериту, б – в’юрциту

а) б)
Рис 3. Графічне розміщення октаедричних порожнин (ОП) для структур: а – сфалериту, б – в’юрциту
Повернемося до відомої теорії структур щільної упоковки, яка дозволяє в рамках цього підходу визначити всі необхідні геометричні характеристики кристалічних структур напівпровідників А2В6. В цій теорії під кристалічною будовою розуміють послідовну шарову упаковку твердих сфер з утворенням тетра- і октапорожнин [12].
Якщо вважати структури сфалериту і в’юрциту щільноупаковані по аніону тоді необхідне виконання наступних двох умов:
топологія аніонної підрешітки співпадає з топологією кількості щільноупакованих сфер, причому катіони розміщуються тільки в тетраедричних і октаедричних міжвузлях цієї підрешітки;
потенціали міжатомної взаємодії U>мх>, U>хх> i U>мм>, відповідають нерівності (1)
U>мх>>U>хх>>U>мм> , (1)
де М – метал, Х – неметал
Із простих геометричних уявлень можна одержати сукупність величин, які характеризують тетраедр, октаедр і елементарну комірку г.ц.к. решітки. Ці величини, однозначно зв’язані з радіусом сфер будови, тобто радіусами атомів кристалічної решітки, а відповідно і з параметром решітки (а,с) для сфалериту і в’юрциту показані в таблиці 5.
Таблиця 5
Зв’язок величин, які характеризують тетраедр і октаедр в г.ц.к. решітці з радіусом атома і періодом решітки для сфалериту і в’юрциту
|
Параметр |
Позначення |
f (R) |
|
Сфалерит |
||
|
1. Радіус атома |
R |
|
|
2. Період кристалічної решітки |
a |
a = 2R2 |
|
3. Ребро тетраедра |
a>1> |
a>1 >= 2R = 0,71a |
|
4. Висота тетраедра |
h |
h = 2R2/3 = 0,578a |
|
5. Відстань від центра тетраедра до його основи |
z |
z = R/6 = 0,41R= 0,145 a |
|
6. Відстань центра тетраедра від вершини |
y>t> |
y>t>=h-z = (3/6)R = 0,433 a |
|
7. Відстань центра октаедра від вершини |
y>o> |
y>o> = R2 |
|
8. Мінімальний радіус сфери, вписаної в тетрапорожнину |
rt>min> |
rt>min> = y>t>-R = 0,225 R |
|
9. Мінімальний радіус сфери, вписаної в октапорожнину |
ro>min> |
ro>min > = y>o>- R = 0,414 R |
|
10. Максимальний радіус сфери, вписаної в тетрапорожнину |
rt>max> |
rt>max> = 0,5 R |
|
11. максимальний радіус сфер, вписаних в октапорожнину |
ro>max> |
ro>max> = 0,732 R |
|
В’юрцит |
||
|
1. Період кристалічної решітки |
a, c |
a =1/2 √2 а(куб.) c = 2/3 √3 а(куб.) |
|
2. Ребро тетраедра |
a>1> |
a>1 =>[1/3a2 + 1/4c2]1/2 |
|
3. Висота тетраедра |
h |
h = c/2 |
|
4. Відстань центра тетраедра від вершини |
y>t> |
y>t> = 2/3 h = c/3 |
|
5. Відстань центра октаедра від вершини |
y>o> |
y>o> = [1/4a2 + 3/16c2]1/2 |
|
6. Мінімальний радіус сфери, вписаної в тетрапорожнину |
rt>min> |
rt>min> = y>t >– R |
|
7. Мінімальний радіус сфери, вписаної в октапорожнину |
ro>min> |
ro>min> = y>o> - R |
|
8. Максимальний радіус сфери, вписаної в тетрапорожнину |
rt>max> |
rt>max> = rt>min √3/2> |
|
9. Максимальний радіус сфери, вписаної в октапорожнину |
ro>max> |
ro>max> = ro>min √3/2> |
Елементарний тетраедр і октаедр, утворені з щільної упаковки шарів халькогену або металу показані на рис. 4. Для сфалериту і в’юрциту кристалічна решітка складається з двох підрешіток утворених із атомів II i VI груп періодичної системи. В такій решітці виникають вже два типи тетрапорожнин (t>1,> t>2>) і два типи октапорожнин (o>1, >o>2>), які відрізняються оточенням, тому розраховували радіуси ТП і ОП в оточені телуру і металу.
Рис. 4. Елементарний тетраедр (а), октаедр (б), утворені аніонною і катіонною упаковкою шарів: Т – центр тетраедра, О – центр октаедра, а>1> – ребро тетраедра, h – висота тетраедра.
Геометричні характеристики тетра- і октапорожнин дозволяють визначити радіуси сфер (атомів) rt>min>, ro>min> (табл. 5), які в них можуть бути вписані. Існує обмеження на rt, ro, тобто радіуси вписаних сфер не можуть приймати значення, яке перевищує rt>max>, ro>max>. Їх можна визначити із порушення щільної упаковки сфер, коли вони не дотикаються одна до одної. Тоді проходить ніби збільшення ефективних розмірів сфер основної будови настільки, що, висота утвореного ними нового тетраедра h>1> буде рівна або перевищить 2R. Так як h = 2r2/3, тоді прирівнюючи h = 2R, одержимо r = r3/2. Звідси можна знайти гранично допустиме значення радіусів сфер вписаних в порожнини rt>max> і ro>max>.[12].
2. Характеристика областей існування структур сфалериту і в’юрциту
Cтруктура в’юрциту для ZnS – стійка при високих температурах. Фазовий перехід із гексагональної модифікації ZnS в кубічну проходить при температурах 1020 і 1150 0С [2]. В [4] показані поліморфні пари, зв’язані переходом під тиском, які зачіпають зміну першої координації для ZnO тиск переходу 100 кбар: низькотемпературна форма – в’юрцит, перша координація 4:4; високотемпературна форма – NaCl, перша координація 6:6. Для СdS тиск переходу 20 кбар: низькотемпературна форма – сфалерит,перша координація 4:4; високотемпературна форма – NaCl, перша координація 6:6. Зміна другої координації для CdS проходить при тиску 160-200 кбар, при низькому тиску структурний тип сфалерит; привисокому тиску в’юрцит. Для CdS структурна зміна при збільшені тиску обернена тій, яка викликається пониженням температури.
Перехід із тетраедричної до октаедричної координації супроводжується зменшенням об’єму приблизно на 20 %. Незалежно від того чи має вихідний матеріал структуру в’юрциту чи цинкової обманки, при зворотньому переході до атмосферного тиску зберігається структура цинкової обманки [2].
Можливість зв’язати тип стабільної структури А2В6 з співвідношенням іонності і ковалентності хімічного зв’язку розроблено авторами [5] (табл. 3).
Таблиця 3
Зв’язок стабільні структури А2В6 з коефіцієнтом іонності
|
А2В6 |
,% |
Стабільна структура |
(с/а) |
А2В6 |
,% |
Стабільна структура |
(с/а) |
|
ZnO |
82 |
W |
-293 |
ZnSe |
33 |
S |
+65 |
|
CdS |
45 |
W |
-103 |
CdTe |
21 |
S |
+68 |
|
CdSe |
40 |
W |
-24 |
ZnTe |
16 |
S |
+81 |
|
ZnS |
40 |
S |
+33 |
Як відомо, різниця в енергіях двох поліморфних модифікацій – в’юрцита і сфалериту, яка б мала вона не була, буде обумовлена різним вкладом іонності, про що свідчить порівняння їх констант Маделунга. Вони є мірою електростатичної взаємодії між іонами решітки, для структурного типу в’юрциту і сфалериту і рівні 1,641;1,638, яка є більшою для решітки в’юрциту [6]. Звідси можна зробити два висновки. По-перше, якщо сполуки А2В6 можуть кристалізуватися в двох модифікаціях, одна з яких метастабільна, то тоді характер зв’язку в гексагональній модифікації повинен бути більш іонним, чим у кубічній. Більший іонний характер структури в’юрциту експериментально доказаний вимірюванням ширини забороненої зони, яка для деяких сполук А2В6 виявилася дещо більшою, ніж ширина забороненої зони тих же сполук, які мають структуру сфалериту [7-9]. По-друге, в ряді сполук А2В6 з збільшенням долі іонності зв’язку () повинен спостерігатися перехід від стабільної структури сфалериту S до стабільної структури в’юрциту W (табл. 3).
Коли необхідно підкреслити зв’язок атомів в сполуках використовують для одного і того ж атома різні радіуси: ковалентні, іонні, тетраедричн і октаедричні ковалентні радіуси атомів в сполуках. Для атомів халькогенідного ряду цинку і кадмію вони приведені в таблиці 4.
Таблиця 4
Радіуси елементів в халькогенідах цинку і кадмію
|
Елементи, r, Å |
Zn |
Cd |
S |
Se |
Te |
Література |
|
Атомний, r>a> |
1,53 |
1,71 |
1,09 |
1,22 |
1,42 |
|
|
Ковалентний, r>k> |
1,25 |
1,48 |
1,02 |
1,16 |
1,36 |
|
|
Іонний, r>i> |
0,83 |
0,99 |
1,82 |
1,93 |
2,11 |
|
|
Тетраедричний, r>t> |
1,31 |
1,48 |
1,04 |
1,14 |
1,32 |
[2] |
|
Октаедричний, r>o> |
1,20 |
1,38 |
1,35 |
1,45 |
1,64 |
[10] |
3. Домішково-дефектна підсистема сфалеритної структури у легованих хлором кристалах телуриду кадмію
3.1. Домішка хлору у телуриді кадмію
Одним із найбільш перспективних матеріалів для виготовлення високочутливих неохолоджуючих детекторів іонізуючого випромінювання є компенсований хлором телурид кадмію [1].
CdTe відноситься до широкозонних напівпровідників АIIВVI для яких характерне явище самокомпенсації. Суть явища самокомпенсації полягає у нейтралізації дії введених домішок донорного чи акцепторного типу утворенням власних дефектів з протилежною дією. Це є енергетично вигідним процесом для кристала. Крім того, власні дефекти, взаємодіючи з домішками, за певних умов, можуть утворювати різного типу електрично активні і неактивні комплекси [2, 3].
Вирощений методом напрямленої кристалізації і компенсований хлором СdТе (N>Cl> ~ 1018см-3) звичайно має р-тип провідності з питомим опором ρ > 107 Ом см, концентрацією дірок р ~ 108 см-3 та холлівською рухливістю дірок µ>h> ~ 50см2-В-1с-1. Після відпалу в атмосфері насиченої пари кадмію при температурах 500 — 900 °С протягом кількох годин кристал стає низькоомним з n-типом провідності. У цьому випадку компенсація

Рис. 1. Залежність n(p>Cd>) у разі відпалу напівізолюючих зразків CdTe у парі кадмію при температурі 700 °С на протязі 3 год.
практично зникає, і концентрація вільних електронів може досягати п~ 2 І017|см-3. Згідно з фундаментальними роботами [9, 10] такий відпал приводить не тільки до збільшення п, але і до зменшення концентрації вакансій кадмію. В результаті порушуються умови компенсації. На рис. 1 наведено залежність значення n від тиску пари кадмію р>Сd>, при якому проводився відпал [11]. На основі проведених в роботі [11] досліджень зразків
n-CdTe отримано значення

~
9,6·1016
см-3, яке
добре узгоджується з величиною п.
У цьому випадку атом хлору,
замішуючи атом телуру, поводить себе
як точковий дефект, донорного типу. На
рис. 2 наведено
залежність п від
концентрації введеного хлору [СІ],
характер якої, як вказано в [12],
практично не змінюється для
різних значень р>Сd>
Це означає, що за концентрацію електронів в зоні провідності відповідає домішка хлору, а не власні дефекти у гратці кадмію. Аналогічні результати отримано і для СdTe:Iп [13] (атом індію замішує атом кадмію). Слід вимітити, що енергія Іонізації Е>D>, залежить від концентрації введеної донорної домішки та ступеня компенсації (Е>D> = Е>D> (N, К = N>A> / N>D>)) і зв'язана з енергією іонізації ізольованих донорів E>0> емпіричним співвідношенням [14].
Е>D> =
Е>0>
– α(
)1/3, (1)
α = 2,5·10-8 eВ·см. (Співвідношення (1) уточнене врахуванням крупномасштабних флуктуацій потенціалу для низьких і високих температур порівняно з шириною домішкової зони [15]). Знайдене з (1) значення Е>0> становить 0,014 еВ [І3] і є близьким до значення, отриманого на основі воднеподібної моделі.

Рис. 2. Залежність n([Cl])
Встановлено також наявність у компенсованих монокристалах СdТе:СІ
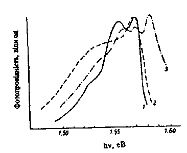
мілких акцепторних рівнів. У роботі [16] досліджували спектри поглинання (рис. 3) та фотопровідності (рис. 4) таких зразків. Різке зростання коефіцієнта поглинання α в області Е > 1,55 еВ (рис. З, криві 2 і 3) пов'язується з іонізацією акцепторів, розташованих па рівнях E>v>+ 0,04 eВ. У цій же області енергій спостерігалась інтенсивна смуга в спектрі фотопровідності (рис. 4).

Рис. 3. Спектри поглинання при 77 К: 1 – нелегований зразок; 2 – легований зразок хлором, N>Cl >~ 1018 cm-3; 3 – N>Cl >~ 1019 cm-3; 4 – зразок, легований хлором після термообробки у вакуумі при 500 °С; 5 – при 700°С

Рис. 4. Спектри фотопровідності: 1 – зразок, легований хлором, N>Cl >~ 1018 cm-3, Т = 77 К; 2 – той самий зразок після термообробки у вакуумі при 500 С; 3 – зразок легований хлором, Т = 4,2 К
Високотемпературний відпал кристалів у вакуумі протягом 24 год приводить до суттєвих змін у спектрах поглинання і фотопровідності, а саме мас місце інтенсивне поглинання в області 1,46 — 1,47 еВ з максимумом близько 1,53 eВ (рис. З, крива 4), що відповідас переходам електронів з рівнів E>v> + 0,06 еВ та E>v> + 0,12 сВ у зону провідності. Концентрація цих акцепторних центрів становить приблизно 2 1015 – 2 І016см-3 , а їх природа однозначно не з’ясована, хоча певні міркування про їх походження висловлювались в літературі |І6|.
Аналогічні висновки про енергетичне положення рівнів, що належать даним акцепторним центрам, зробили автори роботи [17], досліджуючи крайову люмінесценцію (рис. 5) нелегованих (крива 1), легованих високоомних (крива 2) та легованих низькоомних (крива 3) кристалів. Для легованих зразків спостерігається люмінесценція в області 1,55 ев.

Рис. 5. Спектри крайової люмінесценції кристалів CdTe при 4,2 К: 1 – нелегований зразок, n = 1015 cм-3; 2, 3 – зразки, леговані хлором (2 – р = 108 см-3, 3 – р = 1013 см-3)
Характер зміни положень максимумів кривих 2 і 3 із збільшенням температури відповідає переходам всередині донорно-акцепторної пари, а при Т = 25 ÷ З0 К домінує смуга, що відповідає переходам зона — акцептор (Е~ 1,56 ев). Енергетичне положення цього акцепторного рівня E>v> + 0,047 узгоджується з даними, отриманими в результаті аналізу спектрів поглинання та фотопровідності. У спектрах спеціально нелегованих та легованих хлором кристалів спостерігається смуга люмінесценції з максимумом 1,53 еВ, яку пов'язують з рівнем E>v> + 0,069 ев, що належить першому зарядовому стану вакансій кадмію.
3.2. Кристалічна модель дефектів CdTe:Cl
К
|
|
|
Рис. 1. Сфалеритна кристалічна структура напівпровідників АIIВVI: 1 – катіони А; 2 – аніони В; 3 – центри тетра- і октапорожнин. |
ристалічна гратка для сфалериту показана на рис. 1. В’юрцитну модифікацію CdTe у чистому вигляді не одержали [3]. Сфалеритна структура характеризується міжвузловими порожнини з тетраедричним і октаедричним оточенням, центри яких позначаються Т і О. Гратка кристалів телуриду кадмію складається із двох підграток утворених атомами металу і халькогену (на рис.1 вони показані відповідно чорними і світлими кружечками). В такій гратці виникає вже два види тетраедричних Т>1> і Т>2> і два види октаедричних порожнин О>1> і О>2>, які відрізняються типом оточуючих атомів. При чому октапорожнини незаповнені, а тетра – наполовину заповнені.
На рис. 2 показано можливе розміщення точкових дефектів у кристалічній гратці телуриду кадмію при легуванні його хлором з наступним відпалом в парах кадмію і телуру. Дефектна підсистема в
|
|
|
Рис.2. Дефектна кристалічна
модель CdTe:Cl: 1 – катіони А; 2 – аніони
В; 3 – центри тетра- і октапорожнин,
А –
|
кінцевому
результаті може буде утворена: донорним
дефектом заміщення
;
вакансіями у катіонній і аніонній
підгратках
,
відповідно; міжвузловим атомом кадмію
в октаедричних порожнинах аніонної
підгратки; акцепторним комплексом
;
міжвузловим атомом телуру
у тетрапорожнинах підгратки металу,
який займає вакансії кадмію з утворенням
антиструктурного дефекту
.
К
Таблиця
Радіуси атомів і порожнин у CdTe:Cl [11]-[13]
|
Елемент |
Електронна конфігурація |
r>o>>, Å> |
r>к, Å; >r>к(т), Å;> r>к(о), Å> |
r>і, Å> |
rт>к(mi>>n>>) – >rт>к(>>max>>), Å> |
rт>i>>(mi>>n>>)>> – >rт>i>>(>>max>>)>>, Å> |
ro>к(mi>>n>>)>> – >ro>к(>>max>>)>>, Å> |
ro>i>>(mi>>n>>)>> – >ro>i>>(>>max>>)>>, Å> |
|
Cd |
4d105s2 |
1,71 |
1,48; 1,48; 1,38 |
0,99(2+) |
0,333 – 0,740 |
0,222 – 0,496 |
0,612 – 1,083 |
0,410 – 0,725 |
|
Te |
4d105s25p4 |
1,42 |
1,36; 1,34; 1,64 |
2,11(2-) |
0,306 –0,680 |
0,475 –1,055 |
0,563 –0,995 |
0,874 –1,544 |
|
Cl>2> |
3s23p5 |
1,00 |
0,99; 1,06; – |
1,67(1-) |
- |
-- |
- |
- |
Міжвузловий телур у будь-якому
стані (нейтральний атом, іон) не може
бути розміщений ні в тетраедричних, ні
в октаедричних порожнинах підгратки
металу із-за значного перевищення
власних розмірів над розмірами
відповідних порожнин. Більш імовірним
є заміщення телуром кадмію з утворенням
анти структурного дефекту
,
так як їх тетраедричні ковалентні
радіуси спів розмірні (rCd>к(т) >=
1,48 Å>, >rTe>к(т) >=
1,34 Å). Геометричні співвідношення також
сприяють хлору (rCl>к(т) >= 1,06 Å)
зайняти тетравузли телуру. Можливим є
і утворення комплексу
так як відстані між центрами вакансій
кадмію і заміщеним телуру хлором у
тетрапозиції кристалічної гратки
складають всього 2,80 Å [3].
3.3. Кристалоквазіхімічні рівняння утворення дефектів
Незважаючи на проведені фундаментальні дослідження монокристалів CdTe:Cl [2, 4-6], квазіхімічного моделювання дефектної підсистеми при їх відпалі у парах кадмію і телуру, залишається невирішеною проблема визначення розміщення дефектів у кристалічній гратці. Кристалоквазіхімія, як новий науковий напрям, дає більш розширену характеристику утворення дефектів. У квазіхімії немає необхідності знати кристалічну природу дефектів [6-10]. Кристалоквазіхімія розглядає дефекти у відповідності з кристалічною будовою речовини і дає нову інформацію про їх властивості, яка відсутня в окремо взятих кристалохімії і квазіхімії [10].
В основу методу
покладено суперпозицію кристалоквазіхімічної
формули досліджуваної матриці
із кристалоквазіхімічним складом
(кластером). Кристалоквазіхімічний
склад формується шляхом накладання
антиструктури телуриду кадмію
,
яку утворюють двократно іонізовані
негативні та позитивні вакансії кадмію
і телуру з кристалохімічним складом
доданої речовини. Заряди дефектів у
кристалоквазіхімії позначають таким
чином: х – нейтральні,
– позитивні,
– негативні, кількість цих знаків
відповідає кратності іонізації, e' –
концентрація електронів, h·
– концентрація дірок.
Згідно уявлень кристалоквазіхімії [5] нестехіометричний телурид кадмію з надлишком кадмію описується такими рівняннями:

(1)
При надлишку халькогену відповідно:

(2)
Де,
і
– відхилення від стехіометрії. При
аналізі рівнянь (1), (2) видно, що електронний
тип провідності телуриду кадмію
пов’язаний із вакансіями телуру
,
які утворюються за рахунок
надстехіометричного кадмію, а дірковий
– із вакансіями кадмію
,
при надлишку телуру.
Тепер розглянемо кристалоквазіхімічний кластер легуючої домішки CdCl>2>. Згідно попереднього представлення він запишеться як:
(3)
При суперпозиції матриці CdTe n-типу (1) з кластером (3) одержимо:
(4)
Утворений
матеріал (4) характеризується переважаючою
електронною провідністю, яка обумовлена
вакансіями
у підгратці халькогену.
Суперпозиція матеріалу CdTe р-типу (2) з (3) приводить до:
(5)
Дірковий тип
провідності матеріалу (5) зберігається
за рахунок центрації вакансій
у підгратці металу.
При відпалі
CdTe:Cl у парі кадмію надлишковий, відносно
стехіометричного складу, кадмій може
утворювати вакансії телуру
,
або вкорінюватися у міжвузля гратки
[4]. Тому вплив надлишкового кадмію на
матеріал (5) проводили за механізмом
заміщення і вкорінення.
Для механізму входження кадмію у свої ж вакансії одержуємо кластер:
(6)
У випадку CdTe р-типу провідності накладання матриці (5) на кластер (6) приводить до утворення матеріалу з переважаючою електронною провідністю згідно одержаного матеріалу (7).
(7)
При вкорінені кадмію у міжвузля кластер запишеться:
(8)
Суперпозиція матриці (5) з кластером (8) дає наступний результат (9) :
(9)
При аналізі одержаних рівнянь (7) і (9) видно, що вони характеризуються переважаючою електронною провідністю, яка обумовлена появою вакансій телуру для (7) та міжвузловим кадмієм в аніонній підгратці для матриці (9).
Використанні
позначення грецькими буквами:
у методі кристалоквазіхімії означають
відхилення від стехіометрії або мольні
частки тієї речовини, яку додають у
процесі дослідження.
При відпалі
р-CdTe:Cl при низьких тисках пари кадмію,
а саме у парі телуру, одержують матеріал
з високою концентрацією електронів за
рахунок утворення антиструктурного
дефекту
за
рівнянням:
Кристалоквазіхімічне рівняння
дефектоутворення для такого процесу
приведено нижче:
(10)
Суперпозиція матриці (5) з кластером (10) дає:
(11)
3.4 Аналіз результатів дослідження
Експериментальні результати [4-6], які визначають залежність типу провідності легованих CdCl>2 >кристалів телуриду кадмію від значення парціальних тисків компонентів, із врахуванням кристалохімічної (рис. 1, 2) і кристалоквазіхімічної (1) – (11) моделей можна пояснити наступними чином.
Початково
синтезовані кристали CdTe, які мають
р-тип ровідності [4], характеризуються
згідно (2) переважанням вакансій кадмію
– тетраедричні порожнини в оточенні
телуру (рис. 2 –дефект типу А). При
легуванні цього матеріалу CdCl>2>
акцепторний тип кристалів зберігається
за рахунок утворення додаткових вакансій
у катіонній підгратці згідно (5):
(рис. 2
– дефект типу А).
Відпал кристалів
у парах телуру (область низьких значень
парціального тиску кадмію) згідно (11)
веде до утворення антиструктурних
дефектів
(рис. 2 – дефект M). Це пов’язано із
тим, що при високих концентраціях
телуру, займаючи тетраедричне міжвузля
у кристалічній гратці, він має високу
зовнішню релаксацію і буде притягуватися
до областей, де напруги можуть бути
усунені. Ці області локалізовані у
місцях значної концентрації вакансій
кадмію
,
у яких відбувається релаксація і зсув
сусідніх атомів. Із-за утворення при
цьому значної кількості електронів

(11), відпалений CdTe:Сl у парах телуру має
значну ефективну електронну провідність.
Відпал легованих
хлором кристалів CdTe при високих
парціальних тисках парів кадмію знову
ж таки приведе до синтезу кристалів із
переважаючою електронною провідністю.
Але механізм донорної дії тут буде
зовсім інший ніж у попередньому випадку.
Так, при механізмі заміщення (7) надлишкові
електрони у кристалічній гратці CdTe
появляються за рахунок „заліковування”
вакансій кадмію:
При механізмі вкорінення (9) ці ж електрони
провідності утворюються вже у прцесі
іонізації міжвузлових атомів кадмію
(рис. 2 –дефект D).
Для області середніх парціальних тисків пари кадмію переважаючими дефектами є вакансії у катіонній підгратці згідно (2) (рис. 2 – дефект А), що і обумовлює р-тип провідності матеріалу.
Окремим цікавим питанням є
утворення комплексів (асоціатів) за
рахунок взаємодії між собою різнойменно
заряджених власних атомних дефектів
із домішковими дефектами. У нашому
випадку згідно кристалоквазіхімічних
рівнянь (4), (5), (7), (9) і (11) може утворюватися
заряджений центр типу
(рис. 2
– дефект К). Він окремо виділений у (5).
Крім того, в останній час [2], пропонується
ідеї про утворення нейтральних центрів
типу
.
В усіх випадках утворення центрів, як
заряджених, так і нейтральних, має місце
зв’язування електронів у кристалічній
гратці.
Висновки
Згідно одержаних кристалоквазіхімічних механізмів процесів не стехіометрії, легування, утворення твердих розчинів в телуриді кадмію встановлено:
При процесах нестехіометрії на боці кадмію одержуємо матеріал n-типу провідності, на боці телуру – р-типу.
Адсорбція кисню на поверхні CdTe приводить до заміщення вакансій телуру киснем з утворенням матеріалу р-типу.
Легування CdTe хлором і індієм проходить за двома механізмами заміщення і вкорінення, що дає можливість одержати матеріал р-типу при легуванні хлором та n-типу при легуванні індієм, як за механізмом заміщення так і вкорінення.
При утворені твердих розчинів CdTe-ZnTe, CdTe-K>2>Te одержують матеріал р-типу з ізовалентним заміщенням і n-типу з гетеровалентним заміщенням.
Література
А. Верма, П. Кришка. Полиморфизм и политипизм в кристаллах. «Мир». М., 1969.
Физика и химия соединений АIIBVI. «Мир». М., 1970.
Г.М. Попов., И.И. Шафрановский. Кристаллография. М., «Высшая школа», 1972.
М.Дж. Бюргер. Фазовые переходы // Кристаллография.Том 16, в.6, 1971, с.1084.
К.В. Шалимова, В.А. Дмитриев. Изменение типа стабильной структуры в ряду соединений АIIBVI // Кристаллография, Том 17, в.3, 1972, с.541.
Л. Паулинг. Природа химической связи. М. – Л., 1947.
J.S. Park, F.I. Chan, J.Appl. Phys, 36, 800,1965.
G.F. Neumark. Phus. Rev., 125.838,1962.
O. Brafman, G. Schachar, I.T. Steinberger. J.Appl. Phys. 36.668,1965.
C.А. Семилетова. Тетраедрические и октаедрические ковалентные радиусы // Кристаллография. Том 21, в.4, 1976, с.752-754.
Д.М. Фреїк, В.В. Прокопів, У.М. Писклинець, І.М. Ліщинський. Вплив технологічних факторів і легуючої домішки індію на дефектну систему і тип провідності у телуриді кадмію // Фізика і хімія твердого тіла Т.3. №1 (2002) с. 526-530.
В.Й. Фистуль. Примеси переходных металлов в полупроводниках – М.: Металлургия, 1983, с.192.
F.V. Wald. Application of CdTe. A Review // Rev Phys. Appl. 12 (12). P.277-290 (1977).
G.C. Morris, S.K. Das, P.G. Tanner. Some Factors Aftecting Efficiencies of n-CdS/p-CdTe Thin Film Solar Cells // j. Cryst. Growth. 117. P.929-934 (1992).
S. Seto, A. Tanaka, Y. Mosa, M. Kawashima. Clorine – Related Photoluminescence Lines in High-Resistivitg Cl-Doped CdTe // j. Cryst. Growth. 117. P.271-275 (1992).
С.А. Медведев, С.Н. Максимовский, К.В. Киселева, Ю.В. Клевков, Н.Н. Сентгорина. О природе точечных дефектов в нелегированом СdTe // Изв. АН СССР. Неорганические материалы, IX (3), сс. 356-360 (1973).
О.Э. Панчук, П.И. Фейчук, Л.П. Щербак, П.М. Фочук, Р.Ф. Бойчук. Распределение Ga в CdTe // Изв. АН СССР. Неорганические материалы, 21 (7), сс.1118-1120 (1985).
С.С. Лисняк. Кристаллоквазихимическая модель исследований в химии твердого тела // Изв. АН СССР. Неорганические материалы, 29 (9), сс.1913-1917 (1992).
В.Г. Яковлева. Структура и свойства соединений АIIВVI. - В сб.: Современное состояние аналитической химии полупроводниковых соединений типа АIIВVI (Тр. Моск. ин-та стали и сплавов). М.: Изд. МИСиС, с. 151 (1983).
Н.Х. Абрикосов, В.Ф. Банкина, Л.В Порецкая, Е. В. Скуднова, С.Н. Чижевская. Полупроводниковые халькогениды и сплавы на их основе. М., Наука, с.220 (1975).
В.В. Матлак, М.И. Илащук, О.А. Парфенюк, П.А. Павлин, А.В. Савицкий. Електропроводность полуизолирующего СdTe // Физика и техника полупроводников, 16 (10), сс.89-92 (1982).
К. Руманс. Структурные исследования некоторых окислов и других халькогенидов при нормальных и высоких давлениях. М.: Мир, (1969).
Д.В. Корбутяк, С.В. Мельничук, П.М. Ткачук. Домішково-дефектна структура CdTe:Cl – матеріалу для детекторів іонізуючого випромінювання // Укр. Фіз. Журн., 44 (6), сс.730-737 (1999).

