Сельскохозяйственные косилки
Содержание
классификация косилок и агротехнические требования к ним
косилки
грабли и пресс-подборщики
силосоуборочные комбайны
1. Классификация косилок и агротехнические требования к ним
Классификация косилок следующая. Косилки подразделяют по числу режущих аппаратов и назначению.
По числу режущих аппаратов косилки бывают однобрусные, двух-брусные, трехбрусные и пятибрусные.
По назначению косилки делят: на косилки для скашивания трав, на косилки-плющилки и косилки измельчители.
Агротехнические требования таковы. Косилки должны обеспечивать получение кормов без потерь и высокого качества. Они должны производить: срез естественных трав не выше 6 см и сеянных трав не выше 8 см, укладку скошенной массы в прямолинейные валки, оборачивание валков на половину оборота для просушивания нижних слоев, создавать условия для полного сбора скошенной массы кондиционной влажности.
2. Косилки
Навесная ротационная косилка КРН-2,1А используется при скашивании высокоурожайных естественных и сеянных трав. Агрегатируется косилка с тракторами МТЗ-80 и МТЗ-82.
Косилка включает в себя раму навески 8 (рис. 3.1), ротационный режущий аппарат 3, механизм уравновешивания 4, подрамник 5, гидрооборудование 7, тяговый предохранитель 9, механизм привода 10 и полевой делитель 1.
Рабочий процесс происходит следующим образом. Стебли растений срезаются пластинчатыми ножами, смонтированными шарнирно на роторах. Вращаются ножи навстречу один другому со скоростью 65 м/с. Срезают ножи растения по принципу бесподпорного среза, захватывают их и выносят из зоны резания, затем продвигают над режущим аппаратом. Эта срезанная масса, встретившись со щитком полевого делителя, изменяет траекторию движения, падает в прокос, освобождая место для прохода колес трактора при повторном заезде.
Рама навески обеспечивает присоединение косилки к навесному устройству трактора. Состоит она из главной рамы и подвески.
Главная рама выполнена сваркой и имеет оси для соединения ее с нижними тягами навесного устройства трактора. Правая сторона этой рамы оборудована осью для тягового предохранителя. Этот предохранитель после монтажа фиксируют на оси штырем и шплинтом. К раме шарнирно прикреплена подвеска, нижняя часть которой оснащена кронштейном для установки подрамника. Подвеска имеет цепь для присоединения транспортной тяги. Ротационный режущий аппарат используют для скашивания травы. Аппарат имеет панель бруса и днище, скрепленные болтами. Под днищем размещены башмаки для опоры на землю.
Режущий аппарат поворачивается в цапфах кронштейнов, что позволяет копировать неровности почвы. Оснащен режущий аппарат четырьмя одинаковыми роторами. Каждый ротор оборудован двумя ножами, которые шарнирно смонтированы на специальных болтах. Средние роторы оснащены удлиненными ножами. Правая часть режущего аппарата оборудована кронштейном для присоединения полевого делителя. Механизм уравновешивания обеспечивает: ограничение давления режущего аппарата на почву, копирование этим аппаратом неровностей поля, перевод косилки в транспортное положение. Механизм уравновешивания включает в себя гидроцилиндр, шарнирно сочлененный с рычагом. Этот рычаг при помощи тяги свободного хода присоединен к режущему аппарату.
В транспортном положении механизм уравновешивания фиксируют транспортной тягой, набрасываемой на штырь кронштейна 2 (рис. 1) и телескопическим стопорным устройством, установленным в положение транспорта. Гидрооборудование обеспечивает работу механизма уравновешивания. В гидрооборудование входит: гидроцилиндр, замедленный клапан, сапун, рукава

Рис. 1. Навесная ротационная косилка КРН-2,1А:
1 — полевой делитель; 2 — кронштейн; 3 — режущий аппарат; 4 — механизм уравновешивания; 5 — подрамник; 6 — стойка; 7 — гидрооборудование; 8 — рама навески; 9 — тяговый предохранитель; 10 - механизм привода; 11 — носок.
высокого давления и устройство, препятствующее вытеканию масла из гидросистемы при расчленении се с трактором.
Тяговый предохранитель служит для предохранения от поломок режущего аппарата при встрече с препятствием. Он имеет две тяги с клиновыми фиксаторами. В закрепленном состоянии фиксаторы удерживаются при помощи усилия, обеспечиваемого цилиндрической пружиной. Усилие по срабатыванию предохранителя регулируют гайкой.
Полевой делитель отделяет скошенную массу от нескошенного травостоя. В полевой делитель входит кронштейн, щиток делителя, пружина с чашечкой-шайбой и болт. Щиток делителя смонтирован так, что образует угол с направлением движения агрегата. В рабочем положении этот щиток удерживает пружина, допускающая отход его назад при перегрузках и возвращение в исходное положение при их преодолении.
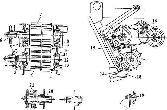
Косилка-плющилка ротационная КПРН-ЗА используется при скашивании высокоурожайных сеянных трав с одновременным плющением стеблей и укладыванием массы в валок или расстил. Машина может работать на полях с перепутанным и полеглым травостоем в агрегате с тракторами МТЗ-80, МТЗ-82, ЮМЗ-6АЛ. Привод рабочих органов косилки от ВОМ трактора.
Косилка состоит из рамы в сборе, сницы с карданной передачей, режущего аппарата, плющильных вальцов, трансмиссии и защитного устройства. Скашивание травы производит ротационный режущий аппарат. Роторы, обладая встречным вращением и имея большую окружную скорость вращения ножей, осуществляют бесподпорный срез растений. Ножи и диски роторов срезанную траву подают в зону плющильных вальцов. Дальнейшее плющение расти-тельной массы производят ребристые плющильные вальцы по всей ширине захвата. Затем эта масса направляющими валкообразующего устройства укладывается в валок. Плющить траву в сырую погоду не рекомендуется, т.к. расплющенные стебли гниют быстрее, чем нерасплющенные.
При работе косилки в «расстил» с нее снимают боковины валкообразующего устройства. Вальцы плющильные включают в себя верхний 7 (рис. 2) и нижний 2 вальцы, блок привода 21, натяжное устройство 19, цепи и механизм регулирования давления между вальцами. Нижний валец 2 прикреплен к боковинам рамы. Между фланцами 1 и 13 установлены сферические корпуса 10 с подшипниками 11, в которых размещены левая 3 и правая 12 цапфы вальца. Левая цапфа оснащена двухрядной звездочкой 4. Верхний валец при помощи кронштейнов 5 и 18 шарнирно сочленен с боковинами рамы, левая цапфа 6 оснащена звездочкой передачи вращения, а к кронштейну присоединена звездочка 16 натяжного устройства.
Ротационный режущий аппарат включает в себя основной брус, закрытый снизу днищем. К днищу прикреплены башмаки, при помощи которых режущий аппарат опирается на землю. Режущий аппарат присоединен к главной раме. Вдоль основного бруса, в верхней его части, закреплены роторы. Противоположные концы валов оснащены приводными шестернями. Промежуточные шестерни смонтированы на осях, верхние концы которых вставлены в отверстия кассеты основного бруса, а нижние - в отверстия крышки кассеты, прикрепленной к стойкам основного бруса. Режущий аппарат приводится в движение через карданную передачу.
Механизм уравновешивания служит для поддержания одинакового и постоянного давления на почву режущего аппарата. Состоит механизм из двух компенсационных пружин, блок-звездочки, тяговой цепи и натяжного болта. Тяговая цепь при помощи серьги и оси прикреплена к коробке-снице. Противоположный конец цепи присоединен к компенсационным пружинам.
Трансмиссия машины включает в себя главный редуктор, привод плющильных вальцов, промежуточный редуктор, клиноременную передачу режущего аппарата.
Валкообразующее устройство включает в себя левый и правый валкообразователи. Неподвижные части их прикреплены к боковинам и заднему брусу рамы.
Подготовка к работе. Проверяют давление масла в гидросистеме, оно должно быть не менее 9,8 МПа расставляют колеса трактора на колею 1800 мм. Присоединяют сницу машины к серьге поперечины трактора. Соединяют вилку карданной передачи с ВОМ трактора.
Натяжными устройствами 19 и 14 (рис. 2) регулируют натяжение приводных цепей. Натягивают цепи так, чтобы отвертка, вставленная в звено цепи, могла поворачиваться на угол 20—30°.
Клиноременную передачу регулируют натяжными болтами. Для этого ослабляют болты крепления корпуса редуктора к раме, передвигают редуктор вдоль овальных отверстий. Затем натяжными болтами натягивают ремни так, чтобы усилие в 3-4 кг, предложенное в середине каждого ремня, отклоняло ремень от прямой линии на 14—16 мм.
Прокладками под редуктор добиваются, чтобы ручьи шкивов располагались в одной плоскости.
В плющильных вальцах регулируют зазор между вальцами, расположение ребер верхнего и нижнего вальцов и давления между вальцами. Регулировочными винтами 15 (рис 2), регулируют зазор между вальцами. Добиваются, чтобы минимальная величина зазора между ребрами и поверхностью труб была 8 мм. При регулировке взаимного расположения ребер вальцов отсоединяют однорядную цепь привода верхнего вальца. Затем

Рис. 2. Вальцы плющильные:
1 - фланец крепления подшипника; 2 - валец нижний; 3 - цапфа привода; 4 - звездочка; 5 - кронштейн правый; б - цапфа вальца; 7 - валец верхний;
8 - болт; 9 - кронштейн левый; 10 - корпус подшипника сферический;
11 - подшипник; 12 - цапфа вальца; 13 - фланец сферический; 14 - натяжник;
15 - винт регулировочный; 16 - звездочка; 17 - цепь;
18 — кронштейн рамы крепления режущего аппарата;
19 - натяжное устройство; 20 - ось; 21 - блок-звездочка.
регулировочными винтами 15 поднимают верхний валец и располагают так, чтобы его ребра при вращении не касались ребер нижнего вальца. Проворачивают верхний валец и ставят его так, чтобы ребра верхнего вальца размещались между ребрами нижнего вальца. Соединяют цепь и натяжной звездочкой натягивают ее.
3. Грабли и пресс-подборщики
Грабли-ворошители роторные прицепные ГВР-6Б предназначены для сгребания свежескошенной или провяленной травы в валки, ворошение ее в прокосах, оборачивание, разбрасывание и сдваивания валков. Агрегатируются грабли с тракторами МТЗ-80; МТЗ-82 и ЮМЗ-6АЛ. Ширина захвата граблей при ворошении 4,5 м, при сгребании 6 м.
Грабли включают в себя: левый и правый роторы, правую и левую поперечину, сницу, растяжки, два конических и один цилиндрический редукторы, два валкообразующих щитка, карданную передачу, гидросистему, ограждение, карданный вал.
В процессе работы роторы секций совершают встречное вращение в горизонтальной плоскости.
Граблины, при помощи кулачка, оснащенного беговой дорожкой, в процессе вращения ротора занимают горизонтальное или вертикальное положение. Занимая вертикальное положение, граблины производят сгребание лежащей впереди скошенной массы и сбрасывают ее между щитками, создавая вспушенный валок. Затем граблины совершают поворот до горизонтального положения и перемещаются над валком.
Ротор включает в себя: вертикальную ось, восемь грабли, кулачок с беговой дорожной, диск, конический редуктор, шлицевую втулку и гидроцилиндр подъема. Опирается ротор на два колеса, оборудованные пневматическими шинами.
Поперечный брус выполнен в виде короба, сочленяет секции и является ограждением для карданного вала, который приводит в действие правый ротор.
Отводом назад правой секции и складыванием граблей осуществляют их перевод в транспортное положение.
Подготовка к работе заключается в следующем. Проверяют исправность роликов кривошипов штанг, проворачивают их на пальцах кривошипа. Зазор между пальцем кривошипа и роликом не должен превышать 0,2—0,3 мм. Производят смазку беговой дорожки кулачков.
Рассматривая двухступенчатый редуктор, делают проверку работоспособности механизма переключения частоты вращения, подшипников и шестерен.
Осуществляют настройку граблей. Для сгребания скошенной массы в валок или его ворошение к штангам прикрепляют граблины с тремя парами зубьев дугообразной формы, а двухступенчатый редуктор регулируют на пониженную частоту вращения. Для ворошения травы в прокосах и разбрасывания сена из валков штанги оснащают двумя парами прямых зубьев, а частоту вращения роторов повышают.
Пресс-подборщик прицепной рулонный ПРП-1,6 используют при подборе валков сена естественных или сеянных трав или соломы и прессования их в рулоны с одновременной автоматической обвязкой. Агрегатируют его с тракторами МТЗ-80/82; ЮМЗ-6Л/6М. Рабочие органы и механизмы пресс-подборщика ППР-1,6 приводятся в действие от ВОМ трактора и его гидросистемы.
Машина включает в себя: подборщик, механизм подъема подборщика, сницу, карданную передачу, колесный ход, редуктор, транспортер, гидросистему, прессующие ремни, обматывающий аппарат и прессовальную камеру.

Рис. 3. Схема рабочего процесса пресс-подборщика ПРП-1,6:
1 - подборщик; 2 - рычаг; 3 - ремень прессующий; 4 - валик;5 - задняя стенка; 6 — валик; 7 - плавающий валик; 8 — барабан;9 — питающий транспортер; 10 — опорное колесо.
Рис.4. Механизм обрезки шпагата:
1 — ось; 2 — собачка; 3 — рычаг; 4 — храповик; 5, 8 — пружины; 6 — толкатель;
7 — нож противорежущий;
9 - нож подвижной; 10 — кронштейн;
11 — улавливатель.
Р
абочий
процесс протекает так. В процессе
движения вдоль валка подборщик 1
(рис. 3) подбирает пружинными зубьями
сено и подает его на транспортер 9. Между
ремнями транспортера, ветвями
прессующих ремней 3, подвижным валиком
7 и барабаном 8 осуществляется
предварительное сжатие и уплотнение
прессуемой массы, подаваемой затем
в прессовальную.
При воздействии перемещающихся прессующих ремней, происходит петлеобразный изгиб слоя прессуемой массы, являющегося началом формирования рулона. Дальнейшее поступление прессуемой массы наращивает размер рулона, а он увеличивает размер петли. Ее увеличение происходит за счет преодоления растущим в диаметре рулоном, препятствия, создаваемого гидроцилиндрами 7 натяжного устройства. Чем больше натяжение прессующих ремней, тем выше плотность прессования. При достижении рулоном заданного размера, включается автомат обматывающего аппарата. При этом в кабину по ступает сигнал и тракторист останавливает агрегат, т.к. рулон обматывается шпагатом при остановленном агрегате. Игла, установленная над транспортером, опускается и направляет конец шпагата на транспортер. Шпагат подхватывают ремни транспортера и расположенную на них прессуемую массу. При поступлении шпагатов в прессовальную камеру игла и проворачивается передвигает шпагат вдоль рулона.
В процессе движения иглы выступ рычага 3 (рис 4.), перемещаясь по беговой дорожке храповика 4, поджимает пружину 5 и отодвигает подвижной нож 9. Проворачиванию храповика 4 препятствует подпружиненная собачка 2. Завершив обмотку рулона шпагатом, игла, поднимаясь, заводит шпагат в пространство, между противорежущим 7 и подвижным 9 ножами. В это время выступ рычага 3 сходит с боковой дорожки храповика 4 и нож при воздействии пружины 5 разрезает шпагат. После этого игла возвращается в начальное положение.
При завершении обмотки рулона шпагатом происходит высвобождение защелки, которую фиксирует клапан. Вращающийся рулон поднимает клапан вверх, а прессующие ремни сбрасывают рулон на землю. После этого гидроцилиндры возвращают рамку в первоначальное положение. Прессующие ремни при этом натягиваются, а штанги закрывают клапан. Сигнальная лампочка в кабине тракториста гаснет и процесс повторяется заново. При работе пресс-подборщика на стационаре, прутья пружины опускают на землю перед подборщиком, а масса вилами подается вручную.
Подготовка к работе включает следующие мероприятия. Перед выездом в поле подготавливают трактор, с которым будет агрегатироваться косилка. Для этого длину раскоса механизма задней навески трактора делают равной 515 мм, соединяют их продольными тягами, используя круглые отверстия в вилках раскосов. К поперечине прицепного устройства прикрепляют двумя пальцами принятую вилку. Расстояние от торца ВОМ трактора до оси отверстия прицепной вилки устанавливают равным 509 мм, а расстояние оси ВОМ до поперечины 250-300 мм.
Натягивая амортизационные пружины добиваются, чтобы копирующее колесо опиралось на почву 150—200 Н. Фрикционная предохранительная муфта, установленная на валу подборщика, должна иметь крутящий момент 180 Н.М. Натягивая прессующие ремни при помощи рамки гидроцилиндрами, регулируют плотность прессования.
Пресс-подборщик ППЛ-Ф-1,6М предназначен для подбора валков сена естественных трав или соломы, прессования их в тюки Прямоугольной формы с автоматической обвязкой тюков. Выгрузка тюков происходит при помощи лотка параллельной загрузки в рядом идущий транспортер или на поле с использованием нижнего лотка.
Состоит пресс-подборщик из главной карданной передачи, подборщика, механизма упаковщиков, лотков для параллельной погрузки тюков в транспортные средства и для выгрузки тюков в транс портные средства и для выгрузки тюков на поле, вязального аппарата, колесного хода, прессовальной камеры, поршня с шатуном, редуктора главной передачи, сницы.
Пресс-подборщик оснащен вязальным аппаратом «Диринг», карданной передачей с промежуточной опорой.
Пресс-подборщик агрегатируется с тракторами: МТЗ-100; МТЗ-80; МТЗ-82 и ЮМЗ-6АКЛ1/АКМ.
Подборщик-полуприцеп ТП-Ф-45 предназначен для подбора провяленной травы влажностью до 45 %, сена и соломы из валиков с измельчением или без него, транспортировки и механической выгрузки. Агрегатируется подборщик с тракторами: МТЗ-80; МТЗ-82.
Состоит подборщик из сварной рамы, выгрузного транспортера, подборщика, набивающего механизма, емкости, сницы, привода рабочих органов, гидравлической и тормозной систем, опоры, электрооборудования и колесного хода.
Сницу подборщика присоединяют к специальному прицепному устройству, смонтированному на тракторе.
Рабочий процесс происходит так. Из валков массу подбирает подборщик. Подобранная масса подающим механизмом набивателя подается в прессовальную камеру. В ней масса уплотняется и затем проталкивается в емкость. При оснащении прессовальной камеры подпружиненными шестнадцатью ножами в ней происходит измельчение массы. Средняя длина резки 150 мм. Для предохранения ножей от поломок они подпружинены. При необходимости режущий аппарат отключают.
Уплотненная масса при помощи транспортера проталкивается в емкость. При периодическом его включении масса равномерно размещается по всему объему кузова. Выгрузку массы производит транспортер через заднюю стенку, которую во время выгрузки поднимают вверх. Верхняя часть емкости (тент) складывается и при необходимости снимается.
Подборщик оснащен пневматическими тормозами и светосигнализацией.
Привод рабочих органов подборщика происходит от ВОМ и гидросистемы трактора.
Пресс-подборщик крупногабаритных тюков прямоугольной формы ПКТ-Ф-2,0 предназначен для подбора валков сена, естественных трав или соломы, прессования их в крупногабаритные тюки прямоугольной формы массой до 500 кг с обвязкой синтетическим шпагатом.
Состоит из рамы со сницей и колесным ходом. На раме установлены подборщик, механизм привода и подачи прессуемой массы, прессовальная камера с поршнем, иглы, аппарат для обвязки и механизмы регулирования длины тюков и плотности прессования, центральный привод, сообщающий поршню возвратно-поступательное движение с периодической остановкой его в верхней мертвой точке. Плотность прессования обеспечивается шарнирно закрепленной верхней стенкой, соединенной с гидравлической следящей системой. Длину тюка регулируют мерительным колесом.
Рабочий процесс происходит так.
Во время движения агрегата масса из валка, проходящего между колесами трактора, захватывается пружинными пальцами подборщика и подается в приемную камеру. При достижении массой в приемной камере заданной плотности в работу включается поршень. Он спрессовывает массу и пододвигает ее к задней части клиновидной прессовальной камеры. Эта камера оснащена подвижной регулируемой прижимной стенкой. После возвращения поршня в исходное положение процесс повторяется и осуществляется формирование тюка. Спрессованная масса, перемещаясь в прессовальной камере, поворачивает мерительное колесо. Это колесо при достижении тюком заданной длины включает в работу аппарат обвязки. В этом случае иглы, перемещаясь в пазах поршня, подают нити к узловязателям, где осуществляется связывание зажатых и поданных концов и захват обрезанных, предназначенных для следующего тюка.
Вновь поступающие порции спрессованной массы проталкивают обвязанный тюк к выходу из прессовальной камеры и он по лотку скатывается на землю. Привод рабочих органов осуществляется ВОМ трактора с частотой вращения 1000 об/мин.
Приспособление для погрузки и укладки тюков и рулонов ПТ-Ф-500
предназначено для подбора крупногабаритных тюков, сформированных пресс-подборщиками ПКТ-Ф-2, ППР-1,6, погрузки их в транспортные средства, а также для укладки тюков и рулонов в штабель.
Приспособление включает в себя навеску, верхний и нижний захваты с гидроцилиндрами, брус, гидравлическую арматуру, маслопровод.
Основные рабочие органы приспособления — это захваты тюков. Они удерживают тюки при погрузке и разгрузке. Состоят захваты из четырех верхних и шести нижних пальцев. Эти захваты удерживают тюк или рулон при помощи усилий гидроцилиндров. Высота формирования штабеля (в агрегате с ПФ-0,ЗБ) до 6 м.
Приспособление ПТ-Ф-500 навешивают на рамы погрузчиков ПКУ-0,8; ПФ-0,5Б, а также на навесную систему тракторов МТЗ-100; МТЗ-102; МТЗ-80 и МТЗ-82.
Прицепной прицеп — емкость специальная ПСЕ-Ф-20 предназначена для подбора измельченной массы от силосоуборочных и кормоуборочных комбайнов, косилок измельчителей и перевозки ее по дорогам общей сети и в полевых условиях.
Прицеп включает в себя шасси, платформу с основными бортами, борт-клапана, козырьки, торцевые надставки бортов, механизмы управления козырьками и открывания бортов-клапанов.
Перевозку насыпных и навалочных грузов прицеп осуществляет без надставных бортов с разгрузкой на боковые стороны, с автоматическим открыванием боковых бортов.
Прицеп ПСЕ-Ф-20 агрегатируется с тракторами: МТЗ-100; МТЗ-102, МТЗ-80; МТЗ-82.
4. Силосоуборочные комбайны
Самоходный кормоуборочный комбайн КСК-ЮОА используют при скашивании зеленых и подбора из валков провяленных сеянных и естественных трав, скашивания кукурузы, подсолнечника с одновременным измельчением и погрузкой массы в движущийся рядом транспорт.
Комбайн включает в себя самоходный измельчитель и сменные рабочие органы, в которые входят: жатка для скашивания трав, жатка для косьбы кукурузы и подсолнечника, подборщик валков и тележка для транспортировки жаток. Ходовая часть и рабочие органы комбайна получают движение от двигателя СМД-72, мощность которого 147 кВт.

Рис. 5. Схема комбайна кормоуборочного:
а — базовая модель; б - сменный измельчитель и швырялка КСК-100А; 1 — режущий аппарат; 2 - мотовило; 3 — шнек; 4, 11, 12 — передние вальцы;
5 — подпрессовывающий валец; 6 — гладкий валец;
7 — противорежущая пластина; 8 — измельчительный барабан;
9 — силосопровод; 10 — швырялка.
Рабочий процесс комбайна происходит так. В процессе скашивания и измельчения трав мотовило 2 (рис.5) направляет стебли к режущему аппарату 1. Срезанная масса забирается шнеком 3 и отдается питательному аппарату, состоящему из четырех ребристых 4, 11, 12 и одного гладкого 6 вальца. Вальцы подпрессовывают массу и передают ее на измельчающий аппарат. Измельченная масса по силосопроводу 9 выгружается лопастями швырялки 10 в движущийся рядом транспорт. Жатка для скашивания трав состоит из четырехлопастного мотовила, режущего аппарата и шнека. Мотовило имеет вал, металлические планки и граблины, оснащенные пружинными зубьями. Левые концы граблин оборудованы планкой с роликом. Этот ролик, следуя по неподвижной профилированной дорожке, помогает пружинным зубьям занимать то или иное положение при вращении мотовила. Это позволяет мотовилу активно действовать на растения при их подводе, срезе и транспортировке к шнеку.
Тип режущего аппарата косилочный. Пальцевый брус состоит из двух частей, смещение которых одна к другой составляет 2 мм, что способствует безаварийной работе. Ножи получают движение от механизмов качающихся шайб. Жатка для уборки кукурузы выполнена в виде платформы, оснащенной мотовилом, режущим аппаратом, двумя цепочно-планчатыми транспортерами и шнеком. По обеим сторонам платформы установлены боковины, передние концы которых оснащены активными делителями. Мотовило имеет пять лопастей, его диаметр 180см. Рама мотовила поворачивается гидроцилиндрами, что позволяет регулировать его по высоте.
Режущий аппарат состоит из: бруса, сдвоенных стальных пальцев с шагом 90 мм, пластины трения, прижимов и ножа с усиленными сегментами. Транспортеры выполнены в виде трех цепей с шагом 38 мм, оснащенных поперечными металлическими планками. Шнек смонтирован на подпружиненных опорах, которые передвигаются по направляющим и позволяет ему, в зависимости от величины слоя движущейся массы, занимать то или иное положение по высоте.
Подборщик включает в себя раму, подбирающий барабан, прижимную решетку, шнек и механизм привода. Подбирающий барабан состоит из вала с дисками. Эти диски оснащены граблинами с пружинными зубьями. К левым концам граблин прикреплены кривошипы с роликами, которые перемещаются по профилированной дорожке, расположенной на левой боковине каркаса. Шнек подпружинен, в центре его находится съемная лопасть. Для устранения поломок подбирающего барабана при включении обратного хода смонтирована храповая муфта.
Присоединяют подборщик к самоходному измельчителю. Самоходный измельчитель состоит из рамы, двигателя, питательного и измельчающего аппаратов, кабины, механизма навески, привода и гидросистемы.
Питательный аппарат получает движение от реверсивной коробки передач. Измельчающий аппарат включает в себя барабан 8 (рис. 3.5) и противорежущий брус 9. Барабан оснащен двенадцатью ножами, и каждый из них можно регулировать. Правый конец вала барабана оснащен обгонной муфтой. Вращение барабана осуществляется от главного конического редуктора.
Подготовка к работе включает следующие операции. Изменение высоты среза осуществляют при помощи копирующих башмаков. Минимальная высота среза равна 6 см.
Пружины механизма навески натягивают так, чтобы давление башмаков на почву было 250—300 Н.
Необходимую длину резки растений (5, 10, 15, 20, 25, 30, 40, 60, 76, 101 мм) получают изменением частоты вращения вальцов и числа ножей на барабане измельчающего аппарата. Изменяют частоту вращения вальцов перестановкой звездочек на валах коробки передач привода питательного аппарата.
Кормоуборочный самоходный комбайн КСК-100А-1 повышенной проходимости используют для работы на переувлажненных и мелиоративных торфяно-болотных почвах. Этот комбайн является модификацией комбайна КСК-100А и отличается от него тем, что ведущий и управляемый мосты оснащены колесами с арочными бескамерными шинами, а мост ведущих колес оборудован механизмом блокировки дифференциала. Этот механизм повышает тяговые свойства комбайна на трудно проходимых участках. Механизм включает в себя кулачковую двухрядную муфту предельного момента и привод принудительного включения. Муфта предельного момента смонтирована на полуоси ведущего моста. Кулачковая муфта состоит из двух пар кулачковых полумуфт, двух упорных подшипников и пружины сжатия. Кулачковые полумуфты расположены в шлицевой муфте. Пружина сжатия удерживает кулачковые соединения в сцепленном состоянии. Привод принудительного включения блокировки исключает полное буксование ведущих колес. Привод включает в себя вилки, смонтированные в отдельном корпусе на плунжере, гильзой для которого является расточка в вилке. В полость гильзы масло поступает через штуцер.
Список используемой литературы
Устинов А.Н. – Сельскохозяйственные машины, 2-е издание, М.: ИРПО; «Академия», 2000г.
Воронов Ю.И. - Сельскохозяйственные машины, М. Высшая школа; 1972г
Поляк А.Я- Скоростная сельскохозяйственная техника, Россельхозиздат 1977г.
2