Совершенствование организации труда на вспашке
КУРСОВОЙ ПРОЕКТ
Cовершенствования организации труда на вспашке
Содержание
Введение
Теоретические основы совершенствования организации труда на вспашке
Анализ результатов наблюдения и существующей организации труда на вспашке почвы
Проектирование рациональной организации труда на вспашке
Технологические требования
Оснащение рабочего места
Планировка рабочего места
Методы и приемы выполнения вспашки
Разработка мероприятий по улучшению условий и режимов труда и отдыха
Обоснование проектных значений нормообразующих факторов и расчет нормы выработки
Расчет поточной организации трудовых процессов
Расчет численности постоянного трудового коллектива
Обоснование материального стимулирования
Экономическая эффективность рекомендуемых мероприятий
Заключение
Список литературы
Введение
Обработка почвы является одним из важнейших факторов в системе мероприятий по обеспечению высокой культуры земледелия и получения гарантированных урожаев сельскохозяйственных культур. Применяя обработку почвы, придают пахотному слою оптимально рыхлое мелкокомковатое строение, улучшают водный, воздушный и тепловой режимы почвы; активизируют микробиологические процессы в ней, очищают поля от сорняков, вредителей и возбудителей болезней с.-х. культур, заделывают в почву удобрения и т.д.
Вспашка является основным приемом механической обработки почвы, обеспечивающим оборачивание и рыхление обрабатываемого слоя, а также заделку удобрений и пожнивных остатков. Проводят вспашку культурными плугами с предплужниками.
Актуальность проблемы обусловлена тем, что вспашка с оборотом пласта продолжает оставаться в Белоруссии, так же как и в Европе в целом, преобладающим приемом основной обработки почвы. В связи с изменением в последнее время сельскохозяйственной политики большинства стран Евросоюза, нацеленной на производство экологически чистых продуктов растениеводства для внутреннего потребления, роль отвальных обработок почв еще более возрастают, так как они являются основой экологически безопасных технологий, позволяющих существенно сократить использование химических средств и минеральных удобрений. По экспертным оценкам основная обработка почвы с оборачиванием поверхностного слоя будет осуществляться до конца текущего десятилетия на 55-60 % посевных площадей. Но вспашка является самой энергоемкой операцией в растениеводстве, на ее осуществление приходится около 40 % энергозатрат по подготовке почвы. Неотъемлемым требованием высокой культуры земледелия является осуществление гладкой вспашки без свальных гребней и развальных борозд.
Цель курсового проекта – изучить основы совершенствования организации, нормирования и оплаты труда одного из видов механизированных работ – вспашке, на примере одного из хозяйств Республики Беларусь, проанализировать имеющиеся данные и, в случае, необходимости предложить более новые, усовершенствованные методы и приемы по проведению этого вида обработки почвы.
Основные задачи курсового проекта:
предложить технологические требования, необходимые для проведения вспашки;
узнать, чем необходимо оснастить рабочее место механизатора, которому поручено выполнить пахоту;
изучить методы и приемы проведения вспашки;
разработать мероприятия по улучшению условий труда и отдыха механизаторов на вспашке;
определить эффективность предложенных изменений.
Теоретические основы совершенствования организации труда на вспашке
Вспашка (пахота)- основной приём механической обработки почвы отвальными плугами. При вспашке происходит одновременно оборачивание, крошение и перемешивание почвы. Оборачиванием достигается заделка дернины, удобрений, семян сорных растений, многих с.-х. вредителей и возбудителей болезней. В нижней части пахотного слоя, перемещённой вспашкой на поверхность, под влиянием аэрации, повторного увлажнения и быстро активизирующейся полезной почвенной микрофлоры увеличивается содержание доступных растениям питательных веществ. Вспашка даёт возможность поддерживать мелкокомковатое сложение пахотного слоя. Степень оборачивания зависит от формы отвалов, соотношения глубины обработки и ширины пласта. Плуги с винтовыми отвалами наиболее полно оборачивают пласт, но слабо крошат почву (используются на тяжёлых глинистых и сильно задернелых землях); с цилиндрическими отвалами хорошо крошат почву, но неудовлетворительно оборачивают пласт; с культурной формой отвалов хорошо оборачивают и крошат пласт на почвах средней связности (с предплужниками и на задернелых почвах). [2, c.496]
Плуг, с.-х. орудие для основной обработки почвы — вспашки. Плуг наиболее древнее почвообрабатывающее орудие, формы которого были известны по вавилонским и древнеегипетским изображениям, наскальным рисункам в Северной Италии и Южной Швеции (относящимся ко 2-му тысячелетию до н. э.), а также по находкам древних людей в торфяниках на территории Польши. Ранее 1-го тыс. до н. э. плуг был известен в Китае. Все эти плуги изготовлялись из дерева и уже имели дышло для запряжки животных, рукоятки или раздвоенную рассоху для управления. Рабочий орган плуга — лемех — закрепляли горизонтально (собственно плуг) или наклонно (соха). В 1-м тыс. до н. э. появились плуги с железным лемехом; римлянами был изобретён передок на колёсах, позволявший регулировать глубину хода плуга; применены нож, размещаемый перед лемехом для разрезания почвы, и доски (отвалы), прикрепляемые под углом к лемеху для рыхления и сдвигания почвы в сторону.
Плуги появился в лесостепной полосе уже в 8—9 вв. накануне образования Киевской Руси. Начало развития современного плуга относится к 17 в. Первые металлические конные плуги появились в конце 18 в. Заводское производство конных плугов в России началось в 1802. Выпускали плуг беспередковый и с русским передком. Плуг механической тяги начали выпускать только после Октябрьской революции 1917. Первые серийные тракторные плуги были выпущены в СССР Одесским заводом им. Октябрьской революции в 1925. Дальнейшее развитие конструкции плуга велось по пути замены прицепных плугов навесными и полунавесными, а также изменения ширины захвата плуга для более эффективного агрегатировання с тракторами. В 1973 в сельском хозяйстве СССР насчитывалась 961 тыс. тракторных плуга общего назначения. Современные плуги разделяют: по типу рабочих органов — на лемешные и дисковые; по роду тяги — на тракторные (навесные, полунавесные и прицепные), конные и канатные; по числу рабочих органов — на одно-, двух- и многокорпусные; по назначению — для основной вспашки (общего назначения) и специальные; по способу вспашки — на бороздные, работающие всвал и вразвал (с образованием свальных гребней и разъёмных борозд), и для гладкой пахоты. [3, c. 94]
В СССР применялись преимущественно лемешные тракторные навесные, прицепные и полунавесные плуги. Основные узлы этих плугов — рабочие органы, механизм регулирования глубины пахоты, автоматический гидроцилиндр, опорные колёса, навеска (у навесных плугов) или прицеп (у прицепных плугов). Все узлы плуга смонтированы на плоской или крючковой раме. К рабочим органам лемешного плуга относят: корпус, состоящий из стойки с закрепленными на ней лемехом, отвалом и полевой доской; предплужник, аналогичный по конструкции корпусу, но имеющий меньшие размеры; дисковый или черенковый нож. Для углубления подпахотного слоя на 5—12 см без выноса на поверхность поля на корпусах дополнительно крепят почвоуглубители. При работе плуговые предплужники, размещенные на 30—35 см впереди корпусов, снимают слой почвы на глубину 10 см и сбрасывают его на дно борозды, образованной впереди идущим корпусом. Корпуса отрезают лемехами и отрывают полевой кромкой отвалов почвенные пласты. Отвалы поднимают, крошат и оборачивают пласты, прикрывая ими почву, сброшенную предплужниками на дно борозды. Дисковый нож, расположенный у заднего корпуса, отрезает пласт, оставляя необрушенную стенку и незасорённую борозду. При вспашке целинных и залежных земель дисковые ножи крепят перед каждым корпусом. Полевая доска задним концом опирается на дно, а боковой стороной прижимается к стенке борозды и воспринимает давление, возникающее в результате действия пласта на рабочую поверхность корпуса. Для рыхления почвы на глубину до 40 см без оборота пласта применяют корпуса, которые не имеют отвала. Опорные колёса прицепного и полунавесного плуга, являющиеся опорами при их работе, предназначены, кроме того (как и опорные колёса навесного плуга), для изменения глубины пахоты, для чего их поднимают или опускают винтовыми регулировочными механизмами. Автомат (у прицепного плуга) и гидроцилиндр (у полунавесного плуга) служат для перевода плуга в транспортное положение. Навесной плуг поднимают и опускают гидросистемой трактора.
Дисковые плуги применяют в основном для вспашки новых земель после раскорчёвки леса, тяжёлых, уплотнённых, засорённых растениями и болотных почв. Рабочими органами этих плугов являются сферические диски, вращающиеся на осях, смонтированных на раме плуга.
Плуг общего назначения используют для основной вспашки почвы на глубину 20—30 см. Для свально-развальной пахоты на раме плуг монтируют правооборачивающие корпуса. Гладкую пахоту (без гребней и борозд) получают, применяя оборотные, клавишные и челночные плуги. Оборотный Плуг имеет право-и левооборачивающие корпуса, закрепленные на общей раме. После каждого прохода плуга его раму поворачивают вокруг продольной оси на 90° механизмом поворота. Клавишный плуг оборудован секциями право- и левооборачивающих корпусов, включаемыми в работу попеременно. Челночный плуг состоит из двух секций право- и левооборачивающих корпусов, одну из которых навешивают на навеску трактора спереди, а другую на его навеску сзади. Этот пахотный агрегат работает поперёк склона (по горизонталям) челночным способом. При этом переднюю или заднюю секцию плуга включают в работу попеременно.
Специальные плуги подразделяют на кустарниково-болотные, плантажные, садовые, виноградниковые, ярусные, лесные, для пахоты каменистых почв и др. Кустарниково-болотный плуг применяют для вспашки болотных и торфяных почв, лесных раскорчёвок, расчисток после кустореза, почв, покрытых кустарником и древесной порослью высотой 2—4 м. Ярусный плуг предназначен для двухъ- и трёхъярусной вспашки солонцовых и подзолистых почв. При трёхъярусной пахоте передний корпус снимает верхний слой почвы, оборачивает его и укладывает на дно борозды, образованной при предыдущем проходе заднего корпуса: средний корпус поднимает 3-й слой и вместе с лежащим на нём верхним слоем сдвигает их в сторону, не оборачивая; одновременно задний корпус поднимает 2-й слой, оборачивает и сбрасывает на дно борозды, образованной средним корпусом. При двухъярусной вспашке верхний слой либо укладывают на поверхность поля, а средний и нижний слои перемешивают между собой, либо верхний слой заделывают на глубину, а 2 нижних слоя без оборота поднимают на поверхность. Плантажный плуг используют для обработки почвы на глубину до 40 см под виноградники, садовые и лесные насаждения. Садовый плуг применяют для вспашки почвы в междурядьях садов. Он снабжен устройством, обеспечивающим боковое смещение плуга от продольной оси трактора, что позволяет обрабатывать почву под кронами полновозрастных деревьев. Лесной плуг, снабженный одновременно работающим корпусом с право-и левооборачивающими отвалами, отрывает борозды для посадки и посева лесных культур на нераскорчёванных вырубках. Имеет приспособление для посева в отрываемые борозды семян хвойных пород. Плуг для ооработки каменистых почв снабжен рычажным механизмом для выглубления корпусов при встрече с препятствием и заглубления после преодоления его.
Для улучшения качества обработки почвы в начале 60-х гг. 20 в. советскими и зарубежными научными учреждениями и конструкторскими бюро предложены конструкции плугов с роторными отвалами и ротационные плуги. Корпус плуга с роторным отвалом хорошо оборачивает и рыхлит пласт при работе на повышенных скоростях. Тяговое сопротивление его на 30% меньше, чем у лемешного. Однако роторный рабочий орган недостаточно хорошо заделывает растительные остатки и слабо перемешивает слои почвы. [4, c.103]
Различают следующие виды вспашки: 1) оборот пласта, когда пласт шириной до 40 см при относительно небольшой глубине пахоты винтовым отвалом оборачивается на 180°. Это самый древний вид вспашки дернины; он требует многих дополнительных обработок (боронование, культивация, дискование, прикатывание), приводящих к чрезмерному распылению почвы (под термином «оборот пласта» в практике с.-х. производства понимают также вторую вспашку целины, залежи или поля из-под многолетних трав). 2) Взмёт, когда пласты отвалами полувинтового типа оборачиваются на 135°, плотно прилегают друг к другу, располагаясь под углом в 45° к поверхности почвы. При взмёте целины или залежи дернина не успевает разложиться в течение нескольких месяцев; такая вспашка неприемлема и на старопахотных землях, она дополнительно требует многократного дискования и боронования. 3) Культурная вспашка проводится плугом, каждый корпус которого снабжён предплужником. Предплужник срезает поверхностный слой почвы и сбрасывает его на дно борозды; отвал основного корпуса плуга поднимает жёсткий слой почвы и покрывает им оказавшийся на дне борозды верхний слой. Это самый совершенный вид пахоты. Площадь вспаханного поля получается ровной, что облегчает последующую предпосевную обработку (предплужник снимают лишь при запашке навоза или повторной вспашке парового поля). [6, c.64]
Глубину вспашки устанавливают в зависимости от мощности пахотного горизонта, биологических особенностей возделываемых растений, обработки почвы под предшествующие культуры, степени и характера засорённости поля, наличия вредителей и болезней с.-х. растений. Вспашка на глубину 20 см считается нормальной, на большую глубину — глубокой, на меньшую — мелкой. Вспашка на одну и ту же глубину нередко приводит к образованию на дне борозды уплотнённого слоя (плужная подошва), что нарушает нормальный водный режим почвы и затрудняет развитие корневой системы растений. Поэтому целесообразно в каждом поле севооборота периодически проводить пахоту несколько глубже обычной. Глубокая вспашка — одно из важнейших условий получения высоких и устойчивых урожаев. На почвах с пахотным горизонтом менее 20 см, ограничивающим глубину вспашки, постепенно создают мощный окультуренный пахотный слой. Большое значение при этом, как и при глубокой пахоте, может иметь вспашка с почвоуглубителем, разрыхляющим подпахотный горизонт почвы. [19, c.158]
Время вспашки зависит от зональных почвенно-климатических особенностей, агротехники возделываемых культур, сроков сева и ряда других условий. Наиболее совершенной является ранняя зяблевая вспашка, способствующая лучшему накоплению в почве влаги и питательных веществ в доступной для растений форме. Летняя вспашка необходима при подготовке к посеву занятых паров и при посеве озимых по непаровым предшественникам. Весенняя вспашка под яровые того же года посева известна под названием весновспашки. Весенние и летние, а иногда и осенние вспашки должны сопровождаться одновременно боронованием (для уменьшения потерь влаги на испарение). [14, c.167]
Наиболее распространён способ загонной пахоты. Предварительно поле разбивают на отдельные вытянутые полосы — загоны, длина которых определяется размером, конфигурацией и рельефом поля. Ширина загона должна быть кратной ширине рабочего захвата агрегата и одинаковой по всей длине его. На концах загонов отбивают поворотные полосы. Вспашку проводят всвал или вразвал. Вспашку всвал начинают с середины загона. Агрегат, сделав первый проход, поворачивают холостым ходом направо и проводят вторую борозду рядом с первой. Приваливаясь друг к другу, пласты образуют гребень. Дальше агрегат поворачивают также только вправо; заканчивается пахота на краях загона, где образуется по одной борозде. Вспашку вразвал, наоборот, начинают с краёв загона. Пройдя первый след, агрегат поворачивают налево, затем прокладывают с другого края загона второй след и т. д. В этом случае получается борозда в середине загона, а по краям его — гребни. Существует способ гладкой пахоты, при которой нет необходимости отбивать поворотные полосы. Проводят её оборотными плугами с двойным набором корпусов (пласты кладутся лишь на одну сторону). На пашне не образуются разъёмные борозды и свальные гребни. Этот способ вспашки применяют обычно на участках со значительным уклоном. Известна также фигурная (круговая) вспашка, при которой неизбежны огрехи, низкое качество обработки и чрезмерное уплотнение почвы при поворотах агрегата. [2, c.306]
Большое агрономическое значение может иметь направление вспашки. Если необходимо задержать потоки талых и дождевых вод и не допустить смыва почвы, то целесообразно пахать поперёк склонов. Там, где лёгкие почвы и сильные ветры, — пашут перпендикулярно направлению преобладающих ветров, что в летний и весенний периоды ослабляет выдувание пахотного слоя, а зимой — способствует накоплению на полях снега. В каждом конкретном случае направление вспашки определяет агроном хозяйства, учитывая не только рельеф, но и приёмы последующих с.-х. работ на данном поле. [4, c.48]
Качество пахоты зависит от технологических свойств почвы — связности, пластичности, прилипаемости к рабочим органам плуга. Эти свойства определяются главным образом механическим составом почвы. При вспашке глинистых и суглинистых почв необходимо учитывать степень их увлажнения. С вспашкой тяжёлых бесструктурных почв нельзя запаздывать даже на несколько часов, надо начинать её, как только почва приобретает состояние спелости. К основным показателям качества вспашки относятся: глубина, наличие огрехов, гребнистость, степень крошения, глыбистость, прямолинейность борозд. К вспашке относят также плантаж, ярусную вспашку. [6, c.29]
Целью нормирования труда является установление, расчет нормы труда и внедрение ее в производство на различных видах работ.
Подразделение норм труда по видам работ основано на различиях в характере применяемых средств труда. При определении нормы труда используются два основны метода:
1. Через расчет часовой производительности агрегата, т.е. количества выполненной работы за 1 час основного времени — Нсм = W х То. этим способом рассчитываются нормы труда на МПР, ручных работах, при обслуживании стационарных машин.
2. Через нормативные затраты времени на единицу работы или обслуживания животноводстве, на ремонтных работах.
МПР занимают наибольший удельный вес в общем объеме с.-х. работ. При расчете нормы выработки на МПР необходимо учитывать характер нормообразующих факторов, т.е. факторов, влияющих на норму труда. К ним относятся следующие:
1. Агротехнические требования к работе, включающие агрофон, глубину обработки почвы и заделки семян, требования к качеству работ, ширину междурядий, скорость движения агрегата;
Удельная энергоемкость работ или удельное сопротивление машин, обусловленные типом рабочих органов и особенностями почв;
Тяговые, энергетические и другие эксплуатационные показатели тракторов, комбайнов, связанные с их конструктивными особенностями;
Постоянные показатели полей - площадь, длина гона, конфигурация, рельеф, наличии препятствий;
Рациональная технология и организация работ. [10, c.62]
Нормы выработки на МГТР для конкретных условий производства можно разработать при наличии данных о рабочей скорости движения агрегата, рабочей ширине захвата, времени основной работы в течение смены. Эти данные получают при помощи наблюдений за работой механизированного агрегата.
Наблюдения проводятся в типичных производственных условиях за работой исправного и укомплектованного в соответствии с агротехническими требованиями агрегата. Механизатор и обслуживающий персонал должны иметь необходимую квалификацию и опыт работы.
Для определения всех элементов затрат рабочего времени и выполнения необходимых замеров наблюдение за работой агрегата проводятся полный рабочий дней в трехкратной повторности. Затраты времени по элементам работ определяются по средним значениям.
Результаты наблюдения заносятся в наблюдательные листы, шифруются, сводятся в группы, составляется фактический баланс использования времени смены.
Время основной работы (То) на механизированных полевых работах представляв собой время, которое затрачивается на выполнение рабочих ходов в течение смены
Вспомогательное время на МПР включает время холостых поворотов и заездов агрегата на загоне (Тв1), на загрузку семян (Тв2), удобрений и ядохимикатов (ТвЗ), на выгрузку бункера (Тв4), переключение механизмов, подъезд под загрузку, разгрузку, заезд в борозду, в загонку.
Время холостых поворотов и заездов зависит от продолжительности смены. вида работ, состава агрегата, длины гона, способа и скорости движения агрегата под нагрузкой и на поворотах.
Время на загрузку и выгрузку материалов в течение смены зависит от нормы высева семян, удобрений, емкости бункера комбайна, продолжительности одной загрузки (выгрузки), рабочей и транспортной скорости агрегата и расстояния подъезда к месту загрузки.
Время организационно-технического обслуживания включает время технической регулировки, время на мелкий ремонт, время очистки рабочих органов, проверки качества работы.
Указанные затраты времени зависят от условий работы, технического состояния агрегата и продолжительности рабочей смены. Они определяются на основе данных фотохронометражных наблюдений.
Время перерывов, обусловленных технологией и организацией работ имеет место при выполнении комплекса взаимосвязанных трудовых процессов, применяется при разработке комплексных норм.
Время на отдых и личные надобности устанавливается на основе рекомендуемых нормативов по видам работ. Тлн во всех случаях равно 10 минут. Тотд по видам работ:
вспашка, посев, посадка - 20 мин.
Подготовительно-заключительное время состоит из времени ежесменного тех. обслуживания трактора, ежесменного тех. обслуживания СХМ, внутрисменных переездов с участка на участок, на получение наряда, на подготовку к переезду, подготовительно-заключительное время исполнителя. Затраты времени на переезды агрегата с места стоянки до работы и обратно в начале и конце смены в расчетный баланс времени смены не включаются. Они нормируются и оплачиваются отдельно.
Рабочая скорость - важный фактор при нормировании труда на МПР. Рабочая скорость движения определяется по материалам наблюдений.
Технически обоснованные нормы труда разрабатываются нормативно-исследовательскими организациями с учетом различных нормообразующих факторов.
Нормы должны быть одинаковы на идентичные работы, выполняемые определенными агрегатами в равных организационно-технических условиях.
Для определения природных нормообразующих факторов следует проводить в каждом хозяйстве паспортизацию полей, лугов, пастбищ. Без этих требований ни одно хозяйство не может правильно применить технически обоснованные нормы выработки расхода топлива, следовательно, нельзя правильно определить производительность и оплату труда механизаторов, объем выполненных работ, расход ГСМ и т.п.
Эту проблему решает паспортизация полей, при которой определяются постоянные характеристики полей: тип и подтип почвы, ее механический состав; площади полей, их длина, ширина, длина гона; рельеф; каменистость; конфигурация; наличие препятствий; высота над уровнем моря. На основе этих материалов к типовым нормам вносятся поправки.
Для проведения паспортизации используют планы землепользования хозяйства, почвенные карты, материалы агрохозяйственных обследований. При отсутствии первичных материалов данные для паспортизации полей получают путем непосредственных измерений на месте.
Первичными документами паспортизации являются ведомость и сводная ведомость. В ведомость заносятся постоянные показатели каждого отдельно обрабатываемого участка и итоговые данные по полю в целом. Для учета влияния нормообразующих факторов в ведомость паспортизации заносится распределение площади каждого участка по каждому из факторов.
Вторым этапом паспортизации является определение расчетным путем класса нормообразующих факторов поля или группы полей в разрезе производственных подразделений и предприятия в целом. Для чего исходные данные из ведомости паспортизации заносятся в сводную ведомость, где записывают установленные расчетным путем классы нормообразующих факторов для каждого поля.
Каждому классу любого нормообразующего фактора соответствует определенны показатель, представляющий собой отношение времени на обработку одного гектара при данном классе нормообразующего фактора к времени обработки в наиболее благоприятных условиях (а = 1 и выше).
Научно-исследовательскими и нормативными организациями разработаны эти коэффициенты по классам н/образующих факторов. При определении классов н/образующих факторов, к которым относится поле, прежде всего, находят среднее расчетное значение показателя н/образующего фактора.
Определив среднее расчетное значение показателя данного н/образующего фактора, находим диапазон, в который попадает полученное значение, и относим поле, группу полей к соответствующему классу.
Среднее расчетное значение удельного сопротивления плуга для каждого поля и группы полей определяют как средневзвешенную величину согласно распределению площади по типам почв и соответствующим средним значениям удельного сопротивления по формуле.
Типовые нормы выработки и расхода топлива на МПР рассчитаны на наиболее благоприятные условия. Поэтому при работе агрегатов в более сложных условиях к сменной норме и норме расхода топлива делаются соответствующие поправки, рассчитывают обобщенный поправочный коэффициент.
Затем, для получения сменной нормы и нормы расхода топлива в справочнике «Типовые нормы выработки и расхода топлива на МПР» определяют группу норм (1 - 12) в зависимости от удельного сопротивления плуга, длины гона и обобщенного поправочного коэффициента отдельно по видам работ: пахотные; непахотные; уборочные.
В сельском хозяйстве широко применяются поточно-индустриальные методы выполнения ряда работ.
В этих условиях возрастают требования к совершенствованию организации труда к проектированию трудового процесса, к его нормированию.
Помимо разработки нормы выработки на каждую операцию возникает необходимость разработать комплексные нормы для нормирования труда на сложных, взаимосвязанных процессах.
Взаимосвязанными называют процессы, выполнение каждого из которых зависит от выполнения предшествующих и последующих работ, проводимых в определенной последовательности.
Высшей формой организации выполнения взаимосвязанных трудовых процессов является поточная линия.
Рабочие процессы в рамках поточной линии могут выполняться при различных количественных сочетаниях технологических операций, различной их продолжительности, т.е. по различным технологическим схемам:
непрерывно-поточная;
прерывно-поточная;
смешанная.
Основным условием функционирования поточной линии является равенство часовой производительности на взаимосвязанных рабочих местах, что позволяет вести работу в едином ритме.
Для выполнения комплекса работ создают трудовые коллективы (звенья, отряды, группы) и устанавливают комплексную норму - своего рода работа на единый наряд.
Комплексную норму рассчитывают по ведущему агрегату или группе ведущих агрегатов. Ее основу составляет норма выработки ведущего агрегата. Эта норма определяется по обычной методике, но с учетом дополнительных потерь времени из-за взаимного ожидания в поточной линии, замены прицепа и т.п.
Для определения комплексной нормы выработки установленную норму для одного агрегата ведущего звена потока умножают на их число в звене, группе.
Число агрегатов определяется с учетом объема работ, оптимального срока их проведения, емкости траншей и других природно-хозяйственных условий. Эта норма обязательна для всего коллектива, всех звеньев поточной линии. [7, c.205]
Тарифный фонд заработной платы для расчета расценок за продукцию определяется в растениеводстве – по технологическим картам, составляемым по каждой культуре, на основе запланированного объема работ, включая работы незавершенного производства, установленных норм выработки и соответствующих тарифных ставок.
В тарифный фонд заработной платы бригад, звеньев растениеводства для расчета расценки за продукцию включается заработная плата бригадира, помощника бригадира, звеньевого, а также рабочих, с согласия коллектива, выполняющих вспомогательные работы в технологическом процессе производства продукции (слесари, мастера-наладчики, электромонтеры, водители автомобилей, рабочие кормоцехов и др.), численность которых определяется в соответствии с нормативами, и отдельных специалистов.
Тарифный фонд заработной платы бригаде, звену устанавливается по технологической карте на урожайность, продуктивность, предусмотренные при расчете нормы производства продукции.
Расценки за продукцию могут устанавливаться на ряд лет. В случае изменения технологии производства, повышения уровня механизации, изменения условий оплаты труда и других показателей расценки должны пересматриваться в установленном законодательством порядке.
Расценки за продукцию устанавливаются на год или дифференцируются по периодам. [12, c.179]
Для оплаты труда членов коллективов и отдельных работников могут устанавливаться прогрессивно возрастающие расценки за продукцию.
Конкретный размер повышения тарифного фонда заработной платы для расчета расценок за продукцию по каждому подразделению устанавливается в коллективном договоре по согласованию с профсоюзным комитетом. При этом в большей степени тарифный фонд заработной платы для расчета расценок повышается бригадам, звеньям или отдельным рабочим, добившимся более высоких показателей урожайности сельскохозяйственных культур и продуктивности животных по сравнению с другими подразделениями, организациями. [13, c.41]
Тарифный фонд заработной платы устанавливается исходя из тарифных ставок, должностных окладов и численности работников.
Регулирование и дифференциация основной тарифной части заработной платы работников сельскохозяйственных организаций осуществляется в соответствии с Инструкцией о порядке применения Единой тарифной сетки работников Республики Беларусь, утвержденной постановлением Минтруда и соцзащиты РБ от 22.12.2006 № 162. Тарификация работ и работников устанавливается согласно Справочнику по тарификации механизированных и ручных работ в сельском хозяйстве, утвержденному постановлением Минсельхозпрода РБ от 27.06.2005 № 35 "Об утверждении Справочника по тарификации механизированных и ручных работ в сельском хозяйстве" по согласованию с Минтруда и соцзащиты РБ, Единому тарифно-квалификационному справочнику работ и профессий рабочих, Квалификационному справочнику должностей служащих, занятых в сельском и рыбном хозяйствах, и иным квалификационным справочникам, утвержденным в установленном порядке. Особенностью тарификации в сельском хозяйстве является то, что отдельным работникам растениеводства, включая трактористов-машинистов сельскохозяйственного производства, тарифные разряды не присваиваются, а тарифицируются сельскохозяйственные работы в зависимости от их сложности и характера труда. Перечень профессий рабочих, не тарифицируемых по разрядам ETC, предусмотрен в ЕТКС.
Тарифные ставки и должностные оклады работников определяются исходя из тарифной ставки 1-го разряда, установленной в организации, и соответствующих тарифных коэффициентов Единой тарифной сетки работников Республики Беларусь. [12, c.52]
В растениеводстве до расчетов за продукцию может применяться повременное авансирование по III–VI разрядам соответствующих тарифных ставок или по сдельным расценкам за выполненный объем работ.
В целях усиления материальной заинтересованности в повышении квалификации работников ведущих профессий, занятых на работах в растениеводстве. Трактористам-машинистам сельскохозяйственного производства в зависимости от их знаний и опыта работы присваиваются I, II и III классы квалификации в соответствии с Положением о порядке аттестации и присвоения квалификации лицам, овладевающим профессией тракториста-машиниста, утвержденным приказом Минсельхозпрода и Минобразования РБ от 27.12.1993 № 192/346, и соответственно выплачивается надбавка за классность трактористу-машинисту I класса – 20%, трактористу-машинисту II класса – 10% сдельного заработка.
Надбавка за классность трактористам-машинистам сельскохозяйственного производства начисляется на заработную плату, исчисленную по сдельным расценкам за фактически выполненный объем механизированных работ (подготовка почвы, посев, уборка и т.д.), включая повышенную оплату труда.
Премирование работников должно быть направлено на стимулирование повышения производительности труда, снижения себестоимости или прямых затрат на производство продукции, рост производства продукции по сравнению с предшествующими годами, увеличение производства кормов высокого качества, повышение урожайности сельскохозяйственных культур и продуктивности скота и птицы, улучшение качества продукции, обеспечение сохранности поголовья скота и птицы, достижение высокой выработки на трактор, комбайн и другие машины, обеспечение сохранности техники, экономное расходование средств и материалов, выполнение и перевыполнение норм выработки, сохранение достигнутых высоких уровней производства и улучшение других показателей работы в зависимости от отрасли, специализации, характера и условий производства.
Конкретные показатели и размеры, периодичность премирования определяются непосредственно в организации.
Кроме того, может применяться стимулирование работников:
а) за сохранение и хорошее использование тракторов и сельскохозяйственных машин в пределах сумм экономии средств, предусмотренных по нормам на ремонт тракторов и сельскохозяйственных машин, при условии выполнения ими установленного годового объема работ на закрепленных машинах. Премия выплачивается после окончания ремонта тракторов и сельскохозяйственных машин в размере: трактористам-машинистам – 40%, бригадирам, их помощникам и мастерам-наладчикам – 10% от сумм экономии средств. При эксплуатации новых тракторов и машин выплата указанной премии в первые два года производится в половинном размере, а при эксплуатации тракторов и машин, амортизированных более чем на 80%, – в полуторном размере;
б) за экономию горючего и смазочных
материалов против установленных норм
расхода при условии соблюдения
агротехнических требований к качеству
работ. Премия рабочим выплачивается в
следующих размерах: трактористу-машинисту
– 70% стоимости сэкономленных им горючего
и смазочных материалов; бригадиру
тракторно-полеводческой (тракторной,
комплексной) бригады – 7%, помощнику
бригадира – 3%, мастеру-наладчику – 5%
стоимости горючего и смазочных материалов,
сэкономленных по бригаде; рабочим
ремонтных мастерских, занятым на работе
по регулировке топливной аппаратуры,
– 5% стоимости горючего и смазочных
материалов, сэкономленных в целом по
организации.
За перерасход горючего
и смазочных материалов по вине рабочих
производится удержание с тракториста-машиниста
100% стоимости перерасходованных ими
горючего и смазочных материалов. При
перерасходе горючего и смазочных
материалов в целом по бригаде с бригадира
удерживается 10%, с помощника бригадира
– 5% стоимости перерасходованных горючего
и смазочных материалов по бригаде.
При
выполнении работ с нарушением установленных
агротехнических требований с
тракториста-машиниста удерживается
50%, а с бригадира тракторно-полеводческой
(тракторной, комплексной) бригады – 10%
стоимости горючего и смазочных материалов,
израсходованных на работу, выполненную
недоброкачественно. [4, c.59]
В целях усиления материальной заинтересованности в результатах труда может производиться натуральная оплата труда. Условия, показатели и порядок натуральной оплаты труда разрабатываются в организации для всех категорий работников.
Доля натуральной оплаты в общем объеме производства продукции определяется в зависимости от конкретных условий и возможностей организации.
Если работник не заинтересован в получении натуральной оплаты, ему вместо причитающейся продукции должна быть выдана денежная компенсация в стоимостном выражении по ценам, действующим в организации. [2, c.387]
2. Анализ результатов наблюдения и существующей организации труда на вспашке почвы
По материалам приведенного фотохронометражного наблюдения произведем анализ использования рабочего времени смены и уровня организации работы.
На основании полученных данных предложим конкретные мероприятия по по улучшению организации труда и экономии рабочего времени по всему трудовому процессу.
Табл.1 Затраты времени смены механизатором Дубровским Ю.А. на вспашке почвы
|
Наименование затрат времени смены |
Шифр |
Фактические затраты |
|
|
мин |
% |
||
|
1. Регулярная подготовительно – заключительная работа |
1–0 |
43 |
6,7 |
|
Ежемесячные техуход за трактором |
1–1 |
36 |
5,6 |
|
За с.-х. машинами |
1-2 |
7 |
1,1 |
|
2. Основная работа |
2–0 |
313 |
48,5 |
|
Рабочий ход |
2–1 |
268 |
41,6 |
|
Продолжение рабочего хода |
2-2 |
16 |
2,5 |
|
Обработка поворотных полос и клиньев |
2-3 |
29 |
4,5 |
|
3. Вспомогательные работы |
3-0 |
71 |
11 |
|
Холостые повороты и заезды на загоне |
3-1 |
71 |
11 |
|
4. Организационно-техническое обслуживание агрегата на загоне |
4-0 |
29 |
4,5 |
|
Очистка рабочих органов |
4-1 |
14 |
2,2 |
|
Технологические регулировки |
4-3 |
15 |
23,3 |
|
5. Перерывы на отдых и личные надобности |
5-0 |
10 |
15,5 |
|
Время отдыха |
5-1 |
10 |
15,5 |
|
6. Дополнительная вспомогательная работа (учитываемая поправочными коэффициентами к нормам) |
6-0 |
466 |
72,2 |
|
Остановки из-за каменистости, замена предохранителей и отдельных рабочих органов |
6-4 |
466 |
72,2 |
|
5.Нерегулярная подготовительно – заключительная работа (оплачиваемая отдельно) |
7–0 |
22 |
3,4 |
|
Переезды агрегата к месту работы в начале и в конце смены |
7–3 |
22 |
3,4 |
|
6. Простои агрегата |
9–0 |
83 |
12,9 |
|
По техническим неисправностям |
9-1 |
83 |
12,9 |
|
7. Перерывы на обед (прием пищи) |
0-0 |
74 |
11,5 |
|
Итого время смены: |
645 |
100 |
Рассчитаем фактическую выработку тракторов по формуле:
,
(1)
где V>P>Ф - фактическая рабочая скорость агрегата, км/ч;
B>P>Ф – фактическая ширина захвата агрегата, м;
Т>О>Ф – фактические затраты основного времени.
F = 0,1 Ч 1,7 Ч 5,6 Ч 313/ 60 = 5 га.
Определим коэффициент использования рабочего времени смены по формуле:
, (2)
где Т>СМ>Ф - фактическое время смены, ч;
К>ив >= 313/ 420 = 0,75.
Фактическую чистую производительность определяем по формуле:
м = >
>
, (3)
где F>СМ >– площадь обработанного участка за смену, га.
м = 10,5/ 5,2 = 2 га/ч.
3. Проектирование рациональной организации труда на вспашке
3.1 Технологические требования
Технологические требования базируются на соблюдении определенных количественных и качественных показателей при выполнении работ: глубины обработки почвы, заделки семян; ширины междурядий; высоты среза трав, хлебов; установленных сроков выполнения работ; способов и скорости движения агрегатов и других.
Особое значение имеет скорость движения агрегатов. Современные машины позволяют развивать рабочую скорость от 600м до 40км в час. Но скорость ограничивается технологией проведения той или иной работы. Например, повышенная скорость на пахоте ведет к чрезмерному крошению пласта, распылению почвы. Поэтому на вспашке рабочая скорость ограничивается 10км/ч. Механизированная посадка рассадных овощных культур проводится на скорости 600-800м/час, боронование всходов - 3км/час. Кошение и обмолот валков ограничивается пропускной способностью молотильного аппарата комбайна и скоростью его движения.
Технологической основой растениеводства служит система земледелия — комплекс агротехнических, технических, организационных и экономических мероприятий, разработанных и осуществляемых с учетом конкретных условий в целях повышения плодородия земель.
Системы земледелия развивались и совершенствовались по мере развития производительных сил общества, совершенствования средств производства, развития науки и техники.
Отличительными чертами системы земледелия являются зональность, уровень интенсивности и специализация. Системы земледелия делятся на следующие виды.
Экстенсивные системы — примитивные системы земледелия (залежная, переложная, под сечно-о гневая, лесопольная и паропе-реложная). Эти системы характеризуются интенсивностью использования земли, при этом только незначительная часть земель находится в обработке. Плодородие воспроизводится за счет природных факторов.
Переходные системы (парозерновая, многопольно-травяная, улучшенная зерновая). Под посевами занято 50—80 % пашни. Повышение плодородия происходит как под воздействием человека, так и за счет природных факторов.
Интенсивные системы (зернопропашная, пропашная, плодосменная и др.). Почти вся пашня занята посевами, возможны повторные, поукосные и пожнивные посевы. Плодородие повышается за счет активного воздействия человека на основе достижений сельскохозяйственной науки и передовой практики.
Система земледелия включает следующие элементы:
1) обеспечение полного и рационального использования земельных, угодий и их улучшение;
2)введение и освоение рациональных севооборотов;
3)применение высокоэффективных способов обработки почвы, прогрессивной технологии и системы машин;
4)внедрение системы удобрений (органических и минеральных), а также районированных сортов и мер защиты растений;
5) агромелиоративные мероприятия и борьба с эрозией почв.
Рациональное использование земли требует более полного и грамотного использования всех сельскохозяйственных угодий. На сельскохозяйственных предприятиях, имеющих значительное количество естественных сенокосов и пастбищ, мероприятия по повышению продуктивности природных кормовых угодий являются обязательными элементами интенсивной системы земледелия.
Применяемая система машин должна обеспечивать хорошее качество работ, высокую производительность труда, ускоренную окупаемость затрат, иметь более низкие капиталовложения на единицу плошади и низкую металлоемкость.
Организуя систему земледелия, нужно помнить три момента.
Система земледелия не может быть неизменной и зависит от уровня развития производительных сил.
Система земледелия и соответствующие ей севообороты не могут быть едиными для всех хозяйств, расположенных в различных природно-экономических зонах страны.
Для правильного выбора системы земледелия и севооборотов требуется их комплексное рассмотрение с агрономической, технической, организационной и экономической сторон.
Под структурой использования пашни в хозяйстве понимают соотношения площадей, занятых отдельными культурами и паром, и их долю в общей площади пашни.
Рациональной структурой использования пашни считается такая, которая обеспечивает производительное использование каждого гектара земли и позволяет получать максимальное количество сельскохозяйственной продукции с единицы земельной площади при минимальных затратах труда и средств.
Основу пашни составляют посевные площади. Под структурой посевных площадей понимают соотношение отдельных сельскохозяйственных культур и их долю в общей площади посевов. Структура пашни и посевных площадей влияет на урожайность сельскохозяйственных культур, на общую продуктивность пашни, на состояние кормовой базы, а следовательно, на продуктивность животноводства.
К вспашке, как наиболее ответственной, ведущей и трудоемкой работе в земледелии, преды шляются следующие организационно -технические требования:
соблюдение агротехнических сроков обработки;
соблюдение установленной глубины обработки;
хорошее крошение пласта, оставление стерни;
прямолинейность рабочих ходов;
сокращение разъемных борозд и свальных гребней;
отсутствие огрехов и перекрытий;
тщательная обработка концов и поворотных полос .
От качественного и своевременного проведения вспашки зависят конечные результаты производства. Выполнение вспашки связано с большими энергетическими затратами. В себестоимости растениеводческой продукции на вспашку приходится 1/3 всех материально-денежных затрат.
Оснащение рабочего места
Оснастить рабочее место – это значит обеспечить его всеми необходимыми для выполнения процесса труда средствами и предметами (например, оборудованием), а также технологической, организационной оснасткой.
К основному оборудованию относятся средства труда, оказывающие непосредственное воздействие на предмет труда. Это тракторы, прицепные и навесные машины и т.д.
К вспомогательному оборудованию относятся приспособления, облегчающие выполнение операций – транспортеры, тележки и т.д.
К организационной оснастке относятся производственная мебель, приспособления для размещения деталей, средства сигнализации.
Важное значение имеет применение совершенного инструмента и приспособлений. Наличие хорошего инструмента позволяет рабочему добиваться высокой ваработки.
Существует целый ряд правил хранения и использования инструмента. Соблюдение их – важное условие достижения высокой выработки, дисциплины и организации труда рабочих. Очень важно, чтобы в комбинезоне рабочего были предусмотрены специальные отделения-карманы для хранения наиболее часто употребляемого инструмента. В поисках нужного инструмента помогает окраска рукояток инструментов в разные цвета. Это, казалось бы, мелочи, но если учесть, что отдельные приемы в ходе работы выполняются многократно, эффект от экономии времени на отыскивание инструмента получается значительный. В ряде случаев целесообразно рукояткам и рычагам придавать различные формы, позволяющие безошибочно различать нужный рычаг на ощупь. Особое внимание надо обращать на придание рукояткам инструмента такой формы, которая давала бы возмлжность делать нагрузку на наиболее сильные мышцы ладони. Это мышцы большого пальца и ладони.
Эргономические требования предусматривают оптимальную конструкцию машин, оборудования с точки зрения приспособления к возможностям человека.
Для тракториста рабочее место – это участок обрабатываемой или засеянной сельскохозяйственными растениями земли, на которой ему поручено выполнить определенное производственное задание.
В тракторе необходимо иметь термос для питьевой воды, мыло, полотенце, аптечку, комплект в случае поломки нужных инструментов, лопату, огнетушитель, металлический ящик для сбора и хранения используемых обтирочных иатериалов. Также необходимо наличие хлопчатобумажного комбинезона, рукавиц, защитных очков.
3.3 Планировка рабочего места
Правильная организация трудовых процессов предполагает: рациональную расстановку рабочей силы, орудий труда и согласованную работу всех исполнителей на отдельных операциях.
Каждый рабочий процесс должен отвечать агротехническим и организационно-экономическим требованиям. Соблюдение агротехнических требований предполагает соблюдение всех качественных показателей, таких, как глубина вспашки и заделки семян; ширина междурядий и т. д. Выполнение организационно-экономических требований связано с высокопроизводительным использованием машин и рабочей силы, сокращением затрат труда и материалов, т. е. со снижением себестоимости единицы продукции.
Основными принципами рациональной организации рабочих процессов являются общие, т. е. плановость, пропорциональность, согласованность, равномерность (ритмичность), непрерывность (поточность).
Конкретное проявление принципа плановости осуществляется через составление технологических карт, рабочих планов по периодам сельскохозяйственных работ, планов-нарядов, планов-маршрутов.
Осуществление принципа пропорциональности проявляется через установление правильного соотношения между количеством машинных агрегатов или машин работниками, обслуживающими эти агрегаты.
Соблюдение принципа согласованности позволяет обеспечить выполнение каждой операции производственного процесса в строго определенное технологическое время и последовательно, принцип ритмичности, или равномерности, — выполнение всех рабочих операций одного или нескольких процессов по единому ритму, который согласуется с ритмом и темпом работы механизированного агрегата или исполнителя, занятого выполнением основной операции. Поточность, или непрерывность, означает непрерывное следование одной операции за другой в пределах технологической допустимости. Поточность предполагает, чтобы каждая операция создавала наилучшие условия для последующей и чтобы работа, созданная предшествующей операцией, не разрушалась последующей.
Все перечисленные принципы наиболее полно могут быть осуществлены при комплексной механизации на основе системы машин, которые позволяют организовать рабочий процесс поточным способом.
Организация полевых работ в лучшие агротехнические сроки и при высоком качестве — главное условие получения высоких урожаев. Очень раннее их начало весной ведет к низкому качеству обработки почвы, к поломке машин и перерасходу горюче-смазочных материалов, опоздание — к потерям влаги и нарушению сроков сева.
При подготовке к севу необходимо качественно и своевременно отремонтировать технику, правильно расставить механизаторов, обеспечить их бесперебойное обслуживание.
Расстановка агрегатов бывает индивидуальная и групповая. Полевые работы лучше всего вести поточно-групповым способом. Это позволяет значительно сократить продолжительность сроков обработки посева каждого поля, улучшить техническое обслуживание и на основе этого повысить их производительность, сократить потребность в автотранспорте, облегчить руководство и контроль за качеством.
Работы групповым методом лучше начинать с боронования многолетних трав, зяби, озимых. Срок — один-три дня. В дальнейшем целесообразно их проводить с учетом созревания почвы, всю имеющуюся технику можно рассредоточить на посеве, подвозке семян и заправке ими сеялок. Ведущими агрегатами являются посевные.
Все полевые работы могут выполняться загонным способом, фигурным и челночным.
При загонном способе агрегаты работают только по длинным сторонам участка, а на концах ширины идут на холостом ходу. При этом если работа на пахоте или лущении выполняется этим способом и начинается со стороны участка, то через всю длину образуется гребень (т. е. всвал). Если обработку начинают с конца ширины загона и обрабатывают его к центру, то в середине загона образуется борозда через всю длину поля. Такой способ называется обработкой вразвал. Загонный способ лучше всего применять на вспашке, посеве и жатве хлебов. Основные его недостатки: потери времени на холостые переезды и за счет этого перерасход горючего.
При фигурном способе работающие агрегаты движутся вкруговую. Как и загонным, работу молено выполнять всвал и вразвал (боронование, дискование, лущение, культивация).
Челночный способ характеризуется тем, что агрегаты движутся наподобие челнока. При этом очередной ход делается рядом с предыдущим. На конце поля отбивают поворотные полосы, которые образуются после окончания работы на всем участке. Этот способ имеет преимущество по сравнению с загонным, который состоит в том, что здесь значительно сокращаются потери времени на повороты в конце загона (применяется при бороновании, культивации, дисковании, прикатывании почвы).
Перед началом работы необходимо провести подготовку поля (отбивка поворотных полос, разбивка поля на загоны). Поворотные полосы отмечают контрольными вешками. Загоны для большинства агрегатов отбивают прямоугольной формыс-отношением сторон от 1:4 до 1:10. Вспашка почвы должна производиться в лучшие агротехнические сроки, на установленную глубину с хорошим крошением пласта, заделкой стерни и навоза без огрехов и с тщательной заделкой концов загонов и поворотных полос, с наименьшим количеством свальных гребней и развальных борозд.
При формировании пахотных агрегатов необходимо учитывать условия работы, состояние почвы, глубину вспащки и ширину захвата плуга, обеспечивать пропорциональность между тяговым усилием трактора и сопротивлением прицепных машин. Количество прицепных агрегатов должно быть подобрано так, чтобы коэффициент загрузки тягового усилия трактора составлял 90—97.
Все виды вспашки и перепашки зяби лучше проводить отвальными плугами с предплужниками. В засушливых районах хорошие результаты дает безотвальная вспашка и рыхление почв ' плоскорезами и рыхлителями. Пахота проводится обычно всвал и вразвал. Но чтобы избежать большого количества гребней и развальных борозд, обработку осуществляют следующим 'образом.
Сначала обрабатывают первый и третий загоны всвал, затем второй загон вразвал, после этого обрабатывают пятый загон всвал, четвертый вразвал, т. е. все нечетные загоны пашутся всвал, а все четные — вразвал. Если ширина поля больше 300 м, то целесообразно один год пахать вдоль, а другой — поперек. На Крутых склонах, чтобы избежать размыва почвы, пашут поперек склонов.
Во время вспашки нельзя допускать порчу дорог и лесных насаждений. Поэтому для выезда трактора с плугом на обоих концах загона оставляют поворотные полосы шириной 11 —12 м, которые перепахивают после вспашки основных загонов.
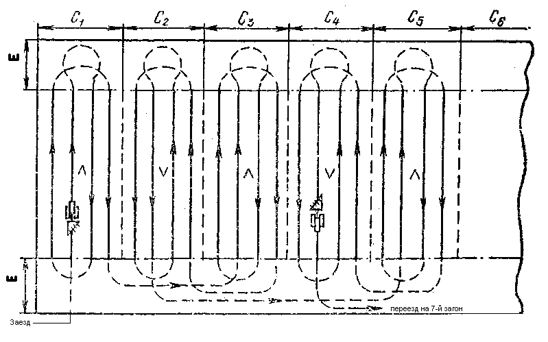
На рассматриваемой нами пахоте наиболее эффективным способом является петлевой с чередованием загонов всвал и вразвал. Сначала обрабатывают первый и третий загоны всвал, затем второй загон вразвал, после этого обрабатывают пятый загон всвал, четвертый вразвал и т. д., т. е. очередность вспашки загонов: 1-3-2-5-4-7-6 и т.д.

Рис. 1. Схема движения агрегата при вспашке загонно-петлевым способом с чередованием загонов, где С - оптимальная ширина загона; E —ширина поворотной полосы.
(4)
Сопт = √(3 Ч1,82 Ч1300) = 84,2 м
3.4 Методы и приемы выполнения вспашки
До 30-х годов прошлого столетия система земледелия базировалась на ежегодной отвальной вспашке. Теоретическое обоснование отвальной вспашки В. Р. Вильямса (1936) основывалась на разнокачественное верхнего и нижнего слоев пахотного горизонта (утере прочности структуры верхнего слоя и ее восстановлении в нижнем). Отсюда делался вывод о необходимости ежегодного их перемещения. Одновременно высказывались противоположные мнения, доходившие до отрицания необходимости глубокой отвальной пахоты. И. Е. Овсинский (1911) на примерах показал, что плодородие почвы можно повысить только путем мелкой, в пределах 5 см, обработки, которая создает рыхлый верхний слой почвы с растительными остатками, где в результате нитрификационного процесса идет активное гумусообразование. Многие исследователи опытным путем значительно позже пришли к заключению, что классическая система обработки почвы с ежегодной оборотной вспашкой снижает плодородие почвы. Н. К. Шикула, Ф. Т. Моргун, А. С. Антонец (2002) отмечают, что многолетний период интенсивной пахоты на Украине привел к уменьшению содержания гумуса с 9 до 5%, развитию водной и ветровой эрозии.
Новое направление в основной обработке почвы предложил Т.С.Мальцев (1971). Он рекомендовал чередовать мелкую обработку дисковыми лущильниками на глубину 10-12 см с глубокой (до 40-50 см) безотвальной один раз за ротацию севооборота.
Дальнейшее развитие безотвальная (плоскорезная) обработка получила в трудах А. И. Бараева (1975). Важнейшим звеном этой системы следует считать сохранение пожнивных остатков на поверхности почвы и рыхление ее без оборота пласта.
Последующие опыты подтвердили положение В. Р. Вильямса о дифференциации пахотного слоя почвы, т.е. для почвообразовательного процесса необходимо два-три года оставлять верхний слой почвы под растительным покровом. Предложено чередовать мелкую обработку и вспашку плугами с отвалами. О необходимости чередования глубокой отвальной пахоты с поверхностными обработками на различных почвах указывают М. Г. Чижевский (1957), Д. И. Попазов (1958), В. В. Квасников, Я. Н. Мухортов (1959), В. И. Румянцев (1964).
Подводя итог теоретическому обоснованию способов основной обработки почвы, следует сделать следующие выводы:
• вспашка плугами с отвалами необходима для устранения разнокачественное (по структуре и плодородию) обрабатываемого слоя почвы и борьбы с сорняками;
• целесообразно сочетание безотвального рыхления на различную глубину, а также мелких рыхлений дисковыми лущильниками с периодической отвальной вспашкой;
• в районах, подверженных ветровой эрозии, предпочтительней плоскорезная обработка с сохранением стерни на поверхности почвы.
Современное земледелие предлагает различные способы основной обработки почвы, в том числе традиционную отвальную вспашку, чизелевание, дискование, плоскорезную обработку и поверхностную.
Вспашка почвы отвальными плугами — самая энергозатратная операция, на которую расходуется до 15-20% всех энергозатрат на производство продукции. В зависимости от различных факторов (почвенный состав, состояние поля, засоренность, возможности хозяйства, личный подход агронома) вспашку производят ежегодно или один раз в несколько лет или за севооборот. Такой подход имеет все большее применение в странах Западной Европы, Америки и находит сторонников в России.
Вспашка проводится на глубину пахотного слоя. Большое значение имеют регулировка пахотного агрегата и качество вспашки. Качественное выполнение технологической операции повышает эффективность обработки почвы, экономит энергозатраты.
Требования к качеству вспашки следующие:
1. Вспашку проводят плугом с предплужниками на глубину пахотного слоя, не допускается выворачивание на поверхность почвы «неплодородного» горизонта.
2. Направление движения пахотного агрегата, а также вспашку в свал и в развал ежегодно чередуют.
3. При первых проходах тракторного агрегата должна быть достигнута прямолинейность движения, а глубина обработки почвы под свалом должна составлять половину пахотного слоя.
4. Ширина захвата плуга должна соответствовать номинальной, установленной заводом.
5. Развальная борозда должна быть прямой, после вспашки ее заравнивают.
6. Высота свальных гребней, глубина развальных борозд (после заделки) не должны превышать половины глубины вспашки.
7. Оборот пласта должен быть полным, пожнивные остатки, сорняки и удобрения заделаны, пласт разрушен на мелкие камни.
8. Допускается не более пяти случаев растительных остатков на 1 га.
9. Число комков крупнее 10 см на поверхности поля не должно превышать
10 т/м2, или 15% по объему.
10. Края поля должны быть полностью опаханы.
Примечание. При вспашке оборотным или поворотным плугом исключается вторая часть п.2, п.З, п.5 и 6.
Плуги могут быть различных марок с двумя, тремя, четырьмя корпусами и т. д. Это зависит от целесообразности и возможности каждого хозяйства, размера поля, наличия факторов определенного класса. Предпочтение отдается более мощным (до пределов разумного) пахотным агрегатам.
Одна из главных технологических операций при вспашке заключалась в сбрасывании на дно борозды верхнего слоя почвы имеете с пожнивными остатками и извлечении на поверхность нижнего слоя.
Отличие состоит в степени оборачивания пласта. Качественная вспашка плугами с винтовыми отвалами является элементом энергосбережения ввиду уменьшения силовых усилий и расхода энергии на последующую обработку поля. Полный оборот пласта обеспечивает лишь винтовой отвал.
Отвал имеет рабочую поверхность винтового типа с криволинейной (вогнутой) образующей и переменным шагом, что обеспечивает высокое качество работы:
• в отличие от корпусов с цилиндрическими рабочими поверхностями, которые разрывают пласты и разбрасывают куски дернины в разные стороны, винтовые корпуса оборачивают пласты без I разрывов, укладывая их дерниной вниз;
• получается качественный оборот пласта;
• лучше зарываются пожнивные остатки, корневая система предшественника, сорняки;
• не требуется дополнительных операций для их разработки;
• поверхность поля более качественная с ровными закрытыми бороздами.
С этой точки зрения такой отвал предпочтительней культурного и полу винтового. Дальнейшая обработка поверхностного слоя упрощается благодаря отсутствию в верхнем слое вспаханной почвы растительных и пожнивных остатков. Это в дальнейшем, в сочетании с обработкой верхнего слоя, даст более качественную подготовку почвы к севу.
Важным направлением на пути увеличения производительности пахотных агрегатов и сокращения расхода топлива при отвальной вспашке является замена обычных плугов оборотными. В России по причинам различного характера (традиционные пахотные трактора не приспособлены к работе с оборотными плугами, финансовые, информационные факторы и т. д.) оборотные плуги только начинают внедряться в производство, а в странах Западной Европы прошли широкую апробацию и успешно заменяют обычные. Использование обычных плугов стремительно сокращается, они заменяются оборотными, несмотря на более высокую их стоимость, (до 40%)
При пахоте оборотным плугом агрегат работает «челночным» способом, вследствие этого сокращаются холостые проходы агрегата, более неизбежные при работе «загонным» способом. Отсутствуют развальные борозды и свальные гребни, на выравнивание которых требуются дополнительные операции. Кроме того, нет необходимости тратить время на регулировку плуга в начале загона и при окончании его. При обороте пахотных корпусов происходит отряхивание налипшей почвы и растительных остатков — плуг самоочищается. Вследствие названных и других преимуществ производительность пахотного агрегата повышается до 12%, на 8-10% экономятся ТСМ.
Таким образом, энергосберегающими приемами пахоты плугами с оборотом пласта следует считать замену обычных плугов оборотными, более широкое применение винтовых отвалов, соответствие качества пахоты требованиям агротехники, необязательность ежегодной оборотной вспашки.
Существенным резервом экономии топлива и трудовых затрат является правильное агрегатирование. Машиностроители и поставщики сельскохозяйственной техники предлагают множество плугов, предназначенных для работы в агрегатах с различными тракторами. Тракторостроители освоили выпуск тракторов пахотного и универсального назначения, служащих для работы с различными, в том числе оборотными и поворотными плугами.
Характеристика плугов и тракторов определена системой машин, типаж которой составляют десять тяговых классов (от 0,2 до 8). Он сформирован на основе:
• обеспечения возрастающего технического уровня перспективных тракторов;
• технологической вписываемое в применяемые и перспективные технологии производства сельскохозяйственных культур;
• типизации и унификации машин и их составных частей;
• классификации по тяговым усилиям.
Тяговый класс 8 определен тракторами общего назначения двух типоразмеров: колесными и гусеничными с двигателями мощностью 330 кВт (450 л.с.) и 367 кВт (500 л.с.) Тяговый класс 6 предусматривает две модификации: общего назначения — для выполнения особо тяжелых полевых и мелиоративных работ мощностью от 300 до 450 л\с.
Тяговый класс 5 представлен колесными тракторами с двигателем мощностью от 184 кВт (250 л. до 220 кВт (300 л.с).
Тяговый класс 3 мощностью 147 кВт (200 л.с).
Тяговый класс 2 мощностью 110 кВт (150 л.с
Тяговый класс 1,4 — тракторы мощностью до 73,5 кВт (100л.с).
Тяговый класс 0,9 — тракторы мощностью 40л\с
Тяговый класс 0,6 — тракторы мощностью 25 -30 л\с
Тяговый класс 0,2 — универсальный колесный трактор для механизации работ на неудобьях, мелкаконтурных и пришкольных участках с двигателем мощностью 7-9 кВт (10-12 л.с).
Сравнительные испытания показывают, что наиболее экономичны пахотные агрегаты с гусеничными тракторами, тогда как использование колесных тракторов увеличивает расход топлива до 110-122%.
Безотвальная обработка почвы. Современная теория обосновывает, а практика подтверждает возможность и целесообразность применения иных, кроме оборотной пахоты, способов обработки почвы.
Т. С. Мальцев (1971) писал: «Ежегодно перепахивая почву, выворачивая ее нижние слои наверх, а верхние опуская вниз, мы тем самым нарушаем закон природы». Он рекомендовал проводить глубокую безотвальную вспашку, «... которая обеспечивает: а) оставление различных слоев почвы на своих местах без их взаимного перемещения; б) уничтожение многолетних и других сорняков; в) значительное увеличение окультуренного пахотного слоя, вовлечение в состав биологически деятельного слоя никогда не пахавшегося подпахотного; г) меньшее разрушение структуры почвы; д) накопление возможно большего количества влаги».
Для проведения глубокой безотвальной вспашки в 1952 г. им был сконструирован и испытан плуг без отвалов со стойками обтекаемой формы. С тех пор глубокое безотвальное рыхление или чизелевание довольно широко применяется под отдельные культуры в севообороте. Поскольку на оборот пласта энергия не расходуется, чизелевание является менее энергозатратным способом глубокой обработки почвы. Затраты энергии на чизельную обработку на 27-35% меньше, чем на вспашку. Экономия топлива составляет I, 7-27,9 кг на 1 га обрабатываемой площади. По данным Белорусского НИИ земледелия замена вспашки чизелеванием обеспечивает экономию 3,8 кг/га дизельного топлива.
Глубокое рыхление несущественно снижает твердость почвы, но оказывает положительное влияние на накопительный режим влажности.
На тяжелых почвах, заплывающих или чрезмерно пересохших, где нет возможности отказаться от глубокой обработки, возможна замена отвальной вспашки глубоким рыхлением, что обеспечит необходимые физические условия и позволит сэкономить топливо но сравнению с отвальной пахотой.
Показатели энергетического анализа систем основной обработки почвы в зерновом севообороте
Средние показатели за севооборот
Только вспашка
Вспашка + чизилевание
расход топлива, кг/га
22
18,2
Энергозатраты:
МДж/га
1402
1163
МДж/усл. корм. ед.
20
17
Стремление получать высокие урожаи, безусловно, правильно связывается с мощностью плодородного горизонта почвы, и проблема создания глубокого пахотного слоя, способного обеспечить оптимальный питательный, водный и воздушный режимы, всегда вызывала интерес ученых и земледельцев. Этой проблеме посвящены работы многих исследователей. Особенный интерес в связи с возможностью вовлечения нижних слоев почвы в пахотный слой проявляется к почвам с небольшим пахотным горизонтом (дерново - подзолистые, серые лесные).
Конечно, увеличение мощности однородного пахотного слоя сопровождается повышением урожайности. Результаты многочисленных исследователей дают основание считать нецелесообразным углубление пахотного горизонта в целях повышения плодородия почвы. Не отмечено существенной разницы в объемной массе почвы 0-30 см слоя при вспашке с дополнительным почвоуглублением по сравнению с обычной вспашкой на глубину 20 см пахотного слоя.
3.5 Разработка мероприятий по улучшению условий и режимов труда и отдыха
Совершенствование режимов труда и отдыха – одна из важнейших задач научной организации труда. В течение смены механизаторы обязательно должны иметь перерывы для отдыха. Потребность в отдыхе обусловлена понижением работоспособности при утомлении, вызывающем падение выработки.
В начале смены работник трудится менее интенсивно, постепенно втягиваясь в работу. В это время происходит перестройка физиологических функций. Рабочему необходимо определенное время, чтобы настроиться на работу. Этот период продолжается примерно 1 час. Затем наступает период устойчивой работоспособности, характеризующийся соответствующими фмзиологическими процессами в организме, он продолжается примерно 3-4 часа. К середине рабочего дня работоспособность начинает снижатся: снижается выработка, увеличивается чмсло ошибок, возникает чувство голода. В это время назначают обеденный перерыв. Во второй половине дня работоспособность изменяется примерно так же, как и в первой: меньше времени уходит на период врабатываемости, но к концу смены более ощутимо проявляется утомление. В результате заметно снижается часовая производительность.
Оптимальный режим труда и отдыха должен обеспечивать высокую производительность труда, что выражается в количестве работы, сделанной за смену, достижение высоких качественных показателей. Одновременно рациональный режим труда и отдыха способствует поддержанию высокой работоспособности. Для этого необходимо, чтобы время перерыва восстанавливались функциональные показатели организма человека.
Рассмотрим изменения работоспособности механизатора в течение рабочей смены на вспашке. Для это необходимо найти выработку за каждый час работы механизатора, используя формулу^
W = 0,1 Ч BP Ч VP Ч TO’ (5)
где: Вр - рабочая ширина захвата;
Vp - рабочая скорость;
TO’ - время основной работы за каждый час.
Значения ширины захвата Вр – (1,82м) и скорости движения Vр - (7,05км/ч). Значение Тo’ были получены из наблюдательного листа. Получим следующие результаты:
W1 = 0 W4 = 2,1 W7 = ремонт
W2 = 2,3 W5 = обед W8 = 1.3
W3 = 2,3 W6 = 0,3, ремонт
Используя полученные данные, построим динамику работоспособности механизатора:

Рис.2 Динамика производительности механизатора в течении рабочего дня
3.6 Обоснование проектных значений нормообразующих факторов и расчет нормы выработки
Определяем проектное значение рабочей скорости движения агрегата
,
(6)
где
- рабочая скорость движения по данным
полевых замеров,
=5,6 км/ч.
- рабочая скорость движения,
определенная по формуле:
Vp2 = (L Чn)/(1000 ЧTo)Ф (7)
где L- средняя длина гона, м (L=1300м)
n- число рабочих проходов агрегатов (n=34)
Vp2 = (1300 Ч34)/(1000 Ч5,2) = 8,5 км/ч
Подставляя полученные данные в формулу (6) получим:
VРn = (5,6+8,5 )/2 = 7,05 км/ч
Проектное значение рабочей ширины захвата определяется по формуле:
, (8)
где
- рабочая ширина захвата по данным
полевых замеров, ВР1 = 1,70 м.
- проектная рабочая ширина захвата
агрегата может быть рассчитана по
следующей формуле:
ВР = ВК Ч m Ч в, (9)
где Вк – конструктивная ширина захвата, м Bк = 1,75 м
m – число рабочих машин в агрегате, m=1
в – коэффициент использования конструктивной ширины захвата
(на вспашке в=1.1)
ВР = 1,75 Ч 1 Ч 1,1 = 1,93 м
Таким образом, подставляя полученные данные в формулу (8) получим:
Врn = (1,70+1,93)/2 = 1,82 м
Для определения проектного значения времени основной работы необходимо составить проектный баланс использования рабочего времени смены:

где
- проектное значение продолжительности
времени смены ( =7ч или 420 мин);
- проектное значение времени
подготовительно-заключительной работы,
устанавливается по нормативам (в нашем
случае =43)
- проектное значение времени
организационно-технического обслуживания
агрегата на загоне, устанавливается по
нормативам (в нашем случае
=29)
- проектное значение времени на
отдых и личные надобности, устанавливается
по нормативам ( на отдых – 20мин; личные
надобности -10мин), т.е.
=30 мин.
Определяем проектное значение времени оперативной работы:
(11)
ТОn + TВn = 420 – (43 + 29 + 30) = 318 мин
Проектное значение времени основной работы определяется по формуле:
(12)
где
- коэффициент поворотов, представляет
собой отношение времени на выполнение
данного элемента работы ко времени
основной работы по проекту
. (13)
Определим значение коэффициента холостых поворотов:
фпов = (tпов Ч Vp )/(3,6 Ч L), (14)
где
- среднее время одного холостого поворота
в секундах.
фпов = (138,6 Ч 7,05 )/(3,6 Ч 1300)=0,2 сек
tпов = (67 Ч 60)/29=138,6 сек
Время переездов определяется по формуле:
, (15)
где
– коэффициент переездов, показывающий
отношение времени переездов ко времени
основной работы.
, (16)
где
– средняя продолжительность одного
переезда, ч;
– среднее время, затрачиваемое
на разовую подготовку агрегата к переезду
и к работе после переезда, ч. По данным
наблюдательного листа 0 ч.
(17)
где L – расстояние переезда (км), U – скорость при переезде (км/ч).
tпер = 2,65/12=0,2 ч
фпер = (0 + 0,2) Ч (3,67 Ч 1)/9,24 = 0,08
- проектное значение чистой
часовой производительности агрегата,
га/ч
що = 0,1 Ч VPn Ч BPn (18)
що = 0,1 Ч 5,2 Ч 7,05 = 3,67 га/ч
ТOn = 318/(1 + 0,2 + 0,08) = 348,4 мин
Теперь рассчитаем технически обоснованную норму выработки:
Технически обоснованная норма выработки рассчитывается по формуле:
Нв = 0,1 Ч VPn Ч BPn Ч Тоn, (19)
где
- проектные значения нормообразующих
факторов.
Нв = 0,1 Ч 7,05 Ч 1,82 Ч 248,4/60 = 5,3 га
Время вспомогательной работы за смену:
(20)
Тв = (0,2 Ч 248,4) + (0,08 Ч 248,4) = 69,6 мин
Сравнивая фактическую и проектную норму выработки агрегата за смену, необходимо отметить, что фактическая норма ниже проектной на 0,3га. Это говорит о том, что был плохо организован процесс вспашки. Это произошло из-за плохой подготовки техники к работе (по техническим неисправностям трактора).
3.7 Расчет поточной организации трудовых процессов
Для определения нужного количества техники для вспашки почвы в завмсимости от обрабатываемой площади, производительности агрегатов, коэффициента использования сменного времени и лучшего агротехнического срока предлагается следующая формула:
, (21)
где Н – потребность тракторах, ед.;
W – производительность агрегата за час основного времени, га/час;
Кив – коэффициент использования сменного времени;
tсм – сменное время работы агрегата;
tагросрока – агротехнические сроки обработки;
С – обрабатываемая площадь, га.
Выполняет работу трактор Т-150К,площадь участка составляет 247 га, часовая производительность агрегата составляет 2,01 га/ч, ф=0,7 учитывающий возможное недовыполнение нормы выработки по не зависящим от исполнителей причинам (неблагоприятные метеорологические условия, потери рабочего времени по техническим и организационным причинам), tсм=7 ч, tагросрока=1 день.
Н = 247/(2,01 Ч0,7 Ч7 Ч1) = 25 агрегатов
В результате расчета получили, что для вспашки данного участка размером в 247 га необходимо 25 агрегатов.
В результате расчета получили, что для вспашки данного участка размером в 247 га необходимо 25 агрегатов.
3.8 Расчет численности постоянного трудового коллектива
Трудовой коллектив является одной из главных составной в сельском хозяйстве. Независимо от формы организации труда (индивидуальной или коллективной) норма времени устанавливается в расчете на исполнителя, имеющего определенный уровень квалификации, правильно организующего свое рабочее место, соблюдающего требования технологии и правила техники безопасности. Темп выполнения работы должен быть средним.
Численность механизаторов в тракторно-полеводческой бригаде зависит от следующих факторов: размера севооборота по набору культур и площади, включая естественные угодья; трудоемкости выполнения полевых работ и возделывания культур вцелом, которые, в свою очередь, зависят от технологии возделывания и сиепени механизации трудовых процессов; фонда рабочего времени в среднем на одного работника за полевой сезон.
Сезонный фонд (Сф) = Д1 Ч ТСН1 + Д2 Ч ТСН2 + ... + Дn Ч Тn
Сф = 26 Ч 9 + 24 Ч 10 + 25 Ч 8 + 27 Ч 8 + 27 Ч 10 + 25 Ч 19 + 26 Ч 7 = 1592 ч
Чмех = Зтр/Сф (22)
Чмех = 27115,18/1592 = 17 чел
3.9 Обоснование материального стимулирования
Заработная плата – совокупность вознаграждений в денежной или (и) натуральной форме, полученных работником в зависимости от количества, качества затраченного им труда и результатов деятельности.
Номинальная заработная плата – сумма денежных средств, получаемых работником за результаты своего труда.
Реальная заработная плата – объем товаров и услуг, которые работник может приобрести на свою номинальную заработную плату в текущем периоде при данном уровне цен после уплаты налогов и других отчислений.
Месячная тарифная ставка определяет уровень оплаты труда для конкретных профессионально – квалификационных групп работников бюджетных учреждений и организаций. Их размер согласуется с профсоюзами.
В практике организации заработной платы широко используются две формы – сдельная и повременная.
Сдельная форма оплаты труда учитывает объем выполненных работ или количество произведенной продукции.
Повременная форма оплаты ориентирована на зависимость размера заработной платы от количества отработанного времени и качества труда.
Основой механизма оплаты труда является тарифная система, представляющая собой совокупность нормативных документов, позволяющих устанавливать и регулировать уровень оплаты труда в зависимости от его сложности и условий.
Единая тарифная сетка работников (ЕТС) представляет собой систему тарифных разрядов и соответствующих им тарифных коэффициентов.
Тарифный разряд характеризует уровень квалификации работника.
арифные коэффициенты ЕТС показывают, во сколько раз тарифные ставки второго и последующих разрядов выше тарифной ставки первого разряда.
Формами начисления сдельной заработной платы являются следующие системы: прямая сдельная система, сдельно-премиальная, косвенно-сдельная, аккордно-сдельная, сдельно-прогрессивная, подрядная форма. Повременная заработная плата также делится на простую повременную и повременно-премиальную сисстемы.
На сельскохозяйственных предприятиях для учета труда и его оплаты используются различные первичные документы, которые содержат всю информацию, необходимую для начисления заработной платы и отнесения ее на счета затрат на производство.
Для учета механизированных работ, выполняемых трактористами, комбайнерами, применяют учетный лист тракториста-машиниста. Его выписывают на каждого механизатора отдельно раз в 10-15 дней.
В учетном листе ежедневно отмечают наименование и объем выполненных работ, отработанное время, сумму начисленной заработной платы, расход топлива по норме. Записи в учетном листе ведет бригадир или сам механизатор на основе обмера и подсчета объема фактически выполненных работ. Подписывают документ механизатор и агроном.
Специфика сельскохозяйственного производства предопределила и особенности организации материального стимулирования за конечные результаты труда: оплата за продукцию производится только после ее получения в конце года или сезона. До окончательных расчетов работникам выплачивается аванс исходя из установленных ставок и норм выработки.
Рассчитаем месячную тарифную ставку. Для этого тарифную ставку первого разряда умножаем на тарифный коэффициент и корректирующий коэффициент, а затем умножаем на 1,3 (повышающий коэффициент для механизаторов, занятых на с/х работах). При выполнении данного вида работы на соответствующем агрегате механизаторы будут оплачиваться по VII разряду з группы.
Месячная тарифная ставка составит:
Тст = 77000 Ч 1,90 Ч 1,30 Ч 1,30 = 247247 руб.
Рассчитываем часовую тарифную ставку: делим месячную тарифную ставку на количество часов отработанных механизатором – 168,8 ч:
Тст ч = 247247/168,8 = 1465 руб/ч.
Мы нашли сколько механизатор получает за один час работы. Найдем дневную тарифную ставку:
Тст дн = 1465 Ч 7 = 10260 руб.
Определим расценку за 1 га с учетом нормы выработки – 5 га. Она определяется как отношение дневной тарифной ставки к норме выработке:
Рнв = 10260/5 = 2050 руб.
Теперь определим заработную плату за проектную норму выработки. Она определяется как произведение расценки за 1 га и проектной выработки механизатора. Заработная плата составит:
ЗП = 2050 Ч 5,3 = 10865 руб.
3.10 Экономическая эффективность рекомендуемых мероприятий
Задачи, решаемые при внедрении НОТ, можно условно разделить на три основные группы: экономические, направленные на достижение высокого уровня производительности труда за счёт улучшения использования рабочей силы и вещественных элементов производства; психофизиологические, состоящие в обеспечении наиболее благоприятных условий для нормального функционирования и воспроизводства рабочей силы; социальные, заключающиеся в обеспечении условий для всестороннего и гармоничного развития личности работников, повышении степени содержательности и привлекательности их труда. Подобного рода задачи определяют коренное, принципиальное отличие НОТ в условиях социализма от буржуазной рационализации трудовых процессов.
Значение НОТ непосредственно вытекает из характера её задач. В плане экономическом НОТ — средство предотвращения возможных диспропорций между уровнем развития техники и технологии производства и уровнем организации живого труда. Внедрение НОТ обеспечивает экономию времени, представляет собой важный фактор роста производительности живого труда. Значение НОТ состоит также и в том, что она позволяет в большой мере экономить и овеществленный труд в результате лучшего использования вещественных элементов производства. И, наконец, совершенствование организации труда даёт возможность экономить будущий труд в результате учёта требований НОТ на стадии проектирования предприятий, оборудования и технологических процессов. Эта экономия будущего труда выступает впоследствии как экономия живого труда работников, занятых обслуживанием оборудования, осуществлением технологических процессов,спроектированных и созданных с учётом требований НОТ.
Внедрение НОТ создаёт также условия для сохранения здоровья трудящихся, поддержания их работоспособности, увеличения периода их трудовой деятельности, роста культурно-технического уровня работников, способствует реализации программного положения КПСС о превращении труда в первую жизненную потребность человека нового общества.
Производительность труда при выполнении технологической операции выражается количеством работы, выполненной в единицу времени. До рационализации трудового процесса выработка агрегата в пересчете на 7-часовую смену в среднем составила 5 га, при проектной организации труда планируется 5,3 га.
До рационализации:
П1 = 5/7 = 0,7 га
После рационализации:
П2 = 5,3/7 = 0,8 га
Рост производительности труда определяют по формуле:
Р = (П1/П2 - 1) Ч 100 % (23)
Увеличение производительности по нормам выработки в га:
Р = (0,8/0,7 - 1) Ч 100 = 14,3 %
Также можно определить процент сокращения трудоемкости работ.
Степень сокращения трудоемкости единицы работы определяется по формуле:
Рт = (1 - Т2/Т1 ) Ч 100 % (24)
До рационализации процесса трудоемкости составляла:
Т1 = 7/5 = 1,4 чел.-ч на 1 га.
После рационализации:
Т2 = 7/5,3 = 1,3 чел.-ч на 1 га
Рт = (1 – 1,3/1,4) Ч 100 % = 7,1 %
Данные расчетов показали, что при рационализации мероприятий трудового процесса в данном случае можно увеличить производительность труда в га на 14,3 %. А также можно снизить трудоемкость выполняемых работ на 7,1 %.
Заключение
Проанализировав существующую организацию труда в предложенном хозяйстве можно отметить, что организация трудового процесса здесь не соответствует требованиям. Это объясняется тем, что основное время смены составило только 313 минут из 645, это 48,5 % из 100%. Следовательно, произошло снижение нормы выработки и план за смену не выполнялся. Причиной является большое число простоев по техническмм неисправностям – 83 минуты. Это говорит о том, что был плохо организован трудовой процесс, и как следствие, техника не была готова к работе.
После внедрения НОТ норма выработки увеличилась на 0,3 га (с 5 га до 5,3 га) чистая часовая производительность – на 1,67 га/ч (с 2 га/ч до 3,67 га/ч). При внедрении элементов научной организации труда сократились простои агрегатов, затраты времени на повороты. А также хотелось бы отметить, что часто не соблюдаются требования по оснащению рабочего места механизатора; не выполнение этого, на первый взгляд, незначительного элемента также влечет за собой чрезмерные потери времени, что в свою очереди отражается на сменной выработке. Непроизводительные потери рабочего времени можно значительно сократить путем оперативного и четкого планирования и применения научной организации труда, которая позволяет рационально, на научной основе, организовать труд работников и обеспечить получение наибольшего эффекта от использования техники.
Список литературы
Валюженич А.Н., Лищенко И.Ф., Фабристов В.А., Редько В.Н. Научная организация, нормирование и оплата труда в сельскохозяйственных предприятиях. Горки, 1989г.
Головачев, Н.С. Березина, Н.Ч. Бокун и др.; Под общ. ред. А.С, Головачева.– М.: Новое знание, 2004. – 496с.
Земледелие, под ред. С. А. Воробьева, М., 1972. 94 с.
Карпенко Н. А., Зеленев А. А., Сельскохозяйственные машины, М., 1968; 103 с.
Каталог тракторов, сельскохозяйственных, землеройных и мелиоративных машин, транспортных средств, машин и оборудования для механизации животноводческих ферм, М., 1972.28 с.
Мальцев Т. О., Вопросы земледелия, М., 1955; 64 с.
Научная организация, нормирование и оплата труда на сельскохозяйственных предприятиях. – 2-е изд., доп. И перераб. 1991г. - 208
Обработка почвы при интенсивном возделывании полевых культур/ Т. Карвовский, И. Касимов, Б. Клочков и др. Агропромиздат, 1988г.-248с.
Организация и технология механизированных работ в растениеводстве : учеб. пособие для нач. проф. образования / Н.И.Верещагин, А.Г.Левшин, А.Н.Скороходов и др.. - 3-е изд., стер. - М. : Издательский центр «Академия», 2007. - 416 с.
Организация и технология механизированных работ в растениеводстве: Учеб. пособие. – М.: ИПРО; Изд. центр “Академия”, 2000г. – 414с.
Организация и управление производством на сельскохозяйственных предприятиях/ В.Т. Водянников, А.И. Лысюк, М., 2006.62 с.
Организация производства на сельскохозяйственных предприятиях/ Б.И. Яковлев, С.И. Азев, Э.И. Галкина и др. – 3-е изд., перераб. и доп. – 1989. 215 с.
Организация сельскохозяйственного производства/ Ф.К. Шакиров, В.А. Удалов, М.,2004. 41 с.
Организация, нормирование и оплата труда в сельскохозяйственных предприятиях – М., «ИЗДАТЕЛЬСТВО ЭЛИТ», 2004г. – 416 с.
Организация, нормирование и оплата труда на предприятиях АПК/Ю. Н. Шумаков, В. И. Еремин, С. В. Жариков, В. Б. Панов/Под ред. Ю. Н. Шумакова. — М.: Колос, 2008.— 304 с: ил. (Учебники и учеб.пособия для студентов высш. учеб. Заведений)
Практикум по научной организации, нормированию и оплате труда на сельскохозяйственных предприятиях /М.Н. Громов, В.Д. Грошев, Ю.И. Шумаков и др. – 2-е изд., перераб. и доп. – М.: Агропромиздат, 1989г. – 259с.
Практикум по организации, нормированию и оплате труда на предприятиях АКП. /Под ред. Ю.Н. Шумаков, С.В. Жариков. – М.: Колос, 2004г. – 152с.
Сельскохозяйственная техника. Каталог, 3 изд., М., 1967; 14 с.
Скорняков С., Николаев С., Культура обработки почвы и урожай, М., 1966; 158 с.
Учет труда и его оплаты: Задания для практических занятий/ Белорусская государственная сельскохозяйственная академия; Сост. Н. П. П о п к о в а. Горки, 2008. 24с.