Механизация малых животноводческих ферм
Федеральное агентство по образованию
Государственное образовательное учреждение высшего профессионального образования
Р е ф е р а т
«Механизация малых животноводческих ферм»
Выполнил студент курса
факультета
Проверил:
Бирск 2008
Оглавление
Введение 3
1. Оборудование для содержания животных 4
2. Оборудование для кормления животных 9
Список литературы 14
ВВЕДЕНИЕ
Для кормления животных в фермерских хозяйствах предусмотрен комплекс малогабаритных неэнергоемких многооперационных машин и оборудования, при помощи которых выполняют следующие технологические операции: погрузочно-разгрузочные работы и транспортировку кормов к ферме или кормоцеху, а также внутри фермы; хранение и измельчение компонентов кормовых смесей; приготовление сбалансированных кормовых смесей, транспортировку и выдачу их животным.
Оборудование с автоматической привязью коров ОСП-Ф-26о предназначено для автоматического самопривязывания, а также группового и индивидуального отвязывания коров, снабжения их водой при стойловом содержании и доении в ведра или молокопровод, а главным образом его используют при комбинированном содержании животных для кормления их из кормушек в стойлах и доения в доильных залах с применением высокопроизводительного доильного оборудования типа «елочка» и «тандем».
1. ОБОРУДОВАНИЕ ДЛЯ СОДЕРЖАНИЯ ЖИВОТНЫХ
Сборное стойловое оборудование для коров ОСК-25А. Это оборудование монтируют в стойлах перед кормушками. Оно обеспечивает содержание коров в стойлах согласно зоотехническим требованиям, фиксацию отдельных животных при отвязывании всей группы коров, а также подачу воды от водопроводной магистрали к автопоилкам и служит опорой для крепления молоко- и вакуум-проводов доильных агрегатов.
Оборудование (рис. 1) состоит из каркаса, к которому подведен водопровод; стоек и ограждений, соединенных зажимами; кронштейнов для крепления молоко- и вакуум-проводов; автопоилок; цепей привязи и механизма отвязи.
Каждая из 13 индивидуальных автопоилок (ПА-1А, ПА-1Б или АП-1А) двумя болтами прикреплена к кронштейну стойки и соединена с последней через патрубок и угольник. Водопровод скобой с резиновой прокладкой прижат к стойке. Конструкцией оборудования предусматривается применение пластмассовых автопоилок АП-1А. Для присоединения металлических автопоилок ПА-1А или ПА-1Б дополнительно между кронштейном стойки и поилкой устанавливают металлическую подставку.
Привязь состоит из вертикальной и охватывающей цепей. Механизм отвязи включает в себя отдельные секции с приваренными штырями и рычаг привода, зафиксированный скобой.
Обслуживает оборудование оператор машинного доения.
Для привязывания коровы необходимо снять цепь. При помощи охватывающей и вертикальной цепей охватить шею коровы, в зависимости от размера шеи продеть конец вертикальной цепи через соответствующее кольцо охватывающей цепи и вновь надеть на штырь.

Рис. 1. Сборное стойловое оборудование для коров ОСК-25А:
1 — каркас; 2 — автопоилка; 3 — привязь
Для отвязывания группы коров требуется освободить рычаг привода от скобы и повернуть механизм отвязи. Вертикальные цепи падают со штырей, проскальзывают через кольца охватывающих цепей и освобождают коров. Если не нужно отвязывать животных, концы вертикальных цепей надевают на противоположные концы штырей.
Технические характеристики оборудования ОСК-25А
Число коров:
подлежащих одновременному отвязыванию до 25
помещаемых в секции 2
Число автопоилок:
на две коровы 1
в комплекте 13
Ширина стойла, мм 1200
Масса, кг 670
Оборудование с автоматической привязью коров ОСП-Ф-26. Это
оборудование (рис. 2) предназначено для автоматического самопривязывания, а также группового и индивидуального отвязывания коров, снабжения их водой при стойловом содержании и доении в ведра или молокопровод, а главным образом его используют при комбинированном содержании животных для кормления их из кормушек в стойлах и доения в доильных залах с применением высокопроизводительного доильного оборудования типа «елочка» и «тандем».

Рис. 2. Оборудование с автоматической привязью для коров ОСП-Ф-26:
1 — стойка; 2 — привязь
При доении коров в стойлах предусмотрено крепление для молоко- и вакуум-проводов. В отличие от сборного стойлового оборудования ОСК-25А на оборудовании ОСП-Ф-26 обеспечивается самофиксация коров в стойлах, при этом затраты труда на обслуживание животных уменьшаются более чем на 60 %.
В каждом стойле на высоте 400 - 500 мм от пола на передней стенке кормушки установлена ловушка с фиксирующей пластиной. Все пластины закреплены на общей тяге, которую при помощи рычага можно устанавливать в два положения: «фиксация» и «расфиксация». На шею коровы надет ошейник с подвеской из цепи и закрепленным на ее конце резиновым грузиком. В положении «фиксация» пластины перекрывают окно закрытой направляющей. При подходе к кормушке корова опускает в нее голову, цепная подвеска ошейника с грузиком, скользя по направляющим, попадает в ловушку, и корова оказывается привязанной. В случае перевода рычага в положение «расфиксация» грузик может быть свободно вытащен из ловушки, и корова отвязывается. При необходимости отвязать отдельную корову грузик осторожно вынимают из ловушки вручную.
Оборудование ОСП-Ф-26 выпускается в виде блоков, соединяемых при монтаже. Кроме элементов автоматической привязи оно включает в себя водопровод с автопоилками, кронштейн для крепления молоко- и вакуум-проводов.
Элементы автоматической привязи могут быть смонтированы и на стойловом оборудовании ОСК-25А при реконструкции малых ферм, если техническое состояние позволяет эксплуатировать его в течение достаточно длительного времени.
Технические характеристики оборудования ОСП-Ф-26
Число мест для животных до 26
Число автопоилок 18
Ширина стойла, мм 1000 - 1200
Высота расположения ловушек над полом, мм 400 - 500
Габаритные размеры одного блока, мм 3000x1500x200
Масса (общая), кг 629
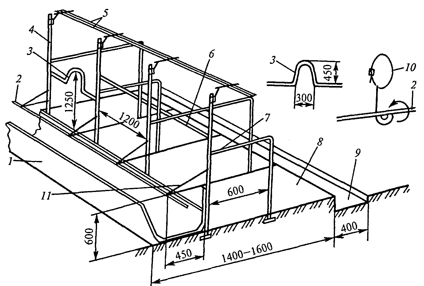
Оборудование для содержания коров в укороченных стойлах. Та
кое стойло (рис. 3) имеет длину 160—165 см и состоит из ограничителей 6 и 3, навозного канала 9, кормушки 1 и галстучной привязи 10.

Рис. 3. Укороченное стойло с привязью для коров:
1 — кормушка; 2 — поворотная труба для фиксации животных;
3 — дугообразный передний ограничитель; 4 — передняя стойка стойла;
5 — вакуум-молокопровод; 6 — прямой передний ограничитель;
7 — боковые разделители стойл; 8 — стойло; 9 — навозный канал; 10 — привязь; 11 — кронштейн для крепления поворотной трубы
Ограничители выполнены в виде дуг - коротких (70 см) и длинных (120 см), препятствующих поперечному перемещению животного в стойле и предотвращающих травмирование вымени сосед ней коровы во время отдыха. Для удобства доения короткий ограничитель установлен напротив кранов вакуум- и молокопровода 5.
Перемещение животных назад ограничено уступом над навозной решеткой и привязью, а движение вперед — прямой или дуто образной трубой. Дуговой фиксатор способствует удобному расположении животного в стойле и дает возможность свободного доступа к кормушке и поилке. Такой фиксатор должен учитывать размеры животного по вертикали и горизонтали.
Для фиксации животных на привязи впереди над кормушкой на высоте 55—60 см от уровня пола к передним стойкам при помощи кронштейнов прикреплена поворотная труба. Расстояние от нее до передних стоек составляет 45 см. К трубе приварены крючки, с которыми соединяются звенья галстучной привязи, постоянно находящейся на шее животного. При фиксации коровы крючки устанавливают в положение, при котором цепь удерживается на трубе. Для освобождения животного трубу поворачивают, при этом цепи спадают с крючков. Поворотная труба препятствует выбрасыванию корма из кормушки. Цепь галстучной привязи имеет длину 55—60 см.
2. ОБОРУДОВАНИЕ ДЛЯ КОРМЛЕНИЯ ЖИВОТНЫХ
Для кормления животных в фермерских хозяйствах предусмотрен комплекс малогабаритных неэнергоемких многооперационных машин и оборудования, при помощи которых выполняют следующие технологические операции: погрузочно-разгрузочные работы и транспортировку кормов к ферме или кормоцеху, а также внутри фермы; хранение и измельчение компонентов кормовых смесей; приготовление сбалансированных кормовых смесей, транспортировку и выдачу их животным.
Универсальный агрегат ПФН-0,3. Этот агрегат (рис. 4) смонтирован на базе самоходного шасси Т-16М или СШ-28 и предназначен для механизации работ по заготовке кормов, а также для погрузочно-разгрузочных операций и транспортировки грузов как внутри фермы, так и в поле. Он состоит из самоходного шасси 3 с кузовом 2 и навесного устройства 1 с гидроприводом рабочих органов.
Агрегат может работать с комплектом рабочих органов: при заготовке кормов — это навесная или фронтальная косилка, грабли-ворошилка и грабли для подбора сена, навесная ворошилка, укладчик сена или соломы; при погрузочно-разгрузочных работах — это набор захватов, фронтальный ковш, грейферные вилы. Механизатор при помощи сменных рабочих органов и гидроуправляемого навесного устройства проводит погрузочно-разгрузочные операции с любыми грузами и кормами на ферме.

Рис. 4. Универсальный агрегат ПФН-0,3:
1 — навесное устройство с гидроприводом; 2 — кузов; 3 — самоходное шасси
Технические характеристики агрегата ПФН-0,3
Грузоподъемность с грейфером, кг 475
Максимальное усилие отрыва, кН 5,6
Длительность цикла погрузки, с 30
Производительность, т/ч, при погрузке вилами:
навоза 18,2
силоса 10,8
ботвы 15,4
песка (ковшом) 48
Ширина захвата ковшом, м 1,58
Масса машины с комплектом рабочих органов, кг 542
Скорость передвижения агрегата, км/ч 19
Универсальный самопогрузчик СУ-Ф-0,4. Для механизации уборки навоза с выгульных площадок и очистки территории животноводческих ферм предназначен самопогрузчик СУ-Ф-0,4. Он может также использоваться для доставки подстилочных материалов, кормовых корнеклубнеплодов из хранилищ на переработку или для раздачи, очистки кормовых проходов от остатков корма, погрузки и доставки любых сыпучих и мелкокусковых материалов при внутрифермерских перевозках, подъема штучных и затаренных грузов при погрузке в транспортные средства общего назначения. В его составе тракторное самоходное шасси 1 (рис. 5) с самосвальным кузовом 2, оборудованное навеской 3 и фронтальным ковшом 4.
Механизатор при помощи гидравлики шасси опускает ковш самопогрузчика на поверхность площадки и движением шасси вперед подбирает материал до заполнения ковша. Затем, используя гидравлику, поднимает ковш над кузовом шасси и поворачивает назад для разгрузки материала в кузов. Циклы подбора и загрузки материала повторяют до полного наполнения кузова. Для загрузки кузова с автоматически открывающимся передним бортом служит тот же гидроцилиндр самоходного шасси, что и для подъема ковша. Путем перестановки опор штоков гидроцилиндров ковш можно переводить в режим бульдозера для очистки площадок и кормовых проходов и в режим разгрузчика материала с наклоном вперед.

Рис. 5. Универсальный самопогрузчик СУ-Ф-0,4:
1 — самоходное шасси Т-16М; 2 — самосвальный кузов; 3 — навеска с гидроприводом; 4 — ковш
Благодаря жесткой конструкции навесного оборудования достигается надежный подбор загружаемого материала.
Возможно дооборудование самопогрузчика навесной вращающейся щеткой для очистки территории фермы.
Технические характеристики самопогрузчика СУ-Ф-0,4
Грузоподъемность, кг:
ковша 400
самосвальной платформы 1000
Производительность на уборке навоза с транспортировкой его
на 200 м, т/ч до 12
Ширина захвата, мм 1700
Вместимость ковша, кг, при погрузке:
навоза 250
песка 370
корнеклубнеплодов 250
Дорожный просвет, мм 400
Скорость движения, км/ч:
при заборе материала до 2
при полной загрузке кузова до 8
Высота подъема в ковше штучных грузов, м до 1,6
Наименьший радиус поворота, м 5,2
Габаритные размеры, мм:
длина при опущенном ковше 4870
высота при поднятом ковше 2780
ширина 1170
Масса навесного оборудования, кг 550
Погрузчик-раздатчик кормов ПРК-Ф-0,4-5. Его используют для проведения погрузочно-разгрузочных работ, раздачи кормов и уборки навоза из навозных проходов и с площадок на малых и нетиповых фермах. В зависимости от конкретных условий эксплуатации при помощи погрузчика-раздатчика выполняют следующие операции: самозагрузку в кузов кормораздатчика силоса и сенажа, находящихся в местах хранения (траншеях, буртах); силоса, сенажа, корнеклубнеплодов и измельченных стебельчатых кормов и кормосмесей, загружаемых другими средствами; транспортировку корма к месту содержания животных; раздачу его во время движения агрегата; выдачу в приемные камеры и бункеры стационарных кормораздатчиков; погрузку различных сельскохозяйственных грузов в другие транспортные средства, а также их разгрузку; очистку дорог и площадок; уборку навоза из навозных проходов животноводческих ферм; самозагрузку и выгрузку подстилочного материала.
Влажность силоса должна составлять 85 %, сенажа — 55, зеленой массы — 80, грубых кормов — 20, кормосмеси — 70 %. Фракционный состав: зеленая и провяленная масса корма с длиной резки до 50 мм — не менее 70 % по массе, грубые корма с длиной резки до 75 мм — не менее 90 %.
Агрегат можно эксплуатировать на открытом воздухе (на выгульных и откормочных площадках) и в животноводческих помещениях при температуре -30...+45 0С. Раздачу корма, выгрузку подстилки и уборку навоза выполняют при плюсовой температуре материала.
Для прохода агрегата необходимы транспортные проезды шириной не менее 2 м и высотой до 2,5 м. Корм раздают в кормушки высотой не более 0,6 м при ширине кормового прохода между ними до 1,5 м.
СПИСОК ЛИТЕРАТУРЫ
Белехов И.П., Четкий А. С. Механизация и автоматизация животноводства. — М.: Агропромиздат,1991.,
Конаков А. П. Техника для малых животноводческих ферм. Тамбов: ЦНТИ, 1991.
Сельскохозяйственная техника для интенсивных технологий. Каталог. - М.: АгроНИИТЭИИТО, 1988.
Техника для малых ферм и семейного подряда в животноводстве. Каталог. —М.: Госагропром, 1989.