Комбикормовый цех на базе оборудования ОЦК
ВГСХА
Кафедра ТЭО
Курсовая работа
Тема:
«Комбикормовый цех на базе оборудования ОЦК»
Киров 2007
1. Обоснование темы
Корма для животных и птицы должны быть питательными, вкусными, чистыми, легкопереваримыми и хорошо усваиваемыми,. Механизация приготовления кормов облегчает труд животноводов и повышает его производительность, позволяет получать корма высокого качества, обеспечивающие высокую продуктивность животных и качество получаемой продукции при снижении ее себестоимости.
Наиболее эффективное использование кормов достигается при скармливании их в виде полнорационных кормовых смесей, сбалансированных по элементам питания, витаминам, микроэлементам, антибиотикам, биостимуляторам, поскольку полного, такого набора нет ни в одном отдельном виде корма. Получаемые в кормоцехах смеси должны строго соответствовать заданной научно обоснованной рецептуре рациона для обслуживаемой группы животных, иметь заданную влажность (65...80%) и температуру (летом — 293 К, зимой — 313 К), высокую степень однородности; частицы кормовых компонентов должны сохранять свои размеры. Кормовая смесь не должна иметь в своем составе посторонних, вредных для здоровья животных примесей и образований, бактериального обсеменения и неприятных запахов. Необходимо, чтобы корма в кормоцех поступали высокого качества, строго соблюдались технология и сроки их приготовления.
Кормоцех — это кормоприготовительное помещение, в котором размешены поточные технологические линии (ПТЛ), обеспечивающие обработку всех видов кормов для обслуживаемых животных и приготовление полнорационных кормовых смесей. Комплексная механизация приготовления смесей достигается расстановкой ПТЛ в помещении кормоцеха, обеспечивающей их взаимодействие. При этом механизированы все основные и вспомогательные операции, исключающие ручной труд.
2. Обзор и анализ существующих способов и схем кормоцехов для приготовления комбикормов
Малогабаритные кормоцехи ОКЦ-15 и ОКЦ-30 (рисунок 1)предназначены для эксплуатации на фермах с часовой потребностью до 4...6 т комбикорма. Устраивают эти кормоцехи преимущественно в блоке с зерноскладами. В состав агрегата входят молотковые дробилки, блок бункеров с дозаторами, решетный стан, магнитные сепараторы, электродвигатели, система привода и шнековые распределительные устройства. Оборудование ОКЦ-15 и ОКЦ-30 большей частью унифицировано (дробилки, смеситель, наклонный шнек, решетный стан и другое) и однотипно.

1-решетный стан; 2 -загрузочная горловина; 3 - смеситель; 4 - нория; 5 -магнитная колонка; 6 - шнек нории; 7 -циклон; 8 -шнек дробилки; 9 - просеивающее устройство; 10 - наклонный шнек; 11 - нижний шнек; 12 - шнековый дозатор; 13 и 14 - начальный и конечный бункера; 15 - зерновой бункер; 16 - дозирующий шнек; 17 – дробилка
Рисунок 1. Схема технологического процесса комбикормовый агрегат ОКЦ-15
Технологический процесс протекает в такой последовательности терновые корма поступают для очистки на решетный стан и пропускаются без обработки через смеситель и норию на магнитную колонку Очищенное от металлических примесей зерно шнеком направляется в секции зернового бункера. Минеральные и белково-витаминные добавки, проходя тот же путь, собираются в бункерах. Из зернового бункера продукт выходит через шнек-дозатор в дробилку КДУ-2 и затем через циклон и его шлюзовой затвор подается шнеком на просеиватель, где разделяется на две фракции по крупности помола. Фракции поступают в секции конечного бункера раздельно. Из бункеров дозаторы подают корм в шнек-смеситель, откуда продукт выдается наклонным шнеком в транспортные средства и кормораздатчики.
Смеситель агрегата состоит из рамы бункера, шнека, электропривода, задвижек и кормопроводов. В конической части смесителя размещена выгрузная горловина которая присоединяется к приемнику нории. Продукт поступает в смеситель через загрузочный патрубок и под действием шнека поднимается в смесительную камеру. Привод шнека осуществляется от электродвигателя через клиноременную передачу. Управление электроприводом задвижек проводится с пульта.
Управление работой агрегатов - дистанционное с центрального пульта (шкафа) управления. Система сигнализации (звуковая и световая) обличает управление работой агрегата, указывая на необходимость выключения или переключения соответствующих механизмов. Обслуживают агрегаты ОКЦ-15 два, а ОКЦ-30 три человека.
В агрегате ОКЦ применены шнеки-дозаторы с храповым приводом. При работе этих агрегатов встречаются различные неполадки и отказы.
Ежедневное техническое обслуживание агрегатов для приготовления комбикорма заключается в очистке их рабочих органов от остатков продукта, проверке и подтяжке креплений сборочных единиц и подшипников, проверке натяжения приводов, удалении металла из магнитной колонки, смазке подшипников в соответствии со схемой и таблицей смазки.
Кормоцех КЦС-100/1000 (рисунок 2)рассчитан на приготовление кормов для 100 свиноматок с поросятами и 1000 свиней откормочного поголовья. Цех имеет шесть поточных линий: корнеклубнеплоды с транспортера ТК-5 поступают в измельчитель ИКС-5М и шнеком ШЗС-40А подаются в смеситель АПС-6; зеленые корма из измельчителя ИЗМ-5 загрузочным транспортером смесителя АПС-6 направляются в шнек ШЗС-40А; концкорма из питателя ПК-6 также поступают в шнек ШЗС-40А и далее в смеситель. Если требуется тепловая обработка корма или кормовой смеси, то продукт от шнека ШЗС-40А идет в варочный котел ВК-1. Обрат или питательные растворы направляются в смеситель от установки УН-2. Заканчивается процесс выгрузкой готового корма шнеком ШВС-40 и скребковым транспортером ТС-40М в кормораздаточное устройство.

1- измельчитель ИЗМ-5,0; 2 - транспортер АПС-6,0; 3- питатель концкормов ПК-6,0; 4 - транспортер корнеклубнеплодов ТК-5,0; 5 - измельчитель корнеклубнеплодов ИКС-5М (ИКМ-5,0); 6 - насосная установка УН-2,0 для обрата; 7 - выгрузной шнек ШВС-40; 8 - выгрузной транспортер ТС-40М; 9-смеситель АПС-6,0; 10 - варочный котел ВК-1,0; 11 - загрузочный сборный шнек ШЗС-40А.
Рисунок 2. Технологическая схема кормоприготовительного цеха КЦС-100/1000
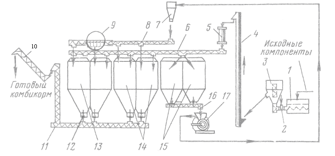
Комбикормовый цех ОЦК-4 (рисунок 3)предназначен для приготовления рассыпчатых и гранулированных комбикормов из зерна и белково-витаминных добавок промышленного производства или местного изготовления на базе премиксов. Комплектуют из отдельных блоков: размольно-смесительного, приготовления БВД, минеральных добавок, приготовления и ввода жидких добавок, гранулирования. Включают бункера и емкости для компонентов, оборудование для их измельчения и дозирования, систему пневматического управления оборудованием для дозирования сыпучих компонентов, транспортные средства и щиты электрооборудования. Использование системы пневмоавтоматики для транспортирования исходных компонентов, управления технологическим процессом, весового (массового) дозирования компонентов, порционного смесителя позволило обеспечить полную автоматизацию процесса приготовления комбикормов высокого качества.
Зерновые компоненты и промышленное белково-витаминные добавки подаются со склада на вибросепаратор, где очищаются от посторонних включений, норией и загрузочным шнеком через магнитную колонку загружаются в бункера размольно-смесительного отделения. Четыре бункера предназначены для зерновых компонентов, один — для готовых БВД и один — для травяной муки в рассыпном виде. При помощи пневматической управляющей машины в соответствии с заданным рецептом осуществляются последовательное дозирование каждого компонента и подача пневмотранспортером на порционные весы.
Сформированная порция зернового компонента через распределитель поступает в промежуточный бункер, а из него в дробилку ДБ-5. Дерть подается в бункер над порционным смесителем. В освободившиеся порционные весы в соответствии с заданным рационом последовательно подаются и взвешиваются порции БВД и травяной муки, которые также подаются в бункер над порционным смесителем. Подготовленная последовательно порция кормов массой до 500 кг засыпается в порционный смеситель для перемешивания. Затем цикл повторяется. Приготовленная смесь кормов выгружается из смесителя и подается на склад или в блок гранулирования, если в комбикорма добавляют жир, мочевину или мелассу, то смесь кормов подается в другой смеситель, в который дозированное загружаются перечисленные жидкие компоненты. При этом мелассу подогревают и при необходимости смешивают с карбамидом. После этого готовый комбикорм норией подается на склад или в блок гранулирования.
Оператор управляет работой ОЦК-4 с пульта управления. Производительность цеха 4 т/ч, установленная мощность 220 кВт.
Механизация приготовления кормолекарственных смесей при помощи передвижной установки УКС-1 на месте вспыхнувшего заболевания позволяет быстро ликвидировать его.

1-вибросепаратор; 2-нория; 3-магнитная колонка; 4-загрузочный шнек; 5-циклон; 6- просеивающее устройство;7-порционные весы; 8-бункер; 9-порциальный смеситель; 10 - наклонный шнек; 11 - нижний шнек; 12 - шнековый дозатор; 13-бункер для готовых БВД; 14 – бункер для травяной муки; 15 - зерновой бункер; 16 - дозирующий шнек; 17 –промежуточный бункер;18- дробилка.
Рисунок 3. Технологическая схема комбикормовый цех ОЦК-4
3. Выбор конкретной схемы

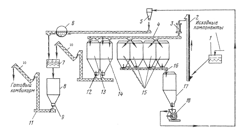
1-вибросепаратор; 2-нория; 3-магнитная колонка; 4-загрузочный шнек; 5-циклон; 6- просеивающее устройство;7-порционные весы; 8-бункер; 9-порциальный смеситель; 10 - наклонный шнек; 11 - нижний шнек; 12 - шнековый дозатор; 13-бункер для готовых БВД; 14 – бункер для травяной муки; 15 - зерновой бункер; 16 - дозирующий шнек; 17 –промежуточный бункер;18 - дробилкаДБ-5.
Рисунок 4. Технологическая схема комбикормовый цех ОЦК-4
Из перечисленных существующих схем кормоцехов для приготовления комбикормов по данным задания нам подходит комбикормовый цех ОЦК-4, схема которого представлена на рисунке 4.
4. Технологический расчет и подбор оборудования
В задании дано:
1- производительность цеха 20тонн в смену,
2- камбикорм идет на корм различным видам животным и птицы,
3- работа в 2 смены.
Производительность оборудования ОЦК-4 тонны в час, тогда одна смена работает 5 часов, то есть первая работает с 8 часов до 13 часов, вторая с 14 часов до 19 часов.
5. Энергетический расчет
W=t>осв> *P>осв>+ t>оцк> *P>оцк>,
где t>осв>- время работы освещения, ч.; t>осв>=11часов (с8 часов до 19часов),
P>осв>- производительная мощность освещения, кВт.; P>осв>=7кВт,
t>оцк> - время работы оборудования ОЦК-4, ч.;
t>оцк>= t>оцк(1 смена)+> t>оцк(2 смена)>,
где t>оцк(1 смена)>- время работы оборудования ОЦК-4 за первую смену, t>оцк(1 смена)>=5часов,
t>оцк(2 смена)>- время работы оборудования ОЦК-4 за вторую смену, t>оцк(2 смена)>=5часов
Тогда
t>оцк>=5+5=10часов
P>оцк>- производительная мощность оборудования ОЦК-4, кВт.; P>оцк>=220кВт
Тогда
W=11*7+10*220=2277кВт*ч
6. График работы оборудования и график установленных мощностей
Для построения графика оборудования и график установленных мощностей, нам потребуется мощность двигателей всего технологического процесса:
Мощность оборудования ОЦК-4, P>оцк>=220кВт
Перед построением графиков, занесем имеющиеся данные в таблицы 1 и 2.
Таблица 1- Время работы оборудования
|
Оборудование (марка) |
Время работы, ч |
|
|
начало |
конец |
|
|
1 |
2 |
3 |
|
1 |
2 |
3 |
|
освещение |
8ч. |
19ч. |
|
ОЦК-4(1) |
8ч. |
13ч. |
|
ОЦК-4(2) |
14ч. |
19ч. |
Таблица 2- Данные к графику установленных мощностей
|
Обозначение позиций |
Марка машины |
Общее время работы t, ч и мин |
Мощность Р, кВт |
|
І |
лампы |
11 ч. или 660 мин. |
7 |
|
ІІ |
ОЦК-4(1) |
5 ч. или 300 мин. |
220 |
|
ІІІ |
ОЦК-4(2) |
5 ч. или 300 мин. |
220 |
По данным таблиц 1 и 2 строим график работы оборудования и график установленных мощностей.
7. Технико-экономические показатели, техника безопасности и противопожарные мероприятия
Технико-экономические показатели
При оценке мероприятиях связанных с внедрением средств механизации в животноводство используются количественные и качественные показатели.
1)Количественные показатели характеризуют уровень оснащения производственных процессов машинами и другим:
а) объем механизированных работ;
б) уровень механизации производственных процессов. Этот уровень характеризуется отношением поголовья скота, которое обслуживается при помощи машин к общему поголовью скота;
в) уровень механизации фермы;
2)Качественные показатели:
а) затраты труда на обслуживание поголовье;
б) затраты труда на единицу произведенной продукции;
в) прямые эксплуатационные издержки является основным показателем оценки экономической эффективности средств механизации.
И=З+А+Рт.о.+Рт.р.(к.р.)+Сэ+Ст
И- прямые эксплуатационные издержки, руб;
А- амортизационные отчисления, руб;
З- зарплата рабочих, 4000 руб*6=24000 руб.; по 3 человека работает в одну смену;
Рт.о. – отчисление на техническое обслуживание, руб;
Рт.р.(к.р.) – отчисления на текущий и капитальный ремонт, руб;
Сэ – затраты на электроэнергию, руб;
Ст – затраты на топливо-смазачные материалы. руб;
Х – затраты на хранение.
,
где Б- балансовая стоимость оборудования, руб;
а – процент отчисления на амортизацию, а=20%.
Б=П*(1,1…1,3),
где П- прейскурантная цена
Б>оцк-4>=1000000*1,1=1100000

,
где б- процент отчисления на техническое обслуживание, б=35 %,

,
где в- процент отчисления на текущий и капитальный ремонт, в=25%,

Сэ=Ц* W,
где Ц-цена электроэнергии,Ц-стоймость 1 кВт.= 1,60 руб.
W –общий расход электроэнергии за сутки, кВт*ч;
Сэ=2277*1,60=3643,2 руб.
Ст=Цт*Q,
где Цт- цена топлива, Цт=20руб.,
Q- количество израсходованного топлива, Q=0 руб.
Ст=20*0=0 руб

Техника безопасности и противопожарные мероприятия
К работе с машинами и аппаратами допускаются физически здоровых людей, прошедших медицинский осмотр, изучивших устройство и правила эксплуатации машин.
При работе на режущих и дробильных машинах необходимо соблюдать правила техники безопасности: техническое обслуживание, ремонт и другие работы по уходу за машинами, не связанные непосредственно с рабочим процессом, выполняют при обесточенном электродвигателей снятом предохранителе; при работе нельзя проталкивать корм в рабочие органы руками или какими-либо предметами, нельзя очищать забившиеся рабочие органы до остановки и отключения машины от электросети; перед работой необходимо тщательно закрепить крышки дробильных камер; во время работы нельзя находиться в плоскости вращения ротора; нужно периодически проверять состояние заземления корпуса машины.
Перед каждым пуском проверяют надежность креплений и соединений частей машины, натяжение цепей и лент транспортеров.
Для противопожарных целей должны соблюдаться следующие условия: первичные средства тушения пожара в доступном месте, должна проводится вентиляция помещения, курить в специально отведенном для этого месте, необходимо размещать средство индивидуальной защиты и аптечку в доступных местах.
Литература
1) Белянчиков Н.Н., Смирнов А.И. Механизация животноводства.- М.: Колос,1983.-359 с;
2) Завражнов А.И., Николаев Д.И. Механизация приготовления и хранения кормов.-М.: Агропромиздат,1990.-335 с;
3) Карташов Л.П., Чугунов А.И., Аверкиев А.А. Механизация, электрификация и автоматизация животноводства.- М.: Колос,1997.-368 с;
4) Рощин П.М. Механизация в животноводстве.- М.:Агропромиздат,1988.-284 с.