Розробка лінії по виробництву рослинної олії
Вступ
Олійно-жировий комплекс України займає одне з чільних місць в аграрному секторі економіки.
Питома вага товарної продукції олійно-жирового виробництва складає близько 15% загального виробництва харчової промисловості.
Комплекс включає в себе:
вирощування та реалізацію олійних культур;
олієдобування;
виробництво та реалізацію олійно-жирової (олії, маргарини, спеціальні жири, майонезу, мила) та супутньої продукції (шрот, макуха, фосфатидні концентрати та інші).
У виробництві олійних культур основна маса припадає на соняшник, площі посіву якого складають 2,2–2,4 млн. га. Під посівами сої та ріпаку зайнято відповідно 100–120 тис. га.
Структуру виробництва олійних культур в Україні складно віднести до категорії раціональної, однак вона віддзеркалює загальний фінансово-економічний стан сільського господарства, складнощі попереднього періоду реформування аграрного виробництва.
Насіння соняшнику поки залишається одним із найбільш високоліквідних продуктів як на внутрішньому, так і на зовнішньому ринках.
Протягом 1986–1990 років валовий збір соняшнику в Україні на площі 1,6–1,7 млн. га був стабільним і в середньому становив 2,6 млн. тон. Такі результати були досягненні завдяки більш широкому застосуванню інтенсивних технологій вирощування соняшнику і раціональному використанню пестицидів та добрив.
У 1991–1999 роках мала місце тенденція до зростання посівних площ під соняшником (у середньому за рік на 8%) з одночасним зниженням показників урожайності (на 19%) і валового збору (на 16%).
1996–1998 роках майже половина вирощеного урожаю соняшнику експортувалась, а кількість насіння, що проходила для виробництва олії, не забезпечувала потреб внутрішнього ринку в олійно-жировій продукції, що спричинило економічний занепад промисловості.
Починаючи з 1999/2000 років змінилась структура використання насіння соняшнику, обсяги його переробки на вітчизняних підприємствах у 2001/2002 роках збільшились у 2,5 рази, а у 2002/2003 роках обсяги його переробки зросли у 3,4 рази.
Розвиток виробництва олійних культур і олії є перспективним для аграрного сектору економіки України, виходячи зі сприятливих кліматичних умов, постійно зростаючого попиту на рослинні жири. [12]
1. Характеристика галузі
За період з вересня 2005 року по серпень 2006 року олійно-жировими підприємствами України перероблено більше 2,8 млн. тон насіння олійних культур (табл. 1.1).
Темпи переробки олійної сировини по відношенню до минулого маркетингового року склали 86,6%.
Таблиця 1.1 Об’єми переробки насіння олійних культур
|
Сировина |
Об’єми переробки, тис. тон |
Зміни, % |
|
|
2004–2005 р. |
2005–2006 р. |
||
|
Соняшник |
2645,1 |
3173,0 |
83,4 |
|
Рапс |
51,7 |
14,7 |
в 3,52 рази |
|
Соя |
87,4 |
28,4 |
в 3,1 рази |
|
Інші культури |
31,0 |
34,5 |
89,9 |
|
Всього |
2815,2 |
3250,6 |
86,6 |
Якщо в 2004–2005 роках показник переробки соняшника склав 97,6% до загального об’єму переробки насіння олійних культур, то в 2005–2006 цей показник склав 93,9%. Скорочення питомої ваги соняшника в загальній переробці олійної сировини трапилось із-за збільшення об’ємів переробки насіння сої та рапсу.
За даними офіціальної статистики за 2005–2006 роки експорт соняшника урожаю 2005 року склав всього 11,5 тис. тон проти 927,7 тис. тон урожаю 2004 року.
Асоціація «Укроліяпром» приводить данні Держкомстату України відносно виробництва олійно-жирової продукції в 2005–2006 році по результатам роботи підприємств, підзвітним статистичним органам (табл. 1.2).
В 2005–2006 роках, в порівнянні з 2004–2005 роками, виробництво олії зменшилось на 15%, і виключно соняшникової – на 17,1%. З 24 основних спеціалізованих підприємств в 2005–2006 роках 18 підприємств знизили об’єми виробництва нерафінованої олії, що пояснюється, головним чином, зменшенням збору насіння соняшника.
Таблиця 1.2 Виробництво рослинної олії та шроту, тис. тон (без врахування олійниць)
|
2005–2006 р.р. |
2004–2005 р.р. |
% |
8 міс. 2006 р. |
8 міс. 2005 р. |
% |
|
|
Вироблено олії, всього |
1162,9 |
1367,9 |
85,0 |
756,7 |
929,3 |
81,4 |
|
в т.ч. Соняшникової |
1114,9 |
1344,1 |
82,9 |
728,3 |
904,3 |
80,5 |
|
Рапсової |
19,2 |
5,2 |
369,2 |
8,0 |
3,0 |
266,7 |
|
Соєвої |
15,9 |
5,5 |
289,1 |
14,1 |
2,7 |
522,2 |
|
Іншої |
12,9 |
13,1 |
98,5 |
6,3 |
19,3 |
32,6 |
|
Олії рафінованої |
433,2 |
326,5 |
132,7 |
297,4 |
222,9 |
133,4 |
|
Олії фасованої |
277,7 |
225,8 |
123,0 |
191,4 |
154,6 |
123,8 |
|
Шрота |
1100,8 |
1273,4 |
86,4 |
796,0 |
915,4 |
86,9 |
Суттєво, на 32,7% зросло виробництво рафінованої олії. За період з вересня 2005 року по серпень 2006 року рафінованої олії вироблено 433,2 тис. тон, або 37,2% від загального виробництва олії.
Невідповідність між об’ємами виробництва нерафінованої олії та рафінованої по окремим підприємствам зв’язано з виробництвом рафінованої олії за рахунок закупівлі сирої олії.
Об’єми виробництва фасованої олії також мають тенденцію до росту. Із-за відсутності офіційної статистики, по цій позиції приводять дані лише по підприємствам асоціації «Укроліяпром».
Як свідчать приведені дані, виробництво фасованої олії в 2005–2006 роках зросло в порівнянні з 2004–2005 роками на 23%. За 8 місяців 2006 року в порівнянні з відповідним періодом минулого року – на 23,8%.
Характеристика господарства
Загальні відомості
В північному Степу на Лівобережжі Дніпра в селищі Миролюбівка Синельниківського району Дніпропетровської області в 1997 році на базі КСП «Миролюбівське» було організоване СФГ «СВІТ». Загальна територія його на сьогодні становить 9870 га, в т.ч. ріллі – 7706 га.
В КСП «Миролюбівське» протягом останніх років спостерігався стійкий спад виробництва як у рослинництві, так і в тваринництві.
Рішенням загальних зборів від 16.08.1997 р. КСП «Миролюбівське» було реформовано, земля була розпайована в натурі. Кожен член КСП отримав державний акт на свій пай 6,5 га. Витрати на проведення цієї клопіткої роботи склали 70 тис. грн. Майновий пай в натурі не розпайовувався, а був оцінений в грошовому виразі і кожному члену КСП була визначена сума майнового паю в грошах залежно від його трудового вкладу в господарство за попередні роки.
Проведена робота по розпаюванню послужила основою для організації селянського фермерського господарства. Майнові і земельні паї колишніх членів КСП були передані в уставний фонд товариства, що дозволило уникнути цілого ряду негативних моментів. Інвестором і юридичною особою в процесі реструктуризації господарства виступило підприємство СФГ «СВІТ».
Перед реформованим господарством в перші дні стала проблема: як припинити спад виробництва і організувати його на новій правовій, організаційній і технологічній основах. Для цього знадобився пошук, освоєння і впровадження нових науково обґрунтованих технологій сільськогосподарського виробництва, реконструкція і створення відповідної до потреб матеріально – технічної бази, закріплення технології і трудової дисципліни. На базі вивчення передових технологій вітчизняних і закордонних вчених, інститутів і фірм керівництвом товариства була розроблена конкретна програма розвитку господарства на найближчі 5 років. Цій розробці передував пошук інформації і досвіду з провадженням передових технологій. В галузі землеробства нам допомогло ознайомлення і використання ґрунтозахисних технологій, розроблених вченим Київського аграрного університету для ґрунтово-кліматичних умов нашої місцевості. В галузі тваринництва ми орієнтувалися на використання досвіду передових господарств України в галузі тваринництва, а саме таких як Агро-Союз
Основні напрямки діяльності
У рослинництві – впровадження ґрунтозахисних систем землеробства з розширенням, відтворенням родючості ґрунтів та поступовим переходом на ґрунтозахисне біологічне і точне землеробство. Це основне завдання повинно вирішуватись застосуванням ґрунтозахисних технологій з мінімалізацією обробітку ґрунту, відтворенням родючості ґрунтів за рахунок органічних і мінеральних добрив, використанням біологічних препаратів для покращення фосфатного режиму, біостимуляторів розвитку і росту рослин. Цій меті відповідає також пошук більш урожайних видів рослин і їх сортів, використання насіння високих репродукцій, захист рослин від шкідників і хвороб.
У тваринництві – реконструкція тваринницьких ферм і створення нової матеріально-технічної бази, безприв’язне холодне утримання худоби, збалансована цілорічна годівля дійних корів концентрованими кормами, племінна і селекційна робота.
У зберіганні і переробці зерна – будівництво критого току і свого елеватора, будівництво і оснащення лабораторії по визначенню якості сільськогосподарської продукції і її сертифікація, будівництво млина, пекарні, комбікормового цеху, лінії очистки зерна і протруювання посівного матеріалу.
У впровадженні і вивченні нових технологій – утворення навчального центру з впровадженням наукового центру для проведення наукових досліджень з удосконаленням технологій, модельного підприємства з впровадженням новітніх технологій, випробування імпортної техніки з метою вибору найкращих машин для наших ґрунтово-кліматичних умов і технологій, інструментальної бази з порівняльного аналізу різних технологій і новацій.
У економіці і бухобліці – економічний аналіз роботи структурного підрозділу, розробка комп’ютерних програм реального бухгалтерського обліку матеріалів і витрат, систематичного балансу в кожному підрозділі.
У даний час СФГ «СВІТ» має більше 1 тис. голів ВРХ, більше 1,5 тис. свиней. МТП включає в себе 18 різних комбайнів, 20 тракторів, більше як 60 одиниць сільськогосподарських машин і знарядь. 26% техніки складають машини імпортного виробництва, а вся остання техніка вітчизняна, але знаходиться у належному стані.
Введений в експлуатацію критий тік загальною площею 4,4 тис. м2, вагова, сучасні лабораторії аналізу зерна і іншої сільськогосподарської продукції, ґрунтова аналітична лабораторія, почалася дослідникові експлуатація супутникового контролю полів (точне землеробство).
Завершена реконструкція і введений в експлуатацію тваринницький комплекс на 75 голів ВРХ червоної степової породи.
Валовий збір зерна в 1999 році склав 7400 тон зерна, середня урожайність зернових – 25 ц/га, середній надій на корову – 4640 л, рентабельність виробництва – 13%.
Ґрунтово-кліматичні умови господарства
2.3.1 Ґрунти господарства
СФГ «СВІТ» розташоване в степовій зоні. Основні площі землекористування господарства зайняті чорноземами: звичайними мало гумусними і їх змитими та намитими різновидами. Вони мають сприятливі для землеробства водно-фізичні, фізично-хімічні та агрономічні властивості.
За даними польових обстежень в орному шарі ґрунту господарства в середньому міститься 4,3% гумусу, 2,2 мг нітратного азоту, 14,2 мг рухомого фосфору, 14,1 мг обмінного калію на 100 г. ґрунту.
Ґрунтам властива нейтральна та близька до нейтральної реакція ґрунтового розчину: рН сольової витяжки 6,5, водної – 7,1, гідролітична кислотність 0,99 мг-екв. на 100 г. ґрунту, насиченість вбирного комплексу катіонами складає 97%.
За показниками вмісту поживних речовин ґрунти господарства слабо забезпечені азотом, але підвищено і високозабезпечені фосфором і дуже високо – калієм. Це одна з особливостей впливу на ґрунти обробітку їх без обертання скиби. За вмістом мікроелементів ґрунти господарства мають високий рівень міді, середній і високий – кобальту та магнію, низький – цинку. Вміст в ґрунтах господарства важких металів в 2 – 10 разів менший, ніж гранично допустимий. Не виявлено в них залишків стійких пестицидів, а вміст радіонуклідів знаходиться на рівні фонового радіоактивного забруднення.
На території господарства проявляється водна ерозія і періодично – вітрова. Площа еродованих ґрунтів складає 17% ріллі. Для них характерний укорочений гумусовий горизонт, вони містять менше поживних речовин і продуктивної вологи, мають гірші фізично-хімічні та водно-фізичні властивості. Досягти максимальної віддачі від таких ґрунтів можна лише за умови послаблення і припинення водної та вітрової ерозії.
Підвищення родючості ґрунтів, захист їх від факторів деградації, збільшення виробництва сільськогосподарської продукції, економія енергоресурсів та забезпечення екологічної безпеки навколишнього середовища покладені на ґрунтозахисну систему землеробства, яка впроваджується в господарстві.
За умов виходу господарства на ринкові відносини зростають ціни на мінеральні добрива, значно підвищується роль місцевих органічних добрив як засобу підвищення продуктивності рослин і досягнення в якості органічних добрив на полі залишають нетоварну частку врожаю: солому, подрібнені стебла кукурудзи, соняшника, сорго. Одна тонна їх з компенсацією азотної недостатності внесенням 10 кг діючої речовини азоту по своїй дії і після дії на врожай і накопичення гумусу в ґрунті дорівнює 5 тоннам напівперепрілого гною.
Екологічний стан ґрунтів і навколишнього середовища дозволяє господарству вийти на біологічне землеробство і вирощувати екологічно чисту продукцію для дитячого лікувального та профілактичного харчування, що планується зробити в найближчі роки.
2.3.2 Кліматичні умови господарства
СФГ «СВІТ» розташоване в зоні ризикового землеробства. Основним лімітуючим кліматичним ресурсом є опади. За останні 10 років річна сума опадів коливалась в межах від 321 мм в 1994 році до 746,6 мм в 2002 році. За час існування СФГ «СВІТ» найбільш сприятливим за рівнем зволоження був 1997 рік, а особливо посушливим – 1999 рік.
Полосові діаграми рівня зволоження протягом вегетаційного сезону, розраховані за Госсеном-Вольтером, за середніми багаторічними даними зображають у вигляді прямих діаграм. Наведені дані свідчать, що в умовах найбільш вологого забезпеченого 1997 року явище ґрунтової посухи на протязі вегетаційного сезону взагалі відсутнє, а в 1999 році тривалість посухи складала 45,2% вегетаційного сезону. Лише початок і кінець вегетаційного сезону характеризувались рівнем зволоження. За середніми багаторічними даними нестача вологи для розвитку сільськогосподарських культур спостерігається на протязі 12,7% тривалості вегетаційного сезону. В цих умовах одним з пріоритетних завдань механічного обробітку ґрунту є накопичення і збереження вологи. Світова практика і досвід господарства свідчать, що завданню збереження вологи найбільш відповідає мінімальний обробіток ґрунту культиваторами. Це було однією з основних причин відмови спеціалістів господарства від полиневого обробітку ґрунту. Вегетаційний сезон за даними Синельниківської дослідної станції триває з 03.04. по 31.10. (дати стійкого переходу температури повітря через +5°С). Без морозний період по середніх багаторічних датах починається з 17 березня, а завершується 24 листопада.
Весна починається з переходу середньодобової температури повітря через 0°С і завершується при досягненні 15°С, за середніми багаторічними даними вона триває 53 дні, але за останні 4 роки відмічалися дуже великі відхилення.
Наприклад, в 2000 році весна почалася на 30 дні раніше нормальних строків. При цьому протягом майже всієї весни утримувався підвищений на 3 – 11 градусів температурний режим. Однак, кінець весни характеризувався аномально холодною погодою. Температура на поверхні ґрунту в деякі дні опускалася до 5–7 градусів морозу. В цілому весна продовжувалась майже в двічі звичайного.
Літо по середнім багаторічним даним триває 97 днів. В 2000 році його тривалість була майже на один місяць довша і склала 125 днів. При цьому почалося воно на два тижні пізніше строків.
Осінь звичайно триває 65–70 днів. В 1999 році її тривалість була майже в два рази коротшою – 35 днів.
Таким чином, суттєві коливання кліматичних умов вимагають від аграріїв користування технологій відповідно до умов, що складаються. Звідки є обов’язковою вимогою до технології є її пластичність – здатність і можливість її адаптації до коливань кліматичних умов. Цій вимозі на думку спеціалістів, більше відповідає мінімальна технологія ніж традиційна.
2.4 Характеристика рослинництва
2.4.1 Структура посівних площ
При утворенні СФГ «СВІТ» площа ріллі складала 7005 га. В 2004 році вона збільшилась до 9807 га. збільшення площ на 2802 га було зумовлено прийняттям на роботу в господарство кількох членів КСП «Миролюбівське», які зразу після розпаду КСП утворили самостійні фермерські господарства, але вони через деякий час збанкрутіли.
За час освоєння енергозберігаючих вирощування культур в структурі посівних площ господарства відбулися зміни, причинами яких були:
Коливання кон’юнктури ринку с.-г. продукції. У відповідності до вимог ринку у господарстві збільшили долю зернових культур з 32% до 45 – 47%. В зерновій групі співвідношення озимих і ярих культур коливається по роках в залежності від умов, що створюються під час посіву озимих культур та їх стану після зими.
Основною озимою культурою є пшениця, доля якої в групі озимих зернових культур складає 95 – 98%. В останні роки агрономічною службою господарства розширено валовий набір озимих культур, які вирощуються на зерно.
Серед ярих основною культурою є кукурудза, доля якої в групі ярових зернових культур складала 55–60%. Висока здатність технології, невисока урожайність і несприятлива кон’юнктура кукурудзи на зерновому ринку зумовили те, що в 2000 році площу зернової кукурудзи зменшили до 650 га, що складає 49% групи ярових зернових культур. При цьому різко збільшена площа ярих зернових культур, наприклад, ячмінь – майже в два рази, овес – в три рази.
Висока економічна ефективність вирощування соняшника зумовила суттєве зростання даної культури в структурі посівних площ: з 700 га в 1996 році до 1086 га в 2004 році.
2. Наявний набір техніки. Цим фактором викликана відмова від вирощування гороху, технологія якого не могла бути забезпечена наявним в господарстві набором сільськогосподарської техніки. В групі бобових культур основною виступає соя, ранньостиглі сорти якої є добрим попередником для озимих культур.
3. Зростання поголів’я худоби і потреби в кормах. Коливання долі кормових культур зумовлене змінами поголів’я худоби, яке за останні 4 роки постійно зростає. Зростання поголів’я зумовило збільшення долі кормових культур з 15% в 1997 році до 28% в 2005 році. Основними кормовими культурами є: багаторічні трави, частина яких за останні 4 роки в кормовій групі збільшилась з 15% до 45%; кукурудза на силос, частина якої зменшилась з 51% до 24% та ярі й озимі однорічні трави. Менша урожайність ярих однорічних трав зумовила їх заміну озимими культурами.
Пластичність схеми польової сівозміни дає можливість спеціалістам господарства без принципового її порушення регулювати посівну площу та валовий збір сільськогосподарських культур відповідно до економічних та господарських умов, що складаються. Спеціалісти господарства вважають, що на сьогодні структура посівних площ не є оптимальною. Тому робота з удосконалення продовжується.
2.4.2 Удобрення сільськогосподарських культур
Система удобрення культур є однією з ланок ґрунтозахисної технології їх вирощування. Слід відзначити, що система удобрення при мінімальній технології відрізняється від тієї, що застосовуються при оранці. Дана технологія передбачає також накопичення на поверхні ґрунту поживних решток культур які захищають ґрунт від руйнівної сили вітрів та водної ерозії, забезпечуючи розширене відтворення ґрунтової родючості та зменшують випаровування з поверхні ґрунту.
Таблиця 2.1 Структура посівних площ СФГ «СВІТ»
|
Культури |
2004 |
2005 |
2006 |
|||
|
га |
% |
га |
% |
га |
% |
|
|
Рілля |
6787 |
100 |
6722 |
100 |
7706 |
100 |
|
Зернові |
3252 |
48 |
3127 |
47 |
4125 |
47 |
|
В. т. ч. озимі |
2405 |
35 |
2262 |
34 |
1946 |
29 |
|
Ярі |
847 |
12 |
865 |
13 |
1179 |
18 |
|
Зернобобові |
537 |
8 |
222 |
3 |
337 |
5 |
|
Круп’яні |
236 |
3 |
- |
- |
46 |
1 |
|
Технічні |
1226 |
18 |
1086 |
16 |
1600 |
21 |
|
Кормові |
1549 |
23 |
2387 |
37 |
2259 |
31 |
|
Картопля |
25 |
0,4 |
- |
- |
- |
- |
|
Гарбузи |
- |
- |
75 |
1 |
78 |
1 |
|
Чистий пар |
- |
- |
- |
- |
- |
- |
Для забезпечення позитивного балансу ґрунту на полі передбачене внесення гною під кукурудзу на зерно та кукурудзу на силос в нормі 40 т/га, залишення на полях нетоварної частини врожаю: соломи озимої пшениці, ячменю, а також подрібнених стебел кукурудзи та соняшнику з компенсацією азотної недостатності, внесенням 10 кг діючої речовини азотних добрив на кожну тону післяжнивних решток.
Розроблена система удобрення спеціалістами господарства дозволяє забезпечити культури елементами живлення в оптимальних нормах та співвідношеннях, що в свою чергу сприяє більш раціональному використанню вологи рослинами.
Відомо, що мінімальний обробіток ґрунту є одним з важелів регулювання азотного режиму ґрунту. Зниження в ґрунті нітратного азоту дозволяє зменшити його втрати внаслідок вимивання, що в свою чергу знижує рівень забруднення ґрунтових вод. Фосфорні та калійні добрива в господарстві також вносяться з урахуванням виносу, що попереджує забруднення навколишнього середовища.
В господарстві передбачений моніторинг, який полягає у визначенні стану ґрунтів на сьогоднішній день та проаналізувати його зміни на майбутнє.
2.5 Технічне забезпечення
Зміна виробничих відносин, перехід до ринкової економіки, загострення кризової ситуації в сільському господарстві України зумовило необхідність пошуку нових нетрадиційних підходів до вирішення проблеми рослинництва. Творчий підхід до вирішення глобальних проблем рослинницької галузі уже сьогодні базується на перегляді та удосконаленні технологій виробництва рослинницької продукції та її технічного забезпечення.
Стратегічним напрямком вирішення є мінімалізація інтенсивності та глибини основного обробітку ґрунту в 2000 році дозволило знизити витрати часу на 41% і пального на 21% на виконання основного обробітку ґрунту в порівнянні зі старою системою полиневої оранки. Одночасно із зміною системи обробітку ґрунту приходить зміні технології вирощування сільськогосподарських культур та їх технічного забезпечення і цілому. Стратегія рентабельного рослинництва формується в декілька етапів. Перший етап – перехід на нову технологію і забезпечення системою машин для комплексної механізації технології вирощування сільськогосподарських культур; другий етап – вдосконалення системи технічного забезпечення з метою підвищення її продуктивності та рентабельності.
Коли на першому етапі ставилось завдання лише виконання технологічних процесів, то на другому високопродуктивне рентабельне використання техніки за рахунок освоєння потужних тракторів та широкозахватних знарядь.
Економія в системі основного обробітку ґрунту за рахунок використання потужної техніки і широкозахватних агрегатів вимагає часу в 10 разів більше, пального в 3,4 рази більше, коштів на 23% менше на гектар ріллі у порівнянні з традиційною полиневою оранкою.
Важливим чинником підвищення ефективності технологій вирощування сільськогосподарських культур є широке застосування прямого посіву.
Важливим елементом технології є збирання врожаю. Для прямого комбайнування зернових культур з розкиданням побічної продукції по полю використовують комбайни Case 2800, Class Mega 416.
Отже рівень механізації господарства досить високий, для наглядності склад МТП господарства приведений в табл. 2.2.
2.6 Характеристика тваринництва
2.6.1 Скотарство
На існуючій в господарстві молочнотоварній фермі практикується утримання червоно степової породи корів. Структура стада та поголів’я тварин за віковими групами представлено в табл. 2.3.
Розміщення ферми обумовлюється вже сформованим розташуванням населених пунктів і наявністю в них приміщень, придатних для утримання тварин, водних джерел, використання яких знижує капітальні затрати на будівництво нових ферм.
Існуючою внутрішньогосподарською спеціалізацією передбачено утримання всього поголів’я на одній фермі, при цьому забезпечення ферми кормами та її обслуговування передбачено за рахунок власної бази, без використання додаткових ресурсів.
Таблиця 2.2 Склад МТП господарства
|
Марка машини |
Кількість, шт. |
Примітки |
|
1 |
2 |
3 |
|
Трактори: К – 701 Т – 150К Case 7240 Caterpillar 75Е МТЗ – 82 ЮМЗ – 6 Комбайни: Дон – 1500Б Class Mega 416 Case 2800 СК-5 «Нива» |
3 2 1 1 4 10 6 1 1 4 |
Вся техніка в господарстві знаходиться в належному стані. |
|
Автомобілі: КамАз – 5320 ГАЗ – 53А ЗІЛ – 130 ВАЗ – 2107 ВАЗ – 2121 «Нива» Автобуси: ПАЗ – 3201 |
3 3 1 4 3 1 |
Таблиця 2.3 Структура стада та поголів’я тварин за віковими групами
|
Вікові групи тварин |
Поголів’я |
|
1. Корови 2. Нетелі 3. Телиці старше року 4. Молодняк до року |
800 125 170 125 |
|
Всього |
1140 |
Дана структура стада передбачає чисто молочний напрямок спеціалізації.
Існуюча технологія передбачає цілорічне утримання корів без прив’язі на глибокій довгонезамінюваній підстилці.
Корови перебувають в приміщенні або виходять на вигульно-кормові майданчики. У приміщенні їх утримують на солом’яній підстилці, доять і годують концкормами в доїльному блоці. Грубі і соковиті корми тварини поїдають на вигульно-кормових майданчиках із годівниць під навісами. Напування корів – з групових напувалок розміщених у приміщеннях та вигульно-кормових майданчиках.
Прибирання гною виконується один раз на рік за допомогою бульдозерів. Нетелів, телят та молодняк утримують в окремих приміщеннях також безприв'язно.
На існуючій фермі розміщені основні та допоміжні споруди, які переважно збудовані згідно типових проектів за радянських часів.
Характеристика основних приміщень представлена в табл. 2.4.
Таблиця 2.4 Характеристика основних приміщень
|
Назва приміщення |
Кількість |
Спосіб утримання |
Проектна місткість |
Розміри, м L*B |
Спосіб роздавання кормів |
Номер ТП |
|
Корівник |
2 |
безприв’язний |
400 |
96*18 |
мобільний |
801–457 |
|
Родильне відділення |
1 |
прив’язний |
96 |
72*16 |
мобільний |
801–235 |
|
Молочно-доїльний блок |
1 |
- |
на дві установки «Ялинка» |
30*21 |
- |
814–38 |
|
Телятник для нетелів, телиць та молодняку |
1 |
безприв’язний |
342 |
72*18 |
мобільний |
801–236 |
Характеристика допоміжних будівель та споруд приведена в табл. 2.5
Таблиця. 2.5 Характеристика допоміжних будівель та споруд
|
Назва будівлі чи споруди |
Кількість |
Місткість |
Розміри, м |
|
|
довжина |
ширина |
|||
|
Силосні траншеї Сарай для сіна Сховище для буряків Склад для концкормів Водонапірні башти Гноєсховища |
2 1 1 1 1 4 |
2000 т 300 т 1000 т 50 т 50 м3 2000 т |
67,5 54 42 13,8 - 85 |
12 18 14 9 - 25 |
Виходячи із наявності в СФГ «СВІТ» достатньої кількості земельних ресурсів та засобів механізації для виконання необхідних операцій з вирощування основних с.-г. культур, підприємство має можливість повністю забезпечити існуючу молочну ферму власними кормами. Добовий раціон для нетелів представлено в табл. 2.6.
Таблиця 2.6 Добовий раціон годівлі для нетелів
|
Вид кормів |
Період годівлі |
|
|
Зимовий |
літній |
|
|
1 |
2 |
3 |
|
Силос кукурудзяний |
20 |
- |
|
1 |
2 |
3 |
|
Сіно Коренеплоди Концкорми |
4,5 2,5 0,6 |
- - 0,6 |
|
Мікродомішки Зелена маса |
0,14 - |
0,14 30 |
|
Всього |
27,74 |
30,74 |
Існуючий комплект обладнання дозволяє механізувати фактично на 90% всі технологічні операції на фермі, проте включає в себе розрізнені по більшості показників машини, які фізично та морально застаріли (вік кормороздавачів, автонапувалок, кормоприготувального обладнання по 10–12 років). Використання на фермі безприв’язного способу утримання тварин, який на сьогодні є найбільш дешевим та прогресивним, що стосується використання засобів механізації, не узгоджується з більшістю існуючих засобів механізації на фермі. Наприклад, в лінії роздавання кормів використовуються мобільні кормороздавачі РММ-5, які в умовах безприв’язного способу утримання неефективні із-за малої вантажопідйомності, крім того, дана марка вже давно застаріла.
Виходячи з цього, на сьогодні перед керівництвом підприємства гостро стоїть задача технічного переозброєння МТФ.
2.6.2 Свинарство
В реформуванні тваринницької галузі одне з важливих місць, безперечно, належить свинарству. Завдяки комплексу біологічних властивостей свиней, а саме багатоплідності, високій інтенсивності росту, швидкій зміні покоління, плодючості, а також низьких витрат корму на
одиницю приросту, стає можливість виробництва рентабельного м’яса свинини. Головною метою в свинарстві господарства є створення оптимальних комфортних умов утримання, годівлі свиней, зі зменшенням енерговитрат при одночасному використанні нових сучасних технологій.
Утримання свиней проводиться в приміщеннях арочного типу з брезентовим покриттям. Створюється пневматична роздача кормів з використанням диференційної годівлі свиней з врахуванням віку, живої маси, фізіологічного стану, закономірностей росту і розвитку приплоду в ембріональний та після ембріональний періоди.
Утримання свиней на свинокомплексі проводиться в неопалюваних приміщеннях на м’якій підстилці з соломи. Холості та супоросні свиноматки знаходяться в цеху відтворення. Опорос проводиться в індивідуальних хатинках, які після відлучки виносяться до досягнення ними 110 – 120 кг.
В майбутньому планується створення племінного господарства з вирощуванням племінного молодняку свиней.
2.7 Економічні показники
На сьогоднішній день площа ріллі СФГ «СВІТ» складає 9870 га. Площа посівів в розрізі сільськогосподарських культур, їх урожайність, валовий збір приведені в табл. 1.3. Як свідчать данні табл. 1.3., за останні три роки (2004, 2005, 2006) в господарстві в основному спостерігалась тенденція підвищення урожайності сільськогосподарських культур, а відповідно і валового збору, але в таких видах культур як кормові та круп’яні спостерігається спад урожайності.
Особливу увагу в господарстві приділяють вирощуванню олійних культур, основну площу яких займає соя. З даних табл. 2.7. видно, що в 2004 році її урожайність склала 15 ц/га, в 2005 році урожайність зросла на 2 ц/га і склала 17 ц/га, в 2006 році урожайність склала 20 ц/га, що на 5 ц/га, або на 13,3% більше в порівнянні з 2004 роком.
Валовий збір олійних культур в 2006 році слав 20100 ц, що на 1710 ц або на 9% більше в порівнянні з 2004 роком і на 1638 ц або на 8,8% більше ніж у 2005 році. Це пов’язано з тим, що в 2004 році а також і в2005 році були по-перше несприятливі погодні умови, а по-друге в господарстві недостатньо звертали увагу на систему удобрення.
Таблиця 2.7 Економічні показники господарства СФГ «СВІТ» за 2004–2006 роки
|
Культури |
Площа, га |
Урожайність, ц/га |
Валовий збір, ц |
|||||||||||
|
2004 |
2005 |
2006 |
2004 |
2005 |
2006 |
2004 |
2005 |
2006 |
||||||
|
всього |
всього |
± до 2004 ±±±±±202004 |
всього |
± до 2004 |
всього |
всього |
± до 2004 |
всього |
± до 2004 |
всього |
всього |
± до 2004 |
всього |
|
|
Озимі |
2405 |
2262 |
-143 |
1946 |
-459 |
27 |
30 |
+3 |
33 |
+6 |
64935 |
67860 |
+2925 |
64218 |
|
Ярі |
847 |
865 |
+18 |
1179 |
+332 |
25 |
23 |
-2 |
26 |
+1 |
21175 |
19895 |
-1280 |
30654 |
|
Круп’яні |
236 |
- |
- |
46 |
-149 |
20 |
- |
- |
18 |
-2 |
4720 |
- |
- |
828 |
|
Соняшник |
1226 |
1086 |
-140 |
1005 |
-221 |
15 |
17 |
+2 |
20 |
+5 |
18390 |
18462 |
+72 |
20100 |
|
Кормові |
1509 |
2187 |
+678 |
2099 |
+590 |
30 |
27 |
-3 |
25 |
-5 |
45270 |
59049 |
+13779 |
52475 |
|
Картопля |
23 |
- |
- |
- |
- |
250 |
- |
- |
- |
- |
5750 |
- |
- |
- |
Що до озимих культур, то про них можна сказати наступне: урожайність їх підвищувалася з кожним роком починаючи з 2004 року. Так, в 2004 році вона склала 27 ц/га, в 2005 році – 30 ц/га, і в 2006 році – 33 ц/га. А валовий збір склав в 2006 році 64218 ц, що на 717 ц або на 1,1% менше в порівнянні з 2004 роком і на 3642 ц або на 5,6% менше ніж в 2005 році. Низький валовий збір в 2006 році пояснюється тим, що після зимівлі велика кількість озимих вимерзла і їхня площа значно скоротилася з 2262 га в 2005 році до 1946 га в 2006 році. Тому площі під озимими культурами довелося пересіяти ярими культурами, отже площа посівів ярих в 2006 році значно зросла відповідно з 865 га до 1179 га. Урожайність ярових аналогічно озимим також зросла і на відміну від озимих зріс і валовий збір.
На відміну від олійних, ярих та озимих культур за досліджуваний період спостерігається спад урожайності і валового збору круп’яних та кормових культур. Це пояснюється тим, що на посіви цих культур в господарстві практично невистачило добрив, бо в господарстві було скрутне становище і на закупівлю добрив відводилося мало коштів, а добрива які все ж таки закуповувалися для інших культур.
При розгляданні даного розділу дипломної роботи я можу зробити наступні висновки. В останні роки в КСП ім. «Калініна» відбувався спад виробництва сільськогосподарської продукції, що в свою чергу призвело до занепаду господарства. Поля не оброблялися відповідно до технології, зростала кількість бур’янів, кількість гумусу в ґрунті. Після того як КСП ім. «Калініна» розпаювали і роздали землю селянам, то тоді і утворилося на його базі СФГ «СВІТ». Вони співпрацюють в свою чергу з науковими організаціями, використовують передовий досвід західних фермерських господарств, а також вирощують сільськогосподарські культури за найсучаснішими технологіями. Для того щоб зменшити собівартість продукції і відповідно затрати на її виробництво вони збільшують площі полів, використовують широкозахватні агрегати, проводять мінімальний обробіток ґрунту. І вже за останні декілька років родючість ґрунтів значно зросла.
СФГ «СВІТ» вклало великі кошти в розвиток галузі тваринництва. Значно розвинутий на даний час комплекс для вирощування та годівлі ВРХ, який добре оснащений не тільки виробничими цехами, але і добре підготовлена кормова база. При порівнянні голштинської та червоної степової порід корів можемо зробити висновки, що затрати на утримання голштиннської породи майже в двічі більші ніж затрати на червону степову, але собівартість 1 ц молока від голштинської породи на 9 грн. менша. Тому краще заводити корів голштинської породи. Для цього побудований спеціальний карантинний комплекс.
3. Перспективи розвитку переробної галузі
3.1 Аналіз потреби господарства в подальшому розвитку переробної галузі
Подальший розвиток переробної галузі для господарства має дуже велике значення, а саме розробка технологічної лінії з виробництва соняшникової олії. Це пояснюється тим, що при переробці соняшника в господарстві значно зменшаться витрати на транспортування сировини, а саме головне, що вартість сировини тобто соняшника значно нижче ніж вартість олії. Крім того, частково вирішиться проблема зайнятості населення, так, як з’являться нові робочі місця в майбутньому цеху. Все це суттєво відобразиться на економіці господарства, що приведе до одержання значних прибутків.
3.2 Можливість господарства в забезпеченні сировиною
Як було сказано в попередньому розділі орні землі в господарстві займають досить велику площу і розвитку господарства приділяється велика увага. Для виготовлення олії можна використовувати насіння різних культур, але в господарстві велика увага приділяється посівам соняшника, які займають велику площу, щорічно площа посівів складає близько 1500 га. Отже для господарства необхідно розробити технологічну лінію з переробки насіння соняшника в олію. Також велику роль в забезпеченні сировиною відіграє сусідні одноосібні фермерські господарства, які не мають таких технологічних ліній і соняшник який вони вирощують в значних кількостях будуть поставляти на переробку в цех, що проектується. Отже майбутня технологічна лінія буде повністю забезпечена сировиною.
3.3 Забезпечення робочою силою
Дані про стан населення на території господарства приведені в табл. 2.1.
Таблиця 3.1 Дані про стан населення в СФГ «СВІТ»
|
Кількість мешканців, чол. |
Роки |
||
|
2004 |
2005 |
2006 |
|
|
Всього |
1180 |
1150 |
1211 |
|
Працездатних |
476 |
468 |
452 |
|
З них зайнято у виробництві |
419 |
401 |
386 |
|
Діти та пенсіонери |
285 |
281 |
373 |
За даними табл. 2.1. видно, що в 2006 році населення в СФГ «СВІТ» складало 1211 чоловік, серед них працездатного 452 чоловік, але в господарській діяльності зайнято лише 386 чоловік, що складає 35,6% решта мешканців діти та пенсіонери різного віку. Отже функціонування в господарстві технологічної лінії з переробки сої в олію, що проектується дасть можливість відкрити нові робочі місця, тим самим частково вирішивши проблему зайнятості населення в господарстві.
Тобто майбутня лінія буде повністю забезпечена робочою силою.
3.4 Аналіз ринку збуту
Проведені маркетингові дослідження свідчать про те, що попит населення на рослинну олію в тому числі на соєву з кожним роком зростає. Її використовують в їжу як висококалорійний продукт, також її використовують в лікарському та дієтичному харчуванні, і іще в різних галузях харчової промисловості і на технічні потреби.
В сусідніх населених пунктах підприємств з виробництва олії немає, тому продукцію, що буде вироблятися на технологічний лінії, що проектується можна буде реалізовувати в торгівельній мережі на території цих населених пунктів. На незначних відстанях від господарства знаходяться міста такі, як Синельникове, Дніпропетровськ, Запоріжжя, Новомосковськ та інші, які мають велику кількість населення, тому реалізація продукції також буде відбуватися для забезпечення потреб в олії міського населення. Крім того місто Синельникове яке розташоване на відстані 20 км від цеху є великою залізничною станцією, тому при необхідності реалізацію олії можна проводити і на більш значні відстані. Отже ринок збуту олії буде забезпечений.
3.5 Вибір теми дипломного проекту та постановка задачі на проектування
На основі проведеного аналізу в забезпеченні сировиною, робочою силою, ринком збуту, можна зробити висновок, що технологічна лінія з виробництва соняшникової олії буде забезпечена сировиною, робочою силою та ринком збуту. Тому темою дипломного проекту і є проектування технологічної лінії з виробництва соняшникової олії.
4. Проектування технологічної лінії
4.1 Вибір технології
4.1.1 Загальні відомості
Олія в наш час є дуже важливим продуктом який використовується в харчуванні, тому вона користується дуже великим попитом серед населення. Соняшникову олії добувають з насіння двома основними способами, механічним та хімічним.
4.1.2 Механічний спосіб отримання соняшникової олії
Серед різних технологій отримання рослинної олії важливе місце займає також механічний спосіб отримання олії. В основі механічного способу лежить пресування подрібненої маси механічним шляхом. (2). Зараз перевагу віддають пресуванню в шнекових пресах, а не в гідравлічних, тому, що пресування в гідравлічних пресах це процес періодичної дії і потребує великих затрат праці. Це пояснюється тим, що в гідравлічний прес маса сама не потрапляє, а також сама і не виводиться, тому ці операції потрібно людині виконувати в ручну. Тому будемо використовувати пресування в шнекових пресах, так, як це процес тривалої дії і потребує невеликих затрат праці в порівнянні з пресуванням в гідравлічних пресах.
Очистка насіння від смітних домішок проводиться спеціальними машинами з урахуванням геометричних розмірів та аеродинамічних властивостей, для видалення металевих домішок використовують феромагнітну очистку за допомогою електромагнітних сепараторів різних марок.
Підсушування насіння проводять за умови якщо його вологість на рівні критичної або більша. Оптимальною вологістю насіння олійних культур перед лущенням вважається така яка приблизно на 2% менша від критичної.
Після обтрушування рушанка обробляється в сепараторних та пневмоочисних машинах з метою відокремлення ядра від плодових та насінних оболонок з мінімальними втратами олії. Для цього використовують аспіраційні та віяльні машини, які розділяють рушанку на фракції: ядро, ціле та недопущене насіння. Останні дві фракції направляються на повторне обрушування.
Наступним етапом є подрібнення ядра, яке суттєво впливає на вихід олії і продуктивність обладнання. Головне завдання цього процесу полягає у тому, щоб максимально зруйнувати клітинну структуру. Для цього насіння соняшнику кілька разів пропускають крізь вальцеві станки. На якість подрібнення значно впливає вологість ядра. Найкраще руйнування клітинної структури відбувається за його вологості 5,5–6,0%. Подрібнене ядро називається м’яткою, яку неможна довго зберігати, тому, що ферменти ліпідів швидко розщеплюють жири, гідролізуючи їх на гліцерин та вільні жирні кислоти. Від цього погіршуються як харчові так і технологічні властивості олію
До пресу підходить вже прожарена м’ятка тобто мезга, тривалість підсмажування 40–45 хвилин. Пресування проходить в шнекових пресах різного типу з виходом олії 35–40%. Олія після пресування містить тверді та колоїдні домішки, зокрема білкові речовини, фосфатиди, жиророзчинні вітаміни. Які погіршують її якість.
Для очистки олії використовують різні способи: відстоювання, центрифугування та фільтрування. Очищену олію зберігають в щільно закритих ємкостях, без доступу повітря, вологи та світла. [2]
4.1.3 Хімічний спосіб отримання рослинної олії
В основі цього способу покладено обробку спеціально підготовленої олійної сировини органічними розчинниками. Для наглядності процес отримання олії приведений на рис 4.1. А саме макуха з форпресового цеху після попереднього видалення олії потрапляє на дробілки (дискові та молоткові), де перетворюється на крупку. В деяких схемах олійний матеріал у вигляді крупки направляється прямо в екстрактор. Форма частинок матеріалу у вигляді листочка (пластинки матеріалу товщиною приблизно 0,4 мм) дозволяє мати в екстракторах легкопроникненну розчинником масу матеріалу. Для отримання олійного матеріалу у вигляді листка крупку направляють на плющильні вальці.
З-під плющильних вальців листок направляється в екстрактор. Екстрактор є основним апаратом екстракційного цеху, він призначений для видалення олії в розчинник при протиточному контактуванні. В наш час в якості екстракційного розчинника використовують бензин (температура кипіння при атмосферному тиску 65–68оС). Розчин олії в бензині називається мисцелою, а знежирений матеріал (залишкова олійність приблизно 1%) – шротом. Крім олії в шроті міститься бензин (до 40%), для видалення якого шрот, що виходить із екстрактора направляється у випарник (тостер). Шляхом подачі глухого та гострого пару у випарнику відганяється бензин, який у вигляді пару в суміші з водяною парою потрапляє в конденсатор, а шрот після охолодження, і якщо необхідно, зволоження відправляється на склад шрота для відгрузки в якості цінного кормового продукту.
Мисцела, яка виходить з екстрактора, також обробляється з метою розділення на олію та бензин. В деяких екстракторах (вертикальном шнековом) мисцела виносить деяку кількість мілкої і твердої фази, яка відфільтровується до подачі на розділення шляхом дистиляції.
Звичайно дистиляція (теплова відгонка бензину від олії) проводиться в дві стадії. На стадії проміжної дистиляції під дією тепла, підведеного «глухим» паром, відбувається нагрів мисцели до кипіння та випаровування бензину. Пари бензину виходять з апарату на конденсацію, а спарена мисцела потрапляє в кінцевий дистилятор, де і проходить повне видалення бензину з олії. Кінцева дистиляція проводиться як правило, з застосуванням вакууму, та подачі «гострої» пари. Суміш парів бензину та водяної пари виходить з кінцевого дистилятора на конденсацію, а отримана в кінцевому дистиляторі олія виводиться з нього, охолоджується, зважується та направляється в олієсховище. [2]
Судячи з операцій які виконуються в даному способі можна зробити висновок, що він є дуже продуктивним, а тому дуже дорогим і його доцільно використовувати на великих олієпереробних підприємствах. Виходячи з можливостей господарства в забезпеченні сировиною цей спосіб використовувати буде не раціонально, тому на лінії, що проектується будемо використовувати механічний спосіб отримання олії.
4.1.4 Матеріальні розрахунки за стадіями технологічного процесу
Валовий збір урожаю соняшника в 2006 році склав 2400 тон. На переробку планується направити 2400 тон. Робота в цеху буде виконуватися на протязі 251 дня на рік, не включаючи вихідні та святкові дні.
Добову продуктивність лінії за сировиною будемо розраховувати за формулою:
, (4.1)
де, Q>с> – кількість соняшника, який планується направити на переробку.Q>с>=2400000 кг.
n – кількість робочих днів у році. n=251 день.
кг.


Рис. 4.1. Послідовність операцій переробки олійної сировини
Таблиця 4.1 Матеріальний розрахунок при очищенні соняшника
|
Завантажено |
% |
кг/добу |
Одержано |
% |
кг/добу |
|
Неочищене насіння |
100 |
9561 |
Очищене насіння |
91 |
8701 |
|
Відходи |
9 |
860 |
|||
|
Разом |
100 |
9561 |
Разом |
100 |
9561 |
Матеріальні розрахунки за стадіями технологічного процесу приведені в табл. 4.2.
Таблиця 4.2 Матеріальні розрахунки за стадіями технологічного процесу
|
Обрушування |
|||||
|
Завантажено |
% |
кг/добу |
Одержано |
% |
кг/добу |
|
Насіння |
100 |
8701 |
Рушанка |
99 |
8614 |
|
Втрати |
1 |
87 |
|||
|
Разом |
100 |
8701 |
Разом |
100 |
8701 |
|
Відділення лушпиння |
|||||
|
Рушанка |
100 |
8614 |
Ядро |
88 |
7580 |
|
Лузга |
12 |
1034 |
|||
|
Разом |
100 |
8614 |
Разом |
100 |
8614 |
|
Подрібнення |
|||||
|
Ядро |
100 |
7580 |
Мятка |
99,95 |
7576 |
|
Втрати |
0,05 |
4 |
|||
|
Разом |
100 |
7580 |
Разом |
100 |
8614 |
|
Вологотеплова обробка |
|||||
|
М’ятка |
97 |
7576 |
Мезга |
99,37 |
7753 |
|
Вода |
3 |
227 |
Втрати |
0,01 |
0,8 |
|
Втрати вологи |
0,62 |
49 |
|||
|
Разом |
100 |
7803 |
Разом |
100 |
7803 |
|
Пресування |
|||||
|
Мезга |
100 |
7753 |
Жмих |
55 |
4264 |
|
Олія |
45 |
3489 |
|||
|
Разом |
100 |
7753 |
Разом |
100 |
7753 |
|
Очищення олії |
|||||
|
Неочищена олія |
100 |
3489 |
Очищена олія |
99,8 |
3482 |
|
Олійні втрати |
0,2 |
7 |
|||
|
Разом |
100 |
3489 |
Разом |
100 |
3489 |
Дані по матеріальному розрахунку при очищенні соняшника від сторонніх домішок приведені в табл. 4.1.
Зведений матеріальний баланс по сировині та готовій продукції приведений в табл. 4.3 та 4.4.
Таблиця 4.3 Зведений матеріальний баланс по сировині
|
Завантажено |
Кількість |
||
|
кг/год |
кг/добу |
т/рік |
|
|
Насіння |
1195,1 |
9561 |
2399,8 |
|
Вода |
28,3 |
227 |
56,9 |
|
Разом |
1223,4 |
9788 |
2456,7 |
Таблиця 4.4 Зведений матеріальний баланс по готовій продукції
|
Одержано |
Кількість |
||
|
кг/год |
кг/добу |
т/рік |
|
|
Олія |
435,25 |
3482 |
873,9 |
|
Мезга |
969,1 |
7753 |
1946 |
|
Жмих |
533 |
4264 |
1070,3 |
|
Олійні втрати |
0,9 |
7 |
1,757 |
|
Втрати вологи |
6,125 |
49 |
12,3 |
4.2 Підбір необхідного технологічного обладнання
4.2.1 Обладнання для очищення насіння
На олійних заводах застосовуються різні типи зернових сепараторів, а саме ЗСП-5, ЗСП-10, ЗСМ-10, ЗСМ-20, ЗСМ-50, ЗСМ-100, ПДП-10 та інші. Сепаратори різних марок відрізняються один від одного за типорозмірами, масою та іншими параметрами. Але за конструкцією вони мають багато спільного. Основні вузли машин для очищення змонтовані на спільній станині, наступні: приймальний пристрій для насіння з живильним пристроєм, ситові рами в кузові, аспіраційна система, привідний механізм.
В останні роки на олійницях широко використання отримали сепаратори типу ЗСМ (ЗСМ-50, ЗСМ-100), подібні за конструкцією, так, як сепаратор ЗСМ-100 є подвійний сепаратор ЗСМ-50. [1]
Сепаратор складається з наступних основних вузлів: станини, електродвигуна, приводу поливальника, дох ситових кузовів, ексцентрикового поливальника, приймального сита, каналу першої продувки, Дані по матеріальному розрахунку при очищенні соняшника від сторонніх домішок приведені в табл. 4.1.
приймальної коробки та патрубка, осадових камер, очисників сит та каналу другої продувки.
Але на ці сепаратори особливої уваги звертати не будемо, тому, що вони мають велику продуктивність 480 та 960 тон/добу відповідно. Для умов господарства більш раціонально буде використовувати такий сепаратор, як ПДП-10 бо він є більш простішим за конструкцією, а також має меншу продуктивність – 150 тон/добу, крім того, що він розділяє насіння за розмірами, аеродинамічними властивостями, він також розділяє і по магнітним властивостям, що позбавить від додаткових витрат на встановлення електромагнітного сепаратору.
Схема сепаратору ПДП-10 приведена на рис. 4.1.
Сепаратор ПДП-10 складається зі станини 1, подвійного ситового кузову 2 з горизонтальними рядами сит в кожній половині та загальними лотками для відносів, аспіраційної камери 3 з приймальною коробкою, аспіраційної камери 4 з магнітним пристроєм, вентиляторів 6, ексцентрикового вала 7, приведеного в рух від електродвигуна 8. для очищення сит машина обладнана щітковим механізмом з приводом. Ситовий кузов підвішений до станини на чотирьох пружних підвіска, розташованих під кутом 7о до вертикалі. Сита розміщені під кутом.

Рис. 4.1. Схема сепаратора ПДП-10
Принцип дії сепаратора наступний. Насіння потрапляє в приймальні коробки 13 сепаратора. Завантажувальні клапани 14 під дією ваги насіння відкриваються, і насіння рівномірним потоком падає в канал першої продувки. Повітря пронизує насіння та відносить з нього легкі домішки. Домішки, що відокремлюються осідають в першій половині аспіраційної камери 3 та падають в коливальний похилий лоток 15, котрий виводить їх на зовні. Повітря звільнене від крупних домішок, з камери по повітропроводу потрапляє в вентилятор першої продувки і з нього направляється в фільтр чи циклон. На підситку 9 сходом відбираються крупні домішки з насіння, а проходом – насіння, що направляється далі на розвантажувальні сита 11, з яких сходом іде більш крупніше насіння. Проходом насіння потрапляє на підсівні сита 12. Схід з розвантажувальних сит, представляє собою крупне насіння, виводиться з сепаратора окремо від дрібного. Підсівне сито відділяє від насіння дрібні домішки, мінеральні домішки, котрі збираються на піддоні кузова та виводяться з нього по лотку.
Очищене насіння, переборовши опір випускного клапана 16, потрапляє до каналу другої продувки, звідки легкі домішки, котрі відносяться з насіння повітряним потоком, осідають в другій половині аспіраційної камери 3, а повітря подається у вентилятор звідки в пилезбірник. Потік очищеного насіння проходить через них, звільнюючись від металомагнітних домішок, котрі знімаються та відводяться на зовні. Очищене насіння після цього подають в канал 17 та виводиться з сепаратора. [1]
Технічна характеристика сепаратора ПДП-10
Продуктивність добова, т/добу 150
Продуктивність змінна, т/зміну 50
Кількість електродвигунів, шт. 1
Потужність електродвигуна, кВт 4,5
За даними табл. 4.1 визначаємо необхідну кількість сепараторів для очищення насіння, за формулою:
шт., (4.2)
де, п>неоч.н> – кількість насіння яке подається на очистку. п>неоч.н>=9561 кг.
Q>C> – продуктивність сепаратора, змінна. Q>C>=50000 кг/зміну.
Звідки,

Отже, приймаємо один сепаратор марки ПДП-10.
4.2.2 Обладнання для сушки насіння соняшника
Обладнання для сушки підбирати не будемо, так як на переробку соняшник доставляється з оптимальною вологістю, а при необхідності сушка його проводиться на сушилах які встановлені на території центрального складу господарства, де проводиться сушка не тільки насіння соняшника, а і всіх зернових культур, що вирощуються в господарстві.
4.2.3 Обладнання для обрушування насіння
Для обрушування насіння соняшника використовують різні машини, а саме насіннєрушки типу МНР, відцентрові насіннєрушки А1-МРЦ, та дискові лущильники.
На дискові лущильники уваги звертати не будемо так, як вони більше підходять для обрушування хлопкового насіння. А серед насіннєрушок МНР та А1-МРЦ більш вдалою для технологічної лінії, що проектується є насіннєрушка типу МНР, тому, що вона має продуктивність 50 т/добу, ще одним недоліком відцентрової насіннєрушки є велика потужність електродвигуна, яка складає 28 кВт, а потужність електродвигуна в МНР – 5,1 кВт. [1]
Схема насіннєрушки типу МНР Приведена на рис. 4.2.
Розглянемо будову та принцип дії насіннєрушки типу МНР. Бічева насіннєрушка складається з чотирьох основних вузлів: живильного пристрою, бічевого барабану, деки та корпуса.
До складу живильного пристрою входять: живильний бункер 4, рифлений валик 3 та регулювальна заслінка 2.
Конструкція бичевого барабану представляє собою вал з закріпленими на ньому трьома дисками 10 зі ступицями та 16 стійками 5 бичів. Жорсткість дисків забезпечується привареними з обох боків ребрами 7. на зовнішній кромці кожного диску приварено 16 пар уголків 6 під кутом 55о до вісі. До цих уголків болтами прикріплені 16 пар бичів 8. бичі виготовлені з полосової сталі товщиною 12 – 12 мм. Бічевий барабан встановлений в машині горизонтально в підшипниках і обертається з частотою 550– 630 об/хв.
Биче вий барабан зовні з боку на дузі 110о окружений хвилястою поверхнею, яка називається декою 1.
Бічева насіннєрушка працює наступним чином. Насіння потрапляє в живильний бункер де валиком рівномірно розподіляється по ширині робочої зони. Потік насіння, котрий регулюється заслінкою, потрапляє на похилу площину в живильному бункері і далі потрапляє на бичі барабана що обертається.
При достатній швидкості обертання бічевого барабана 23 – 27 м/с, сила удару бичів об насіння забезпечує їх обрушення. Так як окремі насінини відрізняються між собою властивостями, а саме міцністю, то для деякої частини насіння сила удару недостатня для обрушування, а для решти насіння вона занадто велика, що проходить не тільки руйнування шпор лузги, але і руйнування ядра.
Після удару бичами утворюється рушанка (суміш ядер, лузги, цілого насіння та січки ядра) відкидається на деку багаторазово, із-за пружності насіння при ударі. Таким чином рушанка б’ється об деку, і при цьому проходить обрушування цілого насіння та руйнування ядер. Частини рушанки, відскакують після удару від деки, потрапляють знову на бичі бічевого барабану що обертається. Далі цей процес повторюється багаторазово. [1]
За даними табл. 4.2 підраховуємо необхідну кількість насіннєрушок за формулою:
,
шт. (4.3)
де, п>необр> – кількість насіння, що подається на обрушування. п>необр>=8701 кг.
Q>НР> – змінна продуктивність насіннєрушки. Q>НР>=20000 кг/зміну.

Рис. 4.2. Схема насіннєрушки МНР
Звідки,

Отже, приймаємо одну насіннєрушку МНР.
Технічна характеристика насіннєрушки МНР
Продуктивність добова, т/добу 50 – 60
Продуктивність змінна, т/зміну 20
Потужність, кВт 5,1
Маса, кг 1380
4.2.4 Машини для розділу рушанки
Призначення технологічної операції розділу рушанки є отримання самостійних технологічних потоків:
лузги, відділення якої як відходу виробництва пов’язане зі зниженням втрат олії;
ядра, яке потрібне в подальшому процесі переробки з метою видалення олії;
недоруша, що направляється на додаткове обрушування.
В наш час отримали розповсюдження два типи машин:
– машини, що розподіляють рушанку по розмірам на решетах, а потім в повітряному потоці по аеродинамічним властивостям (аспіраційні насіннєвійки використовуються при розділі рушанки насіння соняшника);
– машини, що розділяють рушанку на решетах з різним рухом (підвісні струшувачі та біттер-сепаратори – при розділі рушанки насіння хлопчатника).
Судячи з вище сказаного можна зробити висновок, що оптимальним варіантом буде аспіраційна насіннєвійка М2С-50.
Схема аспіраційної насіннєвійки М2С-50 зображена на рис. 4.3.
Вона складається з двох машин: розсіву 7 та війки 25, розташованих одна під одною та з’єднаними між собою гнучкими рукавами 11.
Розсів представляє собою дерев’яний короб 5, на похило розміщених (під кутом 3 – 5о) направляючих якого знаходиться три ряди рухомих решет 10. короб розділений на дві половини поздовжньою вертикальною перегородкою і відповідно на кожному ряді по дві одинакові видвижні решета. Під кожним решетом розташовані піддони 4 з різними кришками для збору та транспортування частин, що пройшли через решета.
Розсів підвішують на чотирьох тросах 8 до сталевої рами над війкою. Зверху розсіву встановлена приймальна коробка 6 з гнучким рукавом для подачі рушанки, а знизу розсіву з протилежної сторони кріпляться 6 гнучких рукавів для передачі отриманих в розсіві фракцій в канали аспіраційної війки.
В центрі розсіву на його верхній кришці встановлений привідний пристрій 9, який складається з вертикального валу, двох балансирів та шківа.
З низу корпуса війки є три конуса 16, 18, 24 з автоматичними клапанами 17, 19, 23.
Кожен з шести клапанів війки має шиберний механізм 3 регулювання швидкості повітряного потоку, вони встановлені перед вентилятором.
В середині корпуса війки розташовані решітки 20 та дві перегородки 21 для аеродинамічної дії на потік повітря з метою виділення з потоку се паруючої рушанки. [1]
За даними табл. 4.2 визначаємо необхідну кількість насіннєвійок за формулою:
,
шт. (4.4)
де, п>рушан.> – кількість рушанки. п>рушан.>=8614 кг.
Q>Н.В> – продуктивність насіннєвійки за зміну. Q>Н.В>=17000 кг/зміну.
Звідси,


Отже, приймаємо одну аспірацій ну насіннєвійку М2С-50.
Технічна характеристика аспіраційної насіннєвійки М2С-50
Продуктивність добова, т/добу 50
Потужність, кВт 6
Маса, кг 3177
4.2.5 Машини для подрібнення насіння і ядра
Для якісного пресування та більшого виходу олії насіння необхідно подрібнити, ля цього використовують вальцеві станки марок ВС-5 та Б6-МВА, але найбільш розповсюдженим на олійних підприємствах малої
потужності є ВС-5, його продуктивність складає 60 т/добу, що значно менша за продуктивність Б6-МВА – 100 т/добу. Отже для технологічної лінії, що проектується більше буде підходити п’ятивальцевий станок ВС-5.

Рис. 4.3. Схема аспіраційної насіннєвійки М2С-50
Схема п’ятивальцевого станка ВС-5 приведена на рис. 4.5.
Основні робочі органи станка ВС-5 – п’ять вальців 3 з білого чавуну діаметром 400 та довжиною 1250 мм, корпуса підшипників 1, що називається буксами, мають форму торця подібну до квадратної. Боковими поверхнями корпуса підшипників входять в направляючи вертикальних стійок 6 станка.
Обертання вальцям передається від електродвигуна через муфту та двоступеневий редуктор 4 з передаточним числом 6,4. Обертання від редуктора через муфту передається на нижній валець, від нього за допомогою плоско пасової передачі обертання передається третьому (середньому) та п’ятому (верхньому) вальцям. Другий та четвертий вальці обертаються за рахунок тертя з примусово обертаючимися першим, третім та п’ятим вальцями.
На валу четвертого вальця є шків, від якого за допомогою перехресної пасової передачі обертання передається на вісь живильного вальця. Вмикання обертання вальця виконується за допомогою важільного механізму, що приводе в зачеплення кулачкову муфту. Живильний валець розташований в нижній частині живильного бункера, який в свою чергу розташований у верхній частині станка.
Ядро чи насіння, що направляється на подрібнення, спочатку потрапляє в живильний бункер. З бункера, при працюючому живильному вальцю, через щілину між валиком та шибером, матеріал широкою тонкою смужкою потрапляє на щит і по його поверхні направляється в зазор між двома верхніми вальцями. Направляючи щити виготовлені з листової сталі товщиною 4–6 мм, вони вставляються в пази в стійках станка. Після першого проходу між валками матеріал подається на другий щит, направляючий його на другий прохід між четвертим та третім вальцями. Далі послідовно матеріал, що направляється щитами, проходить між третім та другим та в кінці між другим та першими вальцями. Після чого подрібнений олійний матеріал, м’ятка, подається в збірний шнек м’ятки. [1]
За даними табл. 4.2 визначаємо необхідну кількість п’ятивальцевих станків за формулою:
,
шт. (4.5)
де, п>ядра.> – кількість ядер направлених на подрібнення. п>ядра>=7580 кг.
Q>СТ> – продуктивність вальцевого станка за зміну. Q>СТ>=20000 кг/зміну.
Звідси,


Отже, приймаємо один п’ятивальцевий станок ВС-5.
Технічна характеристика п’ятивальцевого станка ВС-5
Продуктивність добова, т/добу 60
Продуктивність змінна, т/зміну 20
Потужність, кВт 30
Маса, кг 9743

Рис. 4.5. Схема п’ятивальцевого станка ВС-5
4.2.6 Машини для вологотеплової обробки м’ятки
Серед великої кількості машин для вологотеплової обробки найбільш розповсюдженими є чанні жаровні. Для даної технологічної лінії більш вдало буде вибрати шести чанну жаровню, яка має продуктивність 150 т/добу.
Схема шести чанної жаровні Ж-68 приведена на рис. 4.6.
Основними елементами жаровні є чани, в яких можливо проводити обидва процеси жарки.
Чани бувають різної конструкції – чавунні литі, сталеві зварні. Основними частинами чана є днище 1, та обичайка 2. сталева зварна конструкція чана дозволяє зробити рубашки 3 як в днищі, так і в обичайці. При конструюванні обичайок потрібно враховувати, що пар, що подається в них має тиск до 0,7 МПа, а деформації стінок, особливо днищ, із-за необхідності забезпечення мінімального зазору між ним та мішалкою 6 на валу 5 повинні бути мінімальними. Зварене сталеве днище виготовляють з двох дисків (верхнього та нижнього), а жорсткість конструкції забезпечується установкою анкерних зв’язків 4 по всій площині днища з кроком 250–300 мм.
Для перепуску матеріалу з чана в днищах передбачені перепускні отвори розміром 350*350 мм. Автоматичний перепуск з підтримкою заданого рівня матеріалу в чанах забезпечується забезпечується перепускними клапанами.
Якщо обидва етапи жарка проводиться в чанній жаровні, то зволоження проводять у верхньому чані. Для відводу пари в чанах жаровні мається аспіраційна система, що представляє собою трубу-стояк, з’єднану індивідуально з кожним чаном. Тяга в аспіраійній системі природна.
Принцип дії. З моменту подачі м’ятки в проварювально-зволожувальний шнек в нього подається пара. Далі починається заповнення м’яткою чанів жаровні, що виконують при відчинених перепускних клапанах. Після досягнення мезгою потрібної температури в останньому чані її пускають в прес і жаровню переводять в установлений режим роботи. [1]
За даними табл. 4.2 визначаємо необхідну кількість жаровень за формулою:
,
шт. (4.6)
де, п>мятки> – кількість м’ятки направленї на прожарювання. П>мятки>=7576 кг.
Q>Ж> – продуктивність жаровні за зміну. Q>Ж>=50000 кг/зміну.
Звідси,


Отже, приймаємо одну жаровню Ж-68.


Рис. 4.6. Схема шестичанної жаровні Ж-68
Технічна характеристика шестичанної жаровні Ж-68
Продуктивність добова, т/добу 150
Продуктивність змінна, т/зміну 50
Потужність, кВт 30
Маса, кг 12000
4.2.7 Машини для видалення олії шляхом пресування
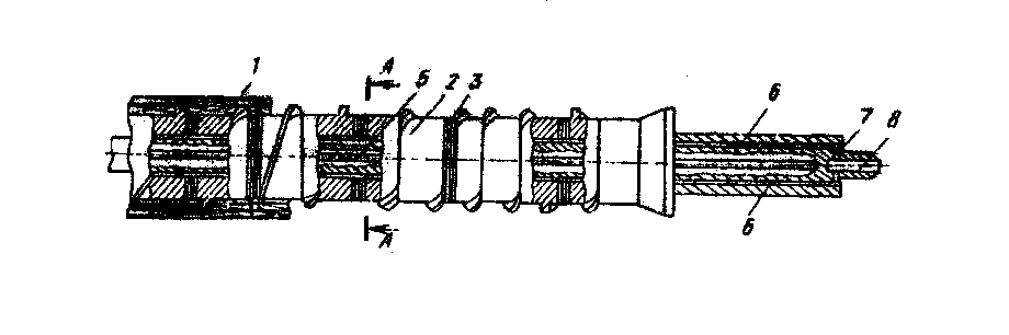
Серед багатьох марок шнекових пресів, а саме ФП, МП-68, ЕТП-20, Р3-МОА порівняно малу продуктивність має форпрес ФП – 35 т/добу, але принцип дії та будова у них практично одинакові.
Схема форпреса ФП приведена на рис. 4.7.
Розглянемо будову та принцип дії пресу. Він складається зі станини1, що є основою на якій змонтовані всі головні вузли шнекового пресу, виготовляється частіше всього з чавуну. Леєрний барабан 4 найчастіше виготовляється з декількох ступенів, що відрізняються діаметром. Шнековий вал 5 є основним робочим органом любого шнекового пресу. Простір між зовнішньою поверхнею шнекового валу та внутрішньою поверхнею леєрного циліндру називається робочим простором. Регулювальний пристрій 6 конусного типу забезпечує регулювання тиску в робочий камері пресу, що особливо важливо в період запуску пресу, який розігрівається на протязі певного проміжку часу. Регулятор живлення 3 забезпечує рівномірну подачу матеріалу в робочу камеру пресу, а також потрібну щільність матеріалу на приймальному витку шнекового валу, що дозволяє підтримувати номінальну продуктивність та олійність матеріалу на виході. Привід пресу виконується від електродвигуна через редуктор. Редуктори на пресах зустрічаються різноманітної конструкції. Зокрема в пресі ФП використовується конічно-циліндричний вмонтований редуктор. [1]
За даними табл. 4.2 визначаємо необхідну кількість пресів за формулою:
,
шт. (4.7)
де, п>мятки> – кількість м’ятки направленї на прожарювання. П>мятки>=7753 кг.
Q>Ж> – продуктивність жаровні за зміну. Q>Ж>=11500 кг/зміну.
Звідси,


Отже, приймаємо один прес марки ФП.
Технічна характеристика преса ФП
Продуктивність добова, т/добу 35
Продуктивність змінна, т/зміну 11,5
Потужність, кВт 8 – 20
Маса, кг 4250
4.2.8 Машини для очищення олії
Для очищення олії існує цілий ряд машин, але серед них найменшу продуктивність має фільтр-прес з гідравлічним затискачем – 1900 кг/год. З даних табл. 4.2. видно, що вихід олії складає 2822,96 кг/добу, тому найкращим варіантом машини для очищення олії в цеху, що проектується буде фільт-прес з гідравлічним затискачем. [1]

Рис. 4.7. Схема преса ФП
Технічна характеристика фільт-преса з гідравлічним затискачем
Продуктивність добова, кг/год 1900
Площа фільтруючої поверхні, м2 31,92
Температура олії при фільтрації, оС 60
Тиск при фільтрації, атм 0,4 – 0,6

Рис. 4.8. Схема фільтр-преса з гідравлічним затискачем
1 – станина; 2 – головна плита; 3 – опорні балки; 4 – гідравлічний затискач;
5 – збірний жолоб; 6 – штуцер для впуску олії; 7 – крани для виходу олії;
8 – контрольний кран для випуску олії; 9 – кран для випуску повітря.
За даними табл. 4.2 визначаємо необхідну кількість фільтр-пресів за формулою:
,
шт. (4.8)
де, п>неоч.олії> – кількість неочищеної олії. П>неоч.олії>=2822,96 кг.
Q>Ф.П> – продуктивність фільтр-преса. Q>Ф.П>=13300 кг/добу.
Звідси,


Отже, приймаємо один фільтр-прес з гідравлічним затискачем.
4.2.9 Розрахунок кількості збірників для олії
Розрахунок будемо вести за формулою:
, (4.9)
де, V>доб> – добовий об’єм матеріалу, який перероблюється, м3;
φ – коефіцієнт завантаження. φ = 0,9;
V>ном> – номінальний об’єм матеріалу. Приймаємо рівним 25 м3;
Т – час перебування компонентів у збірнику, год.
Добовий об’єм матеріалу знаходимо за формулою:
, (4.10)
де, т – маса одержаної олії, кг/добу;
ρ – густина олії, кг/м3. Приймаємо ρ = 980 кг/м3.
Звідси,
,
м3
Час перебування компонентів у збірнику визначимо за формулою:
(4.11)
де, t – кількість діб, доба. Приймаємо t = 5 діб.
Звідси,
,
год
Тоді,

Отже, приймаємо один збірник об’ємом 25 м3. [1]
4.3 Технологія виробництва олії в цеху, що проектується
Майбутній цех, що проектується буде мати наступну технологію виробництва олії. Насіння буде завантажуватися в приймальний бункер, воно у відповідності з ГОСТ 22391–89 повинно мати такі показники, що привелені в табл. 4.5.
Таблиця 4.5 Показники насіння соняшника
|
Показники |
Для заготовленого насіння |
Для поставлених на промислову переробку |
|
|
базисні |
обмежуючи |
обмежуючи |
|
|
Вологість, % |
7,0 |
не більше 17,0 |
не більше 8,0 |
|
Смітна домішка, % |
1,0 |
не більше 10,0 |
не більше 3,0 |
|
Олійна домішка, % |
3,0 |
не більше 7,0 |
не більше 7,0 |
|
Кислотне число, КОН |
- |
не більше 3,5 |
не більше 5,0 |
З бункера за допомогою норії воно потраплятиме в сепаратор ПДП-10,
де проводиться очищення від сторонніх домішок які відрізняються за розмірами, аеродинамічними та магнітними властивостями. Після чого насіння поступає в бічову насіннєрушку МНР, в якій ядра соняшника відокремлюються від лузги. Ядра відділені від лузги називаються рушанкою. Рушанка направляється в аспірацій ну війку М2С-50. Повітряним потоком, який створює вентилятор війки, відокремлюється лузга. Ядро та січка з невеликою кількістю лузги (2 – 3%) само током потрапляє в п’ятивальцевий станок ВС-5 для подрібнення. Подрібнену масу (м’ятку) похилим скребковим транспортером подають в жаровню. Далі мезга за допомогою шнека транспортується в леєрний циліндр шнекового преса ФП.
Отримана олія, проходячи через сито, потрапляє в збірник, розміщений під пресом, потім вона за допомогою насоса подається в спеціальний фільтр-прес, для очищення, потім в бак готової продукції. Побічний продукт, тобто макуха, шнековим транспортером завантажується в бункер накопичувач.
Соняшникова олія відноситься до групи жирів, що напіввисихають. Характерні властивості: висихає повільно, плівки плавляться при 90–120оС частково або повністю у петролейному ефірі, при 280–290оС повільно загускає.
Таблиця 4.6 Показники якості олії
|
Найменування показника |
Норма для олії |
|||
|
Вищий сорт |
1-й сорт |
2-й сорт |
||
|
Кольорове число, І>2> |
15 |
25 |
35 |
|
|
Кислотне число, КОН |
1,50 |
2,25 |
6,00 |
|
|
Масова частка не жирових домішок, % |
0,05 |
0,10 |
0,20 |
|
|
Масова частка фосфоровмісних речовин, % не більше |
0,035 |
0,053 |
0,70 |
|
|
Масова частка вологи і летючих речовин, % |
0,20 |
0,20 |
0,30 |
|
|
Мило (якісна проба) |
Не визначається |
|||
|
Йодне число, І>2> |
125 – 145 |
125 – 145 |
125 – 145 |
|
|
Масова частка незмилюючихся речовин, % |
1,2 |
1,2 |
1,3 |
|
|
Температура спалаху, оС |
225 |
|||
|
Колір |
Яскраво-жовтий |
|||
|
Олійність, % |
24 – 48 |
|||
|
Густина при 15оС, кг/м3 |
920 – 924 |
По органолептичних і фізико-хімічних показниках олія соняшникова нерафінована, повинна відповідати вимогам приведеним в табл. 4.6, відповідно до ГОСТ 1129–78 «Соняшникова олія, нерафінована рослинна олія». [12]
5. Удосконалення вузла
5.1 Недоліки машини
Як відомо шнекові преси використовують для видалення олії, як з насіння соняшника, так і з насіння інших олійних культур. Широке їх розповсюдження в олійно-жировій промисловості зв’язано з їх перевагами:
високою продуктивністю;
простотою конструкції основних механізмів;
зручністю в обслуговуванні та експлуатації;
надійності в роботі та можливістю включення в технологічні лінії.
Але є також і недоліки, одним з яких, але дуже важливим є низький вихід олії (30 – 35%) в порівнянні з гідравлічними пресами. Тому в наступному пункті ми пропонуємо ліквідувати цей недолік.
5.2 Удосконалення вузла
Як говорилося в попередньому пункті недоліком шнекового пресу є малий вихід олії при пресуванні. Тому ми в даному розділі пропонуємо збільшити повноту виходу олії, та підвищити зручність експлуатації шнекового пресу. Це можливо досягти шляхом заміни суцільного шнекового валу пустотілим, який складається з декількох окремих ділянок, між якими встановлені з утворенням зазору кільця, та розміщеним в середині пустотілого шнекового валу циліндричного стержня з поздовжніми олієвідвідними пазами. На його поверхні забезпечується відвід олії з сировини, що пресується в бік леєрного циліндра, так і в бік шнекового валу, причому наявність кільцевого зазору між кільцями дозволить збільшити повноту виходу олії, а простота демонтажу та очищення підвищує зручність експлуатації.
На рис. 5.1 виконаний шнековий вал, поздовжній переріз з якого ми можемо детальніше розглянути будову шнекового валу, на рис. 5.2 зображено розріз А-А, на ньому видно розташування олієвідвідних пазів, а також ми можемо побачити яку форму мають кільця, та спосіб кріплення кілець до циліндричного стержня, а на рис. 5.3 зображено розріз Б-Б з нього можемо побачити яку форму мають виступи 4 завдяки яким між кільцями утворюється зазор.
Прес працює наступним чином.
Сировина, що містить олію подається в пресуючий тракт між зеєрним циліндром 1 та поверхнею пустотілого шнекового валу, транспортується витками шнекового валу та пресується, переходячи при цьому з однієї ділянки 2 на іншу (рис. 5.1). При стисканні з сировини виділяється олія, більша частина якої видаляється з пресую чого тракту через отвори леєрного циліндру 1. Частина олії в основному з шарів сировини, що прилягають до поверхні шнекового валу, відводиться через зазори утворені кільцями 3. Проходячи через зазори між кільцями 3 олія стікає в поздовжні пази 6 на поверхні циліндричного стержня 5, а звідти відводиться в збірник олії 8.
5.3 Розрахунок вузла
5.3.1 Розрахунок параметрів вала
Розраховуємо діаметр вала, використовуючи умову міцності. [8]
Розрахуємо крутний момент вала за формулою:
, (5.1)
де, Р>е.д> – загальна потужність електродвигуна, кВт. Р>е.д>> >= 15 кВт.
Кутове прискорення вала розраховуємо за формулою:
, (5.2)
де, п>е.д> – частота обертання вала, об/хв. п>е.д> = 15 об/хв.
Звідси,
с-1
Значення кутового прискорення підставляємо в формулу (5.1), або ж
кг*м
Розрахуємо діаметр вала із умови міцності:
, (5.3)
З формули (5.3) знаходимо осьовий момент інерції.
,
(5.4)
Звідси,
см3
де, Т>кр>> >– крутний момент, Н*м.
τ>тах> – найбільше дотичне напруження для даного перерізу, кг/см2.
τ>тах> = 400 кг/см2.
Осьовий момент інерції можна визначити також і за іншою формулою:
, (5.5)
де, d – діаметр вала, см.
За формулою (5.5) визначаємо діаметр вала:
, (5,6)
Звідси,
см
Отже, приймаємо діаметр вала рівний 22 см.
5.4 Розрахунок вала на кручення
Знайдемо реакції в опорах (див. рис. 5.5)
(5.7)
(5.8)

Рис. 5.1 Поздовжній переріз шнекового валу
(5.9)

Отже,
,
,
кг.
Будуємо опору моментів та поперечної сили:
– ділянка 0 ≤ z ≥ l, l = АВ
, (5.10)
,
кг
,
(5.11)
;
,
кг*м.



Рис. 5.2 Розрахункова схема вала
6. Економічна частина
При проектуванні будь-якого об’єкту громадського або сільськогосподарського призначення, зараз в першу чергу, рахуються матеріальні витрати потрібні для реалізації цього проекту. В більшій мірі це стосується сільського господарства, тому, що на сьогоднішній день АПК України знаходиться в майже зароджуваному стані. Але ці проекти вкрай потрібні селянам, бо існуюче обладнання або застаріле і непридатне до використання, або розукомплектоване. Саме тому, проектуючи новий об’єкт сільськогосподарського призначення необхідно оптимізувати співвідношення «ціна – якість». Тобто, при забезпеченні високої якості протікання технологічного процесу, проект повинен мати і невелику вартість. Слід зазначити, що при проектуванні доцільно буде прийняти вітчизняне обладнання, тому, що воно забезпечує відчутну економію коштів при тій же якості (а іноді і краще) та сприяє розвитку промисловості України та її економіки в цілому.
При проектуванні технологічної лінії з виробництва соняшникової олії було використано вітчизняне обладнання, яке має високу якість та досить невисоку ціну.
Удосконалення шнекового пресу ФП дозволить нам отримувати більший вихід олії, приблизно на 5%, що за рік складе на 43650 кг більше ніж до удосконалення.
Отже, підрахувати прибуток можемо за формулою:
,
грн (7.1)
де, Р – збільшення виходу олії за рік, після удосконалення, кг. Р=43650 кг.
Ц – ціна 1 кг олії, грн. Ц=8 грн.
Звідси,
,
грн./рік
Тоді чистий прибуток можемо підрахувати за формулою:
,
грн./рік (7.2)
де, П – прибуток, грн./рік.
МЗ – матеріальні затрати на переобладнання, грн.
Матеріальні затрати підраховуємо за формулою:
,
грн (7.3)
де, ЗП – витрати на заробітну плату майстрам, грн. ЗП=1000 грн.
М – витрати на матеріали, що необхідні для переобладнання, грн. М=600 грн.
Звідси,
,
грн.
Отже,
,
грн./рік.
Таким чином провівши удосконалення шнекового пресу ФП ми зможемо отримати чистий прибуток, який складає ЧП=347600 грн/рік.
Висновки
Якісне харчування має важливе значення для життєдіяльності людини, тому в останні роки особлива увага звертається на удосконалення технології виробництва, впровадження більш технологічного обладнання.
Переробка сировини у місцях збирання забезпечує використання додаткових сировинних ресурсів завдяки зниженню витрат при транспортуванні. Також раціонально використовується сировина, прискорюються темпи розвитку виробництва, підвищується якість продукції і знижується її собівартість. Значення переробки у господарстві не обмежується одержанням прибутку від реалізації готової продукції. У господарствах залишаються різні відходи переробки, які використовують на кормові цілі.
З такою метою виконано проектування технологічної лінії з переробки соняшника в олію з річним об’ємом перероблюваної сировини 2399,8 тон.
Так, як господарство займається вирощуванням соняшника на великих площах, то в майбутньому можливо розширити виробництво соняшникової олії.
Бібліографічний список
Бітюк О.В., Піддубник В.О. Журнал «Олійно-жирова промисловість України», Агросвіт 2005. №2.
Гавриленко И.В. Оборудование для производства растительных масел. Издательство пищевая промышленность. – М.: 1975. – 350 с.
ЕСКД: Основные положення. – М.: Издательство стандартов, 1984. – 343 с.
ЕСКД: Общие правила выполнения чертежей. – М.: Издательство стандартов, 1984. – 232 с.
Иванов М.Н. Детали машин: ученик для высших учебных заведений. – М.: Высшая школа, 1991. – 383 с.
И.Т. Кретов, В.М. Кравченко Оборудование пищеконцентратного производства. – М.: Агропромиздат, 1988. – 353 с.
Камышник Л.Д. Сушка и хранение семян подсолнечника. – М.: Агропромиздат. 1988.
Памфилов В.А. Машины и апараты пищевых производств. – М.: Агропромиздат 1991.
Технические культуры. Под редакцией Я.В. Губанова. – М.: Агропроиздат, 1986.
Трисвятский А.А. Хранение и технология сельскохозяйственных продуктов. – М.: Агропроиздат, 1991 – 415 с.