Планування роботи МТП з розробкою технології оранки поля після вирощування озимої пшениці
Міністерство аграрної політики України
Нікопольський коледж Дніпропетровського аграрного університету
Кабінет МЗ
ПОЯСНЮВАЛЬНА ЗАПИСКА до курсового проекту на тему:
Планування роботи МТП з розробкою технології оранки поля після вирощування озимої пшениці
2009р.
Вступ
В курсовому проекті на задані сільськогосподарські культури розраховані технологічні карти, по яких складений план механізованих робіт і побудований та скорегований графік машиновикористання.
Виконаний тяговий та кінематичний розрахунок агрегату для оранки після збирання озимої пшениці, знайдена його продуктивність та витрати палива.
Розглянута організація роботи агрегату в загінці, розроблені основні положення техніки безпеки, та питання зберігання техніки, зроблений розрахунок по визначенню затрат праці та коштів на 1 гектар при оранці після збирання озимої пшениці.
Курсовий проект представлений пояснювальною запискою об’ємом листів та графічною частиною на 2 листах формату А-1.
1. Теоретична частина
1.1 Стан та перспективи розвитку АПК країни
Шляхом реформування сільськогосподарського сектору в Україні був значною мірою унікальний. У грудні 90-го року ще за радянських часів, Верховна Рада Української РСР ухвалила Постанову «Про земельну реформу», відповідно до якої всі землі було оголошено об’єктом земельної реформи.
А вже з березня 92-го року Верховна Рада прийняла Постанову «Про прискорення земельної реформи та приватизації землі», у перше постановивши завдання з приватизації землі. Наші аграрні перетворення здійснювалися у п’яти напрямках.
Перший – земельна реформа. Вона була спрямована на втілення в життя гасла «Земля належить тим, хто на ній працює», треба було навіки закріпити й надійно захистити права власності селян на землю.
Другий – господарська реформа. Вона передбачала перетворення колгоспів і радгоспів у приватно-ринкові структури, збереження цілісності земельних масивів та майнових комплексів великих підприємств, вільний вибір селянами різних форм господарювання.
Третій – формування аграрного ринку на місті старої планово-розподільчої системи, збуту продукції. Мільйони працівників, спеціалістів та керівників господарств треба навчити ринкових методів ведення господарства, заробляти доходи не в державі, а на вільному ринку, зокрема й на зовнішньому.
Четвертий – фінансова стабілізація. Належить фінансово оздоровити галузь, зняти з неї непосильний борговий та податковий тягар, відкрити шлях інвестиціями і кредитом, зупинити наростання цінових диспропорцій, безробіття та падіння доходів селян.
П’ятий – соціальний розвиток. Перед державою постала глобальна проблема – перетворити село з трудових придатків колгоспів і радгоспів у самостійні територіальні громади, створити в них нормальні умови для життя, побуту, праці й відпочинку.
Рішучі заходи з реформування стали рубежем, який чітко відділяє часи кризи від періоду піднесення.
Перелом настав, коли на більшості напрямків – це передусім приватизація землі, створення господарських структур ринкового типу, формування аграрного ринку та фінансове оздоровлення галузі – було досягнуто реальних зрушень. Лише тоді кризу змінила стабілізація, а згодом почалось економічне зростання.
За п’ять років по-реформованого періоду (2000-й – 2004-й, з урахуванням прогнозу на поточний рік) середньорічний приріст сільськогосподарського виробництва в Україні становить 6%.
Формування прозорого аграрного ринку – необхідна передумова вступу України до Світової організації торгівлі. Практика реформування свідчить, що тільки на організованому ринку можна заробляти гроші, і насамперед на світових ринках.
Треба активніше просувати, а головне – продавати вітчизняну продукцію на зовнішні ринки. Можливість дуже велика. За поточний рік експорт сільськогосподарської продукції зріс порівняно з 1994-м у 2,5 рази, а сальдо зовнішньоекономічної торгівлі збільшився у тричі.
Найгострішою на сьогодні є проблема технічної модернізації галузі. Її розв’язання потребує багато часу – не рік і не два.
Це справді загальнодержавна проблема вирішення якої має об’єднати аграрний, промисловий, банківський капітал – за активного державного стимулювання.
Україні потрібно Державна конкретна, підкріплена фінансовими ресурсами й економічними механізмами, програмами механічної політики в аграрному секторі.
1.2 Характеристика господарства
Приватне підприємство «Агрофірма «Славутич» створене 20 березня 2000 року на базі бувшого КСП «Дніпро» Нікопольського району, але не є його правонаступником. Підприємство знаходиться на території селища Червоногригорівка, яке розташоване в степовій зоні, зоні ризикованого землеробства. Селище Червоногригорівка розташоване в 17 км. від м. Нікополя та в 13 км від м. Марганець, що дає змогу вести свою виробничу та торгівельну діяльність в повному обсязі, не маючи незручностей щодо реалізації продукції сільськогосподарського виробництва.
Підприємство межує з ТОВ ДП «Агро-Аврора», ПП «Оазис», ТОВ «Атлант» та іншими підприємствами.
Ґрунти на території підприємства переважно чорноземи, але також є поля із змитими чорноземами тому, що в КСП «Дніпро» проводилося зрошування посівів.
Погодні умови на території підприємства переважно такі: зима холодна та суха, весна затяжна та суха, літо жарке, опади випадають у виді ливнів, що не дає можливості поповнити вологу в ґрунтах і лиш восени випадають дощі, що дає можливість вкоренитися озимим культурам. В середньому за рік випадає 250-350 мм опадів.
Приватне підприємство «Агрофірма «Славутич» налічує 14 підрозділів, з яких: 5 виробничих підрозділів: 4 – по рослинництву, 1- по тваринництву та 9 обслуговуючих. Всього працює 201 чоловік. Підприємство обробляє 6118 га сільськогосподарських угідь, з них 5780 га ріллі та 338 га багаторічних насаджень. Землі розташовані на територіях Червоногригорівської селищної, Покровської та Придніпровської сільських рад. ПП «Агрофірма «Славутич» орендує земельні ділянки у 1542 власників.
Метою діяльності ПП «Агрофірми «Славутич» є виробництво сільськогосподарської продукції, її переробка та реалізація, інші види господарської діяльності, в т.ч. прискорення впровадження нової техніки в виробництві, побуті, соціальній сфері, а також отримання прибутку шляхом задоволення попиту на товари, роботи, послуги на внутрішньому і зовнішньому ринку.
Підприємство займається вирощуванням зернобобових та технічних культур, з них біля 1500 га озимої пшениці, 600 га озимого рапсу, 400 га озимого ячменю, 400 га гороху, 600 га кукурудзи зернової та 1200 га соняшнику. Також із року в рік утримує біля 900 га чорних парів. В 2004 році підприємство отримало паспорт – патент на вирощування оригінального та елітного насіння гороху та озимої пшениці. В сприятливий ріу для сільського господарства підприємство отримує понад 12 тисяч тонн зерна та біля 3 тисяч тонн насіння соняшнику. В структурі багаторічних насаджень біля 50 відсотків займає черешня, 25 відсотків яблуня, інші 25 відсотків – груша, слива, персик, абрикос.
Машино-тракторний парк підприємства налічує 7 одиниць комбайнів, з яких 2 одиниці іноземного виробництва та 53 одиниці тракторів, з яких один «Джон-Дір», три – ХТЗ–170, сім – Т-150, інші колісні ЮМЗ-6 та МТЗ-80,82. Автопарк налічує 55 машин, з яких 42 вантажні, 11 легкові та 2 спеціальні.
В 2007 році введено в експлуатацію зерносушильний комплекс, придбане обладнання для калібрування насіння, введено в експлуатацію критий тік, будується друга майстерня для ремонту техніки на території тракторно-польової дільниці.
В 2003 році за кошти підприємства відремонтовано дитячий садок, який в 2006 році був переданий на баланс селищної ради, реконструйовано селищний стадіон, побудовано два дитячих майданчики, надавалася допомога по ремонту селищного Будинку культури. За роки роботи підприємства за його кошти утримують тренерів по футболу та вільній боротьбі, які мають свої високі здобутки.
2. Розрахунковий розділ
2.1 Розрахунок технологічних карток на задані сільськогосподарські культури
Основою планування механізованих робіт у с/г підприємстві є технологічні карти з виробництва с/г культур.
Розробку технологічної карти починаємо з визначення попередників, площі на якій плануємо виробництво культури: планової врожайності (основної і побічної), норм висіву насіння та внесення добрив, відстані перевезення продукції, засобів захисту рослин.
На підставі цих даних визначаємо групу поля, ґрунту. Ці дані необхідні для визначення роботи, згідно з визначеною групою поля чи господарства.
Технологічна карта складається з частин:
Агрономічна (назва операцій, обсяг роботи, строки виконання операцій, тривалість робочого дня);
Технічна (склад агрегату, кількість обслуговуючого персоналу);
Технічно-економічна (продуктивність агрегату, затрати праці, необхідна кількість обслуговуючого персоналу, вироблено нормозмін, обсяг роботи в ум. ет. га, витрати праці, палива на одиницю роботи і на весь обсяг роботи);
Послідовність операцій єдина для всіх культур. Перелік операцій відповідає технології їх виконання і доцільно користуватися рекомендаціями науково-дослідних інститутів або технологічними картами, що розроблені спеціалістами даного господарства. У переліку слід враховувати забезпеченість комплексної механізації з метою зменшення кількості ручних робіт.
Розмірність технологічної операції:
Обробіток ґрунту, внесення добрив і сівба, міжрядний обробіток, збирання, площа, га;
Навантаження, розвантаження, т;
Транспортні роботи для тракторних МТА, для автотранспорту, т/км;
Землерийні роботи;
Обсяг робіт (графа 3) повинен відповідати плановому та кратності їх виконання.
Проти виконання операції з одиницею виміру «га» записуємо площу с/г культури по завданню, а транспортні та навантажувальні роботи, які вимірюються в «т» знаходимо обсяг множенням площі на: норму внесення добрив, норму висіву (садіння) насіння; врожайність (зерна, соломи, картоплі, соняшнику, силосу, коренів і т.д.).
Календарні строки виконання операцій приймають з урахуванням оптимальних строків виконання робіт та досвіду господарства (графа 4). Для суміжних операцій календарні строки повинні бути однаковими. Наприклад підвезення насіння і добрив, передпосівна культивація та сівба календарні строки виконання операції встановлюють на основі агротехнічних вимог.
Кількість робочих днів (графа 6) встановлюємо в залежності від продуктивності агрегату і коефіцієнта змінності, при цьому враховуємо, що кількість робочих днів може бути рівна, або менша кількості календарних днів (графа 5). Для взаємозв’язків операцій значення (графа 6) повинно бути однаковим.
Склад агрегату для виконання кожної технологічної операції (графа 7,8,9) необхідно вибирати так, щоб забезпечити задану якість роботи, максимальну продуктивність МТА, повне використання тягових можливостей трактора при мінімальних витратах коштів на одиницю роботи.
МТА підбирають так, щоб вони були взаємозв’язані у виробничому циклі за рядністю та продуктивністю.
Норму виробітку за зміну (графа 10) та норму витрати палива на одиницю роботи (графа 19) встановлюють за типовими нормами виробітку і витрати палива на механізовані польові роботи.
Виробіток агрегату за годину змінного часу (графа 11) визначають за формулою:
або графа 1 =
де Т>зм >- час зміни, Т>зм >= 7 год
W>р.зм> – виробіток агрегату за зміну, га/зм (графа 10)
W>р.год> – виробіток агрегату за годину змінного часу
Кількість нормозмін всього (графа 12) визначаємо діленням обсягу робіт (графа 3) на змінну продуктивність агрегату (графа 10) округлюючи результати до 1…2 знаків після цілого числа.
Кількість нормозмін на один день (графа 13) визначаємо діленням кількості нормозмін всього (графа 12) на прийняту кількість робочих днів (графа 6).
Коефіцієнт змінності (графа 14) приймаємо в залежності від кількості нормозмін на один день при цьому враховуючи що двозмінна праця зменшує кількість агрегатів, але по агротехнічним вимогам сівбу, міжрядний обробіток не можна проводити за межами світлового дня. У графі 14 можуть бути тільки цифри 1; 1,5; 2.
Кількість агрегатів (графа 15) необхідних для виконання даної операції визначають:
де n – кількість агрегатів, приймаємо ціле число
Q – обсяг робіт (графа 3), га,т.
W>доб> – виробіток агрегату за добу, га/доб, т/доб
Д>р> – тривалість робочих днів.
Кількість с/г машин (графа 16) приймаємо маючи на увазі, що числові значення їх повинні бути цілими і враховуючи значення графи 9.
Необхідна кількість робітників (графа 17) для виконання операцій визначаємо за формулою:
де nр – численність механізаторів необхідно для роботи
nm – численність механізаторів, що обслуговують 1 агрегат
nq – численність допоміжних працівників, що обслуговують один агрегат.
Обсяг транспортних робіт в умовних еталонних гектарах (графа 18), визначають за формулою:
W>е.зал> – обсяг транспортних робіт в ум.ет.га для виконання заданої операції
H>зм> – кількість виконаних нормозмін, шт
W>е.зм.тр> – еталонний виробіток даної марки трактора за зміну, ум.ет.га
Витрати палива для виконання даної операції визначаємо за формулою (графа 20):
або гр.20 = гр.19
гр.3
де Q>заг> – витрати палива на одиницю роботи, кг/га
W>заг> – загальний обсяг роботи, га, т.
Затрати праці на одиницю роботи визначаємо за формулою (графа 21):
або гр.21 =
Затрати праці на всю операцію (графа 22):
або гр.22 = гр.21
гр.3
2.2 План механізованих робіт
Після уточнення окремих операцій і розрахунку технологічних карт на вирощування всіх сільськогосподарських культур приступають до складання річного плану механізованих робіт. Річний план складається за такою ж формою, що і технологічні карти. Всі операції по вирощуванні сільськогосподарських культур записується в річний план механізованих робіт і розміщується в послідовності за початком їх виконань. Однакові операції по вирощуванню декількох культур, які виконуються в один і той же час одним і тим же агрегатом з однаковою продуктивністю можна об’єднати. Так наприклад: можна виконати снігозатримання чи весняне боронування і другі операції в один строк для декількох культур. Обсяг робіт в цьому випадку додається. Технологічні операції річного плану механізованих робіт повинні мати нумерацію.
2.3 Графік машиновикористання
Для з’ясування повної картини завантаження комплексу машин протягом періоду виробництва заданої культури на підставі розробленої технічної карти будують графік машиновикористання.
Графіком машиновикористання називається діаграма, яка показує скільки тракторів певного типу повинно працювати в різний час польових робіт.
Графік будують у прямокутниках декартових координат. З плану механізованих робіт використовуємо гр. 15 і 18. У прийнятому масштабі на вісь абсцис відкладають (1…2мм на один рівень) календарні строки по місяцям, а по вісі ординат відкладають кількість тракторів (наприклад, 30мм – один трактор). При цьому на графіку одержують прямокутник, площа якого відображає необхідну кількість тракторів (тракторо-днів) необхідних для виконання виробничої операції.
Для зручності користування в прямокутники проставляють номер операції. Прямокутник штрихують залежно від того, яким енергетичним засобом виконується операція.
Корегування виконують наступним чином:
1. Збільшення кількості годин роботи тракторів за добу за рахунок введення двох змін роботи в напружений період, якщо це не зашкодить якості роботи.
2. Перерозподіл робіт між тракторами різних марок і другими енергетичними засобами.
3. Зміною часу виконання операції в межах агротехнічного строку чи деякою зміною строку виконання робіт, які технологічно не пов’язані з другими операціями.
Отже інвентарна кількість тракторів визначається враховуючи коефіцієнт технічної готовності парку, який становить 0,85 – 0,95%.
3. Технологічний розділ
3.1 Агротехнічні вимоги до оранки після збирання озимої пшениці
Мета: розрихлити шар ґрунту, що оброблюється, для створення благоприємного водно-повітряного, теплового режимів і умов для накопичення, збереження та використання вологи атмосферних опадів; заорати в ґрунт мінеральні і органічні добрива, а також бур’яни та пожнивні рештки.
Агротехнічні вимоги:
Початок, глибину та тривалість оранки встановлює агроном господарства, враховуючи фізичну стиглість ґрунту, потужність орного шару та засміченість поля
Полицеву оранку (крім оранки зябу, пару та заорювання добрив) проводять плугами з передплужниками.
-
Показник
Значення і допуски
відхилення глибини оранки на полях:
- вирівняних
- невирівняних
±1 см
±2 см
Викривлення рядів оранки
±1 м на 500 м гону
Вирівняність поверхні
Довжина профілю не більше 10,7 м
Оборот пласта
повний
Заорювання рослин, бур’янів, добрив
Не менше 95%
Рихлення пласта
Не більше 15%
Висота гребенів
Не більше 5 см
Висота звальних гребенів та глибина розвальних борозен
Не більше 7 см
Огріхи та необроблені поворотні смуги
Не допускаються
Незароблені розвальні борозни та незорані звальні гребні
Не допускаються
Швидкість руху повинна складати для орних агрегатів зі звичайними корпусами 1,4…2,2 м/с (5…8 км/год), зі швидкісними – 2,2…3,3 м/с (8…12).
Після закінчення оранки вирівнюють звальні гребені, заорюють розвальні борозни, розорюють поворотні смуги.
3.2 Тяговий розрахунок агрегату
1. З технологічної карти на вирощування озимої пшениці знаходимо запланований склад агрегату для виконання оранки і записуємо:
марку трактора Т-150К
С/г машину ПЛН-5-35
2. Визначаємо інтервал робочих швидкостей, на яких у відповідності з агротехнічними вимогами рекомендовано виконувати задану операцію і записуємо їх. (8...12 км/год)
3. З технічної характеристики трактора, який виконує операцію, знаходимо передачі, на яких теоретична швидкість знаходиться в межах, рекомендованих агровимогами, причому цих передач повинно бути не менше двох і записуємо числові значення швидкостей і відповідно зусилля на гаку:
Vн>1>= 8,53 км/год Рн>гак1>= 35,0 кН
Vн>2>= 10,08 км/год Рн>гак2>= 33,2 кН
4. Уточнюємо площу поля F>поля>= 95 га, нахил поля і= 2%, буксування δ= 5%, питомий опір с\г машини К>о>= 45 кН/м, опір кочення трактора f>тр>=0,08, опір кочення с/г машини f>см >= 0,14, вага с/г машини G>м>= 8,0 кН, ширина захвату b>мк >= 1,75кН.
5. Визначаємо тягове зусилля (кН) трактора з урахуванням умов роботи на прийнятих передачах:
(3.1)
де Рн>гак> – номінальне тягове зусилля на прийнятій передачі;
G>тр> – вага трактора;
f>тр> – коефіцієнт опору кочення трактора;
і – нахил поля.
кН
кН
6. Визначаємо робочу швидкість (кН) агрегату з урахуванням буксування:
(3.2)
де Vн – швидкість номінальна;
δ – буксування
км/год
км/год
7. Визначаємо питомий опір (кН/м) з урахуванням швидкості:
(3.3)
де К>о> – питомий опір с/г машини
П – коефіцієнт приросту, П=0,02…0,03, V>о >= 5 км/год
кН/м
кН/м
8. Визначаємо опір (кН), який припадає на один плужний корпус
(3.4)
кН
кН
(3.5)

де a – глибина оранки, м
b – ширина захвату одного корпуса, м
q – вага, що припадає на один корпус
Gпл – вага плуга, кН
n – кількість корпусів
c – корегуючий коефіцієнт, який враховує вагу грунту на корпусі, с=1,2
9. Визначаємо кількість корпусів:
(3.6)
Приймаємо n>1
>=5
Приймаємо n>2>=4
10. Визначаємо опір агрегату (кН) по прийнятому числу корпусів:
(3.7)
кН
кН
10. Визначаємо коефіцієнт використання тягового зусилля на прийнятих передачах:
(3.8)


12. Визначаємо годинну продуктивність (га/год):
(3.9)
де τ – коефіцієнт використання часу зміни
(3.10)
м
м
де β – коефіцієнт використання конструктивної ширини захвату агрегату
га/год
га/год
Висновок: Агрегату в заданих умовах краще працювати на 1-й передачі, ніж на 2-й тому, що коефіцієнт використання тягового зусилля на ній вищий, продуктивність теж більша і склад агрегату не змінюється.
Спосіб руху агрегату. Його кінематичний розрахунок
Із тягового розрахунку оранку після озимої пшениці на полі площею 95 га проводяться агрегатом у складі трактора Т-150К та плуга ПЛН-5-35 на 1-й передачі з робочою швидкістю V>р>=8,1 км/год.
Поле має розміри: довжину 1000 м, ширину 950 м. (рис. 1).

Рис. 1
1. Відповідно з рекомендаціями додатку №37 агрегат для передпосівної культивації може рухатись по полю човниковим способом, всклад, врозгін, з чергуванням загонів всклад та врозгін, беззагінковим круговим способами. Приймаємо з чергуванням загонів всклад та врозгін.
2. Знаходимо величину Х, тобто відстань між двома суміжними проходами по центру агрегату, в залежності від вибраного способу руху і повороту.
(3.11)
м
де
- коефіцієнт використання конструктивної
ширини захвату агрегату, знаходимо
числове значення в додатку №15
3. Мінімальний радіус повороту агрегату (м), який залежить від типу агрегату та швидкості на повороті знаходимо користуючись рекомендаціями додатку №18.
(3.12)
м
Приймаємо R>min>=7 м, тому що з технічної характеристики трактора Т-150К його мінімальний радіус R>min>=6,7 м
4.Записуємо одержані числові значення Х та 2R>min>> >і встановлюємо, який між ними треба поставити знак(<,=,>).
Ставимо потрібний знак і керуючись даними додатку №19 вибираємо вид повороту
Х=1,9<2Rmin=2*7=14
При роботі агрегату перші повороти на 180º будуть петльові, тобто до тих пір поки Х<2Rmin, як тільки Х=2Rmin – агрегат буде повертати по колу і далі, коли Х> R>min>> >– повороти будуть виконуватися без петлі з прямолінійною ділянкою.
5. Знаходимо кінематичну довжину агрегату L>а>> >(м), тобто відстань між центром агрегату і лінією розміщення останнього (заднього) органу по формулі:
(3.13)
де: l>тр> – кінематична довжина трактора (відстань від кінематичного центру трактора до точки причіпки чи навіски машини)
l>м> – кінематична довжина сільгоспмашини (відстань між місцем причіпки машини до трактора і до лінії задніх робочих органів)
м
6. Довжину виїзду агрегату е (м), тобто відстань, яку необхідно проїхати агрегатом від контрольної лінії на початку або завершення повороту з тим, щоб запобігти огріхам, визначаємо для начіпних агрегатів із заднім начіплюванням так:
(3.14)
м
7. Враховуючи, що більшість полів захищена лісосмугами і розворот агрегату за межами поля неможливий або утруднений, в кінці гонів залишаємо смугу, яка називають поворотною.
Мінімальну ширину поворотної смуги (м) знаходимо по формулі:
(3.15)
м
8. Остаточно прийнята ширина поворотної смуги має бути кратною робочій ширині захвату агрегату, що виключає проїзди з неповним захватом.
Знаходимо кількість проходів агрегату при обробці поворотної смуги шириною Е>min>.
(3.16)
м
Приймаємо n>cm>=12м
Таким чином, фактична ширина поворотної смуги буде:
(3.17)
м
9. Довжина робочого шляху (м) агрегату за один прохід на загінці
(3.18)
м
10. Оптимальну ширину загінки, тобто таку, при якій для даного (вибраного) способу руху забезпечується мінімальна довжина холостих ходів і максимальний коефіцієнт робочих ходів знаходимо по формулі:
(3.19)
де К>с> – коефіцієнт пропорційності; К>с> =2
м
11. З технологічної карти на вирощування озимої пшениці вибираємо значення змінної продуктивності агрегату W>зм> – 8,9га/зм. Використовуючи це значення розраховуємо ширину загінки з умови, щоб площа загінки F>заг> в га чисельно дорівнювала змінній продуктивності W>зм> в га/зм. Це дає змогу уникнути переїзду агрегату під час зміни з одної загінки на іншу.
Ширину загінки (м) з умови F>заг>=W>зм> знаходимо по формулі:
(3.20)
м
12. Визначаємо кількість робочих ходів агрегату на загінці шириною С>зм>=93,25м.
(3.21)
Приймаємо П>рх>=50
13. Фактична ширина загінки.
(3.22)
м
Таким чином, остаточно вибрана фактична ширина загінки буде кратна парному числу проходів агрегату, що виключає переїзди з неповним захватом і дає змогу закінчувати обробіток загінки на тому боці, з якого вона розпочалася.
14. Кількість загінок.
(3.23)
шт.
15. В залежності від способу руху агрегату та користуючись рекомендаціями додатку №32 знаходимо кількість робочих ходів та холостих поворотів за зміну.
(3.24)
(3.25)


16. Знаходимо довжину робочого та холостого шляху, пройденого агрегатом за зміну.
(3.26)
(3.27)
м
(3.28)
(3.29)
де l>пх >– довжина холостого повороту залежить від типу повороту і знаходимо по формулах, приведених в додатку №31, №32.
l=0,5С>ф>+ R>min> – 0,5В>р >(3.30)
(3.31)
(3.32)
Приймаємо п>пп>=7
Приймаємо п>бп>=42
l=0,5С>ф>+
R>min>
– 0,5В>р>=0,5
95+7-0,5
1,9=53,55м
7(6
7+2
2,16)+42(3,14
7+53,55+2
2,16)=3677,94м
17. Коефіцієнт робочих ходів, який оцінює ефективність вибраного способу руху та поворотів.
(3.33)

18. Із балансу часу зміни Т>зм>=Т>пз>+Т>обс>+Т>р>+Т>особ>+Т>дод> знаходимо чистий робочий час зміни (год).
(3.34)
де Т>зм> – продовження зміни Т>зм>=7 год.
Т>пз> – підготовчо-заключний час, що витрачається на здавання і приймання агрегату, щозмінне технічне обслуговування, комплектування агрегату, переїзд до місця роботи і назад.
Т>обс> – час на очищення робочих органів, перевірку якості роботи та усунення можливих порушень технологічних регулювань.
Т>особ >– рекомендований час на відпочинок і особові потреби
Т>дод> – допоміжний час, що враховує час на холості повороти (заїзди) Т>пов>, час на технологічне обслуговування агрегату (заправка насінням, добривами, вивантаження зерна з бункера комбайна тощо) Т>то>, час на переїзди на протязі зміни на інші загінки Т>пер >(при F>заг>=W>зм >Т>пер> = 0). Числові значення Т>пз>, Тобс, Т>особ> в залежності від операції знаходимо по додатку№33.
Т>пз> = 30хв = 0,5 год
Т>обс> = 6хв = 0,1 год
Т>особ >= 26хв = 0,43 год
Додатковий час розраховуємо по формулі:
Т>дод> = Т>пов> + Т>то >(3.35)
Плугу не потрібне технологічне обслуговування, тобто не потрібно заправляти насінням, добривами і т.п, отже Т>то>=0, таким чином
Т>дод> = Т>пов >= n>пх>* t>пов >(3.36)
де t>пов >– тривалість 1-го повороту, знаходимо в додатку №33
Т>дод> =49*30= 1470с=0.41 год
год
19. Коефіцієнт використання часу зміни:
(3.37)
3.4 Визначення продуктивності агрегату і витрат паливно-мастильних матеріалів
1. Змінна продуктивність (га/зм) агрегату в заданих умовах.
(3.38)

2. Витрати основного (дизельного) палива (кг/га) знаходимо по формулі:
(3.39)
де G>р>, G>х>, G>з> – відповідно витрати пального двигуном трактора при роботі з навантаженням під час поворотів, заїздів та зупинок трактора з працюючим двигуном. Числові значення беремо з додатку №20 (врахувати, що 1 кг/год = 1,2л/год при щільності дизельного палива γ = 0,825 кг/л).
Т>р> = 5,56 – чистий робочий час, год
Т>х> = Т>пов> = 0,41год – час холостих переїздів, год
Т>з> = Т>обс> + Т>то> – час роботи двигуна на зупинках трактора, год
Т>з> = Т>обс> = 0,1 год

3. Витрати мастильних матеріалів беруться у відсотках від витрат основного палива. Числові значення знаходимо у додатку №34
Моторна олива – 4,5%=0,84л/га
Олива для гідравліки – 0,27%=0,05л/га
Солідол – 0,1%= 0,02л/га
Трансмісійна олива – 0,2%=0,04л/га
3.5 Розробка операційно-технологічної карти
Операційно-технологічна карта являє собою основний робочий документ, що вміщає перелік необхідних і обов’язкових правил виконання кожної технологічної операції.
Вона розробляється загально, враховуючи прийняту технологію вирощування с/г культур в даному регіоні та систему машин для комплексної механізації.
Перелік основних питань, які повинні бути розкриті в операційно-технологічній карті:
Агротехнічні вимоги до виконання операції.
Підготовка агрегату до роботи включає:
2.1. Підготовку трактора (розстановку ходових коліс на потрібну колію, встановлення необхідного тиску в шинах, встановлення механізму зчеплення, освітлення для роботи в нічний час).
2.2. Підготовка машини (розстановка робочих органів та їх регулювання).
2.3. Складання агрегату (приєднання до трактора, перевірка правильності складання агрегату).
Підготовка поля до роботи:
3.1. Огляд поля, видалення побічних предметів, огородження небезпечних місць.
3.2. Розбивання поля на загінки з урахуванням потрібного напрямку руху агрегату.
3.3. Помітку на полі місць заправки, протипожежні оборювання загінок.
Схема агрегату (привести схему трактора, машини, вказати кінематичну довжину, кінематичну ширину).
Схема технологічного процесу (показати роботу машини, з приведенням ескізів складних регулювань).
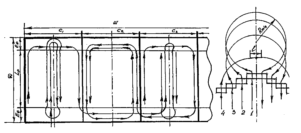
Робота агрегату в загінці (відмічаємо на схемі поля лінії перших проходів агрегату, спосіб і напрям руху, напрям повороту, послідовність роботи в загінці, забезпечення технологічного обслуговування)
Заходи, щодо охорони праці, і положення безпеки повинні відображати специфіку роботи даного агрегату.
Контроль і оцінка якості включає:
8.1. Перелік способів і послідовність контролю, порядок проведення, кількість необхідних вимірювань і числову оцінку показників якості.
8.2. Вказівки та порядок обробки вимірювань і градації з оцінки якості ( за середнім балом або для коефіцієнта якості).
9) Технічно-економічні показники (вказувати кількість агрегатів, швидкість, зміну та годину продуктивність, витрату палива, заробітну плату механізатора, номер поля, його площу, термін виконання, агротехнічні строки, тощо).
Примітка: операційно-технологічна карта на форматі А1, розміщення матеріалів приведено нижче в додатку.
4. Організаційний розділ
4.1 Розпорядок робочого дня, особовий склад агрегату його обов’язки
агротехнічний оранка пшениця машиновикористання
Розпорядок робочого дня залежить від сільськогосподарських робіт і місцевих умов. У ньому передбачається: початок і кінець змін, перерва для прийняття їжі, порядок виходу на роботу.
Роботу машино-тракторних агрегатів організують в одну, півтори та дві зміни. Кожен тракторист та допоміжні робітники (при їх наявності на агрегаті) повинні працювати лише одну зміну, при цьому допускається в окремих випадках працювати півтори зміни.
Як правило згідно з розпорядком особовий склад агрегату повинен прибувати до місця роботи не пізніше ніж за чверть години до її початку, при перезмінах теж, тому що технічний догляд, заправка машин, усунення виявлених недоліків тобто здача-приймання проводиться працівниками обох змін разом.
Треба пам'ятати, що садово-городні, посівні, просапні агрегати повинні працювати протягом світлового дня, (тривалість якого можна знайти в додатку №39).
До особового складу агрегату відноситься тракторист-машиніст. За кваліфікацією він може бути першого, другого чи третього класу. Крім тракториста – машиніста на деяких агрегатах передбачені допоміжні робітники або обслуговуючий персонал: це посівні агрегати з сівалками СЗ – 3,6 на яких працюють сівальники, на зернових комбайнах – помічники комбайнерів, на деяких причіпних комбайнах – комбайнери.
Отже склад агрегату вибираємо в кожному окремому випадку.
Особовий склад зобов'язаний:
1. добре працювати, виконувати і перевиконувати завдання (встановлені норми);
2. додержуватись правил з техніки безпеки, протипожежної охорони і виробничої санітарії;
3. додержуватись трудової дисципліни і правил внутрішнього розпорядку;
4. виконувати розпорядження бригадира тракторної бригади, агронома, керівника ланки;
5. бережливо ставитись до закріпленої техніки;
6. економічно витрачати пальне, мастило та інші матеріали;
7. усувати причини простою і стежити за технічним станом агрегату;
8. забезпечити своєчасне і якісне проведення щозмінного технічного обслуговування;
9. періодично перевіряти якість виконання роботи та технічну наладку агрегату.
4.2 Організація технічного і технологічного обслуговування агрегату
Від правильного технічного обслуговування машино-тракторного парку у великій мірі залежить продуктивність агрегатів і собівартість механізованих робіт. У структурі собівартості гектара умовної оранки питома вага затрат на технічне обслуговування машин становить більше 30%. У свою чергу на ефективність технічного обслуговування значно впливає прийнята система його організації.
Технічне обслуговування являє собою сукупність обов'язкових до виконання операцій щодо систематичної перевірки в певні строки стану машин і їх механізмів: очищення, мащення, кріплення та регулювання вузлів машин. Все це дає можливість запобігти несправностям, передчасному спрацюванню, поломці машин і забезпечити утримання їх в стані технічної готовності до роботи.
Щоденне технічне обслуговування (ЩТО), як правило проводять на поворотній смузі загінки. Його виконує сам тракторист.
Агрегат працює в дві зміни тому ЩТО проводиться трактористом на польовому стані бригади в присутності бригадира або його помічника. При ЩТО проводяться і перевіряються:
1. Робота на ходу коробки передач, муфти зчеплення, бортових фрикціонів, гальм, електрообладнання та приладів, на дотик нагрівання, візуально підтікання води, палива, масла.
2. Підтягування зовнішніх кріплень, особливу увагу звертають при цьому на кріплення повітроочисника, вентилятора, радіатора, паливного бака, кронштейнів фар, перевіряються різьбові з'єднання.
3. Змащування відповідно з таблицею, перевірку рівня масла в картері двигуна, кількість палива в баку, води в радіаторі, натяг приводних пасів вентилятора і генератора, тиск у всіх колесах.
Після закінчення щозмінного обслуговування запускають двигун трактора, перевіряють не слух його роботу і покази контрольно-вимірювальних приладів.
Одночасно з проведенням ЩТО за трактором виконують роботу по обслуговуванню сільськогосподарськими машинами агрегату. При ЩТО очищають і змащують машину, перевіряють і підтягують кріплення, заміняють затуплені робочі органи, перевіряють роботу механізмів, усувають всі виявлені несправності.
Через кожні 2 – 3 або 4 – 5 годин роботи залежно від будови машини проводять проміжний під час зміни технічний догляд який включає мащення, очищення і контроль установок і регулювань.
Періодичні технічні догляди за сільськогосподарськими машинами, що працюють на тракторній тязі, проводять одночасно з доглядом за тракторами або виконують після закінчення сезону роботи цих машин.
Технологічне обслуговування включає організацію транспортування гички буряків, коренеплодів, картоплі, зерна, соломи тощо, а також забезпечує безперебійну роботу посівних агрегатів, за рахунок доставки посівного насіння, добрив, розчинів гербіцидів, отрутохімікатів і інше.
4.3 Організація заправки ПММ.
Сільське господарство нашої країни витрачає велику кількість нафтопродуктів. В собівартості тракторних робіт витрати на нафтопродукти становлять 20...25%.
Для забезпечення безперебійної роботи машино-тракторного парку необхідно мати відповідний запас паливо-мастильних матеріалів, причому 30% загальної потреби палива і мастил зберігається в господарстві.
Для нормальної роботи дизельних тракторів необхідно їх заправляти чистим, відстояним (влітку – 4 доби, взимку -8 -10 діб) паливом, бо паливна система двигунів має точно виготовлені (прецизійні) деталі, спрацювання яких погіршує роботу двигуна, зменшує його потужність, збільшує питому витрату палива.
Заправлення тракторів, самохідних машин можна здійснювати за допомогою стаціонарних заправних пунктів або пересувних механізованих агрегатів.
Перший спосіб застосовують, коли машино-тракторні агрегати працюють на відстані до 5км від пунктів або пересувних механізованих агрегатів.
При необхідності заправлення машино-тракторних агрегатів, що працюють на відстанях більше 5км від нафтосховищ застосовують механізовані агрегати на шасі автомобілів або тракторних причепів. Їх вигідно застосувати, коли машино-тракторні агрегати працюють груповим методом.
Щоб забезпечити своєчасне встановлення тракторів на технічні догляди та вести облік палива бажано запровадити талонну систему заправлення з використанням лімітних книжок на кожний трактор.
Нескладний розрахунок допоможе вибрати спосіб заправлення: в полі, чи на стаціонарі, Із кінематичного розрахунку, знаючи продуктивність та питому витрату палива, знаходимо денну витрату палива (з урахуванням змінності), якщо денна витрата менша об'єму паливного баку, заправлення буде на стаціонарі, якщо більше – треба організувати заправлення в полі.
Визначаємо денну витрату палива
(4.1)

Визначаємо кількість днів, при яких агрегат зможе працювати на одній заправці
(4.2)

Висновок: Місткість паливного бака в тракторі Т-150К – 315л, отже трактор потрібно заправляти кожен день і брати з собою 5-літрову каністру з дизельним паливом.
4.4 Організація зберігання техніки
Зберігання машин є складовою частиною планово - запобіжної системи технічного обслуговування. Для підвищення надійності машин в роботі та збільшення строку їх служби велике значення має правильна організація зберігання у перервах між польовими роботами та в зимовий період.
Більшість сільськогосподарських машин-знарядь протягом року працює відносно короткий строк. Тривалість неробочого періоду плугів становить 70 – 80% від календарного періоду, сівалок – 90 – 95%, комбайнів – 85 – 90%. Трактори використовують повніше.
Основні фактори, які погіршують технічний стан машин при зберіганні - це попадання на деталі вологи, різке коливання температури повітря, вітер, сонячні промені, вагові навантаження, а також погана підготовка машин до зберігання і недбале спостереження за ними в період зберігання.
Зберігання машин включає такі елементи:
- загальні організаційні заходи;
- вибір і підготовка місць зберігання;
- підготовка і зберігання машин;
- контроль і технічне обслуговування машин в період зберігання;
- підготовка машини до роботи після тривалого зберігання;
- протипожежні заходи.
Трактори, автомобілі і сільськогосподарські машини ставлять на короткочасне і тривале зберігання. Короткочасне зберігання організовують в період робіт для машин, які тимчасово не використовують по різних причинах.
Тривале зберігання машин організовують після закінчення сезону їх використання, а також в період, коли перерва в їх використанні складає більше двох місяців.
Існують три способи зберігання техніки:
закритий,
відкритий
комбінований.
Вибір способу обумовлюється природнокліматичними умовами, конструктивними особливостями машин, а також матеріальними можливостями господарства.
Найбільш поширеним є третій спосіб, який передбачає зберігання складних машин, а також вузлів та деталей, виготовлених з матеріалів, що легко пошкоджуються в закритих приміщеннях, а простих машин – на відкритих майданчиках.
Підготовку і установку машин на зберігання проводять особи, за якими вони закріплені. Здавання машин на тривале зберігання оформляється актом, в якому відмічається технічний стан та комплектність.
Майданчик для зберігання машин обов'язково обладнують вогнегасниками, ящиками з піском і лопатами, щитами з набором реманенту (ломи, відра, кирки тощо). В місцях зберігання вішають таблички з відповідними правилами по техніці безпеки та протипожежних заходів, а також обов’язково передбачають порядок евакуації машин у випадку, якщо виникне така потреба.
4.5 Охорона праці та протипожежні заходи при оранці
У зв’язку з великою кількістю технологічних процесів і сільськогосподарських машин, специфікою виробництва та місцевими умовами, неможливо сформулювати вимоги для всіх випадків, тому нижче наводяться, як рекомендації, найбільш загальні вимоги техніки безпеки.
До роботи на тракторі допускаються особи, які мають посвідчення тракториста – машиніста і пройшли інструктаж з техніки безпеки.
На підприємствах, в установах і організаціях системи Держагропрому необхідно проводити такі інструктажі : вступний , первинний на робочому місці; повторний, позаплановий, поточний та курсове навчання.
Трактористи – машиністи, які знаходяться в стані хоча б легкого сп'яніння або хворі до керування і обслуговування тракторів, самохідних машин не допускаються.
Допускається робота тільки на справній техніці, повністю укомплектованій відповідно до заводських інструкцій, з набором необхідного інструменту, інвентарю для обслуговування та аптечки першої медичної допомоги. При перевірці технічного стану машини особливу увагу необхідно звернути на рульове керування, гальма, ходову систему, зчеплення на наявність і надійність кріплення захисних засобів над карданними, зубчатими та ланцюговими передачами, наявність засобів протипожежного захисту. Забороняється експлуатувати машини на яких виявлено підтікання палива і масла.
Технічне обслуговування машин у польових умовах треба виконувати вдень. Допускається і в нічний час, але за умови достатнього штучного освітлення і при участі в технічному обслуговуванні не менше двох працівників. Все операції технічного обслуговування, за винятком регулювання двигуна, гідросистем і гальм, треба виконувати при виключеному двигуні. Заправляючи машини паливом, маслом та водою слід бути обережним, користуватись насосами, шлангами, спеціальними пристроями. Заправляти рекомендується тільки вдень. При перевірці наявності палива користуватись тільки електричним ліхтарем. Відкривати кришку радіатора для доливання води треба в рукавицях.
При комплектуванні агрегату слід мати на увазі що сільськогосподарську машину перед початком роботи неощадно перевірити і відрегулювати. Під’їжджаючи трактором до причіпної або начіпної машини на малій швидкості, не допускаючи різких рухів і не знімаючи ногу з педалі зчеплення. З'єднувати причіпну сергу трактора з причіпним пристроєм машин дозволяється лише після зупинки трактора і при виключеній передачі.
Рушаючи з місця, впевнюються, що в небезпечній зоні відсутні люди та перешкоди. Після сигналу і відповіді на нього починають плавно рухатись. Кожен тракторний агрегат, який обслуговують, крім тракториста, інші працівники, обов'язково обладнують двосторонньою сигналізацією. При використанні агрегатів у нічну зміну необхідно перевірити систему освітлення.
Під час руху агрегату забороняється: перебувати між трактором і сільськогосподарською машиною; виконувати регулювальні і мастильні роботи; сходити і сідати на трактор або сільськогосподарську машину; бути уважним, обережним, акуратним, не порушувати трудової дисципліни.
Не дозволяється стороннім особам знаходитись на машинах, передавати керування працівникам, які не>:> мають на це права. Не можна видаляти соломисту масу, що намоталася на барабан, руками. Проштовхувати зерно до вивантажувального шнека ногами, металевими предметами. Дозволяється користуватись тільки спеціальними гачками, дерев'яною лопатою та іншими пристроями.
Після дощу треба бути дуже обережним при русі по крутих схилах, на поворотах і вибоїнах.
Категорично забороняється відпочивати у борозні, в копицях сіна чи соломи, на обочинах доріг або ділянках, де ведуться механізовані роботи. Відпочинок можливий тільки на спеціально відведених місцях.
Заходи пожежної безпеки.
Машини комплектують вогнегасниками, лопатами, віниками та іншими засобами гасіння пожежі, а при збиранні зернових і трав встановлюють іскрогасники. Забороняється експлуатувати машини, на яких виявлено підтікання палива і масла.
При виникненні пожеж на тракторі або комбайні необхідно зразу ж перекрити подачу палива. При виникненні пожежі на полі ділянку оборюють запобігаючи поширенню вогню.
Місця зберігання палива, мастила, оборюють смугою 3...5 м шириною. Майданчики зберігання машин та запасних частин обладнують спеціальними щитами, на яких розміщують вогнегасники, лопати, гаки, відра. Тут же повинні бути запаси води для гасіння пожежі, насоси та ящики з піском.
Гасячи нафтопродукти пінними вогнегасниками, піском накривають повністю, перекриваючи доступ повітря.
5. Економічна частина
Визначити витрати праці та прямі експлуатаційні витрати на 1 гектар при оранці після збирання озимої пшениці, агрегатом у складі трактора Т-150К і плуга ПЛН-5-35.
До прямих експлуатаційних витрат відносяться: заробітна плата з нарахуваннями; відрахування на відновлення (амортизаційні); відрахування на капітальний ремонт; відрахування на поточний ремонт і технічне обслуговування; вартість паливно-мастильних матеріалів.
Таблиця 1 - Вихідні дані для розрахунку
|
Показники |
Один. виміру |
Позначення |
Числові значення |
|
1.Розрахункова змінна продуктивність |
Га/зм |
W>зм> |
8,56 |
|
2.Розрахункова годинна продуктивність |
Га/год |
W>год> |
1,22 |
|
3.Кількість робітників на одному агрегаті(всього) В т.ч. основних допоміжних |
Чол. |
К>Р> |
1 |
|
Чол. |
К>Р.О.> |
1 |
|
|
Чол. |
К>Р.Д.> |
- |
|
|
4.Тарифна ставка основного робітника допоміжного |
Грн./зм |
С>о> |
39,34 |
|
Грн./зм |
С>д> |
- |
|
|
5.Балансова вартість трактора зчіпки 2 с/г машини |
грн |
Б>тр> |
212975 |
|
Грн. |
Б>зч> |
- |
|
|
Грн. |
Б>с.г> |
7330 |
|
|
6.Нормативне річне навантаження трактора зчіпки с/г машини |
Год |
Т>тр> |
1600 |
|
Год |
Т>зч> |
- |
|
|
Год |
Т>сг> |
240 |
|
|
7.Відрахування на відновлення трактора зчіпки с/г машини |
% |
В>тр> |
15 |
|
% |
В>зч> |
- |
|
|
% |
В>с/г> |
15 |
|
|
8.Відрахування на капітальний ремонт трактора зчіпки с/г машини |
% |
КР>тр> |
7 |
|
% |
КР>зч> |
- |
|
|
% |
КР>с/г> |
- |
|
|
9. Відрахування на поточний ремонт і ТО трактора зчіпки с/г машини |
% |
ПР>тр> |
6 |
|
% |
ПР>зч> |
- |
|
|
% |
ПР>с/г> |
20 |
|
|
10. Розрахункові витрати палива 1кг/га= 1,2л/га |
л/га |
q |
18,59 |
|
11. Комплексна ціна 1 л палива (1,15…1,2Ц>АЗС>) |
Грн./л |
Ц>п> |
7,7 |
Послідовність розрахунку
Визначаємо затрати праці на 1гектар.
(5.1)
де Т>зм> – тривалість зміни, год. Т>зм>= 7 год.
2. Визначаємо основну заробітну плату.
(5.2)

3. Визначаємо додаткову заробітну плату.
(5.3)
де К – коефіцієнт додаткової зарплати у відсотках, К=10…30%

4. Визначаємо доплату за класність.
(5.4)
де К>кл> – коефіцієнт доплати за класність у відсотках, для 1-го класу К>кл>=20%, для другого К>кл>=10%.

5. Визначаємо нарахування на заробітну плату
(5.5)
де П>ф> – внески на обов’язкове державне пенсійне страхування у відсотках, П>ф>=33,2%.
В>п> – страховий внесок на загальнообов’язкове державне страхування у зв’язку з тимчасовою втратою працездатності, витрати зв’язаними з народженням та похованням, у відсотках, В>п>=1,5%.
В>б.р.> – страховий внесок на загальнодержавне соціальне страхування на випадок безробіття, у відсотках В>б.р.>=1,3%.
В>н.в.> – страхові внески на загальнодержавне соціальне страхування від нещасного випадку на виробництві та професійне захворювання, які спричинили втрату працездатності, у відсотках В>н.в.>=0,66%.

6. Визначаємо заробітну плату з нарахуваннями
(5.6)

7. Визначаємо відрахування на відновлення (амортизаційні відрахування).
(5.7)

8. Визначаємо відрахування на капітальний ремонт.
(5.8)
9. Визначаємо відрахування на поточний ремонт.
(5.9)
10. Визначаємо вартість паливно-мастильних матеріалів.
(5.10)

11. Визначаємо прямі експлуатаційні витрати на 1гектар.
(5.11)

Таблиця 1 - Структура прямих експлуатаційних витрат
|
Стаття витрат |
Пункт розрахунків |
Числові значення |
|
|
грн./га |
% |
||
|
Зарплата з нарахуванням |
6 |
9,81 |
5,10 |
|
Відрахування на відновлення |
7 |
20,13 |
10,47 |
|
Відрахування на капітальний ремонт |
8 |
7,64 |
3,97 |
|
Відрахування на поточний ремонт |
9 |
11,56 |
6,01 |
|
Вартість паливно-мастильних матеріалів |
10 |
143,14 |
74,45 |
|
Загальні експлуатаційні витрати |
11 |
192,28 |
100 |
Висновок: розрахунки показують, що прямі експлуатаційні витрати на один гектар при оранці після збирання озимої пшениці, агрегатом у складі трактора Т-150К і плуга ПЛН-5-35 складають 192,28 грн/га, а затрати праці 0,82 люд.год/га.
Список використаної літератури
Ляшенко В.Ф. Посібник для виконання курсового проекту з предмету «Машиновикористання в землеробстві», 2005.
Орманджи К.С. «Правила производства механизированных работ в полеводстве», 1983.
Комаристов В.Е., Дунай Н.Ф. Сельскохозяйственные машины, М.: «КОЛОС», 1984.
Фортуна В.Й., Миронюк С.К. Технологія механізованих сільськогосподарських робіт: Підручник / Пер. з рос. Г.А. Солодун – К. Вища школа, 1991 – 316 с.
Експлуатація машинно-тракторного парку. Диденко Н.К. – 5 –е вид. Перероб та допов. – Київ: Вища школа. Головне видавництво, 1983 – 447с.
Експлуатація машинно-тракторного парку в аграрному виробництві. В.Ю. Ільченко, П.І. Карасьов, А.С. Лімонт та ін. за редакцією В.Ю. Ільченка – К. Урожай, 1993 – 288 с.