Аналіз та розробка пристроїв для експериментального визначення властивостей ґрунту
Реферат
на тему:
Аналіз та розробка пристроїв для експериментального визначення властивостей ґрунту
Зміст
Вступ
1. Огляд літератури та патентний пошук
2. Теоретичний аналіз виконання даного технологічного процесу
3. Обґрунтування конструктивних та технологічних параметрів
4. Розрахунок вузлів та деталей на міцність
5. Техніко-економічна оцінка розробки
Висновки
Список використаної літератури
грунт обробка твердомір
Вступ
Як показує життєвий досвід розвитку будь-якого виробництва, найкращій реалізації кожного процесу сприяють: знання властивостей об’єктів обробки; конкретизація вимог до виду і стану продукту, який одержують у результаті обробки; розуміння суті технологічного процесу, який повинен організуватися відповідно до специфічних властивостей об’єкта обробки.
До числа найважливіших завдань, які стоять перед нами, відносять досягнення стійкого росту сільськогосподарського виробництва, надійне забезпечення країни продуктами харчування та сільськогосподарською сировиною. Для вирішення цих завдань необхідно широко впроваджувати високоефективні засоби механізації на всіх етапах вирощування, підживлювання та збирання сільськогосподарських культур.
Створення високоефективних засобів механізації неможливе без вивчення теоретичних основ роботи сільськогосподарських машин та методів розрахунку їх параметрів. Довгий час машини та знаряддя для сільського господарства створювались інтуїтивно, без якого-небудь наукового обґрунтування.
Наука про сільськогосподарські машини почала формуватись в нашій країні в кінці ХIХ століття. Першим в світі науковцем, який розробив теоретичні та науково-експериментальні обґрунтування конструкцій сільськогосподарських машин був наш співвітчизник академік Василь Прохорович Горячкін. Розроблену ним науку про сільськогосподарські машини він назвав „Земледельчиской механикой”.
Він заснував закони механіки до аналізу робочих процесів сільськогосподарських машин. Ця та інші роботи відкрили широкі можливості для раціональних конструкцій і технічних процесів та основою режимів роботи сільськогосподарських машин.
1. Огляд літератури та патентний пошук
Для визначення твердості ґрунту використовують прилади — ґрунтові твердоміри різних конструкцій. Раніше і твердість ґрунту вимірювали загостреною палицею, яка за формою нагадувала знаряддя з обробітку ґрунту. З другої половини XIX ст. професор Н.І.Желєзнов запропонував дня визначення твердості ґрунту використовувати динамометричний лом. Металевий лом із загостреним кінцем мав вимірювальні поділки на загостреній частині. При вільному вертикальному падінні лома з висоти 1 м після заглиблення в ґрунт визначали твердість ґрунту й енергетичні потреби для його обробітку. Пізніше було запропоновано багато конструкцій твердомірів, у тому числі копри, лопати-твердоміри тощо. Кожна конструкція мала як свої наукові і практичні переваги, так і недоліки. Найбільше поширення одержав твердомір В. П. Горячкіна, вдосконалений співробітниками Всесоюзного науково-дослідного інституту сільськогосподарського інституту машинобудування. Цей твердомір записує вимірювану твердість ґрунту па глибині 0-30 см. Маса приладу до 16 кг.
В експедиціях та маршрутних дослідженнях ґрунтів використовують пружинні твердоміри конструкції І. Ф. Голубєва та Н. А. Качинського масою до 1 кг.
Розрізняють твердоміри, які працюють:
1. Методом вдавлювання;
2. Методом зрізу.
Усі твердоміри працюють за єдиним принципом – вдавлювання вимірювального органа в досліджуваний ґрунт. Зокрема розглянемо пристрій для випробування ґрунтів крутним зрізом.
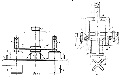
Цей пристрій складається з корпуса (Рис.1.), штанги установленій у корпусі, вимірювальну головку рукоятки, розміщені відповідно на одному з кінців штанги і корпуса, і чотири лопаті, попарно розміщені в одній площині і оснащені пластиною, один кінець якої жорстко зв’язаний з іншим кінцем штанги, на внутрішній поверхні виконані пази, пластина рухомо розміщена у пазах корпуса, одна пара лопатів встановлена без зазору на іншому кінці пластини, а друга – на іншому кінці корпуса з зазором між лопатнями, великим, більшим ніж ширина лопатів першої пари.
Установлюють пристрій нормально до поверхні досліджує мого ґрунту. За допомогою рукоятки 8 задавлюють ґрунт на задану глибину штангу 7 з пластиною 10 і лопатнями 11 та 12. При цьому пластина 10 переміщується по пазах 5 і 6 в корпусі 1, а лопаті в зазорі Б між лопатнями 3 і 4.
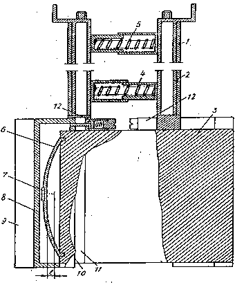
Аналогічний пристрій з деякими конструктивними відмінностями запропонований: він складається з корпуса 1 (Рис.2.), в ньому розміщені штанги 2, кожна з яких закріплена на одній із лопатів 3, дві паралельні пари телескопічних стаканів 4, розміщені між штангами 2, перпендикулярно до них, пружини 5 розміщені між стаканами 4 вздовж їх вісі, та вимірювальні вузли. Лопаті 3 установлені паралельно друг другу. Кожний вимірювальний вузол, а їх два, виконаний у вигляді пружинного елементу 6, зв’язаного з лопаттю 3, і датчика 7 опору, встановленого на пружинному елементі 6 та взаємодіючого з ріжучими ножами 8, кожний ріжучий ніж 8 виконаний з загостреною кромкою 9 і за допомогою упору 10 встановлений в пазу 11, виконаному у лопаті 3, зв’язаного за допомогою фіксатора 12 зі штангою 2.
Пристрій працює наступним чином :
Прикладаючи зусилля вздовж вісі 2, вдавлюють лопаті 3 в ґрунт. Стакани 4 запобігають попаданню ґрунту до пружин 5. Прикладання до штанг 2 перпендикулярно до їх вісі стискаюче зусилля, через лопаті 3 передають його пружнім елементам 6, а через них – ріжучим ножам.
Телескопічне з’єднання стаканів 4, жорстко закріплених на штангах 2, забезпечує паралельний рух лопатів 3 в вертикальній площині в протилежні сторони.

Рисунок 1. Твердомір

Рисунок 2. Пристрій для вимірювання твердості ґрунту
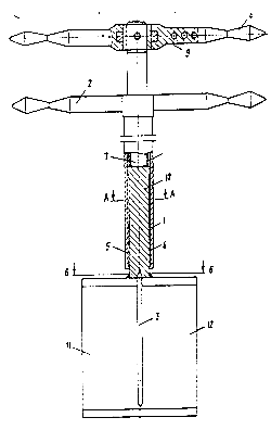
В даній роботі розглянемо конструктивну схему твердоміра:
Він складається зі штампа 1 (Рис.3.) з отворами, навантажувальної штанги 2 симетричні відносно його вертикальної вісі крильчатки 3 зі штоками 4, розміщені на штампі 1, кожусі 5 з отворами 6 у верхньому торці і розміщені всередині штампу 1 втулки 7, опираючись на опорний підшипник 8. Навантажувальна штанга 2 оснащена зовнішньою трубою 9 з кронштейнами 10, з’єднаними з штоками 4 крильчаток 3, і ручками 11.
Для проведення дослідження на ґрунті на штамп 1 з піднятими крильчатками, ступенями через навантажувальну штангу 2 передається вертикальне навантаження, а після стандартної стабілізації вимірюється відповідна осадка.
Розрахунок модуля деформації розраховується простим чином:
Після розвантаження штампу, в ході другого занурення при досягненні тиску на нього рівному 0,5Рроб. в ґрунт проштовхуються діаметрально протилежні крильчатки 3 і за допомогою знімного динамометричного ключа визначають крутні моменти, необхідні для їх прокручування.
При цьому при прокручуванні крильчаток 3 спільно з ними обертаються стакани 7, що знижує тертя верхніх торцевих поверхонь крильчаток 3 об ґрунт і тим самим підвищує точність дослідження.
Після досліджування, крильчатки 3 виймаються з ґрунту безпосередньо вертикально переміщенню зовнішньої труби 9, з’єднаною з штампами 4 крильчаток 3, кронштейнами 10.

Рисунок 3.
Твердомір стаціонарний
Штамп
Нагрузочна штанга
Крильчатка
Шток
Кришка
Підшипник
Стакан
Підшипник
Труба
Кронштейн
Ручки
Прокладка
2. Теоретичний аналіз виконання даного технологічного процесу
Під технологічними властивостями ґрунту необхідно вважати лише ті фізико-механічні властивості, які суттєво впливають на закономірності і характер технологічних процесів, його механічного обробітку.
Технологічною властивістю може бути одна з фізико-механічних властивостей або сукупність декількох. До технологічної властивості ґрунту відносять: міцність, фрикційні властивості, липкість, пластичність, крихкість і пружність.

Рисунок. 4. Діаграма твердості ґрунту
Усі твердоміри працюють за єдиним принципом — вдавлювання вимірювального органу в досліджуваний ґрунт. Перед використанням у твердомір вставляють наконечник конічної форми (конус) з відомою площею вдавлювання (для твердих ґрунтів — 1 см2; для розпушених — 2 см2). Твердоміри мають самописці, за допомогою яких записують діаграму зміни сил вдавлювання вимірювального конуса в досліджуваний ґрунт. За записаною діаграмою зміни сили вдавлювання вимірювального конуса в ґрунт визначають середню твердість ґрунту Т за формулою:
[6]
де h — середня ордината діаграми, см;
g>П> — жорсткість пружини твердоміра, Н/см;
S — площа вдавлювання в ґрунт вимірювального конуса, см2.
На рис. 4 наведено зразок діаграми твердості ґрунту, записаної пристроєм твердоміра.
На діаграмі є кілька фаз. У першій фазі (ділянка ОА) опір ґрунту деформації зростає майже пропорційно глибині занурення конуса в ґрунт до l=l>A>=5...6 см. Друга фаза АВ є перехідною. Під час заглиблення в ґрунт вимірювального конуса перед його вимірювальною площиною утворюється конусоподібний наріст з ущільненого ґрунту — ущільнене ядро. В і третій фазі ВС ґрунт деформується конусоподібним наростом, який розклинює його, зміщуючи в боки, і зустрічає при цьому постійний опір — ґрунт "тече".
Перша фаза у кілька разів менш тривала, ніж третя, однак має важливе практичне значення, тому що в реальних умовах деформація ґрунту машинами, як правило, не виходить за межі першої ділянки діаграми (менше l>А>). Тільки після проходу конусом орного шару крива СВ здіймається вгору, оскільки на своєму шляху конус натрапляє на підорну підошву плуга.
Для характеристики ґрунту користуються також коефіцієнтом об'єм ного зминання ґрунту д, Н/см3, який визначають за формулою:
[6]
де Р>А> — сила вдавлювання конуса до точки А діаграми, Н;
l>А> — глибина заглиблення конуса, що відповідає Р>А>, см.
Для свіжозораного ґрунту коефіцієнт об'ємного зминання дорівнює 1 —2 Н/см3,для стерні, парів, лугів — 5—10, для ґрунтової дороги — 50— 100 Н/см3.
Коефіцієнт об'ємного зминання ґрунту можна використати для визначення затрат роботи на процес зминання. Він також характеризує межунісної здатності ґрунту. Роботу зминання на ділянці ОА(l>А>) визначають за формулою:
[6]

Аналогічно визначають роботу зминання в межах текучості ґрунту на ділянці ВС (див. рис. 1.2).
Теоретично вважають, що на основі діаграми, яку одержують при вдавлюванні в ґрунт металевого конуса твердоміра, можна використовувати такий приблизний вираз (до початку текучості ґрунту під тиском):
[6]
де Р — опір ґрунту вдавлюванню в нього конуса, Н;
q — об'ємний коефіцієнт зминання ґрунту, Н/см3;
S - площа основи конуса, або площа зминання, cм2;
h — глибина занурення конуса в ґрунт, см.
Припускають, що сила опору вдавлюванню в нього конуса пропорційна витісненому об'єму ґрунту:
[6]
Існують конструкції твердомірів, в яких відлік твердості ґрунту ведуть за шкалою приладу.
На основі даних, одержаних за допомогою твердоміра, Н. А. Качинський поділяє ґрунти на такі категорії: Р > 10 МПа — злитий; 5—10 МПа — дуже щільний; 3—5 МПа — щільний; 2—3 МПа — щільнуватий; 1—2 МПа — крихкуватий; до 1 МПа — крихкий.
Крім того на твердість ґрунту значно впливає його вологість з підвищенням вологості ґрунту його твердість зменшується.

Графік залежності твердості глинистого ґрунту від вологості
Між твердістю і питомим опором ґрунту під час оранки існує пряма пропорційна залежність: чим вища твердість ґрунту тим, більший його питомий опір.
У разі зменшення твердості ґрунту зменшується питомий опір при його оранці.
Знання цих властивостей ґрунту дозволяє знайти шляхи і методи зменшення енергоємності його механічного обробітку, правильно розрахувати і спроектувати робочі органи і визначити умови їхнього раціонального застосування. Для цього потрібно знати граничну міцність ґрунту при його опорі деформаціям різного виду.
При вимірюванні твердоміром твердості ґрунту необхідно пам’ятати, що твердість ґрунту методом зрізу необхідно проводити на необхідній глибині. Так для твердоміру який розглядається у даній курсовій роботі, спочатку крильчатки заглиблюють на Рмах , але для вимірювання параметрів необхідно ці крильчатки заглиблювати вдруге, але вже на 0,5Рмах і вже на такій глибині проводити необхідні нам виміри та дослідження.
3. Обґрунтування конструктивних та технологічних параметрів
Для твердоміра розроблено чотирилопатеві крильчатки і при цьому їх є дві для більш точного вимірювання.
На кожен ґрунтовий агрегат або елементарну частку діє сила R, яка являє собою рівнодіючу нормального тиску N і сили тертя Fтр. В результаті агрегати і частки ґрунту зсуваються в напрямку діючої на них сили ґрунту R під кутом φ внутрішнього тертя ґрунту до нормальної сили N. При цьому безперервно формуються все нові й нові поверхні зсуву, які сягають граничних значень, які дорівнюють сумі сил зчеплення і внутрішнього тертя.
Відповідний й максимальний тиск Ргр називають межею несучої спроможності ґрунту, яка залежить не тільки від його властивостей, але і від площі контакту. Із збільшенням останньої і Ргр , тобто точно, зсувається більше високого граничного тиску.
Здатність ґрунту чинити опір зминанню характеризується середньою твердістю:
[6]
де h – середня ордината діаграми твердоміра;
k – коефіцієнт жорсткості пружини;
s – площа поперечного перерізу плунжера;
Здатність ґрунту чинити опір зминанню. Максимальне напруження зминання:
[6]
Витрати енергії на зминання ґрунту визначається за формулою:
[6]
Інакше кажучи, при рівності лінійних деформацій у першій і другій фазах витрата енергії в другій фазі в два рази вища, ніж у першій, тобто витрата енергії на одиницю часу деформації ґрунту в два рази вища ніж у фазі ущільнення. Про це необхідно пам’ятати при проектуванні опорних поверхонь сільськогосподарських машин. Між параметрами, що характеризують ґрунт чинити опір зминанню і тяговим органам різних ґрунтообробних машин спостерігається високий кореляційний зв’язок.
4. Розрахунок вузлів та деталей на міцність
Розрахунок штока на згин і на кручення:
нехай F=50Н

Рис.
Σ МА=0;

Σ МВ=0;

Для (0<x<56)
Q = - RB = - 39.5 H
M = RB · x = (при х=0) = 0
(при х=56)= -39,5·0,56 = -2,2 Н · м
Для (0<х<76)
M = RB · 56 + RA · (56 + x)
(при х = 0) М = 2,2 + 89,5 · 0,056 = 2,8 Н · м
(при х = 76) М = 2,2 + 89,5 · 0,132 = 9,6 Н · м
Для (0<х<60)
М = -F + х · RA
(при х = 0) М = -F = -50 Н ∙ м
(при х = 60) М = -F + 0,06 ∙ 50 = -47 H ∙ м
З теорії міцності на згин:
[4]

При умові міцності на кручення:
[4]
5. Техніко-економічна оцінка розробки
Використання даного пристрою дає можливість підвищувати економічність обробки ґрунтів. Наприклад, для окремих видів ґрунтів потрібна окрема обробка. Для більш твердих ґрунтів потрібно виконати більше операцій по обробітку ґрунту, тобто затратити більше енергії для того щоб вихідний продукт був потрібної якості. Для менш твердого ґрунту потрібна менша затрата енергії для отримання потрібної якості обробки ґрунтів.
Для площі земельних угідь які налічують близько 2000 гектарів данні дослідження необхідні. А тому необхідне вимірювання твердості ґрунтів. Це дозволяє підвищити економічність обробітку ґрунту.
Так для прикладу для глинистих ґрунтів, ґрунтів суглинку та інших твердих та глевких ґрунтів потрібна одна сила для подолання опору плугу при оранці, яка майже в два рази перевищуватиме силу, яка потрібна для проведення оранки на пухких ґрунтах, тобто пісчаних та інше.
При дослідженні, перед обробкою ґрунту, твердості ґрунту і зняттям необхідних параметрів можна для тих чи інших ґрунтів призначити необхідні режими обробки глибину оранки, швидкість та інші параметри для того щоб правильно відрегулювати робочі органи, а також для даного агрегату призначити необхідні потужності трактора.
Це зумовлює економію часу і затраченої енергії. А отже підвищує продуктивність і знижує собівартість вихідного продукту.
Висновки
В даній курсовій роботі: „Аналіз та розробка пристроїв для експериментального визначення властивостей ґрунту” , я на основі досягнутих наук про сільськогосподарські машини висвітив сутність розробки машини для вимірювання твердості ґрунту методом зрізу, розрахував параметри робочих процесів і органів з врахуванням параметрів обраної машини. Було з’ясовано, що без проведення експериментального визначення властивостей ґрунту неможливо ефективно розрахувати необхідну потужність технологічної обробки і економічну ефективність. Показники продуктивності і ефективності повинні бути у відповідному балансі. Тобто потрібно створення необхідної продуктивності обробки з використанням чи витрачанням як найменшої кількості енергії. Що дозволить зменшити витрати на вирощування тої чи іншої культури і зменшити собівартість продукції. Економність при застосуванні таких приладів дуже велика. При досліджуванні ґрунтів ми не витрачаємо ніякої енергії, а натомість ці виміри дозволяють зменшити собівартість вихідного продукту на декілька або навіть до десятка відсотків. А тому такі дослідження необхідні, а особливо у великих господарствах.
Список використаної літератури
1.Кленин Н.И., Сакун В.А. Сельськохозяйственые и мелиоративные машины: Элементы теорий рабочих процессов, расчет регулировочных параметров и режимов роботы. – 1-е изд. – М.: Колос, 1980 – 671с.
2.Основы проектирования и расчет сельскохозяйственных машин / Л.А. Резников, В.Т. Ещенко, Г.Н. Дьяченко и др. – М.: Агропромиздат, 1991 – 543с.
3.Сельскохозяйственные и мелиоративные машины / Г.Е. Листопада, М.: Агропромиздат, 1986 – 688с.
4.Хайлис Г.А. Основы теорий и расчет сельскохозяйственных машин - К. М.: издательство УСХА, 1992 – 240с.
5.Механіко-технологічні властивості сільсько господарських матеріалів С.С. Яцун, - К.: Мета, 2003 – 448с.: іл.
6.Механіко-технологічні властивості сільсько господарських матеріалів: Навчальний посібник /ред. С.С. Яцуна, - К.: Аграрна освіта 2000 – 243с.: іл.
7.Сільськогосподарські машини. Основи теорії розрахунку. Підручник/ Д.Г.Войтюк, В.О.Дубровін, Г.Д.Іщенко та ін.; За редакцією Д.Г.Войтюка. –К.: Вища освіта, 2005. – 454 с.
8.Сільськогосподарські та меліоративні машини. Підручник/ Д.Г.Войтюк, В.О.Дубровін, Г.Д.Іщенко та ін.; За редакцією Д.Г.Войтюка. –К.: Вища освіта, 2004. – 544 с.
9.Сабликов М.В. сельскохозяйственные машины. Ч.2. основы теории и технологического расчета. М.: 1968. – 296 с.
10.Турбин Б.Г., Лурьє А.Б., Григорьев С.М.и др.. Сельскохозяйственные машины. Теория и технологического расчета. Л.: Машиностроение 1967. – 494 с.