Определение технического состояния объемного гидропривода ГСТ–90 по давлениям (гидростатика комбайна)
Определение технического состояния объемного гидропривода ГСТ–90 по давлениям
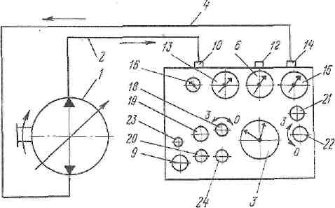
Техническое состояние гидропривода характеризуется давлениями, которые измеряются в четырех точках (рис. 1): 1 — в системе подпитки (управления); 2—на входе в насос подпитки (вакуум на всасывании); 3 — в магистрали гидронасос— гидромотор (высокое давление); 4 — во внутренних полостях гидронасоса и гидромотора (давление дренажа).
Давление измеряют при 40—50 °С рабочей жидкости манометра и классе точности не более 2,5.
Порядок и правила подготовки ГСТ к измерению давлений.
Очищают узлы и детали ГСТ, прилегающую поверхность от загрязнений, предотвращают попадание посторонних частиц во внутреннюю полость агрегата. Остановив двигатель, разгружают гидропривод, устанавливают рычаг понижающего редуктора в нейтральное положение и для снятия давления в системе ослабляют крышку бака. Затем вывертывают пробки и подключат манометры (рис. 1). Запустив двигатель, прогревают рабочую жидкость до 50 °С. При проверке надежно затормаживают машину.

Рис. 1. Присоединение манометров для измерения давлений при работе гидропривода: 1 — манометр до 3,92 МПа; 2 — вакуумметр до 0,058 МПа; 3 — манометр до 58,8 МПа; 4 — манометр до 0,58 МПа.
Проверка давления в системе подпитки. Наличие давления указывает на функционирование насоса подпитки. Номинальное давление — 1,5 МПа.
Давление в системе подпитки ограничивают два клапана: предохранительный — в насосе подпитки, отрегулированный на давление открывания от 1,33 до 1,45 МПа; переливной — в клапанной коробке, отрегулированный на давление открывания от 1,02 до 1,16 МПа. Этот клапан включается в работу при положении рычага управления «Вперед» или «Назад».
Давление в системе подпитки изменяется с учетом режимов нагружения. Снижается в результате: недостаточного поступления рабочей жидкости к насосу из-за засорения фильтра или трубопровода (дополнительный контроль по вакуумметру), понижения уровня жидкости в баке и попадания в жидкость воздуха; засорения клапанов системы подпитки; износа или повреждения агрегатов.
Давление в системе подпитки может отсутствовать полностью при неисправностях привода, из-за которых вал насоса подпитки не вращается.
При измерении давления подпитки через клапаны системы подпитки (предохранительный — в насосе, переливной — в клапанной коробке) выходит рабочая жидкость во внутренние полости агрегатов, которые находятся под давлением, изменяющимся от 0 до 0,0245 МПа. Поэтому для определения действительной величины давления в системе подпитки из замеренного манометром значения (поз. 1, рис. 1) вычитают значение давления во внутренних полостях агрегатов, измеренного манометром (поз. 4).
Для измерения давления в системе подпитки устанавливают частоту вращения двигателя 1500—2000 мин-1. При нейтральном положении рычага управления (распределителя) проверяют по манометру 1 (рис. 1) давление в системе подпитки. Манометр системы подпитки должен показывать давление от 1,46 до 1,78 МПа. При этом обязательно проверяют давление дренажа по манометру 4. Вычитая эту величину из показания манометра системы подпитки, определяют действительное ее давление, которое не должно превышать максимального значения.
Медленно перемещая рычаг управления поочередно в каждую сторону (до начала страгивания заторможенной машины), прослеживают за изменениями давлений. Давление в системе подпитки должно снизиться и составлять от 0,98 до 1,27 МПа. Давление во внутренних полостях должно уменьшиться. Устанавливают максимально возможную частоту вращения вала двигателя. Поворачивают рычаг управления гидрораспределителем на полный угол, проверяют давление подпитки. Манометр должен показывать давление от 0,98 до 1,27 МПа.
Проверка разрежения на входе в насос подпитки (вакуум на всасывании). Наличие вакуума указывает на функционирование насоса подпитки. Величина вакуума зависит от сопротивления всасывающей магистрали вместе с фильтром и от технического состояния насоса подпитки; по мере износа вакуум уменьшается.
По мере загрязнения фильтра затрудняется прохождение через него рабочей жидкости (т. е. увеличивается его сопротивление), и в результате повышается разрежение во всасывающем трубопроводе.
В процессе эксплуатации разрежение контролируют по вакуумметру, установленному на фильтре гидропривода. Если он при температуре рабочей жидкости 50 °С и более превышает 0,0245 МПа, это указывает на загрязнение фильтра. При холодной рабочей жидкости возможно повышение разрежения до 0,049 МПа, которое по мере прогрева должно снизиться до 0,0245 МПа.
Для проверки сопротивления всасывающего трубопровода и контроля, установленного на фильтре вакуумметра, подключают дополнительный вакуумметр 2 (рис. 74) и измеряют разрежение. При расхождении показаний приборов (установленного и подключенного) проверяют чистоту всасывающего трубопровода. Если при проверке давлений отсутствуют разрежение и давление в системе подпитки, значит неисправен привод, в результате вал насоса подпитки не вращается. Разрежение на входе в насос подпитки проверяют при частоте вращения двигателя 1500—2000 мин-1 и нейтральном положении рычага управления распределителем.
Разрежение на входе в насос подпитки по показаниям вакуумметра 2 не должно превышать 0,0245 МПа.
Проверка давления в магистрали гидронасос—гидромотор (высокое давление). О работе гидронасоса свидетельствует наличие давления, которое увеличивается с возрастанием нагрузки на гидропривод. Номинальное значение давления — 20,6 МПа. Давление зависит и от технического состояния агрегатов гидропривода, по мере износа которых возрастают внутренние утечки.
Если рычаг управления гидрораспределителем ставят в нейтральное положение, манометр высокого давления 3 показывает давление в системе подпитки. Увеличение этого давления говорит о неисправности тяг механизма управления или нарушении регулировок золотника гидрораспределителя и установки люльки гидронасоса в нейтральное положение.
Если рычаг управления гидрораспределителем установлен в положение «Вперед» или «Назад», то при заторможенной машине давление должно достигать максимального значения — от 34,3 до 35,6 МПа, ограничиваемого клапаном высокого давления (давление, на которое отрегулирован клапанный узел, выбито на пробке).
Если клапан высокого давления из-за засорения закрыт неплотно, часть рабочей жидкости проходит через него, минуя гидромотор, тем самым снижая передаваемую мощность и нагреваясь (переводя энергию в тепло). В этом случае гидропривод не развивает максимальной мощности из-за пониженного давления.
По мере износа гидронасоса и гидромотора увеличиваются зазоры в сопряжениях и растут утечки рабочей жидкости во внутренние полости агрегатов, вызывая нежелательные последствия, аналогичные засорению клапана высокого давления. Изношенные агрегаты, имеющие повышенные утечки рабочей жидкости, подлежат замене.
Проверка давления во внутренних полостях гидронасоса и гидромотора. Такое давление свидетельствует о поступлении рабочей жидкости во внутренние полости агрегатов при работе насоса подпитки.
Это давление достигает максимального значения (0,245 МПа) при установке рычага управления гидрораспределителем в нейтральное положение и максимальных оборотах вала двигателя, когда вся рабочая жидкость, подаваемая насосом подпитки, сливается через предохранительный клапан во внутреннюю полость гидронасоса. Контроль этого давления дает возможность определить действительную величину давления в системе подпитки (см. вышеуказанную проверку давления в системе подпитки).
Диагностирование технического состояния объемного гидропривода ГСТ-90 прибором КИ-25691
В процессе эксплуатации гидропривода ГСТ-90 вследствие износа узлов, сопряжений, нарушения регулировок и герметичности уплотнений изменяются показатели, характеризующие работу его основных агрегатов (гидронасоса, насоса подпитки, гидромотора, гидрораспределителя).
Основные показатели гидропривода ГСТ, характеризующие его техническое состояние,— время разгона, скорость и плавность движения машины, расход рабочей жидкости, надежность работы механизмов управления.

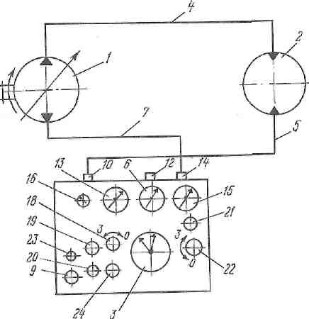
Рис. 2. Схема подсоединения прибора КИ-25691 к ГСТ при проверке
1 — гидронасос; 2, 4 — шланги высокого давления; 3— счетчик жидкости; 6, 13, 15— манометр; 9— секундомер; 10, 12, 14 — штуцера; 16—указатель температуры; 18 — маховичок дросселя; 19 — кнопка золотника включения диафрагмы; 20 — пробка клапана предохранительного; 21 — кнопка сброса показаний счетчика жидкости; 22 — маховичок вентиля; 23—кнопка сброса показаний секундомера; 24—кнопка золотника распределителя.
Эти показатели определяются производительностью гидронасоса и развиваемым им давлением, внутренними утечками жидкости в гидромоторе, давлением в системе подпитки, герметичностью и давлением срабатывания клапанов, состоянием гидрораспределителя, трубопроводов и другими факторами.
Подготовка гидростатической трансмиссии и прибора к диагностированию. Устраняют неисправности, препятствующие диагностированию ГСТ. Доливают масло в бак масляный. Устанавливают прибор КИ-25691 на передвижной стол и снимают защитные крышки. Убеждаются в сохранности контрольно-измерительных приборов, проверяют исправность агрегатов управления.
Устанавливают маховичок 18 (рис. 2) дросселя в положение «Открыто», маховичок 1 вентиля 22 в положение «Закрыто», утопляют кнопку 24 золотника переключателя потока жидкости, вытягивают кнопку 19 золотника до отказа для включения в измерительную схему прибора диафрагмы. Осматривают присоединительные устройства комплекта принадлежностей, убеждаются в чистоте их внутренних полостей и в отсутствии забоин и срывов на резьбовых поверхностях.
Заводят пружину секундомера 9, убеждаются в исправности его работы, снимают заглушки с присоединительных штуцеров 10, 12 и прибора.
Определение подачи аксиально-плунжерного насоса. Отсоединяют от гидромотора два рукава высокого давления, связывающие гидронасос с гидромотором. На штуцера гидромотора заворачивают заглушки.
Подключают один отсоединенный от гидромотора шланг высокого давления, который является силовой магистралью ГСТ, к входному штуцеру 10 прибора КИ-25691 (рис. 2), а к сливному штуцеру 14 прибора подсоединяют другой, открепленный от гидромотора шланг (магистраль низкого давления). Устанавливают рычаг коробки перемены передач в нейтральное положение. Запустив двигатель и нажав на педаль управления гидронасосом вперед на 1/>3> ее полного хода, прогревают масло в гидросистеме до 50 ± 5 °С.
Нажимают педаль управления рычагом распределителя до отказа и фиксируют в этом положении.
Потянув кнопку 21 прибора на себя, устанавливают стрелки указателя счетчика жидкости на нуль и номинальный скоростной режим двигателя (с помощью тахометра).
Вращая маховичок 19 дросселя прибора, создают давление масла перед диафрагмой прибора 21 МПа, контролируемое манометром 6. Потянув на себя кнопку 24 золотника переключателя потока жидкости, включают секундомер 9 прибора и учитывают счетчиком жидкости количество жидкости в течение 1 мин. По разности показаний манометров давления 6 и 15 находят его перепад на диафрагме, а по тарировочной таблице определяют расход жидкости через диафрагму. Общий ее расход (подача насоса) вычисляют суммированием количества жидкости, измеренной счетчиком в течение 1 мин, и расхода через тарированное отверстие диафрагмы.
Если коэффициент подачи насоса менее 0,75, то насос к эксплуатации непригоден.
Проверка давления в системе подпитки, ограничиваемого предохранительным клапаном насоса подпитки. Давление подпитки измеряют одновременно с проверкой производительности гидронасоса (рис. 2). Для этого устанавливают частоту вращения двигателя 1500—2000 мин-1 , рычаг управления распределителем — в нейтральное положение. При утопленной кнопке переключателя потока и закрытом дросселе и диафрагме прибора проверяют показания манометра 15, он должен показывать давление 1,5—1,8 МПа.
Проверка утечек рабочей жидкости в гидромоторе. Отвертывают со штуцеров гидромотора заглушки. Отсоединяют рукав высокого давления от входного штуцера прибора и прикрепляю его на место к нагревательной магистрали гидромотора (рис. 3).
гидропривод давление насос утечка
Рис. 3. Схема присоединения прибора КИ-25691 к ГСТ при проверке гидромотора:
1
— гидронасос; 2 — гидромотор; 4, 5, 7 —
шланги высокого давления (наименование
других позиций см. подписи к рис. 75).
Присоединяют рукавом высокого давления (из комплекта принадлежностей прибора) магистраль низкого давления гидромотора с входным штуцером прибора. Отключают переливной клапан гидромотора, для чего снимают с него золотник клапанной коробки и ставят специальный золотник. Запустив двигатель, устанавливают номинальный скоростной режим. Повернув рычаг управления гидрораспределителем в положение «Вперед» на полный угол, маховичком дросселя прибора КИ-25691 (рис. 3) создают в системе давление 21 МПа (по манометру 6). Потянув кнопку 24 переключателя потока жидкости прибора в положение «Контроль», отсчитывают количество жидкости счетчиком 9 в течение 1 мин и определяют общий ее расход. По разности расхода в первом и данном замерах определяют внутренние утечки жидкости в гидромоторе. Они должны соответствовать требованиям ТУ.
Проверка давления в системе подпитки, ограничиваемого переливным клапаном в клапанной коробке гидромотора. С клапанной коробки гидромотора снимают установленный ранее специальный золотник и на его место ставят штатный золотник.
Давление регулировки предохранительного клапана проверяют следующим образом: открывают дроссель прибора, диафрагму прибора отключают; утопляют кнопку переключателя потока жидкости; запускают двигатель, устанавливают минимально возможную частоту его вращения; медленно повернув рычаг управления гидрораспределителем на полный угол в положение «Вперед», проверяют показания манометра 15. Манометр должен показывать давление в системе подпитки, которое должно составлять от 1 до 1,3 МПа.
Проверка давления срабатывания клапанов высокого давления гидромотора. В клапанной коробке гидромотора отворачивают соответствующую пробку и резьбовое его отверстие при помощи переходника и шланга высокого давления соединяют с входным штуцером 10 прибора КИ-25691. Маховичком 18 и кнопкой 19 золотника полностью закрывают дроссель и отключают диафрагму прибора. Запускают двигатель и устанавливают пониженную частоту вращения коленчатого вала. Установив рычаг управления гидрораспределителем в положение «Вперед» или «Назад» при надежно заторможенных колесах самоходной машины, определяют по манометру 6 прибора давление срабатывания предохранительного клапана. Клапаны высокого давления должны ограничивать давление в каждой нагнетательной магистрали от 34,3 до 35,6 МПа. При необходимости давление открывания клапанов регулируют, изменяя толщину набора шайб.