Система директ-костинг
Содержание
Введение
1. Система директ-костинг как элемент управленческого учета
1.1 Исторические предпосылки возникновения системы учета директ-костинг
1.2 Роль и значение затрат в системе директ- костинг
1.3 Система директ-костинг. Преимущества и недостатки
2. Применение системы директ-костинг
2.1 Организация учета затрат и результатов по системе директ-костинг
2.2 Директ-костинг и ценовая политика предприятия
2.3 Калькулирование себестоимости в отечественном учете по системе директ-костинг и целесообразность её применения
Заключение
Список литературы
Введение
Отечественная система бухгалтерского учета затрат на производство отвечала требованиям централизованно управляемой экономики: она обеспечивала получение информации обо всех фактически понесенных в производственном процессе затратах; калькулировании полной себестоимости продукции, работ или услуг в основном для целей государственного централизованного ценообразования.
Система получения информации о себестоимости была налажена ворганизациях достаточно хорошо. Другое дело, что большая часть ее не была востребована, так как не было стимула для снижения затрат на производство, а значит, и управления процессом формирования себестоимости в организации. Необходимость составления точных, достоверных калькуляций была обусловлена системой государственного централизованного ценообразования.
В настоящее время с развитием рыночных отношений увеличивается самостоятельность организаций, в том числе и в вопросах установления цен на свою продукцию с учетом складывающихся на рынке спроса и предложения, что является одной из характеристик этих отношений, в результате чего изменяются задачи, стоящие перед бухгалтерским учетом и его подсистемой – калькулированием. В этих условиях актуальна следующая задача калькулирования – не просто обеспечить фактическую себестоимость изделия, а рассчитать такую себестоимость, которая в сегодняшних условиях работы предприятия на рынке могла бы обеспечить ему определенную прибыль.
Одним из альтернативных традиционному отечественному подходу к калькулированию полной себестоимости является подход, когда в разрезе объектов калькулирования планируются и учитываются неполная, ограниченная себестоимость. Эта себестоимость может включать в себя только прямые затраты, только переменные, зависящие от изменения объемов производства; она может калькулироваться на основе только производственных расходов, то есть расходов, связанных с изготовлением данной продукции выполнением работ или оказанием услуг, даже если они косвенные. Но, несмотря на различную полноту включения в себестоимость объекта калькулирования различных видов расходов, общим для этого подхода является то, что другие виды затрат, которые также по своей экономической сущности составляет часть текущих издержек, не включаются в калькуляцию, а возмещаются общей суммой из выручки (валовой прибыли). В этом основная отличительная особенность системы учета неполной себестоимости – система директ-костинг.
Особая значимость работы определила цель, которая состоит в раскрытии преимуществ и недостатков системы учета директ-костинг.
Целевая направленность работы обусловила постановку следующих задач:
Раскрытие роли и значения затрат в системе директ-костинг.
Рассмотрение калькулирования себестоимости в отечественном учете по системе директ-костинг и целесообразность её применения
Обоснование преимуществ и недостатков системы директ-костинг.
Методологией исследования явились национальные российские стандарты по бухгалтерскому учету, в частности специальная литература, а также материалы периодической печати по теме исследования.
Система директ-костинг как элемент управленческого учета
1.1 Исторические предпосылки возникновения системы учета директ-костинг
В условиях развивающихся рыночных отношений эффективное управление производственной деятельностью организации все более зависит от уровня его информационного обеспечения. Существующая в настоящее время отечественная система бухгалтерского учета во многом еще остается учетом директивной экономики и выполняет функции расчета налогооблагаемой базы. До сих пор на наших организациях применяется затратный метод бухгалтерского учета, предусматривающий учет и исчисление полной фактической себестоимости единицы продукции (работ, услуг). Однако весь мировой опыт свидетельствует об эффективности использования маржинального метода бухгалтерского учета — системы учета директ-костинг, в основе которой лежит исчисление сокращенной себестоимости продукции и определение маржинального дохода.
Экономисты затрудняются утверждать, кто из ученых стоял у истоков теоретического обоснования классификации затрат на прямые и косвенные, основные и накладные, постоянные и переменные, производственные и периодические. В 1781 году Т.Е. Клипштейн в своей книге "Учение об альтернативах в учете" на примере металлургического производства показал, как прямые затраты нужно относить на отдельные фазы (переделы): добывающее производство; угольное; переработка шлаков; плавка; кузнечное производство [18]. Накладные расходы, по его мнению, следовало списать прямо на счет результатов за период.
В 1899 году в статье "Бухгалтерия и калькуляция в фабричном деле", опубликованной в газете "Немецкая металлургия", немецкий ученый О. Шмаленбах провел различия между прямыми затратами покупателя и косвенными затратами [13]. Кроме того, в данной статье были упомянуты такие понятия, как "первичные накладные расходы", "вторичные накладные расходы", "постоянные затраты", "переменные затраты", "прогрессивные затраты" и "дегрессивные затраты". О. Шмаленбах уже тогда считал теоретически правильным относить на конкретных покупателей только первичные накладные расходы, а вторичные — покрывать за счет валовой прибыли. Идея же организации учета сумм покрытия впервые им была обнародована в его работе "Основы учета себестоимости и политика цен", изданной в 1902 году [18].
На необходимость четкого разграничения затрат между постоянными и переменными их частями указывал также в 1903 году Г. Гесс [18]. По этому поводу он писал: "К постоянным затратам я отношу все те статьи, которые предусматривают подготовку предприятия, к общим переменным затратам — все оставшиеся элементы".
Приведенные примеры теоретического и практического приложения идеи разграничения затрат на постоянные и переменные не имели под собой еще основания — их зависимости от объема производства. Такую зависимость впервые обосновал Дж. Кларк. В 1923 году он предложил подразделять валовые издержки производства, в зависимости от объема производства, на постоянные и переменные [13]. К постоянным, по его мнению, следовало относить: амортизацию основного капитала; расходы на содержание административного и технического персонала; поддержание оборудования в надлежащем состоянии; содержание сбытовой сети; сумму обычной прибыли на задействованный капитал. К переменным же затратам, согласно Дж. Кларку, следовало относить стоимость сырья, материалов, электроэнергии, рабочей силы, эксплуатации оборудования и др., изменяющихся в зависимости от величины объема производства.
В 1936 году, развивая эти идеи, американский экономист Джонатан Гаррисон создал учение — директ-костинг, согласно которому в составе себестоимости необходимо учитывать только прямые расходы [9]. Основные идеи этой системы были опубликованы им в январе 1936 года в бюллетене Национальной ассоциации промышленного учета. Вначале эта концепция не получила широкого признания, ее критиковали сторонники полной себестоимости. Они утверждали, что полная себестоимость необходима для акционеров, вкладчиков капитала и даже для управляющих. И только в последующем директ-костинг стал преобладающим методом учета затрат.
Появление директ-костинга имело и чисто бухгалтерскую причину. Счетные работники в то время пришли к выводу, что все затраты следует разделить на относящиеся к данному отчетному периоду (реализуемые в нем) и связанные с выработкой продукции (они относятся к тем отчетным периодам, когда произойдет реализация продукции). Первые получили название постоянных, вторые — переменных. Если этот подход правилен, то, естественно, в состав себестоимости можно и нужно включать только прямые затраты. Основным возражением против сказанного являлось то, что в этом случае оценка незавершенного производства в балансе оказывается заниженной, а расходы каждого отчетного периода — завышенными.
В 30-е годы ХХ века исследования в области системы директ-костинг также провели Вальтер Раутенштраух, Джон Х. Уильямс, Чарльз М. Кноппель [18]. Ими были разработаны графики промежуточного бюджета и критического объема производства. С помощью этого графика можно было проследить связь между показателями объема, себестоимости и прибыли.
Значительный вклад в развитие идеи директ-костинг внес К. Румель, издав книгу "Единая система учета затрат на основе пропорциональности затрат и производственных величин". В ней содержится практическое руководство по использованию учета затрат как информационного инструмента, действующего по принципам директ-костинга. Он же ввел понятие "учет затрат по блокам". По его мнению, если блок постоянных затрат противопоставить блоку пропорциональных затрат и отнести на изделия только пропорциональные затраты, а не эксплуатационные расходы, то такую систему следует называть "учетом затрат по блокам". Сущность идеи К. Румеля состоит в разделении затрат, пропорциональных объему, и затрат, пропорциональных длительности календарного периода. При этом затраты, пропорциональные объему, относятся прямо на носители затрат, в то время как затраты, пропорциональные длительности периода, собираются как нераспределенные в одном блоке.
Значительное развитие система директ-костинг получила после второй мировой войны. Усиление контроля за производственными затратами стало стимулировать дальнейшие исследования в области себестоимости. При этом широкое распространение получили расчеты, связанные с нахождением точки критического объема производства. В результате этого в начале 50-х годов в США ряд компаний стали возвращаться к учету только прямых затрат, но теперь к ним, кроме материалов и заработной платы рабочих, стали относить еще и переменные накладные расходы.
Фактическое внедрение системы директ-костинг в США относится к 1953 году, когда Национальная ассоциация бухгалтеров-калькуляторов в своем отчете опубликовала описание этой системы. В 1961 году ею был опубликован второй отчет, где исследованию подверглись 50 крупных фирм, применяющих данную систему [18].
В настоящее время директ-костинг широко распространен во всех экономически развитых странах. В Германии и Австрии данный метод получил наименование "учет частичных затрат" или "учет суммы покрытия", в Великобритании его называют "учетом маржинальных затрат", во Франции — "маржинальная бухгалтерия" или "маржинальный учет".
При описании этой системы в отечественной литературе по бухгалтерскому учету часто встречается термин "учет ограниченной, неполной или сокращенной себестоимости". Приемлемым названием для озвучивания этой системы у нас в стране является термин: "маржинальный метод бухгалтерского учета". Это связано с тем, что основным показателем при системе директ-костинг является маржинальный доход. С его помощью определяется порог рентабельности производства, устанавливается цена безубыточной реализации продукции, строится ассортиментная политика предприятия и т.д. В этих условиях термин "маржинальный метод" для отечественных специалистов становится более понятным и значимым, чем директ-костинг. Кроме того, как уже отмечалось, в Великобритании и Франции для характеристики данной системы также основной упор делается именно на маржинальную направленность.
Невзирая на то, что бухгалтерские стандарты не разрешают в полном объеме использовать систему директ-костинг для составления внешней отчетности и расчета налогов, данный метод в настоящее время находит все более широкое применение в отечественной бухгалтерской практике. Он применяется во внутреннем учете для проведения технико-экономического анализа и обоснования для принятия как перспективных, так и оперативных управленческих решений в области безубыточности производства, ценообразования и т.д.
Роль и значение затрат в системе директ-костинг
Система учета директ-костинг требует четкой детальной классификации затрат для контроля за их поведением в процессе функционирования организации.
Все затраты, образующие себестоимость продукции (работ, услуг), не одинаковы не только по своему составу, но и по значению в изготовлении продукта, выполнении работ и услуг. Одни затраты — непосредственно связаны с изготовлением и выпуском продукции (затраты сырья, материалов, оплата труда рабочих и др.), другие — с управлением и обслуживанием производства (расходы на содержание аппарата управления, на обеспечение производственного процесса необходимыми ресурсами, на содержание основных средств в рабочем состоянии и т.д.), а третьи, не имея непосредственного отношения к производству, все-таки по действующему законодательству включаются в издержки производства (отчисления на воспроизводство минерально-сырьевой базы, социальные нужды населения и др.). Кроме того, часть затрат прямо включается в себестоимость конкретных видов готовых изделий, а другая часть, в связи с производством нескольких видов продукции — косвенно.
В системе учета директ-костинг поведение затрат, в первую очередь, зависит от того, какую управленческую задачу необходимо решить. Решению каждой задачи должен соответствовать свой классификационный признак.
По экономическому содержанию затраты целесообразно группировать в разрезе экономических элементов и статей калькуляции.
Экономическим элементом принято называть первичный, однородный вид затрат на производство и реализацию продукции, который на уровне предприятия невозможно разложить на составные части. Для всех организаций установлен следующий единый перечень экономически однородных элементов затрат, включаемых в себестоимость продукции:
- материальные затраты;
- затраты на оплату труда;
- отчисления на социальные нужды;
- амортизация;
- прочие затраты.
Поэлементная группировка затрат показывает, сколько произведено тех или иных видов затрат в целом по организации за определенный период времени независимо от того, где они возникли и на производство какого конкретного изделия они использованы.
К сожалению, классификация затрат по экономическим элементам не позволяет исчислять себестоимость отдельных видов продукции, установить объем затрат конкретных структурных подразделений организации. В этих целях используют классификацию затрат по статьям калькуляции.
Калькуляционной статьей принято называть определенный вид затрат, образующий себестоимость как отдельных видов, так и всей продукции в целом.
Группировка затрат по калькуляционным статьям позволяет определять назначение расходов и их роль, организовать контроль над ними, выявлять качественные показатели хозяйственной деятельности как организации в целом, так и отдельных ее подразделений, устанавливать, по каким направлениям необходимо вести поиск путей снижения издержек производства. На основании этой группировки строится аналитический учет затрат на производство, составляется плановая и фактическая калькуляция себестоимости отдельных видов продукции.
В общем виде номенклатура статей калькуляции для производственных организаций при применении системы учета директ-костинг может выглядеть следующим образом [8]:
"Сырье и материалы;
"Возвратные отходы (вычитаются)";
"Покупные изделия, полуфабрикаты и услуги производственного характера сторонних организаций ";
"Топливо и энергия на технологические цели";
"Заработная плата производственных рабочих";
"Отчисления на социальные нужды";
"Расходы на подготовку и освоение производства";
"Общепроизводственные расходы";
"Потери от брака";
"Прочие производственные расходы";
"Итого производственная себестоимость".
По местам возникновения затраты следует группировать и учитывать в разрезе производств, цехов, участков, отделов, бригад и других структурных подразделений организации, т.е. центров затрат. Такая группировка затрат необходима для организации учета по центрам ответственности и определения производственной себестоимости продукции (работ, услуг). Это позволяет оперативно контролировать затраты и результаты на разных уровнях и оценивать деятельность каждого подразделения и ответственного менеджера.
Предыдущая классификация затрат наилучшим образом проявляет себя в зависимости от сферы их возникновения и функциональной деятельности организации. По данному признаку затраты необходимо подразделять на снабженческо-заготовительные, производственные, сбытовые и организационно-управленческие.
Такая группировка затрат способствует укреплению внутрихозяйственного расчета и усилению взаимосвязи и взаимозависимости между центрами ответственности, обеспечивает более точное предоставление информации о произведенных затратах, помогает менеджерам принимать совместные обоснованные решения о виде, составе, цене, путях сбыта продукции и способствует повышению эффективности производственно-коммерческой деятельности организации.
По способу включения в себестоимость продукции затраты организации в системе учета директ-костинг подразделяются на прямые и косвенные.
Прямыми являются расходы по производству конкретного вида продукции. Поэтому они могут быть отнесены на конкретные объекты калькуляции в момент их совершения или начисления прямо на основании данных первичных документов. К ним относятся: затраты сырья, материалов, заработная плата производственных рабочих и др. Они учитываются по дебету счета 20 "Основное производство", и их можно отнести непосредственно на себестоимость определенного конкретного изделия.
Косвенные же расходы связаны с выпуском нескольких видов продукции. Такие расходы сначала собираются на соответствующих собирательно-распределительных счетах, а затем распределяются между отдельными изделиями согласно выбранной организацией методике (базе) их распределения (заработной плате производственных рабочих, количеству часов отработанного времени и т.п.).
Деление затрат на прямые затраты и косвенные имеет условный характер. Так, в добывающих производствах, где, как правило, добывается один вид продукции, расходы прямые. В комплексных производствах, в которых из одних и тех же видов сырья и материалов изготавливаются несколько видов изделий, основные затраты являются косвенными. Расширение удельного веса прямых затрат способствует более точному определению себестоимости продукции.
По роли, выполняемой в технологическом процессе изготовления продукции, и целевому назначению затраты организации необходимо подразделять на основные и накладные. Данное деление затрат необходимо для планирования, учета, анализа, контроля и регулирования производственной деятельности как организации в целом, так и отдельных подразделений.
К основным расходам относятся все виды ресурсов, потребление которых связано с выпуском продукции или оказанием услуг, т.е. это затраты, непосредственно связанные с технологическим процессом изготовления продукции. К ним относятся: стоимость сырья, материалов и полуфабрикатов; стоимость топлива и энергии, израсходованных на технологические цели; расходы на оплату труда производственных рабочих и отчисления на социальные нужды; расходы по эксплуатации производственных машин и оборудования и т.д.
Накладные расходы образуются в связи с организацией, обслуживанием производства, реализацией продукции и управлением. Они состоят из комплексных общехозяйственных расходов и расходов на продажу.
Основные затраты чаще всего выступают в виде прямых затрат, а накладные — косвенных, но они не являются тождественными.
Группировка затрат на основные и накладные необходима при организации учета по системе директ-костинг. Кроме того, одни и те же затраты, в зависимости от их роли в процессе изготовления продукции, могут выступать в качестве основных, а по способу включения в себестоимость отдельных видов изделий в условиях одновременного производства из одного исходного материала нескольких видов изделий — в качестве косвенных.
В зарубежной литературе основные затраты называются затратами на продукт (product cost), а накладные — затратами периода (period cost) [18]. Такое разделение затрат основано на том, что в себестоимость продукции должны включаться только производственные затраты. Они, как необходимые, формируют производственную себестоимость изделий и используются для расчета себестоимости единицы продукции. Затраты периода не являются необходимыми для производства продукции и не учитываются при определении себестоимости единицы продукции. Они используются для обеспечения процесса реализации продукции и функционирования организации как хозяйственной единицы и непосредственно списываются на уменьшение прибыли от реализации продукции.
Такая группировка затрат редко встречается в практике отечественного бухгалтерского учета. Между тем, она давно и широко применяется в странах с развитой рыночной экономикой, т.к. получаемая учетная информация более адекватно отражает процесс рыночного ценообразования и позволяет всесторонне анализировать и планировать соотношения объемов производства, цен и себестоимости продукции.
Производственные затраты включают в себя:
- прямые материальные затраты;
- прямые расходы по оплате труда с отчислениями на социальные нужды;
- потери от брака;
- производственные накладные расходы.
Периодические расходы подразделяются на коммерческие, общие и административные расходы. К ним относится существенная часть общей массы расходов на управление, обслуживание производства, сбыт продукции, которая, как считают менеджеры, зависит не от объема производства и продаж, а от организации производственно-коммерческой деятельности, деловой политики администрации, продолжительности отчетного периода, структуры предприятия и других факторов.
Важное значение в системе учета директ-костинг имеет группировка затрат по отношению к объему производства. По данному признаку затраты подразделяются на переменные и постоянные.
Переменными называются затраты, величина которых изменяется вместе с изменением объема производства, т.е. зависят от деловой активности организации. Переменный характер могут иметь как производственные, так и непроизводственные затраты. К производственным затратам относят прямые материальные затраты, прямые затраты на оплату труда, затраты на вспомогательные материалы и покупные полуфабрикаты.
К непроизводственным переменным затратам можно отнести расходы на упаковку готовой продукции, для отгрузки ее потребителю, транспортные расходы, не возмещаемые покупателем, комиссионное вознаграждение посреднику за продажу товара, которое напрямую зависит от объема продажи.
К постоянным относят затраты, величина которых в абсолютной сумме в течение отчетного периода практически не изменяется или слабо изменяется при изменении объема производства. К ним относятся расходы на рекламу, арендная плата, амортизация основных средств и нематериальных активов и др.
Разделение затрат на постоянные и переменные имеет большое значение для планирования, учета и анализа себестоимости продукции. Постоянные расходы, оставаясь относительно неизменными по абсолютной величине, при росте производства становятся важным фактором снижения себестоимости продукции, так как их величина при этом уменьшается в расчете на единицу продукции. Переменные же расходы возрастают в прямой зависимости от роста производства продукции, но рассчитанные на единицу продукции, представляют собой постоянную величину. Экономия по этим расходам может быть достигнута за счет осуществления организационно-технических мероприятий, обеспечивающих снижение их в расчете на единицу выпускаемой продукции. Кроме того, данную группировку затрат можно использовать при анализе и прогнозировании безубыточности производства и, в конечном счете, при выборе экономической политики организации.
Система директ-костинг. Преимущества и недостатки
Директ-костинг это система управленческого учета, основанная на делении расходов на постоянные и переменные в зависимости от изменения объема производства. Выделим присущие ему особенности, положительные и отрицательные моменты.
Главной особенностью директ-костинга, основанного на классификации расходов на постоянные и переменные, является то, что себестоимость продукции учитывается и планируется только в части переменных затрат. Постоянные расходы собирают на отдельном счете и с заданной периодичностью списывают непосредственно на дебет счета финансовых результатов.
Постоянные расходы не включают в расчет себестоимости изделий, а как расходы данного периода списывают с полученной прибыли в течение того периода, в котором они были произведены.
По переменным расходам оцениваются также остатки готовой продукции на складах на начало и конец года и незавершенное производство.
При системе директ-костинг схема построения отчетов о доходах и расходах многоступенчатая (табл. 1.3.1). В них содержатся по крайней мере два финансовых показателя: маржинальный доход и прибыль.
Таблица 1.3.1
Многоступенчатый отчет о доходах и расходах
|
№ п/п |
Наименование показателей |
Значение |
|
1 |
Выручка от реализации продукции (В)
|
В = 1000 |
|
2 |
Переменные затраты (ПЗ) |
ПЗ = 600 |
|
3 |
Маржинальный доход (МД) |
МД = В – ПЗ = 400 |
|
4 |
Постоянные расходы (ПР) |
ПР =200 |
|
5 |
Прибыль (П)
|
П = М – ПР = 200 |
Отчет о доходах и расходах не обязательно должен быть двухступенчатым. Если переменные затраты подразделять на производственные и непроизводственные, то данный отчет о доходах будет трехступенчатым. В этом случае на первом этапе определяется производственный маржинальный доход как разность между объемом реализованной продукции и переменными производственными затратами. На втором этапе как разность между производственными маржинальными и внепроизводственными переменными затратами определяется маржинальный доход в целом по организации, на третьем этапе – прибыль путем вычитания из общей суммы маржинального дохода суммы постоянных расходов.
Важной особенностью директ-костинга является то, что благодаря ему можно изучать взаимосвязи и взаимозависимости между объемом производства, затратами (себестоимостью) и прибылью. Наглядно это изображено при помощи графика (рис. 1.3.1) [9].
Три главные линии показывают зависимость переменных затрат, постоянных затрат и выручки от объема производства.
Точка К называется точкой критического объема производства (точка рентабельности): объем производства, при котором величина выручки от реализации продукции равна ее полной себестоимости.
З
атраты,
доход
К прибыль
переменные выручка от реализации
полная с/с
убыток
Объем продукции
Рис.1.3.1 Взаимосвязь между объемом производства, затратами и при былью.
Этот график и многочисленные его модификации используются при анализе и принятии управленческих решении.
Из определения точки критического объема производства (К) выводится формула:
К = Зпост / МД изд, (1.3.1)
где Зпост - величина условно-постоянных затрат в составе текущих издержек производства отчетного периода;
МД изд – величина маржинального дохода на единицу продукции (разница между ценой реализации изделия и величиной его себестоимости, исчисленной по условно-переменным расходам).
Для обеспечения этих аналитических расчетов необходимо вести раздельный учет переменных и постоянных расходов с подсчетом маржинального дохода по изделиям.
Система директ-костинг заостряет внимание руководства организации на изменении маржинального дохода по организации в целом и по различным изделиям. Она позволяет учитывать изделия с большой рентабельностью, чтобы переходить в основном на их выпуск, так как разница между продажной ценой и суммой переменных расходов не затушевывается в результате списания постоянных косвенных расходов на себестоимость конкретных изделий [12].
За счет сокращения статей себестоимости упрощается ее нормирование, учет, контроль и к тому же улучшается учет и контроль условно-постоянных, накладных расходов, поскольку их сумма за данный конкретный период показывается в отчете о доходах отдельной строкой, что наглядно демонстрирует их влияние на величину прибыли организации.
Основное достоинство системы директ-костинг в том, что на основе информации, получаемой в ней, можно принимать различные оперативные решения по управлению организацией. В первую очередь это касается возможностей проводить эффективную политику цен.
С учетом по системе директ-костинг также связана возможность проведения демпинговой политики, расчета и выбора различных комбинаций цены на товар и объемов его реализации.
Имея учетные данные об ограниченной себестоимости и маржинальном доходе по изделиям, можно решать такие управленческие задачи, как оптимизация ассортимента выпускаемой продукции, целесообразность принятия дополнительного заказа по ценам ниже обычного, производство комплектующих внутри предприятия или наоборот закупка их на стороне, определение оптимального размера партии или серии продукции, выбор и замена оборудования и другие.
Еще одно важное достоинство системы – это то, что ограничение себестоимости продукции лишь переменными расходами позволяет упростить нормирование, планирование, учет и контроль резко уменьшившегося числа статей затрат: себестоимость становится более “обозримой”, а отдельные затраты – лучше контролируемы. Так как чем больше контролируемых объектов, тем сильнее рассеивается внимание между ними, тем слабее становится контроль.
Организация управленческого учета по системе директ-костинг связана с рядом проблем, которые вытекают из особенностей, присущих этой системе:
- возникают трудности при разделении расходов на постоянные и переменные, поскольку чисто постоянных или чисто переменных расходов не так уж много;
- противники директ-костинга считают, что постоянные расходы также участвуют в производстве данного продукта и, следовательно, должны быть включены в его себестоимость. Директ-костинг не дает ответа на вопрос, сколько стоит произведенный продукт, какова его полная себестоимость. Поэтому требуется дополнительное распределение условно-постоянных расходов, когда необходимо знать полную себестоимость готовой продукции или незавершенного производства;
- ведение учета себестоимости по сокращенной номенклатуре статей не отвечает требованиям нашего учета, одной из главных задач которого до последнего времени являлось составление точных калькуляций;
- необходимо в ценах, устанавливаемых на продукцию организации
обеспечивать покрытие всех издержек организации.
- значительное искажение общей суммы прибыли за текущий период, поскольку остатки незавершенного производства оцениваются в разрезе лишь переменных производственных расходов;
- несоответствие (вследствие той же причины) размера действительной себестоимости выпущенной продукции с показателем "сокращенной" себестоимости, исчисленной по статьям переменных затрат, что резко снижает достоверность учета;
- несовпадение результатов финансового учета (и финансовых отчетов) с результатами управленческого учета, вследствие чего снижается доверие контролирующих органов - финансового, налогового управления и других - к руководству фирмы, а это ведет к негативным последствиям;
- нерешённость проблемы распределения постоянных (косвенных) расходов, которые также участвуют в процессе производства продукции, а значит, должны быть включены в себестоимость;
- сложность в определении номенклатуры элементов калькулирования или деления расходов на переменные и постоянные.
При системе директ-костинг не определяются полные затраты на изготовление продукции. Поэтому эта система не отвечает одной из основных целей отечественного бухгалтерского учета - составлению точных калькуляций. Однако следует иметь в виду, что не существует такой системы калькулирования затрат, которая позволила бы определить себестоимость единицы продукции со стопроцентной точностью. Любое косвенное отнесение затрат на изделие, как бы хорошо оно не было обосновано, искажает фактическую себестоимость, снижает точность калькулирования. С этой точки зрения самой точной является калькуляция по переменным (прямым) расходам, которая получается при калькулировании по системе директ-костинг. В этом случае в калькуляцию включаются расходы, непосредственно связанные с изготовлением данного изделия. Поэтому критерием точности исчисления себестоимости изделия следует считать не полноту включения затрат в себестоимость, а способ отнесения на то или иное изделие.
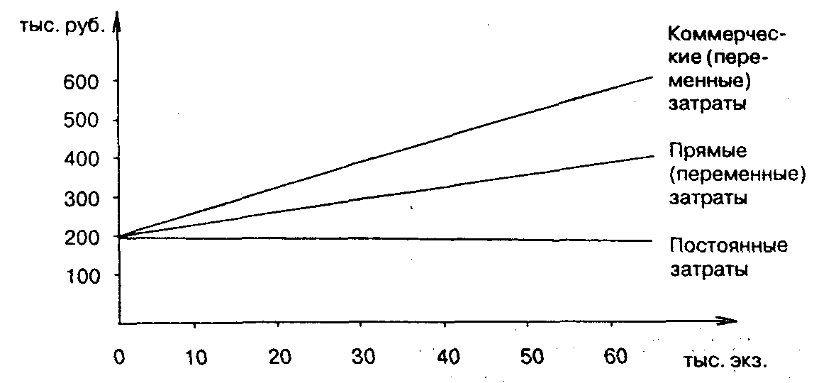
Пример 1 [9]. В связи с введением позаказного метода учета затрат и разделением затрат на производственные (счет 20) и периодические (счет 26) у издательств возникает возможность воспользоваться правом прямого отнесения общехозяйственных затрат на реализованную продукцию, т.е. на счет 90 «Продажи», минуя косвенное их распределение на счете 20 по заказам. В этом случае на счете 20 числятся только прямые затраты на производство издания (гонорар с отчислениями, полиграфические услуги и бумага), величина которых прямо зависит от тиража издания. При увеличении тиража они изменяются прямо пропорционально (при условии выплаты гонорара потиражно — пропорционально тиражу издания) (рис. 1.3.2).
Учтенные на счете 20 суммарные прямые (переменные) затраты, отнесенные к тиражу издания, дадут себестоимость одного экземпляра издания.

Рис. 1.3.2 Рост прямых (переменных) затрат в зависимости от тиража

Рис. 1.3.3 Переменные затраты на один экземпляр издания
Эта себестоимость ограничивает снизу цену реализации, так как любая продажа по цене ниже себестоимости, рассчитанной по переменным затратам, дает издательству убыток (отрицательный маржинальный доход) (рис.1.3.3).
Периодические затраты, не связанные напрямую с издательским процессом (затраты будут существовать и без наличия производственного процесса), учтенные на счете 26 «Общехозяйственные расходы» (затраты на заработную плату работников издательства, арендные платежи, почтово-телеграфные и телефонные затраты и т.д.), образуют постоянные затраты, т.е. затраты, не связанные с тиражом издания (рис. 1.3.4).
Постоянные затраты показывают минимальный уровень суммы маржинального дохода, который необходим издательству для безубыточной работы. Если сумма маржинального дохода (разница между ценой реализации и себестоимостью по переменным затратам, умноженная на количество реализованных экземпляров) меньше суммы постоянных затрат издательства, то финансовый результат от выпуска продукции — убытки, если больше — прибыль.

Рис. 1.3.4. Зависимость постоянных затрат от тиража издания
Если поделить общую сумму постоянных затрат на количество реализованных экземпляров, то получим долю постоянных затрат в общей фактической себестоимости одного экземпляра издания.

Рис. 1.3.5 Зависимость удельных затрат от тиража издания
Как видно из рис. 1.3.5, зависимость постоянных затрат на один экземпляр обратно пропорциональна тиражу издания. Сложив себестоимость одного экземпляра по переменным и по постоянным затратам, можно получить фактическую себестоимость реализованной продукции. По экономическому смыслу — это минимальная цена реализации, необходимая для безубыточной работы издательства. На практике, поскольку часть тиража реализуется по подписке, к этой сумме добавляется сумма коммерческих расходов на экспедирование, пересылку и распространение подписных экземпляров. Они также являются переменными расходами, так как зависят от тарифов на обработку одного подписного экземпляра.

Рис. 1.3.6 Зависимость себестоимости подписных экземпляров от тиража
Таким образом, фактическая себестоимость одного подписного экземпляра отличается от фактической себестоимости экземпляров, реализуемых в розницу, на сумму коммерческих расходов. Поделив сумму коммерческих расходов на количество подписанных номеров, получают себестоимость одного экземпляра по коммерческим расходам и, сложив полученную величину с суммой фактической себестоимости, определяют полную себестоимость подписных экземпляров (рис. 1.3.6).
Сумма прямых и коммерческих затрат дает минимальную цену реализации издания по подписке («нижнюю границу цены»), а добавив к ней постоянную составляющую, можно выйти на полную фактическую себестоимость издания по подписке, гарантирующую безубыточную работу издательства.
В связи с тем что у большинства периодических изданий часть продукции распространяется по подписке, можно построить график поступления выручки от выпущенной продукции и сравнить его с затратами по периодам. Это позволит спрогнозировать финансовые результаты деятельности издательства на отчетный период. Кроме того, по запланированной выручке от реализации можно спрогнозировать денежные потоки издательства и определить обеспеченность издательства оборотными активами.
Таким образом, использование метода директ-костинг в издательской деятельности позволяет иметь информацию о прямых переменных затратах на единицу издания, о коммерческих переменных затратах на единицу издания и об общей сумме постоянных затрат. Полученная информация даст возможность определить:
- минимальную цену реализации розничной продукции;
- минимальную цену реализации продукции по подписке;
- минимальную цену для безубыточной работы
- точку безубыточности по тиражу
- финансовые показатели деятельности издательства и т.д.
2. Применение системы директ-костинг
2.1 Организация учета затрат и результатов по системе директ-костинг
Систему учета директ-костинг организация имеет возможность организовать в соответствии с выбранной учетной политикой.
Этот вариант учета затрат на производство предусматривает разделение затрат на условно-переменные и условно-постоянные, подсчет сокращенной (частичной) производственной себестоимости и списание условно-постоянных затрат на уменьшение доходов в том отчетном периоде, в котором они возникли.
Общий подход к организации данного варианта учета заключается в следующем. Как отмечалось, условно-переменные расходы связаны непосредственно с производственным процессом и находятся в прямой зависимости от объемов выпускаемой продукции. В общем виде они включают прямые материальные затраты (сырье, материалы, топливо и энергию на технологические цели, работы и услуги сторонних организаций и т. п.), прямые трудовые расходы (оплата труда, обязательные отчисления на социальное страхование и обеспечение), производственные косвенные расходы. Последний вид расходов можно с некоторой долей условности сравнить с общепроизводственными расходами, которые обычно относятся на счет 25 "Общепроизводственные расходы".
К счету 25 создаются два субсчета:
25-1 « Общепроизводственные переменные расходы» и 25-2 «Общепроизводственные постоянные расходы». Оборот счета 25-1 в конце отчетного периода, распределяясь по носителям затрат, списывается на счет 20 «Основное производство». Счет 25-2 закрывается счетом 90 «Продажи».
В отличие от условно-переменных, условно-постоянные расходы не зависят от объемов производства. Они представляют собой совокупность расходов на управление, хозяйственное обслуживание производства, сбыт продукции. За редким исключением к условно-постоянным расходам можно отнести те затраты, которые при традиционном варианте учета затрат на производство регистрируются по дебету счета 26 "Общехозяйственные расходы".
Прямые условно-переменные расходы собираются в бухгалтерском учете на счетах 20 "Основное производство" и 23 "Вспомогательные производства". Косвенные условно-переменные расходы предварительно накапливаются на счете 25 "Общепроизводственные расходы", а затем ежемесячно переносятся на счета 20 "Основное производство" и 23 "Вспомогательные производства". Условно-постоянные расходы в части общих управленческих и хозяйственных затрат отражаются на счете 26 "Общехозяйственные расходы", а в части сбытовых расходов — на счете 44 "Расходы на продажу". В организациях, имеющих незначительный объем сбытовых расходов, могут оказаться целесообразными отказ от использования счета 44 "Расходы на продажу" и организация учета этих затрат на счете 26 "Общехозяйственные расходы".
Суммы фактической себестоимости продукции, законченной производством и переданной на склад, относятся со счета 20 "Основное производство" в дебет счета 43 "Готовая продукция" или 90 "Продажи".
Условно-постоянные расходы, собранные на счетах 26 "Общехозяйственные расходы" и 44 "Расходы на продажу", в конце каждого отчетного периода полностью списываются на результаты продажи продукции (работ, услуг) за данный период: по дебету счета 90 "Продажи" и кредиту счетов 26 "Общехозяйственные расходы" и 44 "Расходы на продажу".
Порядок учетных записей на счетах при учете затрат по системе директ-костинг проиллюстрирован на рис.2.1.1 [9]. Необходимо обратить внимание на то, что остатки незавершенного производства и готовой продукции, т.е. запасы, оцениваются в этом случае по неполной (переменной) себестоимости.
Счет 20 «Основное производство» Счет 43 «Готовая продукция»
Счет
23 «Вспомогательное производство»




Сальдо – незавершенное
Производство по неполной
(переменной) себестоимости
на начало периода
Счета
1
0,16,70,69 Счет
90 «Продажи»



Счет 25-1 «Общепроизводственные Неполная (переменная)
переменные расходы» себестоимость


Готовая
продукция реализованной


продукции

Оценивается по неполной
(переменной) себестоимости
10,16,70,69,68,
1
2,02
и др.





Маржиальный
доход
Сальдо – незавершенное производство Сальдо – готовая продукция на
по неполной (переменной) складе по неполной (переменной)
себестоимости на конец отчетного себестоимости
периода
Счет 25-2 «Общепроизводственные
Постоянные расходы»
Счет 26 «Общехозяйственные
р

асходы»
В конце отчетного периода постоянные расходы списываются
На
себестоимость реализованной продукции
Сальдо -
прибыль
предприятия
Рис. 2.1.1 Порядок учетных записей на счетах при учете затрат по системе директ-костинг.
Маржинальный доход – это разница между выручкой от продажи продукции и ее неполной себестоимостью, рассчитанной по переменным расходам. В состав маржинального дохода входят прибыль и постоянные затраты организации. После вычитания из маржинального дохода постоянных издержек формируется показатель операционной прибыли [9].
Директ-костинг и ценовая политика предприятия
В условиях рыночной экономики установление цены на производимую продукцию и оказываемые услуги имеет особое значение.
Определение цены заключается в возможности изучения положения на рынке в целом и в предсказании реакции потребителя на предлагаемый товар и его цену. Устанавливая цену, в первую очередь необходимо задумываться о том, будет ли спрос на продукцию по предполагаемой цене. Если цена станет слишком высока и товар не будет пользоваться спросом у покупателей, то продавец будет вынужден постепенно снижать ее до уровня, удовлетворяющего покупателей, с одновременным снижением издержек по производству данного продукта (работы, услуги).
Существует несколько подходов к формированию цены в условиях рыночной экономики. Один подход — назначить такую цену, которая привлечет покупателей; другой — использовать цены конкурентов, чтобы установить для себя определенную границу цен; третий — использовать информацию о себестоимости продукции, с тем чтобы определить порог рентабельности, величину переменных затрат и маржинального дохода.
В управленческом учете используют два термина: "долгосрочный нижний предел цены" и "краткосрочный нижний предел цены".
Долгосрочный нижний предел цены показывает, какую минимальную цену можно установить, чтобы покрыть полные затраты организации на производство и реализацию продукции. Этот предел соответствует полной себестоимости продукции.
Краткосрочный нижний предел цены — это та цена, которая способна покрыть лишь переменную часть издержек. Иными словами, это себестоимость, рассчитанная по переменным издержкам. Руководители российских организаций, как правило, недооценивают значение данного показателя.
Очень часто бывают ситуации, когда при недостаточной загруженности производственных мощностей привлечение дополнительных заказов оправданно, даже при цене, величина которой не покрывает всех издержек. Снижать цену на такие заказы можно до ее краткосрочного нижнего предела.
Пример 2: Организация производит продукцию "А" и продает ее оптом по цене 35 руб. за штуку. При этом постоянные затраты составляют 7,9 руб., а переменные — 21 руб. Полная себестоимость одного изделия равна 28,9 руб. Таким образом, удельная прибыль составляет 6,1 руб. (35-7,9-21) за штуку.
Производственная мощность организации — 1 500 единиц изделия "А" в месяц. Фактический объем производства составляет 1 000 штук за месяц, т.е. производственные мощности загружены не полностью и имеются резервы по дальнейшему наращиванию объемов производства. Организация не может увеличивать объем производства из-за трудностей со сбытом.
Организация получает предложение подписать контракт на производство дополнительной партии изделия "А" в количестве 100 штук по цене 27 руб. Руководство организации должно решить, принять или отклонить полученное предложение.
На первый взгляд, организация должна отказаться, ведь цена контракта (27 руб.) ниже полной себестоимости изделия (28,9 руб.). Но нельзя сразу занимать такую позицию без экономического обоснования.
В связи тем, что речь идет о дополнительном заказе, все постоянные косвенные расходы уже заложены в себестоимость и участвуют в калькуляции фактического объема производства (1 000 штук) изделия "А". Учитывая, что в рамках определенной масштабной базы постоянные расходы не меняются при изменениях объемов производства, подписание контракта не приведет к их росту.
Таким образом, принимая решение в отношении дополнительного заказа, предлагаемую цену нужно сравнивать с суммой переменных издержек, а не с полной себестоимостью продукции. В нашем случае переменные издержки, необходимые для производства единицы изделия "А", составляют 21 руб. С учетом цены контракта (27 руб.) поступившее предложение выгодно организации, и каждое изделие продукции "А", реализованное в рамках дополнительного контракта, принесет организации дополнительную прибыль в размере 6 руб. (27-21).
Иногда привлечение дополнительных заказов может быть оправданно, даже если их оплата не покрывает полностью издержек по их выполнению.
Такие управленческие решения разрушают традиционные представления о том, что в основе цены непременно должна лежать полная себестоимость продукции.
Степень контроля за величиной переменных расходов различна в зависимости от объема продаж, что объясняется психологией менеджеров. Когда наблюдается бум, управляющие склонны наращивать объем производства и реализации, а при спаде они начинают следить за затратами. При снижении объема продаж обычно уменьшают отпускные цены и увеличивают коммерческие расходы, в то же время делается попытка повысить производительность труда, снизить текучесть кадров и заготовить ресурсы по более низким ценам.
Постоянные расходы не статичны от года к году. Они могут быть намеренно увеличены для обеспечения более прибыльной комбинации производства и распределения, эти изменения отразятся на выручке, переменных и постоянных расходах. Например, можно увеличить расходы по продаже, заменив реализацию через оптовиков на прямую, непосредственно на рынке. Эта комбинация дает возможность повысить отпускную цену. Может быть приобретено более современное оборудование с целью сокращения удельных переменных расходов. Но в некоторых случаях более мудрым будет решение о сокращении постоянных расходов, например замена розничной торговли на оптовую.
После того как сделаны основные предложения по изменениям в постоянных расходах, менеджер прогнозирует вызванные этим предложением изменения прибыли и удельной маржи. Управленческий учет непрерывно анализирует поведение затрат и периодически определяет точку перелома.
Постоянные расходы являются константой только по отношению к данному уровню деятельности и в данный период времени. Организации редко достигают 100%-ного использования мощностей, поэтому, когда планируются радикальные изменения объема, многие постоянные расходы приводят к "непредвиденным потерям" в результате управленческих действий. Удар, нанесенный постоянным расходам, снижает критическую точку и дает возможность организации выдержать большое снижение объема, прежде чем появятся убытки.
Уровень маржинального дохода часто помогает менеджерам решать, какую продукцию протолкнуть, а какую нет, или терпеть ее, потому что выручка от ее продажи способствует реализации другой продукции.
Маржинальный доход лежит в основе управленческих решений, связанных с сокращением производства (продукции). В пределах краткосрочного периода, если продукт приносит дохода больше, чем его переменные расходы, он вносит вклад в общую прибыль. Эта информация поступает мгновенно, если используется маржинальный подход. При традиционном подходе трудно получить релевантную информацию, но менеджер может быть введен в заблуждение себестоимостью единицы продукции, которая несет в себе элемент постоянных расходов.
Маржинальный доход может быть использован при выборе альтернатив, которые могут возникнуть при обсуждении снижения цены, проведении специальных рекламных компаний, использовании премий, стимулирующих объем реализации. Обычно высокий рейтинг маржинального дохода служит стимулом к улучшению потенциального чистого дохода от реализации. Снижение рейтинга говорит о необходимости увеличения объема продаж, чтобы покрыть дополнительные расходы по стимулированию реализации.
Когда ожидаемая прибыль согласована, определение ее размера может быть быстро обеспечено подсчетом числа единиц, которые необходимо продать. Эти вычисления легко сделать, разделив сумму постоянных расходов и ожидаемой прибыли на удельный маржинальный доход.
Решения часто принимаются для того, чтобы выявить, использование каких материалов или машин наиболее выгодно может обеспечить максимально высокую прибыль. Маржинальный подход представляет данные для выявления продукции, дающей наибольший маржинальный доход.
Сторонники этого подхода утверждают, что исчисление себестоимости на этой основе позволяет менеджерам лучше понять взаимное поведение затрат, объема, цены, прибыли и быть более мудрыми в политике цен. В конечном итоге максимальная цена устанавливается спросом. Минимальная временная цена иногда устанавливается на основе величины переменных расходов и необходимости реализации.
Дополнительные производственные мощности могут оказаться бесполезными. При решении вопроса о выпуске продукции необязательно отдавать предпочтение более рентабельной.
Калькулирование себестоимости в отечественном учете по системе директ-костинг и целесообразность её применения
Вопросом, требующим самостоятельной постановки и решения, является вопрос о том, на каких по размерам организациях более целесообразно организовывать учет по системе директ - костинг.
Не проводя специальных исследований, можно сделать некоторые выводы о границах применения элементов директ - костинга в конкретных условиях российской экономики.
Выделим два преимущества директ - костинга: снижение трудоемкости, упрощение учета и посредством иного подхода к калькулированию – дополнительные аналитические возможности.
Первая особенность обеспечивает реальные преимущества в организации учета в малых организациях.
Вторая особенность, которая, по сути дела, при практической реализации директ - костинга как бы исключает первую, - это создание самостоятельной системы управленческого учета, что необходимо в условиях рынка, как показывает западная практика, на средних и крупных, со сложной структурой, крупносерийным или массовым типом производства организациях, то есть создание внутренней системы управления себестоимостью, что само по себе достаточно дорого и под силу только мощным и с финансовой точки зрения устойчивым организациям.
Такие системы в условиях рыночных отношений не функционируют без элементов и подходов директ-костинга.
В наше время зачастую одна и та же организация занимается различными видами деятельности, и эти виды деятельности облагаются налогом на прибыль по неодинаковым ставкам. Эти организации не могут применять вариант отнесения общехозяйственных расходов непосредственно на себестоимость реализованной продукции, а должны в конце отчетного периода распределять эти расходы пропорционально объему выручки от каждого вида деятельности.
Таким образом, выбор варианта организации учета затрат и результатов должен входить уже сегодня в компетенцию администрации и определяться целями и задачами организации на данный момент. Решающее влияние на выбор варианта и обоснование учетной политики в сегодняшних условиях должны оказывать такие факторы, как внешние условия функционирования предприятия, форма собственности и организационно-правовая форма; размеры организации; объемы и виды деятельности; налоги и налоговые льготы, стратегические цели и задачи фирмы, степень компьютеризации финансово-хозяйственной работы, уровень компетентности и образованности кадров и другие факторы. Большое внимание при организации управленческого учета в отечественных организациях необходимо уделять в настоящее время учету косвенных расходов вследствие действия двух факторов: нестабильные рыночные отношения (что рано или поздно приведет к изменению объемов производства и загрузки производственных мощностей, а значит, колебание накладных расходов на единицу изделия) и роста удельного веса косвенных расходов в общей сумме издержек организации [14].
Исследуем эту проблему с позиций применения директ - костинга.
Все косвенно распределяемые в отечественном учете накладные расходы можно разделить на две группы: общехозяйственные (счет 26 “Общехозяйственные расходы”), которые учитываются и планируются на уровне предприятия в целом, и производственные накладные расходы (счет 25 “Общепроизводственные расходы”), учитываемые и планируемые на уровне цехов данного предприятия.
Общехозяйственные расходы имеют четко выраженный постоянный характер, относятся к периодическим, то есть зависящим от длительности отчетного периода, и согласно международным стандартам бухгалтерского учета могут не распределяться косвенным способом между объектами калькулирования, а прямо относиться на тот или иной счет результатов (в зависимости от выбранного варианта связи между финансовой и управленческой бухгалтерией).
Что касается учета производственных накладных расходов, то здесь можно говорить о двух подходах с позиций применения директ - костинг.
Первый подход – использование принципа деления производственных накладных расходов на постоянные – переменные в учете полной себестоимости, что необходимо для анализа эффективности деятельности подразделений организации и определения влияния деятельности на производственные результаты.
Постоянные не зависят от объема производства (объема деятельности) подразделений организации. Их величину устанавливают по смете исходя из объема деятельности подразделения, ориентированного на нормальную загрузку производственных мощностей организации.
Использование отдельных группировок постоянных и переменных производственных накладных расходов в учете полной себестоимости связано с взаимным распределением накладных расходов вспомогательных подразделений и последующем их отнесении на основные подразделения. В данном случае постоянные накладные расходы включают в расчет после распределения, принимая во внимание фактический объем деятельности, а переменные накладные расходы включают в расчет полностью.
Для учета экономии или перерасхода по накладным производственным расходам в системе счетов управленческого учета открывается специальный счет “Отклонения по накладным расходам за счет изменений объема деятельности”. Рассчитанные отклонения отражают по дебету этого счета: перерасход обычной записью, экономию – сторнировочной. В конце отчетного периода учтенные на этом счете отклонения списывают в дебет счета результатов, подчеркивая тем самым влияние колебаний постоянных расходов в зависимости от объема на результаты производственной деятельности.
Второй подход связан с тем, что в учете по подразделениям, местам возникновения затрат между ними распределяют только переменные производственные накладные расходы. Постоянные же расходы, не распределяя, общей суммой списывают в дебет счета результатов управленческой бухгалтерии. Такой подход вызывает необходимость ведения по подразделениям двух счетов для учета производственных накладных расходов: “Постоянные производственные накладные расходы” и “Переменные производственные накладные расходы”. В существующей практике учета в отечественных организациях в качестве счета постоянных производственных накладных расходов может применяться счет 25, а в качестве счета переменных производственных накладных расходов – свободный счет 24 [18].
При таком подходе значительно снижается трудоемкость учетных работ, связанных с расчетами по распределению накладных расходов.
Кроме того, нужно отметить, что при втором подходе можно вообще не собирать постоянные расходы на счетах производственных подразделений, а прямо списывать их со счетов расходов на счет результатов. Но так как учет накладных расходов по производственным подразделениям связан не только с методикой их распределения, а и с контролем за эффективностью работы подразделений, то счета постоянных накладных расходов производственных подразделений можно использовать в обоих случаях.
При этом подходе реализуется двухступенчатый принцип учета маржинального дохода.
Для отечественных промышленных организаций можно предложить многоступенчатый принцип формирования маржинального дохода, а в конечном итоге и прибыли организации, что повышает действенность внутреннего контроля за эффективностью работы подразделений, мест возникновения затрат предприятия, поскольку в данном случае наглядным становится вклад места затрат данного уровня управления в формировании производственного результата.
Основные цели калькулирования в отечественном учете до сих пор были следующими:
- обеспечить достоверную калькуляцию единичного продукта;
- контролировать рентабельность производства отдельных продуктов и соблюдать плановый уровень их себестоимости;
- выявлять эффективность конструкторских и организационно-технических условий производства продукта;
- обеспечивать сопоставимость калькуляций для сравнительного анализа и использования на макроуровне (ценообразование, отраслевое планирование);
Рассмотрим проблематику калькулирования по системе директ - костинг с точки зрения этих задач.
Сначала относительно составления точных калькуляций. Не существует такой системы калькулирования затрат, которая позволила бы определить себестоимость единицы продукции со стопроцентной точностью. Любое косвенное отнесение затрат на изделие, как бы хорошо оно ни было обосновано, искажает фактическую себестоимость. Снижает точность калькулирования. Если смотреть с этих позиций, то самой точной является калькуляция по прямым (переменным) расходам, которая получается при калькулировании по системе директ - костинг. В этом случае в калькуляцию включаются расходы, непосредственно связанные с изготовлением данного изделия. Поэтому критерием точности исчисления себестоимости изделия служат не полнота включения затрат в себестоимость, а способ их отнесения на то или иное изделие.
Необходимо подчеркнуть и то обстоятельство, что постоянные затраты в основной своей массе не связаны с производством данного конкретного вида изделия, а являются, как правило, периодическими и связаны с выпуском всего объема продукции предприятия. Поэтому тезис о том, что эти расходы должны в обязательном порядке включаться в расчет себестоимости изделия, можно подвергнуть критике.
Что касается установления и контроля за уровнем рентабельности изделий, то окупаемость изделия при калькулировании по прямым (переменным) затратам видна лучше, так как она не искажается в результате того же распределения косвенных расходов.
Как известно, в западных организациях для принятия управленческих решений используется разнообразная информация о себестоимости. Иногда себестоимость продукции за рубежом калькулируется двумя методами: на основе распределения всех косвенных затрат и по системе директ - костинг. На данном этапе отечественным организациям нет необходимости вести параллельный учет по двум системам. Для организаций, использующих директ - костинг, достаточно периодически (в зависимости от целей управления) необходимо рассчитывать полную себестоимость внесистемно. Как показывает опыт западных стран, данные о такой себестоимости приемлемы для принятия решений.
Таким образом, важнейшим объективным условием применения директ - костинга в России является формирование стабильной рыночной экономики, что повлечет за собой изменение требований к бухгалтерскому учету, прежде всего в направлении повышения его оперативности, гибкости и аналитичности поставляемой информации.
Изменение задач, стоящих перед учетом в целом, приводит к изменениям в задачах и содержании управленческого учета, следствием чего является объективная возможность его организации по системе директ - костинг.
Пример 3 [9]. Организацией производятся два вида продукции — А и Б. Прямые затраты на производство продукции А составляют 100 руб., в том числе прямая заработная плата — 50 руб. Прямые затраты на производство продукции Б — 200 руб., из них заработная плата — 100 руб. За отчетный период дебетовый оборот по счету 25 «Общепроизводственные расходы» составляет 90 руб., по счету 26 «Общехозяйственные расходы» — 120 руб. Для упрощения расчета предположим, что общепроизводственные расходы состоят только из переменной части. Допустим также, что: а) половина всех произведенных за отчетный период затрат материализовалась в готовой продукции, а вторая часть осталась в виде незавершенного производства, причем за отчетный период произведено 10 ед. готовой продукции А и 15 ед. изделия Б; б) вся произведенная продукция реализована. Выручка от реализации составила 400 руб.
Учет затрат по методу директ-костинг показан на рис. 2.1.1. К счету 20 открыты два субсчета — для калькулирования себестоимости каждого вида продукции — 20-А и 20-Б. Прямые затраты отнесены непосредственно на носители затрат: 100 руб. — на продукцию А и 200 руб. — на продукцию Б. Затраты, собранные на счете 25, распределяются между продуктами А и Б пропорционально прямой заработной плате, т.е. в пропорции 1 : 2. Таким образом, из общей суммы общепроизводственных затрат в 90 руб. 30 руб. отнесено на продукцию А, 60 руб. — на продукцию Б.
Общехозяйственные расходы как периодические в сумме 120 руб. прямо списаны на себестоимость реализованной продукции.
Видно, что на производство продукции А в отчетном периоде затрачено 130 руб. Половина из них (65 руб.) — себестоимость готовой продукции. По условию за отчетный период произведено 10 ед. продукции А. Следовательно, себестоимость одной единицы — 6,5 руб. В незавершенном производстве останется продукции А на сумму 65 руб.
Аналогичные расчеты по изделию Б позволяют оценить готовую продукцию (15 ед.) в 130 руб. Следовательно, себестоимость единицы изделия Б составляет 130: 15 = 8,7 руб. Незавершенное производство по изделиям Б оценивается в 130 руб.
Себестоимость всей готовой продукции — 195руб. (65 + 130). Это переменная себестоимость. На счете 90 формируется первый финансовый показатель — маржинальный доход; в данном случае он равен 205 руб. (400 – 195). После списания общехозяйственных расходов на счете 90 выводится второй показатель — прибыль, т.е. разница между маржинальным доходом и постоянными издержками. В приведенном примере операционная прибыль равна:
205-120 =85 руб.
Поскольку готовой продукции на складе нет, запасы будут представлены лишь незавершенным производством. Его общий размер составляет:
65 + 130 =195 руб.
При калькулировании полной себестоимости участвуют все расходы, включая и постоянные. Таким образом, между продуктами А и Б помимо общепроизводственных будут распределяться и общехозяйственные расходы. База распределения — прямая заработная плата, пропорция распределения, как и прежде, составляет 1 : 2. Тогда на продукцию А будет отнесено 40 руб. общехозяйственных расходов, на продукцию Б — 80 руб. Дебетовый оборот по счету 20-А с учетом прямых и общепроизводственных расходов составит 170 руб.; из них половина — стоимость готовой продукции, а половина остается в незавершенном производстве. Следовательно, 10 ед. готовой продукции А оценивается в 85 руб., т.е. себестоимость единицы — 8,5 руб.
По продукции Б имеем: изготовление 15 ед. обошлось организации в 170 руб., т.е. себестоимость единицы составляет:
170: 15= 11,3руб.
Себестоимость всей готовой продукции — 255 руб. (85 + 170). Следовательно, операционная прибыль составит:
400-255 =145 руб.
Оценим запасы незавершенного производства. По продукции А их стоимость равна 85 руб., по продукции Б — 170 руб. Отсюда себестоимость запасов составила 255 руб.
Результаты выполненных расчетов сведены в табл. 2.3.1
Таблица 2.3.1
Оценка себестоимости, прибыли и запасов при учете переменных (метод директ-костинг) и полных затрат, руб.
|
Показатели |
Учет переменных затрат |
Учет полных затрат |
|
Себестоимость единицы продукции: |
||
|
А |
6,5 |
8,5 |
|
Б |
8,7 |
11,3 |
|
Оценка запасов |
195,0 |
255,0 |
|
Прибыль |
85,0 |
145,0 |
Сравнение полученных результатов позволяет заключить: себестоимость единицы продукции, рассчитанная по методу «директ-костинг», ниже полной себестоимости (по продукции А — на 2 руб., по продукции Б — на 2,6 руб.). В результате при калькулировании неполной себестоимости на 60 руб. ниже и оценка запасов, чем при методе учета полных затрат (255 – 195).
Поэтому себестоимость реализованной продукции оказывается выше, а следовательно, прибыль меньше при методе учета переменных затрат на те же 60 руб. (145-85).
Выбранный метод калькулирования влияет не только на величину себестоимости продукции, но и на форму отчета о прибылях и убытках.
В отчете о прибылях и убытках, составленном при использовании маржинального подхода, внимание фокусируется на разделении затрат на постоянную и переменную части. При этом непременно формируется показатель маржинального дохода. С учетом цифрового примера отчет выглядит следующим образом (табл. 2.3.2).
Таблица 2.3.2
Отчет о прибылях и убытках (составлен при использовании метода директ-костинг)
|
№ строки |
Показатели |
Сумма, руб. |
|
1 |
Выручка от реализации продукции |
400 |
|
2 |
Переменная часть себестоимости реализованной продукции |
195 |
|
3 |
Маржинальный доход (стр. 1 - стр. 2) |
205 |
|
4 |
Постоянные затраты |
120 |
|
5 |
Операционная прибыль (стр. 3 - стр. 4) |
85 |
В отчете, составленном по результатам калькулирования полной себестоимости, показатель маржинального дохода не рассчитывается (табл. 2.3.3).
Таблица 2.3.3
Отчет о прибылях и убытках (составлен по результатам калькулирования полной себестоимости продукции)
|
№ строки |
Показатели |
Сумма, руб. |
|
1 |
Выручка от реализации продукции |
400 |
|
2 |
Себестоимость реализованной продукции |
255 |
|
3 |
Операционная прибыль (стр. 1 - стр. 2) |
145 |
Заключение
Система директ-костинг представляет собой систему управленческого учета, основанную на классификации затрат на постоянные (периодические) и переменные (приходящиеся на единицу готового продукта), включающую учет и анализ затрат по их видам, местам возникновения и носителям, а также учет финансовых результатов деятельности и принятие оперативных управленческих решений. При этом затраты подразделяются на постоянные и переменные в зависимости от изменения объема производства.
Одним из ключевых показателей системы директ-костинг является маржинальный доход, представляющий собой разницу между выручкой от реализации и переменными затратами. Величина маржинального дохода, определенная для конкретного вида продукции, показывает "вклад" данного товара в покрытие постоянных затрат и тем самым - в общую сумму прибыли предприятия. Важнейшей особенностью системы директ-костинг является то, что себестоимость продукции (работ, услуг) учитывается и планируется только в части переменных затрат. При этом постоянные расходы собирают на отдельном счете (или счетах) и с заданной периодичностью (например, один раз в месяц) списывают непосредственно на счет финансовых результатов. Другими словами, постоянные расходы не включаются в себестоимость продукции, а как расходы периода относятся на уменьшение прибыли от реализации в том периоде, в котором они были произведены. В то же время отдельный учет постоянных затрат дает возможность менеджерам осуществлять более оперативный их контроль и регулирование.
В качестве постоянных расходов выступают часть общепроизводственных расходов и все общехозяйственные расходы, которые только содействуют изготовлению продукции, непосредственно не участвуя в ее производстве. Это затраты, связанные с процессом обслуживания и управления и зависящие в большей мере от длительности отчетного периода. В системе директ-костинг по переменным затратам оцениваются и остатки готовой продукции на складе, и незавершенное производство на конец периода. При этом ограничение себестоимости лишь переменными расходами позволяет упростить планирование, учет и контроль за счет резкого уменьшения числа калькуляционных статей затрат: себестоимость становится "более обозримой", а отдельные затраты - лучше контролируемыми. Деление расходов на постоянные и переменные позволяет получить информацию о расходах, необходимую для принятия большого числа управленческих решений. В первую очередь это касается решений в части оценки затрат при различной производительности.
С помощью директ-костинга обосновываются важные управленческие решения, в том числе по оптимизации производственной программы, о целесообразности принятия к исполнению дополнительного заказа, о приобретении или замене оборудования, производстве полуфабрикатов или заказе их на стороне, выпуске побочной продукции, по вопросам ценовой политики и др.
Система директ-костинг позволяет определять формы зависимости затрат от объемов производства; получать информацию о прибыльности или убыточности хозяйственной деятельности в зависимости от объема производства и продаж; рассчитывать критическую точку объема продаж; оптимизировать товарный ассортимент; прогнозировать поведение затрат в зависимости от различных факторов; принимать управленческие решения в условиях ограниченности какого-либо ресурса; проводить эффективную ценовую политику; решать тактические задачи управления предприятием. На основе анализа переменных и постоянных издержек разрабатываются гибкие программы-сметы. Они, хотя и ориентируются на исходную ожидаемую величину выручки, позволяют учесть возможные отклонения объема продаж и выручки от реализации и влияние этих отклонений на конечную величину прибыли. В результате менеджер может рассчитать тот объем продаж, при котором достигается безубыточность организации, а затем оценить прибыльность при различных уровнях деловой активности.
Одним из важных преимуществ использования в учете системы директ-костинг является возможность изучения взаимосвязей и взаимозависимостей между объемом производства, затратами и прибылью. Ее применение позволяет управленческому аппарату заострить внимание на изменении маржинального дохода как по организации в целом, так и по отдельным видам продукции, таким образом делая возможным оценку прибыльности производства и продаж различных продуктов вне зависимости от общего спада или подъема объемов реализации, связанных с сезонностью продаж или другими факторами.
С другой стороны, выявляя продукцию с большей рентабельностью, организация оптимизирует свой ассортимент. Благодаря использованию директ-костинга значительно расширяются аналитические и контрольные возможности учета: анализируя поведение переменных и постоянных затрат в зависимости от изменения объемов продаж, можно гибко и оперативно принимать решения по управлению, особенно касающиеся выбора между альтернативными вариантами действий. Раздельное отражение в учете позволяет более четко отслеживать и контролировать как переменные, так и постоянные производственные издержки в разрезе подразделений организации, товарных групп и сегментов рынка.