Direct-costing
Академия Бюджета и Казначейства при Министерстве Финансов
КУРСОВАЯ РАБОТА
По предмету: «Управленческий учёт»
На тему: «Direct-costing»
Студентки: Ерусланкина Н.А.
Группа: 3У2
МОСКВА
2002 год
Содержание
Введение
1. Теоретическая часть
1.1 Экономическая сущность, методы учета и калькулирования себестоимости
1.2 «Direct-costing», история его возникновение метода и организация учета затрат
1.3 Особенности системы «Direct-costing». Преимущества и недостатки
1.4 Схема учетных записей при учете затрат по системе «Direct-costing»
2. Практическая часть
Пример 1
Пример 2
Пример 3
Заключение
Список использованной литературы
Введение
В современной обстановке перехода к рынку, постоянно необходимо проводить анализ деятельности фирмы для принятия управленческих решений. Для анализа и принятия решений необходима исходная информация, такую информацию получают из ряда показателей, одним из которых является себестоимость. Себестоимость можно рассчитать несколькими различными методами, одним из подобных методов является «direct-costing», который рассмотрен в данной работе. Как и любой метод, «direct-costing» имеет ряд преимуществ и недостатков, но во многих случаях он дает более объективную оценку ситуации, нежели методы, основанные на учете полных издержек. В данной работе проведен анализ того, в каких случаях это происходит, а также когда наиболее выгодно применять именно данный метод планирования учета и калькулирования себестоимости.
В представленной мной работе рассмотрены: экономическая сущность понятия себестоимость, Методы учета и калькулирования себестоимости (приведен пример влияния выбранного метода учета на величину стоимости продукции, оценку запаса, и прибыли предприятия), возникновение метода «Direct-costing», организация учета затрат по системе “ Direct-costing ”, порядок отражения операций на бухгалтерских счетах в условиях системы «Direct-Costing», особенности системы «Direct-costing». Преимущества и недостатки.
Теоретическая часть.
1.1 Экономическая сущность, методы учета и калькулирования себестоимости
Себестоимость продукции, товаров или услуг - это денежное выражение суммы затрат, необходимых на производство и сбыт данной продукции, а более точно ее единицы. Она является синтетическим показателем. План по себестоимости продукции разрабатывается на основе прогрессивных норм использования оборудования, расхода сырья, топлива, материалов, заработной платы и так далее. В целях анализа производственной деятельности и разработки рациональной и эффективной концепции развития предприятия в процессе изготовления продукции исчисляется также и ее фактическая себестоимость. Сравнение плановой и фактической себестоимости позволяет объективно оценить степень рентабельности предприятия и рациональность использования как материальных, так и интеллектуальных ресурсов. Если себестоимость такого же или аналогичного продукта конкурентов ниже, то это означает, что производство и сбыт на предприятии были организованны нерационально. Следовательно, необходимо внести изменения. Решить, какие нужны изменения, поможет опять же себестоимость, так как она является одним из факторов формирования ассортимента и основным ценообразующим фактором. Чем больше себестоимость, тем выше будет цена при прочих равных условиях. Разница между ценой и себестоимостью составляет прибыль. Следовательно, для увеличения прибыли необходимо либо повысить цену, либо снизить себестоимость. Снизить ее можно путем сокращения включенных в нее затрат. Но то, какие затраты и в какой мере включаются в себестоимость, зависит от метода ее учета и калькулирования.
В бухгалтерском управленческом учете одним из альтернативных традиционному отечественному подходу к калькулированию является подход, когда по носителям затрат планируется и учитывается неполная, ограниченная себестоимость. Эта себестоимость может включать только прямые затраты, она может калькулироваться на основе только производственных расходов, т.е. расходов, непосредственно связанных с производством продукции (работ, услуг), даже если они косвенные. В каждом случае полнота включения затрат в себестоимость разная. Однако общим для этого подхода является то, что некоторые виды издержек, имеющие отношение к производству и реализации продукции, не включаются в калькуляцию, а возмещаются общей суммой из выручки. В этом состоит сущность системы учета неполной себестоимости.
Одной из модификаций данной системы является система «директ-ко-стинг». Ее суть состоит в том, что себестоимость учитывается и планируется только в части переменных затрат, т.е. лишь переменные издержки распределяются по носителям затрат. Оставшуюся часть издержек (постоянные расходы) собирают на отдельном счете, в калькуляцию не включают и периодически списывают на финансовые результаты, т.е. учитывают при расчете прибылей и убытков за отчетный период. По переменным расходам оцениваются также запасы — остатки готовой продукции на складах и незавершенное производство.
Принципиальное отличие системы «директ-костинг» от калькулирования полной себестоимости состоит в отношении к постоянным общепроизводственным расходам. При калькулировании полной себестоимости постоянные общепроизводственные расходы участвуют в расчетах, при калькулировании по переменным издержкам они из расчетов исключаются.
Общехозяйственные расходы также исключаются из калькулирования. Они являются периодическими и полностью включаются в себестоимость реализованной продукции общей суммой без подразделения на виды изделий. В конце отчетного периода такие расходы списываются непосредственно на уменьшение выручки от реализации продукции:
Д-т сч. 90 «Продажи» К-т сч. 26 «Общехозяйственные расходы».
Однако в соответствии с Международными стандартами бухгалтерского учета метод «директ-костинг» не используется для составления внешней отчетности и расчета налогов. Он применяется во внутреннем учете для проведения технико-экономического анализа и для принятия оперативных управленческих решений.
Использование системы «директ-костинг» кардинально меняет не только отечественную концепцию калькулирования, но и подходы к учету и расчету финансовых результатов. Применяемая в рамках этого метода схема построения отчета о доходах (как правило, двухступенчатая) содержит два финансовых показателя: маржинальный доход (сумма покрытия) и прибыль.
Маржинальный доход — это разница между выручкой от реализации продукции и неполной себестоимостью, рассчитанной по переменным издержкам. В состав маржинального дохода входят прибыль и постоянные затраты предприятия. После вычитания из маржинального дохода постоянных издержек формируется показатель операционной прибыли.
Как же влияет выбранный метод учета на величину себестоимости продукции, оценку запасов и прибыли предприятия? (Рассмотрим на примере № 2 в практической части)
1.2 «Direct-costing», история его возникновение метода и организация учета затрат
Система учета переменных затрат «direct-costing» возникла в США в период Великой депрессии и получила широкое распространение в пятидесятых годах двадцатого века. До начала Великой депрессии (1928г.) для расчета себестоимости использовалась система учета полных издержек, что, по мнению аналитиков того времени, приводило к искусственному искажению прибыли. Для решения данной проблемы была разработана новая система, получившая название «direct-costing». Оно было введено в 1936 году американцем Д. Харрисом. Данное название возникло не случайно. На первых этапах практического применения системы «директ-костинг» в себестоимость включались лишь прямые расходы, а все виды косвенных расходов списывались непосредственно на финансовые результаты. Отсюда и название системы — Direct – Costing - System (система учета прямых затрат).
Позднее «директ-костинг» трансформировался в такую учетную систему, когда себестоимость рассчитывается не только в части прямых переменных расходов, но и в части переменных косвенных затрат. Отсюда следует некоторая условность в названии.
В настоящее время «direct-costing» предусматривает включение в себестоимость не только прямых переменных, но и части переменных косвенных затрат. В разных странах эта система именуется по-разному. В Германии и Австрии для обозначения метода «direct-costing» используют термины «Teilkostenrechnung» или «Grenzkostenrechnung», то есть учет частичных, либо граничных затрат, или же «Deckungsbeitragsrechnung» – учет суммы покрытия. В Великобритании «direct-costing» называют еще «marginal-costing» – учет маржинальных затрат. А во Франции «La Comptabilite» - маржинальный учет. Однако, несмотря на все это разнообразие терминов, определяющих систему учета переменных издержек, «direct-costing» является самым употребляемым и популярным, возможно потому, что он был первым названием, данным этому методу учета себестоимости.
Учет затрат состоит из следующих элементов: учет по видам затрат, учет по местам возникновения затрат и учет по носителям затрат (калькулирование себестоимости единицы изделия).
Все эти элементы присутствуют при любой конкретной организации учета затрат в управленческом (производственном) учете, в том числе и при учете полных или частичных затрат. Поскольку учет затрат на отечественных предприятиях до сих пор представлял собой учет полной себестоимости и соответственно системное определение прибыли, то о такой организации учета, несмотря на различия построения у нас и за рубежом, мы имеем достаточно хорошее представление. Что касается “директ -костинга”, то, описывая
отдельные элементы учета затрат по этой системе, обратим внимание на присущие данной системе особенности.
Рассмотрим организацию учета затрат в соответствии с системой “Директ-костинг” по перечисленным выше элементам.
Задачей первого элемента учета затрат является систематический учет затрат по видам за данный период. Он отражает вертикальную структуру затрат предприятия.
Важнейшими видами затрат, подлежащими учету, являются: Затраты на заработную плату; материальные затраты; затраты на энергию; затраты на ремонт; налоги, взносы, страхование; затраты на амортизацию; проценты, риски; прочие затраты.
Этот перечень может изменяться в зависимости от национальных особенностей учета и степени его детализации.
С точки зрения применения системы “Директ-костинг” здесь отсутствуют какие-либо принципиальные особенности по сравнению с системой учета полной себестоимости. Нужно только подчеркнуть, что необходимое для организации директ-костинга разделение затрат на постоянные и переменные не может быть произведено в учете по видам затрат, так как зачастую один и тот же вид затрат в разных местах возникновения затрат ведет себя по-разному по отношению к изменению объема производства.
Например, заработная плата вспомогательных рабочих в одном месте возникновения затрат может носить переменный характер, в другом – полупеременный, в третьем – практически не меняется с изменением загрузки мощностей или объема производства.
Таким образом, разграничение затрат на постоянные и переменные, а также их раздельный учет по видам может быть организован только в разрезе мест возникновения затрат.
Особенность учета затрат по местам возникновения по системе “Директ-костинг” состоит в том, что постоянные затраты не распределяются между носителями затрат.
Учет по местам возникновения затрат дает представление о горизонтальной структуре затрат предприятия.
Учет затрат по системе “Директ-костинг” представляет собой прагматическую форму учета, направленную на принятие решений. В случае организации учета затрат по местам возникновения нет надобности использовать базы, или “ключи”, распределения косвенных расходов уровня предприятия на уровни заводов или производственных единиц, а затем через основные места возникновения затрат – между носителями затрат, произведенных в данном отчетном периоде., как при системе учета полных затрат (калькулирование полной себестоимости).
По сути дела, при организации учета в разрезе мест возникновения затрат по системе “Директ-костинг” исчезает само понятие косвенных расходов, накладные расходы становятся прямыми по отношению к данному месту возникновения затрат. Таким образом, при системе “Директ-костинг” затраты в местах возникновения затрат подразделяются на постоянные и переменные. Этот элемент системы учета затрат дает информацию для калькулирования себестоимости носителей затрат - следующего элемента системы производственного учета – только по переменным затратам.
Одной из проблем учета затрат по местам их возникновения в части раздельного учета переменных и постоянных затрат является наличие “скачкообразных” (ступенчатых) затрат, которые носят постоянный характер на определенном интервале изменения объема, а затем резко возрастают при каком-либо определенном значении показателя объема производства.
В практике организация учета затрат в разрезе мест возникновения затрат по системе “Директ-костинг” эта проблема решается путем выделения трех групп затрат: абсолютно переменных затрат, Изменяющихся пропорционально изменению объемов производства; относительно переменных (или относительно постоянных) затрат – для отражения “скачкообразных”, ступенчатых затрат; абсолютно постоянных затрат, не изменяющихся с изменением объемов производства или загрузкой мощностей.
При принятии решений в конкретной управленческой ситуации вторая группа затрат присоединяется либо к первой, либо к третьей в зависимости от преследуемой цели.
Учет затрат по системе “Директ-костинг” может быть организован либо только как учет фактических затрат, либо как учет плановых (нормативных) затрат, то есть в данном случае можно говорить об интеграции систем “стандарт-кост” и “директ-костинг” как двух основных характеристик любой из систем управленческого (производственного) учета: по полноте фиксируемых затрат и по оперативности отражения затрат.
Учет затрат по местам их возникновения может быть организован в системе счетов бухгалтерского учета. С этой целью для каждого места возникновения затрат открывается свой синтетический счет. При “директ костинге” по каждому месту возникновения затрат могут открываться два собирательно-распределительных счета для учета накладных расходов, которые по окончании отчетного периода оба счета закрываются.
Необходимо подчеркнуть, что на большинстве западных предприятий ни система учета полных затрат, ни система “Директ-костинг” практически не применяются в чистом виде. Для ориентации предприятия в сложных рыночных условиях нужна разнообразная информация, в том числе и о себестоимости, которая может говорить о процессе интеграции различных аспектов, элементов управленческого (производственного) учета. Примером может служить использование элементов “директ-костинга”, связанных с организацией раздельного учета переменных и постоянных расходов, при учете полной себестоимости.
Учет по местам возникновения затрат может вестись раздельно по переменным и постоянным расходам, что расширяет аналитические и контрольные возможности учета себестоимости, и в то же время на носители затрат могут быть отнесены все затраты периода. Гибкие сметы (бюджеты), по сути дела, являясь одной из характеристик “директ-костинга”, также успешно применяются при учете полных затрат.
В условиях применения “директ-костинг” внутрипроизводственная продукция, работы и услуги относятся на потребляющие их места затрат только в части переменных затрат, а постоянные затраты фиксируются в местах их возникновения, где эта информация и остается, а затем оттуда переносится в подсистему учета результатов за период.
Что касается проблемы распределения затрат высших иерархических уровней (мест возникновения затрат) на низшие с целью более обоснованного их включения затем в себестоимость единицы продукции, то эта проблема – классическая составная часть системы учета и калькулирования полной себестоимости. Однако в центральных функциональных службы предприятия могу иметь место затраты, поведение которых меняется с изменением объемов производства подразделений нижестоящего уровня. Тогда эти затраты при помощи соответствующих ключей распределения (пропорционально соответствующей базе) распределяются дальше как переменные. Но, как правило, несмотря на то, что первичные затраты центральных служб могут носить переменный характер, они принимаются в качестве постоянных вторичных затрат по отношению к расположенным иерархически ниже местам возникновения затрат.
Под учетом по носителям затрат в управленческом (производственном) учете понимают отнесение затрат на их носители. Носители затрат – продукция, работы и услуги предприятия, предназначенные для реализации на рынке.
Учет по носителям затрат как подсистема учета затрат также может быть организован как учет полных или частичных затрат.
При калькулировании себестоимости продукции по системе “Директ-костинг” постоянные затраты не распределяются между носителями. При этом варианте калькулирования исходят из того, что только переменные затраты (прямые затраты и часть накладных расходов) зависят от загрузки мощностей или от объема продукции, а поэтому только они могут быть отнесены на носители затрат.
Таким образом, в себестоимость носителя затрат не включены постоянные расходы. Такой вариант калькулирования без специальных дополнительных расчетов предоставляет нужную в условиях рынка информацию о тенденциях поведения затрат в условиях изменения загрузки или объема.
1.3 Особенности системы “Директ-костинг”. Преимущества и недостатки



Определив сущность “директ-костинга” как системы управленческого (производственного) учета, основанной на делении расходов на постоянные и переменные в зависимости от изменения объема производства, можно выделить присущие ему особенности, положительные моменты и проблемы.
Главной особенностью “директ-костинга”, основанного на классификации расходов на постоянные и переменные, является то, что себестоимость промышленной продукции учитывается и планируется только в части переменных затрат. Постоянные расходы собирают на отдельном счете и с заданной периодичностью списывают непосредственно на дебет счета финансовых результатов, например “Прибыли и убытки”.
Постоянные расходы не включают в расчет себестоимости изделий, а как расходы данного периода списывают с полученной прибыли в течение того периода, в котором они были произведены. По переменным расходам оцениваются также остатки готовой продукции на складах на начало и конец года и незавершенное производство.
При системе “директ-костинг” схема построения отчетов о доходах многоступенчатая (табл. 1). В них содержатся по крайней мере два финансовых показателя: маржинальный доход и прибыль.
Т
аблица
1
|
№ п/п |
Наименование показателей |
Значение |
|
1 2 3 4 5 |
Выручка от реализации продукции (В) Переменные затраты (ПЗ) Маржинальный доход (М) Постоянные расходы (ПР) Прибыль (П)
|
В = 1000 ПЗ=600 М=В-ПЗ=400 ПР=200 П=М-ПР=200 |


Отчет о доходах
не обязательно должен быть двухступенчатым.
Если переменные затраты подразделять
на производственные и непроизводственные,
то данный отчет о доходах будет
трехступенчатым. В этом случае на первом
этапе определяется производственный
маржинальный доход как разность между
объемом реализованной продукции и
переменными производственными затратами.
На втором этапе как разность между
производственными маржинальными и
внепроизводственными переменными
затратами определяется маржинальный
доход в целом по предприятию, на третьем
этапе – прибыль путем вычитания из
общей суммы маржинального дохода суммы
постоянных расходов. Отчеты о доходах
можно изменять подразделением общей
суммы постоянных затрат на два различных
мелких блока. Этот метод можно было бы
назвать “многоблочной системой”.
Важной особенностью “директ-костинга” является то, что благодаря ему можно изучать взаимосвязи и взаимозависимости между объемом производства, затратами (себестоимостью) и прибылью. Наглядно это изображено при помощи графика (рис. 1).
Три главные линии показывают зависимость переменных затрат, постоянных затрат и выручки от объема производства.
Точка К называется точкой критического объема производства (точка рентабельности): объем производства, при котором величина выручки от
реализации продукции равна ее полной себестоимости.
рис.1

Общая
сумма
выручуки
прибыль
от
реализауции
переменные
выручка от
расходы
реализации
полная

себестоимость
убыток
Объем производства
Этот график и многочисленные его модификации используются при анализе и принятии управленческих решении.
К = Зпост / М изд,
где Зпост – величина условно-постоянных затрат в составе текущих издержек
производства отчетного периода;
Мизд – величина маржинального дохода на единицу продукции (разница
между ценой реализации изделия и величиной его себестоимости,
исчисленной по условно-переменным расходам).
Для обеспечения этих аналитических расчетов необходимо вести раздельный учет переменных и постоянных расходов с подсчетом маржинального дохода по изделиям.
Большое значение здесь имеет установление связей и пропорций между затратами и объемами производства. Используя методы корреляционного и регрессивного анализа, математической статистики, графические методы, можно определять формы зависимости затрат от объема производства или загрузки мощностей; строить сметные уравнения, получать информацию о прибыльности или убыточности производства в зависимости от его объема; прогнозировать поведение себестоимости или отдельных видов расходов в зависимости от факторов объема или мощности, то есть решать стратегические задачи управления предприятием.
Система “Директ-костинг” заостряет внимание руководства предприятия на изменении маржинального дохода (суммы покрытия) по предприятию в целом и по различным изделиям. Она позволяет учитывать изделия с большой рентабельностью, чтобы переходить в основном на их выпуск, так как разница между продажной ценой и суммой переменных расходов не затушевывается в результате списания постоянных косвенных расходов на себестоимость конкретных изделий.
За счет сокращения статей себестоимости упрощается ее нормирование, учет, контроль и к тому же улучшается учет и контроль условно-постоянных, накладных расходов, поскольку их сумма за данный конкретный период показывается в отчете о доходах отдельной строкой, что наглядно демонстрирует их влияние на величину прибыли предприятия.
Основное достоинство системы учета сумм покрытия в том, что на основе информации, получаемой в ней, можно принимать различные оперативные решения по управлению предприятием. В первую очередь это касается возможностей проводить эффективную политику цен.
С учетом по системе “Директ-костинг” также связана возможность проведения демпинговой политики, расчета и выбора различных комбинаций цены на товар и объемов его реализации.
Имея учетные данные об ограниченной себестоимости и суммах покрытия (маржинальном доходе) по изделиям, можно решать такие управленческие задачи, как оптимизация ассортимента выпускаемой продукции, целесообразность принятия дополнительного заказа по ценам ниже обычного, производство комплектующих внутри предприятия или наоборот закупка их на стороне, определение оптимального размера партии или серии продукции, выбор и замена оборудования и другие.
Еще одно важное достоинство системы – это то, что ограничение себестоимости продукции лишь переменными расходами позволяет упростить нормирование, планирование, учет и контроль резко уменьшившегося числа статей затрат: себестоимость становится более “обозримой”, а отдельные затраты – лучше контролируемы. Так как чем больше контролируемых объектов, тем сильнее рассеивается внимание между ними, тем слабее становится контроль.
В последнее время наблюдается тенденция роста удельного веса постоянных расходов. Поэтому повышаются требования к обоснованности планирования и нормирования величин этих расходов.
“Директ-костинг” дает возможность оперативнее контролировать постоянные расходы, так как часто в процессе контроля за себестоимостью используются нормативные (стандартные) затраты, или гибкие сметы.
Применяя “стандарт-кост” в “директ-костинге”, устанавливают нормы на постоянные затраты; в основе же контроля гибких смет лежит разделение затрат на постоянные и переменные.
При системе учета полной себестоимости часть нераспределенной суммы накладных расходов переходит из одного периода в другой, поэтому контроль за ними ослабевает. “Директ-костинг” помогает снизить трудоемкость распределения накладных расходов.
Однако организация производственного учета по системе “Директ-костинг” связана с рядом проблем, которые вытекают из особенностей, присущих этой системе:
- возникают трудности при разделении расходов на постоянные и переменные, поскольку чисто постоянных или чисто переменных расходов не так уж много. В основном расходы полупеременные, а значит, возникают трудности в их классификации. Кроме того, в различных условиях одни и те же расходы могут вести себя по-разному;
- противники “директ-костинга” считают, что постоянные расходы также участвуют в производстве данного продукта и, следовательно, должны быть включены в его себестоимость. “Директ-костинг” не дает ответа на вопрос, сколько стоит произведенный продукт, какова его полная себестоимость. Поэтому требуется дополнительное распределение условно-постоянных расходов, когда необходимо знать полную себестоимость готовой продукции или незавершенного производства;
- ведение учета себестоимости по сокращенной номенклатуре статей не
отвечает требованиям нашего учета, одной из главных задач которого до последнего времени являлось составление точных калькуляций;
- необходимо в ценах, устанавливаемых на продукцию предприятия,
обеспечивать покрытие всех издержек предприятия.
- значительное искажение общей суммы прибыли за текущий период, поскольку остатки незавершенного производства оцениваются в разрезе лишь переменных производственных расходов;
- несоответствие (вследствие той же причины) размера действительной себестоимости выпущенной продукции с показателем "сокращенной" себестоимости, исчисленной по статьям переменных затрат, что резко снижает достоверность учета;
- несовпадение результатов финансового учета (и финансовых отчетов) с результатами производственного учета, вследствие чего снижается доверие контролирующих органов - финансового, налогового управления и других - к руководству фирмы, а это ведет к негативным последствиям;
- нерешённость проблемы распределения постоянных (косвенных) расходов, которые также участвуют в процессе производства продукции, а значит, должны быть включены в себестоимость;
- сложность в определении номенклатуры элементов калькулирования или деления расходов на переменные и постоянные.
При системе "директ-костинг" не определяются полные затраты на изготовление продукции. Поэтому эта система не отвечает одной из основных целей отечественного бухгалтерского учета - составлению точных калькуляций. Однако следует иметь в виду, что не существует такой системы калькулирования затрат, которая позволила бы определить себестоимость единицы продукции со стопроцентной точностью. Любое косвенное отнесение затрат на изделие, как бы хорошо оно не было обосновано, искажает фактическую себестоимость, снижает точность калькулирования. С этой точки зрения самой точной является калькуляция по переменным (прямым) расходам, которая получается при калькулировании по системе "директ-костинг". В этом случае в калькуляцию включаются расходы, непосредственно связанные с изготовлением данного изделия. Поэтому критерием точности исчисления себестоимости изделия следует считать не полноту включения затрат в себестоимость, а способ отнесения на то или иное изделие.
Кроме того, постоянные затраты в основной своей массе не связаны с производством данного конкретного изделия, а носят, как правило, периодический характер и связаны с выпуском всего объема продукции предприятия. Поэтому тезис о том, что эти расходы также должны в обязательном порядке включаться в расчет себестоимости изделия, можно подвергнуть критике.
1.4 Схема учетных записей при учете затрат по системе «Direct-costing»
Рассмотрим порядок отражения операций на бухгалтерских счетах в условиях системы «директ-костинг». Прямые производственные затраты с кредита счетов 10, 70, 69 собираются по дебету счета 20 «Основное производство» или 23 «Вспомогательные производства». Переменная часть общепроизводственных расходов с одноименного счета 25 также списывается на счет 20 (23). Затраты, используя какую-либо базу распределения, в дальнейшем будут отнесены на соответствующие носители затрат, т.е. будут участвовать в калькулировании.
Постоянная часть общепроизводственных издержек вместе с коммерческими и общехозяйственными расходами, рассматриваемыми как периодические, при этом варианте не включаются в себестоимость объектов калькулирования (носителей затрат), а списываются на уменьшение выручки от реализации продукции.
Таким образом, применение системы «директ-костинг» на практике предполагает дифференцированный учет общепроизводственных расходов. Их следует разделить на постоянную и переменную части.
К счету 25 создаются два субсчета:
25-1 « Общепроизводственные переменные расходы» и 25-2 «Общепроизводственные постоянные расходы». Оборот счета 25-1 в конце отчетного периода, распределяясь по носителям затрат, списывается на счет 20 «Основное производство». Счет 25-2 закрывается счетом 90 «Продажи»
Порядок учетных записей на счетах при учете затрат по системе «директ-костинг» проиллюстрирован на рис1 Необходимо обратить внимание на то, что остатки незавершенного производства и готовой продукции, т.е. запасы, оцениваются в этом случае по неполной (переменной) себестоимости.
Рис.1
Счет 20 «Основное производство» Счет 43 «Готовая продукция»
Счет
23 «Вспомогательное производство»
Сальдо – незавершенное
Производство по неполной
(переменной) себестоимости
на начало периода
Счета
1
0,16,70,69 Счет
90 «Продажи»
Счет 25-1 «Общепроизводственные Неполная (переменная)
переменные расходы» себестоимость


Готовая
продукция реализованной


продукции
Оценивается по неполной
(переменной) себестоимости
10,16,70,69,68,
1
2,02
и др.
Мажиральный
доход
Сальдо – незавершенное производство Сальдо – готовая продукция на
по неполной (переменной) складе по неполной (переменной)
себестоимости на конец отчетного себестоимости
периода
Счет 25-2 «Общепроизводственные
Постоянные расходы»
Счет 26 «Общехозяйственные
р

асходы»
В конце отчетного периода постоянные расходы списываются
На
себестоимость реализованной продукции
Сальдо -
прибыль
предприятия
Практическая часть
2.1. Практическое значение системы «Direct-costing»
Прежде всего ее применение позволяет оперативно изучать взаимосвязи между объемом производства, затратами и доходом , а следовательно, прогнозировать поведение себестоимости или отдельных видов расходов при изменениях деловой активности.
В современных условиях управляющие должны знать, во что обходится производство отдельных видов продукции, независимо от того, каков размер арендной платы за помещение или какова заработная плата у директора и его помощников. Поэтому одним из принципов бухгалтерского управленческого учета является следующий: самая точная калькуляция не та, в которую после многочисленных и трудоемких расчетов включаются все затраты предприятия, а та, в которую вносятся издержки, непосредственно обеспечивающие выпуск данной продукции (выполнение работы, оказание услуги). Решить эту задачу можно лишь используя систему «директ-костинг».
Калькулирование переменной себестоимости помогает бухгалтеру-аналитику оперативно решать ряд управленческих задач (см. гл. 4), причем расчеты полной себестоимости не дают подобных результатов.
Система «директ-костинг» позволяет проводить эффективную политику ценообразования. В некоторых ситуациях при недостаточной загруженности производственных мощностей привлечение дополнительных заказов может быть оправданно даже в том случае, когда оплата за них не покрывает полностью издержек по их выполнению. Снижать цену на такие заказы можно до определенного предела, называемого «нижней границей цены». За пределами этой границы выполнение подобных заказов нецелесообразно. Рассчитать значение границы позволяет система «директ-костинг». Управленческие решения подобного рода разрушают традиционные для отечественного калькулирования представления о том, что в основе цены непременно должна лежать полная себестоимость продукции.
Наконец, данная система позволяет существенно упростить нормирование, планирование, учет и контроль резко сократившегося числа затрат, в результате себестоимость становится более обозримой, а отдельные статьи затрат — лучше контролируемыми. Система «директ-костинг» находит все более широкое применение в отечественной бухгалтерской практике, в частности в издательской деятельности.
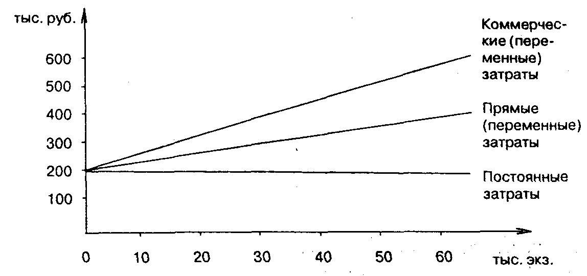
Пример 1. В связи с введением позаказного метода учета затрат и разделением затрат на производственные (счет 20) и периодические (счет 26) у издательств возникает возможность воспользоваться правом прямого отнесения общехозяйственных затрат на реализованную продукцию, т.е. на счет 46 «Реализация продукции (работ, услуг)», минуя косвенное их распределение на счете 20 по заказам. В этом случае на счете 20 числятся только прямые затраты на производство издания (гонорар с отчислениями, полиграфические услуги и бумага), величина которых прямо зависит от тиража издания. При увеличении тиража они изменяются прямо пропорционально (при условии выплаты гонорара потиражно — пропорционально тиражу издания) (рис. А).
Учтенные на счете 20 суммарные прямые (переменные) затраты, отнесенные к тиражу издания, дадут себестоимость одного экземпляра издания.

Рис. А Рост прямых (переменных) затрат в зависимости от тиража

Рис. В Переменные затраты на один экземпляр издания
Эта себестоимость ограничивает снизу цену реализации, так как любая продажа по цене ниже себестоимости, рассчитанной по переменным затратам, дает издательству убыток (отрицательный маржинальный доход) (рис.В).
Периодические затраты, не связанные напрямую с издательским процессом (затраты будут существовать и без наличия производственного процесса), учтенные на счете 26 «Общехозяйственные расходы» (затраты на заработную плату работников издательства, арендные платежи, почтово-те-леграфные и телефонные затраты и т.д.), образуют постоянные затраты, т.е. затраты, не связанные с тиражом издания (рис. С).
Постоянные затраты показывают минимальный уровень суммы маржинального дохода, который необходим издательству для безубыточной работы. Если сумма маржинального дохода (разница между ценой реализации и себестоимостью по переменным затратам, умноженная на количество реализованных экземпляров) меньше суммы постоянных затрат издатель ства, то финансовый резульпитг от выпуска продукции -— убытки, если больше — прибыль.

Рис. С. Зависимость постоянных затрат от тиража издания •

Рис. D. Зависимость удельных затрат от тиража издания
Если поделить общую сумму постоянных затрат на количество реализованных экземпляров, то получим долю постоянных затрат в общей фактической себестоимости одного экземпляра издания.
Как видно из рис. D, зависимость постоянных затрат на один экземпляр обратно пропорциональна тиражу издания. Сложив себестоимость одного экземпляра по переменным и по постоянным затратам, можно получить фактическую себестоимость реализованной продукции. По экономическому смыслу — это минимальная цена реализации, необходимая для безубыточной работы издательства. На практике, поскольку часть тиража реализуется по подписке, к этой сумме добавляется сумма коммерческих расходов на экспедирование, пересылку и распространение подписных экземпляров. Они также являются пе ременными расходами, так как зависят от тарифов на обработку одного подписного экземпляра.

Рис. E. Зависимость себестоимости подписных экземпляров от тиража
Таким образом, фактическая себестоимость одного подписного экземпляра отличается от фактической себестоимости экземпляров, реализуемых в розницу, на сумму коммерческих расходов. Поделив сумму коммерческих расходов на количество подписанных номеров, получают себестоимость одного экземпляра по коммерческим расходам и, сложив полученную величину с суммой фактической себестоимости, определяют полную себестоимость подписных экземпляров (рис. E).
Сумма прямых и коммерческих затрат дает минимальную цену реализации издания по подписке («нижнюю границу цены»), а добавив к ней постоянную составляющую, можно выйти на полную фактическую себестоимость издания по подписке, гарантирующую безубыточную работу издательства.
В связи с тем что у большинства периодических изданий часть продукции распространяется по подписке, можно построить график поступления выручки от выпущенной продукции и сравнить его с затратами по периодам. Это позволит спрогнозировать финансовые результаты деятельности издательства на отчетный период. Кроме того, по запланированной выручке от реализации можно спрогнозировать денежные потоки издательства и определить обеспеченность издательства оборотными активами.
Таким образом, использование метода «директ-костинг» в издательской деятельности позволяет иметь информацию о прямых переменных затратах на единицу издания, о коммерческих переменных затратах на единицу издания и об общей сумме постоянных затрат. Полученная информация даст возможность определить:
• минимальную цену реализации розничной продукции;
• минимальную цену реализации продукции по подписке;
• минимальную цену для безубыточной работы
• точку безубыточности по тиражу
• финансовые показатели деятельности издательства и т.д.
Пример 2. Предприятием производятся два вида продукции — А и Б. Прямые затраты на производство продукции А составляют 170 руб., в том числе прямая заработная плата — 85 руб. Прямые затраты на производство продукции Б — 340 руб., из них заработная плата — 170 руб. За отчетный период дебетовый оборот по счету 25 «Общепроизводственные расходы» составляет 153 руб., по счету 26 «Общехозяйственные расходы» — 204 руб. Для упрощения расчета предположим, что общепроизводственные расходы
состоят только из переменной части. Допустим также, что: а) половина всех произведенных за отчетный период затрат материализовалась в готовой продукции, а вторая часть осталась в виде незавершенного производства, причем за отчетный период произведено 17 ед. готовой продукции А и 26 ед. изделия Б; б) вся произведенная продукция реализована. Выручка от реализации составила 680 руб.
Учет затрат по методу «директ-костинг» показан на рис. 1. К счету 20 открыты два субсчета — для калькулирования себестоимости каждого вида продукции — 20-А и 20-Б. Прямые затраты отнесены непосредственно на носители затрат: 170 руб. — на продукцию А и 340 руб. — на продукцию Б. Затраты, собранные на счете 25, распределяются между продуктами А и Б пропорционально прямой заработной плате, т.е. в пропорции 1 : 2. Таким образом, из общей суммы общепроизводственных затрат в 153 руб. 51 руб. отнесено на продукцию А, 102 руб. — на продукцию Б.
Общехозяйственные расходы как периодические в сумме 204 руб. прямо списаны на себестоимость реализованной продукции.
Видно, что на производство продукции А в отчетном периоде затрачено 221 руб. Половина из них (110.5 руб.) — себестоимость готовой продукции. По условию за отчетный период произведено 17 ед. продукции А. Следовательно, себестоимость одной единицы — 6,5 руб. В незавершенном производстве останется продукции А на сумму 110,5 руб.
Аналогичные расчеты по изделию Б позволяют оценить готовую продукцию (26 ед.) в 221 руб. Следовательно, себестоимость единицы изделия Б составляет 221: 26 = 8,5 руб. Незавершенное производство по изделиям Б оценивается в 221 руб.
Себестоимость всей готовой продукции — 331,5руб. (110,5 + 221). Это переменная себестоимость. На счете 90 формируется первый финансовый показатель — маржинальный доход; в данном случае он равен 348,5 руб. (680 – 331,5). После списания общехозяйственных расходов на счете 90 выводится второй показатель — прибыль, т.е. разница между маржинальным доходом и постоянными издержками. В приведенном примере операционная прибыль равна:
348,5-204 =144,5 руб.
Поскольку готовой продукции на складе нет, запасы будут представлены лишь незавершенным производством. Его общий размер составляет:
110,5 + 221 =331,5 руб.
На рис. 2 представлен порядок учетных записей при калькулировании полной себестоимости. Отличие от предыдущей схемы состоит в том, что в калькулировании участвуют все расходы, включая и постоянные. Таким образом, между продуктами А и Б помимо общепроизводственных будут распределяться и общехозяйственные расходы. База распределения — прямая заработная плата, пропорция распределения, как и прежде, составляет 1 : 2. Тогда на продукцию А будет отнесено 68 руб. общехозяйственных расходов, на продукцию Б — 136 руб. Дебетовый оборот по счету 20-А с учетом прямых и общепроизводственных расходов составит 289 руб.; из них половина — стоимость готовой продукции, а половина остается в незавершенном производстве. Следовательно, 17 ед. готовой продукции А оценивается в 144,5 руб., т.е. себестоимость единицы — 8,5 руб.
По продукции Б имеем: изготовление 26 ед. обошлось предприятию в 289 руб., т.е. себестоимость единицы составляет:
289: 26= 11,1руб.
Себестоимость всей готовой продукции — 433,5 руб. (144,5 + 289). Следовательно, операционная прибыль составит:
680-433,5 =246,5 руб.
Оценим запасы незавершенного производства. По продукции А их стоимость равна 144,5 руб., по продукции Б — 289 руб. Отсюда себестоимость запасов составила 433,5 руб.
Результаты выполненных расчетов сведены в табл. 1
Таблица 1
Оценка себестоимости, прибыли и запасов при учете переменных (метод «директ-костинг») и полных затрат, руб.
|
Показатели |
Учет переменных затрат |
Учет полных затрат |
|
Себестоимость единицы продукции: |
||
|
А |
6,5 |
8,5 |
|
Б |
8,5 |
11,1 |
|
Оценка запасов |
331,5 |
433,5 |
|
Прибыль |
144,5 |
246,5 |
Сравнение полученных результатов позволяет заключить: себестоимость единицы продукции, рассчитанная по методу «директ-костинг», ниже полной себестоимости (по продукции А — на 2 руб., по продукции Б — на 2,6 руб.). В результате при калькулировании неполной себестоимости на 102 руб. ниже и оценка запасов, чем при методе учета полных затрат (433,5 – 331,5). Поэтому себестоимость реализованной продукции оказывается выше, а следовательно, прибыль меньше при методе учета переменных затрат на те же 102 руб. (246,5-144,5).
Выбранный метод калькулирования влияет не только на величину себестоимости продукции, но и на форму отчета о прибылях и убытках.
В отчете о прибылях и убытках, составленном при использовании маржинального подхода, внимание фокусируется на разделении затрат на постоянную и переменную части. При этом непременно формируется показатель маржинального дохода. С учетом цифрового примера отчет выглядит следующим образом (табл. 2).
Таблица 2
Отчет о прибылях и убытках (составлен при использовании метода «директ-костииг»)
|
№ строки |
Показатели |
Сумма, руб. |
|
1 |
Выручка от реализации продукции |
680 |
|
2 |
Переменная часть себестоимости реализованной продукции |
331,5 |
|
3 |
Маржинальный доход (стр. 1 - стр. 2) |
348,5 |
|
4 |
Постоянные затраты |
204 |
|
5 |
Операционная прибыль (стр. 3 - стр. 4) |
144,5 |
В отчете, составленном по результатам калькулирования полной себестоимости, показатель маржинального дохода не рассчитывается (табл. 3).
Таблица 3
Отчет о прибылях и убытках (составлен по результатам калькулирования полной себестоимости продукции)
|
№ строки |
Показатели |
Сумма, руб. |
|
1 |
Выручка от реализации продукции |
680 |
|
2 |
Себестоимость реализованной продукции |
433,5 |
|
3 |
Операционная прибыль (стр. 1 - стр. 2) |
246,5 |
Пример 3. Допустим, что в 2001 году образовательное учреждение планирует вести платное обучение по двум образовательным программам. Программа А - получение второго высшего образования. Она рассчитана на 2000 академических часов в течение двух лет. Программа Б - профессиональная подготовка и повышение квалификации, рассчитана на 240 академических часов. По программе А планируется обучать 250 человек, по программе В - 100 человек.
А теперь нам нужно решить, какая из этих образовательных услуг окажется более рентабельной, а проще говоря, выгодной для образовательной организации.
Сначала воспользуемся способом калькулирования полной себестоимости этих услуг.
Планируемые затраты разделим на прямые (они совпадают с переменными расходами, которые зависят от численности учащихся) и косвенные (условно совпадают с постоянными расходами).
К прямым расходам относятся расходы на оплату труда педагогов. Рассчитаем эти расходы.
До конца текущего года по программе А в 10 группах по 25 человек предполагается провести всего 10 000 академических часов занятий (1000 ч х 10 групп). По программе Б - 960 академических часов (240 ч х 4 группы). Ставка оплаты преподавательского труда - 100 руб. в час. Поэтому расходы на оплату труда педагогов по программе А равны 1 000 000 руб. (100 руб. х 10 000 ч), по программе Б - 96 000 руб. (100 руб. х 960 ч).
Далее рассчитаем начисления на заработную плату педагогов (единый социальный налог по ставке 35,6% и взносы в ФСС России от несчастных случаев и профзаболеваний по ставке 0,2%). Эти затраты по программе А составят 358 000 руб. (1 000 000 руб. х (35,6% + 0,2%)), по программе Б - 34 368 руб. (96 000 руб. х (35,6% + 0,2%)).
В группу прямых расходов входят и различные материалы, необходимые для проведения учебных занятий (мел, бумага, расходные материалы для ксерокса). Предположим, что в год на одного учащегося полагается расходных материалов не более чем на 800 руб. Тогда данные расходы по программе А - 200 000 руб. (800 руб. х 250 чел.), по программе Б - 80 000 руб. (800 руб. х 100 чел.).
Далее рассчитаем расходы на учебную литературу и пособия, которые также относятся к прямым (переменным) расходам.
Если каждому учащемуся по программе А в течение года необходимо 16 учебников (примерная стоимость одного учебника - 75 руб.), а по программе В - 2 учебника, то сумма этих расходов по первой программе составит 300 000 руб. (75 руб. х 16 шт. х 250 чел.), по второй программе - 15 000 руб. (75 руб. х 2 шт. х 100 чел.).
Косвенные (постоянные) расходы могут быть следующими.
Во-первых, это заработная плата администрации и обслуживающего персонала. В нашем примере расходы по данной статье равны 25 процентам от прямой преподавательской заработной платы. По программе А они составляют 250 000 руб. (1 000 000 руб. х 25%); по программе Б - 24 000 руб. (96 000 руб. х 25%). Всего 274 000 руб.
Начисления на заработную плату руководства и персонала по программе А будут равны 89 500 руб. (250 000 руб. х (35,6% + 0,2%)), а по программе Б - 8592 руб. х (24 000 руб. х (35,6% + 0,2%)). Всего - 98 092 руб.
Предположим, что в нашем примере транспортные расходы составили 80 000 руб., стоимость услуг связи - 30 000 руб., коммунальные платежи - 50 000 руб. Распределив эти суммы между программами А и Б пропорционально численности обучающихся, получим, что на программу А приходится соответственно 57 143 руб. ((80 000 руб. : 350 чел.) х 250 чел.), 21 429 руб. ((30 000 руб. : 350 чел.) х 250 чел.), 35 714 руб. ((50 000 руб. : 350 чел.) х 250 чел.), а на программу Б - 22 857 руб. ((80 000 руб. : 350 чел.) х 100 чел.), 8571 руб. ((30 000 руб. : 350 чел.) х 100 чел.), 14 286 руб. ((50 000 руб. : 350 чел.) х 100 чел.) из общей стоимости транспортных услуг, услуг связи, и коммунальных услуг.
На основе этих данных составим калькуляцию платной образовательной деятельности на 2001 год.
———————————————————————————————————————————————————————————————————————
| Статьи расходов | Прямые (переменные) | Всего |
| | расходы | по группе |
| |———————————————————————————————| расходов |
| | программа А | программа Б | |
| |(10 групп по | (4 группы по | |
| | 1000 часов) | 240 часов) | |
|———————————————————————————————————————————————————————————————————————|
| Прямые (переменные) расходы |
|———————————————————————————————————————————————————————————————————————|
|Оплата труда педагоги-| | | |
|ческого персонала |1 000 000 руб.| 96 000 руб. |1 096 000 руб.|
|————————————————————————|——————————————|————————————————|——————————————|
|Начисления на оплату| | | |
|труда педагогического| | | |
|персонала | 358 000 руб. | 34 368 руб. | 392 368 руб.|
|————————————————————————|——————————————|————————————————|——————————————|
|Предметы снабжения и| | | |
|расходные материалы | 200 000 руб. | 80 000 руб. | 280 000 руб.|
|————————————————————————|——————————————|————————————————|——————————————|
|Прочие текущие расходы| | | |
|(обеспечение учебниками| | | |
|и учебными пособиями) | 300 000 руб. | 15 000 руб. | 315 000 руб.|
|————————————————————————|——————————————|————————————————|——————————————|
|Всего прямые расходы |1 880 000 руб.| 225 368 руб. |2 083 368 руб.|
|———————————————————————————————————————————————————————————————————————|
| Косвенные (постоянные) расходы |
|———————————————————————————————————————————————————————————————————————|
|Оплата труда персонала| | | |
|сопровождения | 250 000 руб. | 24 000 руб. | 274 000 руб.|
|————————————————————————|——————————————|————————————————|——————————————|
|Начисления на оплату| | | |
|труда персонала сопрово-| | | |
|ждения | 89 500 руб. | 8592 руб. | 98 092 руб.|
|————————————————————————|——————————————|————————————————|——————————————|
|Оплата транспортных ус-| | | |
|луг | 57 143 руб. | 22 857 руб. | 80 000 руб.|
|————————————————————————|——————————————|————————————————|——————————————|
|Оплата услуг связи | 21 429 руб. | 8571 руб. | 30 000 руб.|
|————————————————————————|——————————————|————————————————|——————————————|
|Оплата коммунальных ус-| | | |
|луг | 35 714 руб. | 14 286 руб. | 50 000 руб.|
|————————————————————————|——————————————|————————————————|——————————————|
|Всего косвенные расходы | 453 786 руб. | 78 306 руб. | 532 092 руб.|
|————————————————————————|——————————————|————————————————|——————————————|
|Итого расходы |2 311 786 руб.| 303 674 руб. |2 615 460 руб.|
|————————————————————————|——————————————|————————————————|——————————————|
|Планируемая числен-| | | |
|ность контингента | 250 чел. | 100 чел. | 350 чел. |
|————————————————————————|——————————————|————————————————|——————————————|
|Фактическая стоимость| | | |
|(себестоимость) образо-| | | |
|вательной услуги | 9247 руб. | 3037 руб. | |
———————————————————————————————————————————————————————————————————————
Затем рассчитаем финансовый результат и рентабельность наших двух образовательных услуг. Для этого используем результат предыдущего расчета, а также будем исходить из того, что наши образовательные услуги будут стоить 10 000 и 4418 руб. соответственно.
———————————————————————————————————————————————————————————————————————
| Показатели | Программа А | Программа Б | Всего |
|——————————————————————————|——————————————|——————————————|——————————————|
|Цена одной услуги | 10 000 руб. | 4418 руб. | |
|——————————————————————————|——————————————|——————————————|——————————————|
|Число оказанных услуг | 250 | 100 | 350 |
|——————————————————————————|——————————————|——————————————|——————————————|
|Выручка от реализации| | | |
|услуг (стр.1 х стр.2) |2 500 000 руб.| 441 800 руб. |2 941 800 руб.|
|——————————————————————————|——————————————|——————————————|——————————————|
|Фактическая себестои-| | | |
|мость оказанных услуг |2 311 786 руб.| 303 674 руб. |2 615 460 руб.|
|——————————————————————————|——————————————|——————————————|——————————————|
|Прибыль | 188 214 руб.| 138 126 руб. | 326 340 руб.|
|——————————————————————————|——————————————|——————————————|——————————————|
|Рентабельность услуг | | | |
|((стр. 5 : стр. 4) х 100%)| 8,14 | 45,48 | 12,48 |
———————————————————————————————————————————————————————————————————————
А теперь решим эту задачу способом "директ-костинг". Напомним, что "директ-костинг" делит издержки организации на переменные и постоянные и что в нашем примере эти две группы затрат совпадают с прямыми и косвенными затратами.
В следующей таблице представлен отчет о деятельности образовательной организации за тот же анализируемый период, но составленный способом "директ-костинг".
———————————————————————————————————————————————————————————————————————
| Показатели | Программа А | Программа Б| Всего |
|——————————————————————————|——————————————|—————————————|———————————————|
|Выручка от реализации ус-| | | |
|луг |2 500 000 руб.| 441 800 руб.| 2 941 800 руб.|
|——————————————————————————|——————————————|—————————————|———————————————|
|Переменная часть себе-| | | |
|стоимости образовательных| | | |
|услуг |1 858 000 руб.| 225 368 руб.| 2 083 368 руб.|
|——————————————————————————|——————————————|—————————————|———————————————|
|Маржинальный доход (стр.1| | | |
|- стр.2) | 642 000 руб. | 216 432 руб.| 858 432 руб.|
|——————————————————————————|——————————————|—————————————|———————————————|
|Рентабельность образо-| | | |
|вательных услуг ((стр.3 :| | | |
|стр.2) х 100%) | 34,55 | 96,03 | 41,20 |
|——————————————————————————|——————————————|—————————————|———————————————|
|Постоянные затраты | | | 532 092 руб.|
|——————————————————————————|——————————————|—————————————|———————————————|
|Операционная прибыль | | | 326 340 руб.|
———————————————————————————————————————————————————————————————————————
Сравним рентабельность, рассчитанную двумя этими способами. Калькулирование полной себестоимости приводит нас к выводу, что рентабельность второй программы в шесть раз (45,48 : 8,14) выше первой. А по методу "директ-костинг" получается, что рентабельность образовательной программы В выше всего лишь в два раза (96,02 : 48,01). Заметим, что по последнему методу рентабельность рассчитывается исходя из величин, очищенных от постоянных издержек организации. Следовательно, она характеризует непосредственные расходы по оказанию конкретных образовательных услуг. Поэтому расчеты способом "директ-костинг" являются более предпочтительными при решении управленческих задач.
Заключение
Решая, какой метод учета и калькуляции себестоимости стоит применять, следует помнить, что не бывает универсальных вариантов. Однако как показано в этой работе в некоторых ситуациях «direct-costing» имеет ряд преимуществ. Так как, он определяет себестоимость только по переменным затратам, а постоянные затраты списывает из прибыли того периода, в котором они были произведены, то при его использовании не возникает несоответствий истинной прибыли предприятия и изложенных на бумаге расчетов.
Наличие математического и программного обеспечения и средств вычислительной техники, расширение сферы их применения являются материальной предпосылкой практического использования системы «direct-costing» на отечественных предприятиях.
Список использованной литературы:
Вахрушина М.А. Бухгалтерский управленческий учет. М:«ФинСтатИнформ», 2000г.
Васин Ф.П. Управленческий учет. Финансовая академия при правительстве РФ, Москва 1997г.;
3. Николаева С. А.Особенности учета затрат в условиях рынка: система “Директ –
костинг”. М.: Финансы и статистика, 1993;
4. Шеремет А.Д. Управленческий учет. М.: ФКБ-ПРЕСС, 1999г.;
5. Хорнгрен Э.С., Ван Бреда М.Д. Бухгалтерский учет: управленческий аспект // пер.с англ./ Под ред. Соколова Я.В. М.: Финансы и статистика, 1995г.;
6. Лекции.