Мотострелковый танковый батальон и артиллерийский дивизион
«УТВЕРЖДАЮ»
Начальник военной кафедры Полковник
_____________В .Матвейчук
«___»______________199 г.
Методическая разработка рассмотрена и обсуждена на заседании тактического цикла Протокол №__________ от
«___»________________199 г.
МЕТОДИЧЕСКАЯ РАЗРАБОТКА
по общей тактике (БУС 030403 и ВУС.030600)
Тема № 6. ОРГАНИЗАЦИЯ, ВООРУЖЕНИЕ И БОЕВАЯ ТЕХНИКА МОТОСТРЕЛКОВОГО ТАНКОВОГО БАТАЛЬОНА И АРТИЛЛЕРИЙСКОГО ДИВИЗИОНА
Цель занятия:
• знать организацию мотострелкового, танкового батальона, артиллерийского дивизиона, противотанкового артиллерийского дивизиона и организацию артиллерии мотострелкового полка, тактико-технические характеристики основных образцов вооружения;
• воспитывать у студентов гордость и любовь к своему роду войск, веру в надежность боевой техники и вооружения.
Время: 2 часа
Метод проведения: лекция
Материальное обеспечение: схемы, плакаты.
Литература: уч-к Тактика (б-он, рота), стр. 43-51.
Сборник организаций подразделений Сух. Войск
ОРГАНИЗАЦИОННО-МЕТОДИЧЕСКИЕ УКАЗАНИЯ
Данная лекция дает основные данные по организации и вооружению мотострелкового, танкового батальона, артиллерийского дивизиона артиллерийского полка, противотанкового дивизиона и организации и вооружения артиллерии мотострелкового полка. Начинать лекцию с четкого, неторопливого объявления темы, цели и вопросов, чтобы все обучаемые смогли их записать. Тему лекции можно записать на доске. Рекомендованную литературу сообщить по окончании чтения лекции. В конце лекции сделать обобщающие выводы, и оставить 3-5 минут для ответов на вопросы. На случай, если у аудитории не возникнет вопросов преподаватель должен всегда иметь наготове необходимый материал, которым мог бы завершить лекцию, подвести итоги Преподаватель имеет право ответы на вопросы перенести на следующую лекцию или консультацию.
При ответах на вопросы не следует повторять дословно положения, о которых уже говорилось в лекции, лучше дать им дополнительные доказательства и обоснования или, в зависимости от характера вопросы, сообщить новый материал. Материал лекции следует излагать убежденно, уверенно. В ходе лекции непрерывно поддерживать контакт с обучаемыми, наблюдать за реакцией аудитории на излагаемый материал. Оценивать, как' доходит высказанные мысли до сознания обучаемых, успевают ли конспектировать
По ходу лекции для повышения активности, внимательности аудитории, ставить вопросы рассматриваемые в лекции. Особое внимание обращать на культуру речи, избегать громоздких оборотов речи, слов паразитов. В тоне чтения лекции должна быть уверенность и убежденность. В лекции можно использовать все три темпа подачи материала; диктантным (медленный), конспективный (нормальные) и иллюстративный (беглый), но основная часть материала должна быть изложена в конспективном темпе. Положения, подлежащие записи, следует выделять некоторым замедлением темпа речи и интонацией голоса и только в отдельных случаях прибегать к диктовке. На лекции надо умело пользоваться классной доской, плакатами и другими наглядными пособиями. В течение часа использовать не более двух-трех схем. Схемы, которые понадобятся во второй части лекции, следует вывешивать во время перерыва, а не заранее, чтобы не отвлекать обучаемых обилием материала. Прежде чем войти в аудиторию, преподаватель должен обратить внимание на свой внешний вид и помнить, что он не только учит, но и воспитывает обучаемых. Лекцию надо читать преимущественно стоя на одном месте за кафедрой, выходя из-за нее лишь при необходимости, например, чтобы объяснить плакат или сделать рисунок на доске. В отдельных случаях, когда обучаемые что-либо зарисовывают или записывают с плакатов, полезно два-три раза пройти по аудитории с целью контроля.
Преподаватель во время лекции должен держать себя уверенно с достоинством, но скромно, не делать лишних жестов и движений, таких, например, как частое исправление своей прически, периодическое поднимание к глазам руки с часами, опускания рук в карманы и т.д. Преподаватель обязан периодически проводить контрольный опрос обучаемых перед началом лекций по пройденной части теоретического курса, при необходимости просматривать конспекты обучаемых и вызывать их на консультацию. Хорошо подготовленная лекция - плод большой преподавательской работы лектора.
Примечание:
1. Для студентов БУС 030403 - организацию противотанкового артиллерийского дивизиона не давать;
2. При изложении организации мотострелкового батальона дать отличие МСБ от БТР, а также отличие танкового батальона МСП от танкового батальона танкового полка.
УЧЕБНЫЕ ВОПРОСЫ И РАСЧЕТ ВРЕМЕНИ
ВВЕДЕНИЕ
1. Организация и вооружение и болевая техника мотострелкового батальона
2. Организация и вооружение и боевая техника танкового батальона
3. Организация и вооружение и боевая техника артиллерийского дивизиона (только для ВУ 010403)
4. Организация и вооружение отдельного противотанкового артиллерийского
дивизиона (только для ВУС 030600).
ЗАКЛЮЧЕНИЕ.
ВВЕДЕНИЕ
Важнейший показатель боевого могущества Вооруженных Сил РФ – оснащение их всеми современными средствами вооруженной борьбы, которые обеспечивают надежную защиты страны.
Решая вопросы совершенствования оборонной мощи страны, боевой готовности Вооруженных Сил, правительство в полном объеме учитывает политические, экономические, духовные и военные ресурсы государства. В настоящее время Вооруженные Силы оснащены самыми современными видами оружия и боевой техники, постоянно улучшается их организационная структура, непрерывно совершенствуются военное искусство, теория и практика обучения и воспитания войск.
Значительную ударную силу представляет бронетанковая техника. Танки, бронетранспортеры, боевые машины пехоты и другие образцы имеют надежную бронзащиту, мощное скорострельное вооружение, эффективные приборы для навигации и ведения прицельного огня, повышенную подвижность, маневренность и эксплуатационный ресурс. Большой огневой мощью обладают мотострелковые и танковые части, что достигнуто за счет массового оснащения личного состава автоматическим стрелковым оружием, различными противотанковыми системами, другим вооружением.
Особенности конструкции и тактико-технические характеристики отечественных образцов боевой техники дают наглядное представление об уровне развития военного дела, который достигнут в современных условиях. Они свидетельствуют также о той сумме требований, которые предъявляются к личному составу, овладевшему этой техникой.
Необходимо знать и постоянно помнить, что в вооруженной борьбе техника лишь определяет возможность достижения победы. Человек же превращает эту возможность в действительность.
ОРГАНИЗАЦИЯ, ВООРУЖЕНИЕ И БОЕВАЯ ТЕХНИКА
МОТОСТРЕЛКОВОГО БАТАЛЬОНА НА
а)БТР
б)БМП
Оснащенный современным вооружением, боевой и другой техникой, мотострелковый батальон обладает мощным огнем, высокой маневренностью, броневой защитой и устойчивостью к воздействию оружия массового поражения противника; он может совершать марш на большие расстояния, быстро использовать результаты ядерных ударов, успешно вести наступление и удерживать занимаемый район в обороне на различной местности и при любой погоде, а также уничтожить воздушные десанты, самолеты, вертолеты и другие низколетящие цели противника. Мотострелковый батальон может быть оснащен бронетранспортерами или боевыми машинами пехоты. Мотострелковый батальон на БТР состоит:
из управления батальона, штаба
Боевые подразделения:
• три мотострелковые роты;
• минометная батарея;
• противотанковый взвод;
• гранатометный взвод;
• зенитно-ракетный взвод.
Подразделения обслуживания и обеспечения:
• взвод связи;
• взвод обеспечения;
• медицинский пункт батальона
Для преподавателя:
• показать схему мотострелкового батальона, дать время на вычерчивание схемы.
• рассказать предназначение и состав подразделений батальона
Командование батальона включает командира батальона, его заместителя по работе с личным составом и заместителя по вооружению.
Штаб батальона включает начальника штаба, он же заместитель командира батальона, начальника связи батальона, он же командир взвода связи, химика-инструктора (прапорщик) и писаря.
Взвод связи предназначен для организации радио и проводной связи в подразделениях батальона.
Взвод связи состоит из командирского бронетранспортера (командир отделения - он же старший радиотелефонист, водитель бронетранспортера) и двух радиоотделений, каждое в составе командира отделения, старшего радиомастера радиостанции малой мощности в первом отделении и старшего радиотелефониста во втором отделении, водителя бронетранспортера-электромеханика в первом отделении и водителя бронетранспортера во втором отделении.
Всего во взводе связи личного состава 13 человек, командирских бронетранспортеров - 1, колесных бронетранспортеров - 2, радиостанций - 22, кабеля - 8 км.
Мотострелковая рота - тактическое подразделение, выполняет задачи, как правило, в составе МСБ, но может выполнять задачи и самостоятельно в разведке и охранении, в качестве тактического воздушного десанта или специального отряда в тылу противника.
Мотострелковая рота на БТР состоит из управления роты, трех мотострелковых взводов (в каждом по три мотострелковых отделения) и противотанково-пулеметного взвода, состоящего из отделения противотанковых управляемых ракет (ПТУР) и пулеметного отделения. В роте имеется 9 РПГ-7.
Минометная батарея - огневое и тактическое подразделение артиллерии. Батарея предназначена для подавления и уничтожения живой силы и огневых средств расположенных открыто, в окопах и блиндажах, на обратных скатах высот и оврагов. В зависимости от характера цели продолжительности ведения огня и расхода снарядов может подавить живую силу на участке 2-4 га и вести заградительный огонь на фронте до 400 м.
Минометная батарея состоит: из управления батареи (командир батареи, заместитель по политической части, старшина, санинструктор, старший водитель), взвода управления (командир взвода, отделение разведки, отделения связи), двух огневых взводов (в каждом по четыре 120-мм миномета). Всего в минометной батарее: личного состава - 66 чел., радиостанций - 4, минометов -8, автотягачей - 8, кабеля - 4 км.
Противотанковый взвод - огневое подразделение артиллерии, предназначенное для уничтожения танков и других бронированных машин противника. Может применяться также для уничтожения других огневых средств противника, в том числе находящихся в фортификационных сооружениях.
Противотанковый взвод состоит из управления взвода (командир взвода, заместитель командира взвода, 2 наводчика пулемета БТР, старший водитель БТР, водитель БТР), трех отделений ПТУР и трех гранатометных отделений
Отделение ПТУР состоит из командира отделения (он же старший оператор), старшего оператора, двух операторов, пулеметчика БРТ, старшего водителя БТР и водителя. Пусковых комплексов 9К111-2, БТР.
Гранатометное отделение состоит из командира отделения, командира гранатомета, наводчика гранатомета, двух орудийных номеров. Гранатометов СПГ-9М-1.
Всего в противотанковом взводе личного состава 42 чел., пусковых установок ПТУР 9К11-6, гранатометов СПГ-9М - 3, БТР - 5.
Гранатометный взвод - мощное огневое средство мотострелкового батальона. Предназначается для поражения живой силы и огневых средств противника, расположенных вне укрытий, в открытых окопах (траншеях) и за складками местности.
Гранатометный взвод состоит из командира взвода, заместителя командира взвода, тех отделений (в каждом командир отделения, 2 старших стрелка-наводчика гранатомета, 2 стрелка-гранатометчика, пулеметчик БТР, старший водитель или водитель).
Всего во взводе личного состава - 26 чел., 30-мм автоматических гранатометов АГС-17-6, БТР - 3.
Зенитный ракетный взвод предназначен для уничтожения самолетов, вертолетов, беспилотных средств и воздушных десантов противника на малых и средних высотах.
Взвод состоит из командира взвода, заместителя командира взвода (он же командир отделения), трех отделений (в каждом командир отделения, 2 стрелка-зенитчика, пулеметчик БТР, старший водитель БТР и водитель).
Всего во взводе личного состава - 16 чел., пусковых механизмов 9П 58М «Стрела-2»-9, БТР-3.
Медицинский пункт батальона предназначен для сбора раненых в батальоне и эвакуацию их, а также для оказания до врачебной помощи. Взвод состоит из начальника медицинского пункта (прапорщик), санинструктора, 2 санитаров, старшего водителя, 3 водителей-санитаров.
Всего имеется: личного состава - 8 чел., колесных транспортёров - 3, санитарный автомобиль, автоприцеп 1-АП-1,5.
Взвод обеспечения предназначен для бесперебойного материально-технического обеспечения, обслуживания текущего ремонта боевой и транспортной техники батальона,
Взвод состоит из командира взвода (прапорщик) и заместителя командира взвода (он же командир отделения), из отделения технического обслуживания, автомобильного отделения, хозяйственного отделения.
Отделение технического обслуживания состоит из командира отделения, старшего автоэлектромеханика-аккумуляторщика, автослесаря (монтажника), водителя-автослесаря.
В отделении имеется: личного состава - 4 чел, мастерская техобслуживания автомобилей МТО-АТ-1, ЗИЛ-131, ЗИЛ-157 под МТО-АТ-1.


Автомобильное отделение состоит из командира отделения (он же заместитель командира взвода), 3 старших водителей и 5 водителей. В отделении имеется: личного состава - 9 чёл., грузовых автомобилей ГАЗ-66 под личные вещи и имущество роты - 3; грузовых автомобилей ГАЗ-66 под кухни и продукты - 4; грузовых автомобилей Урал-375 под боеприпасы - 2. Командир автомобильного отделения является заместителем командира взвода обеспечения.
Хозяйственное отделение состоит из командира отделения, старшего повара и 3 поваров. В отделении имеется: личного состава - 5 чел., кухонь прицепных - 4, автомобильных прицепов 1-АП-1,5, под кухни - 4, кухня переносная КС-75.
Всего во взводе обеспечения личного состава - 19 чел., автомобилей грузовых- 10.
Всего в мотострелковом батальоне на БТР имеется личного состава -530 чел., минометов 120-мм - 8, АГС-17 - 6, СПГ-9 - 3, ПТУР -15, зенитных пусковых механизмов «Стрела-2» - 9, бронетранспортеров - 49, ПК - 9, РПК -27, автоматов - 352, РПГ - 33, автомобилей грузовых - 20.
МОТОСТРЕЛКОВЫЙ БАТАЛЬОН НА БОЕВЫХ МАШИНАХ ПЕХОТЫ (БМП)
Состоит из:
• управления батальона;
• штаба;
• взвода связи;
• трех мотострелковых рот;
• минометной батареи;
• гранатометного взвода;
• медицинского пункта;
• взвода обеспечения.
Организационная структура мотострелкового батальона на БМП примерно такая, как и на БТР, но вместо БТР подразделения вооружена боевыми машинами пехоты. В мотострелковом батальоне на БМП нет противотанкового взвода. Кроме того, в мотострелковом батальоне, роте на БМП вместо противотанково-пулеметного взвода включен пулеметный взвод, состоящий из двух пулеметных отделений по три ротных пулемета в каждом. Всего в роте имеется личного состава - 110 чел, БМТН - 12, РПГ - 9, автоматов - 63, ПК - 6, РПК - 9. Всего в мотострелковом батальоне на БМП личного состава 498 чел., минометов 120-мм - 8, АГС-17 - 6, Зенитных пусковых механизмов «Стрела-2М» - 9, БМП-1 - 42, БМП-1К - 1, ПК - 18, РПК - 27, автоматов - 315, РПГ-7-39.
ВЫВОД. Дальнейшее совершенствование вооружения и боевой техники, организационно-штатной структуры подразделений повлекло за собой изменение характера общевойскового боя и способов ведения боевых действий. Оснащение войск ядерным оружием и другими видами новой боевой техники позволяет наносить удары с ходу и вести бой в высоких темпах.
Все это требует от командиров и штабов творческого применения приемов и способов решения боевых задач, умелой организации и ведения боя.
Мотострелковый батальон, имея современное вооружение и боевые машины, способен вести упорные и длительные бои, решать различные тактические задачи.



Основные данные БМП и БТР
-
Показатели
БМП-1
БМП-2
БМП-З
БТР-70
БТР-80
Масса, т.
13
14,5
16,0
11,5
13+3%
Экипаж (десант), чел.
3(8)
3(7)
5(4)
2(8)
2(8)
Вооружение:
73мм пупка "Гром"
1
-
-
-
-
30мм автоматич. пушка
-
1
1
-
-
100мм пушка
-
-
1
-
-
Пулеметы:
7,62мм пулемет ПКТ
1
1
3
1
1
14,5мм пулемет ПКВТ
-
-
-
1
1
ПТУР
125мм
“Малютка”
120мм
“Фагот”
Через ствол 100мм пушки по лазерному лучу
-
-
Прицельная дальность
стрельбы, м.:
73мм орудия
1300
—
-
—
30мм пушки (по высоте)
-
4000
4000
—
(2000)
(2000)
100мм пушки
—
—
4000
-
7,62мм пулемета ПКТ
1800
1800
1800
1800
1500
(наземные цели)
14,5мм пулемета ПКВТ
—
—
—
2000
2000
(наземные цели)
ПТУР
1000
2500
2500
-
1500
(воздушные цели)
Мощность двигателя, л/с
300
500
420
230
Скорость, км/ч:
максимальная
65
62
65
80
80
на плаву
7
7
10
10
9
Запас хода по шоссе, км.
600
500
500
600
Броня
противо-
пульная
противо- пупьная
противо- пульная усиленная
противо- пульная
противо- пульная
Создание БМП-1 началось в конце 50-х годов. В дальнейшем она послужила базой для ряда специальных, командно-штабных, командирских и других машин. Одна из них, БМП-1К была разработана в 1972 году. Ее данные также какие же как и у БМП-1. Кроме мест для экипажа оборудовано три рабочих места для офицеров. БМП-1К снабжена УКВ радиостанциями, аппаратурой внутренней связи и коммуникации, средствами навигации.
С 1976 года серийно выпускалась командно-штабная машина БМП-1КШ. В ней предусмотрены семь рабочих мест для офицеров, одна радиостанция KB, 3 радиостанции УКВ, аппаратура ЗАС телефонных и телеграфных разговоров, внутренней связи и коммуникации, а также телефонные аппараты. Имеется комплект танковой навигационной аппаратуры.
Накопленный опыт позволил конструкторам создать более совершенную машину пехоты БМП-2. Серийно она начала выпускаться с 1982 года и была разработана специально для эксплуатации в условиях Афганистана. На ней установлены двухплоскостной стабилизатор вооружения и комбинированный прицел наводчика с зависимой стабилизацией поля зрения. Для усиления защищенности экипажа и десанта навешены дополнительные бортовые экраны и уложена броневая плита под рабочими местами командира и механика-водителя.
В конце 80-х годов была создана БМП-3, учитывающая опыт войны в Афганистане. Она резко отличается от БМП-1, БМП-2. Прежде всего, изменена компоновка машины. Бронирование БИП-3 комбинированное: корпус и башня выполнены из алюминиевых и стальных сплавов, что позволять защищать экипаж от огня малокалиберных и автоматических пушек, тяжелых осколков снарядов и мин. Машина оснащена перископическими смотровыми приборами, ИК приборами наблюдения и прицеливания в условиях плохой видимости. Для подсветки местности и целей ночью могут использоваться ИК прожекторы. В низкопрофильной башне спаренно установлены 100мм и 30мм автоматические пушки. Через ствол 100мм пушки может запускаться и ПТУР с наведением по лазерному лучу, скорострельность 10 в/мин. Кроме того, имеется три пулемета ПКТ. В настоящее время БМП-3 не имеет в мире равных себе аналогов.
2. ОРГАНИЗАЦИЯ, ВООРУЖЕНИЕ И БОЕВАЯ ТЕХНИКА ТАНКОВОГО БАТАЛЬОНА
а) ТАНКОВОГО ПОЛКА
б)ТБ МСП
Главную ударную силу мотострелковых и танковых частей и подразделений составляют танковые батальоны, которые являются общевойсковыми тактическими подразделениями и основой для организации взаимодействия подразделений родов войск в бою. Танковые подразделения, обладая большой огневой мощью, надежной броневой защитой, высокой подвижностью и маневренностью способны наиболее полно использовать результаты ядерных и огневых ударов и в короткие сроки достигать конечных целей боя.
Огневая мощь танков заключается в их способности поражать танки противника и другие цели на дальностях действительного огня, вести огонь с ходу как днем, так и ночью. Для повышения огневых возможностей современные танки оснащены системой управления огнем, стабилизаторами, ночными прицелами и другими приборами Броня защищает экипажи танков от огня, стрелкового оружия, осколков авиабомб, артиллерийских снарядов и мин, от прямых попаданий снарядов малокалиберной артиллерии.
Для преодоления водных препятствий под водой танки имеют оборудование для подводного вождения (ОПВТ). Оно обеспечивает надежную герметичность танка и нормальную подачу воздуха экипажу. Для отрывки окопов и укрытий, на некоторых танках имеется специальное навесное оборудование.
Боевые возможности танковых частей позволяют им быстро создавать прочную оборону и успешно отражать наступление превосходящих сил противника. В наступлении - вести активные боевые действия днем и ночью, в значительном отрыве от других войск, громить группировки противника во встречном бою, с ходу преодолевать обширные зоны радиоактивного заражения и водные преграды.
Танковый батальон выполняет боевые задачи в составе части во взаимодействии с мотострелковыми, артиллерийскими, инженерно-саперными подразделениями или самостоятельно.
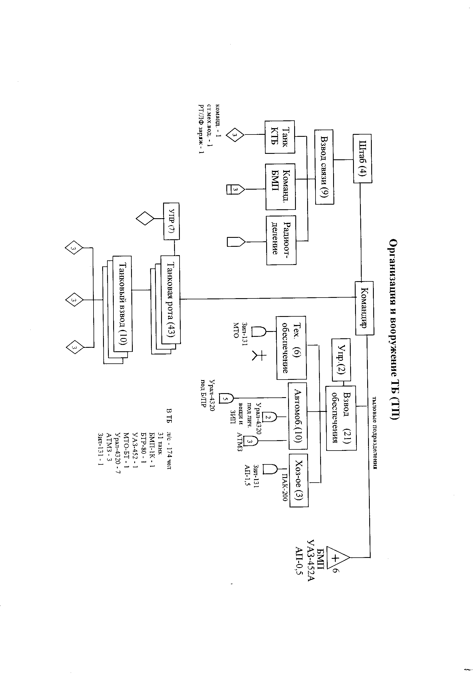
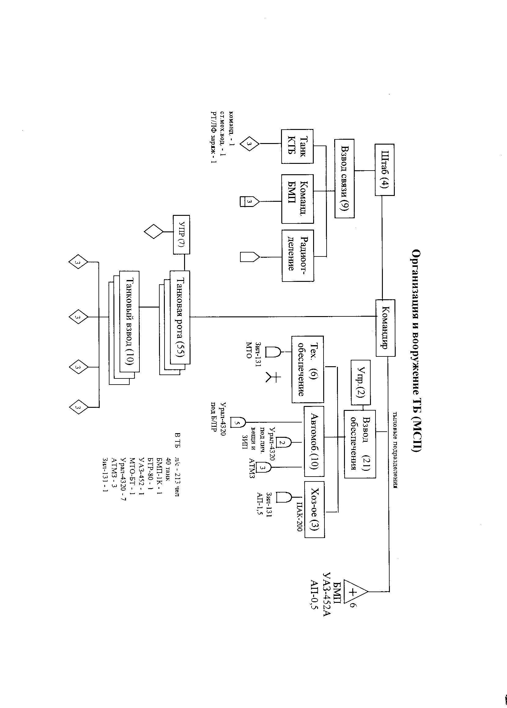
Организационно-танковый батальон танкового полка состоит из:
• командования батальона;
• штаба;
• партийно-политического аппарата;
• взвода связи;
• трех танковых рот;
• медицинского пункта;
• взвода обеспечения.
В командование батальона входят:
• командир батальона;
• заместитель по п/части
• заместитель командира батальона по тех/части
Штаб батальона включает:
• начальника штаба;
• начальника связи (он же командир взвода связи);
• химического инструктора;
• писаря.
Взвод связи состоит:
• танка командира батальона с экипажем (командир танка, старший механик-водитель, радист-заряжающий);
• командирской боевой машины БМП-1К (командир боевой машины, радиотелефонист, механик-водитель);
• радиоотделения (командир отделения, радиотелефонист, водитель бронетранспортера - электромеханик, БТР, три радиостанции).
Всего во взводе 9 человек.
Танковая рота состоит:
• управления роты (командир роты, заместитель командира по политической части, заместитель командира роты по технической части (старший лейтенант для батальонов, вооруженных танками с экипажем 3 человека, старший техник прапорщик для батальонов, вооруженных танками с экипажем 4 чел.), старшина, командир танка, старший механик-водитель, радист-заряжающий);
• трех танковых взводов по 3 танка в каждом взводе. Медицинский пункт состоит:
• начальника медицинского пункта, санинструктора, трех санитаров
(рядовых), водителя-санинструктора.
Всего в отделении личного состава - б человек, санитарный автомобиль УАЗ-452А, автоприцеп АП-0,5.
Взвод обеспечения состоит:
• командира взвода (прапорщик) и техника (прапорщик);
• отделения технического обслуживания;
• автомобильного отделения;
• хозяйственного отделения.
Отделение технического обслуживания состоит:
• командира отделения;
• старшего мастера по ремонту танкового электро- и специального оборудования;
• рабочего мастера радиостанций малой мощности;
• водителя слесаря.
Всего в отделении личного состава - б чел., РПГ-7, машина тех. обслуживания МТО, автомобиль ЗИЛ-131 (ЗИЛ-157). Автомобильное отделение состоит:
• командира отделения;
• старшего водителя-заправщика;
• старшего водителя;
• двух водителей-заправщиков;
• пяти водителей.
Всего в отделении личного состава - 10 чел., грузовых автомашин Урал
375 под боеприпасы - 5, под личные вещи и имущество рот - 1, под ЗИП-1, автотопливозаправщиков АТМ-4, 5-375 - 3. Хозяйственное отделение состоит:
• командира отделения - повара;
• повара;
• водителя.
Всего в отделении: личного состава - 3 чел., кухня автомобильная ПАК-
200 (ПАК-170), автомобиль ЗИЛ-131, автоприцеп АЛ-1,5.
Всего в танковом батальоне личного состава - 174 чел., танков - 31.
Танковый батальон мотострелкового полка по организационной структуре примерно такой же, как и танкового полка, за исключением увеличенного количества танков.
В танковом батальоне три танковые роты по три танковых взвода и по четыре танка в каждом взводе. Всего в танковой роте личного состава - 55 чел. И 13 танков, в батальоне - 213 чел. и 40 танков.


Основные данные танков.
-
Показатели
Т-64
Т-72АК
Т-80
Масса, т.
38
41
42
Экипаж, чел.
3
3
3
Вооружение:
• 125мм гладкоствольная
пушка Д-81 "Рапира"
1
1
1
• 7, б2мм пулемет ПКТ
1
1
1
• 12,7мм пулемет НСВТ "Утес"
1
1
1
Прицельная дальность
стрельбы, м.:
• 125мм пушки
4000
4000
4000
• 7,62мм пулемета ПКТ
1800
1800
1800
• 12,7мм зенитного пулемета НСВТ
• по наземным целям
2000
2000
2000
• по воздушным целям
1500
1500
1500
Дальность прямого
выстрела, м. (Н>ц>=2 м.)
• 125мм пушки
2100
2100
2100
• 12,7мм пулемета НСВТ
850
850
850
• 7,62мм пулемета ПКТ
400
400
400
Скорострельность, выс/мин:
• 125мм пушки
10
8
8
• 7,62мм пулемета ПКТ
250
250
250
• 12,7мм пулемета НСВТ
80 -100
80 - 100
80 -100
Начальная скорость снаряда
(пули), м/сек:
• 125мм пушки
1800
1800
1800
• 12,7мм пулемета НСВТ
845
845
845
Мощность двигателя, л.с.
700
780
1000
многотопливный,
дизельный
дизельный
газотурбинный
Скорость, км/час
61
60
более 70
Запас хода по шоссе, км
500
500
450
Броня
противоснарядная с защитными
экранами противокумулятивного действия
многослойная, противоснарядная, с контейнерами динамической защиты
Создание в 60 - 70-х годах танка Т-64 и Т-72 положило начало развитию основных боевых танков, пришедших на смену средним и тяжелым. В конце 70-х годов принят на вооружение танк Т-80.
Основное в танке - вооружение. Оно у этих танков состоит из 125мм гладкоствольной пушки Д-81ТМ, известной на Западе как "Рапира-3", спаренного с нею 7,62мм пулемета ПКТ, зенитного пулемета 12,7мм НСВТ и пусковых установок дымовых гранат.
Орудие установлено в башне и стабилизировано в двух плоскостях с помощью электрогидравлического стабилизатора. Управление им осуществляется рукоятками пульта наводчика, но предусмотрено и ручное наведение с помощью подъемно-поворотного механизма. В боекомплект пушки входят ОФС, кумулятивные и бронебойно-подкалиберные БПС снаряды. БПС позволяет пробивать броню современных танков на дальности свыше 2000 метров. Все операции по подаче снаряда и гильзы в ствол выполняет автомат заряжения. Кроме того, у танков Т-72, Т-80 имеется танковый баллистический вычислитель ТБВ, в который вводится Т>в>, Т>з>, атмосферное давление и износ канала ствола. Заметив цель, наводчик измеряет дальность до нее лазерным дальномером, которая автоматически вводится в ТБВ. Пушка по сигналу ТБВ принимает необходимый угол возвышения, в него вводятся поправки на баллистику снаряда, ветер, данные о скорости и крене машины. К моменту выстрела орудие занимает строго определенное положение. В случае, если танк тряхнет на выбоине и ось канала ствола перестанет совпадать с направлением, выбранном ТБВ, то выстрел не произойдет. Специальный блок разрешит его лишь после того, как стабилизатор вернет орудие к нужному углу.
Для обеспечения эффективности стрельбы ночью служат приборы ночного видения. Имеется инфракрасный прицел, с помощью которого можно ночью взять на "мушку" цель на расстоянии 800 м.
Если танки Т-64, Т-72 имеют противоснарядную броню, то у Т-80 лобовой лист корпуса и передняя часть башни имеет разнесенную многослойную конструкцию. Борта прикрыты броневыми и резинотканевыми экранам, а лоб корпуса, крыша и броня башни прикрываются контейнерами динамической защиты. Броневая конструкция Т-80 выдерживает огонь танков и противотанковых средств с дистанции 1,5-2 километра в диапазоне углов обстрела от 0° до 30 - 45° .
Все танки Т-80 оснащены системой коллективной защиты от ОМП. Если в угрожающей близости произойдет ядерный взрыв, то еще до подхода ударной волны будет автоматически заглушен двигатель и закрыты жалюзи, а после ее прохождения включится нагнетатель с ФВУ.
Танки Т-64, Т-72, Т-80 оснащены быстродействующей системой пожаротушения.
Танки могут преодолевать различные препятствия: рвы шириной до 2,8 метра, вертикальные стенки высотой до 0,85 метров, водные преграды с "зеркалом" до 1 км и глубиной с двухэтажный дом (5 метров).
Нашим конструкторам удалось создать оригинальные по своим качествам машины. По своей боевой эффективности Т-80 ничем не уступают зарубежным танкам, а во многом их превосходят, а танк Т-72АК в полной мере отвечает требованиям современного боя.
На вооружении танковых подразделений находятся танки Т-80, Т-90, Т-72.
ВЫВОД. Таким образом, обладая мощным вооружением, надежной защитой и высокой подвижностью, танковые подразделения способны огнем с ходу, с коротких остановок или с места уничтожать танки и другие бронированные цели, живую силу противника, разрушать его оборонительные сооружения, бороться с низко летящими целями, а также решать другие задачи.
Танковые войска составляют основную ударную силу сухопутных войск. Они способны наиболее полно использовать результаты ядерных и огневых ударов и в короткие сроки достигать конечных целей боя и операции.
3. ОРГАНИЗАЦИЯ И ВООРУЖЕНИЕ АРТИЛЛЕЙСКОГО ДИВИЗИОНА
(только для ВУС 030403)
Основу артиллерийских частей составляют артиллерийские дивизионы, которые являются основными тактическими подразделениями артиллерии.
Являясь огневым подразделением артиллерии, дивизион Способен с высокой точностью поражать различные цели, которые могут быть открытыми и укрытыми, неподвижными и движущимися, наблюдаемыми и ненаблюдаемыми, наземными и надводными, и выполнять другие огневые задачи.
Способность артиллерийского дивизиона быстро перемещаться и осуществлять непрерывное взаимодействие с общевойсковыми подразделениями, ведущими бой в высоком темпе, характеризует его как тактическое подразделение артиллерии.
Артиллерийский дивизион организационно входит в состав артиллерийских и мотострелковых (танковых) соединений и частей.
В зависимости от боевого назначения и вооружения дивизион может иметь различную организацию. Рассмотрим организацию артиллерийского дивизиона 122 мм Г Н-30.
Для преподавателя: показывает организацию артиллерийского дивизиона, раскрывает ее содержание, дает время для ее вычерчивание схемы.
Артиллерийский дивизион 122 мм гаубиц М-30 состоит:
командования;
штаба;
взвода связи и отделения разведки и сопряженного наблюдения;
трех артиллерийских батарей;
взвода обеспечения
Командование дивизиона включает командира дивизиона, его заместителя по политической части и фельдшера дивизиона. Штаб дивизиона включает:
• начальник штаба - заместитель командира дивизиона;
• начальника связи - командира взвода управления дивизиона;
• химика-инструктора Взвод связи состоит:
• отделения проводной связи
• отделения радиосвязи
Отделение разведки и сопряженного наблюдения состоит:
• командира отделения;
• старшего разведчика-наблюдателя;
• трех разведчиков-наблюдателей;
• дальномерщика;
• водителя.
На вооружении имеется: ПАБ-2-1, ДАК-1-1 или ДС-2-1, РТ-2, бинокль-4.
Батарея - огневое и тактическое подразделение артиллерии Батарея может одновременно поражать одну-две цели стрельбой с закрытой огневой позиции или несколько целей в зависимости от количества орудий в батарее огнем прямой наводкой.
Артиллерийская батарея состоит:
• взвода управления;
• двух огневых взводов;
• отделения водителей.
Взвод управления предназначен для ведения разведки и обеспечения связи.
Взвод управления состоит:
• командира взвода;
• отделения разведки;
• отделения связи Отделение разведки состоит:
• командира отделения;
• старшего разведчика;
• разведчика наблюдателя;
• дальномерщика;
• водителя
В отделении имеется : ПАБ-2А-1, ДС-1-1, биноклей- 2.
Отделение связи состоит:
• командира отделения;
• два старших телефониста;
• три радиотелефониста.
В отделении радиостанции Р-108М (Р-108) - 4, телефонных аппаратов - 4 кабель П-297 - 8 км. Личного состава - 12 человек.
Огневой взвод - огневое подразделение артиллерии. Взвод выполняет огневые задачи батареи в составе батареи или самостоятельно.
Огневой взвод состоит:
• командира взвода;
• трех орудийных расчетов (по 7 человек в каждом: командир расчета, наводчик, помощник наводчика, заряжающий, установщик, снарядный, зарядный и одна 122 мм гаубица М-30)
Всего во взводе личного состава 22 человека, 3 - 122 мм Г М-30,
гранатомет- 1.
Отделение водителей (тяги) состоит:
• командира отделения;
• двух старших водителей;
• шести водителей.
Всего в батарее: личного состава - 65 человек,
• тягачей (автомобилей) под орудия - 6;
• запасной тягач - 1;
• автомобилей по б/п - 2;
• гранатометов - 2. Взвод обеспечения состоит:
• командира взвода;
• хозяйственного отделения (командир отделения - повар, два повара, два водителя);
• отделения технического обслуживания (командир отделения, старший электромеханик-аккумуляторщик, водитель-автослесарь).
Всего во взводе обеспечения дивизиона:
• личного состава - 9 человек;
• грузовых автомобилей: МТО-АТ-1 (ЗИЛ-131), ГАЗ-66 под кухни и продукты - 2, кухонь прицепных - 2, автомобильных прицепов 1-All-1,5 под кухни - 2, гранатометов - 1.
Всего в артиллерийском дивизионе
• 122 мм гаубиц М-30;
• личного состава - 235 человек;
• 122 мм Г М-30- 18шт.;
• автомобилей - 30 шт.;
• радиостанций-16 шт.;
• офицеров - 18 человек.
Для преподавателя: ознакомить обучаемых с тактико-техническими характеристиками основных артиллерийских систем (122 мм Г Д-30, 2С-1, 152 мм Г Д-1), имеющихся на вооружении в артиллерийских дивизионах и дать время для записи.
ВЫВОД. Дивизион, обладая мощным и точным огнем, способен поражать разнообразные, укрыто и открыто расположенные наземные и подводные цели, непрерывно поддерживать огнем общевойсковые подразделения в бою.

Тактико-технические характеристики основных артиллерийских систем
|
Наименование системы |
Дальность |
Вес системы, кг. в боевом положении |
Скорострельность выстр/мин |
Вес снаряда, кг. |
Б/к, шт. |
Расчет, чел. |
Бронепробивасмость, мм |
Скорость транспор-тировки; км/час |
|
|
стрельбы |
прямого выстрела |
||||||||
|
122ммГД-30 |
15300 |
860 |
3200 |
6-8 |
21,8 |
80 |
7 |
200 |
60 |
|
152мм П "Гиацинт" |
28500 -33500 |
2200 |
9800 |
5-6 |
60 |
8 |
350 |
80 |
|
|
122ммСГ2С-1 |
15200 |
860 |
5-6 |
21,8 |
80 |
5 |
200 |
65 |
|
|
152мм СГ2С-ЗМ |
|||||||||
|
152мм СГ-П "Мета-С" |
24700 |
2000 |
42000 |
7-8 |
50 |
5(7) |
320 |
60 |
Основные тактико-технические характеристики 100-мм ПТП
|
Наименование системы |
Калибр, мм. |
Дальность |
Дальн. прям. выстр. |
Скорострельность |
Вес системы, кг. |
Вес снаряда, кг. |
Б/к, шт. |
Бронепро- биваемость |
Скорость движения |
|
ПТ пушка Т-12 |
100 |
5950 к 8300 оф |
1030 к 2400 бп |
8 |
2650 |
10К - 23 БП-19,3 ОФ-28,6 |
80 выстр. |
350 |
до 70 км/ч |
|
ПТ пушка БС-3 |
100 |
20000 офп 13400 ум |
1080 |
4 - 5 |
3650 |
30 |
80 |
350 |
до 50 км/ч |
|
9П-148 "Конкурс" |
125 |
3000 |
500 |
2 |
6000 |
11,4 |
14 |
250 |
4. ОРГАНИЗАЦИЯ ОТДЕЛЬНОГО ПРОТИВОТАНКОВОГО АРТИЛЛЕРИЙСКОГО ДИВИЗИОНА (только для ВУС 030600)
Отдельный противотанковый артиллерийский дивизион предназначен для уничтожения танков и других бронированных машин противника. Он может применяться также для уничтожения его огневых средств, в том числе и находящиеся в фортификационных сооружениях.
Противотанковые артиллерийские подразделения назначаются в противотанковые резервы или придаются мотострелковым подразделениям.
Отдельный противотанковый артиллерийский дивизион состоит:
командования дивизиона;
штаба;
боевых подразделений;
двух противотанковых артиллерийских батарей;
батарей ПТУР;
подразделения обслуживания и обеспечения;
взвод управления дивизиона (отделение разведки 5 человек, два
отделения связи 7 и б человек);
взвод обеспечения;
ремонтный взвод;
медицинский пункт;
отделения радиационной и химической разведки;
хозяйственное отделение.
Для преподавателя: - показывает схему и дает время для вычерчивания схемы;
- рассказывает предназначение и состав подразделений
Командование дивизиона .включает командира дивизиона, его заместителя по работе с личным составом и технической части.
Штаб дивизиона включает начальника штаба, он же заместитель командира дивизиона; начальника связи, он же командир взвода связи;
химического инструктора.
Противотанковая артиллерийская батарея - огневое и тактическое подразделение противотанковой артиллерии, действует, как правило, в составе дивизиона, но не может придаваться мотострелковым подразделениям.
Батарея состоит:
• отделения разведки (4 человека);
• отделения связи (7 человек);
• два огневых взвода (по 23 человека).
Огневой взвод - огневое подразделение, действует, как правило, в составе батареи. Состоит из трех расчетов, в каждом по одной 100 мм противотанковой пушке.
Основные тактико-технические характеристики 100 мм ПТП
|
Наименование системы |
Дальность |
Дальн. прям. выстр. |
Скорострельность |
Вес системы, кг |
Вес снаряда |
Б/к, шт. |
Бронепробиваемость |
Скорость движения |
|
Т-12 |
5950к 1030к 8300оф 2400БП |
8 |
2650 |
80 |
350 |
До 70 км/ч |
||
|
БС-3 |
20000оф 13400УМ |
4 - 5 |
3650 |
80 |
350 |
До 50 км/ч |
||
Батарея противотанковых управляемых ракет - огневое и тактическое подразделение. Предназначена для уничтожения танков и других бронированных целей. Действует, как правило, в составе дивизиона, но может придаваться мотострелковым подразделениям.
Батарея состоит:
• три взвода ПТУР;
• отделения управления;
• отделения тренажера.
Взвод ПТУР - огневое подразделение, действует, как правило, в составе батареи, но может действовать и самостоятельно.
Состоит из трех расчетов боевых машин. В каждом расчете 2 человека. Командир машины - старший оператор и водитель-оператор, на вооружении которых имеется:
• гранатомет - РПГ-7 - 1
• автомат АКМ-74 - 1
• пистолет ПМ - 1при
• ракетница- 1.
В боевой машине имеется радиостанция Р-123 и Р-108.
Отделение управления предназначено для наблюдения за действиями противника и своих войск, определения танкоопасных направлений наблюдения за результатами своего огня.
Состоит:
• командир отделения - радиотелефонист - 1
• старший разведчик - 1
• разведчики - 2
• радиотелефонист- 1
• водитель - 1
Отделение тренажера является учебно-тренировочным электронно-оптическим комплексом и предназначено для выработки у операторов навыков стрельбы из боевых машин.
В отделение входит начальник тренажера - инструктор и водитель автомобиля.
Тыловые подразделения дивизиона:
• взвод материального обеспечения - предназначен для подвоза материальных средств в дивизион, а также для подвоза боеприпасов и горючего в батареи;

• ремонтный взвод - предназначен для ремонта и технического обслуживания техники и вооружения;
• хозяйственное отделение - предназначено для бесперебойного обеспечения подразделений дивизиона продуктами питания и приготовления горячей пищи;
• медицинский пункт - предназначен для сбора раненых, оказания доврачебной помощи и их эвакуации.
Основные тактико-технические характеристики БМ 9П148
|
Наименов ание системы |
Дальность стрельбы |
Вес кг |
Скоро-стрель-ность, сн/мин |
Вес снаряда |
Бронепробиваемость |
Калибр, мм |
Б/к |
|
|
мин. |
макс |
|||||||
|
9П148 «Конкур» |
500 |
3000 |
6000 |
2 |
11,4 |
250 |
125 |
14 |
ВЫВОД. Отдельный истребительно-противотанковый артиллерийский дивизион является мощным средством по борьбе с танками и другими бронированными машинами.
ВЫВОД. Быстро развивающиеся боевая техника и вооружение, принципиально новые, высокоточные средства вооруженной борьбы и эффективные способы их применения вызывают существенные изменения в содержании современного общевойскового боя, методах управления войсками на базе автоматизированных систем, способах огневого поражения и действия войск, в организации и осуществлении их всестороннего обеспечения, т.е. в тактике - важнейшей составной части советского военного искусства.
Подвести итог. Дать задание на самоподготовку:
Учебник «Тактика» ч.2, стр.43-51.
Методическую разработку составил:
Старший преподаватель, п/п-к В.Марчук