Разработка плана локализации и ликвидации аварийных ситуаций и аварий на АЗС
1.АНАЛИЗ УСЛОВИЙ ВОЗНИКНОВЕНИЯ И РАЗВИТИЯ АВАРИЙ АЗС №3.
г. Джанкой.
1.1Характеристика видов опасностей, свойственных АЗС №3.
На автозаправочной станции производится прием светлых нефтепродуктов из бензовозов в подземные резервуары. Заправка автотранспортной техники и выдача нефтепродуктов в мелкую тару осуществляется через топливораздаточ-ные колонки (ТРК) типа «Gilbarko».
Условия хранения: в подземных резервуарах при нормальном атмосферном давлении и температуре не более +15°С.
Условия эксплуатации АЗС: в холодное время года при температуре в среднем -10°С, в теплое время года - +30°С, максимально - +41°С.
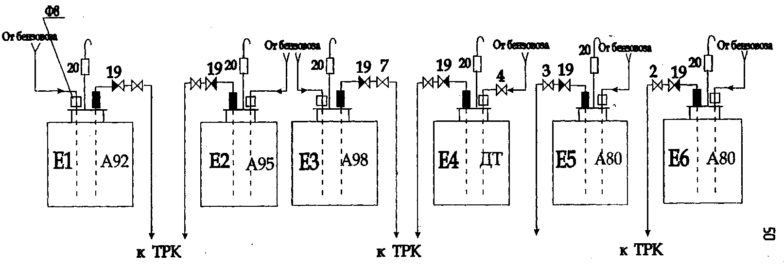
Количество подземных резервуаров: для бензина - 5шт. вместимостью по 25м3 каждая, для дизтоплива - 1шт. вместимостью 25м3. Количество топливо-раздаточных колонок - Зшт.
Прием дизельного топлива и бензина в подземные резервуары производится самотеком или насосом из бензовозов через сливные фильтры, установленные на сливных трубопроводах.
Заправка автомобильного транспорта топливом производится через топли-вораздаточные колонки оператором, управление заправкой осуществляется старшим оператором с пульта управления операторной.
Наличие большого количества дизельного топлива и бензина в емкостном оборудовании создает опасность возникновения пожара, в случае утечки топлива и наличия источника воспламенения. При утечке топлива в технологические колодцы создается опасность образования взрывоопасных концентраций топ-ливно-воздушной смеси в технологических колодцах, что при наличии источника инициирования взрыва может обусловить взрыв топливно-воздупщой смеси в технологических колодцах и создать условия для дальнейшего развития аварии в подземных хранилищах.
Не исключена вероятность аварии в резервуарах даже при наличии исправной системы защиты от статического электричества и нормальной эксплуатации технически исправного оборудования. Вероятность возникновения в зоне резервуаров пожара или взрыва составляет 2,9х 10"4. [ 17, с. 71 ]
При определенных условиях налива нефтепродуктов в ёмкости (при увеличении скорости налива) заряды статического электричества накапливаются быстрее, чем отводятся через заземление, т.к. бензин и дизтошшво относятся к диэлектрикам с очень слабой проводимостью электрического тока. В таких случаях с увеличением уровня налива топлива в ёмкости напряжение статического электричества будет возрастать и может достигнуть такого значения, при котором в момент приближения свободной поверхности топлива к стенкам заливной горловины (при наполнении емкости свыше 90% наполнения) вследствии разности потенциалов произойдет искровой разряд, способный вызвать воспламенение или взрыв смеси паров с воздухом и пожар. Так как давление в момент взрыва достигает 1470 кПа (1,5мПа), а температура взрыва колеблется в преде-
лах 1500-1800°С может произойти разгерметизация сосуда. [18,с.21] Это в свою очередь обусловит доступ кислорода в разгерметизированный сосуд, развитие пожара или образование огненного шара, дальнейшее развитие аварии.
При проведении операций наполнения и опорожнения резервуаров всегда существует вероятность образования в газовом пространстве над поверхностью жидкости смеси паров топлива с воздухом в области НКПВ и ВКПВ.
Опасность возникновения аварии и аварийной ситуации может возникнуть при вскрытии резервуаров для подготовки к проведению ремонтных и технологических работ и при проведении ремонтных работ в резервуарах. При этом особую опасность представляют собой пирофорные отложения железа, способные к самовоспламенению в присутствии кислорода воздуха при обычной температуре. Наиболее опасны пирофорные соединения в том случае, если они образовались под слоем нефтепродуктов. Быстрое освобождение емкости от нефтепродуктов создает благоприятные условия для интенсивного взаимодействия этих отложений с кислородом паро-воздушной смеси. При этом пирофорные отложения могут разогреться до температуры 500-700 °С и послужить источником воспламенения и загорания нефтепродуктов.[18,с.59] Для предотвращения аварийной ситуации или аварии, вызываемой пирофорными отложениями, необходимо проводить своевременную зачистку резервуаров. [18,с.60]
Эксплуатация неисправного оборудования, заземления, средств защиты от проявлений молнии, несоблюдение графика ППР, отсутствие квалификации у обслуживающего персонала, не соблюдение на территории АЭС "Правил пожарной безопасности на АЭС", применение неомедненного инструмента, метр-штока, способных вызвать искру - может привести к аварии.
В зависимости от характера разгерметизации, погодных и других условий аварии могут развиваться в виде проливов, пожаров проливов, взрывов, огненных шаров.
Взрывы и пожары могут происходить при воспламенении паро-воздушной смеси как внутри емкостного оборудования, так и на открытой площадке. (Район дыхательных клапанов - СМДК-50).
Суть взрывов и пожаров - горение.
Горение - это сложный химический процесс, основой которого является быстро протекающая химическая реакция окисления, сопровождающаяся выделением большого количества тепла и света.
Скорость горения зависит от наличия горючего вещества и окислителя (кислорода воздуха), их определенной температуры и агрегатного'состояния.
Пары нефтепродуктов окисляются быстрее, жидкие - медленнее. Это связано с концентрацией окислителя (кислорода) в парогазовой и жидкой фазах нефтепродуктов. В парогазовой фазе кислорода значительно больше, чем у поверхности жидкой фазы и в жидкой фазе.[ 18,с. 18]
Скорость распространения пламени на поверхности зеркала бензина при обычных условиях 10-15 м /сек., в факеле распыленного форсункой дизельного топлива - превышает 150 - 160м/сек, скорость распространения пламени во взрывчатой смеси паров бензина с воздухом достигает 1500 - 1800 м/сек. (10). При такой скорости распространения пламени горение переходит во взрыв с
большой разрушительной силой. Давление в момент взрыва превышает 1470 кПа (1,5 мПа), температура взрыва в пределах 1500 -1800 °С. Скорость распространения взрывной волны более 1500 м/сек.
Скорость выгорания жидкости (бензина) в объёме - 20-ЗОсм/ч, дизтоплива -18-20 см/ч.[18,с.18, 21]
ПДК бензина- 100 мг/м3, 4 класс опасности по ГОСТ 12.1.007-76. Показатели огнеопасности и взрывоопасности нефтепродуктов [ 1,с.54-55 ]
|
Вид продукта • |
Температура вспышки, "С |
Пределы воспламенения |
Температура самовоспламенения, °С |
Температура воспламенения, °С |
||
|
концентрационные, % об. |
НТПВ °С |
ВТПВ °С |
||||
|
Бензины (различных марок) |
-39 --29 |
0,65-8,04 |
-30 |
до 10 |
350 - 440 |
-34 |
|
Дизельное топливо: Л 3 |
40-60 более 61 |
2,1-12 |
более 35 |
до 155 |
240-370 |
45-^65 |
За пределами температурной зоны взрывоопасных концентраций, образующаяся смесь нефтепродуктов с воздухом не всегда взрывоопасна, но всегда огнеопасна, способна вспыхивать от любого источника открытого огня.
Бензины всех марок и некоторые виды дизтоплива относятся к легковоспламеняющимся жидкостям (ЛВЖ), другие виды дизтоплива - к горючим жидкостям (ПК).
К ЛВЖ относятся горючие жидкости с температурой вспышки паров, не превышающей 61 °С в закрытом тигле.[ 18,с.20]
К ГЖ относятся нефтепродукты, температура вспышки паров которых выше 61°С в закрытом тигле.[18,с.20]
Загорание нефтепродуктов всегда начинается со вспышки или взрыва паров с воздухом.
Первоначальная вспышка паров переходит в воспламенение нефтепродуктов и создает условия для полного его сгорания.
По сравнению с бензином дизельное топливо испаряется значительно медленнее, однако взрыв смеси паров дизельного топлива с воздухом не уступает силе взрыва паро-воздушной смеси бензина.
Примечание: [1,с.11,12,15] [18,с.22,23]
Температурой вспышки называется наименьшая температура горючего вещества, при которой в условиях специальных испытаний над его поверхностью образуются пары или газы способные вспыхивать в воздухе от внешнего источника зажигания; устойчивого горения вещества при этом не возникает.
Температурой воспламенения называется наименьшая температура горючего вещества, при которой оно выделяет горючие пары или газы с такой скоро-
стью, что после воспламенения их от внешнего источника зажигания вещество
устойчиво горит.
Температурой самовоспламенения называется наименьшая температура горючего вещества, при которой происходит резкое увеличение скорости экзотермической реакции, приводящее к возникновению пламенного горения.
Температурными пределами воспламенения паров в воздухе (нижний температурный предел воспламенения - НТПВ; верхний температурный предел воспламенения - ВТЙВ) называются такие температуры вещества, при которых его насыщенные пары образуют концентрации, равные соответственно нижнему или верхнему концентрационным пределам воспламенения.
Нижним пределом взрывоопасной концентрации называется такая концентрация паров нефтепродукта с воздухом, ниже которой смесь взрываться не будет.
Верхним пределом взрывоопасной концентрации называется такая концентрация паров нефтепродукта с воздухом, выше которой смесь взрываться не будет.
Зона, лежащая в границах нижнего и верхнего пределов взрывоопасных концентраций смеси паров нефтепродуктов с воздухом, называется зоной взрываемости или пределом воспламенения.
1.1.1. Причины пожаров и взрывов.[18, с. 37-52J
Открытый огонь, искры, разряды статического электричества, грозовые разряды, самовоспламенение, самовозгорание, пирофорные отложения:
- открытый огонь: зажженная спичка, лампа, брошенный окурок сигареты у хранилищ, у заправочной станции; проведение ремонтных работ с источником открытого огня;
- искра: выполнение работ стальным инструментом, из выхлопных труб машин, эксплуатация неисправного электрооборудования, всякая другая искра независимо от природы её происхождения;
- разряды статического электричества: нарушение системы защиты от статического электричества; плавающие на поверхности нефтепродуктов предметы могут накопить заряды статического электричества и, приблизившись к стенке резервуара, вызвать искровой разряд, который будет источником воспламенения смеси napde с воздухом; грозовые разряды, молния (при неисправности конструкции молние-защиты) могут вызвать пожары и взрывы;
- природные катаклизмы.
7
1.2. Основные правила безопасной эксплуатации АЭС.
1.2.1. В соответствии с ГОСТ 12.3.00275 безопасность производственного процесса обеспечивается выбором режима работы технологического оборудования, выбором конструкции оборудования и его размещения, профессиональным отбором и обучением работающих.
Производственный процесс приема, хранения и отпуска нефтепродуктов на АЭС осуществляется По непрерывной схеме в герметичном оборудовании, исключающем контакт работающих с нефтепродуктами.
Все резервуары с нефтепродуктами расположены на площадке АЭС под землей. Электрооборудование установлено во взрывозащищенном исполнении. Контроль и управление технологическим процессом осуществляется частично в ручном режиме, частично автоматически со щита управления операторной.
При наиболее опасных нарушениях технологического режима предусмотрена сигнализация. АЭС оснащена громко говорящей связью.
К работе на АЗС допускаются лица, прошедшие необходимую подготовку, сдавшие экзамен на допуск к самостоятельной работе.
В аварийных ситуациях действовать согласно рабочей инструкции по охране труда и оперативной части ПЛАСа.
В основу разработки мероприятий по безопасному ведению процесса положены действующие нормы и правила: ППБ79, НАОП 1.3.00-1.01-88 -ОПВХП 88, НАШ А.01.001-95 и др.
1.2.2 Основные мероприятия, обеспечивающие безопасное ведение технологического процесса.
а) Поддерживать параметры технологических процессов АЗС в пределах норм технологического режима (температура, атмосферное давление, уровень налива нефтепродуктов в хранилища, скорость налива).
б) Обеспечивать систематический контроль давления, температуры, уровня нефтепродуктов в хранилищах, не допуская отклонений от установленных норм.
в) Перед пуском в работу необходимо проверить герметичность оборудования, арматуры, трубопроводов. При обнаружении пропусков немедленно принимать меры к их устранению.
г) Все запорные устройства должны содержаться в исправности и обеспечивать быстрое и надежное прекращение поступления или выхода продукта.
д) Категорически запрещается устранять пропуски на действующих трубопроводах, оборудовании без их отключения и освобождения.
е) Для всего технологического оборудования, где по условиям ведения технологического процесса возможно скопление воды, устанавливается периодичность дренирования регламентом.
ж) Эксплуатировать технически исправное оборудование с исправным заземлением.
8
з) Осуществлять постоянный контроль состояния оборудования, трубопроводов, запорной арматуры с записью в оперативном журнале.
и) Контролировать правильность работы приборов измерения параметров технологического режима.
к) Отражать в вахтенном журнале параметры технологического режима перекачивания и хранения нефтепродуктов с помощью приборов КИПиА, контролировать качество нефтепродуктов.
л) Соблюдать противопожарный режим АЭС: [15, с 118]
территория должна быть спланирована таким образом, чтобы исключить попадание разлитых нефтепродуктов за её пределы; автомобили, ожидающие очереди для заправки должны находиться возле въезда на территорию АЭС, вне зоны размещения резервуаров и колонок с нефтепродуктами;
запрещается курить, проводить ремонтные и другие работы, связанные с применением открытого огня как в пределах АЭС, так и за её пределами на расстоянии не менее 20 м;
на АЭС должны быть вывешены на видных местах плакаты, содержащие перечень обязанностей водителей во время заправки автотранспорта, а также инструкции о мерах пожарной безопасности; места заправки и слива нефтепродуктов должны быть освещены в ночное время суток;
АЭС должна быть оснащена телефонной и громко говорящей связью и другие требования "Правил пожарной безопасности в Украине", м) Выполнять требования по безопасной эксплуатации АЭС согласно отраслевого нормативного акта "Правила технической эксплуатации и охраны труда на стационарных, контейнерных и передвижных АЗС". н) Контролировать состояние воздушной среды на содержание взрывоопасных концентраций паров нефтепродуктов в смотровых колодцах, о) Производить своевременную зачистку резервуаров от пирофорных отложений.
п) Соблюдать чистоту на территории АЗС.
р) О производственных неполадках и принятых мерах старший оператор сообщает начальнику АЗС.
ЬЗ.Сценарий возникновения и развития возможных аварий. Анализ причин и условий возникновения и развитии аварий.
События, способные привести к возникновению аварии (нарушение герметичности технологической системы, выход опасного вещества в окружающее пространство) могут быть разделены на две основные группы:
События 1-ой группы - события, которые могут привести к нарушению нормального технологического режима АЗС. Например: болезненное наркотическое состояние работника АЗС; износ материалов, деталей оборудования, крепежа, прокладок, сальников и т.д.; выход из строя средств защиты от статэ*
лектричества и вторичных проявлений молний; неисправность дыхательного клапана.
События 2 -ой группы - аварийные ситуации нарушения нормального технологического режима или состояния оборудования, приводящие к тому, что герметичность технологической системы может быть нарушена. Например: переполнение резервуаров, баков автотранспорта; эксплуатация негерметичного насоса топливораздаточной колонки; включение в работу негерметичных участков трубопровода; работы с искрящим инструментом и т.д.
Эти события предшествуют разгерметизации технологического оборудования (собственно аварии).
АВАРИЯ уровня А - авария, развитие которой не выходит за пределы рассматриваемого технологического блока.
АВАРИЯ уровня Б - авария, развитие которой выходит за пределы рассматриваемого технологического блока, но ограничена территорией АЭС.
АВАРИЯ уровня В - авария, развитие которой выходит за пределы, ограниченной территорией АЭС.
Сценарии возникновения и развития возможных аварий приведены в карточках опасности оборудования (стр. 17-31 ).
Главная задача обслуживающего персонала на первой стадии - предупредить аварию, т.е. выявить опасное событие, идентифицировать причину и потенциальную опасность, выполнить в необходимой последовательности в минимально возможные сроки действия по переводу технологической системы в устойчивое и безопасное состояние. При своевременных и правильных действиях обслуживающего персонала и срабатывании систем защиты авария может быть предотвращена. Перевод системы в безопасное состояние может осуществляться:
1). Без остановки технологического процесса:
-с использованием резерва;
-с ручным регулированием отдельных параметров технологического процесса;
- с изменением производительности АЗС.
2). С остановкой технологического процесса :
- с остановкой отдельных функциональных блоков,
- полная остановка в нормальном или аварийном режиме. f На второй стадии, при нарушении герметичности системы, перед обслуживающим персоналом стоит двойная задача:
-Для уменьшения количества опасного вещества в выбросе - оперативно отключить поврежденный участок (оборудование) от системы и освободить его от технологической среды.
-Выполнить необходимые действия по сохранению устойчивости системы (аналогично действиям на 1 -ой стадии) с учетом нового состояния, при отключении части оборудования.
10
Дальнейшее развитие аварии в зависимости от состава, количества и места аварии может идти таким образом:
1. При разгерметизации с выбросом жидкой фазы может сопровождаться:
• возникновением пожара пролива при наличии источника зажигания в непосредственной близости от места разгерметизации;
• испарением жидкости и образованием пожаровзрывоопасного облака с последующим продвижением его по территории предприятия (АЭС), горением при встрече с источником зажигания, взрывом;
• образованием токсичного облака из исходных продуктов и продуктов горения.
2. Разрушением оборудования, сооружений, зданий при попадании их в зону действия поражающих факторов и возникновению вторичных эффектов «домино».
3. Взрыв паро-воздушной среды или самовозгорание пирофорных отложений внутри аппарата при проникновении в него атмосферного воздуха (при вскрытии оборудования, во время ремонта).
Для АЭС характерны следующие виды аварий:
-Пожар пролива - горение проливов жидких продуктов - диффузионное горение паров ЛВЖ и ГЖ в воздухе над поверхностью жидкости.
-Огненный шар - диффузионное горение плотных, слабо смешанных с воздухом парогазовых облаков с поверхности облаков в открытом пространстве.
-Взрыв - детонационное горение - сгорание предварительно перемешанных газо- или паро-воздушных облаков со сверхзвуковыми скоростями в открытом пространстве или в замкнутом объеме.
-Хлопок - вспышка, волна пламени, сгорание предварительно перемешанных газо- или паро-воздушных облаков с дозвуковыми скоростями в открытом или замкнутом пространстве.
Наибольшую опасность для людей и материальных ценностей представляют поражающие факторы взрыва и огненных шаров:
- загорание автомобиля у топливораздаточной колонки; взрыв бензобака автомобиля; загорание топливораздаточной колонки; загорание и взрыв бензовоза и хранилищ нефтепродуктов.
1.4.Оценка поражающих факторов опасности АЭС.
К поражающим факторам при авариях на АЭС относятся:
- поражающий фактор избыточного давления на фронте падающей ударной вголны при взрывах;
- интенсивность теплового излучения пожара пролива и огненных шаров;
- воздействие токсичных продуктов горения. 1.4.1. Энергетические показатели взрывоопасности АЭС. Энергетическими показателями взрывоопасности АЗС являются следующие критерии согласно ОПВХП-88:
и
- Общий энергетический потенциал АЭС - (Е), характеризующийся суммой энергий адиабатического расширения парогазовой.. фазы, полного сгорания имеющихся и образующихся из жидкости паров за счет внутренней и внешней энергии при аварийном раскрытии оборудовании, кДж.
- Общая масса горючих паров взрывоопасного парогазового облака (т) приведенная к единой удельной энергии сгорания, кг.
- Относительный энергетический
потенциал взрывоопасности (Ов)
техноло
гического блока. <•
На АЭС из суммы энергий основное значение имеет энергия сгорания парогазовой фазы - ПГФ, образующаяся из пролитой на твердую поверхность жидкой фазы (ЖФ), за счет теплоотдачи от окружающей среды.
E=G-q, кДж
где:
Е - энергия сгорания парогазовой фазы, кДж;
G - масса ЖФ, испарившаяся за счет теплопередачи от окружающегося воздуха к разлитой жидкости и, превратившаяся в парогазовую фазу (ПГФ) кг;
q - удельная теплота сгорания ПГФ, кДж/кг.
О=т„-Р>ж>-т„, кг где:
т>и> - интенсивность испарения, кг/(с-м2); Р>ж> - площадь испаряющейся жидкости, м2;
т>и> - время контакта жидкости с поверхностью розлива принимаемое в расчет, сек.
РЕЗУЛЬТАТЫ РАСЧЕТОВ ЭНЕРГЕТИЧЕСКИХ ПОТЕНЦИАЛОВ. [3, с. 63]
|
Наименование блока |
Энергетический потенциал, Е,МДж |
Приведенная критическая масса, кг |
Относительный энергетический, потенци- |
Категория опасности |
Радиус возможных зон разрушения в блоках, м |
|
ал, qb |
|||||
|
Блок №1 Бензовоз |
20175,6 |
438,6 |
16,46 |
Щ |
8,74 |
|
Блок №2 |
|||||
|
Резервуары с нефтепродуктами |
2709 |
58,89 |
8,43 |
ш |
2,39 |
|
Блок №3 |
|||||
|
Топливораздаточ-ные колонки |
7740 |
168,3 |
11,96 |
ш |
4,37 |
12
В результате расчетов критериев опасности все блоки АЭС относятся к III категории опасности с приведенными в таблице радиусами возможных зон разрушений в блоках.
1.4.2. Критериями поражающих факторов пожаров пролива и огненных шаров являются интенсивность теплового излучения пожара пролива и огненных шаров
где: f
E>f>- среднеповерхностная плотность теплового излучения пламени, кВт/м ;
F>q> - угловой коэффициент облученности;
т - коэффициент пропускания атмосферы.
Степень травмирования (степень воздействия теплового излучения) зависит от расстояния, на котором происходит воздействие поражающего фактора теплового излучения пламени пожара пролива, огненного шара на объект и определяется в зависимости от критических величин интенсивности теплового излучения, приведенных в таблице, по формуле:
[9]
г=Кл/Р>п>
где:
г - расстояние от фронта пламени до объекта, м;
R - коэффициент зависящий от критической величены теплового излучения
пламени; F>n> - площадь пожара, м2.
Поражение людей тепловым излучением.
|
Степень травмирования |
Интенсивность теплового ния q>KD> , кВт/м2 |
излуче- |
|
Ожоги III степени |
49 |
|
|
Ожоги II степени |
27,4 |
|
|
Ожоги I степени |
9,6 |
|
|
Болевой порог (болезненные ощущения на коже и слизистой оболочке) |
1,4 >?> |
1.4.3. Опасными факторами пожара, воздействующими на людей, также являются токсичные продукты горения нефтепродуктов, их распространение на определенное расстояние от очага пожара. Прогнозирование глубины зоны заражения продуктами горения нефтепродуктов осуществляется с применением методики "Прогнозирование последствий разлива (выброса) опасных химических веществ при авариях на промышленных объектах и транспорте".
13 1.5 РЕЗУЛЬТАТЫ АНАЛИЗА ОПАСНОСТИ АЗС.
Технологическая схема АЗС состоит из трех стадий :
стадии приема нефтепродуктов из бензовозов в подземные резервуары;
стадии хранения нефтепродуктов в резервуарах до момента их перекачивания через топливораздаточные колонки для заправки авто-транспортно^ техники;
стадии заправки нефтепродуктами из подземных резервуаров автотранспортной техники через тошшвораздаточные колонки. Для выполнения расчетов критериев поражающих факторов опасности АЗС
технологическую схему АЗС можно разделить на три функциональных блока,
каждый из которых отвечает соответствующей стадии
БЛОК № 1 - бензовоз, площадь поддона - 40,5м2.
БЛОК № 2 - подземные резервуары, площадь поддонов - 25м2 каждого.
БЛОК № 3 - топливораздаточные колонки 3 шт. - площадь свободного разлития.
В качестве опасных значений поражающих факторов для АЗС принимаются: избыточное давление на фронте падающей ударной волны в результате взрыва, интенсивность теплового излучения пожара пролива и огненного шара.
1. ДЛЯ ВЗРЫВОВ.
1.1.Для оценки возможных разрушений основного технологического оборудования и смертельного травмирования людей - избыточное давление на фронте падающей ударной волны более 100 кПа, вызывающей сильные разрушения, которые могут привести к развитию аварии по принципу «домино» и переходу на уровень «Б».
1.2.Для оценки возможных разрушений зданий на территории АЗС избыточное давление на фронте падающей ударной волны более 40 кПа, вызывающей сильные разрушения, которые могут привести к травмированию находящихся в них людей.
КЗ.Для оценки поражения людей при
непосредственном воздействии ударной
волны
- избыточное давление на фронте падающей
ударной волны более 20
кПа, вызывающие
легкую травму и контузию. *
1.4.Для оценки возможности разрушения наименее прочных сооружений - избыточное давление на фронте падающей ударной волны более 10 кПа, вызывающие сильные разрушения этих конструкций.
1.5.Для оценки возможности разрушения остекления зданий - избыточное давление на фронте падающей ударной волны более 5 кПа.
14
2. ДЛЯ ПОЖАРОВ.
2.1. Для оценки возможности травмирования людей - интенсивность теплового излучения, вызывающая ожоги различной степени.
2.2. Для оценки воздействия на оборудование - площадь очага горения и время горения (для свободного разлива на поверхности слоем 5 см.), диаметр и время горения огненного шара, т.к. объекты, попадающие непосредственно в зону горения, как правило, получают сильные повреждения.
Результаты расчетов зон воздействия поражающих факторов для наиболее неблагоприятных вариантов аварии по всем технологическим блокам приведены в таблицах.
Таблица 1.2; таблица 1.3; таблица 1.4: таблица 1.5; таблица 1.6, рисунки (приложение № 1);
Таблица 1.2
[4, с.26]]
Характеристика взрывов
|
№ блока |
Оборудование и место разгерметизации |
м, (кг) ПГФ |
Радиус изобар (м) избыточного давления на фронте падающей ударной волны |
|||||
|
100 кПа |
бОкПа |
40кПа |
20кПа |
ЮкПа |
5кПа |
|||
|
1 |
Бензовоз |
118,1 |
3,42 |
5,9 |
7,61 |
18,09 |
33,57 |
44,1 |
|
2 |
Резервуары с нефтепродуктами |
63 |
2,39 |
4,13 |
5,33 |
12,66 |
23,5 |
30,87 |
|
3 |
Топливоразда-точные колонки |
180 |
4,37 |
7,53 |
9,73 |
23,12 |
42,9 |
56,35 |
|
Примечание: |
М - масса испарившийся жидкости в ПГФ, кг.
можны
Выводы: При авариях в блоках №1-3, сопровождающихся взрывом, воз-шы разрушения оборудования, конструкций и травмирование людей в радиусе от 2,39 до 9,73 метров, а также легкие травмы и контузии в радиусе от 12,66 до 42,9 метра.Таблица 1.3 Характеристика пожаров проливов.[16,с.498],[9]
|
Сгораемые вещества |
Теплота сгорания мДж/кг t |
Приведенная скорость выгорания 1 0"2 кг/м2сек. |
Удельная теплота пожара q>0>, мВт/м2 |
|
Бензин |
43,000 |
.._...__ 0,58__ __ |
0,262 |
15
Таблица 1.4 Характеристика пожаров проливов [5, с. 13; 11, с. 129]
|
№ блока |
Площадь пожара Р>п>,м2 |
Тепловой поток пожара q, Мвт |
Время развития пожара т, сек |
|
|
1. Бензовоз |
40,5 |
о п "* j,9j |
0,24 |
|
|
3. Топливораз-даточные колонки |
225 |
20,96 |
0,56 |
q = qo'Fn,
где:ц - тепловой поток пожара, мВт, qo _ удельная теплота пожара, мВт/м2, F>n>. - площадь пожара, м2.
Время горения бензина при свободном разливе по бетонной поверхности слоем 5см, со скоростью выгорания до ЗОсм/час, составляет Юмин, а для дизельного топлива, со скоростью выгорания 18 - 20см/час - 15 - 17мин. При скорости ветра 8 - Юм/сек, скорость выгорания возрастает на 30 -50%.При этом, время горения для бензина составит 5 - 7мин, а время горения для дизельного топлива-до 7,5 мин. [5, с.28]
Таблица 1.5 Тепловое излучение огненного шара.
|
Оборудование и место разгерметизации |
ПГФ, М,т |
D, м |
т, сек |
Ожоги и болевой порог на расстоянии, м |
|||
|
3 ст. |
2 ст. |
1 ст. |
БП |
||||
|
Блок № 1 . Бензовоз |
3,2 |
81,05 |
5,6 |
69,92 |
93,5 |
157,9 |
413,7 |
|
Блок №2. Резервуары с нефтепродуктами |
9,0 |
24,65 |
1,7 |
117,3 |
156,8 |
264,9 |
693,7 |
Примечание: М - масса опасного вещества, т; D - диаметр огненного шара, м; Т - время сгорания огненного шара, сек.
Радиус опасной зоны -693,7 м.
Выводы:
По результатам расчетов, приведенных в таблице 1.5 видно, что при возникновении аварии в блоках №1, 2 возможно образование огненных шаров с определенной массой, диаметром и временем сгорания. При сгорании огненного шара возникает поражающий фактор - тепловое излучение огненного шара, воздействие которого на человека вызывает у него ожоги различной степени тяжести в радиусе от 69,92 до 264,9 метра.
16
Таблица 1.6 Тепловое излучение пожара пролива
|
Оборудование и место разгерметизации |
м, т |
т, мин |
н, м |
S, м2 |
Ожоги и болевой порог на расстоянии, м |
|||
|
Зет. |
2 ст. |
1 ст. |
БП |
|||||
|
Блок№1 Бензовоз 5см пролива полная разгерметизация <• |
1,62 6,4 |
1.0 39,5 |
40,5 10 j 40,5 |
6,64 |
8,88 |
15,2 |
38,6 |
|
|
Блок №3 Топливораз-даточные колонки |
0,18 |
0,2 |
- |
225 |
15,65 |
20,93 |
35,7 |
90,9 |
Примечание: М - масса пролива, т; Н - высота пламени, м; S - площадь пролива, м2; Т - время, мин. Радиус опасной зоны - 90,9 м. Выводы:
При возникновении аварии в блоках № 1,3 в виде пожаров проливов возможно воздействие на работников АЭС поражающего фактора теплового излучения пожара пролива с получением ожогов различной степени тяжести в радиусе от 6,64 до 90,9 метра.
17
ТЕХНОЛОГИЧЕСКИЙ БЛОК №1 (БЕНЗОВОЗ)
КАРТОЧКА ОПАСНОСТИ ОБОРУДОВАНИЯ
№ 1
1.НАИМЕНОВАНИЕ ОБОРУДОВАНИЯ. Бензовоз.
<•
2.ТИП ОБОРУДОВАНИЯ. Емкостное, надземное.
Горизонтальный цилиндрический сосуд со сферическими боковыми днищами
объемом 8 м3 - 1 штука.
Для перевозки нефтепродуктов.
3.НОМЕР ПОЗИЦИИ ОБОРУДОВАНИЯ ПО ТЕХНОЛОГИЧЕСКОЙ СХЕМЕ. Без номера.
4.НАЗНАЧЕНИЕ ОБОРУДОВАНИЯ (осуществляемая в аппарате типовая технологическая операция) Прием, транспортировка и слив нефтепродуктов в резервуары АЗС.
5.ПЕРЕЧЕНБ ВОЗМОЖНЫХ АВАРИЙ.
-Пролив нефтепродуктов в поддон в результате разгерметизации бензовоза, фланцевых соединений штуцеров выдачи нефтепродуктов из бензовоза, трубопроводов, запорной арматуры.
-Пожар пролива (воспламенение).
-Воспламенение паров нефтепродуктов внутри бензовоза, взрыв.
-Образование паро-воздушного облака, воспламенение, взрыв.
б.ОПОЗНАВАТЕЛЬНЫЕ ПРИЗНАКИ АВАРИИ. Внешние признаки пролива, пожара, взрыва.
7. СРЕДСТВ А ЗАЩИТЫ.
Запорная арматура, дыхательный клапан, огнепреградитель.
18
Выход параметров за критические значения
Образование
пролива в под-
доне
Пожар -> пролива —|
А -3.2.2.
А-2.1.0.
А -3.2.3.
Разогрев резервуара
Взрыв в резервуаре, его разрушение, образование огненного шара
Разгерметизация (разрушение) оборудования, трубопровода
А-1.2.0.
А -3.2.0
Факель-
»
ное го- —)
рение струи
Износ или усталость материала
Вытекание струи
А- 1.3.0.
Выход из строя предохранительных устройств
В- 1.1.0.
А-1.4.0.
А -4. 1.0.
Б- 1.1.0.
Развитие аварии за пределы предприятия
Ошибки ремонтного и обслуживающего персонала
Развитие аварии на соседние блоки
Образование ударной волны
А-1.5.0.
Проявления природы (молнии, землетрясения)
B-l.U.
Б-1.1.1.,г
Интоксикация людей
Интоксикация людей
19
АНАЛИЗ УСЛОВИЙ ВОЗНИКНОВЕНИЯ И РАЗВИТИЯ АВАРИИ ТЕХНОЛОГИЧЕСКОГО БЛОКА №1
|
Код стадии развития аварии |
Наименование стадии развития аварийной ситуации (аварии) |
Основные принципы анализа условий возникновения (перехода на другую стадию) аварийной ситуации (аварии) и ее последствий |
Способы и средства преду-" преждения, локализации аварии |
|
1 |
2 |
3 |
4 |
|
А-1.1.0 |
Выход параметров за критические значения. |
Повышение давления, температуры, уровня в резервуаре выше регламентных значений, скорости налива может привести к разрушению или разгерметизации оборудования (трубопровода) при отсутствии или неисправности защитных предохранительных устройств, к проливу. |
Применение испытанных защитных предохранительных устройств, поверенных средств измерения температуры, давления, уровня. Локализация аварии при помощи отсечных задвижек между блоками .Устранение пролива. |
|
А-1.2.0 |
Износ или усталость материала. |
Дефекты сварных соединений, неоднородность материалов, несоответствие марки материалов, используемых для изготовления арматуры, фланцев, требованиям правил. Использование дефектных материалов и изделий, превышение сроков эксплуатации оборудования. При превышении регламентных параметров температуры и давления может произойти разгерметизация или разрушение оборудования, трубопроводов, запорной арматуры. |
Проведение ревизий и испытаний оборудования, запорной арматуры, предохранительных устройств. Наличие поверенных средств диагностирования и дефектоскопии оборудования, проведение его планово-предупредительных ремонтов (ППР) и своевременная замена устаревшего и изношенного. Соблюдение регламентируемых ре-жимов работы, повышение прочностных характеристик оборудования и трубопроводов. Применение эффективных защитных покрытий. |
|
А-1.3.0 |
Выход из строя предохранительных устройств. |
Применение предохранительных устройств без проведения испытаний и ревизий согласно графика ППР. |
Оснащение предохранительными устройствами и дыхательными клапанами, прошедшими испытания и ревизию согласно графика ППР. |
|
А-1.4.0 |
Ошибки ремонтного и обслуживающего персонала > |
Допуск к работе обслуживающего и ремонтного персонала без соответствующего инструктажа, обучения, проверки знаний, квалификации, болезненного и наркотического состояния. |
Применение в производстве труда квалифицированного и опытного персонала по обслуживанию и ремонту оборудования. Своевременное проведение инструктажей по вопросам охраны труда и техники безопасности, проверки знаний, профессиональное обучение и профессиональный отбор. |
20
|
1 |
2 |
3 |
4 |
|
A-l.5.0 |
Проявления |
Выход из строя средств защиты |
Систематический контроль за |
|
природы (молнии, |
от вторичных проявлений мол- |
исправностью средств защи- |
|
|
землетрясения) |
нии. |
ты от вторичных проявлений |
|
|
молнии. |
|||
|
А-2.1.0 |
Разгерметизация |
Превышение критических пара- |
Соблюдение регламентных |
|
оборудования (тру- |
метров, износ, усталость мате- |
параметров, оснащение ис- |
|
|
бопровода). |
риала, неисправность предохра- |
правными предохранитель- |
|
|
нительных устройств, ошибки |
ными устройствами, повыше- |
||
|
персонала, отказ приборов |
ние прочностных характери- |
||
|
КИПиА, проявления природы |
стик оборудования, выполне- |
||
|
(молнии, землетрясения) |
ние графика ППР, примене- |
||
|
ние госповеренных приборов |
|||
|
КИПиА. |
|||
|
А-3.1.0 |
Образование про- |
Разгерметизация (разрушение) |
Проверка соответствия обо- |
|
лива. |
оборудования, трубопровода |
рудования, трубопроводов, |
|
|
А-3.2.0 |
Вытекание струи. |
приведет к образованию проли- |
запорной арматуры, предо- |
|
ва, вытеканию струи. |
хранительных и уплотни- |
||
|
тельньгх устройств требова- |
|||
|
ниям нормативов (проекту, |
|||
|
регламенту). Оценка техниче- |
|||
|
ского состояния оборудова- |
|||
|
ния (качество сварных соеди- |
|||
|
нений, сборка разъемных со- |
|||
|
единений, степень износа и |
|||
|
т.п.). Оценка порядка и пол- |
|||
|
ноты диагностического кон- |
|||
|
троля, эффективности ППР. |
|||
|
Ограничение площади расте- |
|||
|
кания пролива. Локализация |
|||
|
разгерметизированного уча- |
|||
|
стка. Исключение источника |
|||
|
зажигания. |
|||
|
А-3.1.1 |
Пожар пролива. |
Наличие источника зажигания. |
Исключение источника зажи- |
|
А-3.2.1 |
Факельное горение |
Оценка: возможных масштабов |
гания. Локализация пожара |
|
струи. |
пожара пролива, наличия и эф- |
пролива и факельного горе- |
|
|
фективности средств пожароту- |
ния струи средствами пожа- |
||
|
шения, умения персонала дейст- |
ротушения. Эффективные |
||
|
вовать при ликвидации очагов |
действия персонала и спец- |
||
|
загорания, оперативности и ос- |
подразделений по тушению |
||
|
нащенности пожарных частей. |
пожара и спасению людей. |
||
|
А-3.2.2 |
Разогрев резервуа- |
Потери оперативного времени |
Своевременное выявление |
|
ра |
при тушении пожара по различ- |
пожара, оперативное тушение |
|
|
ным причинам, несвоевременное |
пожара. |
||
|
ь |
выявление пожара может при- |
||
|
вести к разогреву резервуара. |
|||
|
А-3.2.3 |
Взрыв в резервуаре |
Несвоевременное тушение по- |
Своевременное эффективное |
|
и его разрушение, |
жара приводит к разогреву раз- |
тушение пожара пролива с |
|
|
образование огнен- |
герметизированного резервуара |
целью недопущения разогре- |
|
|
ного шара. |
до критической температуры, |
ва резервуара. |
|
|
прогреву нефтепродукта по глу- |
21
|
1 |
9 |
n |
4 |
|
бине резервуара, вспышке паров, возгоранию, взрыву. |
|||
|
А-4.1.0 |
Образование ударной волны |
Анализ количественных характеристик взрыва (реализуемая энергия), избыточное давление взрыва, радиусы зон интенсивности воздействия ударной волны, наличие смежных блоков, административных, бытовых, вспомогательных зданий (помещений) с постоянным нахождением людей в зоне опасной интенсивности ударной волны. |
Размещение зданий административного, бытового и вспомогательного назначения вне опасной зоны; реализация мер по повышению устойчивости зданий. Организация оповещения об опасности и вывода персонала из опасной зоны, действия персонала и спецподразделении по спасению людей. |
|
Б-1.1.0 |
Развитие аварии на соседние блоки |
Образование ударной волны может привести к разрушению соседних смежных блоков и развитию аварии в смежных блоках. |
Исключение источников зажигания, локализация, пожаров в аварийном блоке, рациональное размещение оборудования, оснащение устройствами защиты персонала от поражающих факторов (взрывная волна, высокая температура и т.п.). |
|
В-1.1.0 |
Развитие аварии за пределами предприятия |
Прогнозирование возможных масштабов и путей дальнейшего развития аварии с учетом энер-гонасыщенности предприятия. |
Действия по локализации и ликвидации аварии под руководством комиссии по чрезвычайным ситуациям. |
|
Б-1.1.1 В-1.1.1 |
Интоксикация людей |
Оценка рациональности генплана предприятия, наличия численности людей в зонах возможного поражения; оснащение средствами индивидуальной и коллективной защиты, оповещения и эвакуации людей из опасной зоны и оценка их эффективности. |
Снижение численности людей в опасной зоне, оснащение эффективными средствами защиты, оповещения и эвакуации людей; действия персонала и спецподразделений по спасению людей. |
22 ТЕХНОЛОГИЧЕСКИЙ БЛОК №2 (ПОДЗЕМНЫЕ РЕЗЕРВУАРЫ)
КАРТОЧКА ОПАСНОСТИ ОБОРУДОВАНИЯ
№2
1.НАИМЕНОВАНИЕ ОБОРУДОВАНИЯ.
Резервуары для приема, хранения и отпуска нефтепродуктов.
2.ТИП ОБОРУДОВАНИЯ. Емкостное, подземное.
Горизонтальные цилиндрические резервуары со сферическими боковыми
днищами.
Объемом 25 м~' - 6 штук.
3.НОМЕР ПОЗИЦИИ ОБОРУДОВАНИЯ ПО ТЕХНОЛОГИЧЕСКОЙ
СХЕМЕ.
Позиция №№ Е1-3, 5, 6 вместимостью 25 м3 каждая для хранения бензинов; Е4 - вместимостью 25 м3 для хранения дизтоплива. Поз.№1 - бензин марки А-92; Поз.№2 - бензин марки А-95; Поз.№3 - бензин марки А-98; Поз.№4 -дизтопливо марки летнее (зимнее); Поз.№5 - бензин марки А-80; Поз.№6 - бензин марки А-80.
4.НАЗНАЧЕНИЕ ОБОРУДОВАНИЯ (осуществляемая в аппарате типовая
технологическая операция).
Прием хранение и отпуск нефтепродуктов.
5.ПЕРЕЧЕНЬ ВОЗМОЖНЫХ АВАРИЙ.
-Пролив нефтепродуктов в поддон в результате разгерметизации резервуара, фланцевых соединений, патрубков и трубопроводов резервуара, запорной арматуры и т.п. сток пролитых нефтепродуктов в смотровые колодцы, утечка нефтепродуктов в грунт.
-Пожар пролива (воспламенение).
-Воспламенение паров нефтепродуктов внутри резервуара, взрыв.
-Образование взрывоопасных концентраций нефтепродуктов внутри резервуара, воспламенение и взрыв, образование огненных шаров.
б.ОПОЗНАВАТЕЛЬНЫЕ ПРИЗНАКИ АВАРИИ. Внешние признаки пролива, пожара, взрыва.
7.СРЕДСТВА ЗАЩИТЫ.
Огнепреградитель, дыхательный клапан, запорная арматура.
8.СЦЕНАРИИ ВОЗНИКНОВЕНИЯ И РАЗВИТИЯ АВАРИИ НА ПОДЗЕМНЫХ ХРАНИЛИЩАХ В ВИДЕ ЛОГИЧЕСКОЙ
СХЕМЫ С ПРИСВОЕНИЕМ КОДА КАЖДОЙ СТАДИИ.
А-1.1.0.

Выход параметров за критические значения
А-3.2.3.
А-3.2.2.
А-3.1.1
А-2.1.0.
А-3.1.0
Взрыв в резервуаре, его разрушение, образование огненного шара.
Разогрев резервуара
Образование пролива в поддоне, сток пролива в смотровой колодец
Разгерметизация (разрушение) оборудования, трубопровода
А-1.2.0.
Износ или усталость материала
А-1.3.0.
Выход из строя предохранительных устройств
В-1.1.0.
А- 1.4.0.
Б-1.1.0.
А-4.1.0.
Развитие аварии за пределы предприятия
Развитие аварии на соседние блоки
Образование ударной волны
Ошибки ремонтного и обслуживающего персонала
А-1.5.0.
Проявления природы (молнии, землетрясения)
В-1.!.!.,,
Б-1.1.1.
Интоксикация людей
Интоксикация людей
24
АНАЛИЗ УСЛОВИЙ ВОЗНИКНОВЕНИЯ И РАЗВИТИЯ АВАРИИ ТЕХНОЛОГИЧЕСКОГО БЛОКА №2
|
Код стадии развития аварии |
Наименование стадии развития аварийной ситуации (аварии) |
Основные принципы анализа условий возникновения (перехода на другую стадию) аварийной ситуации (аварии) и ее последствий |
Способы и средства предупреждения, локализации аварии |
|
1 |
2 |
3 |
4 |
|
А-1.1.0 |
Выход параметров за критические значения. |
Повышение давления, температуры, уровня в резервуаре выше регламентных значений, скорости налива может привести к разрушению или разгерметизации оборудования (трубопровода) при отсутствии или неисправности защитных предохранительных устройств, к проливу. |
Применение испытанных защитных предохранительных устройств, поверенных средств измерения температуры, давления, уровня. Локализация аварии при помощи отсечных задвижек между блоками . |
|
А- 1.2.0 |
Износ или усталость материала. |
Дефекты сварных соединений, неоднородность материалов, несоответствие марки материалов, используемых для изготовления арматуры, фланцев, требованиям правил. Использование дефектных материалов и изделий, превышение сроков эксплуатации оборудования. При превышении регламентных параметров температуры и давления может произойти разгерметизация или разрушение оборудования, трубопроводов, запорной арматуры. |
Проведение ревизий и испытаний оборудования, запорной арматуры, предохранительных устройств. Наличие поверенных средств диагностирования и дефектоскопии оборудования, проведение его планово-предупредительных ремонтов (ППР) и своевременная замена устаревшего и изношенного. Соблюдение регламентируемых режимов работы, повышение прочностных характеристик оборудования и трубопроводов. Применение эффективных защитных покрытий. |
|
А-1.3.0 |
Выход из строя предохранительных устройств. |
Применение предохранительных устройств без проведения испытаний и ревизий согласно графика ППР. |
Оснащение предохранительными устройствами и дыхательными клапанами, прошедшими испытания и ревизию согласно графика ПНР. |
|
А-1.4.0 |
Ошибки ремонтного и обслуживающего персонала » |
Допуск к работе обслуживающего и ремонтного персонала без соответствующего инструктажа, обучения, проверки знаний, квалификации, болезненного и наркотического состояния. |
Применение в производстве труда квалифицированного и опытного персонала по обслуживанию и ремонту оборудования. Своевременное проведение инструктажей по вопросам охраны труда и техники безопасности, проверки знаний, профессиональное обучение и профессиональный отбор. - |
25
|
1 |
2 |
3 |
4 |
|
A-l.5.0 |
Проявления природы (молнии, земл стрясен ия ) |
Выход из строя средств защиты от вторичных проявлений молнии. |
Систематический контроль за исправностью средств защиты от вторичных проявлений молнии. |
|
А-2.1.0 |
Разгерметизация оборудования (трубопровода). |
Превышение критических параметров, износ, усталость материала, неисправность предохранительных устройств, ошибки персонала, отказ приборов КИПиА, проявления природы (молнии, землетрясения) |
Соблюдение регламентных параметров, оснащение исправными предохранительными устройствами, повышение прочностных характеристик оборудования, выполнение графика ППР, применение госповеренных приборов КИПиА. |
|
А-3.1.0 |
Образование пролива, сток пролива нефтепродуктов в смотровой колодец |
Разгерметизация (разрушение) оборудования, трубопровода приведет к образованию пролива, вытеканию струи. |
Проверка соответствия оборудования, трубопроводов, запорной арматуры, предохранительных и уплотни-тельных устройств требованиям нормативов (проекту, регламенту). Оценка технического состояния оборудования (качество сварных соединений, сборка разъемных соединений, степень износа и т.п.). Оценка порядка и полноты диагностического контроля, эффективности ППР. Ограничение площади растекания пролива. Локализация разгерметизированного участка. Исключение источника зажигания. |
|
А-3.1.1 |
Пожар пролива в смотровом колодце |
Наличие источника зажигания. Оценка: возможных масштабов пожара пролива, наличия и эффективности средств пожаротушения, умения персонала действовать при ликвидации очагов загорания, оперативности и оснащенности пожарных частей. |
Исключение источника зажигания. Локализация пожара пролива и факельного горения струи средствами пожаротушения. Эффективные действия персонала и спецподразделений по тушению пожара и спасению людей. |
|
А-3.2.2 |
Разогрев резервуара ъ |
Потери оперативного времени при тушении пожара по различным причинам, несвоевременное выявление пожара может привести к разогреву резервуара. |
Своевременное выявление пожара, оперативное тушение пожара. |
|
А-3.2.3 |
Взрыв в резервуаре и его разрушение, образование огненного шара. |
Несвоевременное тушение пожара приводит к разогреву разгерметизированного резервуара до критической температуры, прогреву нефтепродукта по глу- |
Своевременное эффективное тушение пожара пролива с целью недопущения разогрева резервуара. |
26
|
1 |
2 |
3 |
4 |
|
бине резервуара, вспышке паров, возгоранию, взрыву. |
|||
|
А-4.1.0 |
Образование ударной волны |
Анализ количественных характеристик взрыва (реализуемая энергия), избыточное давление взрыва, радиусы зон интенсивности воздействия ударной волны, наличие смежных блоков, административных, бытовых, вспомогательных зданий (помещений) с постоянным нахождением людей в зоне опасной интенсивности ударной волны. |
Размещение зданий административного, бытового и вспомогательного назначения вне опасной зоны; реализация мер по повышению устойчивости зданий. Организация оповещения об опасности и вывода персонала из опасной зоны, действия персонала и спецподразделений по спасению людей. |
|
Б-1.1.0 |
Развитие аварии на соседние блоки |
Образование ударной волны может привести к разрушению соседних смежных блоков и развитию аварии в смежных блоках. |
Исключение источников зажигания, локализация пожаров в аварийном блоке, рациональное размещение оборудования, оснащение устройствами зашиты персонала от поражающих факторов (взрывная волна, высокая температура и т.п.). |
|
В-1.1.0 |
Развитие аварии за пределами предприятия |
Прогнозирование возможных масштабов и путей дальнейшего развития аварии с учетом энергонасыщенности предприятия. |
Действия по локализации и ликвидации аварии под руководством комиссии по чрезвычайным ситуациям. |
|
Б-1.1.1 В-1.1.1 |
Интоксикация людей |
Оценка рациональности генплана предприятия, наличия численности людей в зонах возможного поражения; оснащение средствами индивидуальной и коллективной защиты, оповещения и эвакуации людей из опасной зоны и оценка их эффективности. |
Снижение численности людей в опасной зоне, оснащение эффективными средствами защиты, оповещения и эвакуации людей; действия персонала и спецподразделений по спасению людей. |
27 .
ТЕХНОЛОГИЧЕСКИЙ БЛОК №3 (ТОГШИВОРАЗДАТОЧНЫЕ КОЛОНКИ) КАРТОЧКА ОПАСНОСТИ ОБОРУДОВАНИЯ
№ 3
1 .НАИМЕНОВАНИЕ ОБОРУДОВАНИЯ. Топливораздаточные колонки.
2.ТИП ОБОРУДОВАНИЯ.
Типа "Gilbarko" модель №В05 серия GEPA 123508 - 3 шт. ,на 6 пистолетов
(заправочный кран) - по 3 на каждую сторону:
ТРК№1-А95,А92,А80;
ТРК №2 - А95, А92, А80.
ТРК №3 - А98; ДТ на два пистолета, в том числе: один пистолет для ДТ, другой для бензина А98.
3.НОМЕР ПОЗИЦИИ ПО ТЕХНОЛОГИЧЕСКОЙ СХЕМЕ. Позиции №№: K6i-K6>3>.
4.НАЗНАЧЕНИЕ ОБОРУДОВАНИЯ (осуществляемая в аппарате типовая технологическая операция).
Перекачивание нефтепродуктов насосами топливораздаточных колонок из резервуаров для заправки автотранспорта.
З.ПЕРЕЧЕНЬ ВОЗМОЖНЫХ АВАРИЙ.
-Пожар пролива (воспламенение).
-Воспламенение паров нефтепродуктов, взрыв.
-Образование паро-воздушного облака, воспламенение, взрыв.
б.ОПОЗНАВАТЕЛЬНЫЕ ПРИЗНАКИ АВАРИИ. Внешние признаки пролива, пожара, взрыва.
7.СРЕДСТВА ЗАЩИТЫ.
Запорная арматура, автоматическое отключение электродвигателя насоса ТРК.
8.СЦЕНАРИИ ВОЗНИКНОВЕНИЯ И РАЗВИТИЯ АВАРИИ НА ТОПЛИВОРАЗДАТОЧНОЙ КОЛОНКЕ В ВИДЕ
ЛОГИЧЕСКОЙ СХЕМЫ С ПРИСВОЕНИЕМ КОДА КАЖДОЙ СТАДИИ.
А-1.1.0.

Выход парамет-pde за критические значейия
А-3.1Д___ А-3.1.1.
А-3.2.2.
Образование пролива
А-2.1.0.
Разогрев оборудования
Взрыв разрушение оборудования
А-3.2.3.
А-1.2.6.
А-3.2.0
Вытекание струи
Износ или усталость материала
А-1.3.0.
Выход из строя предохранительных устройств
Разгерметиза'-ция (разрушение) оборудо" вания, трубопровода
В-1.1.0.
А-1.4.0.
Б-1.1.0.
А-4.1.0.
Развитие аварии за пределы предприятия
Ошибки ремонтного и обслуживающего персонала
Развитие аварии на соседние блоки
Образование ударной волны
А-1.5.0.
Выход из строя приборов КИПиА
Б-1.1.1.
Интоксикация людей
Интоксикация людей
А-1.6.0.
Проявления природы (молнии, земле-лрясения)
29
АНАЛИЗ УСЛОВИЙ ВОЗНИКНОВЕНИЯ И РАЗВИТИЯ АВАРИИ ТЕХНОЛОГИЧЕСКОГО БЛОКА №3.
|
Код стадии развития аварии |
Наименование стадии развития аварийной ситуации (аварии) |
Основные принципы анализа условий возникновения (перехода на другую стадию) аварийной ситуации (аварии) и ее последствий |
Способы и средства предупреждения, локализации аварии |
|
1 |
2 |
3 |
4 |
|
A-t.1.0 |
Выход параметров за критические значения. |
Повышение давления, температуры, уровня в резервуаре выше регламентных значений может привести к разрушению или разгерметизации оборудования (трубопровода) при отсутствии или неисправности защитных предохранительных устройств, к проливу. |
Применение испытанных защитных предохранительных устройств, поверенных средств измерения температуры, давления, уровня. Локализация аварии при помощи отсечных задвижек между блоками . |
|
А-1.2.0 |
Износ или усталость материала. |
Дефекты сварных соединений, неоднородность материалов, несоответствие марки материалов, используемых для изготовления арматуры, фланцев, требованиям правил. Использование дефектных материалов и изделий, превышение сроков эксплуатации оборудования. При превышении регламентных параметров температуры и давления может произойти разгерметизация или разрушение оборудования, трубопроводов, запорной арматуры. |
Проведение ревизий и испытаний оборудования, запорной арматуры, предохранительных устройств. Наличие поверенных средств диагностирования и дефектоскопии оборудования, проведение его планово-предупредительных ремонтов (ППР) и своевременная замена устаревшего и изношенного. Соблюдение регламентируемых режимов работы, повышение прочностных характеристик оборудования и трубопроводов. Применение эффективных защитных покрытий. |
|
А- 1.3.0 |
Выход из строя предохранительных устройств. |
Применение предохранительных устройств без проведения испытаний и ревизий согласно графика ППР. |
Оснащение предохранительными устройствами и дыхательными клапанами, прошедшими испытания и ревизию согласно графика ППР. |
|
А-1.4.0 |
Ошибки ремонтного и обслуживающего персонала k |
Допуск к работе обслуживающего и ремонтного персонала без соответствующего инструктажа, обучения, проверки знаний, квалификации, болезненного и наркотического состояния. |
Применение в производстве труда квалифицированного и опытного персонала по обслуживанию и ремонту оборудования. Своевременное проведение инструктажей по вопросам охраны труда и техники безопасности, проверки знаний, профессиональное обучение и профессиональный отбор. |
30
|
1 |
2 |
3 |
4 |
|
A-l.5.0 |
Отказ приборов КИПиА |
Несвоевременное и не качественная поверка средств контроля параметров технологического режима. В результате отказа приборов КИПиА произойдет нарушение норм технологического режима, что в свою очередь может привести к разгерметизации оборудования, трубопроводов. |
Выполнение графика поверки средств контроля параметров технологического режима. Своевременная замена средств контроля КИПиА. Локализация аварий отсечной запорной арматуры. |
|
A-l.6.0 |
Проявления природы (молнии, землетрясения) |
Выход из строя средств защиты от.вторичных проявлений молнии. |
Систематический контроль за исправностью средств защиты от вторичных проявлений молнии. |
|
А-2.1.0 |
Разгерметизация оборудования (трубопровода). |
Превышение критических параметров, износ, усталость материала, неисправность предохранительных устройств, ошибки персонала, отказ приборов КИПиА, проявления природы (молнии, землетрясения) |
Соблюдение регламентных параметров, оснащение ис* правными предохранительными устройствами, повышение прочностных характеристик оборудования, выполнение графика ПНР, применение госповеренных приборов КИПиА. |
|
А-3.1.0 А-3.2.0 |
Образование пролива. Вытекание струи. |
Разгерметизация (разрушение) оборудования, трубопровода приведет к образованию пролива, вытеканию струи. |
Проверка соответствия оборудования, трубопроводов, запорной арматуры, предохранительных и уплотни-тельных устройств требованиям нормативов (проекту, регламенту). Оценка технического состояния оборудования (качество сварных соединений, сборка разъемных соединений, степень износа и т.п.). Оценка порядка и полноты диагностического контроля, эффективности ПНР. Ограничение площади растекания пролива. Локализация разгерметизированного участка. Исключение источника зажигания. |
|
А-3.1.1 А-3.2.1 |
Пожар пролива. Факельное горение струи. |
Наличие источника зажигания. Оценка: возможных масштабов пожара пролива, наличия и эффективности средств пожаротушения, умения персонала действовать при ликвидации очагов загорания, оперативности и оснащенности пожарных частей. |
Исключение источника зажигания. Локализация пожара пролива и факельного горения струи средствами пожаротушения. Эффективные действия персонала и спецподразделений по тушению пожара и спасению людей. |
31
|
1 |
2 |
3 |
4 |
|
А-3.2.2 |
Разогрев ТРК |
Потери оперативного времени при тушении пожара по различным причинам, несвоевременное выявление пожара может привести к разогревуТРК. |
Своевременное выявление пожара, оперативное тушение пожара. |
|
А-3.2.3 |
Взрыв в ТРК и её разрушение |
Несвоевременное тушение пожара приводит к разогреву раз герметизированной ТРК до критической температуры, прогреву нефтепродукта вТРК, вспышке паров, возгоранию, взрыву. |
Своевременное эффективное тушение пожара пролива с целью недопущения разогрева бензоколонки. |
|
А-4.1.0 |
Образование ударной волны |
Анализ количественных характеристик взрыва (реализуемая энергия), избыточное давление взрыва, радиусы зон интенсивности воздействия ударной волны, наличие смежных блоков, административных, бытовых, вспомогательных зданий (помещений) с постоянным нахождением людей в зоне опасной интенсивности ударной волны. |
Размещение зданий административного, бытового и вспомогательного назначения вне опасной зоны; реализация мер по повышению устойчивости зданий. Организация оповещения об опасности и вывода персонала из опасной зоны, действия персонала и спецподразделений по спасению людей. |
|
Б-1.1.0 |
Развитие аварии на соседние блоки |
Образование ударной волны может привести к разрушению соседних смежных блоков и развитию аварии в смежных блоках. |
Исключение источников зажигания, локализация пожаров в аварийном блоке, рациональное размещение оборудования, оснащение устройствами защиты персонала от поражающих факторов (взрывная волна, высокая температура и т.п.). |
|
В-1.1.0 |
Развитие аварии за пределами предприятия |
Прогнозирование возможных масштабов и путей дальнейшего развития аварии с учетом энергонасыщенности предприятия. |
Действия по локализации и ликвидации аварии под руководством комиссии по чрезвычайным ситуациям. |
|
Б-1.1.1 В-1.1.1 |
Интоксикация людей ь |
Оценка рациональности генплана предприятия, наличия численности людей в зонах возможного поражения; оснащение средствами индивидуальной и коллективной защиты, оповещения и эвакуации людей из опасной зоны и оценка их эффективности. |
Снижение численности людей в опасной зоне, оснащение эффективными средствами защиты, оповещения и эвакуации людей; действия персонала и спецподразделении по спасению людей. |
32 II ОПЕРАТИВНАЯ ЧАСТЬ
2.1 Распределение обязанностей между должностными лицами, участвующими в ликвидации аварии и порядок их действий.
2.1.1. Общие положения.
1. Руководство работами по спасению людей и ликвидации аварии осуществляет ответственный руководитель работ.
2. Категорически запрещается вмешиваться в действия ответственного руководителя работ
3. Если авария угрожает другим блокам или при явно неправильных действиях ответственного руководителя работ, вышестоящее руководящее лицо имеет право отстранить его и принять на себя руководство ликвидацией аварии или назначить для этого другое должностное лицо.
4. Ответственным руководителем работ по ликвидации аварии является:
- на первом уровне развития аварии (А) - начальник АЭС.'До его прибытия на место аварии обязанности ответственного руководителя работ выполняет лицо его замещающее (старший оператор, оператор);
- на уровне развития аварии (Б) - руководитель предприятия или его заместитель. До его прибытия на место аварии обязанности руководителя работ выполняет начальник АЭС.
5. Непосредственное руководство ведением спасательных работ осуществляется ответственным руководителем работ.
6. Непосредственное руководство по тушению пожара осуществляется старшим начальником пожарной части СГПЧ-42 в соответствии с обстановкой на пожаре, информацией и указаниями, полученными от руководителя работ по ликвидации аварии. До его прибытия на место аварии эти обязанности выполняет ответственный руководитель работ.
В зависимости от обстановки, руководитель предприятия или специализированного подразделения организует штаб тушения пожара, определив место его расположения. В состав штаба включаются представители администрации предприятия, руководитель службы охраны труда и другие лица.
На представителей предприятия в штабе тушения пожара возлагаются следующие функции:
- консультации по вопросам технологического процесса и специфическим особенностям объекга;
- обеспечение необходимого контингента работников;
- обеспечение автотранспортом;
- корректировка действий служб и отдельных лиц, занятых выполнением работ, связанных с тушением пожара.
7. Лица, вызываемые для спасения людей и ликвидации аварии, сообщают о своем прибытии ответственному руководителю работ и по его указанию приступают к выполнению своих обязанностей.
33
8. При направлении персонала предприятия на выполнение аварийных работ в газоопасных местах во главе каждой газоспасательной бригады должен быть инженерно-технический работник. Организация и ведение газоопасных работ осуществляется в соответствии с «Инструкцией по организации безопасного проведения газоопасных работ на предприятии», утвержденной руководителем предприятия.
2.1.2 Ответственный руководитель работ (ОР).
<•
1: Во время аварии ОР по локализации и ликвидации аварии должен выполнять следующие, основные функции:
- устанавливать порядок действий по локализации и ликвидации аварии, при необходимости корректировать действия, предусмотренные оперативной частью в соответствии с реальной обстановкой;
- координировать действия всех подразделений при выполнении работ по ликвидации аварии, контролировать правильность действий при выполнении заданий и распоряжений.
2. ОР работ носит отличительную одежду (куртку, каску) ярко оранжевого цвета с надписью «ОР».
3. На уровне развития аварии (А).
- Оценивает обстановку, выявляет число и место нахождения людей, попавших в зону поражения, аварии, принимает меры по организации оповещения работников предприятия об аварии.
- С помощью оперативного персонала специализированных подразделений и службы военизированной ведомственной охраны (ВВО):
а) определяет размеры потенциально опасной зоны;
б) обеспечивает вывод из опасной зоны людей, непосредственно не участвующих в ликвидации аварийной ситуации (аварии);
в) принимает меры по исключению допуска в опасную зону людей и транспортных средств, не участвующих в ликвидации аварийной ситуации (аварии).
- Принимает меры по организации медицинской помощи пострадавшим.
- Контролирует ход работ по ликвидации аварии,' регулярно получает информацию о количестве людей, выполняющих работы и места их работы.
- Регулярно информирует руководство предприятия (непосредственно или через подчиненных) о ходе работ по спасению людей и ликвидации аварии. Передает необходимую информацию и распоряжения руководителям подразделений, взаимосвязанных по коммуникациям с аварийным объектом.
- По прибытии добровольной пожарной дружины сообщает командиру: а) о месте, характере и размере аварии;
34
б) о принятых мерах и количестве людей, занятых в ликвидации аварии;
в) о возможных вариантах развития и последствиях аварии;
г) о необходимой помощи со стороны добровольной газоспасательной службы и пожарной охраны.
- В случае угрозы развития аварии (взрыв, пожар) предупреждает об этом командиров подразделений и принимает решение об удаления людей из опасной зоны.
4. На уровне развития аварии (Б) дополнительно к пункту 2.1.2.
- Создает орган управления (штаб) по локализации и ликвидации аварии из главных специалистов предприятия и начальников привлекаемых служб предприятия. Назначает ответственное лицо для ведения оперативного журнала по ликвидации аварии, в котором фиксируется вся информация о принятых мерах, ходе работ, последствиях аварии. Место расположения штаба
резервное _____________________________
- При необходимости организует привлечение дополнительных сил и средств для ликвидации аварии. Уточняет и прогнозирует ход развития аварии. При необходимости организует дополнительное оповещение объектов, которые попадают в зону возможного воздействия аварии.
- Принимает меры по организации своевременной доставки необходимых материалов, оборудования, инструмента, руководит работой транспорта.
- При аварийных работах более 6 часов организует питание и отдых для лиц, участвующих в ликвидации аварии.
- Информирует вышестоящие (районные, городские) организации о ходе развития и характере аварии, о наличии пострадавших, о работах по ликвидации аварии.
5. После ликвидации аварии ОР дает разрешение на проведение ремонтно-восстановительных работ или пуск предприятия в работу.
- Организует обследование оборудования, трубопроводов, систем снабжения электроэнергией. Определяет объемы необходимых ремонтно-восстановительных работ.
- Определяет режим пуска объекта после ликвидации аварии.
- Оформляет необходимую для пуска документацию.
6. Копия приказа о назначении должностных лиц, выполняющих функции ОР при авариях различного уровня приведены в Приложении №2.
2.1.3 Старший оператор АЭС
(лицо,
выполняющее функции диспетчера).
1. После получения сообщения об аварии проверяет выезд спецслужб, извещает должностных лиц, согласно соответствующему списку (Приложение №3) и указаний ОР.
35
2. При переходе аварии на уровень (Б) до прибытия руководителя предприятия или его заместителя выполняет обязанности ответственного руководителя работ по ликвидации аварии. Командным пунктом по ликвидации аварии в данном случае является рабочее место диспетчера (оператора).
3. До организации штаба по ликвидации аварии является центром связи между ответственным руководителем работ по ликвидации аварии и от-вегственными должностными лицами предприятия.
4. Обеспечивает прибытие спецслужб предприятия на аварийный объект для организации спасения, людей и ликвидации, аварии а канальной, сха? дни или прекращения ее распространения согласно оперативной части плана локализации аварии.
5. После прибытия руководителя предприятия или его заместителя информирует их о состоянии работ по спасению людей и ликвидации аварии, выясняет место нового командного пункта и поступает в распоряжение ответственного руководителя работ по ликвидации аварии.
6. После организации штаба по ликвидации аварии информирует о его местонахождении и возможных связях с ним.
2.1.4. Руководитель оперативного персонала АЭС (старший оператор).
L На уровне развития аварии (А) до прибытия ответственного руководителя работ по ликвидации аварии:
- Организует оповещение об аварии персонала.
- Прекращает все виды работ на предприятии.
- С помощью добровольной пожарной дружины (ДПД) организует вывод людей, не задействованных в локализации и ликвидации аварии за границы территории аварийного блока, оказывает помощь пострадавшим.
- До прибытия пожарной команды организует тушение пожара имеющимися средствами и силами добровольной пожарной дружины (ДПД) и оперативного персонала.
- Организует действия персонала АЭС по локализации и ликвидации аварии согласно оперативной части ПЛАС.
2. По прибытии на место аварии ОР докладывает ему оперативную обстановку и далее остается в его распоряжении.
2.1.5. Персонал АЭС
>t>> >•__-,—-. -л - -. --_-——.—_.._ „__ -. ___
на котором произошла авария.
1. Немедленно сообщает о возникновении аварийной ситуации или аварии старшему оператору.
2. Немедленно являются к ответственному руководителю работ для получения заданий, '
3. Действуют согласно указаний ОР и оперативной части ПЛАС. Должны иметь при себе индивидуальные противогазы и каски. При возникновении угрозы загазованности - немедленно одевают противогазы.
36
4. Принимают меры для локализации и ликвидации проливов продуктов.
- При наличии проливов организуют откачку пролитого продукта из приямка.
- При загорании проливов до прибытия пожарной части принимают меры по тушению возгорания.
- Для тушения пожара применяют огнетушители, кошму, песок.
5. Принимают меры по эвакуации людей и пострадавших до прибытия спецподразделений.
6. Общие правила дд£ выполнения некоторых операций во время аварий:
- При отключении насоса обязательно перекрыть запорную арматуру (задвижки).
- При возникновении загорания обесточить оборудование.
При проливе нефтепродуктов не допускать их попадание в промышленную канализацию.
7.Материальные средства для ликвидации аварии на установке приведены в Приложении №4.
2.1.6 Руководитель предприятия (заместитель).
1. Узнав об аварии, немедленно прибывает к месту аварии.
2. Организует штаб по ликвидации аварии.
3. Обеспечивает работу аварийных и материальных складов, доставку необходимых материалов и инструментов к месту аварии.
4. Организует транспортное обеспечение.
5. На уровне развития аварии (Б) выполняет обязанности руководителя работ по ликвидации аварии, руководствуясь ПЛАС и исходя из реальной обстановки.
2.1.7. Инструкция по аварийной остановке АЗС.
1. Аварийная остановка АЗС производится в случае:
1.1. Разгерметизации оборудования,
резервуаров и трубопроводов
приёма
нефтепродуктов в резервуары
и выдачи из резервуаров через
топливоразда-
точные колонки
потребителю. >т>
1.2. Выхода из строя приборов автоматизированной системы управления отпуска нефтепродуктов потребителю.
1.3. Нарушения норм технологического режима процессов приёма, хранения и отпуска нефтепродуктов: переполнение резервуаров, бензобаков, нарушение скорости слива нефтепродуктов в хранилища, превышение давления в хранилище в результате выхода из строя дыхательных клапанов и др.
1.4. Пожара.
2. Остановка АЗС осуществляется следующим образом:
37
2.1.При разгерметизации трубопроводов, запорной арматуры немедленно прекратить заправку автотранспорта; остановить насос с пульта управления АЭС; отсечь аварийный участок запорной арматурой, принять меры по ликвидации последствий разгерметизации; ликвидировать пролив нефтепродуктов.
2.2. При разгерметизации резервуаров немедленно прекратить заправку автотранспорта; насосом откачать нефтепродукт из аварийной емкости в резервную; принять меры по ликвидации последствий разгерметизации; ликвидировать пролив нефтепродуктов.
2.3 При выходе из строя приборов автоматизированной системы управления отпуска нефтепродуктов потребителю немедленно: прекратить заправку автотранспорта; перекрыть запорную арматуру; продублировать остановку электродвигателя насоса.
2.4 При нарушения норм технологического режима процессов • приёма, хранения и отпуска нефтепродуктов немедленно прекратить заправку автотранспорта до устранения нарушения норм технологического режима.
З.При сигнале, извещающем об аварийном положении, немедленно осуществляется следующее:
3.1. На месте аварий, а также в опасной зоне прекращаются все работы (ремонт, чистка, монтаж, сборки оборудования); персонал, не занятый ликвидацией аварии, покидает опасную зону.
3.2. Принимаются меры для оцепления зоны аварии, вывода людей из опасной зоны и поиска пострадавших.
3.3. Принимаются меры к ликвидации аварии.
3.4. Работа производственного оборудования прекращается или переводится в положение, обеспечивающее локализацию и ликвидацию аварии в соответствии с "Планом локализации и ликвидации аварийных ситуаций и аварий на предприятии".
3.5. Рабочие, не занятые аварийными
работами, по распоряжению
начальника
АЭС удаляются из опасной зоны. »
3.6. В случае пожара останавливается и обесточивается все электрооборудование в зоне пожара, до прибытия пожарных частей принимаются меры по тушению пожара первичными средствами пожаротушения; при проливе нефтепродукта принимаются меры по сбору нефтепродуктов.
4.7. Отмена аварийного положения может быть осуществлена только после обследования всего оборудования и коммуникаций. Право отмены аварийного положения предоставляется только руководителю предприятия, его заместителю, начальнику АЭС.
38
БЛОК-КАРТА ТЕХНОЛОГИЧЕСКОГО БЛОКА № 1 (БЕНЗОВОЗ).
1 .Технологическая схема - рис. 1. (с. 40)
2.План-схема - рис.2, (с.41).
3.Краткая характеристика опасности блока.
3.1. Состав блока: бензовоз.
3.2. Блок ограничен ручной запорной арматурой - №1.
|
3.3. Характеристика опасности оборудования: |
||||||
|
Вид продукта |
Температура вспышки, °С |
Пределы воспламенения |
Температура самовоспламенения, °С |
Температура воспламенения,^ |
||
|
концентрационные, % об. |
нтпв °с |
ВТПВ °С |
||||
|
Бензины (различных марок) |
-39 -ь-29 |
0,65-8,04 |
-30 |
до 10 |
350-440 |
-34 |
|
Дизельное топливо: Л 3 |
40-60 более 61 |
2,1-12 |
более 35 |
до 155 |
240 - 370 |
45-65 |
3.4. Возможные аварии:
разгерметизация, образование пролива, образование взрывоопасных концентраций в закрытом объеме, горение пролива (взрыв), образование огненного шара.
3.5.ХАРАКТЕР ВОЗДЕЙСТВИЯ ВИДОВ ОПАСНОСТИ (зоны поражения):
|
а) юбыточное дш |
зление м, кг |
взрыва Радиус i I ««Ч»-» *-1 шрОНТС Г |
||||||
|
№ блока |
Оборудование и MCCTG puSrvj/Tvlv- тизации |
-ообар (м) избыточного давления на V* ** - >ц> .<• *Д" *У щу *1 J J-\,V-\Jt\\JKL OV/JIAULH |
||||||
|
100 кПа |
60кПа |
40кПа |
20кПа |
ЮкПа |
5кПа |
|||
|
1 |
Бензовоз |
110,38 |
3,42 |
5,9 |
7,61 |
18^09 |
33,57 |
44,1 |
Примечание: М - приведенная критическая масса, кг.
39
|
б) тепловое излучение пожара пролива |
||||||
|
Оборудование и место разгерметизации |
м, т |
т, мин |
н, м |
S, м2 |
Ожоги и болевой порог на расстоянии, м |
|
|
1 ст. |
БП |
|||||
|
Блок№1 Бензовоз 5см пролива полная разгерметизация |
1,62 6,4 |
10 39,5 |
-10 |
40,5 40,5 |
15,2 |
38,6 |
Примечание: М - масса пролива, т; Н - высота пламени, м;
Т -время горения, мин.; S - площадь пролива, м2.
Тепловое излучение огненного шара.
|
Оборудование и место разгерметизации |
ПГФ, М, т |
D, м |
т, сек |
Ожоги и болевой порог на расстоянии, м |
|||
|
3 ст. |
2 ст. |
1 ст. |
БП |
||||
|
Бензовоз |
3,2 |
81,05 |
5,6 |
69,9 |
93,5 |
157,9 |
413,7 |
Примечание: М - масса опасного вещества, т; D - диаметр огненного шара, м; Т - время сгорания огненного шара, сек.
3.6. Радиус опасной зоны - 413,7 м.
42
ОПИСАНИЕ ДЕЙСТВИЙ ПЕРСОНАЛА ПРИ ЛИКВИДАЦИИ АВАРИИ ИЛИ АВАРИЙНОЙ СИТУАЦИИ.
(НА БЕНЗОВОЗЕ)
Уровень А
|
Наименование и |
Перечень исполнителей, порядок их действий |
||
|
код аварии (стадии) |
Опознавательные признаки аварии |
Порядок действия исполнителей |
Исполнители |
|
• |
|||
|
1 |
2 |
3 |
4 |
|
А-2.1.0. Разгерметизация (разрушение) оборудование, трубопровода. А-3.1.0. Образование пролива в поддоне. А -3.2.0. Вытекание струи. 1 . Разгерметизация бензовоза. |
Внешние признаки аварии; Пролив нефтепродукта в поддон, образование паров нефтепродуктов со специфическим запахом. V ч» • |
РАЗГЕРМЕТИЗАЦИЯ БЕНЗОВОЗА 1 .Выявить и оценить аварию по внешним признакам 2. Окриком или по громкоговорящей связи предупредить об аварии всех находящихся в зоне аварии. З.Всем посторонним, находящимся в зоне аварии, покинуть зону аварии. 4. Сообщить об аварии начальнику АЗС лично или по тел. 5-1 8-32 г Джанкой. 5. Получить подтверждение о получении сообщения об аварии начальником АЗС и вызове им служб, участвующих в ликвидации аварии. 6. Немедленно обесточить технологическое оборудование. 7.Прекратить технологический процесс заправки автотранспорта нефтепродуктами. 8. Начать эвакуацию людей и автотранспорта в безопасное место. 9.Прекратить ремонтные работы на АЗС, монтажно-строительные работы в зоне аварии. 1 О.Немедленно приступить к ликвидации аварии табельными средствами. 1 1 .Выставить посты с предупредительными знаками для оцепления зоны аварии. 12. Проверить наличие пострадавших людей в зоне аварии, в случае обнаружения принять меры к их эвакуации. 1 3 . Оказать медицинскую помощь пострадавшим. 14. Закрыть канализационные колодцы кошмой и засыпать песком. |
Оператор Первый заметивший Ст. оператор Ст. оператор Ст. оператор Ст. оператор Ст. оператор Ст. оператор Начальник АЗС Ст. оператор Начальник АЗС Бойцы ПГПЧ Медперсонал Ст. оператор Бойцы ПГПЧ Бойцы ПГПЧ |
43
|
1 |
2 |
3 |
4 |
|
А-3.1.1. Пожар пролива А-3.1.0. Факельное горение струи. |
Внешние признаки пожара. |
17-Настроить технологический процесс перекачивания нефтепродукта из аварийного бензовоза в хранилище согласно рабочей инструкции. ^ 1 8.После освобождения аварийного бензовоза принять меры к устранению разгерметизации бензовоза. 19.Конкретные мероприятия по ликвидации разгерметизации бензовоза принимает ответственный руководитель работ по ликвидации аварии. 20. Принять меры по ликвидации последствия пролива нефтепродукта. ^ 21. Доложить ответственному руководителю работ по ликвидации аварии о мерах, принятых по ликвидации аварии. 1. Выявить и оценить аварию по внешним признакам 2. Окриком или по громкоговорящей связи предупредить об аварии всех находящихся в зоне аварии . З.Всем посторонним, находящимся в зоне аварии, покинуть юну аварии. 4. Сообщить об аварии начальнику АЗС лично или по тел. 5-1 8-32 г Джанкой. 5. Получить подтверждение о получении сообщения об аварии начальником АЗС и вызове им служб, участвующих в ликвидации аварии. б.Немедленно обесточить технологическое оборудование. Т.Включить пожарную сигнализацию. 8. 0 пожаре сообщить по тел. 01 в пожарную охрану, о месте нахождения и маршруте проез-; да. 9. Немедленно приступить к ликвидации пожара первичными средствами пожаротушения. Ю.Прекратить технологический процесс заправки автотранспорта нефтепродуктами. 1 1. Начать эвакуацию людей и автотранспорта в безопасное место. 12. Прекратить ремонтные работы на АЗС, монтажно-строительные работы в зоне аварии. 13. Выставить посты с предупредительными знаками для оцепления зоны аварии. 14.Обеспечить с подветренной стороны встречу пожарных частей, участвующих в ликвидации аварии. 15. Проверить наличие пострадавших людей в зоне аварии, в случае обнаружения принять меры к их эвакуации. 16.Оказать медицинскую помощь пострадавшим. 17.3акрыть канализационные колодцы кошмой и засыпать песком. 1 8. Бойцы ПГПЧ организуют тушение пожара пролива и охлаждение бензовоза водой. |
Ст. оператор Начальник АЗС Начальник АЗС Начальник АЗС Начальник АЗС Оператор Первый {аме-тивший Ст. оператор Ст. оператор Ст. оператор Ст. оператор Ст. оператор Ст. оператор Ст. оператор Ст. оператор Ст. оператор Начальник АЗС Начальник АЗС Начальник АЗС Бойцы ПГПЧ Медперсонал Ст. оператор Бойцы ПГПЧ 1. |
|
1 |
2 |
3 |
4 |
|
19. Надеть защитные костюмы и приступить к тушению пожара. 20. Конкретные мероприятия по эффективным действиям, направленным на тушение пожара, определяет руководитель пожарных подразделений. |
Бойцы ПГПЧ Руководитель подразделения ПГПЧ |
||
|
21. Доложить ответственному руководителю работ по ликвидации аварии о мерах, принятых |
Начальник АЭС |
||
|
- |
по ликвидации аварии. |
ОПИСАНИЕ ДЕЙСТВИЙ ПЕРСОНАЛА ПРИ ЛИКВИДАЦИИ АВАРИИ ИЛИ АВАРИЙНОЙ СИТУАЦИИ.
Уровень Б
|
Наименование и код аварии (стадии) |
Опознавательные признаки аварии |
Перечень исполнителей, порядок их действий |
||
|
Порядок действия исполнителей |
Исполнители |
|||
|
1 |
2 |
з |
4 |
|
|
А -2. 1.0. Разгерметизация (разрушение) оборудования, трубопровода. А-3.1.0. Образование пролива в поддоне. А -3.2.0. Вытекание струи. 1 . Разгерметизация бензовоза. |
Внешние признаки аварии: Пролив нефтепродукта в поддон, образование паров нефтепродуктов со специфическим запахом. |
1.На.уровне А действия согласно п. №№1-17 стр. 42-43. 18. При переходе аварии на уровень Б оповестить работников АЭС средствами оповещения об аварии. 19.Всем находящимся на территории АЭС покинуть территорию АЭС. 20.Принять меры по ликвидации последствий аварии и сбору проливов нефтепродуктов. Конкретные мероприятия по ликвидации последствий аварии определяет ответственный руководитель по локализации и ликвидации аварии. 21. Доложить ответственному руководителю работ по ликвидации аварийных ситуаций о мерах, принятых по ликвидации аварии. |
Ответственный руководитель работ. Ответственный руководитель работ Ответственный руководитель работ. Ответе! венный руководитель работ. Ответственный руководитель работ. |
46
|
1 |
2 |
3 |
4 |
|
А-3.1.1. Пожар пролива А -3.1.0. Факельное горение струи. Б-1.1.1. Интоксикация людей. |
Внешние признаки пожара. |
1 .На. уровне А действия согласно п. №№1-18 стр. 43 19. При переходе аварии на уровень Б оповестить работников АЭС средствами оповещения об аварии. 20.Вызвать дополнительные подразделения пожарных частей для тушения пожара на уровне Б и охлаждения оборудования соседних блоков. 21. Конкретные мероприятия по эффективным действиям, направленным на тушение пожара, определяет руководитель подразделений пожарных частей. 22. Принять меры по ликвидации последствий аварии. Конкретные мероприятия по ликвидации последствий аварии определяет ответственный руководитель по локализации и ликвидации аварии. 23. Доложить ответственному руководителю работ но ликвидации аварийных ситуаций о мерах, принятых по ликвидации аварии. |
Ответственный руководитель работ. Ответственный руководитель работ. Ответственный руководитель работ Руководитель ПГЧП. Ответственный руководитель работ. Ответственный руководитель работ. |
|
А -3.2.3. Взрыв в резервуа-ре,(бензовозе) его разрушение. Б-1.1.1. Интоксикация людей. |
Внешние признаки взрыва. |
1. Выявить и оценить аварию по внешним признакам. 2. Окриком или по громко говорящей связи предупредить об аварии всех находящихся в зоне аварии, включить пожарную сигнализацию. З.Всем находящимся в зоне аварии покинуть зону аварии. 4. Сообщить об аварии начальнику АЗС лично или по тел. 5-1 8-32 г Джанкой. 5. Получить подтверждение о получении сообщения об аварии начальником АЗС и вызове им служб, участвующих в ликвидации аварии. б.Прекратиь ремонтные работы на АЗС, монтажно-строительные работы в зоне аварии. У.Прекратить технологический процесс заправки автотранспорта нефтепродуктами и удалить весь транспорт за пределы АЗС. |
Ст. оператор Первый заметивший Ст. оператор Ст. оператор Ст. оператор Начальник АЗС Ст. оператор |
|
1 |
2 |
3 |
4 |
|
-X ' j |
8. Выставить посты с предупредительными знаками для оцепления зоны аварии. 9. Обеспечить с подветренной стороны встречу пожарных частей, участвующих в ликвидации аварии. 10. Проверить наличие пострадавших людей в зоне аварии, в случае обнаружения принять меры к их эвакуации. 1 1 .Оказать медицинскую помощь пострадавшим. 12. Обесточить электрооборудование на всей территории АЗС. >Л >13. Выставить посты для направления и вывода людей из зоны аварии. 14. Закрыть канализационные колодцы кошмой и засыпать песком. 15. Надеть защитные костюмы и приступить к тушению пожара. Охлаждать оборудование и кострукции АЗС для снижения температурного воздействия пожара. 16. Вызвать дополнительные подразделения пожарных частей для тушения пожара на уровне Б. 1 7.Конкретные мероприятия по эффективным действиям, направленным на тушение пожара, определяет руководитель подразделений пожарных частей. 1 8. Принять меры по ликвидации последствий аварии. Конкретные мероприятия по ликвидации последствий аварии определяет ответственный руководитель по локализации и ликвидации аварии. 19. Доложить ответственному руководителю работ по ликвидации аварийных ситуаций о мерах, принятых по ликвидации аварии. |
Начальник АЗС Начальник АЗС Бойцы ПГПЧ Медперсонал Ст. оператор Ответственный руководитель работ. Ст. оператор Бойцы ПГПЧ Ответственный руководитель работ. Руководитель' ПГПЧ Ответственный руководитель работ. Ответственный руководитель работ. |
48
БЛОК-КАРТА
ТЕХНОЛОГИЧЕСКОГО БЛОКА № 2 ПОДЗЕМНЫЕ РЕЗЕРВУАРЫ.
1.Технологическая схема- рис.3, (с.50)
2.План-схема - рис.4, (с.51)
3.Краткая характеристика опасности блока.
3.1. Состав блока:
Резервуары: Е1, Е2, ЕЗ, Е4, Е5, Е6 - объемом по 25 м3 каждая.
<•
3.2. Блок ограничен ручной запорной арматурой -№№ 2, 3,4.
3.3. Характеристика опасности оборудования:
|
Вид продукта |
Температура вспышки, °С |
Пределы воспламенения |
Температура самовоспламенения, °С |
Температура воспламенения, °С |
||
|
концентрационные, % об. |
НТПВ °С |
втпв °с |
||||
|
Бензины (различных марок) |
-39 --29 |
0,65-8,04 |
-30 |
до 10 |
350 - 440 |
-34 |
|
Дизельное топливо: Л 3 |
40-60 более 6 1 |
2,1*12 |
более 35 |
до 155 |
240 - 370 |
45-65 |
3.4. Возможные аварии:
разгерметизация, образование пролива, образование взрывоопасных концентраций в закрытом объеме, горение пролива (взрыв).
3.5.ХАРАКТЕР ВОЗДЕЙСТВИЯ ВИДОВ ОПАСНОСТИ (зоны поражения):
а) избыточное давление взрыва
|
Место разгерметизации |
м, кг |
Радиусы изобар избыточного давления |
|||||
|
ЮО.кПа! бОкПа |
40кПа |
20кПа |
ЮкПа |
5кПа |
|||
|
Хранилища с нефтепродуктами |
58,89 |
2,39 |
4,13 |
5,33 |
12,66 |
23,5 |
30,87 |
Примечание: М -приведенная критическая масса, кг.
49
Тепловое излучение огненного шара.
|
Оборудование и место разгерметизации |
ПГФ, М,т |
... D, м |
т, сек |
Ожоги и болевой порог на расстоянии, м |
|
|
1ст. |
БП |
||||
|
Хранилища с нефтепродуктами |
9 |
24,65 |
1,7 |
264,9 |
693,7 |
Примечание: М - масса опасного вещества, т; D - диаметр огненного шара, м; Т - время сгорания огненного шара, сек.
3.6. Радиус опасной зоны - 693,7 м.
БЛОК №2
Принципиальная технологиченская схема

условные обозначения
Поз. Е1 Поз. Е2 Поз-ЕЗ Поз.Е4
Поз.Е5 Поз. Е6
Н 7/1-6 26
<к
19
20
Тип,0уВентиль в-16, dy50, Ст.З
Вентиль в-16, dy80, Ст.З
Глубинный насос
Огневой преградитель ОП-50
Фильтр сетчатый dy80 Фс -11 - 80 -16 -11
Обратный клапан dy 50
Дыхательный клапан с огнепреградителем СМДК-50
25ц: (Бензин А-92) 25м (Бензин А-95) 25м? (Бензин А-98) (Дизтоготаво)
- ёмкость V
- ёмкость V
= 25м
-ёмкость Vs
- ёмкость V
(Бензин А-80)
- ёмкость V = 25м? (Бензин А-80)- ёмкость V - пг~~ **—— А опч
ОПИСАНИЕ ДЕЙСТВИЙ ПЕРСОНАЛА ПРИ ЛИКВИДАЦИИ АВАРИИ ИЛИ АВАРИЙНОЙ СИТУАЦИИ.
(ПОДЗЕМНЫЕ РЕЗЕРВУАРЫ) Уровень А
|
Наименование и |
Опознавательные |
Перечень исполнителей, порядок их действий |
|
|
код аварии (стадии) |
признаки аварии |
Порядок действия исполнителей |
Исполнители |
|
1 |
2 |
3 |
4 |
|
А-2.1.0. Разгер!метизация (разрушение) оборудования, трубопровода. А -3.1.0. Образование пролива в поддоне, сток пролива в смотровые КОЛОДЦЫ. 1. Разгерметизация резервуара поз. El (Е2.ЕЗ, Е4, Е5, Е6). |
Внешние признаки аварии: Появление пролива нефтепродукта, образование парен нефтепродукте.!! со специфическим запахом в смотровом колодке. |
РАЗГЕРМЕТИЗАЦИЯ резервуара Е1 (Е2, ЕЗ, Е4, Е5, Е6). 1. Выявить и оценить аварию по внешним признакам 2. Окриком или по громкоговорящей свячи предупредить об аварии всех находящихся в зоне аварии. З.Всем посторонним, находящимся в чоне аварии, покинуть зону аварии. 4. Сообщить об аварии начальнику АЗГ лично или по тел. 5-18-32 г Джанкой. 5. Получить подтверждение о получении сообщения об аварии начальником АЗС и вызове им служб, участвующих в ликвидации аварии. 6. Немедленно обесточить технологическое оборудование. 7. Прекратить технологический процесс заправки автотранспорта нефтепродуктами. 8.Начать эвакуацию людей и автотранспорта в безопасное место. 9. Прекратить ремонтные работы на АЗС, монтажно-строительные работы в зоне аварии. Ю.Немедленно приступить к ликвидации аварии табельными средствами. 1 1 .Выставить посты с предупредил ельными знаками для оцепления зоны аварии. 12. Проверить наличие пострадавших людей в зоне аварии, в случае обнаружения принять меры к их эвакуации. 13. Оказать медицинскую помощь пострадавшим. Н.Закрыть канализационные колодцы кошмой и засыпать песком. 15. Настроить технологический процесс перекачивания нефтепродукта из аварийного резервуара в резервное хранилище согласно рабочей инструкции. |
Ст. оператор Первый заметивший Ст. оператор (л. оператор Ст. оператор Ст. оператор Ст. оператор Начальник АЗС Начальник АЗС Ст. оператор Начальник АЗС Ст. оператор Медперсонал Ст. оператор Ст. оператор |
53
|
1 |
2 |
3 |
4 |
|
А-3.1.1. Пожар пролива 1 . В смотровом колодце резервуара поз. Г. 1 (Н2, ЕЗ, Е4.Е5, 1-6). |
Внешние признаки пожара. "*» • |
1 6. После освобождения аварийного резервуара вывести его из эксплуатации. 1 7.Конкретные мероприятия по выводу из эксплуатации аварийного резервуара принимает ответственный руководитель работ по ликвидации аварии. 18. Принять меры по ликвидации последствия пролива нефтепродукта. 19.Доложить ответственному руководителю работ по ликвидации аварии о мерах, принятых по ликвидации аврии. 1. Выявить и оценить аварию по внешним признакам 2. Окриком или по громкоговорящей связи предупредить об аварии всех находящихся в зоне аварии . З.Всем посторонним, находящимся в зоне аварии, покинуть зону аварии. 4. Сообщить об аварии начальнику АЭС лично или по тел. 5-1 8-32 г Джанкой . 5. Получить подтверждение о получении сообщения об аварии начальником АЭС и вызове им служб, участвующих в ликвидации аварии. 6. Немедленно обесточить технологическое оборудование. i 7. Включить пожарную сигнализацию. 8. 0 пожаре сообщить по тел, 01 в пожарную охрану, о месте нахождения и маршруте проезда. 9. Немедленно приступить к ликвидации пожара первичными средствами пожаротушения. Ю.Прекратить технологический процесс заправки автотранспорта нефтепродуктами. 1 1 .Начать эвакуацию людей и автотранспорта в безопасное место. 12. Прекратить ремонтные работы на АЭС, монтажно-строительные работы в зоне аварии. 13. Выставить посты с предупредительными знаками для оцепления зоны аварии. 14. Обеспечить с подветренной стороны встречу пожарных частей, участвующих в ликвидации аварии. 15. Проверить наличие пострадавших людей в зоне аварии, в случае обнаружения принять меры к их эвакуации. 16. Оказать медицинскую помощь пострадавшим. 17.3акрыть канализационные колодцы кошмой и засыпать песком. 18. Бойцы ПГПЧ организуют охлаждение оборудования и конструкций АЭС водой из пожарных машин для снижения температурного воздействия пожара. 19.Надеть защитные костюмы и приступить к тушению пожара. 20.Конкретные мероприятия по эффективным действиям, направленным на тушение пожара, определяет руководитель пожарных подразделений. |
Начальник АЭС Начальник АЭС Начальник АЭС Начальник АЭС Ст. оператор Первый заметивший Ст. оператор Ст. оператор Ст. оператор 1 { Ст. онера юр Ст. оператор Ст. оператор Ст. оператор Ст. оператор Ст. оператор Начальник АЭС Начальник АЭС Начальник АЭС Бойцы ПГПЧ Медперсонал Ст. оператор Бойцы ПГПЧ Бойцы ПГПЧ Руководитель ПГПЧ |
54
|
1 |
2 |
3 |
4 |
|
21. Доложить ответственному руководителю работ по ликвидации авариц.о мерах, принятых по ликвидации аварии |
Начальник АЭС |
55
ОПИСАНИЕ ДЕЙСТВИЙ ПЕРСОНАЛА ПРИ ЛИКВИДАЦИИ АВАРИИ ИЛИ АВАРИЙНОЙ СИТУАЦИИ.
Уровень Б
|
Наименование и код аварии (стадии) |
Опознавательные признаки аварии |
Перечень исполнителей, порядок их действий |
|
|
Порядок действия исполнителей |
Исполнители |
||
|
^ 1 |
2 |
3 4 |
|
|
А -3.2.3. 1 .Взрыв в подземном резервуаре поз. Е1 (Е2,ЕЗ,Е4,Е5, Е6). Б- 1.1.1. Интоксикация людей. |
Внешние признаки взрыва. *Ч • |
>;> 1 .Выявить и оценить аварию по внешним признакам. . Ст. оператор ; 2. Окриком предупредить об аварии всех находящихся в зоне аварии, оповестить работни- Первый заме-; ков предприятия средствами оповещения об аварии. тивший З.Всем находящимся в зоне аварии и покинуть зону аварии. Ст. оператор 4. Сообщить об аварии начальник}' АЭС лично или по тел. 5-1 8-32 г Джанкой. Ст. оператор 5. Получить подтверждение о получении сообщения об аварии начальником АЗС и вызове Ст. оператор им служб, участвующих в ликвидации аварии. б.Прекратиь ремонтные работы на АЗС, монтажно-строительные работы в зоне аварии. Начальник АЗС 7. Прекратить технологический процесс заправки автотранспорта нефтепродуктами и уда- Ст. оператор лить весь транспорт за пределы АЗС. 8. Выставить посты с предупредительными знаками для оцепления зоны аварии. Начальник АЗС 9. Обеспечить с подветренной стороны встречу пожарных частей, участвующих в Начальник АЗС' ликвидации аварии. Ю.Проверить наличие пострадавших людей в зоне аварии, в случае обнаружения принять Бойцы ПГПЧ меры к их эвакуации. 1 1 .Оказать медицинскую помощь пострадавшим. Медперсонал 12. Обесточить электрооборудование на всей территории АЗС. Ст. оператор „13. Закрыть канализационные колодцы кошмой и засыпать песком. Ст. оператор Н.Бойцы ППЧ организуют охлаждение оборудования соседних блоков водой из пожар- Бойцы ПГПЧ ных машин. |
56
|
1 |
2 |
3 |
4 |
|
15. Надеть защитные костюмы и приступить к тушению пожара. 16.Конкретные мероприятия по эффективным действиям, направленным да тушение пожара, определяет руководитель пожарных подразделений. 17. Доложить ответственному руководителю работ по ликвидации аварийных ситуаций о мерах, принятых по ликвидации аварии. |
Бойцы ПГПЧ Руководитель ПГПЧ Начальник АЭС |
Îáðàçåö ðàçðàáîòêè ÏËËààñ Êðûìñêàÿ Àêàäåìèÿ Ïðèðîäîîõðàííîãî è Êóðîðòíîãî ñòðîèòåëüñòâà ñäàâàëñÿ ñåíòÿáðü 2002