П-314М
7
МЕТОДИЧЕСКИЕ УКАЗАНИЯ
До занятий на самоподготовке студенты должны изучить назначение и состав элементов структурной схемы аппаратуры П-314М и работу аппаратуры по структурной схеме в различных режимах. Отработать практически проверку аппаратуры "на себя"
Занятие увязывается с предыдущими занятиями № 1,2 темы 6. В результате отработки данного занятия студенты должны знать назначение и ТТД аппаратуры П-318М, принцип формирования линейного спектра П-318М-Б, режим работы аппаратуры П-318М-6, а также порядок ее развертывания и включения питания.
При изложении вопроса "Общее устройство аппаратуры П-318М-6 преподаватель обращает внимание студентов на тот факт, что многие узлы (блоки) аппаратуры П-318М-6 такие же, как в аппаратуре П-314М
Например: блоки передатчиков, приемников, ВКК, питания.
При пояснении органов у правления, расположенных на правой боковой стенке аппаратуры необходимо использовать рисунок аппаратуры с видом межблочных соединении.
Текущий контроль осуществляется путем опроса по контрольным вопросам или письменно путем проведения "летучки". Изменение формы контроля или контрольных вопросов отражается в индивидуальном плане преподавателя.
ПРИМЕРНЫЙ РАСЧЕТ ВРЕМЕНИ
|
№№ |
Наименование учебных вопросов |
Время (мин) |
Примечание |
|
I. ВВОДНАЯ ЧАСТЬ : |
|||
|
1. |
Прием рапорта, проверка наличия студентов |
3 |
|
|
2. |
Проверка усвоения пройденного материала |
17 |
|
|
II. ОСНОВНАЯ ЧАСТЬ : |
|||
|
I. |
Тактико-технические данные, электрические характеристики, общее устройство и состав комплектов аппаратуры П-318М |
25 |
|
|
2. |
Режимы работы аппаратуры П-318М-6 |
10 |
|
|
3. |
Порядок развертывания и включения питания аппаратуры комплекта П-318М-Б |
10 |
|
|
III. ЗАКЛЮЧЕНИЕ 5 |
|||
|
1. |
Подведение итога занятия |
3 |
|
|
2. |
Задание на самоподготовку |
2 |
|
№№ |
Учебные вопросы и их краткое содержание |
Методические приемы руководителя |
|
1 |
2 |
3 |
|
I. ВВОДНАЯ ЧАСТЬ |
||
|
1. |
Прием рапорта, проверка наличия студентов |
Методика проверки, содержание контрольных вопросов, атак же их количество может быть изменено преподавателем по согласованию с начальником цикла и с отражением изменений в индивидуальном плане. |
|
2. |
Проверка усвоения пройденного материала по контрольным вопросам. - Доложить прохождение ТЛГ сигнала по структурной схеме П-314М в I режиме. - Доложить прохождение ТЛГ сигнала по структурной схеме П-314М в III режиме. Доложить сущность и порядок проверки аппаратуры П-314М "на себя". |
|
|
II. ОСНОВНАЯ ЧАСТЬ |
||
|
1. |
Тактико-технические данные, и комплект аппаратуры П-318М. |
|
|
Назначение. Военно-полевая аппаратура тонального телеграфирования П318М предназначена для образования 4х, 6ти,10ти, 12ти или 16ти телеграфных каналов при работе по каналам ТЧ, образованным проводными, радиорелейными тропосферными или космическими средствами связи |
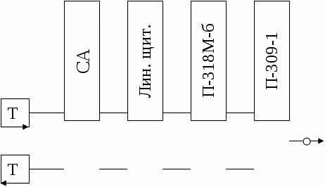
Показать аппаратуру П-318М комплекта Б, включенную в канал П-309-1 |
|
|
Характеристика. Система тонального телеграфирования П-318М является многоканальной системой тонального телеграфирования с частотной модуляцией несущих колебаний. В состав аппаратуры П-318М входят : а) аппаратура тонального телеграфирования П-318М-6; б) аппаратура тонального телеграфирования П-318М-4; в) переходное устройство П-318М-ПУ; г) устройство телефонно-телеграфного переговора П-318М-УТТП А также комплекты ЗИП, чехлы и эксплуатационная документация. |
Показать П-318М-б, П-318-ПУ, П-318М-УТТП. |
|
4 тлг. кан. 300 1640 2320 3400 f, Гц. 1
|
2 |
3 |
|
Боевые возможности. Аппаратура П-318М-6 позволяет образовать 6 телеграфных каналов в полосе частот 380-1420Гц или 1460-2500Гц. Рис. 1 Аппаратура П-318М-4 позволяет образовать 4 телеграфных канала в полосе частот 1б40-2320Гц или 2540-3220Гц и рассчитана на работу как по 4-х проводному телефонному каналу, так и по двухпроводной физической цепи. Рис. 2 Упаковки П-318М-6 и П-318М-4 являются основными и могут работать одна независимо от другой, обеспечивая получение соответственно 6-ти или 4-х каналов. При необходимости упаковки П-318М-4 и П-318М-6 могут работать встречно, т.е. могут быть включены на разных концах телефонного канала, обеспечивая при этом получение 4-х телеграфных каналов в полосе частот 1640-2320Гц. |
Графики вычертить на доске или показать по телевидению Графики вычертить на доске или показать по телевидению |
|
4 тлг. кан. 300 380 1640 3400 f, Гц. 2320
6 тлг. кан. 300 1300 2500 3400 f, Гц. 1
|
2 |
3 |
|
Рис. 3 Для получения 10,12,16 телеграфных каналов в одном телефонном канале упаковки П-318М-6 и П-318М-4 соединяются в рабочий комплект в соответствующем количестве. Кроме того, при образовании 10,6 и 4-х телеграфных каналов, есть возможность образовать телефонную служебную связь в спектре частот 300-1300Гц. Рис. 4 Входы и выходы телеграфных каналов аппаратуры П-318М-6, П-318М-4 двухполюсные. Рис. 5 Переходное устройство П-318М-ПУ предназначено для согласования двухполюсных входов и выходов аппаратуры тонального телеграфирования с оконечными аппаратами, работающими током одного направления. |
Графики вычертить на доске или показать по телевидению Графики вычертить на доске или показать по телевидению Графики вычертить на доске или показать по телевидению |
|
1 |
2 |
3 |
|
Один комплект П-318М-ПУ обеспечивает работу 3-х телеграфных каналов при подключении к ним телеграфных аппаратов типа СТ, обеспечивая при этом работу П-318М дуплексом(режим II) или симплексом(режим III). Устройство телефонно-телеграфного переговора П-318М-УТТП предназначено для обеспечения служебного телеграфного переговора по телеграфным каналам аппаратуры П-318М-6 или П-318М-4 и для обеспечения служебного телефонного переговора в неиспользуемой для телеграфных связей полосе частот телефонного канала 300-1400Гц. Устройство П-318М-УТТП расчитано на совместную работу с аппаратурой П-318М-6 и П-318М-4. Аппаратура П-З18М может выпускаться в пяти видах комплектации (табл.1). |
Задать вопрос для контроля, что такое режим 1.11,111 применительно к работе к аппаратуры П-314М. |
|
Таблицу вычертить на доске или показать по телевидению №№п п |
Наименование комплекта |
К-во кан |
Состав комплекта |
|||
|
П-318М-6: П-318М-4: П-318М-ПУ: П-318М-УТТП |
||||||
|
I. |
П-318М-А |
12 |
2 |
- |
2 |
1 |
|
2. |
П-318М-В |
16 |
2 |
1 |
3 |
1 |
|
3. |
П-318М-Б |
б |
I |
- |
I |
1 |
|
4. |
П-318М-Г |
10 |
I |
1 |
2 |
1 |
|
5. |
П-318М-Д |
4 |
- |
1 |
I |
1 |
|
6. |
Вес |
75 |
75 |
25 |
27 |
|
|
7. |
Потребл. мощин. |
100 |
100 |
45 |
50 |
Задать вопрос для контроля т.к. зависимость
давалась в Т.б. зан.1
ЭЛЕКТРИЧЕСКИЕ ХАРАКТЕРИСТИКИ.
Средняя частота любого канала определяется, исходя из следующей зависимости :F>ф>=270+180 м где F>ф> средняя частота, определяемого канала n номер канала.
|
1 |
2 |
3 |
Спросить, что такое девиация?
Девиация частоты для всех каналов одинакова и составляет ± 50 Гц.
В
Графики вычертить на доске.
Графики вычертить на доске.
о всех каналах аппаратуры передаче положительной или токовой посылке соответствует верхняя характеристическая частота ( + 50Гц), отрицательной или бестоковой - нижняя ( - 50Гц) (рис. 6)

Ширина полосы каждого канала 140 Гц, плюс по 20 Гц с каждой стороны на расфильтровку - итого 180 Гц (рис. 7)

Номинальная скорость телеграфирования 75 бод. Аппаратура допускает повышение скорости телеграфирования до 100 бод с небольшим увеличением краевых искажений телеграфных посылок.
Уровень сигнала на выходе тракта передачи и на входе тракта приема по каждому телеграфному каналу при работе 16-ю каналами -20 дб (-2,3 НП), а при работе 6,10 или 12-ю каналами– 24,3 дб (-2,8 НП)
Аппаратура П-318М может подключаться к ВЧ аппаратуре в точках с уровнем - 13 дб (-1,5 НП) для тракта передачи и 4,34 дб (+0.5 НП) для
|
1 |
2 |
3 |
тракта приема или в точках с уровнем –3.5 дб (-0,4 НП) для тракта приема и передачи.
Дальность связи определяется дальностью действия каналообразующей аппаратуры. При необходимости дальность связи может быть увеличена путем организации переприемов, максимальное число которых должно быть не боле 3-х. Каналообразующая аппаратура, каналы которой уплотняются аппаратурой П-318М, работает в режиме 4 пр ТВ (4 пр ТР).
При работе П-318М-4 по физической линии аппаратура перекрывает затухание 22 дб (2,5 НП), что соответствует учитывая километрическое затухание дальности, По кабелю
П-275(α = 0,3 НП) до 8 км.
П-274(α = 0,13 НП) до 15,20 км.
Боевое применение. Система тонального телеграфирования П-318М-6 устанавливается на стационарных узлах связи и входит в состав комплекта аппаратных ПУС типа П-254,
Р-454 ОПМ и др.
Питание аппаратуры осуществляется от сети переменного тока напряжением 127 или 220 в.
Показать важность этого вопроса для оборонной мощи страны важности знания данной аппаратуры для Родины в мирное время и военное.
Аппаратура допускает встречную работу с аппаратурой тонального телеграфирования госсетиТТ-12/16; ТТ-17П ТНТ-6, а также с военной аппаратурой П-318.
ОБЩЕЕ УСТРОЙСТВО П-318М-6
По рисунку показать и пояснить назначение соединительных элементов на правой боковой стенке аппаратуры П-318М-6
Аппаратура П-318М-6 выполнена в одной упаковке со съемной передней крышкой. Запасные и съемныечасти, необходимые для развертывания и настройки аппаратуры, располагаются внутри крышки и в ящике ЗИП.
На правой боковой стенке упаковки расположены 4-х контактные колодки для соединения ее со второй 6-ти канальной упаковкой или 4-х канальной упаковкой и 30 контактные колодки для соединения П-318М-6 с ПУ. Конструктивно все узлы П-318М-6 смонтированы в 25 отдельных блоках (рис. 8)
|
1 |
2 |
3 |
- шесть блоков передатчиков (пер) .
- шесть блоков приемников (пр)
- шесть блоков коммутации каналов (БКК)
- блок питания (пит)
- блок группового оборудования передачи (Гр. пер-1)
- блок группового оборудования приема (Гр. пр-1)
- блок генератора несущей частоты (ген. нес.2880)
- блок линейного оборудования (лин. об)
- блок переключения режимов (реж)
-
При наличии времени вычертить на доске или показать по телевидению
измерительный блок (изм).На лицевых панелях размещены органы регулировок, сигнализации, измерений и коммутации, назначение которых будут рассматриваться на следующем занятии.
|
ПР. |
ПР. |
ПР. |
ПР. |
ПР. |
ПР. |
ПР. |
ПР. |
ПР. |
ПР. |
ДК-2,5 |
|
|
ГР пер. |
ГР пер. |
ГР пер. |
ИЗМ |
Реж |
ГР пер. |
ГР пер. |
Ген нес 4850 |
ИЗМ |
|||
|
БКК |
БКК |
БКК |
БКК |
БКК |
БКК |
БКК |
БКК |
БКК |
БКК |
Реж |
|
|
ПИТ |
ЛИН ОБ |
ПИТ |
Лин 0,5 |
||||||||
|
пер. |
пер. |
пер. |
пер. |
пер. |
пер. |
пер. |
пер. |
пер. |
пер. |
ДК-1,4 |
Рис. 8
2. Принцип формирования линейного спектра
аппаратуры комплекта П-318М-6
Принцип формирования линейного спектра рассмотрим на примере образования его в 16-ти канальном комплекте П-318М-В т.к. он наиболее полно отражает картину всех преобразований. В основу формирования линейного спектра аппаратуры П-318М положен принцип образования
Показать по схеме "Принцип формирования линейного спектра П-318М-6.
|
1 |
2 |
3 |
стандартной (исходной) 6-ти канальной группы, занимающей спектр 1460-2500 Гц. Основная стандартная 6-ти канальная группа составлена из спектров частот 7-12 каналов, каждый из которых образуется путем модуляции несущих колебаний с частотой 1530, 1710,1890,
2070, 2250, 2430 Гц. соответственно для 7,8,9, 10,11 и 12 каналов.
Спектр частот сигналов основной группы каналов поступает на вход канала ТЧ без преобразований (Реж.- Б)
Спектр частот 1-6 каналов образуется путем модуляции несущего колебания 2880 Гц. спектром основной группы и выделения нижней боковой полосы на выходе группового преобразователя, (рис.9).
График вычертить на доске или показать по телевидению.
Рис. 9
П
7
8
9
10
f, Гц
f, Гц
олученный
спектр занимает полосу от 380 Гц. до
1420Гц. Для образования 1-6
каналов нужна вторая упаковка
П-318М-б (Реж. А) Спектр 13-16
каналов получается путем модуляции
несущего колебания с частотой 4860Гц.
спектром 4-х каналов
(8,9,10,11) основное группы (1б40-2320Гц) и
выделения нижней боковой полосы на
выходе преобразователя (рис.10)
График вычертить на доске или показать по телевидению
1640
2320
3
4
5
6
2540
3220
4860
Рис.10
|
1 |
2 |
3 |
Полученный спектр размещается в полосе частот 2540 Гц – 3220 Гц.
Для образования 13-16 каналов необходимо иметь упаковку
П-318М-4 (Реж. Б)
Таким образом полный спектр, занимаемый всеми 1б-ю каналами размещается в полосе частот 380 – 3220 Гц. (Рис. 11)
Структурная схема включения комплектов аппаратуры
П-318М для организации 16 телеграфных каналов и режимов их работ имеет вид: Рис № 12.
f,Гц
3400
2
3
4
5
6
7
8
9
10
11
12
13
14
15
16
1
А
Б
Б
Рис. 11
П-318-М-6
П-318-М-6
П-318-М-4
Рис. 12

Рисунки показывает по
уч. телевидению и комментирует их.
3. Режим работы аппаратуры П-318М-6
Наличие группового оборудования позволяет включать аппаратуру П-318М-6 в четырех режимах.
Режим А - передача и прием с преобразованием.
Режим Б - передача и прием без преобразования
Режим
-
передача с преобразованием, прием
без преобразования.
Режим
-
передача без преобразования, прием
с преобразованием.
Установка режимов осуществляется 24-контактными коммутационными колодками на блоке переключения режимов. Выбор режимов работы опреде-
|
1 |
2 |
3 |
ляется условиями эксплуатации.
Режим - А. Обе упаковки П-318М-6 на противоположных концах телефонного канала, устанавливаются в режим А.
Передача и прием всех 6-ти телеграфных каналов будет осуществляться в полосе частот 380-1420Гц. (рис.1З )
В
Режим А
ычертить на доске или показать график по телевидению






6 кан. ТЛГ.







f,Гц.
300
380
1420
3400
Рис. 13
Режим - Б. обе упаковки П-313М-6 на противоположных концах телефонного канала, устанавливаются в режим Б.
Передача и прием всех 6-ти телеграфных каналов будет осуществляться в полосе частот 1460-2500Гц. (рис. 14 )
Режим Б
Вычертить график на
доске или показать по телевидению.













6 ТЛГ. кан.



f,Гц.
300
1300
1460
3400
2500
Рис. 14
П
ри
организации 12 каналов по
одному телефонному каналу на каждой
оконечной станции устанавливается
комплект П-316М-А, имеющий в своем составе
2 упаковки П-318М-6, одна
из упаковок работает в режиме "А",
а вторая - в режиме "Б".
(рис. 15а)
Соединяющие шнуры и места их подключения показать на аппаратуре, а также переключатель "6; 12/16; ведом".
|
1 |
2 |
3 |
Упаковки П-З18-6 на одной оконечной станции соединяются между собой двумя шнурами, гнезда "перед" П-318М-б, на правой боковой стенке, одной упаковки соединяются с аналогичными гнездами
другой упаковки, также шнуром соединяются и гнезда "прием".
Одна из упаковок будет "ведущая", а вторая "ведомая", переключатель на блоке линейного оборудования б; 12/16; ведом" "ведущей" упаковки ставится в положение "12/16", при этом линейное оборудование этой упаковки участвует в формировании общего сигнала. Выход 12-и телеграфных каналов - на линейном щитке "ведущей" упаковки, на клемах "ТЛФ КАН", "ПЕР", "ПР". Вторая, соединенная упаковка, будет "ведомой", ее переключатель на блоке линейного оборудования "6, 12/16; ведом" ставится в положение "ведом".
В качестве ведущей может быть выбрана любая из упаковок.
График вычертить на доске или показать по телевидению.
6 ТЛГ. кан.
380
6 ТЛГ. кан.
2500
1420
1460
3400
f,Гц
Рис. 15а
Структурная схема включения "ведущей" и "ведомой" у паковок, аппаратуры П-318 в канал связи образованный аппаратурой П-309. показана на рис.12
|
1 |
2 |
3 |
Режим
или
.
Смешанный режим
или

выбирается, в основном, при работе аппаратуры по 4-проводной кабельной линии с целью уменьшения возможного влияния переходных токов с передачи на свой прием.
При этом, если
упаковка, например, на ближнем конце
линии ставится в режим
,
то упаковка на дальнем конце линии
ставится в режим
(рис.16 )
В смешанном режиме можно обеспечить по телефонному каналу работу только шестью каналами.
Г
рафики
вычертить на доске или показать по
телевидению
Такие же режимы работы обеспечиваются в аппаратуре П-318М-4.
4. Порядок развертывания и включения питания аппаратуры комплекта П-318М-Б
Аппаратура П-З18М устанавливается в помещениях или крытых кузовах (прицепах) автомашин узла связи по возможности в непосредственной близости от аппаратуры, образующей телефонный канал. I. Установить аппаратуру на стол, стелаж, снять чехлы и крышки.
Рассказ сопровождать показом на аппаратуре.
Особое внимание обращает на соблюдение
правил ТВ.
|
1 |
2 |
3 |
2. Извлечь из ящиков ЗИП :
- линейные щитки ;
- соединительные кабели ;
- шнуры 4-х проводные с вилками,
3. Извлечь из крышек:
- шнуры для включения сети;
- шнуры измерительные;
- шнуры 4-х поводные с вилками.
4. Провести осмотр аппаратуры.
5. Скрепить аппаратуру и устройстве
б. Линейные щитки разместить в непосредственной близости от аппаратуры.
Устройство П-318М-ПУ подключается на 3 канала между аппаратурой
П-318М-6 (П-318М-4) и линейным щитком,
Подключить служебный телеграфный аппарат к П-318М-УТТП.
8. Заземлить аппаратуру, тумблеры включения
питания поставить в положение "ОТКЛ".
9. Сетевой шнур подключить к зажимам
127-220 в. линейного щитка и устройства
П-318М-УТТП.
10. При питании аппаратуры от сети 127в
перепаять перемычки на трансформаторах
блоков питания.
11. Подключить аппаратуру к сети 220/127в.
III ЗАКЛЮЧЕНИЕ Подведение итога занятия
Задание на самоподготовку
Подвести итог занятия.
Дать задание на самоподготовку и объявить литературу.
|
1 |
2 |
3 |
ЗНАТЬ :
а) Основные ТТД и основные электрические характеристики системы
П-318М-6
б) Общее устройство П-318М-6
в) Режимы работы и порядок развертывания П-318М-6
г) Порядок включения П-318М-6 в канал ТЧ.
УМЕТЬ :
Развертывать аппаратуру П-318М-6 подключать к ней источник питания и проверять питающие напряжения.
ЛИТЕРАТУРА: Аппаратура П-318М. «Техническое описание и инструкция по эксплуатации». Стр. 3-18, 99-103.
Методическую разработку составил
преподаватель,
майор А. И. ХАЙЛО








1

1