Подтверждение цикла работы автоматики винтовки с клиновым запиранием под патрон 7,62, газоотводного типа
Содержание
1. Введение
2. Область применения образца
3. ТТХ образца
4. Цикл работы автоматики
5. Работа исполнительных механизмов
5.1. Патроно-подающий механизм
5.2. Патроно-досылающий механизм
5.3. Закрывание канала ствола
5.4. Запирание затвора
5.5. Отпирание затвора
5.6. Ударный механизм
5.7. Спусковой механизм
5.8. Двигатель автоматики
6. Циклограмма образца
6.1. Ведомость отката – наката
6.2. Циклограмма
7. Определение передаточных отношений, коэффициентов приведения
Масс и коэффициентов передачи сил
7.1. Процесс отпирания
7.2. Взведение ударника
7.3. Взведение задержки ударника
7.4. Процесс запирания
7.5. Движение отражателя
7.6. Движение автоспуска в откате
7.7. Движение упор в откате
7.8. Отражение гильзы
7.9. Досылание патрона
7.10 Результаты расчетов по полученным формулам
8. Определение полного импульса, максимального давления и времени
работы бокового газоотводного устройства
9. Расчет цилиндрической пружины на прочность
10. Расчет движения автоматики
1. ВВЕДЕНИЕ
Сергей Гаврилович Симонов (1894—1986) с 1917 года работал на Ковровском пулеметном заводе слесарем-отладчиком автоматов Федорова. Прошел на этом заводе большой путь: мастер, старший мастер, начальник сборочного цеха, конструктор и руководитель экспериментальной мастерской. Изобретательская деятельность Симонова началась под руководством Федорова и Дегтярева в 1922—1923 годах с проектирования ручного пулемета и винтовки. После окончания в 1933 году Промакадемии и до ухода на пенсию в 1959 году возглавлял ряд конструкторских коллективов на заводах оборонной промышленности. Первая модель автоматической винтовки была представлена Симоновым в начале 1926 года. Пороховые газы, отводимые из дульной части ствола, действуют на газовый поршень и тяги, расположенные с правой стороны винтовки. Запирание канала ствола в момент выстрела достигается входом боевого опорного пенька в вырез затвора в нижней его части. В апреле 1926 года Артиллерийский комитет рассмотрел предложенный Симоновым проект винтовки и отметил простоту ее устройства, однако пришел к выводу, что она не имеет преимуществ перед известными системами и в настоящем виде не может быть допущена для испытаний. Конструкция винтовки имела ряд недостатков, главным из которых было неудачное расположение газоотводного приспособления, которое крепилось не по оси симметрии, а справа и при том без всякого закрытия сверху. Это сильно увеличивало ширину цевья, открывало доступ к газоотводному приспособлению воды и пыли, а смещение центра тяжести вправо вызывало значительное отклонение пули влево. Неудачные конструктивные решения затрудняли неполную разборку винтовки. Продолжая работать над совершенствованием винтовки, Симонов создал несколько новых образцов. В результате конструктору удалось добиться большого успеха. Это подтверждает автоматическая винтовка, созданная им в 1931 году, принцип автоматики которой был основан на отводе пороховых газов через боковое отверстие в стволе.
У новой винтовки впервые в оружии этого класса запирание канала ствола осуществлялось клином, перемещающимся в вертикальных пазах ствольной коробки. Подъем клина производится скосом, расположенным в передней части стебля затвора, а опускание клина для расцепления затвора — взводной муфтой, в передний конец ее упирается толкатель с поршнем, на который действуют пороховые газы, отводимые из канала ствола при выстреле. Такая конструкция давала возможность рационально распределить нагрузку на запирающем узле в момент выстрела и, следовательно, уменьшить массу затвора и всей винтовки. Ударно-спусковой механизм ударникового типа допускает ведение как одиночного, так и непрерывного огня. Флажковый переводчик расположен в передней части спусковой скобы. Предохранитель от случайного выстрела смонтирован в задней части спусковой скобы и подпирает спусковой крючок. Возвратная пружина находится в съемной крышке ствольной коробки. Экстракция и отражение стреляной гильзы осуществляются подпружиненным выбрасывателем, расположенным в верхней части остова затвора, и отражателем, закрепленным на дне ствольной коробки. Магазин — отъемный коробчатый на 15 патронов, располагающихся в шахматном порядке. Снаряжение магазина может производиться и без его съема. По израсходовании патронов затвор задерживается остановом, выдвигаемым подавателем магазина, и система остается открытой для последующего заряжания. Прицел секторного типа допускает ведение огня до 1500 м. Штык — складной игольчатый четырехгранный.
Автоматическая винтовка системы Симонова успешно прошла полигонные испытания. Было решено изготовить опытную партию и провести широкие войсковые испытания. Первоначально был дан заказ на изготовление 25 штук, но еще до его завершения он был увеличен до 100 со сроком изготовления к 1 января 1934 года. Одновременно предлагалось ускорить разработку технологического процесса, чтобы уже в первом квартале 1934 года запустить в производство партию винтовок, а с начала второго полугодия подготовиться к валовому производству.
В сентябре 1934 года на базе своей винтовки Симонов создал автоматический карабин (АКСИ). Основное его отличие от винтовки — укороченный ствол и облегченная конструкция некоторых деталей Полигонные испытания карабина проводились 16 апреля 1935 года. Из-за неудачной конструкции замедлителя полигон не рекомендовал его серийное производство. В 1933 году свою систему с отводом пороховых газов усовершенствовал Токарев. В отличие от предыдущего образца конструктор газовую камеру установил над стволом, перенес прицельную планку с крышки ствольной коробки на переднюю часть ствольной коробки, заменил рамочный прицел секторным, увеличил емкость магазина до 15 патронов и сделал его отъемным. Останов затвора в заднем положении ликвидировал.
В 1934 году он разработал автоматический карабин на базе своей винтовки, но в отличие от нее запирание производилось не поворотом боевой личинки, а ее перекашиванием вниз. При этом задний конец боевой личинки, опускаясь, упирается в опорную плоскость особого клина, вставленного в коробку, и прижимает передний конец боевой личинки к обрезу казенной части ствола. Крышка затвора доходит до обреза казенной части ствола несколько позже и своим выступом с помощью особого рычажка отводит автоматический спуск. 12 марта 1935 года карабин был подвергнут полигонным испытаниям. Несмотря на большой процент задержек и ряд поломок, комиссия пришла к выводу, что конструкция карабина заслуживает внимания, и рекомендовала конструктору срочно доработать систему, обратив особое внимание на увеличение прочности деталей. Это задание было выполнено в новом образце, представленном Токаревым в том же 1935 году.
В результате испытаний, проходивших в 1935—1936 годах, лучшие результаты показала автоматическая винтовка Симонова. И хотя отдельные экземпляры преждевременно выходили из строя, но, как отмечала комиссия, причиной тому были главным образом дефекты изготовления, а не конструкции. В июле 1935 года в протоколе полигона указывалось: «Подтверждением этому могут служить первые опытные образцы ABC, выдержавшие до 27 000 выстрелов и совершенно не имевшие таких поломок, которые наблюдались в испытанных образцах». В 1936 году она была принята на вооружение Красной Армии под названием «7,62-мм автоматическая винтовка системы Симонова обр. 1936 г. (АВС-З6)».
От образца, предложенного конструктором еще в 1931 году, винтовка имела значительные отличия. Установлен дульный тормоз, который уменьшал отдачу и увеличивал кучность стрельбы. Четырехгранный штык заменен клинковым, применение которого допускало его поворот по отношению к винтовке на 90 градусов и использование в качестве дополнительной опоры при стрельбе в автоматическом режиме. Изменены конфигурация ствольной коробки и защелки крышки, крепление ствольной накладки, конструкция основания мушки. Ствольная накладка укорочена и имеет металлический наконечник. Установлен щиток, закрывающий вырез на ствольной коробке для прохода рукоятки перезаряжания. Введен шомпол, который крепится с правой стороны. Затыльник приклада штампованный цельнометаллический. С 1937 года начинается массовый выпуск АВС-36, всего до 1940 года их было выпущено 65 800 штук.
2. ОБЛАСТЬ ПРИМЕНЕНИЯ ОБРАЗЦА
Большинство современных винтовок позволяет вести стрельбу только одиночными выстрелами, т.е. являются самозарядными. Но на вооружении многих стран приняты и автоматические винтовки, позволяющие в ходе критических ситуаций боя вести автоматический огонь.
Красная Армия начала первые испытания самозарядных винтовок еще в 1926 году, однако вплоть до середины тридцатых годов ни один из испытанных образцов не удовлетворял армейским требованиям. Эти винтовки использовались в боях на Халхин-Голе в 1939 году, в зимней войне с Финляндией в 1940м. А также в начальный период Великой Отечественной войны. Интересно, что финны, захватившие в 1940 году в качестве трофеев винтовки конструкции как Токарева, так и Симонова, предпочитали использовать винтовки СВТ-38 и СВТ-40, так как винтовка Симонова была существенно более сложной по устройству и более капризной. Впрочем, именно поэтому винтовки Токарева и сменили АВС-36 на вооружении РККА.
С целью повышения практической скорострельности в самозарядных и автоматических винтовках применяют сменяемые коробчатые магазины емкостью 10 и 20 патронов.
Создание автоматической винтовки, годной для массового вооружения, явилось большим достижением советской оружейной техники. Ни одно из ведущих иностранных государств не имело на вооружении своей армии подобного оружия. Но все же ABC-36. несмотря на наличие отдельных удачно разработанных механизмов и узлов, оказалась сравнительно сложной в производстве и изучении, чувствительной к загрязнению, температурным колебаниям воздуха. Практические стрельбы и опыт применения ABC в боевых условиях выявили недостаточную кучность боя в режиме непрерывного огня, устойчивость оружия была недостаточной, велик разброс пуль. Только первый выстрел в очереди являлся прицельным. Это в конечном итоге решило судьбу стреляющих очередью винтовок. Внимание оружейников сосредоточилось на самозарядной винтовке, требующей для производства каждого выстрела нажатия на спуск.
3. ТТХ ОБРАЗЦА.
Калибр, мм………………………………………………7,62
Начальная скорость пули, м/с…………………..………835
Скорострельность, в/м…………………..………....……..40
Практическая скорострельность в/м.............................20-25
Емкость магазина, па…………………….........................15
Длина без штыка, мм…………….......……………........1260
Длина со штыком, мм…………….......…………….......1520
Длина ствола, мм……………………........…………......627
Масса без штыка и магазина, кг……………………......4,05
Число нарезов........................................................................4
4. ЦИКЛ РАБОТЫ ОБРАЗЦА
При одиночном огне:
Переводчик находится в нижнем положении. При нажатии на спусковой крючок переводчик воздействует на спусковую тягу. Спусковая тяга, двигаясь в пазу коробки, нижней наклонной плоскостью скользит по наклонной плоскости шептала, почему шептало опускается вниз и другим выступом поворачивает задержку ударника, освобождая ударник. Ударник под воздействием боевой пружины движется вперёд, происходит разбитие капсюля и выстрел. Переводчик проскальзывает по поверхности подпружиненного разобщителя и выходит из зацепления со спусковой тягой. Спусковая тяга под воздействием пружины возвращается в исходное положение.
Пороховые газы попадают, а газоотводное отверстие, газовую камору, воздействуют на газовый поршень, который через шток воздействует на взводную муфту. Взводная муфта наклонной гранью действует на грань клина, клин опускается – происходит отпирание. Затем взводная муфта действует на затворную раму. Затворная рама при откате воздействует на рычаг отражателя, отражатель поворачивается и извлекает гильзу. Ударник под воздействием затворной рамы отходит назад и входит в зацепление с задержкой ударника.
Под воздействием возвратной пружины затворная рама с затвором возвращаются в переднее положение. Затвор захватывает очередной патрон из магазина и досылает его в патронник. Затворная рама передней гранью воздействует на грань клина и происходит запирание, а выступами разводит автоспуск и упор.
При автоматической стрельбе:
Переводчик находится в верхнем положении. При нажатии на спусковой крючок переводчик входит в зацепление со спусковой тягой и не выходит из зацепления до конца действия усилия на спусковой крючок и шептало всё время находится в нижнем положении. Спуск ударника при первом выстреле происходит с шептала, а при последующих с автоспуска
5. РАБОТА ИСПОЛНИТЕЛЬНЫХ МЕХАНИЗМОВ
5.1. Патроно-подающий механизм.
В данном образце используется коробчатый магазин секторного типа на 15 патронов. Располагается он снизу и является приставным(сменным). Расположение патронов в магазине шахматное, что позволяет уменьшить габариты магазина.
Магазин состоит из штампосварного корпуса, у которого спереди и сзади есть упоры, обеспечивающие необходимое положение магазина в приемном окне ствольной коробки. В верхней части корпуса имеются загибы, удерживающие патрон в определенном положении.
Подаватель магазина обеспечивает направление движения патронов и является частично направляющей для подающей пружины. Сзади у него имеется выступ, взаимодействующий с затворной задержкой после того, как патроны закончились.

5.2. Патроно-досылающий механизм.
Нижний выступ затвора при движении вперед захватывает патрон и происходит досылание.

5.3. Закрывание канала ствола.
Закрывание канала ствола производится затвором, жёстко опирающимся на ствольную коробку.

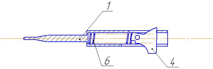
5. 4. Запирание затвора.
Запирание затвора осуществляется клином. При движении затворной рамы 1 вперед, она передним скосом воздействует на скос клина 2 и заставляет его подняться. Нижней частью клин попадает в паз затвора 3 – происходит запирание.

5. 5. Отпирание затвора.
Клин опускается под воздействием на его скос скоса возвратной муфты – происходит отпирание.

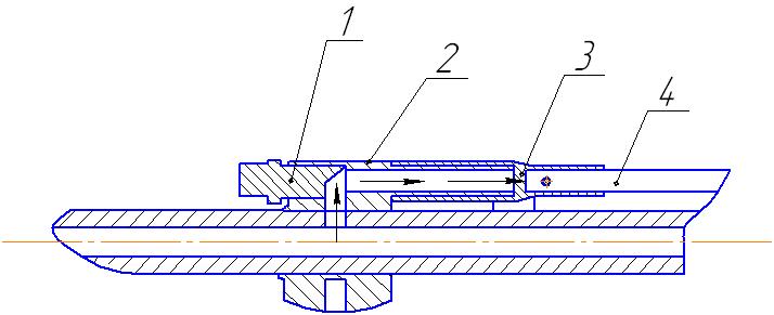
5. 6. Ударный механизм.
Ударный механизм состоит из ударника 1 , задержки ударника 4, автоспуска 2, упора 3 и боевой пружины 6. Задержка ударника находится в зацеплении с ударником и препятствует его движению вперёд, как показано на рисунке:

При выстреле шептало действует на выступ задержки ударника и поворачивает его, освобождая ударник. В момент выстрела детали располагаются следующим образом:

5. 7. Спусковой механизм.
При нажатии на спусковой крючок 1 переводчик 2 через разобщитель 4 толкает тягу 3 вперёд. Спусковая тяга скосом «а» действует на скос шептала 5, а выступ «б» действует на выступ задержки ударника, заставляя её поворачиваться и происходит выстрел. На рис. представлен автоматический режим огня, в этом случае переводчик с разобщителем всё время находятся в зацеплении. При одиночном огне Переводчик проскальзывает по грани разобщителя и выходит из зацепления.

5.8. Двигатель автоматики.
Автоматика винтовки работает на принципе отвода части пороховых газов из ствола в газовую камору 2, в которой они воздействуют через поршень 3 и шток 4 на основное звено — взводную муфту, которая действует на затворную раму, вызывая ее откат.
Газовый регулятор 1 с пазом для прохода пороховых газов ввинчивается в газовую камору.

6. ЦИКЛОГРАММА ОБРАЗЦА
6.1. Ведомость отката-наката.
Ведомость наката:
Общий ход затворной рамы........................................................140мм
Начало отпирания…………........................………………………0мм
Конец отпирания………………………………………................17мм
Начало экстракции гильзы………............……………................17мм
Конец экстракции гильзы………........................……….……...130мм
Начало отражения гильзы………………………………………130мм
Конец отражения гильзы………………………….....….............132мм
Начало взведения ударника...…..……………………..................0мм
Конец взведения ударника………………………………………..17мм
Ведомость отката:
Начало досылания патрона…….……………………….............128мм
Конец досылания патрона…………………….………………….17мм
Начало запирания……………….………………………………..17мм
Конец запирания…………........…………………………………..0мм
6.2. Циклограмма.

7 ОПРЕДЕЛЕНИЕ ПЕРЕДАТОЧНЫХ ОТНОШЕНИЙ, КОЭФФИЦИЕНТОВ ПРИВЕДЕНИЯ МАСС И КОЭФФИЦИЕНТОВ ПЕРЕДАЧИ СИЛ
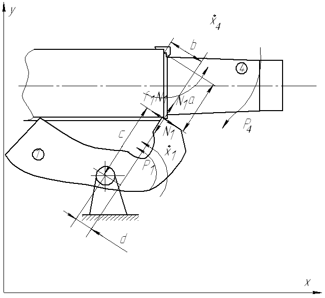
7.1. ПРОЦЕСС ОТПИРАНИЯ
При движении
взводной муфты 1 (рисунок 7.1) под действием
давления пороховых газов она воздействует
на клин 2 с силой, перпендикулярной
наклонной поверхности на клине
,
в результате которой возникает сила
трения
.
Под действием этих сил клин прижимается
к левым направляющим в ствольной коробке.
Со стороны этих направляющих на клин
действует сила
(равнодействующая всех сил по поверхности
направляющих), в результате которой
возникает сила трения
.
Клин на взводную муфту действует с
силами, равными соответственно
и
,
направленными в противоположную сторону.
Взводная муфта, двигаясь по ствольной
коробке, воздействует на неё с силами
и
.
Приложим к
основному звену потерянную силу
,
и к клину -
и запишем следующие зависимости,
проектируя силы на направление движения
основного звена 1:
Для клина:
(7.1.1)
(7.1.2)
Определим
из уравнения (7.1.1)
:
(7.1.3)
Подставляет
в уравнение (7.1.2) и определяем
:
(7.1.4)
Для взводной муфты:
(7.1.5)
(7.1.6)
Из уравнения
(7.1.5) определяем
:
(7.1.7)
Подставляет
в уравнение (7.1.2) и определяем
:
(7.1.8)

Поделив уравнения (7.1.8) на (7.1.4) получим

Так как
,
То

Зная выражение для коэффициента передачи сил, легко найти значение передаточного отношения.
Коэффициент передачи сил равен передаточному отношению, если связи идеальны. Тогда при

. (7.1.9)
Для нашего
механизма при

(7.1.10)
Учитывая,
что
определяем коэффициент приведения
масс:

7.2. ВЗВЕДЕНИЕ УДАРНИКА
При движении
затворной рамы 1 (рисунок 7.2) в крайнее
заднее положение она воздействует на
ударник 5 взводя его при этом в месте
контакта возникают сила
и сила трения
.
При движении затворной рамы по внутренней
поверхности затвора возникают сила
и сила трения
,
а при взведении ударника возникает сила
и сила трения
.
Ударник на затворную раму действует с
силами, равными соответственно
и
,
направленными в противоположную сторону.
Приложим к
основному звену потерянную силу
,
и к ударнику -
и запишем следующие зависимости,
проектируя силы на направление движения
основного звена 1:
Для ударника:
(7.2.1)
(7.2.2)

Рисунок 7.2. Взведение ударника.
Из уравнения
(7.2.1) определяем
:
(7.2.3)
Для затворной рамы:
(7.2.4)
(7.2.5)
Из уравнения
(7.2.4) определяем

:
(7.2.6)
Из уравнения
(7.2.5) определяем
и подставляем в уравнение (7.2.6):
(7.2.7)
Поделив уравнения (7.2.7) на (7.2.3) получим:
(7.2.8)
Так как
,
то
(7.2.9)
Зная выражение
для коэффициента передачи сил, легко
найти значение передаточного отношения.
Коэффициент передачи сил равен
передаточному отношению, если связи
идеальны. Тогда при

. (7.2.10)
Для нашего
механизма при

(7.2.11)
Учитывая,
что
определяем коэффициент приведения
масс:
(7.2.12)
7.3. ВЗВЕДЕНИЕ ЗАДЕРЖКИ УДАРНИКА
При движении
ударника 1 (рисунок 7.3) в крайнее заднее
положение он воздействует на задержку
ударника 8 взводя его при этом в месте
контакта возникают сила
и сила трения
.
При движении ударника по внутренней
поверхности затвора возникают сила
и сила трения
.
Приложим к
основному звену потерянную силу
,
и к задержке ударника -
и запишем следующие зависимости,
проектируя силы на оси
и
:

Рисунок 7.3. Взведение задержки.
Для ударника:
(7.3.1)
(7.3.2)
Из уравнения
(7.3.2) определяем
:
(7.3.3)
Подставляем полученное выражение (7.3.3) в уравнение (7.3.1):
(7.3.4)
Для предохранителя ударника:
(7.3.5)
Определяем
из уравнения (7.3.5)
:
(7.3.6)
Поделив уравнения (7.3.6) на (7.3.3) получим:
(7.3.7)
Так как
,
то
(7.3.8)
Зная выражение
для коэффициента передачи сил, легко
найти значение передаточного отношения.
Коэффициент передачи сил равен
передаточному отношению, если связи
идеальны. Тогда при

. (7.3.9)
Для нашего
механизма при

(7.3.10)
Учитывая,
что
определяем коэффициент приведения
масс:
(7.3.11
7.4. ПРОЦЕСС ЗАПИРАНИЯ
При движении
затвора в крайнее переднее положение
он воздействует на клин с силой,
перпендикулярной наклонной поверхности
затвора
,
в результате которой возникает сила
трения
.
Под действием этих сил клин прижимается
к правым направляющим в ствольной
коробки. Со стороны этих направляющих
на клин действует сила
(равнодействующая всех сил по поверхности
направляющих), в результате которой
возникает сила трения
.
На затвор клин действует с силами,
равными соответственно
и
,
направленными в противоположную сторону.
Эти силы прижимают затвор к направляющим,
что вызывает реакцию направляющих.
Направляющие действуют на затвор с
силами
и
.

Рисунок 7.4. Процесс запирания.
Приложим к
основному звену потерянную силу
,
и к клину -
и запишем следующие зависимости,
проектируя силы на направление движения
основного звена 1:
Для затвора:
(7.4.1)
(7.4.2)
Для клина:
(7.4.3)
(7.4.4)
Определим
из уравнения (7.4.2)
и подставим в уравнение (7.4.1):
(7.4.4)
(7.4.5)
Преобразуем это выражение:
(7.4.6)
Аналогично
из уравнения (7.4.4) определим
и подставим в уравнение (7.4.3). Преобразуя,
находим:
(7.4.7)
Поделив уравнения (7.4.6) на (7.4.7) получим:
(7.4.8)
Так как
,
то
.
Зная выражение
для коэффициента передачи сил, легко
найти значение передаточного отношения.
Коэффициент передачи сил равен
передаточному отношению, если связи
идеальны. Тогда при

. (7.4.9)
Для нашего
механизма при

. (7.4.10)
Определяем коэффициент приведения масс:
(7.4.11)
7.5. ДВИЖЕНИЕ ОТРАЖАТЕЛЯ
При движении
затвора в крайнее заднее положение он
воздействует на отражатель с силой,
перпендикулярной наклонной поверхности
отражателя
,
в результате которой возникает сила
трения
.
Под действием этих сил отражатель
поворачивается против часовой стрелки.
Со стороны направляющих на затвор
действует сила
(равнодействующая всех сил по поверхности
направляющих), в результате которой
возникает сила трения
.
На затвор отражатель действует с силами,
равными соответственно
и
,
направленными в противоположную сторону.

Рисунок 7.5. Поворот отражателя.
Для затвора:
(7.5.1)
(7.5.2)
Из уравнения
(7.5.2) определяем
:
(7.5.3)
Подставляем полученное выражение (7.5.3) в уравнение (7.5.1):
(7.5.4)
Для отражателя:
(7.5.5)
Определяем
из уравнения (7.5.5)
:
(7.5.6)
Поделив уравнения (7.5.6) на (7.5.3) получим:
(7.5.7)
Так как
,
то
(7.5.8)
Зная выражение
для коэффициента передачи сил, легко
найти значение передаточного отношения.
Коэффициент передачи сил равен
передаточному отношению, если связи
идеальны. Тогда при

. (7.5.9)
Для нашего
механизма при

(7.5.10)
Учитывая,
что
определяем коэффициент приведения
масс:
(7.5.11
7.6. ДВИЖЕНИЕ АВТОСПУСКА В ОТКАТЕ
При движении
затвора в крайнее заднее положение он
воздействует на автоспуск с силой,
перпендикулярной наклонной поверхности
отражателя
,
в результате которой возникает сила
трения
.
Под действием этих сил автоспуск
поворачивается по часовой стрелки. Со
стороны направляющих на затвор действует
сила
(равнодействующая всех сил по поверхности
направляющих), в результате которой
возникает сила трения
.
На затвор автоспуск действует с силами,
равными соответственно
и
,
направленными в противоположную сторону.

Рисунок 7.6. Поворот автоспуска.
Для затвора:
(7.6.1)
(7.6.2)
Из уравнения
(7.6.2) определяем
:
(7.6.3)
Подставляем полученное выражение (7.6.3) в уравнение (7.6.1):
(7.6.4)
Для автоспуска:
(7.6.5)
Определяем
из уравнения (7.6.5)
:
(7.6.6)
Поделив уравнения (7.6.6) на (7.6.3) получим:
(7.6.7)
Так как
,
то
(7.6.8)
Зная выражение
для коэффициента передачи сил, легко
найти значение передаточного отношения.
Коэффициент передачи сил равен
передаточному отношению, если связи
идеальны. Тогда при

. (7.6.9)
Для нашего
механизма при

(7.6.10)
Учитывая,
что
определяем коэффициент приведения
масс:
(7.6.11)
7.7. ДВИЖЕНИЕ УПОРА В ОТКАТЕ
При движении
затвора в крайнее заднее положение он
воздействует на упора с силой,
перпендикулярной наклонной поверхности
отражателя
,
в результате которой возникает сила
трения
.
Под действием этих сил упор поворачивается
против часовой стрелки. Со стороны
направляющих на затвор действует сила
(равнодействующая всех сил по поверхности
направляющих), в результате которой
возникает сила трения
.
На затвор упор действует с силами,
равными соответственно
и
,
направленными в противоположную сторону.

Рисунок 7.7. Поворот упора.
Для затвора:
(7.7.1)
(7.7.2)
Из уравнения
(7.7.2) определяем
:
(7.7.3)
Подставляем полученное выражение (7.7.3) в уравнение (7.7.1):
(7.7.4)
Для упора:
(7.7.5)
Определяем
из уравнения (7.7.5)
:
(7.7.6)
Поделив уравнения (7.7.6) на (7.7.3) получим:
(7.7.7)
Так как
,
то
(7.7.8)
Зная выражение
для коэффициента передачи сил, легко
найти значение передаточного отношения.
Коэффициент передачи сил равен
передаточному отношению, если связи
идеальны. Тогда при

. (7.7.9)
Для нашего
механизма при

(7.7.10)
Учитывая,
что
определяем коэффициент приведения
масс:
(7.7.11)
7.8. ОТРАЖЕНИЕ ГИЛЬЗЫ
При движении
затвора в крайнее заднее положение
отражатель воздействует на гильзу с
силой, перпендикулярной наклонной
поверхности отражателя
,
в результате которой возникает сила
трения
.
Под действием этих сил гильза поворачивается
против часовой стрелки. На отражатель
гильза действует с силами, равными
соответственно
и
,
направленными в противоположную сторону.

Рисунок 7.8. Отражение гильзы.
Приложим к
основному звену силу
,
и к гильзе -
и запишем следующие зависимости:
Для отражателя:
(7.8.1)
Для гильзы:
(7.8.2)
Из выражения
(7.8.1) определяем
:
(7.8.3)
Из выражения
(7.8.2) определяем
:
(7.8.4)
Поделив выражение (7.8.3) на (7.8.4) получаем:
(7.8.5)
Так как
,
то
(7.8.6)
Зная выражение
для коэффициента передачи сил, легко
найти значение передаточного отношения.
Коэффициент передачи сил равен
передаточному отношению, если связи
идеальны. Тогда при

. (7.8.7)
Для нашего
механизма при

(7.8.8)
Учитывая,
что
определяем коэффициент приведения
масс:
(7.8.9)
7.9. ДОСЫЛАНИЕ ПАТРОНА
При движении
подвижных частей в накате происходит
досылание патрона в патронник. Затвор
нижней поверхностью выдавливает патрон
из зацепов магазина при этом в месте
контакта возникают силы
и
.
При движении затвора по направляющим
возникают силы
и
.
При досылании патрона возникает силы
реакции
и
.
При движении патрона по направляющим
возникают силы
и
.

Рисунок 7.9. Досылание патрона.
Приложим к
основному звену силу
,
и к патрону -
и запишем следующие зависимости:
Для затвора:
(7.9.1)
N>2 >= fN>1 >(7.9.2)
Для патрона:
(7.9.3)
(7.9.4
(7.9.5)
Так как
,
то
(7.9.6)
(7.9.7)
Зная выражение
для коэффициента передачи сил, легко
найти значение передаточного отношения.
Коэффициент передачи сил равен
передаточному отношению, если связи
идеальны. Тогда при

. (7.9.8)
Для нашего
механизма при

;
(7.9.9)
(7.9.10)
(7.9.11)
7.10. РЕЗУЛЬТАТЫ РАСЧЕТОВ ПО ПОЛУЧЕННЫМ ФОРМУЛАМ
-
Процесс
Параметры
Расчет
Отпирание


Взведение ударника


Взведение задержки ударника


Процесс запирания


Движение отражателя


Движение автоспуска


Движение упора


Отражение гильзы


Процесс
Параметры
Расчет
Досылание патрона


8. ОПРЕДЕЛЕНИЕ ПОЛНОГО ИМПУЛЬСА, МАКСИМАЛЬНОГО ДАВЛЕНИЯ И ВРЕМЕНИ РАБОТЫ БОКОВОГО ГАЗООТВОДНОГО УСТРОЙСТВА
Исходные данные
1.
Площадь наименьшего сечения газопровода
………………...0,1963
10-4
м2
2.
Площадь поршня
……………………………………………….0,6362
10-4м2
3. Площадь зазора между поршнем и стенками
газовой
камеры
……………………………………………...0,00625
10-4м2
4.
Начальный объем газовой каморы
………………………….
0,26
10-6м3
5. Масса поршня и движущихся совместно
с
ним частей автоматики
……………………………………………..0,515
кг
6.
Масса заряда
……………………………………………………0,0031
кг
7.
Масса пули
…………………………..…………………………….…0,0096
кг
8. Среднее давление пороховых газов
в
канале ствола в начале отвода газов
…………………..……..904
105
Па
9. Среднее давление пороховых газов
в
канале ствола в дульный момент
……………….…………….890
105
Па
10. Время движения пули от начала отвода газов
до
дульного момента
………………………………………….…..0,00019 с
11.
Объем заснарядного пространства в
дульный момент
...…26,084
10-6
м3
12.
Показатель политропы
………………………………………………….1,524
13. Отношение теплоемкости k………………………………………………….1,3
14.
Путь пули до газоотводного отверстия
……………………...36,8
см
15.
Полный путь пули в канале ствола
……………………………..…….57,2
см
16.
Площадь поперечного сечения канала
ствола
……………...…0,467
10-4
м2
17.
Объем зарядной каморы
………………………………………3,8
10-6
м3
8.1. Определяем значения относительных параметров бокового газоотводного устройства по зависимостям:
;

;
;
.
8.2. По таблицам определяем значения поправочных коэффициентов:
;
;
;
.
8.3. Определяем относительный удельный импульс газоотводного двигателя по зависимости:

8.4. Определяем подведенный удельный импульс, для чего необходимо предварительно вычислить следующие величины:
;
;
;
;
.
Значения
относительных давлений

и
,
а также параметра
выбираем из таблиц по следующему
выражению:
;
;
;
.
Значения
относительных давлений
,
и параметра
выбираем из таблицы при
:
;
;
.
Значение
относительной координаты
определяем по зависимости:

Таким образом,
;
;
;
;

Подведенный удельный импульс давления двигателя определяем по зависимости:
.
8.5. Определяем удельный импульс давления газоотводного двигателя:
.
8.6. Определяем время периода последействия:
.
8.7. Определяем время работы газоотводного двигателя:
.
8.8. Определяем время, соответствующее максимальному давлению в газовой каморе, по зависимости:
.
Значение
выбираем по величине:
.
Для нашего
случая
.
Тогда
.
8.9. Определяем максимальное давление в газовой каморе по зависимости:
.
8.10. Определяем максимальное усилие пороховых газов на поршень:
.
8.11. Определяем полный импульс силы бокового газоотводного двигателя:
.
9. РАСЧЕТ ЦИЛИНДРИЧЕСКОЙ ПРУЖИНЫ НА ПРОЧНОСТЬ
Расчет ведется при следующих исходных данных:
1.
Наружный диаметр пружины
……………………………………….
9 мм
2.
Усилие предварительного поджатия
……………………………
54 Н
3.
Длина пружины при предварительном
поджатии
………………….
229 мм
4.
Рабочий ход пружины
………………………………………………...90 мм
5.
Диаметр проволоки
……………………………………………………..2
мм
9.1. Определяем средний диаметр пружины:
. (9.1)
9.2. Определяем длину пружины при рабочем поджатии пружины:
.
(9.2)
9.3.
Подбираем число рабочих витков пружины
n, так чтобы
,
предварительно определив
:
. (9.3)
Выбираем

Определяем общее число витков:
. (9.4)
9.4. Определяем линейную деформацию пружины при предварительном поджатии:
.
(9.5)
9.5. Определяем длину пружины в свободном состоянии:
. (9.6)
9.6. Определяем шаг пружины:
. (9.7)
9.7. Определяем осевую нагрузку при рабочем поджатии пружины:
. (9.8)
9.8. Определяем осевую нагрузку при поджатии до соприкосновения витков:
.
(9.9)
9.9. Определяем напряжение пружины при поджатии до соприкосновения витков:
. (9.10)
Определяем
коэффициент концентрации напряжений
:
(9.11)
где:
- индекс пружины, выбирается в пределах
от 4 до 12 по формуле:
(9.12)
9.10. Определяем развернутую длину проволоки:
(9.13)
10. РАСЧЕТ ДВИЖЕНИЯ АВТОМАТИКИ
Исходные данные
1.
Масса затворной рамы
,
кг ………………………………………………0,190
2.
Масса затвора
,
кг ………………………………………………………..0,200
3.
Масса ударника
,
кг ………………………………………………………0,075
4.
Масса клина
,
кг ………………………………………………………….0,060
5.
Масса задержки ударника
,
кг …………………………………………...0,035
6.
Масса автоспуска
,
кг …………………….0,019
7.
Масса упора
,
кг …………………………………...0,015
8.
Масса отражателя
,
кг …………………………………………………....0,080
9.
Масса гильзы
,
кг ………………………………..………………………0,0023
10.
Масса патрона
,
кг ………………………………….0,0150
11.
Масса боевой пружины
,
кг ………………………..0,0120
12.
Масса возвратной пружины
,
кг ……………...……...0,0340
13.
Момент инерции задержки ударника
,
кг
м2…………….…0,9
10-5
14.
Момент инерции автоспуска
,
кг
м2………………….…..0,56
10-6
15.
Момент инерции упора
,
кг
м2………………………………..0,32
10-6
16.
Момент инерции отражателя
,
кг
м2……………..…………………0,2
10-5
17.
Момент инерции гильзы
,
кг
м2………………………………....0,22
10-5
18.
Жесткость возвратной пружины
,
H/м ……………………………90
19.
Жесткость боевой пружины
,
H/м …………………………………2400
20. Усилие возвратной пружины F>1>, H …………………………………….54
21. Усилие боевой пружины F>2>, H …………………………………………..70
22.
Удельный импульс двигателя автоматики
,
H
c/м2
………....…0,7546
105
23.
Площадь поршня
,
м2…………………………..……………..….0,6362
10-4
На первом участке движение затворной рамы под действием сил давления пороховых газов на поршень и силы сопротивления возвратной и боевой пружин описывается дифференциальным уравнением:

где
- ускорение основного звена;
-
перемещение основного звена.
Чтобы избежать решения дифференциального уравнения движения на первом участке (от 0 до 0,017 м), будем считать, что затворная рама получает импульс от двигателя автоматики мгновенно, а затем движется только под действием возвратной и боевой пружины. Скорость затворной рамы в начале первого участка будет равна:

Движение затворной рамы будет описываться дифференциальным уравнением:

Решение данного уравнения имеет вид:


На границе первого и второго участка (0,017 до 0,020 м) происходит ударное присоединение затвора. Коэффициент восстановления скорости после удара в этом случае равен нулю, скорость затвора перед ударом также равна нулю. Поэтому скорость затворной рамы и затвора после удара, т.е. скорость затвора и затворной рамы в начале второго участка, будет равна:

На втором участке (0,017 до 0,020 м) происходит сведение автоспуска и упора и движение затвора. Уравнение движения запишется в следующем виде:

В этом уравнении обозначим:
,
тогда его решение аналогично решению уравнения движения на первом участке, но при этом основное звено движется только под действием возвратной пружины:

На границы второго и третьего участка заканчивается сведение автоспуска и упора. Скорость основного звена после этого процесса будет определяться по зависимости:

На третьем участке (0,2 до 0,04 м) происходит дальнейшее движение затвора в откате. Уравнение движения на этом участке запишется в виде:

В этом уравнении обозначим:

тогда его решение аналогично решению уравнения движения на втором участке:

На границы третьего и четвертого участка начинается движение отражателя. Скорость основного звена после этого процесса будет определяться по зависимости:

На четвертом участки (0,04 до 0,13 м) происходит дальнейшее движение затвора в откате и поворот отражателя. Уравнение движения на этом участке запишется в виде:

В этом уравнении обозначим:

тогда его решение аналогично решению уравнения движения на втором участке:

На пятом участке происходит отражение гильзы. Для упрощения примем, что отражение гильзы происходит мгновенно, а не на 2 мм. Таким образом, пятый участок из расчета выпадает, тогда скорость в начале шестого участка будет:

На шестом участке движение описывается дифференциальным уравнением вида:

В этом уравнении обозначим:

тогда его решение аналогично решению уравнения движения на втором участке:

Принимаем
при ударе о затыльник коэффициент
восстановления скорости
,
получаем скорость отскока основного
звена:

Знак минус указывает на изменение направления движения.
На седьмом участке движение описывается уравнением:

В этом уравнении обозначим:

тогда его решение аналогично решению уравнения движения на втором участке:

На восьмом участке (0,128 до 0,02 м) происходит досылание патрона.

Уравнение движения на этом участке запишется в виде:

В этом уравнении обозначим:
тогда его решение аналогично решению уравнения движения на втором участке:

На девятом участке (0,02 до 0,017 м) происходит досылание патрона и разведение автоспуска и упора.

Уравнение движения на этом участке запишется в виде:

В этом уравнении обозначим:
тогда его решение аналогично решению уравнения движения на втором участке:

На десятом
участке:


Определяем время движения основного звена автоматики на каждом участке определим приближенно по средней скорости:

На первом
участке –

На втором
участке –

На третьем
участке –

На четвертом
участке –

На пятом и
шестом участках –


На седьмом
участке –

На восьмом
участке –

На девятом
участке –

На десятом
участке –



