Инженерно – геодезическая практика
Государственный комитет Российской Федерации по высшему образованию
Сибирский государственный индустриальный университет
Кафедра геологии и геодезии
Отчет по
инженерно – геодезической практике
-
Состав бригады №21:
Студенты гр. СПТ-99
Сильченко Ю.
Руднев Д.
Бородина О.С.
Баринова О.А.
Руководитель практики:
Старший преподаватель
Терехин
Сергей Александрович
Новокузнецк 2000.
ОГЛАВЛЕНИЕ
Введение (организационные мероприятия)
Поверки и юстировки приборов (теодолита, нивелира, мерной ленты, рейки, штатива)
Создание геодезической съемочной основы
Нивелирование поверхности (теодолитная съемка)
Тахеометрическая съемка
Методика построения плана тахеометрической съемки
Разбивочные работы (понятие о прямой и обратной геодезической задаче)
Камеральное трассирование автодороги
Камеральная обработка результатов нивелирования площади поверхности по квадратам и проектирование вертикальной планировки
Инженерно – геодезические задачи
Полевой контроль
Заключение
Список использованной литературы
ВВЕДЕНИЕ
Место прохождения инженерно – геодезической практики: остановка «платформа 383 км»
Цель работы: закрепление полученных знаний, приобретение навыков работы с геодезическими приборами.
Необходимо выполнение:
поверок и юстировок геодезических приборов;
геодезических работ при создании геодезического обоснования;
теодолитной, высотной, тахеометрической съемок;
специальные виды геодезических работ, а также решение конкретных геодезических задач;
Виды работ:
1 организационные мероприятия (формирование бригад, проведение инструктажа по ТБ, документация, ознакомление с программой практики);
2 поверки инструментов (теодолита, нивелира);
3 создание геодезического съёмочного обоснования (рекогносцировка местности, закрепление точек планово – высотного обоснования, проложение теодолитного хода, нивелирование точек теодолитного хода);
4 теодолитная съемка (ознакомительно). Каждый студент должен выполнить съемку четырех контурных точек, используя различные способы съемки. Тахеометрическая съемка (1-2 станции на студента);
5 построение совмещенного плана теодолитной и тахеометрической съемок;
6 подготовка данных и вынос в натуру проектных осей (одна проектная точка на студента);
7 геодезическое трассирование сооружений линейного типа (100м трассы на студента, ширина полосы съемки – 20 м от оси, число углов поворота – не менее двух, число поперечников – не менее двух на бригаду);
8 нивелирование поверхности по квадратам (размер площадки – 50х50 м, стороны квадратов – 10м – выполняется бригадой);
9 решение инженерно – геодезических задач (виды задач – по заданию преподавателя). Выполняется бригадой;
10 полевой контроль и сдача инструментов – вся бригада;
11 оформление отчета по практике с последующей проверкой его руководителем и исправлением замечаний;
12 сдача отчета;
Приборы и материалы:
Теодолит 2 Т 30 – П;
Нивелир 2 Н – 3 Л;
Мерная лента;
Рейка (2 шт., 3 м);
Штатив (2 шт.);
Вешка (2 шт. );
Спица.
ПОВЕРКИ И ЮСТИРВОКИ ПРИБОРОВ
1. Теодолит 2Т - 30 П
Поверка цилиндрического уровня
Ось цилиндрического уровня при алидаде горизонтального круга должна быть перпендикулярна вертикальной оси вращения теодолита. Вращением алидады устанавливаем ось уровня параллельно линии, проходящей через два подъемных винта. Вращая два винта в противоположных направлениях, мы приводим пузырек уровня на середину. Затем поворачивают алидаду на 1800. Если пузырек уровня остается на середине, то уровень исправен и поверку считают выполненной. Если пузырек смещается более, чем на два деления, уровень не исправен и требуется выполнить юстировку.
Юстировка
Исправительными винтами уровня перемещают пузырек по направлению к нуль – пункту на половину дуги отклонения. Подъемными винтами приводят пузырек уровня на середину, повторяют поверку.
Результаты поверки:
С
ильченко
Ю.:
После поворота алидады на 1800 пузырек уровня остается на середине, следовательно, поверка считается выполненной.
Р
уднев
Д.:
После поворота алидады на 1800 пузырек уровня остается на середине, следовательно, поверка считается выполненной.
Бородина О.С.:
П
осле
поворота алидады на 1800 пузырек
уровня остается на середине, следовательно,
поверка считается выполненной.
Баринова О.А.:
П
осле
поворота алидады на 1800 пузырек
уровня остается на середине, следовательно,
поверка считается выполненной.
Поверка сетки нитей
Нить сетки наводят на четко видимую точку так, чтобы изображение совместилось с вертикальной нитью сетки сверху. Вращая наводящий винт трубы, перемещают изображение наблюдаемой точки вниз. Поверка считается выполненной, если точка не сошла с вертикальной нити. Если точка смещается с нити, выполняют юстировку.
Юстировка
Снимают колпачок основной трубы, ослабляют исправительные винты сетки нитей, разворачивают сетку на нужный угол, закрепляют юстировочные винты сетки нитей, повторяют поверку.
Результаты поверки:

Сильченко Ю.:
Руднев Д.:
Бородина О.С.:
Баринова О.А.:
Определение коллимационной ошибки (С)
Визирная ось трубы должна быть перпендикулярна оси вращения трубы. Устанавливают теодолит по уровню. При КП наводят теодолит на точку; снимают отчет по горизонтальному кругу. Ту же самую операцию выполняют при КЛ. Коллимационная ошибка вычисляется по формуле:
.
Значение
.
Если
,
то выполняют юстировку.
Юстировка
Наводящим
винтом алидады устанавливают по
горизонтальному кругу отсчет:
.
При этом изображение наблюдаемой точки сместится из центра сетки нитей. Ослабив исправительные винты сетки, боковыми исправительными винтами совмещают центр сетки нитей с точкой. Осторожно затягивают исправительные винты (1.2.1 и 1.3.1 – повторяют).
Результаты измерений:
Руднев Д.: КЛ 1960 37|
КП 160 36|

Баринова О.А.: КЛ 3400 35|
КП 1600 35|

Сильченко Ю.: КЛ 1750 34|
КП 3550 33|

Бородина О.С.: КЛ 3200 20|
КП 1400 20|

Определение места нуля (М0)
Место
нуля – это отсчет по вертикальному
кругу, когда зрительная труба горизонтальна,
а пузырек уровня при алидаде находится
в нуль – пункте. Зрительную трубу наводят
на высоко расположенную точку, и при
двух положениях теодолита снимают отчет
по вертикальному кругу. Место нуля
вычисляют по формуле:
.
Значение
.
Если
,
то выполняют юстировку.
Юстировка
По
вертикальному кругу устанавливают
отсчет, равный углу наклона
,
равный:
.
При этом изображение наблюдаемой точки
сместится из центра сетки нитей. Ослабив
боковые исправительные винты сетки
нитей, вертикальными исправительными
винтами совмещают центр сетки нитей с
наблюдаемой точкой. Закрепляют винты.
Результаты измерений:
Руднев Д….: КЛ 160 12|
КП -160 12|

Баринова О.А.: КЛ 140 41|
КП -140 41|

Сильченко Ю.: КЛ 20 34|
КП -20 34|

Бородина О.С.: КЛ 30 31|
КП -30 31|

2. Нивелир 2Н – 3Л
Поверка круглого уровня
Ось круглого уровня должна быть параллельна оси вращения нивелира.
Двумя подъемными винтами приводят пузырек круглого уровня в нуль – пункт. Если после поворота верхней части нивелира на 1800 пузырек останется в нуль – пункте – условие выполнено. В противном случае, исправительными винтами уровня перемещают пузырек в направлении к нуль – пункту на половину дуги отклонения. Подъемными винтами приводят уровень на середину. Поверка повторяется.
Результаты поверки:
Сильченко Ю.: После поворота на 1800 .
Поверка выполнена.
Р
уднев
Д.: После поворота на 1800 .
Поверка выполнена.
Б
аринова
О. А.: После поворота на 1800 .
Поверка выполнена.
Б
ородина
О.С.: После поворота на 1800 .
Поверка выполнена.
Поверка сетки нитей.
Выполняется аналогично поверке сетки нитей у теодолита (повторяется горизонтальная нить сетки по рейке).То есть вертикальная нить сетки должна быть параллельна оси вращения нивелира.
Поверку выполняют двумя способами:
На расстоянии 25 – 30 м от нивелира подвешивают шнур с отвесом и наводят вертикальную нить сетки на шнур отвеса. Если вертикальная нить совпадает со шнуром, поверку считают выполненной, если не совпадает, тогда необходимо провести юстировку.
Наводят трубу нивелира на вертикально установленную рейку таким образом, чтобы рейка была слева и снимают отсчет по рейке. Затем наводящим винтом нивелира перемещают изображение на правый край сетки и снова снимают отсчет по рейке. Если отсчеты одинаковые, поверку считают выполненной, если нет – требуется юстировка.
Юстировка
Открепляют винты, удерживающие окуляр и производят разворот окуляра вместе с сеткой нитей на нужный угол.
Поверка цилиндрического уровня (главное условие нивелира).
Ось цилиндрического уровня должна быть параллельна визирной оси трубы. Поверку выполняют двойным нивелированием (в прямом и обратном направлениях) линии длиной 50 – 70 м.
Т
очки
А и В (рис.) закрепляют колышками. Над
точкой А устанавливают нивелир так,
чтобы окуляр находился над (.) А, в точку
В ставят рейку. Измеряют высоту инструмента
i>A>
по черной стороне рейки, наводят трубу
на рейку и записывают отсчет b
по черной стороне. Ту же операцию
выполняют по красной стороне рейки.
Нивелир и рейку меняют местами.
Измеряют i>B>, a по черной стороне рейки, затем для контроля по красной стороне. Вычисляют Х по черной и красной стороне:

Значения Х, полученные по черной и красной сторонам рейки не должны расходиться более чем на 4 мм. Затем вычисляют Х >ср>:

Значение
мм.
Если Х >ср.>>4 мм, следовательно,
главное условие нивелира не выполняется
и поэтому выполняют юстировку.
Юстировка
Элевационным винтом устанавливают по рейке исправительный отсчет, который вычисляют по формуле: а >испр. >= а – Х >ср.>
При этом цилиндрический уровень сместиться из середины (концы пузырька разойдутся). Возникшее смещение пузырька уровня устраняют вертикальными исправительными винтами уровня, предварительно ослабив боковые исправительные винты. После этого поверки 1и 3 повторяют.
Результаты поверки:
Сильченко Ю.
|
I>A>> черн.> =1682; I>A>> кр.> = 6481; I>В черн.> = 1744; I>В кр.> = 6545; |
b> черн. > = 1318; b> кр. > = 6119; а> черн. > = 2108; а> кр. >= 6909. |


.
Руднев Д.
|
I>A>> черн.> =1562; I>A>> кр.> = 6363; I>В черн.> = 1641; I>В кр.> = 6442; |
b> черн. > = 1161; b> кр. > = 5959; а> черн. > = 2042; а> кр. >= 6845. |


.
Бородина О.С.
|
I>A>> черн.> =1571; I>A>> кр.> = 6371; I>В черн.> = 1633; I>В кр.> = 6435; |
b> черн. > = 1207; b> кр. > = 6009; а> черн. >= 1997; а> кр. >= 6799. |
;
;
.
Баринова О.А.
|
I>A>> черн.> =1601; I>A>> кр.> = 6402; I>В черн.> = 1641; I>В кр.> = 6442; |
b> черн. > = 1704; b> кр. > = 6505; а> черн. > = 1541; а> кр. >= 6342. |
;
;
.
Осмотр нивелирных реек, мерной ленты и штатива.
Рейка не должна быть изогнутой. Раскраска рейки должна быть четкой. Для удобства измерений обе рейки должны иметь одинаковую оцифровку по красным сторонам.
Точное определение длины мерной ленты может быть выполнено на специальном базисе, длина которого измерена с повышенной точностью.
Номинальная длина ленты 20 м.
Если лента имеет повреждения, то необходимо определить ее фактическую длину и вычислить поправку, которую нужно вводить в результаты измерений.
Ножки штатива должны быть надежно скреплены с головкой штатива, металлические наконечники должны плотно прилегать к заостренным концам ножек.
Любые обнаруженные неисправности устраняются только в присутствии учебного мастера или руководителя практики.
создание геодезической съемочной основы
1 Рекогносцировка местности, закрепление точек планово–высотной основы.
На учебном полигоне руководитель практики задает каждой бригаде границы участка для топографической съемки и исходные пункты. После детального ознакомления с участком, студенты составляют проект планово – высотной основы, руководствуясь следующими требованиями:
Хорошая взаимная видимость между соседними пунктами основы;
Пункты основы должны обеспечивать хороший обзор местности для топографической съемки;
Количество пунктов их взаимное расположение выбирают с таким расчетом, чтобы с этих пунктов можно было снять полностью весь участок съемки. При съемки расстояние от пункта основы до снимаемой точки не должно превышать 100 м;
Удобство установки инструмента;
Удобство для линейных измерений и нивелирования;
Расстояние между соседними пунктами должно быть не более 150 м и не менее 50 м.
Пункты закрепляются на местности предварительно заготовленными деревянными колышками и сторожками диаметром 2 – 4 см ( рис.).

Колышек будет являться носителем координат и высоты. Он в процессе всей практики должен оставаться жестко зафиксированным. Колышек вбивают вровень с землей, оставляя не более 1 – 2 см над поверхностью. В центре колышка забивают маленький гвоздик, над которым в дальнейшем будет центрироваться теодолит. Если во время практики колышек изменит свое положение, необходимо будет его закрепить заново и определить его координаты и высоту.
Сторожок служит для удобства отыскания пункта. Его должно быть хорошо видно на местности. На сторожке топором делают срез, на котором записывают номер бригады и номер пункта.
2 Измерение горизонтальных углов.

В теодолитных ходах измеряют левые и правые по ходу горизонтальные углы.
В
разомкнутом ходе (см. рисунок) 30,
31, 55, 56 – исходные пункты, 1 – 6 – пункты
теодолитного хода.
- левые горизонтальные углы.
- левые примычные углы.
В
замкнутом ходе 42 – 43 – исходные
пункты. 1 – 8 - пункты теодолитного хода.
- левые внутренние горизонтальные углы.
- левый примычный угол.
На практике во избежание путаницы измеряют левые горизонтальные углы.
Методика измерений:
Теодолит центрируют над пунктом с точностью не менее +5 мм;
Приводят в рабочее положение ( по уровню);
Добиваются резкого изображения сетки нитей;
Закрепляют лимб;
На предыдущем и последующих пунктах устанавливают вехи позади колышков (в створе наблюдаемых направлений);
При положении КЛ снимают отсчет по горизонтальному кругу а>1>> >на предыдущую, затем отсчет а>2> на последующую вехи, отсчеты записывают в журнал;
Ту же операцию повторяют при положении КП;
Не снимая теодолит, вычисляют горизонтальные углы >л>, >п>:
>л >= а>2 >– а>1>
>п >= а>4> – а>3>,
где а>3 >и а>4> – отсчеты при КП соответственно на предыдущую и последующие вехи.
Расхождение между >л> и >п >не должно превышать 2|.
Вычисляют >ср. > = (>л >+ >п>)/2 и записывают в журнал
Если углы измеряются с повышенной точностью, лимб поворачивают на 900 и повторяют все измерения.
При наведении на веху стараются навести трубу как можно ниже, так как низ вехи всегда отклоняется меньше, чем верх.
3 Измерение углов наклона
В
ертикальные
углы измеряют в прямом и обратном
направлениях. На каждой станции измеряют
высоту инструмента с точностью до 1 см,
отмечают эту высоту на вехе. Веху
устанавливают вертикально сначала на
предыдущей, затем на последующей точках
хода. При измерении вертикального круга
должен быть на середине. Среднюю
горизонтальную нить наводят на веху
на высоту инструмента (рис.) при положении
КЛ, затем КП и снимают отсчеты по
вертикальному кругу КЛ и КП, которые
записывают в журнал. Затем вычисляют
место нуля:

Значение
.
Затем вычисляют вертикальный угол КЛ – М0. Вертикальные углы измеряют в прямом и обратном направлениях. Расхождение между ними не должно превышать 2.
4 Измерение> >длин сторон хода
При измерении длин линий по разным причинам возникают погрешности, поэтому для контроля и повышения точности результатов измерений каждую линию измеряют дважды, в прямом и обратном направлениях.
Погрешность измерения линии 20 – метровой лентой не должна превышать 1:2000, то есть не должна превышать 1 см на каждые 20 м измеренной длины. Например, для линии длиной 70м допустимое расхождение между прямой и обратной измеренными длинами не должно превышать 3,5 см. Если расхождение не выходит за допустимые пределы, то вычисляют среднее арифметическое значение длины:

Если расхождение больше допустимого, линию измеряют заново.
Измерение линий заключается в последовательном укладывании ленты в створе линии. Измерение производят два человека. Один совмещает нулевой штрих ленты с началом линии, а другой, протягивает ленту по створу измеряемой линии. При этом мерщик, находящийся сзади, корректирует переднего, ориентируясь по вехе, установленной в конце измеряемой линии. Следуя указаниям заднего мерщика, передний укладывает ленту в створе линии и, натянув ее одной рукой, второй рукой через прорезь в ленте вертикально вставляет шпильку в землю. После этого передний мерщик снимает ленту со шпильки, которая остается в земле, и оба мерщика перемещают ленту вперед по линии. Задний мерщик надевает прорезь в ленте на оставленную передним мерщиком шпильку и направляет по линии переднего мерщика. Далее действия повторяются в таком же порядке. Если длина линии более 100 метров и все шпильки находятся у заднего мерщика, он передает шпильки переднему мерщику и измерения продолжает. Когда передний мерщик подходит к концу линии, и остается отрезок менее 20 метров, ленту протягивают за конец линии, и передний мерщик, натянув ленту, определяет длину последнего отрезка с точностью до 1 см. Затем, просуммировав все отрезки, вычисляют длину линии:
Д = l n + r,
Где: l –длина ленты, n – количество уложений ленты ( число шпилек у заднего мерщика), r- длина отрезка в конце линии.
После этого измеряют линию в обратном направлении. Результат измерений записывают в журнал.
5 Вычисление координат точек теодолитного хода.
Вначале проверяют все вычисления в полевом журнале. Затем строят схему теодолитного хода, на которую выписывают номера точек теодолитного хода, средние значения измеренных горизонтальных и примычных углов и средние значения измеренных длин сторон. Вычисление координат точек теодолитного хода выполняется в специальной ведомости в следующем порядке.
В ведомость выписывают результаты полевых измерений:
Средние значения измеренных горизонтальных и примычных углов;
Средние значения измеренных длин сторон;
Средние значения измеренных вертикальных углов.
Средние значения длины стороны находят как полусумму ее измерений в прямом и обратном ходе. Средние значения вертикального угла – как полусумму абсолютных его значений в прямом и обратном ходе.
Определяют угловую невязку замкнутого хода с измеренными внутренними углами по формуле:

Если в замкнутом ходе измерены внешние углы, то:

В разомкнутом ходе:

где
и
- дирекционные углы начального и
конечного направлений;
Вычисляют допустимую угловую невязку
- для замкнутого хода,
- для разомкнутого хода.
Сравнивают
полученную невязку с допустимой. Если
,
то полученную угловую невязку распределяют
на все измеренные углы поровну с
противоположным знаком, то есть поправки
по формуле:
,
где
- поправка в измеренные углы.
Поправки округляют до 30||, причем сумма округленных поправок должна давать угловую невязку с обратным знаком.
Затем вычисляют исправленные углы:

Сумма исправленных углов должна быть равна теоретической сумме: в замкнутом полигоне с внутренними углами:
,
В замкнутом полигоне с внешними углами:
,
В разомкнутом полигоне:
.
Дирекционные углы сторон хода вычисляют по формуле:
- для левых горизонтальных
углов,
- для правых горизонтальных
углов,
где
,
-дирекционные углы последующей и
предыдущей сторон хода. Если
получается больше 3600, то из
значения
вычитают 3600.
Вычисляют значение румбов согласно схеме, приведенной на следующем рисунке.

Значение румбов записывают над значениями дирекционных углов.
Вычисляют
горизонтальные проложения:
,
где d- горизонтальное проложение (округляют до 0,01 м),
l – измеренная длина,
- вертикальный угол.
Вычисляют приращения координат:
,

,
или
,
где
при вычислении через румбы значения
и
определяют по шестизначным таблицам
тригонометрических функций, а знаки

и
- по схеме. Полученные

и
округляют до 0,01 м.
Вычисляют линейные невязки:
,
- для замкнутого хода,
,
- для разомкнутого хода.
Вычисляют абсолютную невязку:

И относительную невязку:
,
где
,
то есть периметр хода.
Относительная невязка не должна превышать 1:1500 для замкнутого хода и 1:1000 для разомкнутого хода.
Если относительная невязка больше допустимой, то сначала проверяют все вычисления. При отсутствии ошибок в вычислениях перемеряют длины линий.
Вычисляют поправки:

Поправки округляют до 0,01 м с таким расчетом, чтобы сумма поправок равнялась невязке с обратным знаком, то есть:
,

вычисляют исправленные значения приращений координат:
,
.
Вычисляют координаты точек теодолитного хода:
,
,
где
и
-исправленные
приращения координат стороны
.
Контроль вычислений: получение точного значения координат конечного пункта.
6 Техническое нивелирование точек теодолитного хода.
Техническое нивелирование выполняют с целью получения высот точек съемочного обоснования.
Начальные и конечные точки хода должны быть привязаны к реперам, планово-высотным пунктам или к условным реперам.
Нивелирование пунктов съемочной основы производят методом из середины. Неравенство расстояний от нивелира до реек не должно превышать 5 метров.
Нивелирование на станции производят следующим образом:
Устанавливают нивелир на штативе и приводят его в рабочее положение;
Совместив концы пузырька контактного уровня, снимают отчеты по рейкам в следующем порядке:
Отсчет по рабочей (черной) стороне задней рейки (з>ч>);
Отсчет по рабочей стороне передней рейки (п>ч>);
Отсчет по контрольной (красной) стороне передней рейки (п>к>);
Отсчет по контрольной стороне задней рейки (з>к>);
Отсчеты беру с точностью до 1 мм
Высота визирного луча над поверхностью земли не должна быть менее 0,2 м.
Р
езультаты
измерения заносим в журнал нивелирования.
После снятия отсчетов, не уходя со станции, производят следующие вычисления:

,
где h>ч >, H>К> – превышения по рабочей и контрольной сторонам реек. Расхождение между ними не должно быть более 5 мм. Затем вычисляют среднее превышение h>ср>:

h
>ср>
округляют до целых миллиметров, причем
0,5 мм округляют до четного числа. Таким
образом нивелируют весь ход. Когда нет
возможности изменить превышение между
точками хода с одной станции, применяют
сложное нивелирование. Между точками
хода закрепляют иксовые (х1,
х2, ,,,) точки и нивелируют эту сторону
по частям. Нумерация иксовых точек
единая по всему нивелирному ходу.
7 Вычисление высот пунктов съемочной основы.
Высоты пунктов съемочной основы вычисляют в следующем порядке:
а) в полевом журнале нивелирования делают постраничный контроль:
;
где
- сумма задних отсчетов по черным и
красным сторонам реек;
-
сумма передних отсчетов по черным и
красным сторонам реек;
-
сумма превышений, вычисляемых по черным
и красным сторонам реек;
-
сумма средних превышений.
Расхождения в постраничном контроле допускаются не более 1 мм за счет округления при вычислении;
б) вычисляют допустимую невязку хода:

или
по указанию преподавателя, где L
– длина нивелирного хода в километрах,
n – число измеренных
превышений;
в) вычисляют фактическую невязку:
- для замкнутого хода,
- для разомкнутого хода,
где Н>К >, Н>Н> - высоты конечного и начального пунктов.
Фактическая невязка f>H> не должна быть меньше или равна допустимой f>h>> доп.>> > Если f>h>>f>h>> доп.> Сначала проверяют все вычисления. При отсутствии ошибок в вычислениях нивелирование хода проверяют;
г) полученную невязку поровну распределяют во все превышения с обратным знаком:
,
где
- поправка в превышениях, n
– число превышений.
Поправки округляют до целых миллиметров с таким расчетом, чтобы сумма всех поправок была равна невязке с обратным знаком:

где
- алгебраическая сумма поправок;
д)
вычисляют исправленные превышения


е) вычисляют высоты пунктов съемочной основы H:

где
- исправленное превышение к, к+1ой
линии.
Контроль вычислений: получение точного значения высоты конечного пункта.
НИВЕЛИРОВАНИЕ ПОВЕРХНОСТИ
При нивелировании поверхности определяют высотное положение точек земной поверхности, то есть нивелирование поверхности является высотной съемкой.
Теодолитная съемка
Теодолитная съемка является горизонтальной, то есть продуктом ее является контурный план местности. Данный вид съемки целесообразно использовать для съемки четких контуров местности (угол зданий, линейных сооружений и т.д.).
Основные способы теодолитных съемок:
Угловая засечка;
Полярный способ;
Линейная засечка;
Способ перпендикуляров (способ прямоугольных координат);
Угловая засечка:
В
этом способе измеряют с точек съемочного
обоснования на измеряемый пикет два
горизонтальных угла. Результаты
записывают в журнал, составляют абрис
(рисунок местности, на котором показывают
точки съемочного обоснования и все
элементы местности). На абрисе все
съемочные пикеты нумеруются.
При построении плана точки теодолитного хода наносятся на план по координатам, затем транспортиром откладывают углы >1> и>2> (или>2>| ).
>2>| = 3600 - >2>.
По полученным направлениям проводят прямые, на пересечении которых получится съемочный пикет.
Этот способ является самым трудоемким, поэтому его применяют обычно в тех случаях, когда не возможно или трудно измерить расстояние до съемочного пикета.
Полярный:
В
нем на съемочный пикет с точки съемочного
обоснования измеряют горизонтальный
угол, затем рулеткой измеряют расстояние
d.
Этот способ является основным. При построении на плане от пунктов съемочного обоснования откладывают угол , по полученному направлению проводят прямую линию и откладывают расстояние d при помощи транспортира и линейки.
В случаях необходимости в измеренные расстояния вводят поправку за наклон местности, за температуру, за компарирование.
Линейная засечка:
Э
тот
способ применяют в том случае, если нет
теодолита. С пунктов съемочного
обоснования до съемочного пикета
измеряют два расстояния.
При построении точки на плане циркулем проводят две дуги, радиусом d>1 >и d>2>. На пересечении этих дуг будет находиться съемочный пикет.
Способ прямоугольных координат (перпендикуляров):
Е
го
применяют на строительных площадках.
За опорную линию принимают главную ось
сооружения, или какую – либо другую
ось.
В этом способе для каждой точки измеряют две длины:
Первую длину измеряют по оси сооружения (L>1>);
Вторую длину – по перпендикуляру к этой оси (L>2>).
Результаты теодолитной съемки способом угловых засечек:
Руднев Д.:
с
т.
4: 120 45|
- дерево
ст. 5: 2200 00|
СильченкоЮ:
с
т.
6: 3270 28|
- куст
ст. 7: 3320 14|
Бородина О.:
с
т.
4: 230 26|
- камень
ст. 5: 3180 20|
Баринова О.:
с
т.
4: 830 20|
- камень
ст. 5: 3400 47|
Результаты измерения теодолитной съемки способом перпендикуляров:
Сильченко Ю.:
d>1> = 17,1 м; d>2> =1,1 м вправо (дорога)

Руднев Д.:
d>1> = 24,4 м; d>2> =2,9 м вправо (дорога)

Бородина О.С.:
d>1> = 32,3м; d>2> =2,1 м вправо (дорога)

Баринова О.А.:
d>1> = 39,1 м; d>2> =4 м вправо (дорога)
Результаты измерения теодолитной съемки способом линейной засечки:
Сильченко Ю.:
d>1>=8 м; d>2>=4,8 м; l>1>=12 м (ручей) влево

Руднев Д.:
d>1>=7,6 м; d>2>=6,2 м; l>1>=12 м (поляна) вправо

Бородина О.С.:
d>1>=17,7 м; d>2>=13,1 м; l>1>=29,9 м (ручей) вправо

Баринова О.А.:
d>1>=17,7 м; d>2>=13,1 м; l>1>=29,9 м (тропинка) вправо

ТАХЕОМЕТРИЧЕСКАЯ СЪЕМКА
Сущность тахеометрической съемки. Приборы
В
основе тахеометрической съемки лежит
идея определения пространственного
положения точки местности одним
наведением зрительной трубы прибора
на рейку, установленную в этой точке.
Так, положение точек K и
N над условной горизонтальной
плоскостью P, проходящей
через ось вращения трубы прибора,
определяется измерением:
полярных углов >1 >и >2>, отсчитываемых от стороны АВ съемочного обоснования;
горизонтальных расстояний d>1 >и d>2>, между точками и вертикальной осью прибора;
превышения точек h>1>и> >h>2> над плоскостью P.
Величины d>1 >и d>2>, h>1>и> >h>2> могут быть получены непосредственно с помощью автоматических приборов, называемых тахеометрами. Тахеометрическая съемка может выполняться и теодолитом. В этом случае d>1 >и d>2> получаются по результатам измерений соответствующих расстояний нитяным дальномером, а превышения h>1 >и> >h>2> – тригонометрическим нивелированием с использованием вертикальных углов >>и >2>.
Таким образом, тахеометрическая съемка объединяет в себе два процесса:
съемку ситуации;
съемку рельефа.
Она выполняется в крупных (1:500 – 1:5000) масштабах на небольших участках местности, а также при изысканиях трасс линейных сооружений: дорог, каналов, линий электропередач.
Проложение тахеометрических ходов
Тахеометрические ходы прокладывают при создании планового и высотного съемочного обоснования для производства тахеометрической съемки. Они могут также применяться при создании съемочного обоснования для топографических мензульных съемок и для привязки аэроснимков.
Тахеометрические ходы могут прокладываться в виде одиночных замкнутых (полигонов) и разомкнутых ходов или в виде систем с координатами и отметками, полученными из более точных измерений. Длина сторон в тахеометрических ходах должна быть в пределах до 200 – 250 м. Так как расстояния в ходах измеряются. Как правило, дальномерами, то ходы можно прокладывать по пересеченной местности.
Предельная длина тахеометрического хода зависит от масштаба съемки и от точности, с которой надо получить отметки точек или от принятой высоты сечения рельефа. Так, при масштабе 1:5000 и высоте сечения рельефа 1 м. Длину тахеометрического хода не следует принимать более 3 км.
Проект ходов и положение пунктов уточняют при полевой рекогносцировке и закрепляют кольями длиной 30 – 40 см и толщиной 4 – 6 см с забитым в верхний торец каждого кола гвоздем.
Углы наклона, измеренные при помощи теодолита 2Т – 30П вычисляют по формулам:
;
КЛВ – М0.
Измерение углов наклона контролируют постоянством места нуля М0, колебание которого допускается в пределах 1| ,5.
Превышения между точками вычисляют в прямом и обратном направлениях, с допустимым расхождением между ними 4 см на каждые 100 м расстояния.
Съемка ситуации и рельефа
Попутно с проложением тахеометрического хода со станций производят съемку ситуации и рельефа, применяя для этого исключительно полярный способ.
Если число точек тахеометрических ходов недостаточно для съемки ситуации и рельефа, то допускается определять положение дополнительных точек преимущественно полярным способом. При этом измеряют оба примычных угла полным приемом. Углы наклона также полным приемом и превышения вычисляют а прямом и обратном направлениях, как и в тахеометрическом ходе.
Перед началом работы составляют подробный абрис местности, на котором указывают станцию – точка съемочного обоснования, с которой выполняется съемка данного участка местности.
Для удобств станцию обозначают в центре абриса, на котором изображают все элементы местности (контур, реки, здания), затем номеруют их. Все эти номера подписывают на абрисе, после составления абриса приступают к съемке: теодолит устанавливают на станции, то есть при помощи отвеса центрируют прибор таким образом, чтобы погрешность центрирования не превышала 1 см.
Затем приводят теодолит в рабочее положение. Определяют место нуля (М0), которое не должно превышать 2||. Измеряют высоту инструмента i. М0 и I записывают в журнал съемки, затем устанавливают по теодолиту КЛ и ориентируют теодолит на соседнюю точку съемочного обоснования таким образом, чтобы отсчет по горизонтальному кругу был равен 00 00 | |.
После этого последовательно устанавливают на съемочные пикеты, согласно абрису, и производят следующие измерения:
a и b;
l = a – b;
по горизонтальной нити снимают отсчет по рейке, которая называется высотой наведения, затем снимают отсчеты:
по горизонтальному кругу;
по вертикальному кругу.
Все измерения записываются в журнал съемки, где обязательно указываются номер пикета и подписывается его характеристика (дорога, контур).
Таким образом, производят съемку всех пикетов с данной станции. После окончания съемки обязательно выполняют замыкание горизонта, то есть теодолит наводят на начальное направление и проверяют отсчет по горизонтальному кругу, который должен быть равен 00 00||, допустимые погрешности до 10||.
МЕТОДИКА ПОСТРОЕНИЯ ПЛАНА ТАХЕОМЕТРИЧЕСКОЙ СЪЕМКИ
Результатом любой топографической съемки является топографический план снимаемого участка местности, способ создания которого зависит от метода съемки. При тахеометрической съемке план создается камеральным путем на основании результатов полевых измерений полярных координат и отметок снимаемых точек, кроки и абрисов.
Составление топографических планов по результатам тахеометрической съемки выполняется, как правило, в полевых условиях после обработки журналов и включает в себя следующие виды работ:
построение координатной сетки;
нанесение съемочных пунктов и точек тахеометрических ходов по координатам;
накладка реечных точек по данным тахеометрического журнала и кроки.
Построение плана начинается с разбивки координатной сетки, которую разбивают при помощи линейки Дробышева с погрешностью 0,1 мм. Затем по вычисленным координатным пунктам теодолитного хода наносят эти пункты на план с погрешностью не более 0,2 мм (контроль). Для контроля измеряют горизонтальные проложения между пунктами теодолитного хода. Допустимые расхождения с вычисленными значениями не должно превышать 0,2 мм.
После этого при помощи транспортира откладывают горизонтальные углы с данной станции на все пикеты и по полученным направлениям откладывают горизонтальные проложения на все съемочные пикеты. У каждого пикета подписывают его номер, затем при помощи абриса на плане вычерчивают ситуацию: изображение, все элементы местности. При этом зависимость пикетов стирают и подписывают их отметки.
Затем при помощи отметок съемочных пикетов проводят горизонтали, то есть изображают рельеф местности. При сложном рельефе могут применяться следующие способы интерполяции:
способ построения вспомогательных профилей;
способ определения следов горизонталей с помощью кальки.
После чего вычерчивают контрольные измерения выборочно на некоторые пикеты.
При этом погрешность элементов на плане не должна превышать 0,2 мм. В случаях необходимости на плане производятся соответствующие поправки и только потом план оформляют тушью в соответствии с условными знаками.
В результате производства тахеометрической съемки создается следующий материал:
оригинал плана;
журнал;
ведомости координат (сгущения съемочной сети);
формуляр;
выкопировка сводок по рамкам;
пояснительная записка.
РАЗБИВОЧНЫЕ РАБОТЫ
Понятие о прямой и обратной геодезической задаче
Прямая задача:
По координатам «Х» у одной точки по дирекционному углу и длине стороны вычисляют координаты второй точки.

Дано: Х>А>, У>А>,
>А-В>, Д >А-В>.
Найти: Х> В>, У>В>.
Решение:
Х> В> = Х>А> + Д >А-В> cos >А-В>;
У>В> = У>А> + Д >А-В> sin>А-В>;
Х
>
В> = Х>А> + Д >А-В> cos
r >A>>->>B>
Х
У
>В>
=У>А> + Д >А-В> sin
r> >>A>>->>B>.
У
Если используют r, то знаки приращения координат (Х и У) определяют по схеме в зависимости от величины дирекционного угла.
Обратная задача:
По известным координатам двух точек вычисляют дирекционный угол точек и длину линий.
Дано: Х>А>, У>А>,
Х> В>, У>В>.
Найти:>А-В,> Д >А-В>.
Решение:
;
г
деX
>А-В> = Х>В> - Х>А>
- Знаки не учитываются.
У> А-В> = У>В> - У>А>
Для того, чтобы вычислить значение дирекционного угла вычисляют значение румба:
;
Затем по знакам X и У определяют номер четверти и затем по соответствующей формуле вычисляют значение , после чего находят разбивочные углы как разницу дирекционных углов, образующих его сторон.
КАМЕРАЛЬНОЕ ТРАССИРОВАНИЕ АВТОДОРОГИ
Трассирование линий – проложение продольной оси линейного сооружения. Трассой называют ось линейного сооружения.
Основные элементы трассы:
план трассы;
профиль трассы.
План трасы – проекция оси линейного сооружения на горизонтальную плоскость.
Профиль трассы – вертикальное сечение местности на проектируемой оси линейного сооружения.
При вычерчивании плана трассы необходимо учесть следующие приемы проектирования:
трасса должна проходить по кротчайшему расстоянию между точками НТ и КТ;
уклоны оси трассы, нарушения ландшафта местности должны быть минимальными;
при пересечении рек и железных дорог нужно использовать существующие мосты и железные переезды.
Рассмотрим пример проектирования трассы на примере автодороги.
Проектирование трассы осуществляется в два этапа:
Камеральное трассирование: проектирование первоначально выполняют на топографическом плане или карте.
При проектировании трассы должны учитываться следующие требования:
Трасса должна проходить между точками начала трассы и конца ее;
Д
олжны
соблюдаться предельно допустимые
уклоны.
В связи с тем, что на местности имеются какие – либо препятствия (инженерные сооружения, природные препятствия) приходится проектировать трассу, обходя ломаную линию. Обычно при камеральном трассировании намечают несколько углов трассы.
2. Полевое трассирование: сначала на местность выносят точки НТ, все вершины углов поворота. Затем по данным точкам прокладывают теодолитный ход, в который все горизонтальные углы измеренные с точностью 1 м.
На криволинейном участке трассы через каждые 100 метров закрепляют пикеты (ПК0, ПК1…). ПК0 соответствует НТ. Параллельно с разбивкой пикетажа производят съемку местности в полосе, шириной 200 м под трассой. Результаты съемки заносят в пикетажный журнал, в котором ось трассы показывают в виде прямой линии снизу вверх, на которой отмечают все пикеты и все характерные точки трассы: точки начала кривой середины и
конца, все плюсовые точки, углы поворота показывают стрелками и подписывают значение углов поворота.
З
атем
выполняют техническое нивелирование
трассы в прямом и обратном направлениях.
В прямом ходе нивелируют все точки
трассы (то есть все пикеты, все плюсовые
точки). В обратном ходе нивелируют
только пикеты.
Допустимая невязка в нивелирном ходе не должна быть больше:

По результатам нивелирования трассы вычерчивают продольный профиль трассы.
При построении профиля обычно принимают вертикальный масштаб в 10 раз крупнее горизонтального, например, если:
М >г> =1:2000;
М >в >= 1:200.
Построение профиля трассы автодороги
Для построения профиля трассы принимают горизонтальный масштаб 1:2000, а вертикальный – 1:200. Построение профиля трассы осуществляют следующим образом:
Производят разграфку профильной сетки;
В графе «Расстояния» откладывают в масштабе 1:2000 пикеты и плюсовые точки. Если между пикетами нет плюсовых точек, то расстояние 100 м не пишут. При наличии плюсовых точек указывают расстояние от пикета до плюсовой точки или между плюсовыми точками. Сумма расстояний между плюсовыми точками всегда должна быть равна 100 м. Необходимость нанесения плюсовых точек определяют по рельефу на плане трассы. Если между соседними пикетами имеются характерные перегибы рельефа местности, то а этих местах намечаются плюсовые точки, если же уклон местности равномерный – то плюсовые точки отсутствуют.
Подписывают номера пикетов под графой «Расстояния» в строке «Пикеты».
Над пикетами и плюсовыми точками в графе «Отметки земли» выписывают до сотых долей метра отметки пикетов и плюсовых точек, которые определяются по топографическому плану по формуле:
;
где H> >>I>> > - отметка пикета или плюсовой точки; H >0 >– меньшая отметка горизонтали, ближайшей к пикету или плюсовой точке, м; H >c>> >– большая отметка горизонтали, ближайшее расстояние или плюсовой точке, м; L – кротчайшее расстояние между соседними горизонталями по линии, проходящей через пикет или плюсовую точку, м; l – расстояние от ближайшей горизонтали с меньшей отметкой до пикета или плюсовой точки, мм.
От верхней линии профильной сетки (линии условного горизонта) в масштабе 1:2000 на перпендикулярах к ней откладывают фактические отметки пикетов и плюсовых точек. Отметку линии условного горизонта выбирают с таким учетом, чтобы точка профиля, имеющая наименьшую отметку. Отстояла от этой линии на 6 – 8 см.
Точки, полученные в результате построения, соединяют между собой прямыми линиями и получают таким образом профиль местности. От точек профиля до линии горизонта проводят ординаты черным цветом.
Проектирование трассы автодороги
Проектирование трассы автодороги осуществляется в следующем порядке:
Заполняют строку «План трассы». Посередине строки проводят красным цветом линию – ось трассы и, пользуясь топографическим планом, строят контуры местности. Вместо условных знаков разрешается записывать название контуров.
Заполняют строку «План прямых и кривых». Посередине строки проводят красным цветом ось трассы. Начало и конец кривой отмечают перпендикулярами, проведенными от линии пикетов до линии развернутого плана трассы. Расстояние между этими линиями = 1,5 см. На перпендикулярах записывают расстояния от начала и конца кривой до ближайших пикетов.
Наносят проектную линию красным цветом с учетом соблюдения земляных работ (равенства объема насыпей объему выемки) при минимальном их объеме и соблюдения уклонов на отдельных участках проектной линии, не превышающих допустимых пределов. Проектная линия состоит из нескольких участков с различными уклонами. Начальной проектной отметкой может быть: отметка точки примыкания трассы к существующим или проектным сооружениям, например, существующая автомобильная дорога.
В графе «Проектные уклоны» в местах изменения уклонов проводят ординаты, разделяющие один участок проектной линии от другого, на
ПК – 3 +74 и ПК – 5 +50. На каждом участке внутри графы чертой показывают условно знак уклона – горизонтальная черта означает нулевой уклон, а проведенные диагонали первых двух участков – отрицательные уклоны.
Над чертой, посередине, пишут величину уклона (в целых тысячных долях – промилях), а под ней – расстояние, на котором действует данный уклон. Проектный уклон вычисляется по формуле:
;
где H >n>> >– отметка начальной точки участка; H >n>>+1 >– отметка конечной точки участка (снимается графически); d – длина участка с одинаковым уклоном.
Уклоны округляются до двух значащих цифр. В графе «Проектные отметки» записываются проектные отметки всех пикетов и плюсовых точек.
Сначала вычисляют проектную отметку конца участка по формуле:
H> n >= H >n+1 > + I a;
Где H >n>> > - отметка последующей точки; H >n>>+1 >– отметка предыдущей точки;
I – проектный уклон; d – горизонтальное расстояние между точками.
Вычисляют рабочие отметки (высоты насыпей или глубины выемок) на каждом пикете и плюсовой точке как разность между соответствующими проектными и фактическими отметками.
Проводят ординаты от точек пересечения проектной линии с линией профиля местности (от точек нулевых работ) до линии условного горизонта и вычисляют горизонтальные расстояния от их точек до ближайшего пикета или плюсовой точки. Горизонтальные расстояния определяют по формуле:
;
a и b – рабочие отметки соответственно на задней и передней точках профиля между которыми находится точка нулевых работ; d – расстояние между точками с рабочими отметками a и b.
После округления их до сотой доли метра выписывают под линией условного горизонта справа и слева от ординаты (синим цветом). Затем вычисляют проектную отметку нулевых работ по формуле:
H> >>N>> >= H >ПК – 1 проек.> + x I;
Где H >ПК – 1 проек. >– проектная отметка заднего пикета; х – расстояние от заднего пикета до точки нулевых работ; I –проектный уклон.
КАМЕРАЛЬНАЯ ОБРАБОТКА РЕЗУЛЬТАТОВ НИВЕЛИРОВАНИЯ ПЛОЩАДИ ПОВЕРХНОСТИ ПО КВАДРАТАМ И ПРОЕКТИРОВАНИЕ ВЕРТИКАЛЬНОЙ ПЛАНИРОВКИ
Введение
Нивелирование площади поверхности производят для детального изображения рельефа участка местности, на котором предполагается создание каких – либо инженерных сооружений. В зависимости от характера рельефа и ситуации местности, а также от размеров площади нивелируемой поверхности применяются следующие способы нивелирования:
По квадратам;
Параллельных линий;
Полигонов и полярный.
Рассмотрим методику камеральной обработки материалов нивелирования площади поверхности по квадратам. Размер площади 20х20 м, состоящей из девяти квадратов. Сторона квадратов 10х10 м. Нивелирование этой площади выполнено с одной станций методом геометрического нивелирования.
Нивелирование площади поверхности способом квадратов
Нивелир устанавливают в любую точку, расположенную внутри площадки. За точку съемочного обоснования принимается точка с известной абсолютной отметкой. Нивелирование на току съемочного обоснования и вершины квадратов производится с одной станции, методом геометрического нивелирования (отсчеты снимаются только по черной стороне рейки). Отсчеты, произведенные по рейке записываются на схеме сети квадратов. По полученным результатам вычисляют горизонт инструмента по формуле:
ГИ = Н>16> + b>16>,
Где Н>16> – абсолютная отметка точки 16; b>16> – отсчет по рейке в точке 16.
Затем через горизонт инструмента вычисляются абсолютные отметки точек вершин квадратов:
H>i> = ГИ - С>i>,
Где H>i> –абсолютная отметка вершины квадрата; С>i> – отсчет по рейке для соответствующей вершины.
Полученные отметки записываются на схеме сети квадратов к соответствующим вершинам.
Построение сетки квадратов выполняют при помощи теодолита и ленты. Для этой цели по границе участка строят прямоугольник, на сторонах которого закрепляют вершины квадрата через заданные интервалы.
Основной квадрат разбивают на заполняющие со сторонами 10 м. Вершины основного квадрата закрепляют колышками со сторожками, а заполняющие – колышками без сторожков.
Камеральная обработка материалов нивелирования площади поверхности
По данным нивелирования площади поверхности способом квадратов составляют план площадки в горизонталях в масштабе 1:500 с сечением рельефа через 0,25 м.
Последовательность выполнения заключается в следующем:
На листе чертежной бумаги формата 22 в масштабе 1:500 вычерчивают сетку квадратов со сторонами 20 м, подписывают номера горизонтальных и вертикальных линий и выписывают отсчеты по черной стороне рейке.
В масштабе 1:500 составляют план, подписывают вычисленные отметки у вершин квадратов и строят горизонтали поверхности земли с сечением через 0,25 м при помощи палетки или миллиметровки. Каждую четвертую горизонталь утолщают (0,2 мм) и подписывают в разрыве; основания цифр должны быть направлены в сторону понижения рельефа.
Проектирование горизонтальной и наклонной площадок (вертикальная планировка)
Под вертикальной планировкой подразумевается преобразование естественного рельефа при строительстве в горизонтальную или наклонную площадки путем выполнения земляных работ по специальному проекту вертикальной планировки.
Для проектирования горизонтальной площадки вычисляют среднюю отметку всего участка по известным отметкам вершин квадратов по формуле:
;
где N – число квадратов; H>1>, H>2>, H>4> – отметки вершин квадратов, относящихся к одному, двум и четырем квадратам. Результаты заносят в таблицу.
Среднюю отметку Н >0> вычисляют с точностью до 0,01 м. Рабочие отметки всех вершин квадратов получают как разности отметок поверхности земли в вершинах квадратов и отметки Н >0>.
h >раб >= Н >n> – H >0>.
Отрицательная рабочая отметка указывает на насыпь грунта в данной точке, а положительная – на выемку. Рабочие отметки подписываются красной тушью под отметками поверхности земли и с помощью их строят линию нулевых рабочих отметок, называемую линией нулевых работ. Точки нулевых рабочих отметок можно определить графоаналитическим или графическим способами.
Графоаналитический способ заключается в вычислении расстояний х до точек нулевых рабочих отметок (нулевых работ), а затем в графическом определении на плане по х положения искомой точки на стороне квадрата или его диагонали. Расстояние до точек нулевых работ определяют по известной формуле:
;
Для контроля
,
где d – сторона квадрата (здесь d = 10 м); h >л> ,h >п> – рабочие отметки вершин квадрата, расположенные слева и справа от точки нулевых работ. Величины х и d-x, вычисленные по формулам, должны составлять в сумме величину d.
Графический способ состоит в определении положения точки нулевых работ путем графических построений. Получив таким образом ряд нулевых работ, соединяют их плавной пунктирной линией красного цвета, которая будет являться линией нулевых работ. Она разделяет площадку на участки выемки и насыпи. Участок насыпи показывают штриховкой.

Например, откладывая в заданном направлении от вершин квадрата в противоположные направления рабочую отметку выемки (0,06) и рабочую отметку насыпи (-0,09) в масштабе и соединив полученные точки, найдем искомую точку С или m, которые являются точками нулевых работ (рис.).
После вычисления рабочих отметок и построения линии нулевых работ подсчитывают объемы земляных работ.
Для проектирования наклонной площадки принимают уклон I = 0,05 c севера на юг. Проектную отметку начальной линии принимают равной Н >0>. Эту линию располагают посередине площадки.
Зная проектную отметку начальной линии Н >0> и заданный уклон I проектируемой наклонной площадки, вычисляют проектные отметки Н >к> вершин всех квадратов по формуле:
H>
k> = H >0 >+(
I a),
Где а – горизонтальное расстояние между начальной и определяемой точками.
Учитывая направления уклона I, знак «+» относится к точкам, лежащим выше начальной. А знак «-« - к точкам, лежащим ниже ее.
Затем вычисляют рабочие отметки вершин всех квадратов как разность между отметками поверхности земли H >n> в вершинах квадратов и вычисленными проектными отметками Н >к>:
H >раб > = H >n> - Н >к.>
Подсчет объемов земляных работ при вертикальной планировке
Для подсчета объемов земляных работ составляют картограмму земляных работ, на которую выписывают отметки поверхности земли, проектные и рабочие отметки всех вершин квадратов. Положительный знак h>раб >рабочей отметки указывает на необходимость выемки грунта в этой точке. А отрицательный знак – на подсыпку. Линия нулевых работ является границей между площадью насыпи и выемки.
Подсчет объемов земляных работ можно произвести четырьмя способами:
Способ треугольных призм:
Для получения треугольных призм во всех квадратах строят треугольники и объем насыпи V> н (в)> каждой треугольной призмы подсчитывают по формуле:
,
где S>Т> – площадь основания треугольной призмы, м2; h>1>,h>2>,h>3 – >рабочие отметки в углах основания призмы (или отметки вершин квадратов), м.
Общий
объем насыпи и выемки грунта по всей
площадке получают суммированием
соответствующих объемов каждой
треугольной призмы.
Способ четырехугольных призм:
Предполагается, что каждая четырехугольная призма ограничена вертикальными плоскостями, плоским основанием и наклонной верхней плоскостью. Высоту призмы принимают равной среднему арифметическому h>ср> из рабочих отметок h>1>, h>2>, h >3>, h>4> – угловых точек ее поверхности:
.
Тогда объем V> в (н)> выемки (или насыпи) грунта для каждого квадрата сетки подсчитывают, пользуясь формулой:
V> в (н) >=S>2> h> ср>,
Где S>2> –площадь основания четырехугольной призмы, м2. Общий объем насыпи и выемки грунта по всей площадке также получают суммированием соответствующих объемов всех четырехугольных призм.
Способ Стрельчевского:
Подсчет объемов земляных работ производят по формулам:
,
.
Где
v>н>, v>в
>– объем насыпи и выемки грунта в
каждом квадрате, м3;
- арифметическая сумма рабочих отметок
насыпи и выемки грунта в квадрате, м; d
– сторона квадрата, 10 м. Подсчет объемов
земляных работ сводят в таблицу.
Расхождение объемов выемки и насыпи
грунта по всей площадке не должно
превышать 5%.
ИНЖЕНЕРНО – ГЕОДЕЗИЧЕСКИЕ ЗАДАЧИ
1. Построение на местности угла заданной величины
С технической точностью, порядка 1 |:
Для
этого устанавливают теодолит в рабочее
положение в вершине угла: в точке О
отрезка ОА (рис.), совмещают нуль алидады
горизонтального круга с нулем лимба
и, при закрепленной алидаде, визируют
на точку А. Алидаду открепляют и
поворачивают на отсчет, соответствующий
заданному углу .
По направлению визирной оси трубы на заданном расстоянии выставляют шпильку (вешку), перемещая ее до совпадения с вертикальной нитью сетки. Переводят трубу через зенит и повторяют те же действия при другом положении вертикального круга.
По направлению визирной оси устанавливают другую вешку. Расстояние между двумя точками, полученными при двух положениях вертикального круга, делят пополам и закрепляют полученную точку С. Для контроля угол измеряется при двух положениях вертикального круга.
С повышенной точностью, порядка 10||:
После построения угла заданной величины измеряют его несколькими приемами (не менее трех). Измеряют расстояние от вершины угла по точке С (рис.). Вычисляют разность измеренного >изм. >и проектного>пр.> углов:
/\>изм.> - >пр.>

Вычисляют величину отрезка С>1>С:
;
где

.
Перемещая точку С перпендикулярно к линии ОС на длину отрезка С>1>С, получаем на местности заданный проектный угол >пр. >Необходимая точность построения угла может быть вычислена так:
,
где ОС – расстояние от вершины угла до точки С; m>l> – точность измерения перпендикуляра С>1>С.
2. Построение на местности проектного расстояния или линии заданной длины
Задачу выполняют в следующем порядке:
От исходной точки О по направлению к точке В откладывают проектное расстояние (горизонтальное) и закрепляют колышками конечную и начальную точки отрезка;
Измеряют длину отрезка несколько раз (не менее трех) и вычисляют среднее значение Д>ср.>;
Измеряют угол наклона с точки О на точку В или определяют превышение между этими точками;
Вычисляют среднюю длину и поправки: за наклон, компарирование, температуру. Поправку за компарирование /\ Д >к.> Берут из технического паспорта мерного прибора.
Поправка за наклон вычисляется по формулам:

где
h –превышение конечных
точек измеряемой стороны,
- угол наклона, Д – измеренная длина.
Поправку за температуру мерного прибора вычисляют по формуле:

где
коэффициент
линейного расширения материала, из
которого изготовлен мерный прибор (для
стали
);
Д – длина линий; t –
температура воздуха во время производства
измерений; t>0>
–температура воздуха при компарировании
мерного прибора.
Подсчитывают суммарную поправку по следующим формулам:

Переносят точку В по направлению ОВ на величину отрезка, равного /\Д. Линию промеряют в двух направлениях и вычисляют относительную погрешность.
Вынесение на местность точки с заданной отметкой
Каждая бригада переносит на местность две – три заданные преподавателем проектные отметки.
Задача выполняется следующим образом:
Устанавливают нивелир примерно посередине между репером с отметкой H> >>RP> и выносимой точкой (рис.). По рейке, установленной на репере, берут отсчет a.

Вычисляют отметку горизонта инструмента:
ГИ = H> >>RP> + а.
Вычисляют отсчет B, который должен быть на рейке, установленной в точке с проектной отметкой Н> пр.>
B=ГИ - Н> пр.> (*)
В искомой точке ставят колышек выше проектной отметки и забивают его до тех пор, пока отсчет по рейке не будет равен вычисленному по формуле (*).
Для контроля измеряют превышение между забитым колышком и репером по черной и красной стороне рейки.
Построение на местности линии и плоскости заданного уклона
П
усть
от точки А с отметкой Н> А> требуется
построить на местности линию длиной L
c уклоном i.
(рис.).
Над точкой А располагают теодолит и измеряют его высоту i>А>. Вычислив соответствующий данному уклону iвертикальный угол устанавливают этот угол на вертикальном круге с учетом места нуля.
Затем, перемещая рейку по вертикали над другим концом линии, пока отсчет по ней не станет равным высоте прибора >А>, фиксируют пятку рейки при помощи колышка (см. задачу 3). Таким же способом определяют положение промежуточных точек линии.
Построение линии заданного уклона можно осуществить при помощи нивелира. Для этого между точками А и В устанавливают нивелир так, чтобы два его подъемных винта были параллельны заданной линии (рис.).
Вычисляют отметку
Н> В> = Н >А> +I L;
Где I - проектный уклон, L – горизонтальное расстояние от А до В.

Вычисленную отметку выносят на местность способом, описанном в задаче 4. Затем, действуя подъемными винтами, наклоняют трубу нивелира до тех пор, пока отсчеты по рейкам в точках А и В не станут одинаковыми и равными а. В результате линия визирования будет параллельна линии заданного уклона I. Промежуточные точки линии определяют установкой рейки в точках С и Д и получением по ним отсчета, равного b.
Передача отметки на дно котлована и на монтажный горизонт
Решением задачи предусматривается передача отметки с одного горизонта на другой, когда разность высот превышает длину рейки. В этом случае применяют остальные рулетки или ленты с подвешенным грузом.
На краю котлована подвешивают рулетку с помощью кронштейна, внизу к рулетке прикрепляют груз (рис.).

Рейки устанавливают на репере и на колышке, забитом в точке С на дне котлована. Нивелирование выполняют, как правило, двумя нивелирами, один из которых устанавливают на дне котлована, а другой – на исходном горизонте. Отсчеты по рулетке берутся по нивелирам одновременно двумя наблюдателями. Рулетка во время снятия отсчетов должна быть неподвижна. Если в распоряжении имеется только один нивелир, необходимо производить измерения несколько раз (не менее трех), обеспечивая неподвижность рулетки на протяжении всего цикла измерений.
Вычисляется отметка точки С на дне котлована:
Н >С> = Н> >>RP> + a - b>1> + b>2> – c. (**)
Передача отметки на монтажный горизонт осуществляется аналогично (рис.).

Вычисление отметки точки С производится по формуле (**)
Определение высоты объекта
В случае, если высоту объекта невозможно измерить непосредственно, ее можно определить косвенным способом (рис.).
Для этого на местности устанавливают теодолит, определяют горизонтальное расстояние от теодолита до объекта L, измеряют вертикальные углы: на верх объекта >>, и низ объекта >>. Вычисляется высота объекта:
h
(***)
=L (tg >>tg>>;Где значения вертикальных углов >> и >> берут со знаком «+».
Затем теодолит устанавливают в другую точку (по возможности в перпендикулярном положении) и высота объекта определяется повторно.
Допустимое
расхождение между полученными высотами
не должно превышать величины
.

Определение расстояния до недоступного объекта
В случае, когда невозможно измерить расстояние между точками непосредственно, его можно определить косвенным способом (рис.)

На местности разбивают базис b>1> и измеряют его несколькими приемами в точках А и В устанавливают теодолит и измеряют горизонтальные углы >> и >2> одним полным приемом. Затем вычисляют горизонтальные расстояния L>1> и L>2>:
(****)
(*****)
Для контроля на местности можно разбить базис b>2> и аналогично определить расстояния L>2> и L>3>:

определение высоты недоступного объекта
Для
решения этой задачи необходимо вначале
определить расстояние от прибора до
объекта, а затем найти высоту самого
объекта. С этой целью на местности
разбивают базис b>1
>(рис.) и измеряют его несколькими
приемами. В точках А и В последовательно
устанавливают теодолит и измеряют
горизонтальные углы >>
и >2> (рис.) – одним
полным приемом. Одновременно с этим
измеряют вертикальные углы >>
и >>
(рис.) в начале точки А, затем в точке В.
По формулам (****) и (*****) вычисляются
расстояния L>1> и L>2>
(рис.). Допустимое расхождение между
полученными высотами не должно превышать
величины
.
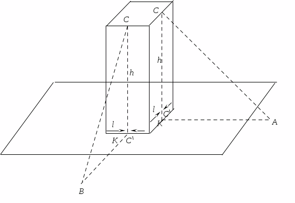
Проверка вертикальности и определение крена сооружений
Задача может решаться в двух вариантах:
А) центры верхней части сооружения (точка С) и нижней части (точка К) – четко обозначены (рис.);
В) центры верха и низа сооружения не имеют четкого обозначения (рис.).

В варианте А) вертикальность сооружения проверяется теодолитом, установленным в точках А и В во взаимно перпендикулярных направлениях (рис.).
После приведения теодолита в рабочее положение, визируют на точку С и проецируют её на нижнюю часть сооружения, отмечая проекцию штрихом. Проецирование производим при двух положениях вертикального круга. Находим среднее положение проекции (С/). Измеряют расстояние l между центром низа сооружения (К) и центром проекции (С/). Расстояние l измеряют с точностью до 0,001 м. Угловую величину крена можно подсчитать по формуле (18):
(******)
,где
h – высота сооружения;
.
В
варианте В) проекции нижней и верхней
частей сооружения находят следующим
образом. Теодолит устанавливают в точке
А (рис.). Измеряют двумя приемами
горизонтальный угол между левым и
правым краями сооружения. При этом не
измеряют установку зрительной трубы
по высоте. Устанавливают отсчет по
горизонтальному кругу, равный п
оловинному
значению измеренного угла
.
При этом отсчете проецируют визирным
лучом на низ сооружения, отмечают точку
С/. Точка С/ будет являться
проекцией оси верха сооружения. Измеряют
несколькими приемами горизонтальный
угол
между левыми и правыми краями сооружения.
Устанавливают на горизонтальном круге
отсчет, равный половинному значению
угла
.
По направлению визирного луча отмечают
точку К – это проекция низа сооружения.
Расстояние l между
точками С/ и К – линейная величина
крена. Угловую величину крена можно
определить по формуле (******).
Как и в варианте А) работа должна выполняться в двух взаимно перпендикулярных плоскостях.
ПОЛЕВОЙ КОНТРОЛЬ
После выполнения полевых работ преподавателем выполняется полевой контроль, то есть проверяется точность и качество выполнения полевых работ (точность построения планово – высотного обоснования, точность выполнения съемки и построение плана местности, точность нивелирования поверхности, трассирование автодороги, решения задач). За полевой контроль бригаде выставляется оценка.
После полевого контроля мы сдали все инструменты.
По всем выполненным полевым и камеральным работам нашей бригадой составлен отчет, состоящий из 70 страниц и следующих приложений:
Итогом практики является сдача зачета руководителю практики. На зачете требуется знать:
Методику выполнения всех полевых и камеральных работ;
Иметь практические навыки по выполнению всех видов работ, указанных в программе практики.
ЗАКЛЮЧЕНИЕ
За время прохождения практики нашей бригадой выполнено следующие виды работ:
Получение инструментов, ознакомление с программой практики;
Поверки инструментов: теодолита, нивелира, осмотр мерной ленты, реек, штативов, поверки выполнены индивидуально каждым членом бригады;
Создана геодезическая съемочная основа в виде замкнутого полигона, состоящая из девяти точек;
Выполнена теодолитная и тахеометрическая съемки местности, площадью м2;
По результатам съемки составлен топографический план участка местности в масштабе 1:500;
Выполнены разбивочные работы для одной стороны квадрата, размером 20х20 м;
Мы ознакомились с методикой выполнения камерального и полевого трассирования автодороги;
Мы ознакомились с методом решения следующих инженерно – геодезических задач:
Построение на местности угла заданной величины;
Построение на местности проектного расстояния или линии заданной длины;
Вынесение на местность точки с заданной отметкой;
Построение на местности линии и плоскости заданного уклона;
Передача отметки на дно котлована и на монтажный горизонт;
Определение высоты объекта;
Определение расстояния до недоступного объекта;
Определение высоты недоступного объекта;
Проверка вертикальности и определение крена сооружений.
И нами выполнены следующие две задачи:
СПИСОК ИСПОЛЬЗОВАННОЙ ЛИТЕРАТУРЫ
Закатов П.С. и др. «Инженерная геодезия». М.: Недра, 1978. 584 с.
Хейфец Б.С., Данилевич Б.Б. «Практикум по инженерной геодезии». М.: Недра, 1979. 332 с., ил.
Петеро П. «Пятизначные таблицы тригонометрических функций». М.: Недра, 1975. 294 с.
Митин Н.А. «Таблицы для разбивки кривых на автомобильных дорогах. М.: Недра, 1978. 470 с., ил.
Геодезические работы при изыскании и проектировании объектов линейного типа: Методические указания/ Сост. С.А. Макаров. Новокузнецк, Сибирский металлургический институт, 1981. 27 с., ил.
Багратуни Г.В., Ганышин В.Н., Данилевич Б.Б. и др. «Инженерная геодезия». – М.: Недра, 1984.
Новак В.Е., Лукъянов В.Ф, Буш В.В. и др. «Курс инженерной геодезии». – М.: Недра, 1989.
Стороженко А.Ф., Некрасов О.К. «Инженерная геодезия». – М.: Недра, 1993.
«Руководство по топографическим съемкам в масштабах 1:5000, 1:2000, 1:1000 и 1:500. Наземные съемки». М.: Недра, 1977. 135 с.
Маслов А.В., Гордеев А.В., Александров Н.Н., Соберайский К.С., Батраков Ю.Г. «Геодезия». – М.: недра, 1072. 528 с.
