Определение горизонтальной составляющей магнитного поля земли (работа 1)
ЛИПЕЦКИЙ ГОСУДАРСТВЕННЫЙ ПЕДАГОГИЧЕСКИЙ ИНСТИТУТ
КАФЕДРА ТЕОРЕТИЧЕСКАЙ И ОБЩЕЙ ФИЗИКИ
Курсовая работа по физике.
ОПРЕДЕЛЕНИЕ ГОРИЗОНТАЛЬНОЙ СОСТАВЛЯЮЩЕЙ МАГНИТНОГО ПОЛЯ ЗЕМЛИ.
Выполнил студент группы фпо–3
Казанцев Н.Н.
Руководитель доцент кафедры ТОФ
Грызов Ю.В.
ЛИПЕЦК
2000.
МАГНИТНОЕ ПОЛЕ.
Магнитное поле представляет собой особую форму материи, посредством которого осуществляется взаимодействие между движущимися электрически заряженными частицами.
Основные свойства магнитного поля:
магнитное поле порождается электрическим током (движущимися зарядами).
Магнитное поле обнаруживается по действию на электрический ток (движущиеся заряды).
Открыл магнитное поле в 1820 г. датский физик Х.К. Эрстед.
Магнитное поле имеет направленный характер и должно характеризоваться векторной величиной. Эту величину принято обозначать буквой В. Логично было бы по аналогии с напряжённостью электрического поле Е назвать В напряжённостью магнитного поля. Однако по историческим причинам основную силовую характеристику магнитного поля назвали магнитной индукцией. Название же "напряжённость магнитного поля" оказалась присвоенной вспомогательной характеристике D электрического поля.
Магнитное поле, в отличии от электрического, не оказывает действие на покоящийся заряд. Сила возникает лишь тогда, когда заряд движется.
Итак, движущиеся заряды (токи) изменяют свойства окружающего их пространства – создают в нём магнитное поле. Это проявляется в том, что на движущиеся в нём заряды (токи) действуют силы.
Опыт даёт. Что для магнитного, как и для электрического, справедлив принцип суперпозиции:
поле В, порождаемое несколькими движущимися зарядами (токами), равно векторной сумме полей B>I>, порождаемых каждым зарядом (током) в отдельности:
>
>.
II. ОБЩАЯ ХАРАКТЕРИСТИКА МАГНИТНОГО ПОЛЯ ЗЕМЛИ.
Земля в целом представляет собой огромный шаровой магнит. Человечество начало использовать магнитное поле Земли давно. Уже в начале XII—XIII вв. получает широкое распространение в мореходстве компас. Однако в те времена считалось, что стрелку компаса ориентирует Полярная звезда и её магнетизм. Предположение о существовании магнитного поля Земли впервые высказал в 1600 г. английский естествоиспытатель Гильберт.
В
любой точке пространства, окружающего
Землю, и на её поверхности обнаруживается
действие магнитных сил. Иными словами,
в пространстве, окружающем Землю,
создаётся магнитное поле, силовые линии
которого изображены на рис.1.
Магнитные и географические полюса Земли не совпадают друг с другом. Северный магнитный полюс N лежит в южном полушарии, вблизи берегов Антарктиды, а южный магнитный полюс S находится в Северном полушарии, вблизи северного берега острова Виктория (Канада). Оба полюса непрерывно перемещаются (дрейфуют) на земной поверхности со скоростью около 5 за год из-за переменности порождающих магнитное поле процессов. Кроме того, ось магнитного поля не проходит через центр Земли, а отстаёт от него на 430 км. Магнитное поле Земли не симметрично. Благодаря тому, что ось магнитного поля проходит всего под углом в 11,5 градусов к оси вращения планеты, мы можем пользоваться компасом.
Основная часть магнитного поля Земли, по современным воззрениям, имеет внутриземное происхождение. Магнитное поле Земли создаётся её ядром. Внешнее ядро Земли жидкое и металлическое. Металл – проводящее ток вещество, и если бы существовали в жидком ядре постоянные течения, то соответствующий электрический ток создавал бы магнитное поле. Благодаря вращению Земли, такие течения в ядре существуют, т.к. Земля в некотором приближении является магнитным диполем, т.е. своеобразным магнитом с двумя полюсами: южным и северным.
Незначительная часть магнитного поля (около 1%) имеет внеземное происхождение. Возникновение этой части приписывают электрическим токам, текущим в проводящих слоях ионосферы и поверхности Земли. Эта часть магнитного поля Земли подвержена слабому изменению со временем, которое называется вековой вариацией. Причины существования электрических токов в вековой вариации неизвестны.
В идеальном и гипотетическом предположении, в котором Земля была бы одинока в космическом пространстве, силовые линии магнитного поля планеты располагались таким же образом, как и силовые линии обычного магнита из школьного учебника физики, т.е. в виде симметричных дуг, протянувшихся от южного полюса к северному. Плотность линий (напряжённость магнитного поля) падала бы с удалением от планеты. На деле, магнитное поле Земли находится во взаимодействии с магнитными полями Солнца, планет и потоков заряженных частиц, испускаемых в изобилии Солнцем. Если влиянием самого Солнца и тем более планет из-за удалённости можно пренебречь, то с потоками частиц, иначе – солнечным ветром, так не поступишь. Солнечный ветер представляет собой потоки мчащихся со скоростью около 500 км/с частиц, испускаемых солнечной атмосферой. В моменты солнечных вспышек, а также в периоды образования на Солнце группы больших пятен, резко возрастает число свободных электронов, которые бомбардируют атмосферу Земли. Это приводит к возмущению токов текущих в ионосфере Земли и, благодаря этому, происходит изменение магнитного поля Земли. Возникают магнитные бури. Такие потоки порождают сильное магнитное поле, которое и взаимодействует с полем Земли, сильно деформируя его. Благодаря своему магнитному полю, Земля удерживает в так называемых радиационных поясах захваченные частицы солнечного ветра, не позволяя им проходить в атмосферу Земли и тем более к поверхности. Частицы солнечного ветра были бы очень вредны для всего живого. При взаимодействии упоминавшихся полей образуется граница, по одну сторону которой находится возмущённое (подвергшееся изменениям из-за внешних влияний) магнитное поле частиц солнечного ветра, по другую – возмущённое поле Земли. Эту границу стоит рассматривать как предел околоземного пространства, границу магнитосферы и атмосферы. Вне этой границы преобладает влияние внешних магнитных полей. В направлении к Солнцу магнитосфера Земли сплюснута под натиском солнечного ветра и простирается всего до 10 радиусов планеты. В противоположном направлении имеет место вытянутость до 1000 радиусов Земли.
Основная часть магнитного поля Земли обнаруживает аномалии в различных районах земной поверхности. Эти аномалии, по-видимому, следует приписать присутствию в земной коре ферромагнитных масс или различию магнитных свойств горных пород. Поэтому изучение магнитных аномалий имеет практическое значение при исследовании полезных ископаемых.
Существование магнитного поля в любой точке Земли можно установить с помощью магнитной стрелки. Если подвесить магнитную стрелку NS на нити l (рис.2) так, чтобы точка подвеса совпадала с центром тяжести стрелки, то стрелка установится по направлению касательной к силовой линии магнитного поля Земли.
В
северном полушарии - южный
конец будет наклонён к Земле и стрелка
составит с горизонтом угол
наклонения
(на магнитном экваторе наклонение
равно нулю). Вертикальная плоскость, в
которой расположится стрелка, называется
плоскостью магнитного меридиана. Все
плоскости магнитных меридианов
пересекаются по прямой NS,
а следы магнитных меридианов на земной
поверхности сходятся в магнитных
полюсах N и
S. Так как
магнитные полюса не совпадают с
географическими полюсами, то стрелка
будет отклонена от географического
меридиана. Угол, который образует
вертикальная плоскость, проходящая
через стрелку (т.е. магнитный меридиан),
с географическим меридианом, называется
магнитным
склонением (рис.
2). Вектор >
>
полей напряжёности магнитного поля
Земли можно разложить на две составляющие:
горизонтальную >
>
и вертикальную >
>
(рис. 3). Значение углов наклонения и
склонения, а также горизонтальной
составляющей >
>
дают возможность определить величину
и направление полной напряжённости
магнитного поля Земли в данной точке.
Если магнитная стрелка может свободно
вращаться лишь вокруг вертикальной
оси, то она будет устанавливаться под
действием горизонтальной составляющей
магнитного поля Земли в плоскости
магнитного меридиана. Горизонтальная
составляющая >
>,
магнитное склонение
и наклонение
называются элементами земного магнетизма.
Все элементы земного магнетизма
изменяются с течением времени.
II. ТАНГЕНС — ГАЛЬВАНОМЕТР.
Рассмотрим круговой
проводник из n
витков, прилегающих достаточно плотно
друг к другу, расположенных вертикально
в плоскости магнитного меридиана. В
центре проводника поместим магнитную
стрелку, вращающуюся вокруг вертикальной
оси. Если по катушке пропустить ток I,
то возникает магнитное поле с напряжённостью
H,
направленное перпендикулярно к плоскости
катушки. Т.о., на стрелку будут действовать
два взаимно перпендикулярных поля:
магнитное поле Земли и магнитное
поле тока. Напряжённости обеих полей
взаимно перпендикулярны. На рис. 4.
изображено сечение катушки горизонтальной
плоскостью. Здесь >
>
– вектор напряжённости поля, созданного
круговым током, >
>
– горизонтальная составляющая магнитного
поля Земли. Стрелка установится по
направлению равнодействующей >
>,
т.е. по диагонали параллелограмма,
сторонами которого будут вектор
напряжённости магнитного поля кругового
тока >
>>
>
и >
>.Рассматривая
рис.4 получим:
>
>
;
с другой стороны. Напряжённость магнитного поля в центре катушки тангенс–гальванометра равна:
>
>;
где r – радиус витка. Тогда:
>
>
откуда:
>
>;
где >
>.
Для данного места Земли и для данного прибора величина
>
>
( I )
является постоянной тангенс – гальванометра, тогда:_
>
>
( 2 ).
Формулу ( 1 ) можно переписать в виде
>
>
( 3 ).
Таким образом, круговой проводник с магнитной стрелкой может быть использован для измерения силы тока, текущего по цепи. Прибор, основанный на вышеописанном принципе, носит название тангенс–гальванометра.
Тангенс–гальванометр, используемый в данной работе, состоит из катушки, в центре которой на вертикальной оси располагается магнитная стрелка. Стрелка может свободно вращаться внутри круглой коробки с прозрачной крышкой (компас). По контору дна коробки намечена круговая шкала, проградуированная в угловых градусах.
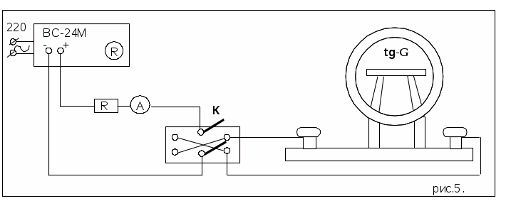
ПРАКТИЧЕСКАЯ ЧАСТЬ.
Собрать
электрическую цепь лабораторной
установки по схеме. Источником
напряжения служит выпрямитель ВС–24
М.С. С
помощью
переключателя К
изменяют
направление тока, текущего через
тангенс–гальванометр tg.
Установить tg так, чтобы плоскость витков катушки совпадала с плоскостью магнитного меридиана, т.е. чтобы магнитная стрелка расположилась в плоскости витков катушки, указывая при этом на С и Ю.
Регулятор напряжения R на панели выпрямителя вывести в крайнее левое положение. Включить выпрямитель и поставить переключатель К в левое или правое положение. Регулятором напряжения R установить ток в цепи I=0,5A. зафиксировать угол отклонения магнитной стрелки. Перекинуть ключ К в противоположное положение и также зафиксировать угол отклонения стрелки. Это необходимо для плоскости нахождения среднеарифметического значения угла отклонения магнитной стрелки, т.к. всегда имеется неточность в установлении витков tg в плоскости магнитного меридиана.
Выполнить пункт 3 при значениях тока I=1A и 1,5A.
Результаты измерений занести в таблицу:
|
# |
|
>> |
>> |
>ср.> |
tg |
H>0> |
H>0ср> |
DH>о> |
DH>0ср> |
|
1. |
|||||||||
|
2. |
|||||||||
|
3. |
Таблица 1.
При каждом значении тока определить горизонтальную составляющую магнитного поля Земли по формуле:
>
> (
4 );
т.к.
в системе СИ коэффициент пропорциональности
К
в формуле ( 2 ) равен >
>.
Найти среднеарифметическое значение>
>.Вычислить погрешность вычисления >
>
при каждом значении тока:
>
>
( 5 ),
и
затем среднее значение >
>.
записать окончательно результат работы в виде:
>
>
( 6 ).
Контрольные вопросы.
Основные характеристики магнитного поля.
Закон Био-Савара-Лапласа.
Магнитное поле кругового тока.
Магнитное поле Земли: причини существования, магнитное наклонение, горизонтальная составляющая поля, вертикальная составляющая поля.
Литература.
Калашников С.Г. "Электричество".
Савельев И.В. "Курс общей физики", т.2.
Детлаф А.А., Яворский Б.М. Курс физики. М.: Высшая школа,1989. Гл.22.
Евграфова Н.Н., Каган В.Л. Руководство к лабораторным работам по физике. М.: Высшая школа, 1970. с.177.
Кортнев А.В., Рублёв Ю.В., Куценко А.Н. Практикум по физике. М.: Высшая школа, 1965. с.331.
