Горно-геологическая характеристика рудника
Аннотация
В данной работе представлена горно-геологическая характеристика рудника. Осуществлен обзор зарубежной и отечественной практики для заданных условий отработки. Произведен выбор наиболее конкурентно-способных вариантов разработки, для которых были сконструированы системы разработки. Также, для каждой системы, были рассчитаны основные технологические процессы и выполнен постатейный технико-экономический расчет. В работе содержится 25 рисунков, 39 таблиц и шесть листов графического материала. Работа содержит 116страниц.
Содержание
Введение
1. Геологическая и горнотехническая характеристика месторождения
1.1. Географическое положение района месторождения
1.2 Характеристика геологического строения
1.2.1 Система разработки
1.2.3 Закладочные работы
1.2.4 Управление горным давлением
1.2.5 Вентиляция
2. Обобщение опыта отработки мощных пологопадающих и наклонных месторождений богатых руд
2.1 Отечественный опыт
2.2 Зарубежный опыт
3. Выбор системы разработки
3.1 Область рационального применения сплошных слоевых систем разработки
3.2 Макетно-модельное проектирование
3.3 Область рационального применения камерных систем разработки
4. Конструктивно-технологические решения по системам разработки
4.1 Конструкции систем
4.1.1 Слоевые системы
4.1.2 Камерная система
4.2 Расчет параметров основных технологических процессов очистной выемки
4.3 Источники потерь и разубоживания
4.4 Расчет основных технико-экономических показателей систем разработки
4.3 Технико-экономический эффект от замены сплошной слоевой системы разработки камерной системой разработки
5.Охрана труда и промышленная безопасность
5.1 Общие положения
5.2 Анализ опасных производственных факторов
5.3 Техника безопасности при строительстве
5.3.1 Противопожарная защита подземных горных выработок и камер, в которых производится эксплуатация и обслуживание дизельного оборудования
5.4 План ликвидации аварии
5.4.1 Общие положения
6. Вентиляция
7. Экология
7.1 Охрана недр
7.2 Охрана окружающей среды
7.3 Мероприятия по предотвращению загрязнения атмосферы
7.4 Мероприятия по предотвращению загрязнения водоемов
7.5 Мероприятия по предотвращению загрязнения земной поверхности
Заключение
Список литературы
Введение
В большинстве горнодобывающих стран мира разработка рудных месторождений подземным способом характеризуется высокими темпами углубления горных работ, что вызвано ни столько исчерпанием запасов полезных ископаемых вблизи земной поверхности, сколько возрастающим спросом на минеральное сырье. Добыча наиболее ценных руд уже сейчас в Канаде и США, например, ведется на глубинах 2-2,6 км, а в Индии и ЮАР – более 3 км.
При переходе на большие глубины резко ухудшаются условия эксплуатации месторождений, так, как увеличивается горное давление, повышается температура и изменяются физико-механические свойства горных пород. По этой причине возникают серьезные технологические и технико-экономические трудности в отношении горного давления, горных ударов и поддержания горных выработок, обеспечения безопасности горных работ, полноты и качества извлечения полезных ископаемых, использования горного оборудования и многих других специальных вопросов.
Необходимость в более полной выемке полезного ископаемого, в свою очередь неотъемлемо связано с выбранной системой разработки. На больших глубинах при большом горном давлении целесообразно и наиболее безопасно применять системы разработки с искусственным поддержанием очистного пространства, а именно с закладкой выработанного пространства.
1. Геологическая и горнотехническая характеристика месторождения
1.1 Горно-геологические условия эксплуатации
Общая геологическая характеристика участка месторождения
Медно-никелевые руды Талнахского рудного узла (Октябрьского и Талнахского месторождений) связаны с крупным габбро-долеритовым интрузивом, локализованным в южной части Хараелахской трапповой мульды. Вдоль своей длинной оси мульда пересекается субмеридианальным Норильско-Хараелахским рудоконтролирующим разломом, определяющим вместе с ней положение интрузивных массивов (ветвей), составляющих эти месторождения. Все ветви, располагаясь на Октябрьском месторождении в осадочных породах девона, в интервале глубин 400-2000м, полого погружаются вдоль разлома на 10 км к центру мульды.
Интрузивные ветви Октябрьского месторждения (Северо-Западная и Хараелахская) имеют в общем линзовидную форму (при мощности до 250 метров) и составляют плащеобразную залежь шириной до 6 км. Северо-западная ветвь располагается западнее Главного шва разлома, непосредственно примыкая к нему лишь в своей прикорневой части. Хараелахская ветвь отходит от разлома к западу вдоль края мульды.
Морфология интрузивных ветвей по данным детальной разведки 1967-1987 г.г. представляется в целом относительно простой, а составляющие их разновидности пород выделяются в виде горизонтов-дифференциатов псевдостратифицированного интрузива.
Интенсивность проявления разрывных нарушений высокая, но по данным разведки улавливаются лишь достаточно крупные сбросы и взбросы, составляющие основу тектонического каркаса месторождения (Главный шов, система Западных сбросов, Горный сброс, Центральный грабен и т.д.).
Руды Октябрьского месторождения представлены тремя промышленными типами: вкрапленными в интрузиве (горизонт пикритовых и такситовых габбро-долеритов придонной части интрузива), богатыми (сплошными), формирующими залежи - скопления сплошных и богатовкрапленных сульфидов в зоне нижнего контакта интрузива (реже - в его кровле) и медистыми, образующими тела сложной формы в экзоконтакте залежей богатых руд.
В целом руды Октябрьского месторождения характеризуются весьма сложным минеральным составом и многообразием форм нахождения рудных компонентов. Главные минералы представлены фазами переменного состава: групп пирротина, пентландита, халькопирита, кубанитом, являющимися носителями никеля, меди, кобальта, некоторых металлов платиновой группы. С другими второстепенными минералами связано распределение попутных компонентов (золота, серебра, селена, теллура, платины, палладия, а также вредных примесей свинца, цинка, мышьяка).
Для всех типов руд установлены широкие вариации количественных соотношений главных рудообразующих минералов, в связи с чем для каждого типа выделены группы естественных минеральных разновидностей. Последние обособляются с той или иной степенью сложности в объеме рудных тел, выделяемых по кондициям, и нередко образуют в последних крупные участки.
На Октябрьском месторождении преобладают залежи богатых руд зонального строения, в которых, помимо пирротиновых, развиты кубанитовые и талнахитовые руды. В соответствии с данными технологических испытаний и практикой переработки руд на НГМК выделяются два технологических сорта: халькопиритовый (высокомедистый) и пирротиновый, селективно добываемые. В телах вкрапленных и медистых руд технологические сорта выделяются в связи с установленной при эксплуатации минеральной зональности, вплоть до образования так называемых брекчиевых медистых руд, близких к богатым, а также наличием труднообогатимого валлериитового сорта. Раздельная добыча технологических сортов вкрапленных и медистых руд не осуществляется.
Геологическая характеристика рудника "Таймырский"
Рудником отрабатывается участок пластообразной залежи сплошных сульфидных руд с ксенолитами вмещающих пород. Контакты залежи отчетливо выражены с наличием апофиз и зон расщепления. Мощность залежи на участках отработки изменяется от 3 до 35м.
Богатые руды горизонта -1050м представлены двумя отчетливо выраженными пачками.
Верхняя часть залежи (верхняя пачка), сложена рудами существенно пирротинового состава, мелкозернистыми, мелко- средне зернистыми, полигональными, с ксенолитами вмещающих пород (до 30-40%). Для верхней пачки характерно содержание меди менее 3,00% (иногда до 3,50%) и наличие скачкообразного изменения содержания меди на границе пачек, содержание компонентов платиновой группы в 1.5-2.0 раза меньше, чем в нижней пачке.
Нижняя пачка сложена рудами халькопиpит-пиppотинового состава среднезернистыми, крупнозернистыми, пегматоидными (гигантозеpнистыми), редко мелкозернистыми, с ксенолитами вмещающих пород (до 10-15%). В нижней пачке содержание меди более 4.00%
(иногда более 3.50-4.00%).
Мощность верхней пачки на горизонте -1050м в центральной части залежи равна 1-5м. при мощности рудного тела 30-35м., и увеличивается к флангам, а в районах выклинивания рудного тела, залежь на полную мощность представлена рудами верхней пачки.
Особенностью богатых руд горизонта -1100м, является снижение доли мелкозернистых руд в верхней пачке и рост в ней содержаний никеля, кобальта и серы до сопоставимых с нижней пачкой. Кроме того, в пределах этого участка резко уменьшается доля руд нижней пачки, до одной трети мощности рудого тела. Уменьшение мощности нижней пачки происходит по направлению на восток до мощности 2-5м.
Богатые руды горизонта -1300м, в отличие от богатых руд горизонтов -1050м и -1100м, не имеют в своем разрезе зоны ярко выраженного скачкообразного изменения содержаний меди на границе пачек, а характеризуются переслаиванием руд существенно пирротинового и халькопирит-пирротинового состава, но в целом границы пачек на этом горизонте сохраняются.
Богатые руды горизонта -1300м (как верхняя, так и нижняя пачки), сложены всеми выше указанными текстуpно-стpуктуpными разновидностями. При этом в верхней пачке часто встречается пегматоидная руда, а в нижней полигональная, что не отмечается на горизонтах -1050м, -1100м. В центральной части залежи на горизонте -1300м средняя мощность нижней и верхней пачки примерно одинаковая. В широтном направлении отмечается значительная изменчивость мощностей верхней и нижней пачки, в меридиональном направлении этот параметр пачек более выдержан, но так же, как и на горизонтах -1050м и -1100м, на флангах залежи преобладают более бедные руды, характерные для верхней пачки.
Характерной особенностью строения богатых руд горизонта -1300м является повышенное, по сравнению с рудами горизонтов -1050м и -1100м, количество (участками до 30%) пластообpазных ксенолитов вмещающих пород мощностью от 0.1 до 5.0м и протяженностью до 200 м.
Тектоническое строение.
Горизонт -1050м характеризуется весьма сильной тектонической наpушенностью. Строение участка определяют две основные структуры: вытянутый в меридиональном направлении, поднятый на 10-15м блок, образованный двумя системами нарушений севеpо-восточного и севеpо-западного простирания, и опущенный тектонический блок, с востока примыкающий к Горному сбросу. Восточная граница опущенного блока образует в плане сложный ступенчатый рисунок, за счет передачи максимальных амплитуд смещений по трем системам нарушений - севеpо-восточного, севеpо-западного и меpидианального простирания. Границы блоков сопровождаются серией ступенчатых смещений сбросового характера, в сочетании с широким развитием тектонических нарушений внутри блоков с амплитудами смещений до 20м.
Почва богатых руд в пределах ненарушенной части рудных тектонических блоков ровная, выдержанная, с падением на восток под углом 18-21гр. и практически горизонтальная в меридиональном сечении.
Кровля богатых руд имеет сложную форму, с многочисленными апофизами в вышезалегающие породы. Южный и северный фланги залежи характеризуются резким воздыманием почвы с большим количеством апофиз, маломощных, быстро выклинивающихся.
Горизонт -1100м. Тектоническое строение горизонта определяют: кpупноамплитудное нарушение меридионального простирания, проходящее по ленте 63, и два тектонических нарушения севеp-севеpо-восточного простирания. Северо-западный блок практически не затронут тектоническими нарушениями. Северо-восточный блок, представляющий собой блок из зоны Большого Горста, характеризуется высокой тектонической наpушенностью, с амплитудами смещений до 20м. Морфология почвы и кровли богатых руд аналогична горизонту -1050м.
Горизонт -1300м. От зоны Большого Горста этот участок залежи отделяет крупноамплитудное тектоническое нарушение 1 порядка. На всей площади горизонта развиты мелкоа-мплитудные тектонические нарушения СВ и СЗ простирания.
Нарушенность богатых руд зависит от наличия тектонических нарушений, ксенолитов вмещающих пород и от текстурно-структурных особенностей руд. При заложении тектонических нарушений в крупнозернистых рудах, мощность зоны оперяющих трещин даже при значительных амплитудах редко достигает 3-5м. В связи с этим ненарушенные участки (участки средней наpушенности) установлены в нижней пачке при размерах тектонического блока более 5-10м, в то время как в рудах верхней пачки ненарушенные участки появляются лишь при размерах тектонического блока более 40-60м.
В целом нарушенность верхней пачки на горизонтах -1050м и -1100м оценивается 100% как сильная, нижней на 30% как сильная, на 70% как средняя.
Нарушенность богатых руд на горизонте -1300м оценивается как 75% средняя, 25% сильная.
Нарушенность богатых руд на горизонте "прирезка" оценивается в панелях 14 и 15 как 100% сильная, в панелях 12-13: 50% сильной и 50% средней.
Нарушенность подстилающих метаморфизованных, перекрывающих метаморфизованных и интрузивных пород оценивается как сильная на 100% на всех горизонтах.
На горизонте "Прирезки" рудное тело представлено переслаиванием породных прослоев и жил сплошных сульфидов мощностью до 1м. кулисообразно расположенных по отношению к падению и простиранию залежи. На площади "Прирезки" в пределах лент 247-251 вскрыто тектоническое нарушение субмеридионального простирания с амплитудой более 3.0м.
Морфология почвы и кровли богатых руд носит сложный характер, обусловленный наличием резкого изменения их гипсометрии за счет уступов высотой до 10-15м с наличием послойных малопротяженных апофиз.
"Большой Горст"
В пределах зоны Большого Горста выявлено сложное внутреннее строение залежи, обусловленное мощными протяженными ксенолитами, образующими складкоподобные структуры, занимающие до двух третей от мощности рудного тела, значительная часть этих ксенолитов имеет вертикальное падение.
Тектоническое строение Горста определяют две основные зоны: север-северо-восточного простирания и западного падения, ограничивающее Горст с запада, и субмеридионального простирания и восточного падения, ограничивающее Горст с востока. В южной части первой зоны и северной части второй, сконцентрированы основные амплитуды смещений блоков. К северной внешней части первой и южной внутренней части второй зоны примыкают ступенчато смещенные тектонические блоки, по которым равномерно распределяется амплитуда смещения Горст. Между основными зонами Горст разбит трещинами северо-восточного и северо-западного простирания на блоки размером в среднем 80х120м и с амплитудами смещения до 20 метров.
Залежь Северная-2. Богатые руд представляют собой сложнопостроенную, падающую на северо-восток (аз.пад.45-60 град.) под углом 10-16 град. систему кулисообразных рудных жил сплошных сульфидов с большим количеством разделяющих их прослоев габбро-долерита и полевошпатовых пород. Мощность залежи меняется от 1 до 18м. Средняя мощность составляет в среднем 7.0м.
Трещиноватость и нарушенность сульфидных жил: 30% - средняя, 70% - сильная; ксенолитов: 50% - средняя, 50% - сильная.
Нижний контакт горизонта вкрапленного оруденения налегает на "медистые" и богатые руды и на отдельных участках отрывается от них до 7-10 метров.
На указанной площади предполагается наличие восьми разрывных нарушений с амплитудой от 5 до 70 метров. Азимуты простирания СВ 15-70 градусов и СЗ 340-355 градусов.
Гидрогеология
Гидрогеологические условия определяются геоморфологическими, структурными и мерзлотными факторами.
Подземные воды формируются за счет атмосферных осадков, проникающих в горные породы со склонов плато и в зоне сквозных таликов, питаются также водами поверхностных водоемов и водостоков.
Мощность мерзлоты меняется в пределах рудного поля от 10 м до 180 м. Водовмещающая толща коренных пород характеризуется незначительной водообильностью (общий водоприток по горизонтам рудника "Таймырский" составляет около 1 м3/час).
Водопроявления в местах бурения шпуров и скважин приурочены, как правило, к зонам трещиноватости и отмечены на контакте интрузии с породой. Более высокой водообильностью отмечена зона Горста. Отмечены водопроявления с дебитом 0,01 м3/час. Но по мере срабатывания статистических запасов в линзах подземных вод уменьшается до 0,0005 м3, что указывает на низкий коэффициент фильтрации (к=0,00002 м/сутки), а также на отсутствие связи водоносных зон с крупными источниками питания.
В пределах шахтного поля рудника Таймырский существует ряд водопроявлений, находящихся под режимным наблюдением. В местах выхода источника периодически проводится отбор проб на агрессивность по отношению к бетону, результаты анализов свидетельствует об отсутствии таковых.
Основной водоприток в руднике формируется за счет обводненности стволов
Суммарный водоприток по руднику составляет от 32 до 35 м3/час.
Газоносность пород
Все породы и руды, слагающие поле рудника, газоносны. Наличие горючих газов, связанных с угленосными отложениями тунгусской серии (интервал от 20 до 350 м) и грантолитовыми сланцами нижнего силура (глубина залегания около 2000 м) из которых газы могут мигрировать в вышележащую зону толщ. Установлено наличие углекислого газа, метана, тяжелых углеводородов, азота и гелия в газовых выделениях. Общий ожидаемый дебит составляет 450 м3/сутки.
Физико-механические свойства руд и вмещающих пород
Объемные веса руд:
Богатые руды первой Хараелахской залежи – 4,2 т/м3;
Богатые руды второй Северной залежи –4,0 т/м3;
Вкрапленные руды второй Северной залежи –3,05 т/м3;
Медистые руды – 3,3 т/м3;
Значение коэффициента крепости по шкале М.М. Протодъяконова:
Для богатых руд – от 5 до 10;
Для медистых руд – от 5 до 16;
Для вкрапленных руд – от 5 до 10;
Для вмещающих пород – от 5 до 10.
Сульфидные руды склонны к окислению, разогреву, спеканию, самовозгоранию и слеживанию с выделением тепла (от 3400 до 4700 ккал на 1 м3 поглощенного кислорода). Температура пород в поле рудника колеблется в пределах от 23 до 36оС. В породах свободная кремнекислота отсутствует. Влажность руды в естественном залегании составляет от 1 до 4 %, в отбитой массе – до 7 %.
Качественная характеристика руд и рудных минералов
Норильские медно-никелевые руды являются комплексными, из них современными технологическими методами добывают цветные металлы: никель, медь, кобальт; благородные металлы: золото, серебро и главные элементы платиновой группы; кроме этого попутно получают селен, теллур и серу.
Помимо названных компонентов, руды содержат целый ряд других элементов, из которых важно отметить железо, уходящее в шлаки и вредные примеси, из которых главными являются, селен цинк и мышьяк, спорадически встречающиеся в рудах.
К числу шлакообразующих компонентов в первую очередь относятся окислы кремния, железа, алюминия, магния, кальция и некоторые другие.
Сульфидное оруденение генетически связано с крупной дифференцированной интрузией габбро-долеритов и представлено тремя основными типами руд:
Сплошными (наиболее богатыми)
Вкрапленными и прожилково-вкрапленными в породах нижней части интрузии
Вкрапленными и прожилково-вкрапленными в породах, вмещающих интрузию (медистые)
Минералы, слагающие норильские руды делятся на следующие четыре группы:
Главные: пирротин, троилит, пентландит, халькопирит, талнахит, моикухит, путоранит, кубанит, магнетит.
Второстепенные: борнит, марказит, миллерит, сфалерит, халькозин, минералы группы валерита.
Редкие: алабанит, виоларит, годлевскит, ковеллин, маухерит, никелин, молибденит, станин.
Минералы благородных металлов: сперрилит, урванцевит, самородные золото и серебро, минералы платины и палладия.
Рудник "Таймырский" эксплуатируется на базе запасов богатых и медистых руд, расположенных в центральной части Октябрьского месторождения и восточной части первой Хараелахской (основной) залежи, расположенных в Дудинском районе Таймырского автономного округа Красноярского края.
Геологический разрез в районе месторождения представлен кембрийско-ордовикскими карбонатными осадками, чередованиями морских (известняки, доломиты) и лагунных (ангидриты, глины) отложениями силура, девона, терригельными углекислыми образованиями перитриаса, туфолавовой толщей триаса и четвертичными отложениями.
Оруденение пространственно и генетически связано с природной центральной частью Хараелахской ветви Талнахского рудоносного интрузива, который локализуется в глинисто-карбонатной толще девонских отложений и погружается в северо-восточном направлении под углом от 12 до 18 до глубины 1700 м и имеет в поперечных разрезах форму плоской линзы.
Ширина интрузива колеблется от 700 до 900 м на западе и до 1900 м на востоке, мощность его изменяется от 100 до 160 м.
В центральной части залежь разбита серией субмеридиальных и субширотных дизьюнктивов, называемой зоной Большого Горста. На отдельные блочные структуры, которые по тектоническим параметрам группируются в четыре клиновидных рудных тела длиной до 800 м в меридиональном направлении и смещенных относительно друг друга по вертикали от 7 до 60 м. Общая амплитуда смещения рудных тел Большого Горста составляет от 100 до120 м в северной части зоны и до 160 м – в южной.
Зона Большого Горста разделяет Хараелахскую залежь в шахтном поле рудника на верхний западный (горизонт –1050 м и –1100 м) и нижний восточный (горизонты –1200 м, -1300 м, -1400 м) блоки. Угол падения залежи в западном блоке составляет от 14 до 22, в восточном от 12 до 20. Мощность колеблется в пределах от 5 до 43 м.
Проанализировав исходные данные, формируются перспективные направления исследования. Для отработки запасов месторождения, исходя из горно-геологических условий, ценности руды наиболее перспективной видится слоевая и камерная система разработки с закладкой сформированных пустот твердеющими смесями. Исходя из заданной, очень высокой годовой производительности для подземных рудников, видится наиболее целесообразным применение на основных технологических процессах высоко производительного самоходного оборудования. Так же для обеспечения заданной годовой производительности с целью обеспечения фронта работ определяется камерно-целиковый порядок выемки запасов.
Необходимо определиться с технологией отработки, средствами механизации, аспектами управления горным давлением, нормативной прочностью закладочного материала, конструкцией принятой системой разработки, а также оценить эффективность предлагаемой технологии.
Для того чтобы решить поставленные задачи, первой частью исследования ставится провести крупномасштабный анализ разработки месторождений с закладкой в целом. Следующей честью, необходимо выполнить конструирование отобранных конкурирующих вариантов систем разработки, где будет произведено обоснование подготовки и нарезки выемочной единицы, обоснование параметров закладки, отбойки, доставки. Далее для сравнения и отбора наиболее эффективного варианта системы будет выполнена технико-экономическая оценка сравниваемых вариантов систем разработки.
1.2 Технология добычи руды
1.2.1 Система разработки
Добыча руды производится с применением: сплошной слоевой системы разработки с закладкой выработанного пространства твердеющими смесями; с применением самоходного оборудования на доставке горной массы и бурении шпуров (скважин большого диаметра).
Система разработки применяется в трех вариантах:
- Выемка слоями сверху вниз под защитным слоем (панели 7 - 11 западный фланг гор. -1050 м, панель 9 - 11 гор. - 1100 м, панели12 - 15 западного и 12, 13 восточного флангов гор. -1300 м) – нисходящий порядок выемки;
- Выемка слоями снизу вверх под защитным слоем (панель 8 гор. -1100м, панели 9 – 11 западного и 9 – 11, 14,15 восточного флангов гор.-1300 м) – комбинированный порядок выемки;
Восходящая выемка по восстанию залежи (панели 12 гор. -1100 м) – восходящий порядок выемки.
Удельный вес применяемых вариантов сплошной слоевой системы разработки в 2004 году составил:
Таблица 1 – Удельные веса применяемых систем
-
Система разработки
Порядок отработки
Ед.изм.
Рудник
Шахта 1
Шахта 2
Сплошная слоевая
1.Восходящий
%
8,9
21,5
0
2. Нисходящий
%
42,4
39,7
44,3
3. Комбинированный
%
48,7
38,8
55,7
Слоевая система разработки с восходящим порядком выемки слоев в защищенных зонах
Сущность восходящего порядка выемки слоев состоит в разделении рудной залежи на вертикальные ленты, которые отрабатывают слоями снизу вверх с оставлением между кровлей слоя и закладкой свободного технологического пространства. На удароопасных участках месторождений, очистные работы ведутся с расположением очистных выработок в пределах защищенных зон, образованных бурением разгрузочных скважин (шпуров), при систематическом контроле напряженно-деформированного состояния руды и пород в призабойной зоне.
Восходящий порядок выемки слоев может применяться при разработке руд слабой и средней нарушенности.
Допускается применять восходящий порядок выемки слоев, если в отрабатываемой ленте встречаются участки сильно нарушенных руд длинной не более 14м, при расстоянии между такими участками не менее 16м.
Условия отработки средне нарушенных руд с включениями ксенолитов пород с ослабленными контактами с рудой, ксенолитов сильно нарушенных пород, участков сильно нарушенных руд длинной более14м при расстоянии между ними менее 16м, при наличии в пределах ленты (слоя) тектонических нарушений аналогичны условиями системы с комбинированным порядком выемки слоев (см ниже).
Высоту вертикальных рудных обнажений очистных выработок в основных слоях принимают с учетом нарушенности руд:
-для руд слабой и средней нарушенности до 12м;
-для руд сильной нарушенности до 10м;
-для руд весьма сильной нарушенности до 6м.
При применении на отгрузке горной массы дистанционно-управляемой ПТМ, параметры нижнего, основного и верхнего слоев принимают в соответствии с "Временной технологической инструкцией по разработке сплошных сульфидных руд слоевыми и камерными системами с использованием ДУ ПТМ на рудниках НГМК".
Технология очистной выемки предусматривает выполнение следующего комплекса работ в слое: бурение, заряжание и взрывание шпуров и скважин, осмотр и оборка кровли и бортов, погрузка и доставка руды к рудоспускам, крепление, подготовка к закладке (зачистка почвы, сооружение перемычек), закладка выработанного пространства.
Сплошная слоевая система разработки с комбинированным порядком выемки слоев
Сущность комбинированного порядка выемки слоев заключается в том, что верхний слой отрабатывается с опережением, а основная часть рудного тела в защищенной зоне извлекается слоями снизу вверх сплошным фронтом или с оставлением временных надработанных целиков.
Комбинированный порядок выемки слоев применяется для отработки слабо- и средне нарушенных руд.
Допускается выемка руды в защищенной зоне слоями снизу вверх, если в защищенной зоне встречаются участки сильно нарушенных руд длиной не более 14м при расстоянии между такими участками не менее 16м. Такие же условия распространяются и на отработку руд с вкючениями ксенолитов пород с ослабленными контактами с рудой или ксенолитов сильно нарушенных руд.
Способы отработки и управления кровлей таких участков должны предусматриваться в локальных проектах, паспортах крепления, паспортах БВР, утверждаемых главным инженером рудника.
К таким способам относятся:
- отбойка участков сильнонарушенных руд ксенолитов пород предохранительной рудной корки толщиной не менее 2м при ослабленном и 1м при спаянном контакте между предохранительной коркой и вышележащими породами с последующей отбойкой рудной корки совместно с сильнонарушенной рудой и ксенолитами пород крутонаклонными, горизонтальными или слабонаклонными шпурами;
- применение для отгрузки и зачистки слоя погрузочно-транспортных машин с ДУ;
- увеличение количества одновременно взрываемых зарядов в слое с целью погашения одного или нескольких таких участков за один взрыв.
При наличии в пределах ленты двух или более тектонических нарушений, заполненных ослабляющими минералами, продуктами дробления или представленных "зеркалами" скольжения субпараллельного между собой простирания и составляющих с осью ленты в плане угол менее 30º, очистные работы ведут по технологическим схемам, применяемым при нисходящей слоевой выемке, или вариантами камерной системы разработки.
Сплошная слоевая система разработки с нисходящим порядком выемки слоев
При сплошной слоевой системе разработки с нисходящим порядком выемки слоев рудное тело по мощности разделяют на горизонтальные слои, которые отрабатывают с опережением верхними слоями нижних.
Нисходящий порядок выемки слоев может применяться при разработке руд любой нарушенности, залегающих на любых глубинах.
Очистные работы в основных слоях ведут либо тупиковыми заходками на все сечение, либо с предварительной проходкой разрезной выработки (штрека, орта). Разрезную выработку можно проходить параллельно с отработкой соседней заходки при опережении ее забоем фронта отбойки в заходке не менеечем на 10м, и ширине рудного целика между ними не менее 3м. Допускается одновременное проведение двух разрезных выработок в защищенной зоне в смежных заходках при опережении забоя разрезной выработки, смежной с отрабатываемой заходкой не менее чем на 5м и ширине целика между разрезными выработками не менее 3м.
Ширина очистных выработок в основных слоях определяется структурой и прочностными свойствами твердеющей закладки в искусственной кровле в соответсвии с требованиями действующей "Технологической инструкцией по производству закладочных работ…".
Толщину рудной потолочины разрезных выработок в заходках под заложенной вышележащей заходкой в слабо- и средненарушенных рудах при ширине разрезных выработок до 4 и 6м принимают соответственно не менее 2 и 2,5м.
В сильнонарушенных рудах при ширине разрезной выработки до 4м толщину рудной потолочины принимают не менее 2,5м, а при ширине разрезной выработки до 6м толщина рудной потолочмны должна быть не менее 3м.
В весьма сильнонарушенных рудах разрезную выработку проходят под искусственной кровлей.
Технологические схемы очистной выемки определяются в зависимости от нарушенности отрабатываемых руд, прочности и структуры искусственной кровли.
При отработке основных слоев предпочтительными являются технологические схемы, обеспечивающие максимально возможное снижение сейсмического воздействия взрывных работ на искусственные обнажения выработок и исключающие цикличное ведение очистных работ. Этим требованиям отвечают технологические схемы с отбойкой веерными скважинами, пробуренными из разрезной выработки в кровле или почве заходки, с отбойкой руды по сечению заходки в одну или две стадии.
Ведение горных работ под искусственной кровлей предъявляет жесткие требования к взрывной отбойке руды. Обязательными являются: составление паспартов буровзрывных работ с продольными разрезами по слою и попикетными разрезами с учетом фактической конфигурации почвы и стенок смежных лент, проведение каротажа и забойки перебуренных в закладку концов шпуров (скважин). Для этого необходимо выполнять фотопланиметрическую съемку очистного пространства перед закладкой и попикетные разрезы в принятом на руднике маркшейдерскими службами масштабе 1:200.
1.2.3 Закладочные работы
Закладка обеспечивает безопасную и эффективную эксплуатацию месторождения с наибольшей полнотой извлечения полезного ископаемого и управление горным давлением.
Приготовление закладочной смеси осуществляется на поверхностном закладочном комплексе.
Общая технологическая схема приготовления закладочной смеси выглядит следующим образом: доставка сыпучих материалов осуществляется железнодорожным (ангидрит, граншлак) и автомобильным (цемент М-300, щебень) транспортом на открытый склад (ангидрит, граншлак, щебень) далее материалы подаются бульдозером и погрузо-доставочной машиной в сырьевые бункера через колосниковые решетки (300х300 мм). Дозирование материалов из бункеров осуществляется питателями (КТ-8) на общий сборный транспортер с шириной ленты (1000 мм) и с его помощью в мельницу (МШР 4500х5000 мм). Цемент из силосных банок подают барабанными питателями на дозаторы непрерывного действия, и далее в мельницу (на ПЗК рудника ''Таймырский'' 3 мельницы, (производительность каждой 120 м3 в час)).
В мельницах происходит измельчение и перемешивание материала с водой (не более 28%) далее готовая закладочная смесь подается в смеситель, откуда начинается ее транспортирование в горные выработки.
Движение закладочной смеси осуществляется за счет естественного напора, при движении по вертикальным скважинам (Ø-273 мм L=1000 м) и далее по бетоноводам проложенным по вент-закладочным горизонтам в скважины непосредственно забуренные в закладываемые горные выработки, изолируемые закладочными перемычками S= 5÷30 м2.
Основными требованиями к закладочному массиву как средству управления горным давлением – сохранение устойчивости при его обнажении. Устойчивость закладки в обнажениях определяется ее технической прочностью, способной противостоять воздействию статических и динамических нагрузок.
В соответствии с технологическими требованиями все закладочные смеси разделяются по прочности на марки: М-10, М-20, М-30, М-40, М-60, М-80, М-100.
Рудник ''Таймырский'' в 2003 году изготовил более 838 тыс.м3 закладочной смеси, план 2005 года – 860 тыс.м3. В условиях применения системы разработки с твердеющей закладкой выработанного пространства, когда до 70% в структуре затрат на закладочный передел составляют материалы, то проекты направленные на их экономию и удешевление становятся наиболее актуальными.
Одним из самых дешевых и технологичных материалов, получивших широкое применение в мировой практике, являются хвосты обогащения (ОФ).
В связи с этим было принято решения по реконструкции закладочных комплексов рудников ''Октябрьский'' и ''Таймырский''. Проведен тендер и принято решение для дальнейшей работы по проектированию принять за основу технологическую схему закладочного комплекса для утилизации хвостов в закладку выработанного пространства рудников ''Октябрьский'' и ''Таймырский'', предложенную фирмой ''Инжиниринг Доберсек'' (протокол № ЗФ-11/154-пр от 29.03.2002 года заключение, утвержденное первым зам. Генерального директора А.А. Рюминым от 13.05.2002 г.).
1.2.4 Управление горным давлением
Управление горным давлением включает в себя создание защищенных зон, разгруженных от действующих в массиве напряжений до безопасного уровня, в которых ведутся очистные работы, закладку выработанного пространства твердеющими смесями, соблюдение оптимальной конфигурации фронтов защитного слоя. К управлению горным давлением относится также крепление горных выработок.
Защищенные зоны, в которых ведутся очистные работы, создаются путем последовательной проходки и закладки выработок защитного слоя по кровле или почве рудного тела, либо путем бурения разгрузочных скважин. Разгрузочные скважины бурятся параллельно в одной плоскости и выполняют роль защитного слоя. Соблюдение конфигурации фронтов защитного слоя и разгрузочных скважин позволяет не допускать концентрации напряжений в массиве на границах панелей или на участках сопряжения фронтов очистных работ.
Наиболее общей формой проявления горного давления является деформирование горных пород, которое приводит к потере ими устойчивости, формированию нагрузки на крепь. Нагрузки на крепь зависят от глубины заложения выработки, горно-геологических и сейсмических условий, формы и размеров выработки, конструктивных особенностей и собственной массы крепи, ее предварительного напряжения, температурных напряжений, воздействия соседних выработок, гидростатического давления воды, способа проведения выработок.
К основным видам крепи горных выработок, применяемым на руднике, относятся: анкерная крепь (ЖБШ, ЩКШ), комбинированное (штанги + набрызг-бетон),усиленная комбинированная (штанги + набрызг-бетон + металлическая сетка) и арочная податливая крепь.
Комбинированной крепью и УКК крепятся нарезные, подготовительные и капитальные выработки в зависимости от горно-геологических условий и условий эксплуатации выработок. Арочная податливая крепь применяется для крепления выработок в наиболее сложных условиях при необходимости поддержания их в течение длительного времени. Монолитной бетонной крепью крепятся выработки околоствольного двора, мастерские и другие выработки, которые эксплуатируются в течение длительного времени и требуют особых условий эксплуатации.
1.2.5 Вентиляция
Проветривание рудника осуществляется всасывающим способом по фланговой схеме. Свежий воздух подается по стволам КС-3, ПЗС, ВПС, СС-3 и далее по откаточным и транспортным выработкам поступает в очистные, подготовительные и нарезные выработки и технологические камеры. Сначала воздух подается на очистные и проходческие забои, а также камерные выработки с обособленным проветриванием. Затем воздух по вентиляционным восстающим выдается на вентзакладочные горизонты. Далее по ним поступает к вентиляционным стволам ВС-5 и ВС-6 и выдается на поверхность. Оба ствола ВС-5, ВС-6 оснащены вентиляторными установками, состоящими из двух центробежных вентиляторов типа ВЦД-47 (рабочий и резервный).
Поступающий в шахту воздух подогревается с помощью калориферных установок, расположенных у воздухоподающих стволов.

Рисунок 1 – Состояние работ на начало 2006 года.
2. Обобщение опыта отработки мощных пологопадающих и наклонных месторождений богатых руд
2.1 Отечественный опыт
Пологопадающие МПИ с закладкой.
Месторождение Талнахское. Рудник Комсомольский.[1]
Талнахское месторождение полиметаллических руд связано с крупной дифференцированной интрузией габбро-долеритов. Пологопадающие рудные тела залегают на глубинах 110-1600 м. Требование первоочередной разработки высоко ценных сплошных руд с минимальными потерями и необходимость сохранения других типов руд для последующей выемки, а также сложные геологические и гидрогеологические условия предопределили управление горным давлением полной закладкой выработанного пространства твердеющими смесями. На глубине свыше 500 м очистную выемку ведут в основном вариантами сплошной слоевой системы разработки. На руднике Комсомольский испытывалась камерно-слоевая система разработки (рисунок 2).

Рисунок 2. Вариант камерно-слоевой системы разработки с твердеющей закладкой:
а - разрез по оси панели; б - план рудного тела (по почве); в - разрез по ширине панели; 1 - границы между очистными лентами; 2 - слои; штреки: 3 - транспортный, 4 - разрезной, 5 - слоевые, 6 - вентиляционный; 7 - свободное технологическое пространство; 8 - целик-камера; 9 - твердеющая закладка; 10 - транспортно-до-ставочный штрек; 11 - целик между заездами в камеру; 12 - буровой штрек; 13 - шпур с зарядом ВВ для разуплотнения почвы под целиком.
Залежь сплошных руд в пределах экспериментального участка имеет мощность 20-29 м. и залегает под углом 5-14°. Кровля сплошных руд представлена; преимущественно габбро-долеритами слабой и средней нарушенности, почва - известняками или роговиками средней и сильной нарушенности.
Ширина лент и временного целика - 8 м, подготовка панельная. Для обеспечения доступа самоходного оборудования в забой при отработке временного целика нижние и верхние слоевые выработки сохраняют в панельном целике, запасы которого предусмотрено извлекать посекционно с отставанием от основного фронта очистных работ.
Слои высотой 3,5-4 м. отбивали потолкоуступным забоем, крутонаклонными восходящими шпурами.
Для отработки временных целиков в них проходят буровой (у почвы) и вентиляционный (у кровли) штреки. Веерные комплекты скважин диаметром 56 мм. бурят установкой "Симба-312". Линия наименьшего сопротивления составляла 1,3 м, расстояние между концами скважин 1,6 м, удельный расход ВВ на отбойку 1,7 кг/м3, выход руды с 1 м скважины 1,35 м3. За один взрыв отбивали 3-5 тыс. т. руды, что обеспечивало работу погрузочно-транспортной машины в течение 6-10 смен.
Достаточно полного выпуска горной массы удалось добиться в результате оставления в днище камеры рудных откосов, которые в последующих секциях были заменены искусственными. Искусственный откос формировали в процессе опережающей отработки соседней ленты за счет расширения двух нижних слоев в границах целика и последующей их закладки твердеющей смесью.
Отбитую горную массу из камеры доставляют через погрузочные заезды и транспортные штреки к рудоспуску. Транспортные штреки проходят во временно оставляемом рудном слое соседней ленты. Кровлей транспортных штреков и заездов в камерах первых двух секций служила неармированная закладка, которая местами разрушалась.
Для заполнения выработанного
пространства широко использовалась
разнопрочная закладка. Так, первый слой
над целиком с транспортным штреком
заполнялся заклад
кой
прочностью 6 МПа, остальное выработанное
пространство спаренных лент – закладкой
прочностью 2 МПа; выработанное пространство
после выемки временного целика заполнялось
закладкой прочностью 1-1,5 МПа.
Основные технико-экономические показатели: производительность фланга панели - 187% относительно слоевой системы; объем подготовительно-нарезных работ на 1000 т. добытой руды - 58 м3; трудоемкость работ на 1000 т. по забойной группе рабочих 39,3 т/чел.-смену.
Месторождение медно-никелевое Талнахское. Рудник Маяк.[1]
Талнахское месторождение полиметаллических руд связано с крупной дифференцированной интрузией габбро-долеритов. Пологопадающие рудные тела залегают на глубинах 110-1600 м. Требование первоочередной разработки высоко ценных сплошных руд с минимальными потерями и необходимость сохранения других типов руд для последующей выемки, а также сложные геологические и гидрогеологические условия предопределили управление горным давлением полной закладкой выработанного пространства твердеющими смесями. На глубине свыше 500 м очистную выемку ведут в основном вариантами сплошной слоевой системы разработки.
Для отработки участков месторождения в поле рудника Маяк применяется камерно-целиковая система с последующей закладкой выработанного пространства твердеющей смесью. Очистная выемка ведется панелями шириной 40-45 м. в зависимости от принятых размеров панельного целика (15-20 м). Ширина камер и междукамерных целиков составляет 8 м. Очистное пространство при отработке камер поддерживается временно оставляемыми рудными целиками. Ко времени выемки целиков выработанное очистное пространство камер заполняется твердеющей смесью. Кровля очистных камер поддерживается железобетонными штангами в комбинации с набрызгбетоном.
За время эксплуатации месторождения на руднике "Маяк" было испытано 9 вариантов камерно-целиковой системы. Наиболее эффективным для условий рудника "Маяк" оказался вариант камерно-целиковой системы с предварительным сооружением бетонного днища. Начиная с 1970 г. этот вариант применяется для выемки панелей мощностью 20-40 м. В 1973 г. на руднике "Маяк" удельный вес добычи руды вариантом с бетонным (искусственным) днищем составил 20%, с рудным днищем - 40% и вариантом с рудными откосами - 40%.
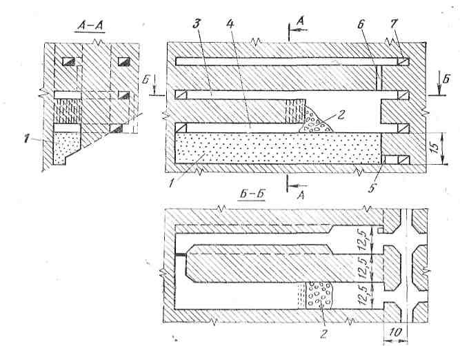
На рисунке 3 приведен вариант отработки междукамерных целиков с образованием рудной траншеи.

Рисунок 3. Вариант отработки междукамерных целиков с образованием рудной траншеи: 1 - отрезной восстающий; 2 - подсечка отрезной щели; 3 - закладка; 4 - железобетонные штанги; 5 - веер скважин; 6 - ходовой восстающий.
На рисунке 4 вариант камерно-целиковой системы с отбойкой руды из подэтажных выработок на искусственное днище.

Рисунок 4. Вариант камерно-целиковой системы с отбойкой руды из подэтажных выработок на искусственное днище: 1 - твердеющая закладка; к - камера; ц – целик.
На основании проведенных, на комбинате исследований и технико-экономических расчетов был выбран состав закладочной смеси при следующем расходе материалов на 1 м3: вяжущее - 600 кг, в том числе цемент М-300-100-120 кг, ангидрит молотый – 180 - 220 кг, гранулированный шлак рудно-термических печей никелевого завода – 280 - 320 кг; заполнитель – 1380 - 1400 кг, в том числе искусственный песок крупностью 0-5 мм - 800 кг, щебень крупностью 5-30 мм - 600 кг.
Пологопадающие МПИ с закладкой.
Месторождение Джезказганское. Рудник Джезказганский.[1]
Джезказганское месторождение представлено перемежающимися слоями серых (рудных) и краоноцветннх песчаников, аргиллитов и алевролитов.
Рудные залежи имеют пластообразную форму: мощность рудных тел изменяется в широких пределах - от долей метра до 25-30 м, более 90% всей рудной толщи имеет пологое залегание с углом падения от 0 до 5-10°. Руды и вмещающие породы устойчивы, коэффициент крепости по шкале проф. Протодьяконова 6-14.
Джезказганское месторождение отрабатывается камерно-столбовой системой. Данная технология отработки связана со значительными потерями руды (до 19-25%) и опасностью из-за трудности контроля за отслоением и падением кусков породы при большой высоте камер. Поэтому для условий Джезказганского месторождения предложена система со сплошной выемкой руды и закладкой выработанного пространства твердеющими смесями (рисунок 5).

Рисунок 5. Система разработки со сплошной выемкой руды и закладкой выработанного пространства твердеющими смесями
Особенностью системы является выемка руды вертикальными вытянутыми по всему фронту очистных работ слоями 1 на всю мощность залежи после проходки верхних и нижних горизонтальных подсечных выработок 2. Слои делятся на секции (камеры) 3, расположенные длинной стороной по фронту очистных работ. Руда отбивается взрыванием вертикальных скважин 4, пробуриваемых с верхней подсечки на отрезную щель 5. При ведении взрывных работ для предохранения разрушения закладки соседней камеры оставляется рудная корка 6, которая по мере обнажения обрушается от сейсмического воздействия взрывов. Руда выпускается на нижнюю подсечку через щель 7 из-под рудного козырька 8, который отрабатывается по мере выпуска руды из слоя.
Отбитая руда грузится и доставляется самоходными погрузочно-доставочными машинами по подсечной выработке и панельному штреку 9 в рудоспуск. Оставляемые для поддержания кровли подсечек ленточные целики 10 при дополнительной установке щитов или перемычек из отбитой руды 11 изолируют отрабатываемый слой для последующей его закладки твердеющим материалом 12. В качестве закладочного материала могут быть использованы малопрочные твердеющие смеси - хвосты обогащения или дробленый материал с добавками глины, молотых шлаков, извести или цемента. Закладочный материал транспортируется по трубам 13, прокладываемым с поверхности в скважине, и далее по верхней подсечке.
Для организации непрерывного процесса добычи отрабатываемый участок делится на четыре секции 14. Как правило, в одной из секций осуществляются бурение и отбойка руды, во второй - выпуск, в третьей - закладочные работы, а в четвертой - работы не ведутся: в ней набирает прочность твердеющая закладка. Время одного цикла при выемке руды в трех секциях, соответствующее времени твердения закладки, зависит от мощности залежи, ширины вынимаемого слоя и колеблется от 1 до 3 месяцев.
Технико-экономические показатели: объём горноподготовительных и нарезных работ – 68 м3/1000 т; потери руды – 5 - 8,5%; разубоживание – 3 – 5%; производительность труда – 24 т/чел-смену.
Вариант системы разработки с закладкой и торцевым, выпуском руды (рисунок 6).

Рисунок 6. Вариант системы разработки с закладкой и торцевым выпуском руды.
Панель шириной 150 м, длиной 150-200 м подготавливается двумя панельными штреками сечением 16,8 м2 - откаточным I и откаточно-зентиляционным 2 (пройден по почве залежи), которые соединены между собой транспортно-буровыми ортами 3 через каждые 15 м. Опытная панель по длине делится на заходки длиной 30 м, шириной 6-10 м, которые располагают в шахматном порядке с целью предотвращения попадания закладки из отработанной и закладываемой заходки в работающую. Транспортно-буровые орты сбиваются между собой транспортно-вентиляционными сбойками 4. В начале каждой заходки проходится отрезной восстающий 5 сечением 5 м2, от которого образуется отрезная щель для отбойки руды скважинами.
Для закладки выработанного пространства в зависимости от угла падения рудного тела над одним из панельных откаточных штреков в кровле залежи проходят закладочный штрек 6 и из него через каждые 60 м по границам смежных заходок - закладочные орты 7. Скважины диаметром 52 мм бурят станками типа СБУ-70, расстояние между веерами скважин 1,3-1,5 м. Руда отбивается вертикальными слоями. Для погрузки руды используют погрузочные машины ПНБ-4 с дистанционным управлением, а для транспортировки - дизельные автосамосвалы МоАЗ. Закладка выработанного пространства ведется отдельными секциями, ширина которых равна шагу отбойки и выпуска руды, т.е. 6-10 м. Закладочный материал - хвосты обогащения (14-00 кг на 1 м3 закладки) и цемент (300 кг на 1 м3 закладки) - подается с поверхности с помощью самотёчно-пневматического транспорта по трубопроводам диаметром 159 мм, проложенным в выработках. Прочность закладки на одноосное сжатие 40-60 кгс/см2.
Вариант системы разработки с закладкой по схеме камера-целик, отбойкой руды глубокими скважинами и выпуском ее на орты вторичных камер. Этим вариантом системы отрабатываются залежи мощностью от 18 м до 30-40 м (рисунок 7).

Рисунок 7. Камернно-целиковая система разработки с закладкой и выпуском руды на орты вторичных камер.
Участок рудной залежи в пределах панели шириной 120-150 м, длиной 200-250 м разбивают на первичные и вторичные камеры шириной 15,5-16,0 м. Вначале отрабатывают первичные камеры, которые затем заполняют твердеющей закладкой прочностью 40-60 кгс/см2. После того, как закладка приобретет необходимую прочность (в течение 6 мес), начинают очистную выемку во вторичных камерах. Вторичные камеры после отработки заполняют твердеющей или гидравлической закладкой.
Подготовка панели заключается в проходке транспортно-бурового горизонта по почве залежи. Пройденные по контуру панели откаточный штрек 1 сечением 18,2 м2 и вентиляционный штрек 2 сечением 16,8 м2 сбивают между собой транспортно-погрузочными 3 и буровыми ортами 4 сечением 16,8 м2. Транспортно-погрузочные орты проходят по оси вторичных, буровые - по оси первичных камер. Из транспортно-погрузочных ортов через 15 м в шахматном порядке под углом 45° к орту проходят погрузочные заезды 5 сечением 12,2 м2.
Первичные камеры по высоте в зависимости от мощности рудного тела разбивают на 2-3 слоя (подэтажа) с целью уменьшения длины скважин. Высота слоя 10-15 м. По границе слоев в центре первичных камер проходят буровые орты 4 сечением 16,8 м2. Транспортно-буровой и буровой горизонты соединяют съездами для самоходных машин.
В породах кровли залежи проходят закладочный горизонт. Закладочные штреки 6 сечением 6,4 м2 сбивают с первичными камерами восстающими 7 сечением 5 м2. В конце панели с вентиляционного штрека проходят вентиляционный восстающий 8 сечением 10 м2, которым сбиваются транспортно-буровой, буровой и закладочный горизонты. Отработку первичных камер начинают с образования отрезной щели путем взрывания вертикальных скважин на отрезной восстающий 9 сечением 6,7 м2. После образования отрезной щели руду отбивают взрыванием вееров скважин диаметром 52 мм, расстояние между веерами 1,3-1,5 м. Руду выпускают в погрузочные заезды и грузят погрузочными машинами ПНБ-4 в автосамосвалы. Вторичные камеры отрабатывают после закладки первичных и по высоте делят на 2-3 слоя. Нижний слой по мощности должен быть таким, чтобы обеспечить шпуровую отбойку при его отработке (4-5м). Остальные слои отрабатывают путем скважинной отбойки, высота их 10-15 м.
По границам слоев в середине вторичных камер проходят буровые орты 10 сечением 16,8м2. Отработку этих камер начинают с образования отрезной щели взрыванием вертикальных скважин на отрезной восстающий сечением 6,7 м2. Одновременно отрабатывают второй и третий слои, причем верхний опережает нижний на расстояние разлета руды при взрывании вееров скважин. Избыток руды выпускают в буровые орты и грузят в автосамосвалы. Остальная руда накапливается на первом слое, который отрабатывается наклонными слоями толщиной 1,5-2,0 м.
Для бурения скважин используют самоходную буровую установку типа СБУ-70, погрузку отбитой руды производят погрузочными машинами ПНБ-4 с дистанционным управлением, транспортировку руды автосамосвалами МоАЗ. Вариант системы разработки с закладкой по схеме "камера-целик" с выемкой первичных камер обычным способом и использованием самоходного оборудования. Данным вариантом отрабатываются залежи мощностью более 16 м. Панель шириной 120-150 м по длине (до 300 м) делят на первичные и вторичные камеры шириной 15 м. Порядок отработки вторичных камер такой же, как при предыдущем варианте. Подготовка панели заключается в проходке по ее границам в кровле и почве рудной залежи откаточных штреков 1 сечением 18,2 м2 и сборного вентиляционного штрека 2 сечением 16,8 м2 (рисунок 8).

Рисунок 8. Камернно-целиковая система разработки с закладкой.
Пройденные в кровле штреки сбиваются между собой вентиляционными ортами 3 сечением 16,8 м2, расположенными по оси первичных камер. Отработку первичных камер начинают с раскоски вентиляционного орта с помощью шпуров и образования камеры (верхней подсечки) высотой 7 м. После выемки верхней подсечки осуществляют почвоуступную выемку оставшихся запасов.
При мощности рудного тела более 20 м запасы в камере отрабатывают, оставляя промежуточный рудный "мост" толщиной 6 м. Место заложения "моста" определяется высотой выработанного пространства над или под ним, т.е. "мост" оставляют в таком месте, чтобы высота камеры над или под ним не превышала 18 м и позволяла использовать для осмотра и оборки кровли самоходные полки СП-18А. "Мост" отрабатывают после заполнения выработанного пространства под "мостом" твердеющей закладкой и приобретения ею необходимой прочности.
При отработке первичных камер используют то же оборудование, что и при панельно-столбовой системе разработки, т.е. буровые установки типа ЗШ-5Д, экскаваторы ЭП-1, автосамосвалы МоАЗ. Подготовку и отработку вторичных камер осуществляют по той же схеме, что и при камерной системе с закладкой, с отбойкой руды глубокими скважинами и выпуском ее на орты вторичных камер.
2.2 Зарубежный опыт
Пологопадающие МПИ с сухой закладкой.
Месторождение Салливан. Рудник Салливан. [5]
Средняя мощность рудного тела 24 м., максимальная 90 м. угол падения от 0 до 40° в верхней части и от 20 до 45° - в нижней. Породы висячего бока представлены устойчивыми кварцитами, лежачего бока - конгломератами. Рудный массив устойчив.
На участках с углом падения от 10 до 40° применяют камерную систему разработки с закладкой с отбойкой руды глубокими скважинами, с разделкой днища по всему лежачему боку и расположением скреперных штреков по простиранию (рисунок 9).

Рисунок 9. Камерно-целиковая система разработки с закладкой.
Отбитая руда доставляется в пальцевые рудоспуски с двух сторон. Под камерой нарезают два выпускных отверстия, разделенные целиком. Из воронок проходят буровые восстающие и небольшие заходки. Взрывные скважины бурят под углом 40-50° при веерном их расположении.
Производительность труда 70 т/смену.
Для закладки пустот применяется порода из подготовительных забоев, так же на участках, где обрушение пород кровли нецелесообразно вследствие опасности воздушных ударов или других причин применяется закладка гравием с примесью глины. Для цементации закладки добавляют хвосты флотации с содержанием 5% железа и небольшого количества извести. Окисление сульфидов цементирует закладку в течение 12-18 месяцев до прочности 2530 кг/см2. Порода, содержащая куски крупностью - 38 мм. с добавлением 7% железистых хвостов и 2,5% воды, цементируется приблизительно в течение шести месяцев.
Рудник Керетти (Финляндия) и Циновец-Жих (ЧССР)[5]
Рудник Керетти является одним из самых старых и крупных рудников компании "Оутокумпу Ой". Его годовая производительность равна 0,47 млн. т. Длина рудного тела достигает 4 км. Мощность доходит до 40 м и составляет в среднем 8 м. Угол падения равен 15—45°. Руда содержит медь, цинк, железо, серу, золото, серебро, кобальт, никель.
Для отработки пологозалегающих участков применяли под-этажное обрушение, но это приводило к значительным потерям руды и резкому росту разубоживания. Кроме того, обрушение пород распространялось до поверхности и по мере развития очистных работ могло вызвать затопление шахты водой вблизи расположенных озер.
В настоящее время главной системой разработки является камерно-столбовая система с искусственными целиками, применяемая при мощности рудного тела свыше 8 м. Высокая механизация работ позволяет достигнуть производительности труда забойного рабочего 160 т/смену. Применение затвердевающей закладки обеспечивает почти 100 %-ное извлечение руды при ее незначительном разубоживания. При этом выемка руды ведется с разбивкой на камеры первой и второй очередей шириной, равной соответственно 6 и 8 м (рисунок 10). Наибольшая высота отрабатываемого слоя составляет 20 м, а длина камер 50—100 м. Отработанные камеры первой очереди заполняют затвердевающей смесью. После достижения ею необходимой прочности отрабатывают камеры второй очереди и заполняют их классифицированными хвостами обогащения.
В камерах по контакту висячего бока проводят подсечные выработки с поперечным сечением, равным 6x3,5 или 8X3,5 м| Крепление кровли их производят анкерами, а при необходимости— торкретбетоном. В зависимости от мощности рудного тела проводят также рудные штреки по контакту лежачего бока. Очистные работы в камере начинают с проходки отрезного восстающего и образования отрезной щели. Отбойку руды осуществляют с помощью скважин, пробуренных с верхней подсечной выработки.
При мощности рудного тела, превышающей 20 м, отработку залежи осуществляют слоями высотой по 20 м в направлении снизу вверх.
Для анкерного крепления используют обычно ребристую сталь диаметром 16—20 мм и длиной 2,4 м, а иногда — до 6 м. Анкеры помещают в шпуры на их полную длину и цементируют смесью классифицированных хвостов обогащения с цементом в соотношении 1:1с добавкой воды и 1 % бентонита.
Твердеющий закладочный материал приготавливают в бетономешалке на поверхности. Гравий, просеянный сквозь сито с ячейками диаметром 20 мм, и классифицированные хвосты обогащения в отношении 2 : 1 являются инертным заполнителем. На 1 м3 смеси добавляют 110 кг портландцемента и 600 л воды.

Рисунок 10. Камерно-столбовая система разработки с последующей закладкой выработанного пространства на руднике Керетти (Финляндия):
1— вентиляционный штрек; 2 — рудоспуск; 3 — откаточный горизонт; 4 и 5 —соответственно верхняя и нижняя подсечки; 6 — доставочная выработка; 7 и 8 — соответственно закладочный массив в первичной и вторичной камерах; .9 — отрезной восстающий; 10 — анкерная крепь
Максимальный расчетный предел прочности сжатию бетонной закладки равен 1,7 МПа. На практике он не превышает 0,6 МПа. Это связано с расслоением закладочной смеси в очистном пространстве.
Закладочный материал подают с поверхности сначала по скважинам диаметром 152 мм, а затем — по сварным трубам диаметром 150 мм, изготовленных из огнеупорного чугуна. Для камер второй очереди смесь поступает прямо от обогатительной фабрики (ОФ) к забоям по скважинам диаметром 78 мм и пластмассовым трубам диаметром 75 мм.
Нарезные выработки камер первой очереди проводят с использованием самоходных трехстреловых бурильных установок "Там-рок Параматик", а штреки камер второй очереди — двустрело-выми бурильными установками "Параматик".
При очистной выемке бурение вертикальных скважин диаметром 51 мм по сетке 1,5X1,5 или 2X2 м производят бурильными установками на гусеничном ходу. В качестве ВВ используется смесь АС-ДТ. В камерах первой очереди используют гладкостенное взрывание с помощью смеси АС-ДТ, ослабленной кусочками полистирола в соотношении 1:1.
Взрывание скважинных зарядов осуществляется с центрального пункта, расположенного в помещении для отдыха на гор. 285 м, оборудованного конденсаторной взрывной машинкой и контрольными приборами для измерения сопротивления цепи.
ПДМ с емкостью ковша 3,8—6 м3 доставляют отбитую руду в рудоспуски, откуда состав вагонеток транспортирует ее по откаточному штреку к дробилке. Рудоспуски размещены так, что максимальное расстояние доставки составляют 200 м.
Машинисты ПДМ подвергаются неблагоприятному воздействию тряски. Первоначальные меры в виде специальных физических упражнений оказались недостаточными. Поэтому на одном погрузчике вынуждены были работать два человека, которые в течение смены подменяют друг друга. Водитель, который не работает на ПДМ, занят на другой работе, например, в подземной мастерской.
На гор. 285 м с безрельсовым транспортом оборудована мастерская для текущего обслуживания и мелких ремонтов самоходных машин. Капитальные ремонты производятся на поверхности в специализированных мастерских.
Производительность труда забойного рабочего при камерно-столбовой системе разработки с искусственными целиками на руднике Керетти достигла 39,7 т/смену.
Аналогичная система разработки применяется для отработки пологозалегающего месторождения на чешском руднике Циновец-Жих. Месторождение залегает на глубине 250 м. Разработка ведется камерами шириной 6 м и высотой 20 м. Ширина междукамерных целиков составляет 8 м.
Рудник Наван (Ирландия)[5]
Рудник производительностью 2,3 млн. т свинцово-цинковой руды в год разрабатывает месторождение, представленное серией линз мощностью 60—8 м с углом падения около 20°.
Предел прочности руды и пород при одноосном сжатии изменяется от 56 до 175 МПа. Вмещающие породы — довольно устойчивые и позволяют отрабатывать камеры шириной 12,5 м и высотой 15 м, которые могут оставаться незаполненными закладочным материалом в течение длительного периода времени. Камеры первой ! очереди заполняют смесью классифицированных хвостов обогащения с цементом, камеры второй очереди — обычной гидравлической смесью. Крепление кровли камер производят анкерами с металлической сеткой. Камеры располагают перпендикулярно главным откаточным выработкам. Подготовка начинается с проведения штрека шириной 5,5 м и высотой 3,7 м на уровне верхнего до-ставочного горизонта по центру камеры до ее границ (рис. 4.2)'. Затем поперечное сечение штрека увеличивают на всю ширину камеры. После уборки руды кровлю полученной выработки крепят анкерами диаметром 16 мм и навинчивают металлическую сетку. Отбойку руды начинают на отрезную щель, образованную у границ одного из панельных целиков. При проведении нарезных выработок в камерах используют то же самоходное оборудование, что и при проведении уклонов и главных откаточных выработок — 26-тонные автосамосвалы и ПДМ.

Рисунок 11. Камерно-столбовая система разработки на руднике Наван (Ирландия): 1 — закладочный массин; 2 — отбитая руда; 3 и 4 — соответственно верхняя и нижняя подсечные выработки; 5 — перемычка; 6 — отрезной восстающий; 7 — транспортный штрек
Для уменьшения сейсмического эффекта одновременно взрывают с миллисекундным замедлением не более 3—4 рядов скважин. В качестве ВВ используют динамит. Каждым взрывом отбивают 2700—3600 т руды. Компания осуществляет исследования по выявлению широкого диапазона интервалов замедления, позволяющего дистанционно взрывать большое число скважин, не выходя за пределы максимально допустимых • вибраций при массовых взрывах.
Применяемый на руднике погрузчик "Бройт" с емкостью ковша 1,9 м3 с дизельными приводом не имеет механизма передвижения. Он буксируется между забоями, перемещаясь на четырех колесах. В час погрузчик грузит до 300 т руды и может осущест-лять небольшие перемещения около навала породы, используя свой ковш для отталкивания. При погрузке колеса машины застопоривают.
Погрузчик изготовлен в Норвегии и широко используется в скандинавских странах при проходке туннелей, а также на карьерах ряда западноевропейских стран.
При транспортировке до 150м руду к рудоспускам доставляют самоходными ПДМ, а при большем расстоянии — 26-тонными дизельными автосамосвалами.
Закладка камер первой очереди осуществляется классифицированными хвостами обогащения, смешанными с цементом в отношении 1:20 и подаваемыми по скважинам от поверхности до каждого действующего горизонта. Отсюда пульпа поступает по трубам в отдельные камеры.

Рисунок 12. Схема отработки рудного тела на руднике Сулливан (Канада): 1 — наклонный ствол; 2 — конвейерный уклон; 3 — камера дробления руды; 4 — бункер дробленой руды; 5 — нижняя капитальная штольня; 6 — бункер для кусковой руды; 7 — главная штольня; 8 — карьер; 9 — камеры, заполненные гравием; 10 —отрабатываемый целик; 11—песчаный закладочный массив; 12 — вентиляционный восстающий; 13 — отрабатываемая камера
В настоящее время около 95 % руды добывается из целиков (высота их 39—76 м, ширина 9—46 м), расположенных между камерами. Применяют различные схемы их отработки с обрушением руды глубокими скважинами диаметром от 41 до 76 мм.
Длину их стараются выдерживать в пределах 18—26 м, но иногда она достигает и 30 м. Запасы обрушенной руды во вторичной камере составляют полугодовую добычу рудника.
Целики высотой 92 м обрушаются поэтапно с образованием отрезной щели. После взрывания "рудных корок" появляется некоторое разубоживание. При выпуске рудной массы необходимо вторичное дробление.
В результате отработки нижних горизонтов и применения массовой отбойки руды произошло обрушение пород висячего бока и растрескивание массива ранее оставленных целиков. Поступление свежего воздуха и воды с поверхности и по старым выработкам привело к интенсивному окислению сульфидной руды, оставленной в целиках на протяжении 10—30 лет. Эта руда склонна к самовозгоранию. Температура пород на границе с подземным пожаром в целике ^9-1 достигала 230 °С. Добыча руды в таких условиях представляет большую опасность из-за повышенной концентрации в рудничной атмосфере S0>2> и СО, высоких температур и пожароопасной пыли.
Целики по степени опасности разделены на следующие двй; класса: с очень горячей раскаленной рудой, склонной к спеканию (А), и теплой (Б) —с выделением C0>2>,
Меры предосторожности, соблюдаемые на руднике, заключаются в следующем . На скреперном горизонте выпуск руды осуществляется только из одной дучки. Ликвидация зависаний производится лишь взрывным способом. Поскольку при работе скреперных тросов возможно искрообразование, то на отрезке 4,5 м по обе стороны от скрепера их заменяют цепями.
Основной особенностью погрузки горячей руды является сооружение бетонной перемычки между скреперной лебедкой и рудоспуском. В ней устроены отверстия минимального размера для перемещения троса, людей и обзора выработки. В выработки скреперования подается мощная струя свежего воздуха.
Установлены следующие правила при выемке целиков, относящихся к классам А и Б:
в очистных забоях работают по три человека в специальной защитной одежде и снабженные противогазами;
два человека заходят в скреперную выработку, а третий остается у входа;
не разрешается вести взрывные работы в соседних скреперных выработках;
к рабочей дучке с образовавшимся зависанием не разрешается подходить вдвоем.
Вторичное дробление осуществляется взрыванием только одного шпура. Используются патроны ВВ в асбестовой оболочке и электродетонаторы. Взрывание производится из специально оборудованной камеры. Все люди во время взрывания укрываются в этой камере. При отбойке горячей руды применяются водонапол-ненные ВВ и детонирующий шнур в асбестовой оболочке.
Для ликвидации высоких зависаний были испытаны снаряды с алюминизированным ВВ типа МС1М. Рудник обычно работает в 2 смены в течение 5 дней в неделю. При очень горячей руде работы ведутся непрерывно, со сменой бригад на рабочих местах. Быстрый выпуск руды позволяет снизить опасность возникновения пожара и избежать спекания руды. Выпуск ее из блока начинается из самой дальней от скреперной лебедки дучки, остальные — изолируются бетонными перемычками. Оценка состояния руды производится в вагонетках или визуально в дучках. Осуществляется она и в потенциально "горячих" целиках с целью определения опасных в пожарном отношении зон. В случаях, когда встречается горячая руда, выпуск ведется до появления пустых пород. Если выходит раскаленная руда из дучки, то она закрывается бетонной перемычкой и выпуск продолжается из соседних участков. В рудоспусках и бункерах при поступлении горячей руды происходит ее цементация, особенно при наличии воды. Поэтому руда в них находится непродолжительное время. Проветривание мест разгрузки руды из рудоспусков осуществляется свежей струей. Используется также водяное орошение в погрузочных пунктах. Рудоспуски закрепляют бетоном или армируют стальными листами.
За всеми работами ведется тщательный надзор, замеряется температура во всех взрывных скважинах. Заряжание их производится в минимальные сроки для уменьшения времени соприкосновения ВВ с горячей рудой. При ее температуре от 54 до 65 °С используются только предохранительные ВВ, при 65—93° применяются предохранительные ВВ в сочетании со специальными мероприятиями, а при температуре выше 93 °С взрывные работы запрещаются.
На всех участках с пожароопасной рудой оборудованы спасательные станции для пребывания в них при аварийных ситуациях всех работающих в течение 24 ч. Особое внимание уделяется вентиляции пожароопасных зон и главным образом проветриванию скреперных выработок. Очень важно своевременно воздвигать перемычки в нерабочих дучках и скреперных выработках. Загазо-1 ванность и запыленность скреперных штреков требует увеличения скорости движения воздуха. Сначала для этой цели использовались вентиляторы частичного проветривания, которыми создавалось соответствующее движение воздуха в скреперных штреках. Однако большой его приток может способствовать возникновению пожаров. В настоящее время на исходящей струе скреперных штреков создают давление воздуха ниже атмосферного, что предотвращает проникновение воздуха через дучки к горячей руде.
Проведенный компанией анализ показал, что себестоимость добычи 1 т горячей руды с соблюдением всех мер безопасности увеличилась на 20—25 %, а извлечение металла снизилось из-за процесса окисления руды и изменения порядка выпуска.
В 1964 г. на руднике введена служба по механике горных пород. Ее первоначальными целями было оказание помощи в совершенствовании систем разработки, последовательности и интенсивности выемки; обеспечении наиболее безопасных и экономичных способов выемки рудных целиков и обеспечении извлечения камерного запаса после возобновления очистной выемки ниже гор. 1190м. Эта служба консультирует горняков по вопросам выбора поперечных сечений выработок и способов их поддержания. Инженеры по механике горных пород участвуют при разработке новых проектов, включая планирование отработки целиков.
С целью замеров смещений дневной поверхности и обрушения вышележащих пород на большой площади была создана обширная сеть наблюдательных станций. Для измерения сдвижения пород и напряжений в целиках использовались многопроволочные экс-5 тензометры. Цель исследований заключалась в замере опасного уровня напряжений в отдельных целиках и их группах. Среднее максимальное напряжение изменялось от 10 до 50 МПа, в отдельных случаях достигало 112 МПа. Эти замеры обеспечивают информацию, необходимую для оптимизации параметров системы разработки.
Годовая производительность рудника составляет около 2,5 млн. т Производительность труда подземного рабочего достигает 20 т/смену.
Системы применяют для отработки ценных руд в сложных горно-технических условиях.

Рисунок 13. Панельно-слоевая система разработки с гидравлической закладкой; 1 — наклонная рудная залежь; 2 —закладка; 3 — панельный штрек; 4 — очистная заходка.
Конструктивное решение систем этого типа зависит от размеров и мощности залежи.
Примером однослойной выемки может служить практика рудника "Вуонос" (Финляндия), отрабатывающего пологую залежь крепких руд мощностью 5—6 м в неустойчивых кварцитах (рисунок 14). Разрезной штрек в центре камеры имеет ширину 6—7 м с углом наклона стенок 60°. В дальнейшем панели отрабатывают параллельными заходками шириной 6—7 м с одной из сторон разрезного штрека в двух забоях одновременно. Высота штрека и заходок равна мощности залежи. Применяют анкерное крепление кровли и гидравлическую закладку. В торце заходок сооружают бетонные перемычки толщиной 70см. Наклонные стенки заходок позволяют использовать материал малой прочности. Потери руды составляют 3 %, сменная производительность труда рабочего — 9,5 т.
Примером двухслойной выемки является практика рудника Пальковице" (ПНР), отрабатывающего пологую залежь мощностью до 9м в относительно устойчивых известняках и доломитах (рисунок 14). Первоначально проходят верхнюю слоевую заходку шириной до 10м, имеющую вид траншеи. Работы ведут в двух встречных забоях (в одном — бурение, в другом — погрузка и транспортирование руды). Боковая сторона заходки со стороны закладочного массива ограждена щитами. После сбойки и крепления кровли и боковой стенки верхней заходки по всей длине панели начинают нарезать нижнюю заходку, оставляя со стороны закладочного массива временный целик шириной понизу 4м и поверху 2м. Для отбойки руды в нижней заходке применяют нисходящие вертикальные скважины. По мере выемки руды в нижней заходке

Рисунок 14. Схема сплошной выемки заходками с закладкой выработанного пространства: а и б — соответственно планы верхнего и нижнего слоев; 1 — верхняя слоевая заходка; 2 — рудная залежь; 3 — песчаная закладка; 4 — ограждающие щиты; 5 — временный ограждающий целик; 6 — заезды на слоевые заходки; 7 — нижняя заходка; 8 — буровые скважины
ее боковую стенку со стороны рудного массива укрепляют щитами и анкерами. В последнюю очередь вынимают целик и выработанное пространство заполняют песчаной закладкой.
Система позволяет при большой мощности залежи и малопрочной закладке достичь высокой степени извлечения. Потери и ра-зубоживание руды находится на уровне 5—6 %.
Примером многослойной слоевой выемки руды является практика рудников Норильского ГМК.
В зависимости от устойчивости кровли применяют варианты с восходящим, нисходящим и комбинированным порядком выемки слоев.
При системе с комбинированным порядком выемки слоев верхний подкровельный слой отрабатывают с опережением (рисунок 16), остальную часть — с восходящим порядком выемки слоев потол-коуступным забоем. Вариант применяют при слабых и неустойчивых породах кровли.
Параметры системы: длина панели 120 м, ширина ленты 8м, высота слоя 3—4 м, максимальная высота обнажения 7м, недоза-кладка выработанного пространства 3—3,5 м. Подготовка панели осуществляется ортами и вентиляционными закладочными выработками. Рудоспуски располагают на границе, посредине панели с выходом на каждую ленту (см. рисунок 15) или на флангах панелей с выходом на слоевые орты. Последнюю схему применяют при мощности залежи менее 12—15 м для сокращения числа рудоспусков за счет увеличения длины транспортирования.

Рисунок 15. Система разработки со сплошной слоевой выемкой руды (комбинированный порядок выемки слоев): 1 — вентиляционно-ходовой восстающий; 2 — рудоспуски; 3 — вентиляционно-закладочный квершлаг; 4 — верхний (подкровельный) слой; 5 — слоевые орты; 6 и 7 — соответственно вентиляционные восстающий и квершлаг; 8 — выемочные слои; 9 — откаточный квершлаг; 10 и 11 — соответственно транспортный и фланговый съезды
Очистные работы ведут одновременно в двух-трех лентах с последовательным выполнением операций по бурению, взрыванию, погрузке — доставке руды, креплению и закладке.
Отбойку руды осуществляют, как правило, крутонаклонными (55—70°) шпурами диаметром 42—56 мм и глубиной 4 м, уход забоя за цикл составляет 8,5 м, выход руды — 1,5—2 м3/м.
К погрузке — доставке руды приступают после набора закладкой прочности в верхней части слоя (через 1—3 сут) не менее 0,7 МПа для погрузочно-доставочных машин (ПДМ) с общей массой 15 т; 1 МПа —с массой 30 т и 1,5 МПа — с массой 35—40 т. Цикл очистной выемки осуществляется за четыре смены. Время, затраченное на отработку слоя, равно 19 сут, продолжительность закладочных работ составляет 5 сут, а время затвердевания закладки —12 сут.
Значения производительности оборудования, применяемого при разработке месторождения системой со сплошной слоевой выемкой руды (комбинированный порядок выемки слоев), приведены ниже.
Бурильная установка:
"Симба 312" 160 м/смену
"Бумер 136" 78 м/ч
Погрузочно-транспортная машина ЛФ-12 1500 т/сут
При варианте с нисходящей слоевой выемкой рудное тело также разделяют на панели и подготовку осуществляют диагональным наклонным съездом. Опережение очистных работ в панели, по сравнению со смежной, должно быть не менее 30 м, а фронт очистной выемки может иметь горизонтальную или чаще ступенчатую форму. При этом расстояние между ближайшими стенками очистных заходок должно составлять не менее 8—24 м. Очистные работы в слоях ведут тупиковыми выработками сразу на все сечение или с предварительной проходкой разрезной выработки.
Параметры системы (вариант со слоевой выемкой руды) и показатели буровзрывных работ

На почве очистной заходки перед подачей закладки оставляют слой рудной мелочи высотой 0,3—0,5 м, на который укладывают пленку. Прочность закладки в кровле на момент ее обнажения должна быть не менее 8 МПа при толщине несущего слоя закладки не менее 2 м и ширине обнажения не более 8 м. С боковой стороны очистной ленты прочность закладки должна составлять не менее 1 МПа при высоте обнажения до 7 м. Угол наклона выемочных слоев должен быть не ниже (3—4°)' угла растяжения закладочной смеси. Основные технико-экономические показатели системы разработки со сплошной слоевой выемкой руды приведены в таблице 2
Таблица 2 - Основные ТЭП

Развитие систем разработки мощных пологих залежей происходит в направлении сокращения потерь руды в целиках, что достигается применением камерных систем с двухстадийной выемкой и твердеющей закладкой и систем со сплошной слоевой выемкой.
Эффективность разработки этими системами зависит от оптимизации параметров панелей, месторасположения рудоспусков, рациональной организации очистных, закладочных работ и их интенсификации.
3. Выбор системы разработки
Правильный выбор систем разработки рудных месторождений имеет важное значение и в основном определяет эффективность их разработки.
На большинстве рудных месторождений по горнотехническим условиям можно применять несколько разных систем разработки. Однако для каждого месторождения должна быть выбрана наиболее рациональная система, удовлетворяющая разным техническим и экономическим требованиям, среди которых самыми важными являются:
обеспечение безопасных и здоровых условий труда для работающих;
достижение минимальной себестоимости продукции;
выполнение заданной производительности рудника по добыче руды с соблюдением принятых кондиций по её качеству;
рациональное использование недр, экономически обоснованный минимум потерь и разубоживания руды, а также комплексная разработка полезных компонентов и месторождений.
Выбор систем разработки производим по постоянным и переменным факторам.
Все системы разработки рудных месторождений с экономической точки зрения могут быть разделены на две группы.
К первой относятся системы разработки, у которых себестоимость добычи 1 тонны руды небольшая, но потери и разубоживание повышены: Это системы с естественным поддержанием очистного пространства при оставлении постоянных целиков и системы с обрушением руды и вмещающих пород.
Вторая группа включает системы разработки с небольшими потерями и разубоживанием, но с большой себестоимостью 1 тонны руды. К ним относят системы с искусственным поддержанием очистного пространства.
Для окончательного выбора системы разработки используем сравнение технико-экономический параметров систем.
Так как в пределах месторождения рудное тело невыдержанное по мощности, средняя мощность равна 24 м, выдержанное по углу наклона 12, залегание пологое, устойчивость руды и вмещающих пород непостоянна и изменяется от средней до неустойчивой, а также резко снижается в местах тектонических нарушений, глубина залегания от 1000 до 1300 м, земная поверхность охраняется, руда ценная, сульфидная склонная к слёживанию и самовозгоранию, то для таких условий возможность выбора системы разработки весьма узка.
Целесообразно выбрать систему разработки с минимальными потерями и разубоживанием (из-за высокой ценности руды), с закладкой выработанного пространства (из-за необходимости сохранения земной поверхности, так как (Н/m)‹200, большой глубины разработки и удароопасности месторождения) твердеющими смесями (из-за опасности самовозгорания руды). К таким системам относится сплошная (без оставления целиков) слоевая система разработки с закладкой выработанного пространства твердеющими смесями, потому что она обеспечивает необходимые параметры и технико-экономические показатели по системе разработки и сплошная камерная система разработки с закладкой выработанного пространства.
3.1 Область рационального применения сплошных слоевых систем разработки
Большая мощность перекрывающих друг друга залежей руд различного качества, экономическая целесообразность первоочерёдной отработки сплошных (богатых) руд и необходимость сохранения вкрапленных для последующей выемки обусловили управление горным давлением при очистной выемке полной закладкой выработанного пространства твердеющими смесями.
Сплошные системы разработки рекомендуется применять при отработке сильно нарушенных руд, а при выемке руд любой нарушенности на глубинах свыше 500м.
Сплошные системы разработки характеризуются отсутствием в выработанном пространстве рудных целиков, воспринимающих нагрузки вне области защиты рудным массивом. Ширина такой области в условиях рудников Талнаха лежит в пределах 40 - 70м.
К классу сплошных систем разработки с твердеющей закладкой относятся сплошная слоевая, сплошная камерная и камерно-слоевая.
Особенность применения на рудниках Талнаха сплошных систем с твердеющей закладкой заключается в следующем:
- глубина залегания рудных залежей 150-1500м, угол падения 3-25, мощность залежей сплошных руд до 40м;
- большие площади рудных залежей;
-высокая ценность сплошных руд;
- сильная тектоническая раздробленность большинства рудных полей и в частности рудников "Октябрьский" и "Таймырский";
- нарушенность сплошных руд и пород непосредственной почвы и кровли от весьма сильной до слабой, иногда резко изменяется в плане и разрезе;
- потенциальная удароопасность сплошных руд и ряда вмещающих пород
- склонность сплошных руд к слёживанию и самовозгоранию.
Исходя из горно-геологических условий и принципов сплошной слоевой системы разработки горизонтальными или слабонаклонными слоями, возможны три порядка выемки рудного тела по его мощности (три варианта системы):
-снизу вверх ( восходящий порядок выемки );
-сверху вниз ( нисходящий );
-сочетание первых двух (комбинированный).
А также имеет место вариант отработки рудного тела камерными системами разработки, а именно камерно-столбовая система отработки с целиков и заполнением отработанных камер твердеющими смесями.
Общим для всех вариантов является разделение рудного тела на выемочные участки (панели) с возможным независимым ведением работ на каждом из них.
Сущность восходящего порядка выемки слоёв состоит в том, что рудное тело в пределах панели разделяется на вертикальные полосы (ленты), которые отрабатываются слоями снизу вверх, причём как правило между кровлей слоя и поверхностью закладки оставляют свободное так называемое технологическое пространство.
Восходящий порядок выемки слоёв может применяться при разработке слабо и средне нарушенных руд на глубинах до 800 м. Этот вариант может применяться и в том случае, если в отрабатываемой ленте встречаются изолированные участки сильно нарушенных руд длиной не более двукратной ширины ленты ( очистной выработки ).
Преимущества восходящего порядка выемки: сравнительно небольшая продолжительность развития работ в панели; возможность совмещения во времени в одной очистной выработке процессов бурения, погрузки и доставки руды; не высокие требования к прочности закладки, обнажённой только в стенке очистной выработки; сравнительно простые схемы подготовки и проветривания.
Недостатки этого варианта: возможность применения до определённых пролётов и глубины разработки вследствие разрушения руды в стенке очистной выработки и консольно-нависающем массиве; невозможность использования в сильно нарушенных рудах; сравнительно не высокая производительность панели из-за ограниченного числа одновременно действующих забоев.
Сущность нисходящего порядка выемки слоёв заключается в том, что рудное тело по мощности разделяют на горизонтальные (слабо наклонные) слои, которые отрабатывают заходками (одновременно или последовательно) независимо друг от друга с некоторым опережением верхними нижних. Нисходящий порядок выемки слоёв может применяться при разработке руд любой нарушенности, залегающих на любых глубинах.
Преимущества нисходящего порядка выемки слоёв: возможность применения в любых горно-технических условиях; все слои, кроме первого, находятся в разгруженной зоне; меньшая по сравнению с восходящей выемкой изрезанность рудного массива подготовительными выработками в результате применения слоёв большей высоты; более высокая производительность панели за счёт возможности вовлечения в одновременную работу большего числа очистных забоев.
К числу существенных недостатков нисходящего порядка отработки слоёв относятся: большее время (по сравнению с восходящей выемкой) для достижения максимальной производительности панели; значительный удельный объём нарезных работ при расположении в каждой заходке разрезных штреков; высокие требования к прочности закладки и технологии закладочных работ при формировании несущего слоя (пачки слоёв) искусственной кровли; сложность схемы проветривания заходок.
Сущность комбинированного порядка выемки слоёв заключается в том, что верхний подкровельный слой отрабатывают с опережением, а остальную часть рудного тела аналогично варианту с восходящим порядком выемки слоёв.
Комбинированный порядок выемки слоёв может применяться при отработке слабо и сильно нарушенных руд, а также при сильно нарушенных и раздробленных породах кровли. Этот вариант можно также применять при разработке участков рудного тела, в нижней части которого (в разрезе) залегают слабо или средне нарушенные руды, а в верхней - сильно нарушенные. В таком случае сильно нарушенные руды отрабатывают нисходящими слоями, а надработанные слабо или средне нарушенные - восходящими.
Надработкой рудного тела верхним (подкровельным) слоем, расположенным как правило в наиболее нарушенных породах кровли и рудного тела, очистной забой разгружается от повышенного опорного давления, приводится в неудароопасное состояние призабойная часть сплошных руд и существенно уменьшается влияние прогиба на рудную консоль. За счет комбинированного порядка расширяется область применения технологии восходящей выемки, однако остаются недостатки этого варианта, кроме первого.
Вариант отработки запасов камерами, заключается в том, что рудное тело по мощности не разделяют на слои, а отрабатывают сразу на всю мощность.
Преимущества: меньшая по сравнению со слоевой выемкой изрезанность рудного массива подготовительными выработками в результате отработки на всю мощность; более высокая производительность панели за счёт возможности вовлечения в одновременную работу большего числа очистных забоев.
3.2 Область рационального применения камерных систем разработки
Систему применяют для отработки мощных залежей (20— 30м) ценных руд, если стоимость дополнительно извлекаемого металла за счет сокращения потерь руды компенсирует затраты на закладку выработанного пространства. Вмещающие породы средней устойчивости и устойчивые.
По сравнению с двухстадийной выемкой эта система обладает преимуществом, так как для закладки используется материал относительно невысокой прочности, сокращаются потери руды и затраты на поддержание выработанного пространства из-за отсутствия необходимости возобновления работы на ранее отработанных первичными камерами участках.
Вариант системы для отработки мощных горизонтальных залежей изображен на рисунке 16.
Подготовка залежи к отработке заключается в проведении панельных штреков, располагаемых на границах панели на уровне верхней и нижней подсечек. Подсечные выработки проходят в руде на контакте с вмещающими породами и располагают таким образом, чтобы на границе секций оставался ленточный целик.
Параметры системы: ширина панели 120—150 м, ширина секций (длина камер) 20—30 м, ширина камер-прирезок 6—10 м, высота камер соответствует мощности рудного тела и равна 20—40 м.
Очистные работы производят в камерах, расположенных ступенчато, параллельно фронту очистной выемки. Разбуривание массива и подача закладки осуществляются через выработки верхней подсечки. Погрузочно-доставочные орты в нижней подсечке соединяют через 80—120 м транспортным штреком с рудоспуском.

Рисунок 16. Камерная система со сплошной выемкой руды и закладкой
выработанного пространства: а и б — соответственно планы погрузочно-транспортного и бурозакладочного горизонтов; 1 и 2 — соответственно камеры в стадии очистной выемки и затвердевания закладки; 3 — погрузочно-транспортный комплекс; 4 и 5 — соответственно камеры в стадии нагнетания аакладки и подготовки; 6 — закладочный трубопровод; 7 — перемычка из отбитой руды.
Особенность камерной системы со сплошной выемкой для наклонных залежей (рисунок 17) заключается в том, что подготовку осуществляют диагональным съездом, пройденным под углом 6градусов.
Транспортно-доставочные выработки проводят в днищах камер, смежных с отрабатываемой камерой. Отбойку руды осуществляют из нижней рудовыпускной траншеи. Выемку в пределах панели производят в направлении по падению. При длине фронта панели 120м вдоль нее размещаются от 2 до 4 камер длиной 60, 40 или

30 м и шириной 6—8 м. Диаметры скважин на отбойке составляют 52, 65, 80 и 105 мм, выход руды 3—5,5 м3/м, удельный расход ВВ 1,2—1,6 кг/м3.
Основные показатели системы со сплошной выемкой
Объем горно-подготовительных работ на 1000 т
руды, м3 58—87
Потери, % 2—5
Разубоживание, % Ю
Годовая производительность панели, тыс. т . . 300
Сменная производительность труда рабочего, т 23—28
Помимо перечисленных, можно отметить следующие достоинства этой системы разработки: возможность совмещения буровых и погрузочно-доставочных работ в камере, независимость процессов закладки и очистной выемки, безопасность работ, а недостатком являются трудности при поддержании днища, особенно при бурении и отбойке руды из нижней подсечки.
При использовании погрузочно-доставочных машин с дистанционным управлением эффективность работ при этой системе повышается за счет сокращения потерь, и область применения системы может быть существенно расширена.
4. Конструктивно-технологические решения по системам разработки
4.1 Конструкции систем
4.1.1 Слоевые системы
В соответствии с подготовкой месторождения рудное тело по простиранию разбивается на ленты длиной 120 м и шириной 8 м. Ленты отрабатываются слоями высотой 4 м. при комбинированном способе с последующей закладкой отработанного пространства твердеющей смесью. Слои отрабатываются после проходки и закладки двух подкровельных штреков.
Для прохода самоходного оборудования на слои по границам панели с почвы рудного тела проходится панельный уклон, с которого проходятся слоевые заезды-уклоны. Очистные работы начинаются после проведения разрезного штрека (РШ) размерами 44 м. по почве рудного тела.
Конструируя систему разработки, выбираем следующие параметры подготовительно-нарезных выработок:
- откаточный квершлаг, расположенный в 10 м под рудным телом, сечением вчерне S=9 м2;
- вентиляционно-закладочный штрек, расположенный в 15 м. над рудным телом, сечением S=14 м2;
- транспортные штреки, пройденные на границе этажа в рудном теле, сечением S=14 м2;
- вентиляционный восстающий-рудоспуск (ВВР) сечением 4 м2, обслуживающий 1 панель;
- разрезной штрек по почве первого слоя рудного тела, сечением 16 м2.
В процессе разработки принимаем следующие условия:
1. При проведении подготовительно-нарезных выработок в рудном массиве нормативные потери и разубоживание соответственно n=1 и р=1 , при очистной выемке n=1 , р=12 .
2. При проведении подготовительно-нарезных и очистных выработок используется дизельное самоходное оборудование (ДСО).
3. Для расчета ТЭП слоевой системы разработки с закладкой выработанного пространства и выемкой слоев снизу вверх принимаем расчетный блок равным одной ленте шириной 8 м, длиной 120 м, высотой равной мощности – 24м.
Технология отработки:
Проходится разрезной штрек первого слоя с размерами 44 м, сечением 16 м2, длиной 120 м.
Следующей стадией очистных работ является расширение РШ первого слоя до размеров слоя 88 м.
После полной отгрузки отбитой руды и зачистки почвы производится обуривание вышележащего слоя на 4м. На границах отработанного слоя возводятся перемычки и производится частичная его закладка твердеющей смесью с оставлением недозаложеного пространства высотой 4м. Заезд самоходного оборудования на слой осуществляется по выше лежащему слоевому орту через 3-5 дней после уплотнения твердеющей закладки до 15кгс/см2., производится отбойка.
В дальнейшем пункт №3 повторяется до полной отработки ленты
.
Рисунок 18. Сплошная слоевая система разработки с комбинированным порядком выемки слоев

Рисунок 19. Сплошная слоевая система разработки с нисходящим порядком выемки слоев
4.1.2 Камерная система
В соответствии с подготовкой месторождения рудное тело по простиранию разбивается на камеры длиной 120м и шириной 8м. Камеры отрабатываются частями длиной по 40м. с последующей закладкой отработанного пространства твердеющей смесью. Камеры отрабатываются после проходки вентиляционного и бурового штреков.
Для прохода самоходного оборудования в камеру по границам панели с почвы рудного тела проходится панельный уклон, с которого проходятся заезды-уклоны. Очистные работы начинаются после проведения бурового штрека (РШ) размерами 44 м. по почве рудного тела.
Конструируя систему разработки, выбираем следующие параметры подготовительно-нарезных выработок:
- откаточный квершлаг, расположенный в 10 м под рудным телом, сечением вчерне S=9 м2;
- вентиляционно-закладочный штрек, расположенный в 15 м. над рудным телом, сечением S=14 м2;
- транспортные штреки, пройденные на границе этажа в рудном теле, сечением S=14 м2;
- вентиляционный восстающий-рудоспуск (ВВР) сечением 4 м2, обслуживающий 1 панель;
- разрезной штрек по почве рудного тела, сечением 16 м2.
В процессе разработки принимаем следующие условия:
1. При проведении подготовительно-нарезных выработок в рудном массиве нормативные потери и разубоживание соответственно n=1 и р=1 , при очистной выемке n=1 , р=12 .
2. При проведении подготовительно-нарезных и очистных выработок используется дизельное самоходное оборудование (ДСО).
3. Для расчета ТЭП слоевой системы разработки с закладкой выработанного пространства и выемкой слоев снизу вверх принимаем расчетный блок равным одной ленте шириной 8 м, длиной 120 м, высотой равной мощности – 24м.
Технология отработки:
Проходится буровой штрек с размерами 44 м, сечением 16 м2, длиной 120 м.
Проходится отрезной восстающий и разделывается отрезная щель.
Производится обуривание камеры параллельными веерами, отбойка производится на отрезную щель.
После полной отгрузки отбитой руды и зачистки почвы на границах отработанной камеры возводятся перемычки и производится закладка твердеющей смесью.
Отработка целика начинается с проходки разрезного штрека, по почве и расширения его до размеров 8х8м. После чего происходит его закладка.
Далее отработка ведется аналогично отработки камеры.
Рисунок 20. Камерная система разработки
4.2 Расчет параметров основных технологических процессов очистной выемки
В данной дипломной работе произведен расчет основных параметров технологических процессов.
Слоевая система: вариант с комбинированным порядком выемки слоев
Обуривание слоя производится СБУ BOOMER, на высоту 4м., диаметром 0,042м. Направление бурения восходящее, расположение шпуров в ряду параллельное. Отбойка ведется на выработанное пространство. Для отбойки применяется гранулит АС-8, заряжание производится зарядной машиной CHARMEC 1097B.
Слой отрабатывается одним из следующих способов:

Рисунок 21. Вариант отработки слоя №1

Рисунок 22. Вариант отработки слоя №2
Вариант №2 более предпочтителен, так как при данной схеме отработки улучшаются показатели дробления руды и уменьшается разлет кусков.

Доставка отбитой рудной массы производится СДО ST-8В до рудоспусков, расположенных в самих лентах, через каждые 16м., в крест простирания, то есть один рудоспуск на две ленты. Производительность СДО равна 160т/час.
После полной отгрузки отбитой руды и зачистки почвы на границах отработанного слоя возводятся перемычки и производится частичная его закладка твердеющей смесью с оставлением недозаложеного пространства высотой 3,5м, верхний слой 0,5м на который предусматривается заезд самоходного оборудования закладывается 100кгс/см2.Заезд самоходного оборудования на слой осуществляется по выше лежащему слоевому орту через 3-5 дней после уплотнения твердеющей закладки до 15кгс/см2. После обуривания вышележащего слоя на 4м, и его отработки цикл работ повторяется.
Закладочный материал подается с вентиляционно-закладочного горизонта, через пробуренные скважины, диаметром 150мм. Скважины пробурены через каждые 40м., данное расстояние принято из условий растекания закладочной смеси. Перед подачей закладочной смеси на соответствующих выработках ставятся перемычки.
Основными требованиями к закладочному массиву как средству управления горным давлением – сохранение устойчивости при его обнажении. Устойчивость закладки в обнажениях определяется ее технической прочностью, способной противостоять воздействию статических и динамических нагрузок.
В соответствии с технологическими требованиями все закладочные смеси разделяются по прочности на марки: М-10, М-20, М-30, М-40, М-60, М-80, М-100.

Слоевая система: вариант с нисходящей выемкой слоев
Обуривание слоя производится СБУ SOLO, на всю высоту 10м., с бурового штрека. Диаметр скважины 0,077м. Направление бурения восходящее, расположение скважин в ряду полувеерное. Отбойка производится параллельными веерами, на компенсационные камеры. Для отбойки применяется гранулит АС-8, заряжание производится зарядной машиной CHARMEC 1097B.

Рисунок 23. Схема обуривания и "роза" недозаряда в веере для отбойки слоя



Доставка отбитой рудной массы производится СДО ST-8В до рудоспусков, расположенных в самих лентах, через каждые 16м., в крест простирания, то есть один рудоспуск на две ленты. Производительность СДО равна 160т/час.
Закладочный материал подается с вентиляционно-закладочного горизонта, через пробуренные скважины, диаметром 150мм. Скважины пробурены через каждые 40м., данное расстояние принято из условий растекания закладочной смеси. Перед подачей закладочной смеси на соответствующих выработках ставятся перемычки.
Основными требованиями к закладочному массиву как средству управления горным давлением – сохранение устойчивости при его обнажении. Устойчивость закладки в обнажениях определяется ее технической прочностью, способной противостоять воздействию статических и динамических нагрузок.
В соответствии с технологическими требованиями все закладочные смеси разделяются по прочности на марки: М-10, М-20, М-30, М-40, М-60, М-80, М-100.
После затвердевания закладочной смеси начинают отработку нижней ленты.

Камерная система:
Обуривание камеры (целика) производится СБУ SOLO, на всю высоту камеры (целика), с бурового штрека. Диаметр скважины 0,077м. Направление бурения восходящее, расположение скважин в ряду полувеерное. Отбойка производится параллельными веерами, на компенсационные камеры. Для отбойки применяется гранулит АС-8, заряжание производится зарядной машиной CHARMEC 1097B.
Камера отрабатывается в три захода, длинами по 40м.

Рисунок 24. Схема обуривания и "роза" недозаряда в веере для отбойки камеры




Рисунок 25. Схама обуривания и "роза" недозаряда в веере для отбойки целика


Доставка отбитой рудной массы производится СДО ST-8В до участковых рудоспусков, расположенных на доставочных уклонах, через каждые 40м. Производительность СДО равна 160т/час.
Закладочный материал подается с вентиляционно-закладочного горизонта, через пробуренные скважины, диаметром 150мм. Скважины пробурены через каждые 40м., данное расстояние принято из условий растекания закладочной смеси. Перед подачей закладочной смеси на соответствующих выработках ставятся перемычки.
Основными требованиями к закладочному массиву как средству управления горным давлением – сохранение устойчивости при его обнажении. Устойчивость закладки в обнажениях определяется ее технической прочностью, способной противостоять воздействию статических и динамических нагрузок.
В соответствии с технологическими требованиями все закладочные смеси разделяются по прочности на марки: М-10, М-20, М-30, М-40, М-60, М-80, М-100.
После затвердевания закладочной смеси начинают отработку смежной камеры.


4.3 Источники потерь и разубоживания
К источникам потерь в данных условиях отработки можно отнести потери:
камерная система:
потери неотбитой руды на боковом контакте;
потери на крайних камерах;
потери руды в виде рудной корки на стенках закладочного массива, при проходке первой камеры таких потерь не будет;
при проходке смежной камеры потери возникнут со стороны первой камеры;
потери в виде рудной мелочи и по почве камеры;
потери отбитой руды на плинтусах.
Так же есть потери в местах геологических нарушений, связанные с оставлением предохранительных целиков. Эти потери являются наиболее крупными.
Разубоживание в основном представлено закладочным материалом, отбиваемым с отработкой соседней камеры, а так же породами, прихватываемыми в почве и кровле рудного тела и в местах с невыдержанной мощности:
разубоживание закладкой при проходке сопряжений;
разубоживание руды на боковом контакте;
разубоживание в крайних камерах;
разубоживание на стенках закладочного массива;
разубоживание породой при проходке торцов;
разубоживание закладкой за счет выполаживания слоя;
разубоживание закладкой (мелочью) по почве.
слоевая система:
потери неотбитой руды на боковом контакте;
потери на крайних лентах;
потери руды в виде рудной корки на стенках закладочного массива, при проходке первой ленты таких потерь не будет;
потери в виде рудной мелочи и по почве ленты;
потери отбитой руды на плинтусах.
Так же есть потери в местах геологических нарушений, связанные с оставлением предохранительных целиков. Эти потери являются наиболее крупными. Разубоживание в основном представлено закладочным материалом, отбиваемым с отработкой соседней ленты, а так же породами, прихватываемыми в почве и кровле рудного тела и в местах с невыдержанной мощности:
разубоживание закладкой при проходке сопряжений;
разубоживание руды на боковом контакте;
разубоживание в крайних лентах;
разубоживание на стенках закладочного массива;
разубоживание породой при проходке торцов;
разубоживание закладкой за счет выполаживания слоя;
разубоживание закладкой (мелочью) по почве.
4.4 Расчет основных технико-экономических показателей систем разработки
Сравнение выбранных систем отработки будет произведено постатейно, рассчитана участковая себестоимость одной тонны добытой руды. Окончательный вывод о целесообразности применения той или иной системы разработки будет сделан на основе чистой прибыли, получаемой с одной тонны погашенных балансовых запасов.
Основные технико-экономические показатели для сплошной слоевой системы разработки с комбинированным порядком выемки слоев:








Основные технико-экономические показатели для сплошной слоевой системы разработки с нисходящим порядком выемки слоев:








Основные технико-экономические показатели для камерной системы разработки:








Основные технико-экономические показатели для камерной системы разработки (выемка целика):










4.3 Технико-экономический эффект от замены сплошной слоевой системы разработки камерной системой разработки

Из приведенной таблицы видно, что затраты на одну тонну добытой рудной массы у камерной системы на 44 рублей меньше, чем у слоевой системы с нисходящим порядком выемки слоев и на 60 рубля меньше, чем у слоевой системы с комбинированным порядком выемки слоев.
Таким образом, видно, что по себестоимости одной тонны добытой рудной массы выиграла камерная система разработки.
Рассчитаем прибыль с одной тонны балансовых запасов:

Данный расчет производился по следующим данным:
содержание металла в руде – 2,62%
цена одной тонны металла – 14000$
извлечение на фабрике – 0,88
Таким образом, видно, что наибольшую прибыль с одной тонны балансовых запасов дает слоевая система с нисходящим порядком выемки слоев.
Для дальнейшей разработки месторождения, рекомендуется увеличить процент применения данной системы разработки, дабы увеличить прибыль предприятия.
Данный вариант системы, может быть применим на всем месторождении, так как конструкция системы позволяет вести отработку рудного тела в любых горно-геологических условиях
5.Охрана труда и промышленная безопасность
5.1 Общие положения
Все горно-строительные работы на руднике "Таймырский" ведутся в соответствии с требованиями "ЕПБ при разработке рудных, нерудных и россыпных месторождений полезных ископаемых подземным способом", "ЕПБ при взрывных работах", "Специальных мероприятий к правилам безопасности при ведении горных и взрывных работ на подземных рудниках НГМК в условиях газопроявлений метана", СНиП 12-03-2001 "Безопасность труда в строительстве" ч.1., "РТПП ведения взрывных работ в подземных условиях", "РТПП по производству закладочных работ", "РТПП по возведению крепей". Общие требования и других руководящих и нормативных документов применительно к горностроительному производству.
1. Все рабочие и служащие, поступающие на рудник, подлежат предварительному медицинскому освидетельствованию и должны иметь заключение о возможности допуска к подземным работам.
2. Работающие непосредственно на подземных работах должны проходить периодическое медицинское освидетельствование не реже одного раза в год.
3. Рабочие, занятые на подземных горных работах, должны быть обучены безопасным методам работы, знать сигналы аварийного оповещения, правила поведения при авариях, места расположения средств спасения и уметь пользоваться ими; иметь инструкции по безопасному ведению технологических процессов, безопасному обслуживанию и эксплуатации машин и механизмов.
4. Рабочие, должны быть обучены профессии, пользованию самоспасателями и первичными средствами пожаротушения, технике безопасности, ознакомлены с запасными выходами и путями следования на поверхность в аварийных случаях и уметь ими пользоваться.
5. Рабочие и специалисты должны быть обеспечены и обязаны пользоваться спецодеждой, спецобувью, исправными защитными касками, очками и другими средствами индивидуальной защиты, соответствующими их профессии и условиям согласно утвержденным нормам.
6. Все используемое на подземных горных работах технологическое оборудование и технические устройства должны иметь сертификат соответствия требованиям промышленной безопасности и разрешение на применение, выданное Госгортехнадзором России.
7. На горизонтах оборудуются в требуемых местах средства связи и оповещения в производственных и аварийных целях.
8. Санитарно-гигиенические условия (температура и влажность воздуха, скорость струи) в подземных выработках должны отвечать требованиям "ЕПБ при разработке рудных, нерудных и россыпных месторождений полезных ископаемых подземным способом" и СНиП 2.2.2.548-96 "Физические факторы производственной среды. Гигиенические требования к микроклимату производственных помещений".
9. Забои подземных выработок перед началом работ должны быть приведены в безопасное состояние путем осмотра и оборки заколов, возведения временной и предохранительной крепи, орошения водой и смывом пыли.
10. При производстве буровзрывных работ и работ со взрывчатыми материалами должны соблюдаться "Единые правила безопасности при взрывных работах".
11. Передвижение людей по выработкам должно осуществляться только по маршрутам, определяемым для данных целей. В зоне очистных и подготовительных выработок вывешиваются дополнительные указатели и знаки.
12. Все подземные сооружения и горные выработки оснащаются проектным оборудованием по оповещению об аварии: телефонной, громкоговорящей и беспроводной связью (СУБР-1СВ) и другими средствами, улучшающими оперативность оповещения и вывода людей из опасных зон.
5.2 Анализ опасных производственных факторов
Все опасные факторы, при строительстве подземных сооружений, в результате которых происходит травматизм разделяются по следующим признакам:
- обрушение пород;
- буровзрывные работы;
- эксплуатация машин и механизмов;
- передвижение людей и грузов.
Основные причины, в результате которых происходят обрушения: отсутствие или низкое качество крепи вследствие нарушении проектов и паспортов крепления, несоответствие принятых технологических решений горно-геологическим условиям ведения работ, применение опасных приемов при оборке заколов, возведении крепи, не приведение забоев в безопасное состояние.
Наибольшее число опасных ситуаций при ведении взрывных работ возникает по вине лиц, производящих эти работы. Причинами несчастных случаев общего характера являются: не обеспечение вывода людей из опасной зоны, преждевременный вход людей в опасную зону, загромождение выработок неубранной отбитой горной массой, вагонетками и различными предметами, небрежная подготовка средств взрывания и некачественное заряжание скважин.
Причины травматизма при эксплуатации машин и механизмов делятся на организационные и технические. К организационным причинам относятся неудовлетворительный надзор за производством, несоблюдение проекта или паспорта работ, нарушение трудовой дисциплины. К техническим причинам относятся: несовершенство конструкции оборудования, в том числе отсутствие средств защиты вращающихся частей, несовершенство отдельных узлов.
Особое внимание при производстве работ обращать на наиболее потенциальные места травматизма трудящихся: работа на высоте, работа с движущимися механизмами и оборудованием, совмещение работ различного назначения и производства на одной площадке, выполнение особо опасных работ, оговоренных в установленном порядке, выполнение работ в электроустановках.
Таблица 38 - Показатели травматизма на руднике "Таймырский"
|
Год |
Списочное число |
Кол-во несчастных случаев |
Тяжёлые несчастные случаи |
Потеряно дней |
Коэф-т частоты,К>ч> |
Коэф-т тяжести,К>т> |
Коэф-т опасности,К>о> |
|
2003 |
700 |
9 |
2 |
230 |
12,8 |
25,6 |
327,7 |
|
2004 |
700 |
7 |
2 |
250 |
10 |
35,7 |
357 |
|
2005 |
700 |
7 |
1 |
260 |
10 |
37,1 |
371 |
5.3 Техника безопасности при строительстве
Комплекс организационных мероприятий и технических средств по профилактике опасностей (вредностей).
Мероприятия по снижению запыленности воздуха
1. Производится забуривание и бурение шпуров и скважин с промывкой водой. При этом рекомендованный расход воды на промывку должен составлять не менее:
а). ручные перфораторы – 3 л/мин;
б). телескопные и колонковые – 4 л/мин;
в). станками БМН – 15 л/мин;
г). установками СБУ – 15 л/мин.
2. Перед скреперованием горной массы производить предварительное ее увлажнение из расчета расхода воды 15-20 л/т. При погрузке орошается горная масса с помощью оросителей ОЗ-1 или туманообразователей ТЗ-1.
3. При креплении горных выработок набрызг-бетоном или торкретировании:
а). предварительно орошать стенки и кровлю горных выработок воздушно-водяной смесью;
б). при загрузке машины сухой смесью за местами работы, по ходу вентиляционной струи, устанавливать воздушно-водяная завеса, создаваемая с помощью туманообразователя ТЗ-1, ТК-1. Завеса должна полностью перекрывать поперечное сечение горной выработки.
Меры по снижению производственного шума
1. Стационарное оборудование, вызывающее шум и вибрацию, устанавливают на изолированных от пола самостоятельных фундаментах.
2. В машинных камерах шум локализуется путем покрытия стен звукопоглощающим материалом.
3. Ручное оборудование выполнять в виброзащитном исполнении.
4. Для защиты от вибрации операторов ПР-22 применяются гибкие ручки РА-2А.
Предупреждение взрыва газов
1. На очистных и подготовительно-нарезных работах предусматривать автоматический контроль за состоянием рудничной атмосферы.
2. Применяемая электроаппаратура в подземных условиях должна быть выполнена во взрывобезопасном исполнении.
3. Транспортирование грузов контактными электровозами применять только на основных откаточных горизонтах со свежей струей. Во всех остальных случаях, откатка осуществляется аккумуляторными электровозами.
4. Для проветривания тупиковых забоев применять вентиляторы местного проветривания.
5. Взрывание забоев производить в межсменные перерывы, после утренней смены.
Мероприятия по безопасному ведению буровзрывных работ
Персонал для взрывных работ должен пройти специальную подготовку. К руководству взрывными работами допускаются горные инженеры и техники эксплуатационной и шахтостроительной специальности. Ответственность за правильное ведение буровых работ на участках возлагается на начальников участка. Горный мастер обязан непосредственно руководить буровзрывными работами. Одной из основ безопасного ведения буровзрывных работ служит паспорт и его строгое выполнение. Паспорт составляется по специальной форме начальником участка и утверждается главным инженером. С паспортами БВР должны быть ознакомлены под роспись ИТР и рабочие.
Забой выработки перед заряжанием шпуров должен быть тщательно осмотрен с целью выявления зависаний или отслоения горной породы.
Противопожарные мероприятия
Противопожарные мероприятия выполняются в соответствии с требованиями безопасности. Водоснабжение подземных горных работ осуществляется от магистральных сетей водопровода, от которых идут ответвления к стволам, для устройства водяных завес в выработках, а также для тушения пожаров в стволах. Прокладываются противопожарные трубопроводы, которые должны обеспечивать подачу воды в количестве не менее 3 м.куб./час на 1 м.квадр. поперечного сечения выработки. На трубопроводах через каждые 250 м предусмотрены пожарные краны. Диаметр трубопровода равен 100 мм, давление в нем равно 4-10 атм.
5.3.1 Противопожарная защита подземных горных выработок и камер, в которых производится эксплуатация и обслуживание дизельного оборудования
Противопожарная защита подземных горных выработок, в которых производится эксплуатация самоходного дизельного оборудования и пунктов обслуживания самоходных машин, выполняется в соответствии с требованиями "Инструкции по безопасному применению самоходного (нерельсового) оборудования в подземных рудниках" (приложение 2 ПБ-06-111-95) и "Специальных мероприятий к правилам безопасности по ведению горных и взрывных работ на подземных рудниках Норильского горно-металлургического комбината им. А.П. Завенягина в условиях газопроявлений метана".
При эксплуатации самоходного дизельного оборудования необходимо также соблюдать "Временные методические указания по контролю за эксплуатацией дизельных двигателей и систем очистки отработанных газов горных машин на карьерах и подземных рудниках цветной металлургии СССР", утвержденные МЦМ СССР 02.01.84 (ПБ-06-111-95, приложение 2, п.60):
- в пунктах обслуживания машин запрещается применение открытого огня, вывешиваются плакаты с надписью "Курить и пользоваться открытым огнем запрещается";
- комплектование противопожарными средствами и материалами проводится в соответствии с проектом;
- запрещается хранить в камерах постороннее оборудование, материалы и предметы, не относящиеся к назначению данных камер;
- заправка машин топливом, маслом должна производиться на складе ГСМ или с помощью самоходной машины (автозаправщика);
- каждая самоходная дизельная машина оснащается индивидуальной стационарной автономной установкой пожаротушения;
- слив масел, горючих жидкостей на почву в подземных выработках не допускается. Обтирочные материалы (пакля, концы и т.п.) должны храниться в металлических плотно закрывающихся ящиках, не более 20 кг в каждом ящике. Использованные протирочные материалы должны собираться в плотно закрывающийся металлический ящик и ежесуточно выдаваться на поверхность.
Комплекс камерных выработок по ремонту и техническому обслуживанию самоходных дизельных машин (гараж, ремонтная база, склад ГСМ), эксплуатируемых на руднике "Скалистый", расположен в околоствольном дворе ВЗС-1 гор. -800 м.
На применение в шахте каждого типа (марки) машин с двигателями внутреннего сгорания должно быть получено разрешение местных органов Госгортехнадзора.
Каждая самоходная машина с двигателем внутреннего сгорания должна быть обеспечена стационарной автономной установкой пожаротушения.
Подробно перечень защитно-профилактических мероприятий по технике безопасности, охране труда и промсанитарии приведен в таблицах 6.2.
Таблица 39 ПЕРЕЧЕНЬ защитно-профилактических мероприятий по охране труда
|
№ пп |
Наименование и характеристика производственной вредности (опасности) |
Источник возникновения |
Защитно-профилактические мероприятия |
Средства индивидуальной защиты (СИЗ) трудящихся |
|
1 |
2 |
3 |
4 |
5 |
|
1. |
Прикосновение работающих к движущимся и вращающимся частям машин и механизмов |
Технологическое оборудование |
1. Применение технологического оборудования, соответствующего требованиям государственных стандартов по безопасности труда. Все используемое на подземных горных работах технологическое оборудование и технические устройства должны иметь сертификат соответствия требованиям промышленной безопасности и разрешение на применение, выданное Госгортехнадзором России. 2. Ограждение вращающихся и движущихся частей механизмов, машин и оборудования кожухами, щитками, сетками или другими защитными устройствами. 3. Устройство эксплуатационных и монтажных проходов шириной, соответствующей требованиям правил безопасности, нормам технологического проектирования, строительным нормам и правилам, государственным стандартам. 4. Устройство предупредительной звуковой сигнализации при включении приводов машин, механизмов и оборудования. 5. Применение предупредительной цветовой окраски движущихся частей оборудования. 6. Устройство систем экстренной (аварийной) остановки технологического оборудования. 7. Устройство свободных проходов для управления грузоподъемными средствами (кранами, талями и пр.). 8. Освещение рабочих зон постоянных рабочих мест. |
|
|
1 |
2 |
3 |
4 |
5 |
|
2. |
Пожароопасность |
Технологические процессы, электроустановки. |
1. Устройство складов противопожарных материалов. 2. Устройство систем автоматической пожарной сигнализации и пожаротушения. 3. Оснащение подземных камерных выработок средствами первичного пожаротушения. 4. Оборудование подземных выработок противопожарно-оросительным трубопроводом. 5. Крепление горных выработок несгораемыми материалами. 6. Соответствующее исполнение и защита электрических сетей. |
|
|
7. Применение электрооборудования в исполнении, соответствующем категории производства, классу производственных помещений, требованиям ЕПБ. 8. Установка противопожарных и вентиляционных дверей. 9. Устойчивое и эффективное проветривание горных выработок. 10. Реверсирование вентиляционной струи в шахте. |
Самоспасатели СПП-4, ШСС-1 |
|||
|
3. |
Газовыделение в подземных выработках |
Производствен ные процессы |
1. Устройство общеобменной вентиляции. 2. Постоянный контроль за рудничной атмосферой экспресс-приборами и стационарной аппаратурой контроля. 3. Применение средств метаноконтроля, в т.ч. автоматических с местной или дистанционной сигнализацией 4. Контроль за содержанием химических веществ в воздухе рабочей зоны согласно "Карте контроля…" |
Приборы проверки сос-тава забойного воздуха ШИ-10, ШИ-11, ГХА. Сигнал-2 (3 и т.п.) НЦГСН, ЭЛК, ТВГСО |
|
1 |
2 |
3 |
4 |
5 |
|
4. |
Травмирование при передвижении по выработкам |
Особо опасные подземные условия труда |
1. Соблюдение габаритов свободного прохода между бортом выработки и наиболее выступающей частью подвижного состава. 2. Расстановка предупредительных знаков и сигналов. 3. Освещение горных выработок люминесцентными светильниками, прожекторами, индивидуальными светильниками. 4. Контроль за освещением и состоянием осветительных установок, сроками их чистки и ремонта (согласно "Картам санитарно-гигиенического контроля). |
1. Индивидуальные источники света – переносные аккумуляторные лампы |
|
5. |
Травмирование на рабочем месте |
Особо опасные подземные условия труда |
1. Систематическая проверка забоев на присутствие метана и других вредных газов при помощи экспресс-приборов. 2. Нормальное проветривание, достаточное освещение, исправная крепь, отсутствие заколов, отслоений, невзорвавшихся взрывчатых материалов (отказов). 3. Устройство предупредительной звуковой сигнализации при включении приводов механизмов. |
В зависимости от условий подземные трудящиеся оснащаются индивидуальными светильниками, предохранительными поясами, защитными очками, резиновыми перчатками, водонепроницаемой одеждой, касками и др. |
|
6. |
Запыленность рудничной атмосферы |
Буровые работы, отгрузка и транспортировка горной массы |
1. Бурение шпуров (скважин) с промывкой водой. 2. Орошение бортов, кровли забоя и отбитой горной массы в сухих забоях перед началом и в процессе работ по отгрузке. 3. Устройство водяных завес в горных выработках. 4. Аспирация в пунктах погрузки-разгрузки горной массы. 5. Применение гидроампул при взрывании забоев. |
Противопыльные респираторы типа ШБ-1, "Лепесток-5 (40,200)", "Астра-2", У-2К |
|
7. |
Шум и вибрация |
Технологическое оборудование |
1. Устройство звукоизолированных помещений (кабин) рабочих-операторов технологического оборудования. 2. Шумоизоляция технологического оборудования. 3. Применение глушителей шума на вентиляторах. 4. Ограждение зон, в которых уровни шума выше санитарных норм, знаками безопасности "Работать с применением средств защиты органов слуха". 5. Облицовка рукояток вибрирующих инструментов вибропоглощающими материалами (губчатая резина, поролон и др.). 6. Использование виброгасящих устройств. 7. Применение серийно выпускаемого оборудования, имеющего сертификат соответствия требованиям промбезопасности. 8. Разработка и соблюдение режима работы и отдыха для проходчиков, эксплуатирующих КПВ, КПН, перфораторы, на которых уровни вибрации превышают санитарные нормы на 1 – 12 Дб. 9. Организация для работающих с механизмами, генерирующими вибрацию физиотерапевтических процедур, витаминотерапии. 10. Учет ежесменного фактического времени бурения каждого проходчика. 11. Использование дополнительных регламентированных перерывов ("защита временем"). 12. Проведение замеров шума и вибрации в рабочих зонах согласно "Карты контроля…", а также СБУ и перфораторов после капитального ремонта. 13. Выбраковка и списание перфораторов, уровни вибрации которых превышают 12 Дб. |
1. Противошумные средства (наушники, вкладыши и др.). 2. Виброзащитные сапоги и рукавицы. |
|
8. |
Аварии на подземных работах (пожары, взрывы, внезапные выбросы, прорывы воды и т.д.) |
Особо опасные подземные условия труда, электроустановки. |
1. Составление плана ликвидации аварий предусматривающего: а) мероприятия по спасению людей, застигнутых авариями в шахте; б) мероприятия по ликвидации аварий в начальной стадии их возникновения; в) действия рабочих и ИТР при возникновении аварий; г) действия ВГСЧ в начальной стадии возникновения аварий. 2. Обеспечение горных выработок противопожарными средствами и материалами. 3. Применение электрооборудования, кабелей, средств связи, автоматизации и сигнализации, соответствующих классу взрывоопасной зоны, группе и категории взрывоопасной смеси. 4. Соответствующее исполнение и защита электрических сетей от перегрузок. 5. Выполнение искробезопасных цепей управления. 6. Выполнение спецтребований к занулению. 7. Блокировка технологического оборудования с вентиляцией. 8. Защита от статического электричества. 9. Оповещение подземных трудящихся об аварии сигнализацией – путем отключения электроэнергии, громкоговорящей связью и беспроводной сигнализацией. 10. Обеспечение основными и запасными выходами. |
Каждый подземный рабочий должен хорошо знать сигналы оповещения об аварии, места расположения складов противопожарных материалов и оборудования, способы тушения подземных пожаров, основные и запасные пути выхода на поверхность, способы самоспасения, в т.ч. устройство временных убежищ и возведения изолирующих перемычек |
|
9 |
Тепловыделение в горных выработках |
Горный массив, технологическое оборудование |
1. Вентиляция подземных горных выработок. 2. Применение передвижных средств охлаждения и кондиционирования воздуха в забоях. |
|
|
10. |
Электроопасность. Поражение обслуживающего персонала электрическим током |
Системы электро-снабжения, электросилового оборудования, КИП и автоматики |
1. Соблюдение соответствующих расстояний до токоведущих частей, ограждение токоведущих цепей. 2. Защитное отключение электрооборудования, элементов эл. установок, оказавшихся под напряжением. 3. Применение малых напряжений. 4. Применение предупреждающей сигнализации. 5. Заземление оборудования и трубопроводов. 6. Ограждение открытых частей электрооборудования, находящихся под напряжением. Устройство блокировок. 7. Зануление корпусов электрооборудования, могущих оказаться под напряжением, выравнивание потенциалов. 8. Применение электрооборудования, проводов и кабелей с изоляцией, соответствующей классу напряжения и условиям среды (группа класса и категория помещения). 9. Применение защиты от прикосновения к токоведущим частям. 10. Контроль целостности изоляции. 11. Блокировка включений и отключений электрооборудования для предотвращения ошибочных действий. |
Изолирующий инструмент, изолирующие лестницы, резиновые диэлектрические перчатки и коврики, переносные заземления, временные ограждения, предупреждающие плакаты, защитные очки, указатели напряжения |
|
11. |
Погрузочно-разгрузочные работы |
Транспортировка грузов |
В соответствии с ГОСТ 12.3.009-76 |
|
|
12. |
Предотвращение санитарно-гигиенических причин травматизма |
1. Устройство подземных санузлов на горизонтах согласно установленным нормам. 2. Хранение на каждом горизонте аптечки первой помощи. 3. Устройство пунктов первой медицинской помощи. 4. Наличие в АБК специальных помещений для хранения чистой одежды, спецодежды, стирки, сушки и обеспыливания рабочей одежды; умывальников, душевых, санузлов, медпункта, пункта разлива чая и т.д. |
Все подземные рабочие снабжаются индивидуальными флягами. |
|
|
13 |
Работа на высоте |
Оборудование эстакадных переходов площадками обслуживания |
||
|
14 |
Опасность ожога |
Сети теплоснабжения |
Изоляция трубопроводов |
|
|
15 |
Нарушение мерзлоты в основании строительных конструкций |
Отвод дренажа на 10-15 м в сторону от строительных конструкций |
5.4 План ликвидации аварии
5.4.1 Общие положения
План ликвидации аварий должен составляться для каждой эксплуатационной, реконструирующейся или строящейся шахты или рудника.
План ликвидации аварий составляется под руководством главного инженера шахты на каждое полугодие, согласовывается с командиром горноспасательного взвода, обслуживающего данную шахту, и утверждаться главным инженером организации за 15 дней до ввода его в действие.
План ликвидации аварий разрабатывается в соответствии с фактическим положением в шахте. Предусмотренные планом материальные и технические средства для осуществления мероприятий по спасению людей и ликвидации аварии должны быть в наличии в исправном состоянии и в необходимом количестве.
Проверка состояния этих средств должна осуществляться работниками шахты и ВГСЧ перед согласованием планов ликвидации аварий на новое полугодие.
Ответственность за правильное составление плана ликвидации аварий несет главный инженер шахты и командир ВГСЧ, с которым согласован этот план.
Ответственность за сохранность и исправность технических средств, необходимых для осуществления мероприятий по спасению людей и ликвидации аварий, распределяется начальником шахты между лицами технического надзора.
Рабочие шахты должны быть ознакомлены со способами оповещения об аварии (аварийной сигнализацией), путями выхода людей из аварийного и угрожаемых участков, а так же со своими обязанностями и правилами личного поведения на случай возникновения аварии под расписку в "Журнале регистрации ознакомления рабочих с запасными выходами".
В плане ликвидации аварий должны быть предусмотрены:
Мероприятия по спасению людей, застигнутых аварией в шахте
Мероприятия по ликвидации аварий в начальной стадии их возникновения
Действия должностных лиц (специалистов) и рабочих при возникновении аварий
Действия ВГСЧ и ВГК в начальной стадии возникновения аварий.
Для удобства пользования планом ликвидации аварий каждому месту возможной аварии присваивается определенный номер (позиция), который наносится на вентиляционные планы и аксонометрическую схему вентиляции.
Если на шахте имеется несколько воздухоподающих стволов, то нумерация позиций начинается со ствола, подающего наибольшее количество воздуха в шахту.
В оперативной части плана ликвидации аварий позиции располагаются в возрастающем порядке.
План ликвидации аварий должен содержать:
Оперативную часть, составленную по форме № 1
Распределение обязанностей между отдельными лицами, участвующими в ликвидации аварий, и порядок их действия согласно форме № 2.
Список должностных лиц и учреждений, которые должны быть немедленно извещены об аварии, составленный по форме № 3. Копия этого списка или соответствующие выписки из него должны находиться на телефонных станциях шахты или организации в зависимости от того, какая телефонная станция и каких конкретно лиц вызывает.
О происшествии аварии сообщение получает ответственный руководитель работ по ликвидации аварий (диспетчер) и по его распоряжению осуществляется вызов лиц в соответствии со списком по форме № 3.
К оперативной части ПЛА должны быть приложены следующие документы:
План поверхности шахты с нанесением расположения стволов, шурфов, штолен и других выходов на поверхность, скважин, провалов, трещин на водостоках, водоемов и резервуаров с водой с указаниями их емкостей, насосов, водопроводов с указанием их диаметров, напоров и количества воды, поступающей по ним к промплощадке рудника, гидрантов, вентилей, пожарных гаек, складов противопожарных материалов и оборудования, административно-бытового комбината и подъездных путей к объектам.
Вентиляционный план (схема вентиляции), составленный в соответствии с требованиями "Инструкции по составлению вентиляционных планов".
Схема электроснабжения шахты. На схеме необходимо выделить красным цветом с нанесением номера позиций места расположения оборудования, с помощью которого производится отключение электроэнергии на аварийный участок.
Схема поверхностного пожарного водоснабжения шахты.
План ликвидации аварий со всеми приложениями должен находиться у главного инженера рудника, диспетчера по шахте и у командира ВГСЧ. У начальников участков должны находиться выписки из этого плана, относящиеся к их участкам с указанием путей выхода людей из шахты.
Ответственным руководителем работ по ликвидации аварий является главный инженер шахты, а до момента его прибытия – горный диспетчер.
Если рудник объединяет несколько шахт, находящихся в единой вентиляционной системе, ответственным руководителем является главный инженер рудника.
Горный диспетчер должен иметь специальное горнотехническое образование, знать шахту и иметь опыт работы в ней.
Лица, на которых возлагается ответственное руководство по ликвидации аварий в данную смену, должны находиться на поверхности в командном пункте, оборудованном соответствующей связью и сигнализацией с участками подземных работ.
В диспетчерском пункте, кроме соответствующих средств связи и сигнализации об аварии, должен находиться пульт для реверсирования вентиляторов главного проветривания при дистанционном управлении вентиляторами, а так же по отключению электроэнергии в шахте.
Ответственным руководителем работ по ликвидации аварий является главный инженер рудника, а при его отсутствии – заместитель главного инженера – горный диспетчер рудника.
Основным командным пунктом является кабинет главного инженера рудника, резервным – помещение диспетчерской, запасным - кабинет главного механика рудника.
Каждый рабочий или ИТР при обнаружении аварии обязан, наряду с принятием мер по ликвидации, немедленно сообщить об аварии диспетчеру рудника по телефону или по ИГАС.
Термины "до очага пожара" и "за очагом пожара" следует считать по ходу вентиляционной струи при аварийном режиме вентиляции, предусмотренном для данной позиции ПЛА.
Люди, находящиеся в тупиковых выработках, при невозможности выхода из-за пламени, сильной задымленности или высокой температуры в подходящих к тупику выработках, из тупика не выходят, а включаются в самоспасатели, открывают ставы сжатого воздуха, отперемычиваются подручными средствами (вентиляционными рукавами, штангами и др.). И ждут прихода горноспасателей, подавая периодически сигналы частыми ударами по трубам, количество ударов соответствует числу людей находящихся в "тупике".
Средствами оповещения об аварии являются: ИГАС, телефонная связь, мигание света, полное отключение электроэнергии и частые удары по трубам. Каждый должен выяснить причину отключения электроэнергии или ударов по трубам.
Склады противопожарных материалов находятся:
В надшахтном здании КС,
В надшахтном здании ПЗС,
На 8 откаточном квершлаге гор. – 1250 м,
На 8 откаточном квершлаге гор. – 1300 м,
На ВЗУ 1 гор. –1150 м,
Места группового хранения самоспасателей:
8.1 башенный копер КС
8.2 башенный копер ПЗС:
8.3 башенный копер СС:
8.4 здание ГВУ ВС – 1.
8.5 здание ГВУ ВС – 2.
Главный выход – подъем КС.
Рудничный запасной выход подъем ВС – 1, 2.
ПРИМЕЧАНИЕ:
Люди, вышедшие из шахты, обязаны находится на своем участке до особого распоряжения.
Последующие (прибывающие после второго взвода) отделения ВГСЧ находятся в распоряжении ответственного руководителя работ по ликвидации аварии.
В тех позициях, где не указан режим работы ВОД – 40 КС, ПЗС работают в нормальном рабочем режиме.
Бойцам ВГСЧ руководствоваться "Действиями личного состава ВГСЧ при пожаре на объектах рудников, где установлены радиоизотопные приборы (РИП)".
7.4.2 Средства оповещения об аварии
Система аварийного оповещения "Земля 3М", предусматривающая сигнал аварийного оповещения, подаваемый сменным диспетчером и преобразуемый в мигание светильника.
Система оповещения источниками громкоговорящей аварийной связи (ИГАС), установленными в местах наибольшего количества трудящихся.
Полное отключение электроэнергии в подземных выработках.
Телефонная связь по шахтным телефонам.
Мигание света.
Оповещение трудящихся в очистных забоях производится горными мастерами.
При авариях в тупиковых выработках и невозможности выхода из них сигналом являются частые удары по трубам.
КАЖДЫЙ ДОЛЖЕН УЗНАТЬ ПРИЧИНУ ОТКЛЮЧЕНИЯ ЭЛЕКТРОЭНЕРГИИ, ЧАСТЫХ УДАРОВ ПО ТРУБАМ ИЛИ СРАБАТЫВАНИЕ СИСТЕМЫ "ЗЕМЛЯ 3М".
7.4.3 Позиция №1
Выработки гор.-1300 м севернее ОК-8: порожняковый квершлаг, грузовой квершлаг, выработки околоствольных дворов КС, СС, ПЗС, водосборники, соединительные и клетевые ветви, скиповые ветви, насосная, уклоны просора КС, СС, ПЗС, все тупиковые выработки, примыкающие к вышеперечисленным, все вертикальные выработки, выходящие на вышеперечисленные.
Пожар
|
Мероприятия по спасению людей и ликвидации аварий |
Ответственные лица и исполнители |
Пути вывода людей из аварийного и угрожаемых участков |
|
Главный вентилятор ВС-5,6 реверсировать - вентилятор ВОД-40 ПЗС реверсировать; вентилятор ВОД-40 КС-3 реверсировать 2.Вызвать ВГСЧ по прямой связи или телефону 3. Оповестить людей, находящихся на гор.-1300 м об аварии и выводе их на поверхность по ВС-5 с помощью: системы "Земля-3м"; мигания света; отключения эл. энегии с подземной части рудника; телефонной связи; ИГАС. |
Диспетчер рудника Моторист главных вентиляторов Оперативный дежурный Диспетчер рудника Диспетчер рудника Оперативный дежурный Дежурный эл. слесарь ЦЭП |
Люди, находящиеся на гор.-1300 м: - до очага пожара – по грузовому или порожняковому штреку следуют к ВС-5,6 и выезжают на поверхность; - за очагом пожара- в самоспасателях, минуя очаг пожара, по не горящему штреку выходят на ОШ, и далее следуют к ВС-5,6 и выезжают на поверхность. При невозможности обхода очага пожара, в самоспасателях следуют к насосной, расположенной у КС-3, ПЗС включают сжатый воздух, закрывают двери и ждут прихода горноспасателей. 2. люди, находящиеся в тупиковых выработках, при невозможности выхода из-за пламени, сильной задымлённости или высокой температуры в подводящих к тупику выработках, из тупика не выходят, а включаются в самоспасатели, открывают став сжатого воздуха, отперемычиваются подручными средствами и ждут прихода горноспасателей, подавая периодически сигналы частыми ударами по трубам. 3. Люди, находящиеся в выработках гор.-1300 м, других выработках горизонта, в самоспасателях кратчайшим путём следуют к ВС-5,6 и выезжают на поверхность. |
|
4. Оповестить об аварии всех трудящихся: - находящихся в КС-3, башенном копре, лифте копра, вентиляторной, калориферной, поверхностных сооружениях КС-3 об аварии, выводе на поверхность и за пределы зданий с помощью прямой связи и по телефонам; людей, находящихся в КС-3, вывезти на поверхность. 5. Включить насос пожбаков на вспомогательной площадке рудника. |
Диспетчер рудника Диспетчер рудника |
4. Люди, находящиеся на подсечке гор.-1300м, в самоспасателях по ТУ следуют на вент.-закладочный горизонт, далее к ВС-5,6 и выезжают на поверхность 5. Люди, находящиеся на гор.-1150 м, в самоспасателях по ВШ следуют к ВС-5,6 и выезжают на поверхность |
7.4.4 Позиция №2
Выработки горизонта –1300 метров порожняковый штрек севернее сопряжения с откаточным квершлагом №8: западный откаточный штрек; восточный откаточный штрек; откаточные квершлаги №№ 1, 2, 3, 4, 5, 6, 7, 8; соединительные квершлаги; околоствольные выработки ВС – 5, 6; все тупиковые выработки, примыкающие к выше перечисленным
Пожар
|
Мероприятия по спасению людей и ликвидации аварий |
Ответственные лица и исполнители |
Пути вывода людей из аварийного и угрожаемых участков |
|
1.Главные вентиляторы ВС-5,6 работают нормально. 2.Вызвать ВГСЧ по телефону или по прямой связи. 3.Сообщить оператору УТЗК об аварии. |
Диспетчер рудника моторист главных вентиляторов диспетчер рудника диспетчер рудника |
Люди, находящиеся на горизонте –1300 метров до очага пожара, включаются в самоспасатели и следуют к КС-3 или ПЗС горизонта –1300 метров и выезжают на поверхность. 2.Люди, находящиеся на горизонте –1300 метров за очагом пожара, включаются в самоспасатели и, обходя очаг пожара, по порожняковому квершлагу следуют к КС-3 или ПЗС горизонта –1300 метров и выезжают на поверхность. 3.Люди, находящиеся на соединительной выработке горизонта –1300 севернее откаточного квершлага № 8: До очага пожара – в самоспасателях по восточному откаточному штреку, западному откаточному штреку, квершлагам следуют к КС-3 или ПЗС и выезжают на поверхность. За очагом пожара – в самоспасателях следуют в КАВС у ВС-5,6 горизонта –1300 метров, включают сжатый воздух, закрывают двери и ждут прихода горноспасателей. 4.Люди, находящиеся на горизонте –1300 метров до очага пожара, включаются в самоспасатели и следуют к КС-3 или ПЗС горизонта –1300 метров и выезжают на поверхность. |
|
4.Оповестить трудящихся, находящихся на горизонте –1300 метров, подсечке горизонта –1300 метров, |
Диспетчер рудника оперативный дежурный операторы ПО рудника |
|
|
5.Оповестить людей, находящихся в ВС-5,6, КС-3, ПЗС по телефону и прямой связью людей, находящихся в ВС-5,6, КС-3, ПЗС вывезти на поверхность |
диспетчер рудника машинисты подъемов и сигналист - рукоятчик ВС-5,6 |
5.Люди, находящиеся на горизонте –1300 метров за очагом пожара, включаются в самоспасатели и, обходя очаг пожара, по порожняковому квершлагу следуют к КС-3 или ПЗС горизонта –1300 метров и выезжают на поверхность. |
|
6.Включить насос пожарных баков на вспомогательной площадке рудника. электроэнергии на подземной части рудника, Телефонной связи ИГА |
6.Люди, находящиеся на соединительной выработке горизонта –1300 севернее откаточного квершлага № 8: До очага пожара – в самоспасателях по восточному откаточному штреку, западному откаточному штреку, квершлагам следуют к КС-3 или ПЗС и выезжают на поверхность. За очагом пожара – в самоспасателях следуют в КАВС у ВС-5,6 горизонта –1300 метров, включают сжатый воздух, закрывают двери и ждут прихода горноспасателей. |
|
|
7.Сообщить диспетчеру ТВГС по телефону об аварии и увеличении подачи воды на рудник. |
7.Люди, находящиеся на горизонте –1300 метров до очага пожара, включаются в самоспасатели и следуют к КС-3 или ПЗС горизонта –1300 метров и выезжают на поверхность. |
|
|
8.Продублировать с помощью ИГАС и телефонов оповещение трудящихся об аварии и следовании на поверхность по КС-3 и ПЗС. горизонте –1250 метров, и всех подземных трудящихся об аварии и выводе на поверхность по КС-3, ПЗС с помощью: Мигания света Отключения |
8.Люди, находящиеся на горизонте –1300 метров за очагом пожара, включаются в самоспасатели и, обходя очаг пожара, по порожняковому квершлагу следуют к КС-3 или ПЗС горизонта –1300 метров и выезжают на поверхность. 9. Люди, находящиеся на соединительной выработке горизонта –1300 севернее откаточного квершлага № 8: До очага пожара – в самоспасателях по восточному откаточному штреку, западному откаточному штреку, квершлагам следуют к КС-3 или ПЗС и выезжают на поверхность. За очагом пожара – в самоспасателях следуют в КАВС у ВС-5,6 горизонта –1300 метров, включают сжатый воздух, закрывают двери и ждут прихода горноспасателей. |
|
|
диспетчер рудника оперативный дежурный диспетчер рудника диспетчер рудника |
10.Люди, находящиеся в тупиковых выработках, при невозможности выхода из-за пламени, сильной задымленности, или высокой температуры в подводящих к тупику выработках, из тупика не выходят, а включившись в самоспасатели, открывают став сжатого воздуха, отперемычиваются подручными средствами, и ждут прихода горноспасателей,периодически подавая сигналы частыми ударами по трубам. 11.Люди, находящиеся на подсечке горизонта –1300 метров, ТУ следуют на горизонт –1250 метров, далее к КС-3 или ПЗС и выезжают на поверхность. 12.Люди, находящиеся в ВС-5,6 в самоспасателях выезжают на поверхность. 13.Люди, находящиеся на горизонте –1250 метров, подсечке горизонта –1250 метров, горизонте –1150 метров, кратчайшим путем следуют к КС-3 или ПЗС и выезжают на поверхность. 14.Люди, находящиеся в ПЗС, КС-3, СС-3, выезжают на поверхность. 15.Люди, находящиеся в копре ВС-5,6, выходят наружу кроме сигналиста – рукоятчика, который выходит после подъема людей по разрешению ответственного руководителя по ликвидации аварии. |
6. Вентиляция
Расчет проведен для сплошной слоевой системы разработки.
Расход воздуха (м3/мин) для проветривания очистных забоев по фактору постоянного выделения углекислого газа, метана определяется по формуле:
Q>оч>=100∙I>оч>·К>н>/(с-с>0>),
где I>оч> – среднее газовыделение в очистной выработке, м3/мин; К>н> - коэффициент неравномерности газовыделения;
с – допустимое содержание газа в забое, %; с>0> – содержание того же газа в воздухе, поступающем для проветривания, %.
Q>оч>=100∙0,31∙2,1/(0,3-0)=21,7 м3/мин
Так как площадь поперечного сечения большая, следовательно, принимаем площадь поперечного сечения рабочей зоны.
Расход воздуха (м3/мин) по выделению ядовитых газов погрузочно-доставочными машинами с ДВС производится по формуле:
Q>оч >= q·к>о>·ΣМ,
где ΣМ - мощность машин работающей в блоке (1 ПДМ), ΣМ = 200 кВт; к>о >– коэффициент, учитывающий количество одновременно работающих в блоке машин, к>о >= 1,0, т.к. в забое одновременно работает одна машина; q - норма подачи свежего воздуха на единицу мощности ДВС, q = 6,8 м3/мин на кВт.
Q>оч >= 6,8·1,0·200 = 1360 м3/мин
Расход воздуха (м3/мин) по пылевому фактору, удалению избыточного тепла определяется по минимальной скорости движения воздуха, составляющей для очистных выработок 0,5 м/с, по формуле:
Q>оч >= 60·V>min>·S,
где S – площадь доставочной выработоки, S = 64 м3.
Q>оч >= 60·0,5·64 = 1320 м3/мин
Расход воздуха (м3/мин) по мгновенному выделения газов ВВ для принятой системы разработки определяется по формуле:
Q>оч
>=
,
где
-
коэффициент турбулентной диффузии
свободной струи,
=
0,2; V>к
>– объем проветриваемой
камеры, V>к
>= 7680 м3;
А – масса одновременно взрываемого
заряда ВВ, А = 500 кг;
-
удельное образование ядовитых газов
ВВ в пересчете на условную окись углерода,
= 100 м3/кг; t
– время проветривания после взрывания
забоя, t
= 60 мин.
Q>оч >= 2749 м3/мин
Рассчитанные расходы воздуха сравниваем, и для проветривания принимаем максимальный расход воздуха из полученных по этим факторам. В данном случае это расход воздуха на проветривание по мгновенному выделению ядовитых газов ВВ Q>оч >= 2749 м3/мин. Принятый к учету расход воздуха проверяем по максимально допустимой скорости движения воздуха в рабочей зоне очистной выработки по формуле:
Q>оч >≤ 60·V>max>·S>min>,
где V>max>> >– максимальная допустимая скорость движения воздуха в рабочей зоне, установленная правилами безопасности до 4 м/с; S>min>> >– минимальная площадь поперечного сечения рабочей зоны в очистной выработке,
S>min>> >= 12 м2.
2749≤2880 – условие выполняется.
Т.к. условие по сечению выработки выполняется, принимаем подачу воздуха с одной выработки.
Для камерной системы разработки расчет аналогичен приведенному выше, за исключением: расхода воздуха (м3/мин) по мгновенному выделения газов ВВ для принятой системы разработки определяется по формуле:
Q>оч
>=
,
где
-
коэффициент турбулентной диффузии
свободной струи,
=
0,2; V>к
>– объем проветриваемой
камеры, V>к
>= 11520 м3;
А – масса одновременно взрываемого
заряда ВВ, А = 1000 кг;
-
удельное образование ядовитых газов
ВВ в пересчете на условную окись углерода,
= 100 м3/кг; t
– время проветривания после взрывания
забоя, t
= 60 мин.
Q>оч >= 4538 м3/мин
Рассчитанные расходы воздуха сравниваем, и для проветривания принимаем максимальный расход воздуха из полученных по этим факторам. В данном случае это расход воздуха на проветривание по мгновенному выделению ядовитых газов ВВ Q>оч >= 4538 м3/мин. Принятый к учету расход воздуха проверяем по максимально допустимой скорости движения воздуха в рабочей зоне очистной выработки по формуле:
Q>оч >≤ 60·V>max>·S>min>,
где V>max>> >– максимальная допустимая скорость движения воздуха в рабочей зоне, установленная правилами безопасности до 4 м/с; S>min>> >– минимальная площадь поперечного сечения рабочей зоны в очистной выработке, S>min>> >= 12 м2.
Q>оч >≤ 60·4·12=2880
4538≤2880 – условие не выполняется.
Т.к. условие по сечению выработки не выполняется, принимаем подачу воздуха с двух выработок одинакового сечения.
4538≤5760 – условие выполняется.
Согласно приведенным выше расчетам видно, что сплошная слоевая система требует меньшего расхода воздуха (почти в два раза) для поддержаний нормальных условий труда.
7. Экология
7.1 Охрана недр
Горный отвод для подземной разработки Октябрьского месторождения медно-никелевых руд в поле рудника "Таймырский", в том числе и медистых руд, разработан иститутом "Hорильскпроект", утвержден Красноярским управлением Ростехнадзора и представлен предприятию для разработки полезных ископаемых.
Правилами охраны зданий и сооружений установлено, что никаких дополнительных мер защиты подземных и поверхностных объектов от вредного влияния подземных разработок не требуется.
Принятые в проекте схема вскрытия богатых руд, порядок отработки участков шахтного поля, управлением горным давлением, системы разработки и технологические процессы отвечают условиям безопасности горных работ и обеспечивают полноту извлечения и качество полезного ископаемого. Управление горным давлением с использованием полной закладки выработанного пространства твердеющими смесями исключает возможность оставления богатых руд в целиках и предотвращает разрушение вышеналегающей толщи горных пород, которые могут быть использованы со временем как полезные ископаемые, а также проникновение в рудник подземных вод из водоносного горизонта.
7.2 Охрана окружающей среды
Мероприятия по охране окружающей среды разработаны в соответствии с требованиями следующих директивных и нормативных документов по проектированию: Закона СССР "Об охране атмосферного воздуха" "Основ водного законодательства", "Основ земельного законодательства", СHиП 1.02.01-85 "Инструкция о составе, порядке разработки, согласование и утверждение проектно-сметной документации на строительство предприятий, зданий и сооружений, приложение 4 в части охраны от загрязнения атмосферного воздуха и водоемов; СHиП 2.06.14-85 "Защита горных выработок от подземных и поверхностных вод", "ЕПБ при разработке рудных, нерудных и россыпных месторождений подземным способом", "Санитарных правил для предприятий по добыче и обогащению рудных, нерудных и россыпных полезных ископаемых,1987г. и предварительных рекомендаций института "Гипроникель" по охране атмосферного воздуха для проектирования отработки медистых руд, 1990г.
7.3 Мероприятия по предотвращению загрязнения атмосферы
Для ранее введенных в эксплуатацию действующих объектов рудника, таких как ПЗК, транспортерные галереи и пункты перегрузки у скиповых стволов, склады руды и др. проектом "Комплексное обеспыливание" предусмотрены специальные мероприятия по снижению пыления горной массы путем искусственного ее увлажнения (полив, орошение).
Самым крупным источником загрязнения атмосферы может быть рудничный воздух, выбрасываемый в атмосферу вент. стволами. Основными источниками загрязнения воздуха в руднике являются следующие элементы технологии горных работ:
-ведение очистной выемки и проходки выработок буровзрывным способом;
-применение самоходного оборудования с дизельным приводом;
-закладка выработанного пространства твердеющими смесями;
-дробление руды в подземных дробильных комплексах.
Значительное снижение пыли в горных выработках до предельно допустимых концентраций (ПДК) достигается при выполнении мероприятий согласно проекту "Комплексное обеспыливание рудника". Наиболее полная информация о размерах выбросов вредных веществ из рудника в атмосферу имеется по нерастворимым компонентам оксида углерода и оксидов азота, источниками образования которых являются взрывные работы и эксплуатация дизельного оборудования. Выполненный институтом "Гипроникель" предварительный расчет, учитывающий величины выбросов веществ в атмосферу вент. стволами только по этим факторам показывает, что при достижении рудником расчетной мощности по медистым рудам с применением на горных работах малотоксичного дизельного оборудования суммарный годовой выброс оксида углерода (CO) составит136т,оксида азота (N)-167т. Максимальный же выброс вредных веществ при взрыве укрупненного заряда ВВ предельно возможной величины в 12т составит по оксиду углерода (CO)-123,/г/с и по оксидам азота (N)-13,3г/с. По предварительным данным этот выброс особой опасности не представляет.
7.4 Мероприятия по предотвращению загрязнения водоемов
Источником возможного загрязнения окружающей среды являются хозяйственно-бытовые стоки с промплощадок рудника и шахтные воды. Хозяйственно-бытовые сточные воды промплощадок по внутриплощадочным канализационным сетям отводятся в канализационную насосную станцию, расположенную в районе вспомогательной площадки и вместе с хозяйственно-бытовыми сточными водами объектов вспомогательной и основной площадок, перекачиваются на очистные сооружения хозфекальной канализации Талнахского промышленного района для полной биологической очистки.
Все шахтные воды рудника "Таймырский" поступают в водосборники главной водоотливной установки, расположенной на основной площадке откаточного гор.-1050м. В водосборниках шахтные воды осветляются путем осаждения от вредных примесей, которые при зачистке водосборников загружаются в вагоны, выдаются на поверхность и направляются в горные отвалы. Шахтные воды, выдаваемые на поверхность, поступают в очистные сооружения Талнахского промрайона и после очистки используются в замкнутом цикле горно-обогатительного производства для приготовления закладочных смесей на ПЗК, растворов на ОФ и тд.
7.5 Мероприятия по предотвращению загрязнения земной поверхности
Порода от проходки горных выработок выдается на поверхность. На поверхности порода складируется в породный отвалах, расположенных на специально отведенных участках вблизи промплощадки. В выдаваемых на поверхность породе вредных примесей не содержится. В связи с отработкой богатых руд системами с закладкой выработанного пространства при проседании налегающих на закладочный массив пород прогиб поверхности образуется плавным, без разрывов земной толщи и не окажет вредного влияния на существующий природный ландшафт земельного отвода рудника.
Заключение
В данной работе было обосновано применение сплошных слоевых систем разработки. Для этого был произведен обзор отечественной и зарубежной практики. Было предложено несколько вариантов различных систем, представлены их конструкции и выполнен постатейный расчет затрат для каждой из них. Итогом расчетов стали следующие цифры и выводы:

Из приведенной таблицы видно, что затраты на одну тонну добытой рудной массы у камерной системы на 44 рублей меньше, чем у слоевой системы с нисходящим порядком выемки слоев и на 60 рубля меньше, чем у слоевой системы с комбинированным порядком выемки слоев.
Таким образом, видно, что по себестоимости одной тонны добытой рудной массы выиграла камерная система разработки.
Рассчитанная прибыль с одной тонны балансовых запасов составила:

Таким образом, видно, что наибольшую прибыль с одной тонны балансовых запасов дает слоевая система с нисходящим порядком выемки слоев.
Для дальнейшей разработки месторождения, рекомендуется увеличить процент применения данной системы разработки, дабы увеличить прибыль предприятия.
Данный вариант системы, может быть применим на всем месторождении, так как конструкция системы позволяет вести отработку рудного тела в любых горно-геологических условиях.
Список литературы
Скорняков Ю.Г. Подземная добыча руд комплексами самоходных машин:[Текст] – М.: Недра, 1986. – 204с.
Сатаров В.Н. Основы проектирования вентиляции подземных рудников:[Текст] Учеб. Пособие. – Красноярск / ГАЦМиЗ. 1996. – 152с.
Скорняков Ю.Г. Системы разработки и комплексы самоходных машин при подземной добыче руд.[Текст] М., "Недра", 1972. 232с.
Технология очистной выемки руд: Метод. Указания к лабораторным работам для студентов специальности 090200 [Текст] / Сост. Д.Е. Малдофеев, Б.А. Ахпашев; ГУЦМиЗ. – Красноярск, 2004. – 68с.
Хомяков В.И. Зарубежный опыт закладки на рудниках. [Текст] М., Недра, 1984. 224с.
Н.Ф. Замесов, И.И. Айнбиндер, Л.И. Бурцев, Ю.И. Родионов, Н.Ф. Овчаренко, В.В. Аршавский. Развитие интенсивных методов добычи руд на больших глубинах / Отв. Редактор Д.М. Бронников; Составитель И.И Айнбиндер. – М.; ИПКОН АН СССР, 1990. – 236с.
Борисенко С.Г., Некрасовский Я.Э., Белосветов А.В., Колоколов О.В., КухаревВ.Н. М., изд-во "Недра", 1971г., стр.328.
Попов Г.Н. Технология и комплексная механизация разработки рудных месторождений. Изд-во "Недра", 1970, 456стр.
Ермаков В.М. и др. Подземная разработка месторождений полезных ископаемых: Метод. указания по оформлению дипломного (курсового) проекта для студентов специальности 090200 [Текст] / Красноярск, ГАЦМиЗ, 1998 – 56 с.
Скорняков Ю.Г. и др. Разработка мощных пологопадающих залежей системой со сплошной выемкой руды и закладкой выработанного пространства твердеющими смесями [Текст] // Горный журнал.-1972.- №1.- С.55-58.
Гребенюк В.А., и др. Справочник по горнорудному делу [Текст] / Москва, Недра, 1983.- 816 с.
Малофеев Д.Е. Процессы подземных горных работ: Методические указания к лабораторным работам для студентов очного и заочного обучения специальностей 090200 и 090400 [Текст] / Красноярск, ГАЦМиЗ, 1999.- 56 с.