Проект вскрытия и разработки россыпного месторождения рч. Вача
|
Министерство общего и профессионального образования |
|
ИРКУТСКИЙ ГОСУДАРСТВЕННЫЙ ТЕХНИЧЕСКИЙ УНИВЕРСИТЕ |
|
Открытые горные работы наименование кафедры |
-
Допускаю к защите зав. кафедрой
_______
подпись
В. П. Федорко
И.О.Фамилия
“____”____________2003 г.
|
Проект вскрытия и разработки россыпного месторождения |
|
«Вача» |
|
наименование темы |
ПОЯСНИТЕЛЬНАЯ ЗАПИСКА
К ДИПЛОМНОЙ РАБОТЕ
____________________________ПЗ
обозначение документа
|
Разработал студент группы: ГО – 98 – 2 |
______ подпись |
М. С. Лучко И.О.Фамилия |
|
Руководитель |
______ подпись |
Е. В.Кудряшов И.О.Фамилия |
|
Консультанты |
______ подпись |
В. П. Гладких И.О.Фамилия |
|
______ подпись |
Н. С. Груничев И.О.Фамилия |
|
|
______ подпись |
Т. Н. Бычай И.О.Фамилия |
|
|
Нормоконтролер |
______ подпись |
Е. В.Кудряшов И.О.Фамилия |
Иркутск 2003
ИРКУТСКИЙ ГОСУДАРСТВЕННЫЙ ТЕХНИЧЕСКИЙ УНИВЕРСИТЕТ
Горный факультет, кафедра открытых горных работ
УТВЕРЖДАЮ
Декан Б. Л. Тальгамер
ЗАДАНИЕ
на дипломный проект студенту М. С. Лучко группы ГО-98-2
1 Тема проекта___________________________________________________
Утвержден приказом по университету от _______________№________
2 Срок представления студентом законченного проекта в ГАК___________
________________________________________________________________________________________________________________________________________________________________
3 Исходные данные_______________________________________________
_______________________________________________________________________________________________________________________________________________________________________________________________________________________________________________________________________________________________________________________________________________________________________________________________________________________________________________________________________________________________
4 Содержание расчетно-пояснительной записки (перечень подлежащих разработке вопросов)__________________________________________________________
_______________________________________________________________________________________________________________________________________________________________________________________________________________________________________________________________________________________________________________________________________________________________________________________________________________________________________________________________________________________________
5 Перечень графического материала (с указанием обязательных чертежей)_
_____________________________________________________________________________________________________________________________________________________________________________________________________________________________________________________________________________________________________________________________________________________________________________________________________________________________________________________________________________________
6 Дополнительные задания и указания______________________________
________________________________________________________________________________________________________________________________________________________________________________________________________________________________________________________________________________________________________________________________
7 консультанты по проекту с указанием вопросов, подлежащих решению___
________________________________________________________________________________________________________________________________________________________________________________________________________________________________________________________________________________________________________________________________________________________________________________________________________________________________________________________________________________________________
Календарный план
|
Разделы |
Месяцы и недели |
|||||||||||||||||||
Дата выдачи задания_______________________________________________
Руководитель проекта___________________________________
Заведующий кафедрой___________________________________
Задание принял к исполнению студент_____________________
План выполнения_______________________________________
Руководитель проекта____________________ «_____»__________2003 г.
Содержание
|
стр. |
|
|
Введение |
|
|
1 Общая часть |
|
|
1.1 Общие сведения о районе месторождения |
|
|
1.2 Климат района |
|
|
1.3 Гидрогеология района месторождения |
|
|
2 Геологическая часть |
|
|
2.1 Геологическая характеристика района месторождения |
|
|
2.2 Физико-механические свойства горных пород |
|
|
2.3 Мерзлотная обстановка россыпи |
|
|
2.4 Полезные ископаемые |
|
|
2.5 Подсчет запасов |
|
|
3 Горная часть |
|
|
3.1 Исходные данные для проектирования |
|
|
3.1.1 Современное состояние гонных работ |
|
|
3.1.2 Выбор способа разработки |
|
|
3.1.3 Режим работы и производственная мощность предприятия |
|
|
3.2 Осушение россыпи |
|
|
3.3 Вскрытие россыпи |
|
|
3.4 Горно-подготовительные работы |
|
|
3.4.1 Очистка полигона |
|
|
3.4.2 Оттайка многолетней мерзлоты |
|
|
3.4.3 Предохранение пород от сезонного промерзания |
|
|
3.4.4 Вскрышные работы |
|
|
3.5 Очистные работы и система разработки |
|
|
3.5.1 Выбор очистного оборудования |
|
|
3.5.2 Выбор способа разработки |
|
|
3.6 Обогащение песков |
|
|
3.7 Отвалообразование |
|
|
3.8 Водоснабжение горных работ |
|
|
3.9 Охрана природы |
|
|
4 Энергоснабжение |
|
|
4.1 Расчет электроснабжения участка горных работ |
|
|
4.2 Освещение карьера |
|
|
4.3 Заземление |
|
|
4.4 Основные энергетические показатели |
|
|
5 Охрана труда |
|
|
5.1 Анализ условий труда |
|
|
5.2 Борьба с пылью и ядовитыми газами |
|
|
5.3 Буровзрывные работы |
|
|
5.4 Экскаваторные работы |
|
|
5.5 Проветривание разреза |
|
|
5.6 Аэрология |
|
|
5.6.1 Расчет выбросов вредных веществ в атмосфере карьера |
|
|
5.6.2 Определение общего баланса вредности в атмосфере карьера |
|
|
5.6.3 Определение общего загрязнения атмосферы карьеров |
|
|
5.7 Охрана труда, промсанитарияи противопожарная профилактика |
|
|
5.7.1 Анализ условий труда и опасности проектируемых производственных объектов |
|
|
5.7.2 Основные мероприятия по обеспечению безопасных и здоровых условий труда на проектируемых работах |
|
|
5.8.1 Требования по ТБ при эксплуатации оборудования |
|
|
5.8.2 Обогащение |
|
|
5.8.3 Требования по ТБ при эксплуатации лектротехнических установок |
|
|
5.8.4 Заземление |
|
|
5.8.5 Освещение |
|
|
5.8.6 Сигнализация |
|
|
5.8.7 Ремонтные работы |
|
|
5.8.8 Производственная санитария |
|
|
5.8.9 Противопожарная защита |
|
|
6 Экономика и организация производства |
|
|
6.1 Полная стоимость добычи и обогащения песков |
|
|
6.2 Технико–экономические показатели |
|
|
Заключение |
|
|
Библилграфия |
Введение
Золотодобыча в системе реки Вачи началась
с 1862 года и продолжается по настоящее
время.
Значение добываемого полезного ископаемого, золота, очень широко, в частности, а народном хозяйстве, ювелирной промышленности и экономики
Главной статьей потребления осталась ювелирная отрасль.
Таблица 1 - Структура потребления золота в 1994 - 1996 гг., тонны.
|
|
1994 г |
1995 г |
1996 г |
|
Промышленное потребление, в т.ч.: |
3071 |
3257 |
3290 |
|
ювелирной отраслью; |
2604 |
2749 |
2807 |
|
электронной отраслью; |
192 |
209 |
207 |
|
на чеканку монет; |
75 |
26 |
60 |
|
прочими отраслями; |
200 |
213 |
216 |
|
Тезаврация |
238 |
299 |
182 |
|
Кредиты в золоте |
52 |
23 |
5 |
|
Инвестиции в золото |
- |
44 |
- |
|
Итого: |
3361 |
3623 |
3477 |
На прилегающих
к проектируемому участку россыпи добычу
золота производили драги №№ 114 и l17
прииска «Светлый».
Гидромеханизированным
способом россыпь разрабатывалась
артелями старателей «Тайга», «Витим»,
«Лена», «Таёжная» и др.
Таким
образом, россыпь значительно поражена
ранее проведёнными горными работами.
Артель старателей «Вачинское» начала
разработку месторождения р. Вача в 1999
году по ранее разработанным проектам.
Выполненным Новосибирским филиалом
института ЦИПИГОРЦВЕТМЕТ (Ленским ОКП)
- заказы №1552 и дополнением к проекту,
выполненным артелью старателей «Таёжная».
В 2002 году план золотодобычи уч. «Вача» артели старателей «Вачинское» был принят 75 кг, что и было выполнено, а в следущие пять лет планируется увеличить план в два раза. Для этого есть все предпосылки, предприятие активно развивается, закупает горную технику, применяет новые для артели технологии разработки, в частности буровзрывание. А главное, что может гарантировать успешное развитее предприятия это запасы полезного ископаемого. Сейчас, при проведенной дополнительной геологоразведки они составляют 1500 кг.
Как указывалось выше достижение технологии разработки это применение буровзрывных работ на вскрыше месторождения. К недостаткам же необходимо отнести низкое качество извлечения золота.
Задачами дипломного проектирования являются:
анализ условий залегания месторождения «Вача»;
обоснование эффективного способа и технологии разработки;
определение соответствующих элементов системы разработки;
путем технико-экономического сравнения конкурирующих вариантов обогащения песков обосновать эффективный способ и схему обогащения.
1 Общая часть
1.1 Общие сведения о районе и месторождении
Проектируемый
участок россыпного золота расположен
в Бодайбинском районе в среднем течении
р. Вача (при устье рч. Ныгри), принадлежащей
к бассейну р. Жуя.
В
непосредственной близости от россыпи,
в 6- км, построен базовый поселок, участка
«Вача».
В
административном отношении месторождение
расположено на территории, подконтрольной
Кропоткинской администрации, Бодайбинского
района Иркутской области с центром в
пос. Кропоткин, который расположен в 6
км от проектируемого участка россыпи.
В свою очередь, пос. Кропоткин отстоит
от г. Бодайбо на расстоянии 140 км,
связанного улучшенной грунтовой
автомобильной дорогой III класса.
Транспортировка грузов артелью
осуществляется круглогодично
автотранспортом от железнодорожной
станции Таксимо (220 км.).
Действующий аэропорт г. Бодайбо
принимает пассажирский и грузовой
транспорт самолетами АН-24, АН-26.
Снабжение продовольствием, запчастями,
материалами и оборудованием осуществляется
собственным завозом, снабженческой
службой артели из центральных районов
России.


Рисунок 1.1 – Географическое расположение пос. Кропоткин
1.2 Климат района
Район работ
расположен в южной части Витимо-Патомского
нагорья, его координаты 4º 22 - 58º 24 северной
широты, 115º 15 - 115º 20 - восточной долготы.
Рельеф района представляет невысокую
горную страну, довольно густо расчлененную
речной сетью.
Абсолютные
отметки водоразделов колеблются в
пределах от 600 до 1400 м. с суровой,
продолжительной зимой и теплым, обильным
осадками, летом.
Температура воздуха характеризуется
большой изменчивостью (амплитудой) не
только в течение года, но и в течение
суток, особенно в летний период. В июле
полуденные температуры воздуха могут
достигать до+35, ночью, вследствие сильного
излучения, температуры воздуха нередко
падают до — 3 — 5ºС. Безморозный период
составляет 103 дня.
Ниже
приводятся среднемесячные и среднегодовые
температуры воздуха за многолетний
период (в градусах Цельсия).
Таблица 1.1 - Среднемесячные и среднегодовые температуры воздуха за
многолетний период, ºС.
|
I |
II |
III |
IV |
V |
VI |
VII |
IIX |
IX |
X |
XI |
XII |
Год |
|
-27 |
-24 |
-16 |
-7 |
+2,5 |
+12 |
+16 |
+12 |
+5 |
-6 |
-7,6 |
-26 |
-6,4 |
Осадки выпадают в течение года очень не равномерно.
Таблица 1.2 - Среднемесячные и годовые осадки, мм.
|
I |
II |
III |
IV |
V |
VI |
VII |
IIX |
IX |
X |
XI |
XII |
Год |
|
15 |
11 |
10 |
5 |
20 |
42 |
43 |
57 |
35 |
26 |
23 |
18 |
325 |
В теплый период выпадает 67% осадков, 197 мм.
Преобладающее направление ветра – СЗ, скорость ветра 3 м/с.

Рисунок 1.1 - Термограф

Рисунок 1.2 – Гидрограф
1.3 Гидрогеология района месторождения
Пораженности рыхлых отложений
многолетней мерзлотой составляет 30%.
Температура многолетних грунтов
колеблется от — 1,0 до – 1,5 0С,
что позволяет отнести эти грунты к
вялой мерзлоте. Льдистость пород- 15-20%,
влажность пород 20-30%.
Коэффициент разрыхления пород-
1,25;
Объемный вес пород- 2,65 г/м³.
Коэффициент фильтрации
валунно-галечных отложений с
гравийно-песчаным заполнителем 16,64
м/сутки, валунно-галечных отложений с
супесчаным заполнителями - 4,61 м/сутки.
(Определены гидрогеологической
партией Бодайбинской геологоразведочной
экспедиции).
Наличие многолетней мерзлоты
сильно влияет на гидрологический режим
района. При близком залегании верхней
границы мерзлоты к поверхности происходит
быстрое скатывание дождевых вод, что
влечет за собой большое непостоянство
уровней и расходов воды в реках.
Промерзание деятельного слоя в
зимний период и нередко соединение его
с многолетней мерзлотой, приводит к
значительному сокращению питания рек
в зимнее время, а нередко даже к
перемерзанию русел рек.
Поверхностные
воды. Основной водной артерией в районе
месторождения является река Вача с
весьма невыдержанным годовым режимом.
Основными источниками питания реки
являются атмосферные осадки. Подземные
воды, как источник питания, играют
подчиненную роль.
На р. Вача, с
преобладанием снегового питания, годовой
ход уровней характеризуется высоким
весенним подъемом, повышенным
летним положением и низкой зимней
меженью.
Максимальных значений уровни достигают в конце мая, начале июня. Превышение максимальных уровней над меженью составляет 2-2.5 м. Спад сначала происходит быстро, а затем под влиянием дождевого стока замедляется. В течение лета отмечаются ряд дождевых пиков. Максимальные уровни наблюдаются в конце зимы - перед вскрытием рек.
Расход воды в р. Вача колеблется
в очень широких пределах от 0,030 до 74 м³
/с. Расход воды в р. Вача в среднем течении
составляет 24 м /с - в паводки, до 0,030 м³-
в январе, при среднегодовом расходе 5,9
м³/с.
Расход грунтовых вод 1,3 –
3,5 м³/с.
Измеренные расходы воды гидрогеологической партией Бодайбинской геологоразведочной экспедиции представлены в таблице 1.3.
Таблица 1.3 – Измеренные расходы воды
|
Водосток |
Створ |
Площадь водосбора, км². |
Годовой модуль стока |
Годовой объем стока. млн. м³ |
|
р. Вача |
Выше устья рч. Угахан |
675 |
8,6 |
183 |
Таблица 1.4 – Расход воды по месяцам.
|
Расход воды по месяцам, л/с |
|||||||||
|
Месяца |
V |
VI |
VII |
IIX |
IX |
X |
XI |
XII |
Средне годовое |
|
Ср. макс. |
14000 |
23000 |
9000 |
7100 |
8100 |
6000 |
3000 |
1500 |
59000 |
|
Ср. мин. |
5000 |
11000 |
5000 |
4000 |
4200 |
3500 |
1500 |
800 |
Надмерзлотные воды в связи с небольшой мощностью водоносного горизонта в сезонном слое, неравномерностями колебаниями глубине сезонного оттаивания, поп площади не равномерны. Подмерзлотные воды приуроченных к современным аллювиальным отложениям поймы и частично террасы.
Мощность водоносного горизонта в период максимума своего развития (август - сентябрь) достигает 3-х метров. В это время он тянется сплошной полосой вдоль русла реки. Максимальная ширина его, в общем, увеличивается вниз по долине, обычно близка к ширине современной поймы и составляет 100-150 м.
Коэффициент фильтрации аллювиальных песчано-гравийно-галечных отложений в зависимости от гранулометрического состава и различий примесей глинистого материала колеблется от 30 до60 м/сут.
Средний коэффициент фильтрации по данным пробных откачек из шурфов составила 43,14 м/сут.
На поверхности воды проявляются в виде источников с дебитом от 0,5 до 4 л/с, источники, как правило, сезонного происхождение. Нередко они мигрируют из года в год. Дебит не постоянен летом и зависит, главным образом, от хода атмосферных осадков.
Воды таликов распространены только под руслом реки.
Мощность водоносного горизонта 5 – 15 м, ширена от 30 до880 м., т. е. в пределах ширины русло р. Вача.
Коэффициент фильтрации валунного-галечных отложений с гравийно-песчаными отложениями – 16,64 м/сут.
Коэффициент фильтрации валунно-галечных отложений с супесчаным заполнителем, которые приурочены к проектируемому участку месторождения – 4,61 м/сут.
Химический состав вод премуществнно гидро-карбонато-кальцеевые. Минерализация 250-200 мг/т, умеренно жесткие, нейтральные, холодные (температура 2 - 5ºС).
Влажность грунтов 30%, льдистость 20%, мерзлотность до 93%.
Химическая характеристика вод месторождения приводиться на основании анализов проб воды, взятых из поверхностных источников.
Таблица 1.5 – Данные химических анализов воды
|
Вача выше устья р. Ныгри |
мг/л |
|
|
Плотный остаток |
88,4 |
|
|
Жесткость: |
общая устраненная постоянная |
3,52 2,24 1,28 |
2 Геологическая часть
2.1 Геологическая характеристика района месторождения
Долина р. Вача в районе участка работ широкая, ассиметричная. Левый склон долины высокий и крутой, правый- с широкими коренными увалами.
Мощность рыхлых отложений в долине изменяется от 11-15 м. до 23 м. под погребённым руслом и от 8 до 35 м. и более в бортах долины. Строение погребённой части также ассиметрично, как и строение современной долины. Погребённые террасы (цокали погребённых терасс широко распространены в правом борту долины, где они достигают ширины 800 – 1000 м.
Характер погребённого рельефа долины меняется в зависимости от устойчивости коренных пород, на которые он накладывается. На площади распространения зеленовато-серых песчаников с прослоями песчаников
Анангрской свиты погребённый
рельеф долины более резкий, и характеризуется
наличием узких удлинённых выровненных
поверхностей, разделённых глубоко
врезанными узкими бороздами. В области
распространения углисто-кварцевых
алевролитов, кварцитовидных песчаников
Ваченской свиты, рельеф характеризуется
наличием широких волнистых поверхностей
с возвышенностями.
По генезису
четвертичные отложения заполняющие
долину р. Вача на участке россыпи
подразделяются на: аллювии,
элювиально-пролювиальные, ледниковые,
озёрно-ледниковые водно-ледниковые и
делювиальные образования.
В
центральной части россыпи, т.е. в пределах
развития современной поймы и надпойменных
террac рыхлые отложения имеют мощность
от 8 до 20 м., в бортовых частях россыпи
(в аккумулятивных увалах) мощность
отложений увеличивается до 20-35 м. и
более. Увалы сложены разнообразной
серией ледниковых отложений, среди
которых наибольшее распространение и
мощность имеют озёрно-ледниковые илы.
Наиболее существенные черты
литологии отложений, слагающих
промышленную часть россыпи таковы:
1 Древний элювии. К наиболее древним
отложениям в долине р. Вача относится
глинистый и щебнисто-глинистый элювии
зеленовато-серых песчаников и сланцев
Анангрской свиты. Элювий представлен,
преимущественно, яркими жёлто-бурыми
глинами к низу постепенно переходящими
в разрушенный щебень коренных пород.
2 Древний аллювий. Является основным
золотоносным горизонтом месторождения.
Золотоносный аллювий представлен
гравийно-песчаным слабо иловатыми
галечниками серого, реже буроватого
цвета с набольшим количеством валунов.
Каменистость в них достигает 85-90%.
3 Отложения ледникового времени.
Представлены мореной, озёрно-ледниковыми
илами и илистыми песками. Эти отложения,
как правило, не золотоносны, залегают
в бортах долины и имеют большие мощности.
Морена в долине р. Вача представлена
зеленовато-серыми, карбонатными
илисто-валунными отложениями, состоящими
из пылеватой глины и большого количества
обломочного материала неокатанного
(30-35%) и сглаженного ледником(40-70%), часто
с ледниковой штриховкой.
Размер
крупного обломочного материала в морене
очень разнообразный, встречаются o6ломки
и галька в несколько сантиметров и
валуны от 20 см. до 1 м. Наряду с угловатым
остроребристым щебнем песчаника,
сланцев и других пород встречаются
хорошо окатанные, шариковой формы гальки
гранита. Процент каменистости в морене
в среднем равен 6%, коэффициент окатоности
8-12%.
4
Верхнечетвертичные отложения. Представлены
водно-ледниковыми гравийными галечниками,
глинистыми галечниками с валунами и
валунниками и аллювием надпойменных
террас.
В
основании отложений верхнечетвертичного
времени имеются многочисленные золотые
пропластки.
Главным золотоносным горизонтом
месторождения являются галечники
древнего аллювия, вторым по промышленной
значимости золотоносные пропластки в
галечниках верхнечетвертичного периода.
Почти на всем протяжении россыпи
галечники древние и более молодые четко
разграничены.
Среднее содержание
золота в пласте изменяется от десятых
долей грамма до 3
г/м³.
Таблица
2.1 - Гранулометрический состав рыхлых
отложений.
|
Размер фракции, мм |
Выход
фракции, % |
|
+200 |
8,7 |
|
-200+100 |
1,9 |
|
-100+50 |
7,7 |
|
-50+20 |
16,3 |
|
-20+10 |
21,2 |
|
-10+5 |
19,0 |
|
-5+2 |
12,0 |
|
-2+1 |
4,7 |
|
-1+0,05 |
4,2 |
|
-0,05+0,01 |
2,6 |
|
-0,01 |
1,7 |
|
Итого |
100 |
В среднем по всему полигона процент валунистости равен 8,7 %.
Таблица 2.2 –Горнотехнические условия эксплуатации месторождения.
|
Наименование параметров |
Объемы, параметры |
|
Длина отрабатываемого участка (блоков), м. |
2806 |
|
Ширена блоков, м: от до средняя |
50,5 184 122 |
|
Площадь блоков тыс. м2. |
360,7 |
|
Мощность вскрыши, м: от до средняя |
4,3 30,7 20,9 |
|
Мощность песков, м: от до средняя |
1,1 2,3 1,62 |
|
Категория пород по СНИП по взрываемости по Протодьяконову |
IV гр. V гр. VIII гр. |
|
Мерзлота, %. |
93 |
|
Льдистость, %. |
20 |
|
Валунистость, %. |
8,7 |
|
Промывистость песков |
хорошая |
|
Уклон плотика |
0,0078 |
|
Коэффициент хим. чистоты золота |
0,920 |
|
Коэффициент разрыхления торфов и песков |
1,25 |
|
Влажность грунтов, %. |
30 |
|
Преобладающее направление и скорость ветров, м/с. |
СЗ-З 3,0 |
2.2 Мерзлотная обстановка
Как указывалось выше (см. табл. . 2.2), мерзлоты на проектируемом участке 93%, мерзлота многолетнемерзлая, вялая (1,5 – 2,5 0С).
2.3 Полезные ископаемые
Промывистость золотоносного
материала хорошая. Выход черного шлиха
при промывке пород определяется в 206 г.
с 1 м³. Кроме золота шлихи не содержат
других промышленно ценных минералов.
В общей массе золото желтое, часто
встречаются золотины с бурым железистым
налетом. Отдельные, наиболее крупные
золотины, мало окатанные, имеют более
светлый вид с зеленоватым оттенком.
Формы золотин плоская, пластины
преимущественно тонкие, редко вытянутые
в одном направлении. Утолщенные пластины
встречаются редко. Окатанность золотин
хорошая, лишь редкие, имеющие свежий
вид, крупные имеют слабую окатанность.
Из включений встречаются только мелкие
зерна кварца.
Таблица 2.3 – Ситовая характеристика золота.
|
Размер фракции, мм. |
Выход фракции, % |
Накопленный, % |
|
-0,25 |
4,3 |
4,3 |
|
+0,25-0,50 |
14,7 |
19,0 |
|
+0,5-1,0 |
10,7 |
29,7 |
|
+1,0-3,0 |
56,2 |
85,9 |
|
+3,0-5,0 |
10,2 |
96,1 |
|
+5,0-7,0 |
2,8 |
98,9 |
|
+7,0 |
1,1 |
100 |
|
100,0 |
Проба золота – 920.
2.4 Подсчет запасов
В основу проектирования приняты как балансовые, так и забалансовые запасы россыпи р. Вача, переданные для ведения эксплуатационных работ открытым раздельным способом.
Подсчет запасов проводился по блоку № 36 (буровые линии 18 и 18а).
Таблица 2.4 - Подсчет запасов
|
№ БЛ |
№ скв. |
Мощность |
Линия влиян. скв., м. |
Линейный запас торфов, м2. |
Линейный запас песков, м2. |
Линейный запас гор. массы, м2. |
Ср. сод. Au на гор. массу, гр/м3. |
Ср. Сод Au в песках. г/м3. |
Линейный запас золота, м2. |
|
|
торфов, м. |
песков, м. |
|||||||||
|
18 |
39 |
17,5 |
1,9 |
19,5 |
341,25 |
37,05 |
378,3 |
0,345 |
3,52 |
130,51 |
|
40 |
17,6 |
1,6 |
20,2 |
355,22 |
32,32 |
387,54 |
0,754 |
9,04 |
292,21 |
|
|
41 |
18,3 |
1,1 |
20 |
366 |
22 |
388 |
0,216 |
3,81 |
83,81 |
|
|
42 |
18,6 |
1,8 |
19,9 |
370,14 |
35,82 |
405,96 |
0,351 |
3,98 |
142,49 |
|
|
43а |
19,8 |
1,6 |
20 |
396 |
32 |
428 |
0,168 |
2,25 |
71,9 |
|
|
44а |
18,9 |
2,3 |
20 |
378 |
46 |
424 |
0,116 |
1,07 |
49,18 |
|
|
45 |
20,2 |
1 |
1,9 |
401,98 |
19,9 |
421,88 |
0,02 |
0,42 |
8,44 |
|
|
46 |
21 |
1,6 |
19 |
399 |
30,4 |
429,4 |
0,161 |
2,27 |
69,13 |
|
|
Среднее |
18,98 |
1,61 |
0,26 |
3,32 |
||||||
|
Сумма |
158,5 |
3007,49 |
255,49 |
3263,08 |
847,67 |
|||||
|
18 а |
9 |
10 |
1,4 |
19,5 |
195 |
27,3 |
222,3 |
0,297 |
2,42 |
66,02 |
|
10 |
11,4 |
2,1 |
28 |
319,2 |
58,8 |
378 |
0,015 |
0,1 |
5,67 |
|
|
11 |
14,2 |
2,1 |
30 |
426 |
63 |
489 |
0,767 |
5,95 |
375,06 |
|
|
12 |
14 |
1,8 |
25 |
350 |
45 |
395 |
0,023 |
0,21 |
9,09 |
|
|
13 |
14,5 |
2 |
25 |
387,5 |
50 |
437,5 |
0,219 |
1,92 |
95,81 |
|
|
14 |
15,4 |
2,6 |
25,5 |
392,7 |
66,3 |
459 |
0,035 |
0,24 |
16,07 |
|
|
Среднее |
13,25 |
2 |
0,24 |
1,83 |
||||||
|
Сумма |
153 |
2070,4 |
610,4 |
2380,8 |
567,72 |
Подсчет запасов проводился по формулам:
Мощность торфов (Нт), мощность песков (Нп), линия влияния скважины (lс) определялись графическим способом и принимается из геологического разреза.
Определение линейного запаса торфов:
, м2.
(2.1)
Определение линейного запаса песков:
, м2.
(2.2)
Определение линейного запаса горной массы:
, м2.
(2.3)
Средние содержание золота на горную массу принимается из
геологического разреза.
Определение линейного запаса золота:
, м2.
(2.4)
Определение среднего содержания золота на пески:
, гр/м3.
(2.5)
Данный расчет (формулы 1.1-1.5)проведен для буровой линии №18 и скважины 39. Подобные расчеты проводятся для всех скважин и буровых линий. После рассчитываются средние и суммарные значения.
Определение средней мощности торфов:
(2.6)
где l1т, l2т, и lnт – мощность торфов по скважинам;
п – количество скважин n = 8.
Определение средней мощности песков:
, м. (2.7)
где l1n, l2n и lnn – мощность песков по скважинам.
Суммы средних линий скважин, объема торфов, объема песков, объема горной массы и линейного запаса золота определяются путем их сложения.
Средние содержание золота в песках по буровой линии определяется:
, м.
(2.8)
где ∑Vз – сумма линейного запаса золота;
∑Vn – сумма объема песков.
Данный расчет (формулы 2.6 - 2.8)проведен для буровой линии №18. Подобный расчет проводится дли буровой линии №18а.
Определяем объем торфов в блоке №36:
, м3.
(2.9)
где L бл – средняя длина бола №36, L бл = 92 м;
Vm18 и Vт18a – линейные объемы торфов буровой линии №18 и №18а соответственно, Vm18 = 3007,59 м3/м. Vт18a =2070,4 м3/м.
Определяем объем песков в блоке №36:
, м3.
(2.10)
где Vп18 и Vп18a – линейные объемы песков буровой линии №18 и 18а соответственно, Vп18 = 255,49 м3/м. Vп18a =310,4 м3/м.
Определяем запас золота в блоке:
, гр. (2.11)
где Vз18 и Vз18а – линейный объем золота по буровым линиям №18 и №18а соответственно, Vз18 = 847,67 гр. , Vз18а =567,22 гр.
Определяем среднюю мощность торфов по блоку:
, м. (2.12)
где l18 и l18а – сумма линий влияния скважин буровых линий №18 и №18а соответственно, l18 = 158,5 м., l18а = 153 м.
Определяем среднюю мощность песков в блоке:
, м. (2.13)
Определяем среднее содержание золота в м3 песка бола:
, гр./м3.
(2.14)
Объем золота по месторождению определяем как:
(2.15)
где Vп – объем песков по месторождению,V=1036800м3.
Расчет параметров предохранительной рубашки и глубины задирки плотика произведен по буровым линиям №18 и №18а.
Необходимые данные для расчета:
Содержание золота в золотоносном пласте С=2,5 гр/м3;
Бортовое содержание полезного компонента С>б>=0,25 гр/м3;
Содержание золота во вмещающих породах С>в>=0,05 гр/м3;
В табл. 2.5 и 2.6 приведены содержание по скважинам.
Таблица 2.5 – Содержание ценного компонента в скважине №18
|
Условная высотная отметка, м. |
Номера скважин |
Средняя по под пласту, гр/м3. |
|||||||
|
39 |
40 |
41 |
42 |
43а |
44а |
45 |
46 |
||
|
3,6 |
- |
- |
- |
3,029 |
1,154 |
- |
- |
- |
0,571 |
|
3,2 |
- |
- |
- |
2,930 |
6,564 |
- |
- |
- |
1,187 |
|
2,8 |
- |
0,988 |
- |
2,245 |
0,303 |
0,391 |
0,202 |
- |
0,516 |
|
2,4 |
- |
29,085 |
- |
2,422 |
1,014 |
2,019 |
- |
1,24 |
4,597 |
|
2,0 |
1,514 |
9,083 |
15,580 |
6,730 |
2,421 |
1,562 |
- |
9,161 |
5,756 |
|
1,6 |
5,452 |
ЗН |
ЗН |
9,720 |
- |
ЗН |
- |
2,955 |
2,260 |
|
1,2 |
9,583 |
10,380 |
15,397 |
0,379 |
- |
1,262 |
- |
3,515 |
5,065 |
|
0,8 |
12,620 |
3,670 |
- |
- |
- |
0,391 |
- |
- |
2,085 |
|
0,4 |
ЗН |
- |
- |
- |
- |
- |
- |
- |
0 |
|
0 |
2,753 |
- |
- |
- |
- |
- |
- |
- |
0,344 |
|
Средняя по разведочной линии |
2,238 |
Таблица 2.6 – Содержание ценного компонента в скважине №18 а
|
Условная высотная отметка, м. |
Номера скважин |
Средняя по под пласту, гр/м3. |
|||||
|
9 |
10 |
11 |
12 |
13 |
14 |
||
|
3,2 |
- |
- |
0,330 |
- |
0,750 |
- |
0,138 |
|
2,8 |
- |
- |
ЗН |
0,250 |
2,280 |
0,833 |
0,227 |
|
2,4 |
- |
- |
20,000 |
0,400 |
ЗН |
ЗН |
3,400 |
|
2,0 |
- |
0,166 |
3,400 |
0,200 |
0,200 |
ЗН |
0,594 |
|
1,6 |
- |
ЗН |
5,600 |
- |
1,100 |
0,417 |
1,186 |
|
1,2 |
5,083 |
ЗН |
- |
- |
1,800 |
- |
0,847 |
|
0,8 |
- |
0,250 |
- |
- |
- |
- |
0,042 |
|
0,4 |
3,2 |
- |
- |
- |
- |
- |
0,530 |
|
0 |
1,6 |
- |
- |
- |
- |
- |
0,267 |
|
Средняя по разведочной линии |
0,774 |
1 Устанавливаем последовательность разностей отметок разведочных линий в кровле пласта
∆1к=Нк39-Нк40=615,4-615,8=0,4 м; ∆2к=Нк40-Нк41=615,8-616=0,2 м;
∆3к=Нк41-Нк42=616-616,6=0,6 м; ∆4к=Нк42-Нк43а=616,6-616,4=0,2 м;
∆5к=Нк43а-Нк44а=616,4-616,2=0,2 м; ∆6к=Нк44а-Нк45=616,2-616=0,2 м;
∆7к=Нк45-Нк46=616-616,2=0,2 м; ∆8к=Нк46-Нк39=616,8-615,4=1,4 м.
где Нк39 – Нк46 – высотная отметка по кровле соответствующей
скважины.
2 Устанавливаем последовательность разностей отметок разведочных линий в почве пласта
∆1п=Нп39-Нп40=613,4-61,4=0,6 м; ∆2п=Нп40-Нп41=614-614,4=0,4 м;
∆3п=Нп41-Нп42=614,4-614,4=0 м; ∆4п=Нп42-Нп43а=614,4-616,8=2,4 м;
∆5п=Нп43а-Нп44а=616,8-614=2,8 м; ∆6п=Нп44а-Нп45=614-615,2=1,2 м;
∆7п=Нп45-Нп46=615,2-614,8=0,4 м; ∆8п=Нп46-Нп39=614,8-613,4=1,4 м.
где Нп39 – Нк46 – высотная отметка по почве соответствующей скважины.
3 Определяем стандартную случайную изменчивость в кровле пласта
;
(2.16)
где п – количество разностей, п=8
4 Определяем стандартную случайную изменчивость в почве пласта
;
(2.17)
5 Определяем стандартную случайную изменчивость относительно поверхности после вскрыши.
Стандартную случайную изменчивость относительно поверхности после вскрыши зависит от вида выемочного оборудования, так при использовании экскаватора ЭШ 20/90 δ>сл>В=0,35, при использовании ЭКГ 5А δ>сл>В=0,3, а при использовании бульдозера δ>сл>В=0,2.
6 Определяем стандартную случайную изменчивость относительно поверхности после добычи
Стандартную случайную изменчивость относительно поверхности после добычи также зависит от вида выемочного оборудования, так при использовании экскаватора ЭШ 20/90 δ>сл>Д=0,35, при использовании ЭКГ 5А δ>сл>Д=0,3, а при использовании бульдозера δ>сл>Д=0,25.
Далее ведем расчет со стандартной изменчивостью равной δ>сл>В=0,35 и δ>сл>Д=0,35, то есть, производим вычисление для шагающего экскаватора.
7 Определяем стандартную случайную изменчивость контура выемки пласта кровли:
; (2.18)
где i – интервал опробования i=0,4 м.
8 Определяем стандартную случайную изменчивость контура выемки пласта почвы:
;
(2.19)
9 Определяем ширину зоны контакта кровли пласта:
;
(2.20)
10 Определяем ширину зоны контакта кровли пласта:
;
(2.21)
11 Определяем показатель рациональной выемки пород пласта:
;
(2.22)
12 Определяем среднее содержание:
(2.24)
где j – количество содержаний, j = 9.
14 Определяем рациональную мощность предохранительной рубашки:
м; (2.25)
15 Определяем рациональную глубину задирки плотика:
м; (2.26)
16 Определяем слой потерь полезного ископаемого в почве пласта:
м; (2.27)
17 Определяем слой потерь полезного ископаемого в кровле пласта:
м; (2.28)
Повторяем расчет формул 5- 17 для экскаватора типа ЭКГ 5А, и бульдозера.
Весь расчет повторяем для буровой линии №18а. Полученные результаты заносим в таблицу 2.7.
Таблица 2.7 – Параметры предохранительной рубашки и задирки плотика
|
Номер буровой линии |
Параметры |
||||||||
|
δк>сл> |
δп>сл> |
δ∑к>сл> |
δ∑п>сл> |
m>пр>, м. |
m>з>, м. |
h>к>, м. |
h>п>, м. |
||
|
№18 |
>ЭШ> |
0,41 |
1,05 |
0,57 |
1,1 |
0,57 |
1,1 |
0,0079 |
0,0015 |
|
>ЭКГ> |
0,54 |
1,1 |
0,53 |
1,1 |
0,0074 |
0,0015 |
|||
|
>Бульдозер> |
0,49 |
1,09 |
0,48 |
1,09 |
0,0067 |
0,0015 |
|||
|
№18а |
>ЭШ> |
0,52 |
0,52 |
0,66 |
0,66 |
0,66 |
0,66 |
0,0009 |
0,0009 |
|
>ЭКГ> |
0,63 |
0,63 |
0,63 |
0,63 |
0,0008 |
0,0008 |
|||
|
>Бульдозер> |
0,59 |
0,59 |
0,59 |
0,59 |
0,0008 |
0,0008 |
|||
|
Средняя |
>ЭШ> |
0,46 |
0,78 |
0,61 |
0,88 |
0,61 |
0,88 |
0,0044 |
0,0012 |
|
>ЭКГ> |
0,58 |
0,86 |
0,58 |
0,86 |
0,0041 |
0,0011 |
|||
|
>Бульдозер> |
0,54 |
0,84 |
0,53 |
0,84 |
0,0037 |
0,0011 |
18 Определяем объем потерь полезного ископаемого в кровли пласта:
м3;
(2.29)
где В – средняя ширина россыпи, В=122 м (см. табл. 2.2);
L – длина россыпи, L=2806 м (см. табл. 2.2).
19 Определяем объем потерь полезного ископаемого в почве пласта:
м3;
(2.30)
20 Определяем коэффициент потерь в кровле пласта:
;
(2.31)
где V>пи> – объем полезного ископаемого в россыпи, V>пи> = 1036800 м3.
20 Определяем коэффициент потерь в почве пласта:
;
(2.32)
Из формулы (2.24) видно, что среднее содержание полезного компонента в золотосодержащем пласте (с учетом предохранительной рубашки и задирки плотика) составило 2,2 гр/м3. Таким образом содержание золота по месторождению р. Вача определяться как:
(2.34)
3 Горная часть
3.1 Исходные данные для проектирования
3.1.1 Современное состояние горных работ
Промывочный сезон 2002 года открылся 24 мая и закончился 3 ноября. Среднесуточная добыча золота составила 1437 грамм.
Материально-техническое обеспечение (основные средства) артели представлены в основном горными машинами и оборудованием, необходимым для добычи золота. Артель использует в своем производстве так же машины и оборудование, взятые в аренду у ООО "Аурум".
Производственная база, оснащена всем необходимым для проживания
персонала, хранения ГСМ и производства ремонтных работ горного оборудования.
Помимо вышеперечисленного на базе (на 01.10.01) года имеется дополнительное малостоящее оборудование, материалы, запасные части и ГСМ на сумму 2010 тыс. руб.
3.1.2 Выбор способа разработки
В зависимости от типа горных машин, используемых для выемки и транспортировки песков, различают следующие способы разработки: подземный, дражный, экскаваторный, гидравлический, скреперно-бульдозерный.
Из всех способов разработки наиболее трудоемким, дорогостоящим является подземный. Подземный способ разработки целесообразно применять в следующих условиях, где четко выдержанный и выраженный пласт, глубина залегания более 20м, высокое содержание золота 10-12г/м3.
Дражный способ неэффективен из-за 100%-ной пораженности массива многолетней мерзлотой и незначительного срока эксплуатации месторождения, слишком малы запасы полезного ископаемого.
Гидравлический способ выгоднее применять для разработки россыпей с ограниченным притоком подземных и поверхностных вод. С увеличением притока разработка усложняется, а себестоимость добычи повышается. Наиболее водоносные россыпи разрабатывать гидравлическим способом не целесообразно. Лучше применять его для разработки террасовых, увальных, верховых и ключевых россыпей. Для разработки пойменных россыпей небольшой или средней водоносности гидравлический способ целесообразно использовать на отдельных небольших площадях с малыми запасами или когда на приисках имеется дешевая электроэнергия и нет оборудования для применения более выгодного способа. Себестоимость добычи при разработке пойменных россыпей увеличивается вследствие увеличения стоимости осушения, но сохраняют основные преимущества этого способа: небольшие капитальные вложения и простота оборудования. Запасы россыпей, которые можно разрабатывать гидравлическим способом, изменяются в широких пределах. Эти сроки зависят от капиталовложений, необходимых для разработки россыпи и наличие разведанных запасов вблизи прииска. Если необходимо строить линию электропередачи значительной протяженности и поселок; то следует выдерживать сроки существования разреза не менее 10-12 лет.
При глубине россыпи до 30 м. и шириной 150 м. наиболее целесообразно разрабатывать россыпь экскаваторно-транспортным способом с раздельной выемкой торфов и песков.
При экскаваторно-транспортном способе разрабатывают террасовые и верховые россыпи с любым уклоном плотика, сложенные из наиболее крепких и валунистых пород.
Бульдозерно-скреперный способ разработки не требует больших капитальных затрат и характеризуются малым удельным расходом электроэнергии. К достоинствам бульдозеров и скреперов следует отнести их высокую маневренность, возможность быстрой перебазировки с одного участка на другой. К недостаткам следует отнести: заметное снижение производительности при повышенных влажностях и валунистости разрабатываемых пород и увеличенном расстоянии их транспортирования; необходимость доставки на участок значительного количества ГСМ и высокую трудоемкость ремонтных работ.
Бульдозеры применяться при заработки талых и мерзлых пород до V категории и после предварительного механического или буровзрывного рыхления. При мощности россыпи до 10 м и более, растоинии транспортирования породы до 150 м, и угле подъема до 180.
Из выше перечисленных способов наиболее подходящим для разработки россыпного месторождение «Вача» является бульдозерный.
Бульдозерный способ разработки удовлетворяет всем параметрам и характеристикам месторождения. Так крепость пород по СНИПу на месторождении составила IV. А при использования бульдозеров и механического рыхления породы данным способом возможна разработка пород до V категории, средняя мощность пласта (с учетом предохранительной рубашки и задирки) не превышает 3 м. Расстояние транспортирование песков бульдозерами также не будет превышать максимальной рациональной для бульдозеров т. к. используется вывоз песков их разреза автосамосвалами.
3.1.3 Режим работы и
производственная мощность предприятия
Режим организации работ карьера раздельной добычи “Вача”:
сезонный с вахтовыми условиями труда, непрерывной рабочей неделей в две смены продолжительностью по 12 часов из которых: обед-1час, плановые предупредительные работы-1 час, два перерыва для отдыха по 15 минут.
Продолжительность сезона для различных видов работ, принимается из графика годового распределения среднемесячных температур наружного воздуха по району (смотри рисунок 1.1):
продолжительность буровзрывных работ 290 суток;
продолжительность вскрышных работ 260 суток с 20 марта по 26 ноября;
продолжительность промывочных работ 150 суток с 3 мая, по 11 октября.
Производительность карьера определяется исходя из запасов песков, способа разработки и производительности промприбора.
Средне годовая производительность карьера по вскрыше торфов составит:
м3
(3.1)
где А>П/П>> >– среднегодовая производительность промприбора, Аn =114000 м3 (смотри таблицу 3.1);
n – количество промывочных приборов, n=2 шт.;
Кв > >– коэффициент вскрыши, Кв=8,2
(3.2)
Годовая производственная мощность карьера
А= Ат +( А>П/П>ּ n) = 1722000+(105000ּ 2)= 1932000 м3 (3.3)
Срок отработки россыпи составит:
N = Vп / (Ап/пּ 2)= 1036800 / (105000ּ2) = 5 (3.4)
Производственная мощность предприятия обеспечивается следующим оборудованием: промывочными приборами ПГШ – II – 50 (2 шт.), экскаватором КАТО-1500GV, бульдозерами D 355 A (2 шт.) и Т-170 (2 шт.), буровым станком 2СБШ-250 МН, автосамосвалами БелАЗ –540А (3 шт.), экскаватором ЭШ 15 / 90А.
3.2 Осушение россыпи
Цель осушения месторождения заключается в следующем: отвод избытка воды с поверхности осушаемой территории; понижение уровня грунтовых вод и уменьшения влажности залежи; обеспечение прочной опоры для используемой техники при разработке.
Сооружения для отвода поверхностных и подземных вод подразделяют на две группы:
1 Поверхностные (канавы, котлованы);
2 Подземные (штреки, горизонтальные скважины).
В зависимости от назначения канавы делятся на руслоотводные, нагорные, водосборные и капитальные (водосточные).
Способы осушения заключается в проведении следующих мероприятий:
отвод русла рек из карьерного поля;
ограждение карьера от поверхностных весенних и ливневых вод.
Отвод русла реки за промышленный контур россыпи в проекте не предусматривается, так как р. Вача находится за пределами россыпи.
Для атмосферных осадков, которые попадают в карьер и для вод талых пород сооружаем дренажную канаву.
Капитальная траншея обеспечивает доступ к вскрышным и добычным уступам.
Продольный уклон россыпи составил 0,0003, а поперечный уклон россыпи 0,045.
Продольный и поперечный уклон россыпи значительно большие, следовательно, вода будет собираться в углу нижней части россыпи, а дальше будет проходить по капитальной траншее. В траншее будет проходить дорога с уклоном 30 0/>00> , при количестве атмосферных и талых вод 0,005 м3/с вода будет проходить по обочине и не будет препятствовать движению.
Длина капитальной траншеи принята 334 м .
Водосборная канава служит для сбора атмосферных осадков и для вод талых пород, которые попадают в карьер, а затем переходит в водосточную канаву.
Длина водосборной канавы будет равна длине капитальной траншеи,
L>к >= 334 м.
В траншее будет проходить дорога с уклоном 30 0/>00> , при количестве атмосферных и талых вод 0,005 м3/с вода будет проходить по обочине и не будет препятствовать движению.
Для отвода поверхностных вод, стекающих в карьер с более возвышенных мест в период весеннего снеготаяния и после ливневых дождей, проводят нагорные канавы.
Скорость течения воды в канаве определяется из того что скорость течения воды в канаве (v) не должна превышать размывающею скорость (v>РАЗМ>) и не должно быть меньше скорости течение при которой происходит заиливание канавы (v>ЗАИЛ>).> >
Высота потока в канаве определяется:
(3.5)
где Q>10> – 10% обеспеченность стока, максимальная, Q>10>=1,75 м3/с;
β – ширена отвала бульдозера, β=3,2 м;
v>РАЗМ> – скорость размыва, v>РАЗМ> =2,04.
(3.6)
где α – коэффициент крупности наносов, α=0,5.
Площадь сечения канавы определяется:
(3.7)
где b – ширена канавы по дну, b=3,2 м;
m – заложение откосов, m=1 (450);
h – высота канавы, определяется путем подбора.
Смоченный период определяется:
(3.8)
Гидравлический радиус канавы определяется как:
(3.22)
Коэффициент Шизи определяется:
(3.9)
где п – коэффициент шероховатости канавы, п=0,018;
у – эмпирический коэффициент, у=0,167.
Уклон канавы определяется:
(3.10)
Расход воды определяется как:
(3.11)
Расчет проведен для высоты потока в канаве равной 0,5 м. Аналогичный расчет проводим для высот 0,4; 0,3 и 0,2 м. Результаты заносим в таблицу 3.1.
Таблица 3.1 – Расчет параметров нагорной канавы
|
№ |
b, м. |
h, м |
w, м2 |
х, м |
R, м |
С |
i |
Q, м3/с |
|
1 |
3,2 |
0,5 |
1,8 |
4,4 |
0,4 |
47,7 |
0,002 |
2,4 |
|
2 |
3,2 |
0,4 |
1,68 |
4,1 |
0,35 |
46,6 |
0,002 |
1,77 |
|
3 |
3,2 |
0,3 |
1,44 |
3,8 |
0,3 |
45,4 |
0,002 |
1,16 |
|
4 |
3,2 |
0,2 |
1,05 |
3,6 |
0,2 |
42,5 |
0,002 |
0,56 |
Далее строим график зависимость расхода воды в канаве от высоты потока воды в канаве, см. рис 3.1.

Рисунок 3.1 - График зависимость расхода воды в канаве от высоты потока
воды в канаве.
Из графика видно, что при данном расходе воды 1,75 м3/с высота потока воды в канаве буде равна 0,39 м.
К полученной высоте потока прибавляем необходимую безопасную высоту.
.
(3.12)
где ε – необходимый надводный борт, по ТБ, ε = 0,45 м.
Таким образом, глубина нагорной канавы будет равна 1 м.
Определяем объем нагорной канавы:
; (3.13)
где В>ПОВ>, В>ПОН> – ширина канавы поверху и понизу соответственно, В>ПОВ>=5,2 и В>ПОН>=3,2;
L – длина нагорной канавы (принята с проекта), L=1950 м.

Рисунок 3.2 – Сечение нагорной канавы.
Затраты на проведение нагорной канавы определяются как:
(3.14)
где Ц>Б170> – стоимость затрат на 1 м3 для бульдозера Т 170, Ц>Б170> = 9,3 руб. (см. табл. 3.15) .
Осушение карьера в случае ливневых вод предусмотрено водоотливной установкой состоящей из двух грунтовых насосов ГРТ 400/40.
Выбор насосной установки:
(3.15)
где z>СУТ> – максимальная суточная норма осадков, z>СУТ> = 0,06 м;
S>ВС> – площадь водосбора, S>ВС> = 262500 м2.
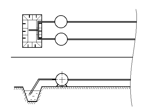
Таким образом выбор насосной установки необходимо проводить исходя из максимального водопритока в час, из этого условия выбирается грунтовый насос ГРТ 400/40 в количестве 2 шт., суммарной производительностью 800 м3/ч.
Насосы располагаются параллельно, такая комбинация позволяет увеличить производительность насосов до 800 м3/ч (суммарно), а напор оставить прежним 40 м.
Схематично соединение насосов показано на рисунке 3.3.


Рисунок 3.3 – Схема соединения насосов ГРТ 400/40
Вскрытие месторождения
Работы по вскрытию включает совокупность работ, проводимых с целью создания доступа к горизонту залежи, т.е. обеспечения непосредственной транспортной связи этого горизонта с поверхностью и размещения горных машин.
Вскрытие состоит из проведения горных выработок или строительства специальных сооружений (выносных канав, котлованов, выездов, траншей, плотин).
При экскаваторной разработке вскрытие россыпи осуществляется двумя способами: без проведения выработок и с независимым вскрытия отдельных горизонтов.
При вскрытии без проведения выработок оборудования располагается на поверхности россыпи и используется как для вскрышных, так и для добычных работ.
При независимом вскрытии горизонтов используют две технологические схемы: транспортная и бестранспортная. При бестранспортной разработке выработки проводятся, только если экскаватор производит вскрытие без применения транспортных средств. На экскаваторных разработках с применением транспорта работы по вскрытию включает проведения траншей, устройство выездов, сооружения насыпей и съездов, планировку площадок для экскаваторов и транспортных средств. При этом способе россыпь разрабатывается одним или несколькими уступами (в зависимости от мощности россыпи).
Проектом принят независимое вскрытие отдельных горизонтов с применением транспортной технологии.
Схема вскрытия
Схема вскрытия карьерного поля включает в себя капитальную траншею и четыре разрезных траншеи. Четыре разрезные траншеи необходимы для вскрытия исходи из условия экскавации торфов. Вскрытие месторождения производиться экскаваторам ЭШ 15/90 А. Экскаватор проходит разрезную траншею №1, после того как из неё будет убран и вывезен золотоносный пласт песков, она засыпается торфами разрезной траншеи №2, так как предусмотрено расположение отвалов вскрыши в отработанное пространство. И так далее, разрезная траншея №2 засыпается торфами из №3, а та в свою очередь из №4. При этом достигается низкий коэффициент переэкскавации k>ПЕР>=0,2,> >так же уменьшаться работы по рекультивации нарушенных земель
Сменная
норма выработки экскаватора ЭШ 15/90 А
определяется из выражения:

(3.16)
где Т>КФМ> – календарный фонд времени по месяцам, из расчета 12 часов в смену, > >Т>КФМ> = 480 ч;
Т>В> – вспомогательные работы, из расчета 20 мин. в смену, Т>В> = 14 ч;
Т>ППР> – продолжительность планово предупредительного ремонта, из расчета 3-4 сут. в месяц, Т>ППР>=72 ч;
Т>ПЗО> – продолжительность предварительно заключительных операций из расчета 1 ч. в смену, Т>ПЗО> = 40 ч;
Т>ЛО> – продолжительность времени на личные надобности и отдых из расчета 25 мин. в смену, Т>ЛО> = 34 ч;
Е – емкость ковша экскаватора, Е = 15 м3;
k>и> – коэффициент использования экскаватора, k>и>=0,61;
t>Ц> - время цикла, t>Ц >=59,06.
;
(3.17)
где k >И3>> >и k >И4> – соответственно коэффициет использования для третей и четвертой категории пород, k >И3 >=0,69 и k >И4> = 0,59;
0,2 и 0,8 – соответственно количественное содержание пород третей и четвертой категории.
;
(3.18)
где t >Ц3>> > и t >Ц4>> > - соответственно время цикла для пород третей и четвертой категории, t >Ц3 >= 56,5> > и t >Ц4 > =59,7.
Данный расчет проведен для месяца мая, аналогичные расчеты
произведены для остальных месяцев работы экскаватора ЭШ 15/90 А и занесены в табл.
Параметры капитальной траншеи
Ширина капитальной траншеи по дну определяется из условия безопасного движения транспортных средств автосамосвалов БелАЗ - 540, при двух полосном движении.
;
(3.19)

где В>о>> >- ширина обочины, в>о> = 2 м;
m – безопасное расстояние, m = 1 м;
П – ширина проезжей части, П = 11 м.
Глубина заложения капитальной траншеи определяется глубиной залегания песков в местах примыкания и равна:
Н>тр> = Н>в> + h>пи >=20,3+3=23,3 м; (3.20)
где Н>в> – мощность вскрыши, Н>в> =20,3м;
h>пи>> >– мощность песков, h>пи> =3 м.
Длина капитальной траншеи равна:
;
(3.21)
где i – уклон капитальной траншеи, i = 70 0/>00>>.>
Объем капитальной траншеи равен:
(3.22)
где β – угол откоса борта траншеи, β = 45 град;
Затраты на строительство капитальной траншеи:
(3.23)
где ЦЭШ - стоимость затрат на 1 м3 ЭШ 15/90 А, ЦЭШ =5,5 руб.
Принимаем две капитальные траншеи.
Результаты расчета приведены в таблице 3.2.
Таблица 3.2 – Параметры капитальной траншеи
|
Показатели и обозначения |
Траншея |
|
Ширина по низу, м. |
20 |
|
Ширина по верху, м. |
67,5 |
|
Глубина траншеи, > >м. |
23,4 |
|
Угол откоса борта, град. |
45 |
|
Длина траншеи, > >м. |
334 |
|
Объем траншеи, > >м3. |
139236 |
3.3.3 Параметры разрезной траншеи.
Ширина по низу разрезной траншеи определяется с учетом условий безопасного размещения выемочного оборудования и вместимости выработанного пространства на размещения пород вскрытия от первой эксплуатационной заходки.
При тупиковой схеме подачи автосамосвалов под погрузку ширина по дну определяется:
(3.24)
где в>с>> >- ширина автосамосвала БелАЗ - 540, в>с> = 3,48 м;
R>а>> >– наименьший радиус поворота автосамосвала БелАЗ - 540, R>а>= 12 м;
е – зазор между автосамосвалом и траншеей, е = 1 м .
Для определения объема разрезных траншей необходимо определить средние сечения и длину каждой траншеи.
Результаты расчетов сводим в табл. 3.3.
Таблица 3.3 – Расчет параметров разрезных траншей
|
№ траншеи |
Ширина траншеи по низу |
Среднее сечение траншеи, м2 |
Длина траншеи, м |
Объем траншей, м3 |
|||
|
На вскрыши |
На добычи |
На вскрыши |
На добычи |
На вскрыши |
На добычи |
||
|
1 |
107 |
104 |
2601 |
315 |
1020 |
2653020 |
321408 |
|
2 |
40 |
37 |
1224 |
152 |
410 |
501840 |
62208 |
|
3 |
85 |
82 |
2142 |
259 |
1640 |
3512880 |
425088 |
|
4 |
41 |
38 |
1232 |
142 |
1580 |
1947960 |
228096 |
|
Среднее |
136 |
130 |
1800 |
217 |
|||
|
Сумма |
4650 |
8525700 |
1036800 |
При этом угол откоса, как вскрышной траншеи, так и добычной составляет 450.
В качестве выемочного оборудования. Как указывалось выше, на вскрытие и проходке капитальных траншей принимается экскаватор ЭШ 15/90А, а для проведения добычной разрезной траншеи – экскаватор Като – 1500GV.
График горно–строительных работ.
Для построения графика необходимо определить сроки проходки траншеи.
Время проходки капитальной траншеи:
Т>К> = V>К> / Qэш>сут> = 139236 / 7687 = 17 дней; (3.25)
где QЭШ>СУТ> – суточная производительность экскаватора ЭШ 15 /90А,
QЭШ>СУТ> = 7687 м3 , (см. табл. 3.12).
V>К>> >– объем капитальной траншеи, V>К> = 139236 м3;
Время проходки разрезной траншеи №1:
(3.26)
где V>Р1>> >– объем вскрышной разрезной траншеи, V>Р1> = 2653020 м3;
Время проходки разрезной траншеи №2:
(3.27)
где V>Р2 >> >– объем вскрышной разрезной траншеи, V>Р2> = 501840 м3.
Время проходки разрезной траншеи №3:
(3.28)
где V>Р3>> >– объем вскрышной разрезной траншеи, V>Р3> = 3512880 м3.
Время проходки разрезной траншеи №4:
(3.29)
где V>Р4 >> >– объем вскрышной разрезной траншеи, V>Р4> = 1947960 м3;
Время проходки добычной разрезной траншеи №1:
(3.30)
где V>РП 1>> >– объем добычной разрезной траншеи, V>РП 1 > = 321408 м3;
QК>СУТ>> > – суточная производительность экскаватора Като – 1500 GV,
QК>СУТ >= 1404 м3.
Время проходки добычной разрезной траншеи №2:
(3.31)
где V>РП 2 > – объем добычной разрезной траншеи, V>РП 2 > = 62208 м3.
Время проходки добычной разрезной траншеи 3:
(3.32)
где V>РП31>> >– объем добычной разрезной траншеи, V>РП 3 > = 425088 м3.
Время проходки добычной разрезной траншеи №4:
(3.33)
где V>РП 1>> >– объем добычной разрезной траншеи, V>РП 1 > = 228096 м3.
Затраты на проходку вскрышных разрезных траншей:
(3.34)
Затраты на проходку добычных разрезных траншей:
(3.35)
На основании этих данных разрабатывается график Г.С.Р. по годам.
Таблица 3.4 – График горно-строительных работ
-
Вид работ
Время выполнения работ.
1 год
2 год
Месяца
Месяца
III
IV
V
VI
VII
IIX
IX
X
XI
III
IV
V
VI
VII
IIX
IX
X
XI
Сутки
Сутки
20
30
31
30
31
31
30
31
26
20
30
31
30
31
31
30
31
26
1
2
3
4
5
6
7
8
9
10
11
12
13
14
15
16
17
18
19
Монтаж ЭШ15/90А
20
30
31
30
11
Проходка капитальных траншей
17
Проходка разрезных траншей по вскрыши
№1
3
31
30
31
26
20
30
31
30
31
31
30
31
19
№2
7
№3
№4
Монтаж
Като–1500GV
10
Проходка разрезных траншей по пескам
№1
31
30
11
31
30
31
31
30
5
№2
№3
№4
Продолжение таблицы 3.4
|
Время выполнения работ. |
Выполнение работ |
||||||||||||||||||||||||||
|
3 год |
4 год |
5 год |
|||||||||||||||||||||||||
|
Месяцы |
Месяцы |
Месяцы |
|||||||||||||||||||||||||
|
III |
IV |
V |
VI |
VII |
IIX |
IX |
X |
XI |
III |
IV |
V |
VI |
VII |
IIX |
IX |
X |
XI |
III |
IV |
V |
VI |
VII |
IIX |
IX |
X |
XI |
|
|
20 |
30 |
31 |
30 |
31 |
31 |
30 |
31 |
26 |
20 |
30 |
31 |
30 |
31 |
31 |
30 |
31 |
26 |
20 |
30 |
31 |
30 |
31 |
31 |
30 |
31 |
26 |
|
|
20 |
21 |
22 |
23 |
24 |
25 |
26 |
27 |
28 |
29 |
30 |
31 |
32 |
33 |
34 |
35 |
36 |
37 |
38 |
39 |
40 |
41 |
42 |
43 |
44 |
45 |
46 |
47 |
|
122 |
|||||||||||||||||||||||||||
|
17 |
34 |
||||||||||||||||||||||||||
|
345 |
|||||||||||||||||||||||||||
|
20 |
30 |
8 |
65 |
||||||||||||||||||||||||
|
6 |
30 |
31 |
31 |
30 |
31 |
26 |
20 |
30 |
31 |
30 |
31 |
31 |
30 |
31 |
21 |
457 |
|||||||||||
|
5 |
20 |
30 |
31 |
30 |
31 |
31 |
30 |
31 |
15 |
254 |
|||||||||||||||||
|
10 |
|||||||||||||||||||||||||||
|
230 |
|||||||||||||||||||||||||||
|
44 |
|||||||||||||||||||||||||||
|
25 |
30 |
31 |
31 |
30 |
11 |
31 |
30 |
31 |
31 |
30 |
11 |
303 |
|||||||||||||||
|
29 |
30 |
31 |
31 |
30 |
11 |
162 |
Таблица 3.5 – Сводный сметный расчет на строительство карьера.
|
Наименования затрат |
Сумма затрат, руб. |
Затраты на 1м3 годовой добычи, руб. |
|
Подготовка территории строительства |
1019361 |
4,9 |
|
Затраты на горные работы |
9531730 |
46 |
|
Затраты на электромеханическое оборудование и монтаж |
65993400 |
318 |
|
Затраты на транспорт |
5154000 |
24,9 |
|
Затраты на приспособления, инструменты, инвентарь. |
403396 |
1,9 |
|
Благоустройство промышленной площадки |
8108253 |
39,1 |
|
Временные здания и сооружения |
3478440 |
16,8 |
|
Прочие работы и затраты |
9266922 |
44,7 |
|
Итого |
102955502 |
496 |
|
Содержания дирекции |
617733 |
3 |
|
Затраты на подготовку кадров |
120000 |
0,6 |
|
Стоимость изыскательных и проектных работ |
1036932 |
5 |
|
Итого |
1774665 |
8,6 |
|
Всего |
104730167 |
505 |
|
Непредвиденные работы и затраты |
10473017 |
50,5 |
|
Всего по смете |
115203184 |
555,6 |
Горно–подготовительные работы
В состав горно-подготовительных работ входят:
очистка полигона;
подготовка пород к выемке;
вскрышные работы;
сооружение дорог;
строительство гидротехнических сооружений.
Очистка полигона
Очистка полигона от растительности включает в себя удаление с отрабатываемых площадей деревьев, пней, мелколесья, снега. Деревья имеющие диаметр более 12 см подлежат предварительному спиливанию и складированию на бортах полигона. В дальнейшем этот лес будет использоваться на хозяйственные нужды предприятия. Мощность почвенного слоя по месторождению составляет 7 см, что не позволяет его снять и складировать в отдельные отвалы. Площадь очистки полигона от мелколесья и кустарника составляет.
;
(3.36)
где L>Б>> >– длина блока, L>Б> = 2806 м;
В>Б>> >– средняя ширина ,блока, В>Б >= 122 м;
H>ОЧ>– мощность снимаемого слоя, h>ОЧ> = 0,1 м.
Работы по очистке полигона предусматривается бульдозером D 355 А
Количество машино-часов для очистки полигона от мелколесья и кустарника составляет:
(3.37)
где QБ>Ч>- часовая норма выработки бульдозером D 355 А, QБ>Ч >= 73,2 м3 / час (см. таб. 3.2).
Общие затраты на очистку полигона:
(3.38)
где Ц>D>>355>>A>> >– стоимость затрат на 1м3 для бульдозера D 355 А (см. табл. 3.32), Ц>D>>355>>A>> >= 14,5 рублей.
3.4.2 Способы подготовки
многолетнемерзлых пород к выемке
В настоящем проекте предусматривается три способа подготовки многолетнемерзлых пород к выемке: буровзрывной способ (торфа), механический способ рыхления (пески) и способ естественного оттаивания (пески перед обогащением).
Подготовка многолетнемерзлых пород к выемке способом естественного оттаивания.
Естественное оттаивание мерзлых пород, основанное на регулировании теплового потока, выгодно отличается от других способов простотой организации работ, сравнительно малыми затратами и высокой интенсивность оттаивания.
Механический способ рыхление мерзлых пород можно применить только для подготовки кондиционного пласта песков. Выемку осуществляют бульдозерно-рыхлительными агрегатами D 355 А на разработку всего объема песков, объем которого равен 1036800 м3.
Рыхление мерзлых пород ведется послойно взаимно перпендикулярными проходами (продольно-поперечное рыхление) на глубину 40см.
Рыхление многолетнемерзлых пород буровзрывным способом.
Подготовку массивов к выемке буровзрывным способом ведут на вскрыше торфов. Объем подготовки торфов к выемке буровзрывным способом в целом по россыпи составляет 8525700 м3, что соответствует 100% ному объему вскрыши. Разрушение массивов осуществляется массовыми взрывами скважинными зарядами.
Расчет параметров взрывных работ приведены в пункте 3.5.
3.4.3 Вскрышные работы.
Для доступа к полезному ископаемому и выемке вскрышных пород принимаем по проекту экскаватор ЭШ 15/90 А.
Таблица 3.6 - Расчет производительности экскаватора ЭШ 15 / 90А на
производстве вскрышных работ
|
Наименование показателей |
ед. изер. |
Месяцы |
Итого за год |
||||||||
|
Март |
Апр. |
Май |
Июнь |
Июль |
Авг. |
Сен |
Окт |
Нояб. |
|||
|
Продолжитель- ность сезона |
сут. |
20 |
30 |
31 |
30 |
31 |
31 |
30 |
31 |
26 |
260 |
|
Календарный фонд времени по месяцам |
ч |
480 |
720 |
744 |
720 |
744 |
744 |
720 |
744 |
624 |
6240 |
|
Вспомогательные работы |
ч |
14 |
21 |
21,7 |
21 |
21,7 |
21,7 |
21 |
21 |
18,2 |
182 |
|
ППР |
ч |
72 |
96 |
96 |
96 |
96 |
96 |
96 |
96 |
96 |
840 |
|
ПЗО |
ч |
40 |
60 |
62 |
60 |
62 |
62 |
60 |
62 |
52 |
520 |
|
Время на отдых и личные надобности |
ч |
34 |
51 |
52,7 |
51 |
52,7 |
52,7 |
51 |
52,7 |
44,2 |
442 |
|
Часов чистой работы в месяц |
ч |
320 |
492 |
511,6 |
492 |
511,6 |
511,6 |
492 |
511,6 |
413,6 |
4256 |
|
Часов чистой работы в сутки |
ч |
16 |
16,4 |
16,5 |
16,4 |
16,5 |
16,5 |
16,4 |
16,5 |
15,9 |
16,4 |
|
Поправочный коэффициент на неравномерность работы, на зимнее условия работы |
0,85 0,8 |
0,9 0,8 |
0,95 0,8 |
1 0,8 |
1 0,8 |
1 0,8 |
0,95 0,8 |
0,9 0,8 |
0,85 0,8 |
0,93 0,8 |
|
|
Суточная производительность |
м3 |
6854,4 |
7439 |
7900,2 |
8265,6 |
8316 |
8316 |
7852,3 |
7484,4 |
6811,6 |
7687 |
|
Производитель-ность экскаватора по периодам |
т.м3 |
137,1 |
223,2 |
244,9 |
264 |
257,8 |
257,8 |
235,6 |
232 |
177,1 |
1998,6 |
Условия залегания песков и размеры карьерного поля позволяет принять бестранспортную схему вскрышных работ, что предполагает разместить весь объем вынутых пород вскрыши в выработанное пространство без применения транспорта, используя драглайн.
Таблица 3.7 – Балансовая стоимость ЭШ 15/90 А
|
Наименования расходов |
Процентное содержание |
Цена |
|
Закупочная цена |
- |
39375 |
|
Стоимость деревянной тары |
2,3% |
928,3 |
|
Транспортировка |
10% |
4036 |
|
Итого |
- |
57835 |
|
Заготовительные – складские расходы |
1,2% |
694 |
|
Итого |
- |
58529 |
|
Расходы на комплектацию оборудования |
0,7% |
410 |
|
Итого |
- |
58939 |
|
Монтаж |
6% |
3536,3 |
|
Всего |
- |
62476 |
Таблица 3.8– Амортизация ЭШ 15/90 А
|
Оборудование |
Стоимость оборудования, тыс. руб. |
Норма амортизации, % |
Количество, шт. |
Годовая сумма амортизации, тыс. руб. |
|
Экскаватор ЭШ 15/90А |
62476 |
4 |
1 |
2499 |
Таблица 3.9 – Заработная плата рабочих
|
Наименований профессий |
Штат, чел. |
Число смен работы в год одного рабочего |
Тарифная ставка в день, руб. |
Годовой Фонд зарплаты, тыс.руб. |
Основная зарплата, тыс.руб. |
Дополнительная зарплата 10% тыс.руб. |
Итого фонда зарплаты, тыс.руб. |
||||
|
Явочный |
Списочный |
Премия, 50% |
Северные надбавки, 1,2 |
Доплаты, 5% |
|||||||
|
Маш. ЭШ |
2 |
2,2 |
260 |
350 |
200 |
100 |
240 |
10 |
55 |
605 |
|
|
Пом. ЭШ |
2 |
2,2 |
260 |
300 |
172 |
86 |
206 |
8 |
47 |
519 |
|
|
Слесарь ЭШ |
2 |
2,2 |
260 |
250 |
143 |
71 |
172 |
7 |
39 |
432 |
|
|
ЕСФ, 35.6% |
554 |
||||||||||
|
Всего |
1009 |
Таблица 3.10– Затраты на электроэнергию ЭШ 15/90 А
|
Наименования затрат |
Расход энергии в год, кВт/ч |
Цена за единицу измерения, руб. |
Годовые затраты, руб. |
|
Плата по одноставочному тарифу |
2194500 |
0,224 |
490000 |
|
Плата по двухставочному тарифу |
15200 |
79 |
1200000 |
|
Неучтенные затраты 20% |
338000 |
||
|
Всего |
2028000 |
Таблица 3.11– Эксплуатационные затраты на ЭШ 15/90 А
|
Затраты на 1 машино – час, руб. |
Общие затраты на 1 машино – час, руб. |
Количество часов работы в сезон, час. |
Общая сумма затрат, тыс. руб. |
||||
|
Канаты |
ГСМ |
Материалы |
Ремонт |
Кабели |
|||
|
100 |
3,9 |
130 |
293 |
30 |
556,9 |
4264 |
2374,6 |
Таблица 3.12 – Калькуляция стоимости машино-смены экскаватора
ЭШ 15 / 90.
|
Затраты |
Стоимость |
||
Годовая |
Сменная |
На 1 м3 |
|
|
Количество рабочих дней |
260 |
- |
- |
|
Производительность, м3 |
1998600 |
3843,5 |
- |
|
Продолжительность смены, час |
- |
12 |
- |
|
Заработанная плата, руб. |
1009000 |
1940,4 |
0,5 |
|
Материалы, руб. |
2374600 |
45143,5 |
11,7 |
|
Амортизация, руб. |
2499000 |
4805,8 |
1,3 |
|
Электроэнергия, руб. |
1249500 |
2402,9 |
0,6 |
|
Текущий ремонт, руб. |
1249500 |
2402,9 |
0,6 |
|
Цеховые расходы, руб. |
1676320 |
3218 |
1,0 |
|
Прочие расходы, руб. |
1005792 |
1934,2 |
0,5 |
|
Стоимость, руб. |
11063712 |
21276,4 |
5,5 |
|
Стоимость машино – час, руб. |
1773 |
1773 |
- |
Скорость подвигания вскрышных работ:
(3.39)
где Q>ЭШ> – производительность экскаватора ЭШ 15/90А, Q>эш> = 1998600 м3
(смотри таблицу 3.6);
Н>Т> – средняя мощность торфов, Н>Т> = 20,4 м;
А>Т> – ширина заходки, А>в> = 46 м.
Скорость подвигания добычных работ:
(3.40)
где Q>К> – производительность экскаватора Като – 1500GV, Q>К> = 213000 м3 (см. табл. 3.15);
Н>П> – средняя мощность песков, Н>П> = 3;
А>Д> – ширина заходки, А>Д> = 40 м.
Технология ведения работ.
Экскаватор ЭШ 15/90А работает в условиях бестранспортной системы разработки, по простой схеме. Экскаватор размещается на развале горных пород после взрыва, а затем отрабатывает нижним черпанием в выработанное пространство во внутренний отвал.
Добыча песков осуществляется экскаватором Като – 1500GV. Пески предварительно рыхлят бульдозером
D 355 A, а после этого отрабатывается поперечными заходами.
Автосамосвалы подаются под погрузку по кольцевой схеме.
Годовые затраты на вскрышные работы:
Элементы системы разработки.
Угол откоса вскрышного уступа, α>В> = 70 град;
Угол откоса добычного уступа, α>Д> = 70 град;
Угол откоса отвала, β = 35 град;
Ширина вскрышной заходки, А>В> = 46 м;
Ширина добычной заходки, А>Д> = 40 м;
Средняя мощность вскрышного уступа, Н>Т> = 20,4 м;
Средняя мощность добычного уступа, Н>П> = 3 м;
Скорость подвигания вскрышных работ,V>В >= 2130 м/год;
Скорость подвигания добычных работ,V>Д >=1775 м / год;
Общие затраты на добычу и переработку песков в год, Ц>Д> = 14765962 руб.;
Общие затраты на буровзрывные работы в год, Ц>БВР> = 28648834руб.;
Общие затраты на вскрышные работы в год, Ц>ВР> = 9378270 рублей.
3.5 Очистные работы и системы разработки
3.5.1 Выбор добычного оборудования
Данным курсовым проектом предусмотрена специальная часть проекта «Очистные работы».
Для сравнения выбраны два вида очистных работ:
1 Погрузка золотосодержащих песков в автотранспорт при использовании фронтального погрузчика К703. Данная системы погрузки песков применяется в настоящие время на россыпном месторождении р. Вача.
2 Погрузка золотосодержащих песков при использовании экскаватора КАТО-1500GV.
Таблица 3.13 – Техническая характеристика экскаватора КАТО 1500 GV
|
Наименование |
Показатель |
|
Модель |
1500 GV |
|
Масса машины, т. |
41 |
|
Общая длина, мм. |
12160 |
|
Общая высота, мм. |
3480 |
|
Общая ширина, мм. |
3200 |
|
Дорожный просвет, мм. |
500 |
|
Радиус хвостовой части поворотной платформы, мм. |
3460 |
|
Ширина гусеничной ленты, мм. |
600-914 |
|
Модель двигателя |
Дизель Мицубиси 6D24-T |
|
Максимальный радиус черпания на уровне стояния, мм. |
11800 5500 |
|
Максимальный радиус разгрузки |
11200 |
|
Максимальная высота копания, мм. |
10990 |
|
Максимальная глубина копания, мм. |
6500 |
|
Максимальное усилие копания, кгс |
23900 |
|
Давление на грунт, кгс/см2 |
0,62 (0,59) |
|
Угол вращения поворотной платформы, град. |
360 |
|
Скорость поворота, об/мин |
10 |
|
Скорость передвижения, км/ч |
2,7 / 3,7 / 5,5 |
|
Преодолеваемый уклон пути, град. |
35 |
|
Емкость ковша, м3 |
1,5 |
|
Рабочее состояние |
от+25 0С до -25 0С |
|
Ходовая часть |
гусеничная |
Таблица 3.14 – Техническая характеристика фронтального погрузчика К 703
|
Наименование |
Показатель |
|
Масса машины, т. |
21 |
|
Общая длина, мм. |
8900 |
|
Общая высота, мм. |
3800 |
|
Общая ширина, мм. |
3100 |
|
Скорость рабочая, км/ч транспортная, км/ч |
0-7 35 |
|
Радиус поворота минимальный, мм. |
8800 |
|
Модель двигателя |
238-НДЗ |
|
Номинальная грузоподъемность ковша, т. |
6 |
|
Вместимость ковша, м3 |
3 |
|
Максимальная высота разгрузки, мм |
3260 |
|
Ширина режущей кромки ковша, мм |
3100 |
|
Ходовая часть |
Колесная, на пневматических шинах |
Таблица 3.15 - Расчет производительности экскаватора КАТО-1500GV на
производстве добычных работ
|
Наименование показателей |
ед. измер. |
Месяцы |
Итого за год |
|||||
|
Май |
Июнь |
Июль |
Август |
Сентябрь |
Октябрь |
|||
|
Продолжительность сезона |
сут. |
31 |
30 |
31 |
31 |
30 |
11 |
164 |
|
Праздничные дни |
сут. |
2 |
- |
- |
- |
- |
- |
2 |
|
ППР |
сут. |
2 |
2 |
2 |
2 |
2 |
- |
10 |
|
Количество рабочих дней |
сут. |
27 |
28 |
29 |
29 |
28 |
11 |
152 |
|
Число часов работы в сутки |
ч |
19,5 |
19,5 |
19,5 |
19,5 |
19,5 |
19,5 |
19,5 |
|
Число часов работы в сезон |
ч |
527 |
546 |
566 |
566 |
546 |
215 |
2964 |
|
Часовая норма выработки |
м3/ч |
86 |
86 |
86 |
86 |
86 |
86 |
86 |
|
Поправочные коэффициенты на зимние условия работу На неравномерность работ |
0,95 0,85 |
1 0,85 |
1 0,85 |
1 0,85 |
1 0,85 |
0,95 0,85 |
0,98 0,85 |
|
|
Часовая норма с учетом поправочных коэффициент. |
м3/ч |
69,4 |
73,1 |
73,1 |
73,1 |
73,1 |
69,4 |
72 |
|
Расчетная производительность |
т. м3/ч |
36,6 |
39,9 |
41,4 |
41,4 |
39,9 |
14,9 |
213 |
Таблица 3.16 – Балансовая стоимость КАТО 1500 GV
|
Наименования расходов |
Процентное содержание |
Цена |
|
Закупочная цена, тыс. р. |
- |
1750 |
|
Транспортировка, тыс. р. |
10% |
170 |
|
Всего, тыс. р. |
- |
1920 |
Таблица 3.17 – Амортизация КАТО 1500 GV
|
Оборудование |
Стоимость оборудования, тыс. руб. |
Норма амортизации, % |
Количество, шт. |
Годовая сумма амортизации, тыс. руб. |
|
Экскаватор КАТО-1500GV |
1920 |
12 |
1 |
230 |
Таблица 3.18 – Заработная плата рабочих
|
Наименований профессий |
Штат, чел. |
Число смен работы в год одного рабочего |
Тарифная ставка в день, руб. |
Годовой Фонд зарплаты, тыс.руб. |
Основная зарплата, тыс.руб. |
Дополнительная зарплата 10% тыс.руб. |
Итого фонда зарплаты, тыс.руб. |
|||
|
Явочный |
Списочный |
Премия, 50% |
Северные надбавки, 1,2 |
Доплаты, 5% |
||||||
|
Маш. КАТО |
2 |
2,2 |
164 |
300 |
108,2 |
54,1 |
122,4 |
5,4 |
29 |
319,1 |
|
ЕСФ, 35,6% |
113,6 |
|||||||||
|
Всего |
205,5 |
Таблица 3.19 – Эксплуатационные затраты на КАТО 1500 GV
|
Затраты на 1 машино – час, руб. |
Общие затраты на 1 машино – час, руб. |
Количество часов работы в сезон, час. |
Общая сумма затрат, тыс. руб. |
|||
|
Диз. топливо |
ГСМ |
Материалы |
Ремонт |
|||
|
270 |
6,6 |
7,5 |
35,9 |
320 |
3198 |
1023,4 |
Таблица 3.20 – Калькуляция стоимости машино-смены экскаватора КАТО-
1500GV.
|
Затраты |
Стоимость |
||
Годовая |
Сменная |
На 1 м3 |
|
|
Количество рабочих дней- |
164 |
- |
- |
|
Производительность, м3 |
213000 |
649,4 |
- |
|
Продолжительность смены, час |
- |
12 |
- |
|
Заработанная плата, руб. |
205500 |
626,5 |
1,0 |
|
Материалы , руб. |
1023400 |
3120 |
4,8 |
|
Амортизация , руб. |
230000 |
701,2 |
1,1 |
|
Текущий ремонт, руб. |
115000 |
350,6 |
0,6 |
|
Цеховые расходы, руб. |
314780 |
959,7 |
1,5 |
|
Прочие расходы, руб. |
188868 |
575,8 |
0,9 |
|
Стоимость, руб. |
2077548 |
634 |
9,7 |
|
Стоимость машино-час, руб. |
527,8 |
527,8 |
- |
Таблица 3.21 - Расчет производительности погрузчика К-703
|
№ п/п |
Наименование горных работ |
Категория горных пород |
Часовая норма выработки, м3 |
Поправочный коэффициент |
Часовая норма выработки с учетом коэффициента, м3 |
Продолжительность сезона, сутки |
Часов работы в сутки, ч. |
Часов работы в сезон, ч. |
Количество часов ППР, ч. |
Часов чистой работы в сезон, ч. |
Сезонная производительность, тыс. м3 |
Принятая производительность, тыс. м3 |
|
|
1 |
Погрузка песков в автотранспорт |
III - 20% IV – 80% |
45 |
0,9 |
41 |
160 |
19,5 |
3120 |
190 |
2930 |
120,1 |
120 |
Таблица 3.22 – Балансовая стоимость погрузчика К-703
|
Наименования расходов |
Процентное содержание |
Цена |
|
Закупочная цена, тыс.руб. |
- |
250 |
|
Транспортирования, тыс.руб. |
10% |
25 |
|
Всего, тыс.руб. |
- |
275 |
Таблица 3.23 – Затраты на амортизацию погрузчика К-703
|
Стоимость оборудования, тыс.руб. |
Норма амортизации, % |
Количество, шт. |
Годовая сумма амортизации, тыс. руб. |
|
275 |
15 |
1 |
316,2 |
Таблица 3.24 – Заработная плата
|
Наименований профессий |
разряд |
Штат, чел. |
Число смен работы в год одного рабочего |
Тарифная ставка в день, руб |
Годовой Фонд зар. платы, тыс.руб. |
Основная зарплата, тыс.руб. |
Дополнительная зарплата 10% тыс.руб. |
Итого фонда зарплаты, тыс.руб. |
|||
|
Явочный |
Списочный |
Премия, 50% |
Северные надбавки, 1,2 |
Доплаты, 5% |
|||||||
|
Машинист погрузчика |
2 |
2,2 |
160 |
300 |
105,6 |
52,8 |
126,7 |
5,3 |
29 |
319,4 |
|
|
ЕСФ,35.6% |
113,7 |
||||||||||
|
Всего |
205,7 |
Таблица 3.25 – Эксплуатационные затраты на погрузчик К-703
|
Кол-во, шт. |
Затраты на 1 машино смену, руб. |
Общие затраты, тыс.руб. |
Количество часов работы в сезон |
Общая сумма затрат, тыс. руб. |
||||
|
Диз. топливо |
ГСМ |
Материалы |
Ремонт |
Шины |
||||
|
1 |
250 |
72 |
95 |
50,7 |
19,2 |
486,9 |
3120 |
1519 |
Таблица 3.26 – Калькуляция машино-сменны погрузчика К-703
Затраты |
Ед. изм. |
Стоимость |
||
Годовая |
Сменная |
На 1 м3 |
||
Количество рабочих дней |
- |
160 |
- |
- |
Производительность |
м3 |
120000 |
375 |
- |
|
Продолжительность смены |
час |
- |
12 |
- |
|
Заработанная плата |
руб. |
205700 |
642,8 |
1,7 |
|
Материалы |
руб. |
1519000 |
4746,8 |
12,6 |
|
Амортизация |
руб. |
316200 |
988,1 |
2,6 |
|
Текущий ремонт |
руб. |
158100 |
494 |
1,3 |
|
Цеховые расходы |
руб. |
439800 |
1374,4 |
3,7 |
|
Прочие расходы |
руб. |
263880 |
824,6 |
2,2 |
|
Стоимость |
руб. |
2902600 |
9070,6 |
24,2 |
|
Стоимость машино-час |
руб. |
930 |
930 |
- |
Определяем количество погрузчиков К-703:
(3.41)
где Q>П> – сезонная норма выработки погрузчика К-703, Q>П> = 120000м3.
Определяем затраты на погрузку песков в автотранспорт:
(3.42)
где Ц>К703>> >– стоимость затрат на 1 м3 для погрузчика К-703, Ц>К703>=24,2 руб.
Из расчетов видно, что затраты на погрузку песков с использованием погрузчика К-703 равны 24,2 руб. на 1 м3, а при использование экскаватора Като-1500 9,7 руб. 1 м3. Таким образом экономический эффект при погрузки золотоносных песков с использованием экскаватора Като-1500 будет равен 2,5 раза.
(3.43)
3.5.2 Выбор способа разработки
Высота вскрышного уступа определяется мощностью покрывающих пород.
Высота уступа по пескам определяется мощностью вынимаемого пласта.
Выбор системы разработки зависит от вида используемого оборудования, а для выбора оборудования определяются горно–геологические условия месторождения:
Средняя мощность песков с учетом предахранительной рубашки и задирки, h>П > = 3 м;
Средняя мощность торфов, H>Т> = 20,4 м;
Ширина заходки В>З > = 40 м;
Годовая производительность карьера А =1932 тыс. м3 (см. формулу 3.3).
При вскрышных работах используется экскаватор ЭШ 15 /90А.
Для ведения добычных работ принимается экскаватор Като – 1500GV.
Выбор экскаватора Като – 1500GV обосновывается тем, что производительность экскаватора равняется удвоенной производительности промприбора, т. к. принемаеться два промприбора (213000 м3 > 210000 м3).
Ширина заходки вскрышного уступа определяется параметрами вскрышного экскаватора. Для экскаватора ЭШ 15 / 90А она составляет 40 метров. Ширина заходки добычного экскаватора Като –1500 определяется по формуле:
;
(3.44)
где R>Ч> – радиус черпания на уровне стояния экскаватора Като – 1500,
R>Ч >= 5,5 м;
Угол откоса добычного уступа 70 градусов;
Угол откоса вскрышного уступа 70 градусов;
Угол откоса отвала 35 градусов;
Длина экскаваторного блока определяется длиной взрывного блока;
Скорость подвигания фронта горных работ определяется мощностью вскрышного уступа.
Подготовку кондиционного пласта песков к выемке осуществляется бульдозерно – рыхлительными агрегатами D 355 А на разработку всего объема песков, объем которого равен 1036800 м3.
Таблица 3.27 - Расчет производительности бульдозера D 355 А
-
№ п/п
Наименование горных работ
Категория горных пород
Расстояние транспортирования, м
Часовая норма выработки, м3
Поправочный коэффициент на зимние условия
Часовая норма выработки с учетом коэффициента, м3
Продолжительность сезона, сутки
Часов работы в сутки, ч.
Часов работы в сезон, ч.
Количество часов ППР, ч.
Часов чистой работы в сезон, ч.
Сезонная производительность, тыс. м3
Принятая производительность, тыс. м3
1
Рыхление песков, строительство ГТС, очистка полигона, окучивание песков в навалы
III - 20%
IV – 80%
87
81,3
0,9
73,2
204
19,5
3978
870
3108
227.5
230
Таблица 3.28 - Балансовая стоимость D 355 А
|
Наименования расходов |
Процентное содержание |
Цена |
|
Транспортировка, тыс. р. |
10% |
300 |
|
Всего, тыс. р. |
- |
3300 |
|
Закупочная цена, тыс. р. |
- |
3000 |
Таблица 3.29 – Амортизация D 355 А
|
Оборудование |
Стоимость оборудования, тыс. руб. |
Норма амортизации, % |
Количество, шт. |
Годовая сумма амортизации, тыс. руб. |
|
Бульдозер D355A |
3300 |
15 |
1 |
495 |
Таблица 3.30 – Заработная плата рабочих
|
Наименований профессий |
Штат, чел. |
Число смен работы в год одного рабочего |
Тарифная ставка в день, руб. |
Годовой Фонд зарплаты, тыс.руб. |
Основная зарплата, тыс.руб. |
Дополнительная зарплата 10% тыс.руб. |
Итого фонда зарплаты, тыс.руб. |
|||
|
Явочный |
Списочный |
Премия, 50% |
Северные надбавки, 1,2 |
Доплаты, 5% |
||||||
|
Маш. D355А |
2 |
2,2 |
204 |
300 |
134.6 |
67,4 |
161,5 |
6,7 |
37 |
407,2 |
|
ЕСФ, 35,6% |
144,9 |
|||||||||
|
Всего |
262,3 |
Таблица 3.31 – Эксплуатационные затраты на D 355 A
|
Затраты на 1 машино – час, руб. |
Общие затраты на 1 машино – час, руб. |
Количество часов работы в сезон, час. |
Общая сумма затрат, тыс. руб. |
|||
|
Диз. топливо |
ГСМ |
Материалы |
Ремонт |
|||
|
350 |
14,2 |
8,3 |
62,2 |
434,7 |
3978 |
1729,2 |
Таблица 3.32 – Калькуляция стоимости машино-смены бульдозера D 355 A
|
Затраты |
Стоимость |
||
|
Годовая |
Сменная |
На 1 м3 |
|
|
Количество рабочих дней |
204 |
- |
- |
|
Производительность, м3 |
227500 |
557,6 |
- |
|
Продолжительность смены, час |
- |
12 |
- |
|
Заработанная плата, руб. |
26230 |
64,3 |
0,1 |
|
Материалы, руб. |
1729200 |
4238,2 |
7,6 |
|
Амортизация, руб. |
495000 |
1213,2 |
2,2 |
|
Текущий ремонт, руб. |
247500 |
606,6 |
1,1 |
|
Цеховые расходы, руб. |
499586 |
1224,5 |
2,2 |
|
Прочие расходы, руб. |
299749,8 |
734,7 |
1,3 |
|
Стоимость , руб. |
3297247,8 |
8081,5 |
14,5 |
|
Стоимость машино-час, руб. |
828,9 |
828,9 |
- |
Количество бульдозеров на рыхление
;
(3.45)
где QР>Б> - сезонная норма выработки бульдозера D 355 А на рыхление, QР>Б> = 230 тыс.м3 (см. табл. 3.27) ;
Затраты на рыхления песков в год:
(3.46)
где Ц>РЫХ>> >– стоимость затрат 1м3 для бульдозера D 355 A, Ц>РЫХ >= 14.5 руб.;
V>Д >– годовой объем добычи, V>Д >= 210000 м3 .
Рыхление мерзлых пород тяжелыми навесными рыхлителями ведут послойно взаимно перпендикулярными проходками на глубину 40 см.
После предварительного рыхления производится окучивание песков в навалы бульдозером D 355 A.
Количество бульдозеров для окучивания песков:
(3.47)
где QО>Б> - сезонная норма выработки бульдозера D 355 А на рыхление, QО>Б> = 230 тыс.м3 (см. табл. 3.2)
Затраты на окучивание песков в год.
(3.48)
где Ц>О>> >– стоимость затрат 1м3 для бульдозера D 355 A, Ц>О >= 14.5 руб. (смотри таблицу 3.14);
После этого осуществляется экскавация песков с последущей их погрузка песков в автосамосвалы экскаватором Като –1500.
Количество экскаваторов на погрузку песков
;
(3.49)
где Q>Э> - сезонная норма выработки экскаватора Като - 1500, Q>Э> = 213000 м3 (см. табл. 3.15) .
Затраты на погрузку песков экскаватором в год:
(3.50)
где Ц>КАТО>> >– стоимость затрат 1м3 для экскаватора Като - 1500, Ц>КАТО >= 9,7 рублей (смотри таблицу 3.20).
Погрузка песков экскаватором осуществляется в автосамосвалы
БелАЗ – 540А и транспортируют на обогатительную установку. Среднее расстояние транспортировки составляет 1 км. Разгрузка осуществляется на промплощадке обогатительной установки.
Таблица 3.33 - Расчет производительности карьерного автосамосвала Белаз –540А
|
Наименование горных работ |
Категория горных пород |
Расстояние транспортирования, м |
Часовая норма выработки, м3 |
Поправочный коэффициент на зимние условия |
Часовая норма выработки с учетом коэффициента, м3 |
Продолжительность сезона, утки |
Часов работы в сутки, ч. |
Часов работы в сезон, ч. |
Количество часов ППР, ч. |
Часов чистой работы в сезон, ч. |
Сезонная производительность, тыс. м3 |
Принятая производительность, тыс. м3 |
|
Транспортирование песков на расстояние 1км. |
III - 20% IV – 80% |
1000 |
38,5 |
0,8 |
30,8 |
174 |
19,5 |
3434 |
429 |
2964 |
91,2 |
91 |
Таблица 3.34 – Амортизация БелАЗ – 540А
|
Оборудование |
Стоимость оборудования, тыс. руб. |
Норма амортизации, % |
Количество, шт. |
Годовая сумма амортизации, тыс. руб. |
АвтосамосвалБелАЗ – 540А |
1078 |
16,7 |
1 |
180 |
Таблица 3.35 – Амортизация БелАЗ – 540А
|
Оборудование |
Стоимость оборудования, тыс. руб. |
Норма амортизации, % |
Количество, шт. |
Годовая сумма амортизации, тыс. руб. |
АвтосамосвалБелАЗ – 540А |
1078 |
16,7 |
1 |
180 |
Таблица 3.36 – Заработная плата рабочих
|
Наименований профессий |
Штат, чел. |
Число смен работы в год одного рабочего |
Тарифная ставка в день, руб. |
Годовой Фонд зарплаты, тыс.руб. |
Основная зарплата, тыс.руб. |
Дополнительная зарплата 10% тыс.руб. |
Итого фонда зарплаты, тыс.руб. |
|||
|
Явочный |
Списочный |
Премия, 50% |
Северные надбавки, 1,2 |
Доплаты, 5% |
||||||
|
Маш. авт. |
2 |
2,2 |
174 |
300 |
114,8 |
22,9 |
137,7 |
5,7 |
28,1 |
309,2 |
|
ЕСФ, 35.6% |
110,1 |
|||||||||
|
Всего |
199,1 |
Таблица 3.37 – Эксплуатационные затраты на БелАЗ – 540А
|
Затраты на 1 машино – час, руб. |
Общие затраты на 1 машино – час, руб. |
Количество часов работы в сезон, час. |
Общая сумма затрат, тыс. руб. |
||||
|
Диз. топливо |
ГСМ |
Материалы |
Ремонт |
Шины |
|||
|
350 |
72 |
9,5 |
26,2 |
34,9 |
492,6 |
3434 |
1691,6 |
Таблица 3.38 – Калькуляция стоимости машино-смены автосамосвала
БелАЗ – 540А
|
Затраты |
Стоимость |
||
|
Годовая |
Сменная |
На 1 м3 |
|
|
Количество рабочих дней- |
174 |
- |
- |
|
Производительность, м3 |
150000 |
431 |
- |
|
Продолжительность смены, час |
- |
12 |
- |
|
Заработанная плата, руб. |
199100 |
572,1 |
1,3 |
|
Материалы, руб. |
1691600 |
4860,9 |
11,2 |
|
Амортизация, руб. |
180000 |
517,3 |
1,2 |
|
Текущий ремонт, руб. |
90000 |
258,6 |
0,6 |
|
Цеховые расходы, руб. |
432140 |
1241,8 |
2,9 |
|
Прочие расходы, руб. |
259284 |
745,1 |
1,7 |
|
Стоимость, руб. |
2852124 |
8195,8 |
19 |
|
Стоимость машино-час, руб. |
830,6 |
830,6 |
- |
Необходимое количество автосамосвалов на добычу:
;
(3.51)
где Q>А> - > >сезонная норма выработки автосамосвала , QА =91000 м3;
Списочный состав автосамосвалов, с учетом машин находящихся в резерве определяется с учетом коэффициента технической готовности.
;
(3.52)
где К>С>> > - коэффициента технической готовности, К>С> = (0.75 – 0.8).
Затраты на транспортирования песков автосамосвалами в год:
(3.53)
где Ц>БЕЛАЗ>> >–затраты транспортирования 1м3 для автосамосвалов БелАЗ – 540А, Ц>БЕЛАЗ >= 19 руб.
После разгрузка автосамосвала на промплощадке промывочной установки бульдозер Т –170 подает пески на промывочный стол ПГШ – II -50.
Таблица 3.39 – Расчет производительности бульдозера Т – 170
-
№ п/п
Наименование горных работ
Категория горных пород
Расстояние транспортирования, м
Часовая норма выработки, м3
Поправочный коэффициент на зимние условия
Часовая норма выработки с учетом коэффициента, м3
Продолжительность сезона, сутки
Часов работы в сутки, ч.
Часов работы в сезон, ч.
Количество часов ППР, ч.
Часов чистой работы в сезон, ч..
Сезонная производительность, тыс. м3
Принятая производительность, тыс. м3
1
Строительство автодорог, проходка канав, рекульт-ивация
III - 20%
IV – 80%
40
63,4
0,9
58
175
19,5
3413
788
2925
169,6
170
2
Подача песков на промприбор
Разрых-ленные
50
49,8
0,9
44,8
175
19,5
3413
788
2925
131
130
3
Уборка хвостов промывки
Разрых-ленные
30
94,3
0,9
84,8
175
19,5
3413
788
2925
248
250
Таблица 3.40 - Балансовая стоимость Т-170
|
Наименования расходов |
Процентное содержание |
Цена |
|
Закупочная цена, тыс. р. |
- |
275 |
|
Транспортировка, тыс. р. |
10% |
27 |
|
Всего, тыс. р. |
- |
302 |
Таблица 3.41 – Амортизация Т-170
|
Оборудование |
Стоимость оборудования, тыс. руб. |
Норма амортизации, % |
Количество, шт. |
Годовая сумма амортизации, тыс. руб. |
|
Бульдозер Т-170 |
302 |
12 |
1 |
36,2 |
Таблица 3.42 – Заработная плата рабочих
|
Наименований профессий |
Штат, чел. |
Число смен работы в год одного рабочего |
Тарифная ставка в день, руб. |
Годовой Фонд зарплаты, тыс.руб. |
Основная зарплата, тыс.руб. |
Дополнительная зарплата 10% тыс.руб. |
Итого фонда зарплаты, тыс.руб. |
|||
|
Явочный |
Списочный |
Премия, 50% |
Северные надбавки, 1,2 |
Доплаты, 5% |
||||||
|
Маш. Т-170 |
2 |
2,2 |
175 |
250 |
96,2 |
48,1 |
115,4 |
1,9 |
26,1 |
287,7 |
|
ЕСФ, 35,6% |
102,2 |
|||||||||
|
Всего |
185,5 |
Таблица 3.43 – Эксплуатационные затраты на Т-170
|
Затраты на 1 машино – час, руб. |
Общие затраты на 1 машино – час, руб. |
Количество часов работы в сезон, час. |
Общая сумма затрат, тыс. руб. |
|||
|
Диз. топливо |
ГСМ |
Материалы |
Ремонт |
|||
|
175 |
9,8 |
6,1 |
5,3 |
196,2 |
3413 |
669,6 |
Таблица 3.44 – Калькуляция стоимости машино-смены бульдозера Т - 170
|
Затраты |
Стоимость |
||
|
Годовая |
Сменная |
На 1 м3 |
|
|
Количество рабочих дней |
175 |
- |
- |
|
Производительность, м3 |
130000 |
371,4 |
- |
|
Продолжительность смены, час |
- |
12 |
- |
|
Заработанная плата, руб. |
185500 |
530 |
1,4 |
|
Материалы, руб. |
669600 |
1913,1 |
5,2 |
|
Амортизация, руб. |
36200 |
103,4 |
0,3 |
|
Текущий ремонт, руб. |
18100 |
51,7 |
0,2 |
|
Цеховые расходы, руб. |
181880 |
519,7 |
1,4 |
|
Прочие расходы, руб. |
109120 |
311,8 |
0,9 |
|
Стоимость, руб. |
1200320 |
3429,5 |
9,3 |
|
Стоимость машино-час, руб. |
351,7 |
351,7 |
- |
Необходимое количество бульдозеров на подачу песков на промывочный стол ПГШ – II - 50.
;
(3.54)
где Q>БТ> - сезонная норма выработки бульдозера Т – 170, Q>БТ> = 170000 м3 (см. табл. 3.39) .
Так как принимаем два промприбора, то необходимое количество бульдозеров на подачу песков на промывку составит 2 шт.
Затраты на подачу песков в бункер промприбора в год:
(3.55)
где Ц>Т170>> >– стоимость затрат с1м3 на подачу песков бульдозером Т-170 на промывочный стол промприбора, Ц>Т170 >= 9,3 рублей (смотри таблицу 3.44);
Затраты на обогащения песков промприбором ПГШ-II-50 в год составляет 1870480,9 рублей.
Общие затраты на добычу и переработку песков определяется суммированием всех технологических операций связанные с добычей полезного ископаемого.
Таблица 3.45 - Общие затраты на добычу и переработку песков в год.
Затраты |
Оборудование |
Объем, м3 |
Стоимость, р. |
Рыхлениеокучивание |
D 355 A |
210000 210000 |
3045000 3045000 |
|
Погрузка |
Като – 1500GV |
210000 |
2037000 |
|
Транспортирование |
БелАЗ – 540А |
210000 |
3990000 |
|
Подача на промывочный стол |
Т-170 |
210000 |
1953000 |
|
Обогащение |
ПГШ-II-50 |
210000 |
3740962 |
|
Всего |
14765962 |
Таблица 3.46 - Расчет объемов работ и количества горного оборудования
|
Операции технологического цикла |
Используемая техника |
Объем, м3 |
Количество, шт. |
|
Вскрыша торфов |
ЭШ 15 / 90 А |
8525700 |
1 |
|
складирование гали зфелей |
Т-170 |
142871 1019589 |
1 |
|
Механическое рыхление песков |
D 355 A |
1036800 |
1 |
|
Погрузка песков |
Като-1500 |
1036800 |
1 |
|
Подача песков на промывочный стол |
Т-170 |
1036800 |
2 |
|
Транспортировка песков |
БелАЗ-540А |
1036800 |
3 |
|
Промывка песков |
ПГШ-II-50 |
1036800 |
1 |
|
Бурение скважин |
2СБШ-250МН |
323313 |
1 |
|
Всего бульдозеров экскаваторов автосамосвалов промприборов буровых станков |
Т-170 D 355 A ЭШ 15 / 90А Като-1500 БелАЗ-540А ПГШ-II-50 СБШ-250МН |
2 2 1 1 3 2 1 |
Разрез рыхлых отложений представлен моренно-илисто-глинистыми, ледниковыми отложениями.
Валунистось разреза - до 9% , мерзлотность - до 93 % .
Категория пород по СНИП- IV гр., по взрываемости - V гр., по Протодьяконову - VIII гр.
Буровзрывные работы проводятся с целью рыхления талых и мерзлых горных пород для разработки их экскаваторами и бульдозерами, а также дробление валунов и негабаритных кусков породы.
Рыхление сезонной и многолетней мерзлоты, вскрышных уступов и скального грунта предусматривается методом скважинных зарядов.
Для бурения скважин применяется буровой станок СБШ-250МН.
Сезонная норма выработки бурового станка СБШ – 250 МН
(3.56)
где Т>СЕЗз>> >– сезонный фонд работы бурового станка, Т>СЕЗ >= 230 дней
Т>СЕЗ >= Т>С >- Т>ППР >- Т>ПР >= 290 – 56 – 4 = 230 дней;
где Т>С>> >- продолжительность сезона, Т>С >= 290 дней;
Т>ППР>>
>– планово предупредительные
работы, Т>ППР
>= 56 дней;
Т>ПР>>
>– количество праздничных
дней, Т>ПР
>= 4 дня;
Сменная норма выработки
(3.57)
где Т>СМ>> >– продолжительность смены, Т>СМ >= 720 минут;
Т>ПЗ> – время выполнения подготовительно – заключительные операций,
Т>ПЗ> = 25 минут;
Т>ЛН >– время на личные надобности, Т>ЛН > = 10 минут;
Т>ПТ>> >– продолжительность перерывов в работе по технологическим и организационным причинам, Т>ПТ > = 10 минут;
t>О>> >- время на выполнение основных операций, приходящееся на 1 метр скважины,> >t>О> = 1,35 минут;
t>В>> >- время на выполнение вспомогательных операций, приходящееся на 1 метр скважины,> >t>В> = 1,52 минут;
К>i> - поправочный коэффициент, К>i> = 1.2;
(3.58)
где К>СМ>> >– сменный коэффициент, К>СМ >= 1,5;
К>НЛ> – климатический коэффициент, К>НЛ >= 0,86;
К>ВЗ> – взрывание в течении смены, К>ВЗ> = 0,97;
К>НАД>> >– коэффициент надежности оборудования, К>НАД >= 0,96;
Таблица 3.47- Балансовая стоимость СБШ 250 МН
|
Наименования расходов |
Процентное содержание |
Цена |
|
Закупочная цена |
- |
2750 |
|
Транспортирования |
10% |
275 |
|
Всего |
- |
3025 |
Таблица 3.48– Амортизация СБШ 250 МН
|
Оборудование |
Стоимость оборудования, тыс. руб. |
Норма амортизации, % |
Количество, шт. |
Годовая сумма амортизации, тыс. руб. |
|
Буровой станок СБШ – 250МН. |
3025 |
20 |
1 |
605 |
Таблица 3.49 – Заработная плата рабочих
|
Наименований профессий |
Штат, чел. |
Число смен работы в год одного рабочего |
Тарифная ставка в день, руб. |
Годовой Фонд зарплаты, тыс.руб. |
Основная зарплата, тыс.руб. |
Дополнительная зарплата 10% тыс.руб. |
Итого фонда зарплаты, тыс.руб. |
|||
|
Явочный |
Списочный |
Премия, 50% |
Северные надбавки, 1,2 |
Доплаты, 5% |
||||||
|
Маш. |
2 |
2,2 |
290 |
300 |
192 |
96 |
230 |
9 |
53 |
580 |
|
Пом. маш. |
2 |
2,2 |
290 |
250 |
146 |
73 |
175 |
7 |
40 |
441 |
|
ЕСФ, 35.6% |
363 |
|||||||||
|
Всего |
658 |
Таблица 3.50– Затраты на электроэнергию СБШ 250 МН
|
Наименования затрат |
Расход энергии в год, кВт/ч |
Цена за единицу измерения, руб. |
Годовые затраты, руб. |
|
Плата по одноставочному тарифу |
358800 |
0,224 |
80370 |
|
Плата по двухставочному тарифу |
2880 |
79 |
227520 |
|
Неучтенные затраты 20% |
61578 |
||
|
Всего |
369468 |
Таблица 3.51 – Эксплуатационные затраты на СБШ 250 МН
|
Затраты на 1 машино – час, руб. |
Общие затраты на 1 машино – час, руб. |
Количество часов работы в сезон, час. |
Общая сумма затрат, тыс. руб. |
||||
|
Канаты |
ГСМ |
Материалы |
Ремонт |
Кабели |
|||
|
0,6 |
12 |
6 |
53,5 |
1,8 |
73,9 |
5655 |
417,9 |
Таблица 3.52 – Калькуляция стоимости машино-смены бурового станка
СБШ – 250 МН
|
Затраты |
Стоимость |
||
|
Годовая |
Сменная |
На 1 п.м. |
|
|
Количество рабочих дней |
230 |
- |
- |
|
Производительность, п.м. |
130000 |
280 |
- |
|
Продолжительность смены, час |
- |
12 |
- |
|
Заработанная плата, руб. |
658000 |
1430 |
5,1 |
|
Материалы, руб. |
417900 |
||
|
Амортизация, руб. |
605000 |
987 |
3,4 |
|
Электроэнергия, руб. |
369468 |
803 |
2,8 |
|
Текущий ремонт, руб. |
302500 |
351,8 |
1,3 |
|
Цеховые расходы, руб. |
470573,6 |
1023 |
3,7 |
|
Прочие расходы, руб. |
282344,2 |
613,8 |
2,2 |
|
Стоимость, руб. |
3105785,8 |
675,7 |
24,1 |
|
Стоимость машино-час, руб. |
562,6 |
562,6 |
- |
Направление скважин - наклонное.
Расположение скважин в плане - шахматное или прямоугольное.
Параметры буровых работ приняты на основании горно-геологических условий и опыта проведения взрывных работ на различных участках предприятия и определены типовым проектом, утвержденным техническими руководителями. На каждый планируемый к обуриванию блок составляется паспорт буровых работ.
Тип взрывчатых веществ:
1 Аммонит - 6 ЖВ; 2 Граммонит - 79/21;
3 Гранулит - АС-4; 4 Игданит.
Таблица 3.53 - Характеристика применяемых взрывчатых веществ.
|
Взрывчатые вещества |
Кислородный баланс |
Теплота взрыва кдж/кг |
Объем газов л/кг |
Скорость детонации км/сек |
Плотность г/см3 |
|
Аммонит 6 ЖВ |
- 0,53 |
4316 |
895 |
3,6 - 4,8 |
1,0 - 1,2 |
|
Граммонит 79/21 |
+0,02 |
4285 |
895 |
3,2 - 4,2 |
0,9 - 0,95 |
|
Гранулит АС-4 |
0,41 |
4522 |
907 |
2,6 - 3,2 |
0,8 - 0,85 |
|
Игданит |
0.35 |
4365 |
946 |
2.3 - 2.9 |
0.86 - 0.9 |
Средства взрывания:
1 Детонирующий шнур - ДШ-А , ДШ-В , ДШ-7;
2 Огнепроводный шнур - ОШ-А , ОШ-П;
3 Электродетонаторы - ЭД-29 , ЭДКЗ;
4 Капсюли - детонаторы - КД-8;
5 Пиротехническое реле - КЗДШ-89.
Подготовку массивов к выемке буровзрывным способом ведут на вскрыше, объем которого составляет 8525700 м3.
Бурение производится наклонными скважинами, что позволяет перемещать в выработанное пространство значительную часть объема взорванной массы и обеспечивает лучшее и равномерное дробление породы. В качестве ВВ выбирается граммонит 79 / 21, как наиболее дешевый и достаточно эффективный для взрывания пород средней крепости. В качестве замедлителя выбираем РП – 8. Инициирования производится детонирующим шнуром ДШ.
Объем разового разрушения массива торфов определяется 10-ти суточным запасом взорванных торфов из расчета предупреждений повторной смерзаемости.
(3.59)
где t>c>>м> – продолжительность работы в сутки, t>c>>м >= 19.5 часов;
Q>ч>> >– часовая производительность экскаватора ЭШ 15 /90А, Q>ч> = 508 м3;
Расчет параметров БВР
Определяется диаметр скважин:
;
(3.60)
где VГ>ВЗР >– годовой объем по вскрыше, V\Г>ВЗР >= 1.998 млн.м3
При диаметре 205 мм принимаем буровой станок СБШ – 250МН с диаметром долота d = 243 мм.
Определяем длину скважины:
L>СКВ >= Н / sin = 20,3 / sin 75 = 21 м; (3.61)
где Н – средняя высота взрывного уступа, Н = 20,3 м;
- угол наклона скважин к горизонту, = 75 градусов;
Определим диаметр скважины
;
(3.62)
где k>РС> – коэффициент расширения скважин, k>С> =1,18;
Определяем длину забойки:
;
(3.63)
Определяем линейную плотность:
;
(3.64)
где ∆ - плотность ВВ, ∆= 900 кг / м2.
Определяем линию сопротивления по подошве:
м; (3.65)
где m – коэффициент сближения скважин, m = 1;
g- расчетный удельный расход ВВ, g = 0.5 кг / м3 ;
Допустимая линия сопротивления по подошве:


;
(3.66)
где - угол откоса вскрышного уступа, = 70 градусов;
С – безопасное расстояния от верхней бровки уступа до первого ряда скважин, С = 3 м;
По условиям требований безопасного ведения буровзрывных работ W>ДОП><W, следовательно условие выполняется.
Расстояния между скважинами и рядами определяется:
а = в = W = 9 м ; (3.67)
Длина заряда определяется как:
l>Z>> >= l>СКВ >– l>ЗАБ> = 21 – 7 = 14 м ; (3.68)
Определяем массу заряда в скважине:
;
(3.69)
Выход горной массы с 1 м скважины определяем как:
;
(3.70)
Определяем длину блока:
;
(3.71)
где n – число рядов в блоке, n = 4 шт;
n = А / W = 40 / 9 = 4 шт; (3.72)
м:ся как (3.62ботычение
при которой происходит заилевание
канавы ()
Определяем количество скважин в ряду:
n>р> = L>бл >/ а = 90 / 9 = 10 шт; (3.73)
Общее количество скважин в блоке:
;
(3.74)
Общий расход ВВ на взрыв определяется как:
;
(3.75)
Интервал замедления определяем:
;
(3.76)
Принимаем интервал замедления 50 мс.
Таблица 3.54 – Основные параметры взрывных работ
|
Параметры |
Значения |
|
Высота уступа, м. |
20,4 |
|
Длина скважины, м. |
21,6 |
|
Диаметр скважины, м. |
0,287 |
|
Длина забойки, кг/м3. |
7 |
|
Линейная плотность, кг/м3. |
58,2 |
|
Линия сопротивления по подошве, м. |
9 |
|
Допустимая линия сопротивления по подошве, м. |
4,9 |
|
Удельный расход ВВ, кг/м3. |
0,5 |
|
Расстояние между рядами, м. |
9 |
|
Расстояние между скважинами, м. |
9 |
|
Длина заряда, м. |
14,6 |
|
Выход горной массы с 1 м, м3/м. |
79,5 |
|
Масса заряда в скважине, кг. |
849,7 |
|
Расход ВВ на взрыв, кг. |
33988 |
|
Длина блока, м. |
90 |
|
Объем рыхления за один взрыв, м3. |
99060 |
|
Способ взрывания |
порядное |
Параметры развала пород от взрыва, играют немаловажную роль, которая положительно сказывается на производительности экскаватора. Необходимо стремиться к максимально возможному сбросу пород от взрыва в отвал, для этого необходимо выбрать схему взрывания с данными показателями, такой схемой является порядная схема взрывания.
Параметры развала и формы развала горных пород после взрыва определенны на ЭВМ по методике В. Н. Наумова [3].
Параметры развала взорванных:
|
Ширина развала |
B |
м |
35,5 |
|
Наибольшая высота развала |
h |
м |
19,0 |
|
Высота развала по плоскости отрыва |
h |
м |
18,0 |
|
Высота развала по последнему ряду скважин |
h>2> |
м |
18,3 |
|
Высота развала по нижней бровки вскрышного уступа |
h>3> |
м |
10,4 |
|
Высота развала добычного уступа |
h>4> |
м |
13,7 |
|
Высота развала от точки пересечения с откосом уступа |
h>5> |
м |
14,1 |
|
Расстояние отброса гребня отвала от последнего развала |
C |
м |
24,2 |
|
Коэффициент мощности низлежайшей толщи |
k>М> |
1,23 |
|
|
Коэффициент уселения действия зарядов |
k>У> |
1,00 |
|
|
Коэффициент разрыхления в развале |
k>Р> |
1,09 |
|
|
Коэффициент сброса |
k>СБ> |
0,14 |
Расстояния, безопасные по разлету отдельных кусков породы при взрывании скважинных зарядов рыхления, сейсмически безопасные расстояния и расстояния безопасные по действию ударной воздушной волны определяются согласно требований «Единые правили безопасности при взрывных работах».
Сейсмически безопасные расстояния:
;
(3.77)
где k>1>> >– коэффициент зависящий от типа зданий, k>1>=1,5;
k>С >–коэффициент зависящий от грунта, k>С>=7;
λ – коэффициент зависит от показателя действия взрыва, λ=1.
Безопасные расстояния по действию ударной воздушной волны:
;
(3.78)
где k>В> – коэффициент зависящий от степени повреждения объекта, k>В>=50;
Безопасные расстояния по разлету кусков:
;
(3.79)
где f – коэффициент крепости, f = 5;
n >ЗАБ> –коэффициент забойки, n>ЗАБ> = 1.
Согласно ЕПБ безопасное расстояние округляется до 50, следовательно
R>C> = 350 м.: R>Н> = 1600 м. и R>Р> = 250 м.
Определяем количество взрывов в году:
N>ВЗ >= VГ>ВЗР> / V>ВЗР >= 1998600 / 99060 = 20 раз; (3.80)
Расход детонирующего шнура
L>Д >= N>СКВ >ּ (l>СКВ >+ а + 1,5) = 40 ּ (21 + 9 + 1,5) =1260 м; (3.81)
Общее количество взрывников:
(3.82)
где VГ>ВЗР> – годовой объем взрывания пород, VГ>ВЗР >= 1,998 млн. м3.
Необходимое количество буровых станков:
(3.83)
где k>РЕЗ>> >– коэффициент резерва, k>РЕЗ >= 1,1
QБР>СЕЗ> -сезонная норма выработки, QБР>СЕЗ> = 130000 м;
Стоимость бурения торфов в год.
Таблица 3.55 – Стоимость 1 м3 при буровзрывных работах.
|
Показатели |
Кол-во ед. |
Стоимость ед. руб. |
Сумма затрат, руб. |
|
Затраты труда |
|||
|
Взрывники |
5 |
130000 |
650000 |
|
Подсобные рабочие |
2 |
114000 |
228000 |
|
Итого |
- |
- |
878000 |
|
Итого по затратам труда с учетом прочих К = 1,05 |
- |
- |
921900 |
|
Материалы |
|||
|
Граммонит, кг |
679790 |
32 |
21753280 |
|
Детонирующий шнур и шашки |
- |
- |
4940000 |
|
Итого |
- |
- |
26693280 |
|
Итого по материалам с учетом прочих К = 1,05 |
- |
- |
26973559 |
|
Механизмы |
|||
|
Буровой станок, п.м. |
25000 |
28,7 |
717500 |
|
Итого по механизмам с учетом прочих К = 1,05 |
- |
- |
753375 |
|
Всего стоимость |
- |
- |
28648834 |
|
Стоимость 1 м3 |
- |
- |
15,1 |
Размеры, устройство и эксплуатация карьерных дорог.
Основные параметры карьерных дорог приняты по габаритам автосамосвала БелАЗ – 540 А.
Внутренние автомобильные дороги с расчетным объемом перевозок до 5млн.т. Расчетная скорость движения для дорог 3 категории принята
20 км/час .
Дороги на поверхности сооружаются двухполосными. Ширина проезжей части двухполосных дорог принята 14 м, ширина обочин – 2 м, поперечный уклон проезжей части при двухскатном поперечном профиле – 300/>00> ,наибольший продольный уклон – 600/>00 ,>
Движение автотранспортных средств по дорогам осуществляется без обгона. Установка дорожных знаков и других технических средств регулирования должна соответствовать требованиям ГОСТа и требованиям правил дорожного движения.
Дороги оборудуются стационарным освещением, яркость поверхности дорог должна быть не ниже 0,5-0,3 кд/м2. На карьерных дорогах систематически выполняется комплекс работ по защите от снежных заносов в зимнее время и пылеподавлению в теплое время года.
Двухполосные дороги соединяются со вскрышными и добычными уступами временными технологическими дорогами, которые сооружаются непосредственно на плотике россыпи, на уступах , заездах и т.д.
Дороги со сроком службы до одного года устраиваются без покрытий.
Протяженность дороги, проложенной на поверхности до обогатительной установке в среднем составляет 1000 м.
Содержание дорог включает в себя следующие технологические операции:
- очистку проезжей части дорог от осыпающихся из кузова кусков породы;
- россыпь высевок с последующей планировкой;
- проведение мероприятий по борьбе с гололедом и пылеподавлению.
3.6 Обогащение песков
и оценка качества песков месторождения
Содержание полезного компонента в россыпи составляет в золотоносном пласте 2,5 гр/м3, а в предохранительной рубашке и слое снимаемом при задирки плотика 1,5 гр/м3. Столь не высокое содержание золота при зачистке объясняется тем, что коренные породы сложены в основном глинистыми отложениями, среднее же содержание 2,2 гр/м3 Распределение золота в целом по россыпи равномерное.
Гранулометрический состав рыхлых отложений приведен в таблице 2.1.

Рисунок 3.4 – Гранулометрический состав полезного ископаемого
Пески россыпного месторождения Вача относятся к легкопромывистым, т. к. β>-0,074> < 10%. Степень промывистости песков определена по методики Иргеретмета.
Плотность песков в массиве (ρ>М>) равна 2,65 т/м3, а насыпная плотность (ρ>Н>) 2,12 т/м3.
Минеральный состав песков определен по выходы шлиха. Выход черного шлиха при промывки определяется в 206 грамм с 1 м3 песков.
Оценка качества полезного компонента месторождения
Крупность золота представлена в табл. 3.38, медианный размер зерна составил 1 мм (см. рис. 3.5). что классифицируется по методики НТП – 76 как среднее размер золотин, при это содержание мелкого золота 19,7%, средней крупности 10,7%, крупного золота и самородков 69,5%.
Средняя крупность золота определяется как:
(3.84)
где d>i> - размер i- ой фракции;
β>i > - процентное содержание i- ой фракции.
Как видно из расчета средний размер зерно составил 2,7 мм, что класифицируеться по методики НТП – 76 как крупное золото, при это содержание мелкого золота 19,7%, средней крупности 10,7%, крупного золота и самородков 69,5%.
Таблица 3.56 – Ситовая характеристика золота.
|
Размер фракции, мм. |
Выход фракции, % |
Накопленный, % |
|
-0,25 |
4,3 |
4,3 |
|
+0,25-0,50 |
14,7 |
19,0 |
|
+0,5-1,0 |
10,7 |
29,7 |
|
+1,0-3,0 |
56,2 |
85,9 |
|
+3,0-5,0 |
10,2 |
96,1 |
|
+5,0-7,0 |
2,8 |
98,9 |
|
+7,0 |
1,1 |
100 |
|
100,0 |
Форма золотин плоская, пластины преимущественно тонкие, окатанность хорошая.
Проба золота 920.

Рисунок 3.5 - Гранулометрический состав ценного компанента
Выбор типа промывочного прибора.
Дезинтеграция золотоносных песков происходит на промывочном столе прибора ПГШ – II – 50. Техническая характеристика приведена в табл. 64.
Таблица 3.57 - Расчет производительности промывочного прибора
ПГШ – II -50
|
Наименование показателей |
Ед. измер. |
Месяцы |
Итого за сезон |
|||||
|
Май |
Июнь |
Июль |
Август |
Сентябрь |
Октябрь |
|||
|
Продолжительность сезона |
сут. |
27 |
30 |
31 |
31 |
30 |
11 |
160 |
|
Время на производство ППР |
сут. |
1 |
2 |
2 |
2 |
2 |
1 |
10 |
|
Количество рабочих дней в сезон |
сут. |
26 |
28 |
29 |
29 |
28 |
10 |
150 |
|
Количество часов чистой работы в сутки |
ч |
19,5 |
19,5 |
19,5 |
19,5 |
19,5 |
19,5 |
19,5 |
|
Число часов чистой работы в сезон |
ч |
507 |
546 |
566 |
566 |
556 |
195 |
2926 |
|
Часовая техническая производительность промприбора |
м3/ч |
50 |
50 |
50 |
50 |
50 |
50 |
50 |
|
Поправочный коэффициент на неравномерность работы карьера и на зимние условия работ |
- |
0,8 0,85 |
0,8 0,9 |
0,8 1 |
0,8 1 |
0,8 0,9 |
0,8 0,85 |
0,8 0,9 |
|
Расчетная часовая производительность промприбора по периодам года |
м3/ч |
34 |
36 |
40 |
40 |
36 |
34 |
36 |
|
Расчетная производительность промприбора по периодам года |
тыс. м3 |
17,2 |
19,6 |
22,6 |
22,6 |
21,7 |
6,6 |
105 |
Таблица 3.58 – Балансовая стоимость ПГШ-II-50
|
Наименования расходов |
Процентное содержание |
Цена |
|
Закупочная цена, тыс. р. |
- |
275,0 |
|
Заготовительные – складские расходы, тыс. р. |
1,2% |
3,3 |
|
Итого, тыс. р. |
- |
278,3 |
|
Расходы на комплектацию оборудования, тыс. р. |
0,7% |
1,9 |
|
Итого, тыс. р. |
- |
230,2 |
|
Монтаж, тыс. р. |
6% |
16,5 |
|
Всего, тыс. р. |
- |
246,7 |
Таблица 3.59– Амортизация ПГШ-II-50
|
Оборудование |
Стоимость оборудования, тыс. руб. |
Норма амортизации, % |
Количество, шт. |
Годовая сумма амортизации, тыс. руб. |
|
Промприбор ПГШ – II - 50 |
246,7 |
10 |
1 |
24,7 |
Таблица 3.60– Заработная плата рабочих
|
Наименований профессий |
Штат, чел. |
Число смен работы в год одного рабочего |
Тарифная ставка в день, руб. |
Годовой Фонд зарплаты, тыс.руб. |
Основная зарплата, тыс.руб. |
Дополнительная зарплата 10% тыс.руб. |
Итого фонда зарплаты, тыс.руб. |
|||
|
Явочный |
Списочный |
Премия, 50% |
Северные надбавки, 1,2 |
Доплаты, 5% |
||||||
|
Гидромон |
2 |
2,2 |
160 |
300 |
105,6 |
52,8 |
126,7 |
5,2 |
28,5 |
313,6 |
|
Сварщик |
2 |
2,2 |
160 |
300 |
105,6 |
52,8 |
126,7 |
5,2 |
28,5 |
313,6 |
|
Съемщик |
2 |
2,2 |
160 |
300 |
105,6 |
52,8 |
126,7 |
5,2 |
28,5 |
313,6 |
|
Охранник |
2 |
2,2 |
160 |
300 |
105,6 |
52,8 |
126,7 |
5,2 |
28,5 |
313,6 |
|
Зав. З.П.К. |
1 |
1,1 |
160 |
350 |
61,6 |
30,8 |
73,9 |
3,1 |
16,9 |
186,1 |
|
ЕСФ, 35.6% |
512,8 |
|||||||||
|
Всего |
927,7 |
Списочный штат рабочих определяется:
Т>СПИС> =Т>РЕЖ >/Т>ФАК >=140 / 135 = 1,1 ч (3.85)
где Т>РЕЖ >= Т>СМ >-> >Т>КП >-> >Т>ПР >= 149 – 7 - 2 = 140 дней; (3.86)
где Т>СМ>> >– количество смен в сезоне, Т>СМ >= 160 дней;
Т>КП>> > - количество праздничных дней, Т>КП > = 2 дней;
Т>ПР>> > - простои по климатическому условию, Т>ПР > = 8 дней.
Т>ФАК >=> >Т>СМ >–> >Т>ПР >–> >Т>КП >-Т>Е >–Т>Б > = 160 – 8 - 5 – 10 – 2 = 135 дней; (3.87)
где Т>Б>> > – количество дней по болезни, Т>Б >= 5 дня;
Т>Е > – количество выходных дней, Т>Е >= 10 дня;
Таблица 3.61 – Затраты на электроэнергию ПГШ-II-50
|
Наименования затрат |
Расход энергии в год, кВт/ч |
Цена за единицу измерения, руб. |
Годовые затраты, руб. |
|
Плата по одноставочному тарифу |
121164 |
0,24 |
27140 |
|
Плата по двухставочному тарифу |
920 |
79 |
72680 |
|
Неучтенные затраты 20% |
19964 |
||
|
Всего |
119784 |
Затраты на электроэнергию определяется суммированием одноставочного и двухставочного тарифа за 1 час работы промывочного прибора и стоимости 1кВт.ч.
Расход энергии по одноставочному тарифу, W>о >= 134596 кВт;
Расход энергии по двухставочному тарифу, W>д >= 920 кВт;
(3.88)
где N>УСТ>> >– установленная мощность промприбора, N>УСТ >= 230 кВт;
t>СЕЗ>> >– число рабочих часов в сезон, t>СЕЗ >= 2926часов;
К - коэффициент интегральности, К = (0,25 –0,3);
К>И> - коэффициент использования, К>И> = 0,8
(3.89)
где Т>МЕС> - продолжительность сезона, Т>МЕС> = 5 месяцев;
Таблица 3.62 - Эксплуатационные затраты на ПГШ – II - 50
|
Наименования расходов |
Затраты на 1день, руб. |
Количество дней работы |
Годовая сумма затрат, тыс.руб. |
|
ГСМ |
24 |
160 |
3,84 |
|
Электроды |
105 |
160 |
16,8 |
|
На содержания и ремонт |
77,2 |
160 |
12,35 |
|
Износ металла |
1000 |
160 |
160 |
|
Итого |
1206,2 |
160 |
193 |
|
Неучтенные материалы, 10 % |
120,6 |
160 |
19,3 |
|
Всего |
1326,8 |
160 |
212,3 |
Прочие затраты определяются 10% от всех затрат (заработанная плата, затраты на электроэнергию, затраты на амортизацию горного оборудования, затраты на вспомогательные материалы).

Таблица 3.63 – Калькуляция стоимости машино–смены промприбора
ПГШ–II-50
|
Затраты |
Стоимость |
||
|
Годовая |
Сменная |
На 1 м3 |
|
|
Количество рабочих дней |
160 |
- |
- |
|
Производительность, м3 |
105000 |
656,3 |
- |
|
Продолжительность смены, час |
- |
12 |
- |
|
Заработанная плата, руб. |
1047900 |
327,5 |
0,5 |
|
Материалы, руб. |
212300 |
663,4 |
1,0 |
|
Амортизация, руб. |
24700 |
77,2 |
0,2 |
|
Электроэнергия, руб. |
119784 |
374,3 |
0,6 |
|
Текущий ремонт, руб. |
12350 |
38,5 |
0,1 |
|
Цеховые расходы, руб. |
283406,2 |
885,7 |
1,4 |
|
Прочие расходы, руб. |
170043,7 |
531,4 |
0,8 |
|
Стоимость, руб. |
1870480,9 |
5845,3 |
8,9 |
|
Стоимость машино – час, руб. |
487,1 |
487,1 |
- |
В промывочной установке пески поднимаются (подаются) на обогащение с помощью гидроэлеваторного прибора, с предварительной классификацией на гидровошгерте.
Промывочный прибор ПГШ – II – 50 относится к промприборам Магаданского типа (ОКБ – ВНИИ - 1).

1 Гидровашгерд; 2 Шлюз глубоко наполнения;
3 Гидромонитор; 4 Водовод;
5 Манометр; 6 Задвижка;
7 Агрегат насосный электрический; 8 Преключательный пункт;
9 Галечный отвал; 10 Эфельный отвал.
Рисунок 3.6 – Схема промывочного прибора ПГШ – II - 50
По анализу характеристик песков и золота, а также уровня извлечения золота различным обогатительным оборудованием, на основе использования исследований АО «Иргиредмет» и результатов опытно-промышленных работ по извлечению тонкого и мелкого золота выполненных ВНИИ-1, для обогащения песков россыпи были рекомендованы промывочные приборы бочечные, шлюзовые.
В данное время на месторождение россыпного золота р. Вача используется промывочный прибор ПГШ – II – 50 с шлюзом глубоко наполнения.

Рисунок 3.7 – Шлюз глубоко наполнения.
К достоинством ШГН относятся:
1 Простота конструктивного исполнения;
2 Отсутствие привода;
3 Высокая степень извлечения Au крупного и средней крупности;
4 Низкая чувствительность шлюзов к колебанием нагрузок и разжижению пульпы;
5 Высокая степень концентрации, т. е. сокращения объема конечных продуктов в тысячи раз по сравнению с объемом переработынных песков.
К недостаткам же зачисляют:
1 Периодичность шлюзов обусловленное накоплением концентратов на их поверхности и необходимость освежения этой поверхности;
2 Трудоемкость и низкие (не благоприятные) технические (санитарные) условия ручного сполоска шлюзов;
3 Недостаточная степень извлечения мелкого золота.
Основной областью применения ШГН является легко и среднеобоготимые пески при выходе эфельной фракции (γ>Э>) ≤50 – 70 %, содержание мелкого золота (β>-0,5>)≤10 – 12 %. Извлечение ценного компонента (ε) = 88 – 93 %.
Таблица – 3.64 - Техническая характеристика промывочного прибора
ПГШ –II – 50
|
Показатели (параметры) |
Ед. Измер. |
Значение показателей |
|
Производительность по твердому |
м3/ч |
50 |
|
Гидромонитор |
------ |
УГЭ-170/350 |
|
Расход технологической воды |
м3/ч |
870 |
|
Гидровашгерт Диаметр отверстия грохотов |
мм |
ВГ –II -100 60 -100 |
|
Максимальный деаметр отверстия ограничительной решетки |
мм |
100 |
|
Шлюз глубокого наполненнния длина ширена |
м мм |
ШГ- II – 100 26 1000 |
|
Насосная установка |
------- |
АН – 12НДс |
|
Мощность привода ЯМЗ - 240 |
л. с. |
360 |
|
Геодезическая высота подьема пульпы |
м |
16 - 17 |
|
Масса |
т |
26,9 – 27,5 |
Суточная потребность обогатительной установке в технологической воде составит:
Q>СУТ > = Q>В > ּQП/П >СУТ > / QП/П>Ч >= 870 ּ 975 / 50 = 16965 м3 ; (3.90)
где QП/П>Ч>> >- часовая производительность установки; QП/П>Ч >= 50 м3 / ч ;
QП/П >СУТ>> > - суточная производительность установки; QП/П >СУТ >= 975 м3 / сут ;
QП/П>В>> > - расход воды промприбором, QП/П>В > = 870 м3 / ч .
Прочие неучтенные расходы воды (5%):
Q Т>СНЕУЧ> = Q Т>СУТ >ּ 0,05 = 16965 ּ0,05 = 848,2 м3 /сутки; (3.91)
Общий расход технологической воды составит:
QТ>С.ОБЩ. >= Q Т>СУТ >+ Q Т>С.НЕУЧ. >= 16965+848,25 = 17813,2 м3 /сутки; (3.92)
Удельный расход технологической воды составит:
q>Т >= QТ>С,ОБЩ. > / QП/П >СУТ> = 17813,2 / 975 = 18,3 м3/м3. (3.93)

Рисунок 3.8 – Схема обогащения месторождения р. Вача.
Расчет качественно-количественой схемы обогащения:
Расчет количественной схемы обогащения выполняется с учетом следующих исходных данных:
часовая производительность промприбора = 36 м3 / ч;
выход фракции + 100 мм = 92 % ;
выход концентрата со шлюзов ШГН = 30 л / м2 ;
коэффициент грохочения = 0,5;
выход концентрата на доводочном шлюзе = 5 % ;
выход подрешетного материала – 4 мм = 24 % .
Таблица 3.65 - Расчет количественной схемы обогащения
|
№ п/п |
Операции, продукты обогащения |
Выход твердого |
Ж:Т |
Расходводы, м3 / ч |
Расходпульпы, м3/ч |
||
|
м3 / ч |
% |
||||||
|
1 |
2 |
3 |
4 |
5 |
6 |
7 |
|
|
1 |
Дезинтеграция и грохочение песков на гидровашгерте |
||||||
|
1.1 |
Пекски |
50, |
100 |
0,2:1 |
10 |
60 |
|
|
1.2 |
Вода гидровашгерта |
- |
- |
- |
186 |
186 |
|
|
Итого |
50 |
100 |
4:1 |
196 |
246 |
||
|
Выход |
|||||||
|
1.3 |
Эфеля |
(- 100 мм) |
44,8 |
89,6 |
4,2:1 |
190,5 |
235,6 |
|
1.4 |
Галя |
(+100 мм) |
5,2 |
10,4 |
1:1 |
5,2 |
10,4 |
|
Итого |
50 |
100 |
4:1 |
196 |
246 |
||
|
2 |
Концентрация на ШГН |
||||||
|
Поступает |
|||||||
|
2.1 |
Эфеля (-100 мм) |
44,8 |
89,6 |
42:1 |
190,8 |
235,6 |
|
|
2.2 |
Вода гидроэлеватора |
- |
- |
- |
672 |
676 |
|
|
Итого |
44,8 |
89,6 |
4,2:1 |
862,8 |
907,6 |
||
|
Выходит |
|||||||
|
2.3 |
Концентрат на доводку |
0,156 |
0,174 |
0,5:1 |
0,078 |
0,234 |
|
|
2.4 |
Хвосты ШГН |
44,644 |
89,486 |
19,2:1 |
862,800 |
907,366 |
|
|
Итого |
44,8 |
89,6 |
19,2:1 |
862,872 |
907,65 |
||
|
3 |
Концентрация на ШД |
||||||
|
3.1 |
Концентрат ШГН |
0,156 |
0,174 |
0,5:1 |
0,078 |
0,234 |
|
|
3.2 |
Вода техническая |
- |
- |
- |
1,794 |
1,95 |
|
|
Итого |
0,156 |
0,174 |
12:1 |
1,872 |
2,184 |
||
|
Выходит |
|||||||
|
3.3 |
Шлихи на ШОУ |
0,04 |
0,053 |
0,5:1 |
0,02 |
0,06 |
|
|
3.4 |
Хвосты в отвал |
0,152 |
0,121 |
12,3:1 |
1,870 |
2,1224 |
|
|
Итого |
0,156 |
0,174 |
12:1 |
1,872 |
2,184 |
Таблица 3.66 – Расчет качественной схемы обогащения
|
Операция, продукт обогащения |
Извлечение |
|
|
По операции |
От исходного |
|
|
1 Дезинтеграция и грохочение на гидровашгерте. |
||
|
98,00 |
98,00 |
|
2,00 |
2,00 |
|
Итого |
100 |
100 |
|
2 Концентрат на ШГН |
||
|
2.1 Условно в концентрат |
91,41 |
89,58 |
|
2.2 Потеренно с хвостами |
9,5 |
8,42 |
|
Итого |
100 |
98 |
|
3 Сполоск |
||
|
3.1 Условно в концентрат |
67,9 |
60,27 |
|
3.2 Потерянно с хвостами |
2,10 |
1,86 |
|
Итого |
80 |
62,13 |
|
4 Сокращение на ШД |
||
|
4.1 Условно в шлихи |
95,00 |
83,78 |
|
4.2 Теряется с хвостами |
5,00 |
4,41 |
|
Итого |
100 |
88,19 |
Из таблице 3.66 видно, что извлечение золота при принятой технологии обогащения будет равно 88,19%.
Определяем количество извлеченного золота:
(3.94)
где V>З> – количество золото в граммах по месторождению V>З>= 2280690 гр. (см. пункт 2);
ε – коэффициент извлечения золота, ε=0,8819.
Определяем затраты на обогащение:


(3.95)
где Ц>ПГШ> – стоимость затрат с 1 м3 для ПГШ-II-50, Ц>ПГШ>=8,9 руб. (см. табл. 3.13).
3.7 Отвалообразование
На промплощадке обогатительной установки пески складируются в рудном складе. Затем бульдозером на базе Т-170 равномерно подаются на промывочный стол ПГШ – II - 50. Объем подачи песков - 11036800 м3.
Галечный отвал продуктов обогащения песков формируется гусаком промывочного прибора, а затем разваловывается бульдозером D 355 А в выработанное пространство. Материал эфельного отвала разваловывается в илоотстойник бульдозером на базе Т-170.
Общий объем галечного отвала из фракции +100 мм:
;
(3.96)
где W>+ 100>> > - выход фракции гали + 100 мм, W>+ 100 > = 10,6 % ;
kГ>КР>> >– коэффициент разрыхления гали, k Г>КР>= 1,3 .
Объем эфельного отвала из фракции –100мм:
;
(3.97)
где W>- 100>> > - выход фракции эфелей - 100 мм, W>- 100>= 89,4;
kЭФ>КР>> >– коэффициент разрыхления эфелей, k ЭФ >КР>= 1,1.
Общий объем отвала:
;
(3.98)
Расчет необходимого количества бульдозеров на уборку гали и эфелей.
Количества бульдозеров Т 170 на уборку гали:
;
(3.99)
где QГ >Т170>- сезонная норма выработки бульдозера Т 170 на уборку гали, QГ >Т170> =250000 м3 (см. табл. 3.2) .
Затраты на уборку гали в год:
(3.100)
где Ц>Т170 >– стоимость затрат с1м3 для бульдозера Т - 170, Ц>Т170 >= 9,3 рублей (смотри таблицу 3.15).
Количества бульдозеров Т-170 на уборку эфелей:
;
(3.101)
где QЭФ >Б >- сезонная норма выработки бульдозера Т-170 на уборку эфелей, QЭФ >Б> =250000 м3 (см. табл. 3.3) .
Затраты на уборку эфелей в год:
(3.102)
Общие затраты на отвалообразование.
(3.103)
3.8 Водоснабжение горных работ
В соответствии с требованиями Правил охраны поверхностных вод от загрязнения и Норм технологического проектирования при промывке золотосодержащих песков россыпи р. Вача принято оборотное водоснабжение промывочной установки ПГШ – II -50
Для организации промывки песков принята система технологического водоснабжения внешнего типа с площадкой хвостового хозяйства на борту карьера.
Исходя из рельефа поверхности, горно-геологических условий, характера распределения запасов и порядка их отработки проектом определено наиболее рациональное место размещения очистных сооружений карьера в непосредственной близости от места производства работ.
Необходимая вместимость технологического илоотстойника расчитывется исходя из объема промываемых песков, условий складирования хвостов, коэффициентов их разрыхления и набухания илисто - глинистых частиц.
Расчет вместимости илоотстойника выполнен по формуле:
(3.104)
где А – объем промывки горной массы на период эксплуатации илоотстойника, А = 1036800 м3;
λ - коэффициент, учитывающий условия складирования при расположении всего объема хвостов промывки на борту карьера на ранее нарушенных площадях, λ = 0,075;
λ= λэ ּ D = 0,89 ּ0,85ּ 0,1 = 0,075; (3.105)
где Кр – коэффициент разрыхления пород складируемых в илиоотстойнике, Кр = 1,15;
D – массовая доля фракций минус 1 мм (согласно гранулометрического состава), D = 8,5%;
D>0,05> -массовая доля илисто-глинистых частиц размером менее 0, 05 мм, принята на основании гранулометрического состава исходных песков, D>0,05> = 4,5 %;
Кн - коэффициент набухания илисто-глинистых частиц, Кн = 1,1 ;
Qч - производительность промывочною прибора, Qч = 36 м3/ ч ;
R – расход технологической воды, R=17,4м3/м3;
t - продолжительность работы промприбора в сутки, t=19,5;
λэ - эфельность песков, λэ=0,89
t - продолжительность работы промприбора в сутки , t = 19,5 ч ;
Необходимая вместимость илоотстойника технологического водоснабжения составляет – 106,2 тыс.м3. В связи с этим строительства илоотстойнников не предусматривается, т. к. уже имеются значительные площади наполнены водой, оставшиеся с прошлых лет разработки. Их площадь составляет 323,1 тыс. м3, что обеспечивает необходимый, расчетный объем илоотстойника 106,2 тыс. м3.
3.9 Охрана природы
3.9.1 Охрана водных ресурсов
В соответствии с требованиями правил охраны поверхностных вод от загрязнения и норм технологического проектирования при промывке золотосодержащих песков россыпи реки Вача принято оборотное водоснабжение промывочной установки ПГШ – II – 50.
Определяем расход сточных вод по формуле:
(3.106)
где N>СТОЧ> – норматив по сбросу сточных вод, N>СТОЧ> = 0,7 м3/м3;
А – производительность карьера, А = 0,016 м3/с.
Определяем мутность сточных вод:
(3.107)
где ε - доля частиц которые выносятся из водоема, ε = 0,01;
μ – коэффициент глинистости пород, μ = 0,02;
ρ- плотность взвесей, ρ = 2650000 г/м3.
Рассчитываем предельно допустимую концентрацию:
(3.108)
где С>Д >> >– допустимое увеличение концентрации взвеси в реке, С>Д >= 0,25 г/м3;
Q>МИН> – минимальный расход воды, Q>МИН> = 0,73 м3/с;
С>ПР> – природные концентрации взвеси в реке, С>ПР> = 7 г/м3;
d- коэффициент смещения сточных вод, d = 0,4;
(3.109)
где В - коэффициент учитывающий условия смещения, В = 0,02;
(3.110)
где L – расстояние по фарватеру разбавляющего водостока, L = 500 м;
а- коэффициент, учитывающий гидравлические условия смещения, а = 0,5;
(3.111)
где Е – условия выпуска сточных вод, Е = 1;
Y – коэффициент извилистости реки, Y = 1,3;
Е>Д> – коэффициент турбулентной диффузии, Е>Д >= 0,0016;
(3.112)
где V>С> – скорость водного потока, V>С> = 0,46 м/с;
Н>С> – глубина водного потока, Н>С >= 0.68 м.
Рассчитываем предельно допустимый сброс:
(3.113)
Определяем долю частиц которую необходимо осадить:
(3.114)
Размер частиц которую необходимо осадить при 98 % будет 0,005 мм.
Определяем длину осаждения частиц:
(3.115)
где V>С> – скорость транзитного потока, V>С> = 0,0003 м/с;
Н>ОС> – глубина транзитного потока, Н>ОС> = 2,5 м;
U - скорость осаждения частиц данного размера, U = 0,000008 м/с;
U>ВЗ> – взвешенное состояние движущих частиц, U>ВЗ> = 0,00000001.
(3.116)
где К>ТР> – коэффициент транзитности, К>ТР> = 0,3;
В>ОС> - ширина транзитного потока, В>ОС >= 30 м.
(3.117)
где n – коэффициент шероховатости, n = 0,018.
Длина отстойника:
(3.118)
где К>З> – коэффициент запаса, К>З> = 1,1.
3.9.2 Рекультивация нарушенных земель
Ввиду того, что нарушенный земельный участок подлежит возврату землепользователю под естественное зарастание в проекте предусматривается следующие мероприятия:
Транспортировка отвалов вскрыши в отработанное пространство
(в карьерную выемку) с приданием рельефу рекультивируемой поверхности поперечного уклона не более 230;
Планировка отвалов от проходки канав;
Все выше указанные работы будут выполняться бульдозерами Т-170, при этом средняя дальность транспортировки пород составит:
- по вскрыши 50 м;
- уборку хвостов промывки 40 м.
Мелкозернистая часть хвостов промывки (эфеля) будет размещаться в илоотстойник непосредственно в процессе отработки месторождения, а крупная часть (галя), во время рекультивации, в отработанное пространство.
Таблица3.67 – Объемы рекультивируемых земель
|
Вид работ |
Единица измерения |
Объем работ |
|
Транспортировка пород вскрыши в карьерную выемку |
м3 |
440,0 |
|
Засыпка капитальной траншеи |
м3 |
4,0 |
|
Засыпка нагорной канавы |
м3 |
2,5 |
|
Итого |
м3 |
446,5 |
Время на проведение рекультивации определяются как:
(3.119)
Затраты на проведение рекультивации определяются как:
(3.120)

Рисунок 3.9 – Схема рекультивации капитальной траншеи

Рисунок 3.10 – Схема рекультивации нагорной канавы.
4 Энергоснабжение
4.1 Расчет электроснабжения участка горных работ
Таблица 4.1 - Расчет потребности мощности и расхода электроэнергии
|
Потребители |
Кол. пот. |
Р>НОМ>, кв. |
К>с> |
cos y |
tg |
Р>РАС>, кв. |
Q>РАС>, кв |
Время работы в году, час. |
К>И> |
Расход эл.энергии в год, тыс квт. |
|
Энергопотребители с напряжением 6 квт |
||||||||||
|
Экскаватор ЭШ 15 / 90А |
1 |
1900 |
0,5 |
0,85 |
0,62 |
950 |
- 590 |
6240 |
0,8 |
5928 |
|
ТСН |
2 |
560 |
0,5 |
0,7 |
1 |
280 |
280 |
6240 |
0,8 |
1747 |
|
Энергопотребители с напряжением 0.4 квт |
||||||||||
|
ПГШ-II-50 |
1 |
250 |
0,8 |
0,8 |
0,75 |
200 |
150 |
3840 |
0,8 |
768 |
|
Насос |
2 |
135 |
0,8 |
0,8 |
0,75 |
100 |
96 |
3840 |
0,8 |
384 |
|
Насос подпитки |
1 |
6 |
0,7 |
0,7 |
1 |
4 |
3 |
3840 |
0,4 |
1 |
|
Буровой станок СБШ-250 |
1 |
322 |
0,6 |
0,7 |
1 |
193 |
197 |
5520 |
0,8 |
1065 |
|
Пункт ППР |
1 |
500 |
0,3 |
0,65 |
1,17 |
150 |
176 |
4485 |
0,4 |
897 |
|
Итого: 6 кв |
3020 |
1230 |
- 310 |
8101 |
||||||
|
Итого: 0.4 кв |
1348 |
747 |
622 |
3115 |
||||||
|
Всего |
3808 |
1977 |
312 |
11216 |
Расчет электрических нагрузок и определение мощности трансформаторных подстанций.
Расчетная активная нагрузка:
(4.1)
где К>С>> >– коэффициент спроса электрооборудования;
Р>НОМ >– активная номинальная мощность двигателей главных преобразовательных агрегатов, кВт.
Выше и далее расчет проводиться для экскаватора ЭШ 15/90 А, аналогичный расчет выполняется для остального оборудования.
Расчетная реактивная нагрузка:
(4.2)
где tg > >– коэффициент мощности однородных приемников.
Таблица 4.2 – Расчетные активные и реактивные нагрузки
|
Наименование оборудования |
Экскаватор ЭШ 15/90А |
ТСН |
ПГШ-II-50 |
Насос |
Насос подпитки |
Буровой станок СБШ-250 |
Пункт ППР |
|
Р>РАС> |
950 |
280 |
200 |
108 |
4 |
193 |
0,2 |
|
Q>РАС> |
589 |
280 |
267 |
881 |
4 |
193 |
0,2 |
Полная расчетная нагрузка:
(4.3)
где К>Р>> >– коэффициент равномерности в нагрузке, К>Р >= 0,9;
На участке находится обогатительная установка и мощные технологические установки относящиеся к электропотребителям первой категории.
При этом необходима установка двух трансформаторов, которые при выходе
одного из строя второй обеспечить 75% общей нагрузки.
Номинальная мощность трансформатора.
S> НОМ,ТР >>= 0,75ּ S>расч >,
S> НОМ,ТР >>= 0,75 ּ2532 = 1899 кВт.
Исходя из расчетных данных принимается двухтрансформаторная подстанция с трансформатором типа ТМ – 2500 / 35.
Расчет воздушных линий и кабельных сечений на участке.
Выбор сечения проводов и кабелей по нагреву токами и сравнения расчетного тока с допустимыми токами.
Расчетный ток нагрузки для определения сечения проводов питающих подстанцию.
(4.4)
где U>ном>> >– номинальное напряжение сети, U>ном >= 35 кВ.
Определение сечения провода по экономической плотности тока.
(4.5)
где j - экономической плотности тока, j = 1.1 а / мм2;
Выбираем ближайшее стандартное значение 50 мм2. Марка провода АС– 50.
I>ДОП>= 210А > 32А.
Проверка линии на потерю напряжения.
Потеря напряжения в трехфазной сети определяется:
(4.6)
где L – длина линии, 40 км;
r>o>, x>o> – активное и индуктивное сопротивление 1 км. линии, r>o> = 0,46, x>o>= 0,4.
Потери напряжения в проводах допускается не выше 10%.
Расчет линий ведущих к электроприемнику с напряжением 6 кВт.
Расчетный ток нагрузки:
(4.7)
где cos - коэффициент мощности, соответствующей нагрузке, cos = 0,7;
η – кпд сети, η = 0,95.
Выбирается марка провода А – 95. I>ДОП >= 320А > 274А.
Проверка линии на потерю напряжения линии передач 6 кВ:
(4.8)
Потери напряжения в проводах допускается не выше 5%.
Расчет линий ведущих к экскаватору ЭШ 15 / 90.
Расчетный ток нагрузки:
(4.9)
Выбирается марка кабеля КГЭ 370 +110+110; I>ДОП>=180 А.
I>ДОП >= 180А > 178 А.
Проверка линии на потерю напряжения линии передач 6 кВ.
(4.10)
Потери напряжения в проводах допускается не выше 5 %.
Линий ведущие к промприбору ПГШ-II-50 и СБШ – 250МН предусматривается ПКТП – 400 (передвижная комплектная трансформаторная подстанция).
Расчет линий ведущих к буровому станку СБШ – 250МН от ПКТП – 400.
Расчетный ток нагрузки:
(4.11)
I>ДОП >= 460 > 426 А.
Проверка линии на потерю напряжения линии передач 0,4 кВ:
(4.12)
Потери напряжения в проводах допускается не выше 5 %.
Расчет линий ведущих к промприбору ПГШ-II-50 от ПКТП – 400.
Расчетный ток нагрузки:
(4.13)
Выбирается марка провода А – 120. I>ДОП >= 375 > 352 А.
Проверка линии на потерю напряжения линии передач 0,4 кВ:
(4.14)
Потери напряжения в проводах допускается не выше 5 %.
Проверка сети на потерю напряжения в пусковом режиме.
Проверка сводится к определению фактического напряжения на зажимах наиболее мощного двигателя и сравнения данного значения с допустимым уровнем напряжения.
(4.15)
где U>О> – напряжение трансформаторной подстанции, U>О> = 6000 В;
∆U>Р>> >– потеря напряжения от прочей нагрузки, ∆U>Р >= 1110 В;
К>П>> > - пусковой коэффициент для экскаватора, К>П > = 1,6;
S>НОМ>> >– номинальная мощность пускаемого двигателя, S>НОМ> = 1900 кв;
X>ВН>> >– внешнее индуктивное сопротивления участка сети от трансформатора до пускаемого двигателя, Ом;
x>ВН >= x>ТР >+ x>ВЛ >+ x >КД >= 0,03+1,2+0,064=0,3 Ом; (4.16)
x>вн >= x>тр >+ x>вл >+ x >кл >= 0.03 + 1.2 + 0.064 = 0.3 Ом;
где x>ТР>> >– индуктивное сопротивление трансформатора, х>ТР>=0,07 Ом;
x>ВЛ>, x >КД>> >- индуктивное сопротивление воздушных и кабельных линий;
х>ТР >= 10 ּ U>КЗ >ּU>хх>2 / S>ТРНОМ >= 10 ּ 6,5 ּ 6,32 / 35000 = 0,03 Ом; (4.17)
х>ВЛ> = 0,4 * l>ВЛ> = 0,4 * 3 = 1.2 Ом; (4.18)
х>КЛ> = 0,4 * l>КЛ> = 0,4 * 0,8 = 0.064 Ом; (4.19)
где U>КЗ >– напряжения коротко замыкания трансформатора, U>КЗ >= 6,5 В;
U>ХХ>– напряжение холостого хода вторичной обмотки трансформатора,
U>ХХ> = 6,3 В;
l>ВЛ>,, l>КЛ> – длина воздушных и кабельных линий, l>ВЛ> = 3 км, l>КЛ >= 0,8 км;
Уровень напряжения на зажимах двигателя в момент его пуска должен удовлетворять условию. ∆U>П> >= 0,75 U>НОМ>, 5292 В >= 3969 В условие выполняется.
ЯКНО КГЭ 3 ּ
50 + 1 ּ10
ЭШ 15 / 90А











АС - 50 6 кВ






ПКТП – 400
СБШ - 250
3













5
кВ А – 95
КГЭ 3 ּ
70 + 1 ּ 10

6 кВ 0,4 кВ



ПКТП - 400
ПГШ-II-50










А-120
0,4 кВ
Рисунок 4.1 – Схема электроснабжения карьера.
4.2 Освещение карьера
Освещение экскаваторных забоев, мест работ бульдозеров предусматривается с применением прожекторов и фар, установленных на механизмах. Согласно требованию ЕПБ проектом принято общее освещение района ведения горных работ с минимальной освещенностью Е>min>=0,5 лк. Расчет ведется методом наложения изолюкс на район ведения горных работ.
Определить суммарный световой поток:
(4.20)
где ∑F>МИН> – требуемая освещенность для отдельных участков, ∑F>МИН>= 0,5 лк;
S>ОС>> >– площадь освещаемого участка, S>ОС> = 20000 м2;
k>З> – коэффициент запаса, k>З> = 1,4;
k>П> – коэффициент, учитывающий потери света, k>П> = 1,5.
Освещение осуществляется светильниками типа ПЗС – 45 с мощностью лампы 1000Вт.
Определяем требуемое количество прожекторов:
(4.21)
где F>Л> – световой поток лампы прожектора, F>Л>= 21000 лм;
η>ПР>> > - к.п.д. прожектора, η>ПР > = 0,35.
Высота установки прожектора:
h>ПР>2 = I>МАХ >/ 300 = 140000 / 300 = 22 м; (4.22)
где I>МАХ> – максимальная сила света прожектора, I>МАХ> = 140000 кд.
Необходимая мощность трансформатора:
(4.23)
где η>С>> >– к.п.д. осветительной сети, η>С >= 0,95;
η>ОС>> >– к.п.д. светильников, η>ОС >= 1;
cos θ>ОС>> >– коэффициент мощности ламп, cos θ>ОС >= 1
Для освещения карьера применим трансформатор ТМ-6/0,4 с номинальной мощностью 25 кВА, номинальным напряжением: входным – 6 кВ,
выходным – 0,4 кВ.
4.3 Заземление
Расчет заземления с ЕПБ сопротивление в любой точке общего заземлительного устройства на открытых горных работах не должно превышать 4 Ом.
Заземлительное устройства состоит из центрального и местного заземляющего устройства.
Местное заземляющее устройство делается у ПКТП, а центральное у ГПП барьера.
Общее сопротивление заземления определяется:
R>З> = R>УЗК> + R>МЛ> + R>ПЛ> + R>КЛ> <= 4 Ом; (4.24)
где R>УЗК> – сопротивления центрального заземляющего контура, Ом;
R>УЗК> = 4 – (R>МЛ> + R>ПЛ> + R>КЛ>) Ом; (4.25)
R>МЛ> – нормальное значения сопротивления сети, Ом;
R>МЛ> = R>О>ּ L>М> = 0,27 ּ 2 = 0,54 Ом; (4.26)
где L>М> - длина магистральных линий, L>М> = 2 км;
R>ПЛ> – сопротивление поперечной линии, Ом;
R>ПЛ> = R>О >ּ L>П> = 0,27 ּ1 = 0,27 Ом; (4.27)
где L>П> - длина поперечных линий, L>П> = 1 км;
R>КЛ> – сопротивления кабельной линии, Ом;
R>КЛ> = R>О >ּ L>К >= 0,74 ּ 0,8 = 0,59 Ом; (4.28)
где L>К> – длина кабеля, L>К> = 0,8 км;
R>О >– для кабеля КГЭ 25 ּ 1 + 1 ּ 10 = 0,74 Ом; (4.29)
R>УЗК> = 4 – (0,54 + 0,27 + 0,59) = 2,6 Ом; (4.30)
В качестве заземляющего электрода принимаем трубу диаметром 0.16 м; длиной 2.5 м. Электрод закопан в грунт на глубину от поверхности 0.7 м.










t




L
d

Рисунок 4.2 – Схема расположения электрода.
Сопротивление заземляющего электрода:
=
Ом;
(4.31)
где удельное сопротивление грунта, = 100 Ом / м;
l - длина заглубления прутков, l = 2.5 м.
Определим число заземлителей:
n>З> = R>Э> ּ К>СЕЗ > / R>УЗК> = 31 ּ 1,5 / 2,6 = 18 шт; (4.32)
где К>СЕЗ> – коэффициент, учитывающий сезонность, К>СЕЗ> = 1,5.






































b


b
b
= 5 м
Рисунок 4.3– Схема расположения электродов в центральном контуре.
4.4 Основные энергетические показатели
Электровооружонность труда характеризуется соотношением между затратами труда и электроэнергией израсходованной в производственном процессе:
Э>Э >= Э>А> /( n>СП >ּ t>СМ >ּ n>ДН)> = 11216000 / (50ּ19,5ּ260)=44,2 кВч/чел ; (4.29)
где Э>А>– расход электроэнергии за год, Э>А> = 11216000 кВ;
n>СП>> >– списочный состав рабочих, n>СП >=50;
t>СМ>> > - продолжительность рабочей смены, t>СМ >= 19,5 ч.;
n>ДН> – количество рабочих дней в году, n>ДН> =260.
Удельный расход электроэнергии:
Э>У> = Э>А> / V>П> = 11216000 / 1036800 = 10,8 Вт/м3; (4.30)
где V>П> – объем песков в год, V>П> =1036800 м3
Средневзвешенное значения коэффициента мощности:
;
(4.31)
где Э>Р>> >– показания счетчика реактивной энергии за год, Э>Р> =822000.
Таблица 4.3 - Расчет капитальных затрат на приобретение оборудования.
|
Наименование оборудования |
Кол-во единиц |
Оптовая цена тыс. руб. |
Затраты на доставку оборудования, 10% тыс. руб. |
Общая стоимость оборудования тыс.руб. |
|
Трансформатор ТМ 2500 / 35 |
1 |
2000 |
200 |
2200 |
|
Трансформатор ТМ 6 / 0,4 |
1 |
1250 |
125 |
1375 |
|
ПКТП |
1 |
175 |
17.5 |
192.5 |
|
КТП |
1 |
150 |
15 |
165 |
|
ЯКНО |
1 |
125 |
12,5 |
137,5 |
|
Итого |
3700 |
370 |
4070 |
|
|
Неучтенное оборудование (5%) |
185 |
18,5 |
203,5 |
|
|
Итого |
3885 |
388,5 |
4273,5 |
Таблица 4.4 - Расчет капитальных затрат на приобретение проводов и
кабелей.
|
Наименование материалов |
Норма расхода тыс. руб./ 1 пм |
Общая длина линий, м |
Стоимость материала, тыс. руб. |
Количество линий, шт. |
Балансовая стоимость, тыс. руб. |
|
АС - 50 |
35 |
40000 |
1400 |
2 |
2800 |
|
А – 120 |
65 |
100 |
6,5 |
2 |
13 |
|
А – 95 |
60 |
3000 |
180 |
2 |
360 |
|
КГЭ 3ּ50+1ּ10 |
35 |
800 |
28 |
1 |
28 |
|
КГЭ 3ּ70+1ּ10 |
40 |
200 |
8 |
2 |
16 |
|
Итого |
1422 |
3217 |
|||
|
Неучтенное оборудование (5%) |
711 |
160 |
|||
|
Всего |
2133 |
3377 |
Таблица 4.5 -Затраты на вспомогательные материалы.
|
Наименование материалов |
Единицы измерения нормы расхода |
Норма расхода |
Цена за единицу, руб. |
Годовой расход на весь объем работ, тыс. руб. |
|
Обтирочные материалы |
кг |
2000 |
10 |
20 |
|
Трансформаторное масло |
литр |
1200 |
20 |
24 |
|
Запасные части, 5% от балансовой стоимости |
руб. |
220 |
||
|
Итого |
268 |
|||
|
Неучтенные материалы, 20% от итого |
54 |
|||
|
Всего |
322 |
Таблица 4.6- Расчет затрат на амортизацию
|
Наименование основных фондов |
Балансовая стоимость, тыс. руб. |
Норма на амортизацию, % |
Сумма амортизационных отчислений, тыс. руб. |
|
Электрооборудование |
4273.5 |
8 |
342.3 |
|
Кабели и провода |
3377 |
10 |
337.7 |
|
Итого |
7614.5 |
680 |
Таблица 4.7 – Расчет заработанной платы
|
Наименований профессий |
разряд |
Штат, чел. |
Число смен работыв год одного рабочего |
Тарифная ставкав день,руб |
Годовой Фонд зар. платы, тыс.руб. |
Основная зарплата, тыс.руб. |
Дополнительная зарплата 10% тыс.руб. |
Итого фонда зарплаты, тыс.руб. |
|||
|
Яв. |
Спис. |
Премия, 50% |
Северные надбавки, 1,2 |
Доплаты, 5% |
|||||||
|
Старший электрослесарь |
2 |
2.2 |
290 |
300 |
192 |
96 |
230 |
9 |
53 |
580 |
|
|
Помощник электрослесарь |
2 |
2.2 |
290 |
250 |
146 |
73 |
175 |
7 |
40 |
441 |
|
|
Единый социальный фонд, 35.6% |
363 |
||||||||||
|
Всего |
658 |
Таблица 4.7 - Эксплуатационные затраты на электрооборудование.
|
Наименование затрат |
Годовая сумма расходов, тыс. руб. |
|
|
Сумма затрат тыс. руб. |
На единицу продукции руб./м3 |
|
|
Заработанная плата |
658 |
3,2 |
|
Материалы |
322 |
1,6 |
|
Амортизация |
680 |
3,3 |
|
Текущий ремонт |
2280 |
11,1 |
|
Прочие расходы |
780 |
3,8 |
|
Итого |
4728 |
23 |
5 Охрана труда
5.1 Анализ условий труда
При ведении горных работ выделяется следующие вредные вещества:
1 Пыль (аэрозоли с твердыми частицами дисперсной фазы размером преимущественно 10-4 — 10-1 мм.) при бурении, при экскавации породы, при погрузке, при транспортировке, при проведение массовых взрывов;
1.1 При бурении скважин бурстанками шарошечного бурения запыленность может достигать 300 – 1900 мг / м3. Это обусловливается необходимостью применения высокоэффективных средств пылеулавливания.
1.2 При транспортировке интенсивность пылеобразования зависит от скорости движения автомашины, состояния дороги, ее покрытия.
1.3 При экскаваторных работах воздушная среда загрязняется не только в зоне работы экскаватора, но и в целом по карьеру. В целях уменьшения образования пыли при погрузке предусматривается метод орошения в забоях.
1.4 При проведении массовых взрывов, для уменьшения пылеобразования добавляются гидрообезпылеватели.
Для гидрообеспылевания применяется в основном три способа:
- предварительное орошение взрывного блока;
- предварительное увлажнение взрываемого блока;
- увлажнение за счет свободной фильтрации воды из канав, расположенных на поверхности.
2 Газы (при работе бульдозеров, при работе автосамосвалов, при работе экскаватора, при проведение массовых взрывов).
2.1 При проведении массовых взрывов снижение загазованности атмосферы достигается с применением ВВ с низким кислородным балансом, добавлением в забойку различных нейтрализаторов.
Проведения массовых взрывов, сопровождается выделением газов и пыли. Все эти факторы снижают производительность труда и устойчивость организма к разному роду заболевания.
5.2 Борьба с пылью и ядовитыми газами
Основными источниками выделения пыли на карьере являются: автосамосвалы, бурение скважин шарошечным бурением, проведение массовых взрывов и экскаваторные работы.
Основными источниками ядовитых газов являются: автосамосвалы, бульдозеры, проведение массовых взрывов.
5.3 Буровзрывные работы
Практика эксплуатации бурового оборудования показывает, что добиться существенного снижения запыленности атмосферы карьера путем совершенствования режимов и технологии бурения не представляется возможным. В связи с этим основным методом борьбы с пылью на буровых станках является применение пылеулавливающих установок с использованием методов пылеулавливания в забое скважин.
В связи с полидисперсным составом буровой мелочи очевидна необходимость создания многоступенчатых пылеулавливающих устройств, для улавливания пыли всех фракций. Все пылеулавливающие установки к бурстанкам, как правило имеют несколько ступеней очистки воздуха от пыли. По принципу улавливания последней ступени, они подразделяются на установки с гравитационными пылеуловителями, с инерционными жидкостными и пористыми уловителями.
При бурении скважин, помимо пылеулавливания применяются пылеподавления с помощью аэрорированных растворов.
Бурение скважин с помощью аэрорированных растворов является одним из наиболее эффективных и перспективных способов пылеулавливания.
Пылеобразование при массовых взрывах наиболее интенсивно. Однако, в следствии быстрого выноса основной массы пыли в момент взрыва за пределы участка к моменту допуска людей в район проведения взрыва становится незначительным. Тем не менее, при взрывных работах происходит общее загрязнение атмосферы воздуха района, а во-вторых, значительное количество пыли скапливается на бортах разреза, которая сдувается сильным ветром и является сильным источником засоренности общей атмосферы карьера.
Снижение загазованности атмосферы при проведении массовых взрывов достигается с применением ВВ с низким кислородным балансом, добавлением в забойку различных нейтрализаторов. Для уменьшения пылеобразования добавляются гидрообезпылеватели. Гидрообеспылевание, при массовых взрывах можно применять для взрыва, одновременно с ним и после. Для гидрообеспылевания до их проведения применяются в основном три способа:
предварительное орошение взрывного блока;
предварительное увлажнение взрываемого блока;
увлажнение за счет свободной фильтрации воды из канав, расположенных на поверхности.
5.4 Экскаваторные работы
При работе экскаваторов воздушная среда загрязняется не только в зоне работы экскаватора, но и в цело по карьеру. В целях уменьшения образования пыли при погрузке предусматривается методом орошения в забоях.
5.5 Проветривание разреза
Разрезы имеющие горизонтальное или пологое залегание полезного ископаемого как правило имеют небольшую глубину и проветривание горных выработок происходи за счет естественной силы ветра. На проектируемом участке преобладает северо-западное направление ветра со скоростью 3 м/ч. наибольшая сила ветра обычно наблюдается во второй половине дня. Штилевые периоды, в основном в летнее и зимнее время и достигает 75 дней в году. Строительство разрезной траншеи и развития горных работ проектируется по ряду экономических и технологических показателей с востока на запад – следовательно основное направление ветров будет иметь угол к рабочему борту 45град.
5.6 Аэрология
5.6.1 Расчет выбросов вредных веществ в атмосфере карьера
Буровые работы:
Количество пыли, выделяющиеся при работе буровых станков.
(5.1)
где d – диаметр скважины, d = 0,287 м;
V>Б> – скорость бурения, V>б> = 9 м/ч;
ρ – плотность буримых пород, ρ = 2,3 т/м3;
в – содержание пылевой фракции в буримой мелочи, в = 0,1 дол. ед.;
k>П> - доля пыли приходящая в аэрозоль, k>П> = 0,02;
η – эффективность средств пылеулавливания, η = 0,82.
Взрывные работы.
Загрязнение атмосферного воздуха при взрывных работах в карьерах происходит за счет выделения вредных веществ из пылегазового облака и выделение газов из взорванной горной массы.
Пылегазовое облако представляет собой мгновенный залповый неорганизованный выброс твердых частиц и нагретых газов включая оксид углерода и оксид азота.
Взорванная горная масса- постоянно действующая в течении периода ее экскавации источник выброса оксида углерода, количество которой следует принять равным 50% от его выброса с пылегазовым облаком.
Количество вредных веществ выбрасываемых с пылегазовым облаком при производстве одного взрыва, определяется по формуле:
Для пыли:
(5.2)
где kП - безразмерный коэффициент, учитывающий гравитационное оседание веществ в пределах карьера, kП = 0,16;
t - время рассеивания пылегазового облака, t = 900 с;
gП>УД> - удельное выделение вредных веществ при взрыве 1 т. ВВ, gП>УД >= 0,067;
А - количество взорванного ВВ, А = 35,5 тонн.
Для оксида азота:
(5.3)
где kА - безразмерный коэффициент, учитывающий гравитационное оседание веществ в пределах карьера, kА = 1;
gА>УД> - удельное выделение вредных веществ при взрыве 1 т. ВВ, gА>УД >= 0,0025.
Для оксида углерода:
(5.4)
где kУ - безразмерный коэффициент, учитывающий гравитационное оседание веществ в пределах карьера, kУ = 0,16;
gУ>УД> - удельное выделение вредных веществ при взрыве 1 т. ВВ, gУ>УД >= 0,006.
Погрузочно-разгрузочные работы:
Процессы погрузки горной массы в автосамосвалы сопровождается интенсивным выделением в атмосферу карьера пыли.
Количество пыли, выделяющихся при перемещении породы, определяется по формуле:
(5.5)
где k>0> - коэффициент, учитывающий долю полевой фракции в материале,
k>0 >= 0.06;
k>1>> >- доля полевой фракции переходящей в аэрозоль, k> 1>= 0,06;
k>2>> >- коэффициент, учитывающий влажность горной массы, k> 2>= 0,3;
k>3>- коэффициент, учитывающий высоту падения материала, k>3>= 0,4;
П>Э>> >- количество перерабатываемой экскаватором породы, П>Э> = 165 т/ч.
Транспортировка горной массы карьерными автосамосвалами:
Пылеобразование при работе карьерного автотранспорта определяется:
(5.6)
где С>1>-коэффициент учитывающий среднюю грузоподъемность автотранспорта, С>1> = 1,9;
С>2 >- коэффициент учитывающий скорость передвижения автотранспорта,
С>2 >= 2;
С>3 >- коэффициент учитывающий состояние автодорог, С>3 >= 0.5;
N - число ходок всего автотранспорта в час, N = 3;
L - средняя протяженность одной ходки, L = 1 км;
g - пылевыделение в атмосферу на один километр пробега, g = 1450 г/км;
Выбросы токсичных газов. При работе дизельной технике состав выхлопных газов в атмосферу карьера выделяется: сажа, оксид углерода, оксид азота, сернистый ангидрид, углеводороды и бенз(а)пирена.
Количество выделяемых в атмосферу загрязняющих веществ определяется:
(5.7)
где в - контрольный расход топлива на 1 час работы, кг;
V - cредняя скорость движения той или иной техники, км/ч;
g>i>> >- удельные выбросы загрязняющих веществ, г/кг.
Таблица 5.1 – Количество выделяемых в атмосферу карьера загрязняющих
веществ, г/с.
|
Загрязняющие вещества |
Удельные выбросы, г/кг |
БелАЗ– 540А |
Като- 1500GV |
Т-170 |
D 355 A |
|
Оксид углерода |
100 |
0,5 |
0,4 |
0,37 |
0,7 |
|
Углеводороды |
30 |
0,1 |
0,09 |
0,1 |
0,2 |
|
Оксид азота |
40 |
0,2 |
0,1 |
0,16 |
0,3 |
|
Сажа |
15,5 |
0,07 |
0,05 |
0,04 |
0,1 |
|
Серистый ангидрид |
20 |
0,09 |
0,07 |
0,1 |
0,2 |
|
Бенз(а)пирен |
0,003 |
3ּ10-5 |
1ּ10-5 |
3,5ּ10-5 |
8ּ10-5 |
|
Всего |
0,86 |
0,71 |
0,77 |
1,5 |
5.6.2 Определение общего
баланса вредности в атмосфере карьера
Суммарная интенсивность поступления одноименных газов или пыли в атмосферу карьера определяется:
(5.8)
где n>i> - число расположенных в проветриваемой зоне однотипных источников;
G>i> - интенсивность выделения данной вредности однотипными источниками;
К>i>-коэффициент одновременной работы источников, рассматриваемого типа.
5.6.3 Определение общего загрязнения атмосферы карьеров
Схема проветривания рециркуляционно-прямоточная следовательно формула для определения концентрации вредных веществ будет иметь вид, в зоне рециркуляции:
(5.9)
где G>ОБЩ> – суммарная интенсивность поступления вредностей в рециркуляционную зону от источника, находящихся в ней и на подветренном борту, проветриваемом по схеме, G>ОБЩ> = 236,77 г/с;
x>СР> – расстояние от границы до зоны рециркуляции в направлении
движении ветра от точки, в которой определяется концентрации
вредностей, x>СР>= 91 м (см. рис. 5.1);
L>1>> >– длина зоны рециркуляции в направлении, перпендикулярном
движению ветра, L>1 >=86 м (см. рис. 5.1);
C>0> – концентрация загрязненных веществ в воздухе, поступающих в
карьер, C>0> = 0 г/м3.
U>Р>– расчетная скорость, U>Р>> >=3 м/с;
(5.10)
где р – степень ослабления скорости ветра, зависит от степени закрытости горизонта внешними неровностями рельефа, р =0 ;
U>о >– характер скорости ветра для рассматриваемого района, U>р >=3 м/с;
за пределами:
(5.11)

Рисунок 5.1 – Рециркуляционная зона.
Вывод: Предельно допустимая концентрация для карьера воздуха будет составлять 6 мг / м3, а концентрация вредных веществ в карьере составляет 0,4 мг / м3, следовательно проветривание карьера будет естественное.
5.7 Охрана труда, промсанитарияи противопожарная профилактика
5.7.1 Анализ условий труда и
опасности проектируемых производственных объектов
Перечень основных неблагоприятных факторов производственной среды на горных предприятиях представлены таблицы 5.2
Таблица 5.2 - Характеристика факторов производственной среды на
проектируемых работах
|
Вид проектируемых работ |
Применяемое оборудование |
Основные факторы производственной среды их краткая характеристика |
|
Буровые работы |
СБШ – 250МН |
Повышенная пыль, шум, вибрация. |
|
Взрывные работы |
- |
Пыль, газы. |
|
Выемочно– погрузочные работы |
Като – 1500GV |
Повышенная пыль, шум, вибрация. |
|
Транспортирования |
БелАЗ – 540А |
Повышенная пыль, шум, газы. |
|
Электроснабжение |
Трансформатор |
Ионизирующее и электромагнитное излучение. |
Оценка условий труда работников по тяжести трудового процесса производится для основных работников, занятых на проектируемых работах.
В основу анализа положена масса поднимаемого груза, переносимого в ручную, физическая динамическая нагрузка, стереотипные рабочие движения, рабочая поза, наклоны корпуса, перемещения в пространстве и другие показатели физического труда. Здесь же дана оценка (количественная оценка) исходя из общепринятой классификацией условия труда по тяжести (таблица 5.3).
Таблица 5.3 - Оценка условий труда по тяжести трудового процесса
-
Профессии и должности работников
Показатели тяжести труда
Класс
тяжести
труда
Наименование
Допустимые значения
1
2
3
4
Начальник участка, механик карьера, горный мастер, геолог, маркшейдер.
1. Рабочая поза, %/см:
- сидя
- стоя
2. Перемещения в пространстве:
- по горизонтали
- по вертикали
не нормируется
до 60%
до 8 км
до 4 км
2
Машинист экскаватора, бурстанка,
промприбора, бульдозера, водитель БелАЗа.
1. Стереотипное рабочее движения, количество в смену:
- при работе с преимущественным участием рук и плечевого пояса.
2. Рабочая поза,%/см
- сидя
- фиксированная
до 20000
не нормируется
до 25%
3.1
Помощник машиниста экскаватора, бурстанка, промприбора,
Доводчик.
1. Масса поднимаемого и переносимого груза вручную, кг:
- подъем и перемещения тяжести при чередовании с другой работай.
- подъем и перемещения тяжести постоянно в течении смены
2. Наклоны корпуса, колич./ см:
- наклоны корпуса вынужденное
более 30 град.
до 30
до 15
51 - 100
3.1
Продолжение таблицы 5.3
-
1
2
3
4
Слесарь, дежурный слесарь, взрывник.
1. Масса поднимаемого и переносимого груза вручную, кг:
- подъем и перемещения тяжести при чередовании с другой работай.
- подъем и перемещения тяжести постоянно в течении смены
2. Наклоны корпуса, колич./ см:
- наклоны корпуса вынужденное
более 30 град.
до 30
до 15
51 - 100
3.2
Условия труда на производстве признаются вредными и опасными, если хотя бы один из анализируемых показателей тяжести труда имеет фактическое значение, превышающее допустимое.
Оценка условий труда по напряженности трудового процесса производится для работников, работа которых подвергалась анализу ранее. Условия труда на анализируемом рабочем месте признаются вредными и опасными, если общее число показателей напряженности труда класса 3.1 при анализе составит 6 и более единиц. Результаты оценки условий труда по напряженности приведены в таблице 5.4.
Таблица 5.4 - Оценка условий труда по напряженности трудового
процесса
|
Профессии и должности аботников |
Показатели напряженности труда |
Класс тяжести труда |
|
|
Наименование |
Допустимые значения |
||
|
1 |
2 |
3 |
4 |
|
Начальник участка, механик карьера, горный мастер, геолог, марк-дер. |
1. Содержание работы 2. Восприятия сигналов ( информации) и их охрана 3. Степень сложности задания. 4. Степень ответственности. Значительность ошибок. 5. Степень риска для собственной жизни. 6. Степень риска за безопасность других лиц. 7. Фактическая продолжительность рабочего дня, час. 8. Сменность работы. |
Решения сложных задач по известным алгоритмам, работа по серии инструкции. Восприятия сигналов с последующим со постановления фактических значений параметров с их номинальными значениями. Заключительная оценка. Обработка проверка и контроль за выполнением задания. Несет ответственность за функциональное качество основной работы. Влечет за собой исправления за счет дополнительных усилий всего коллектива. Исключена. Вероятно. 10 - 12 Двухсменная (работа в ночную смену). |
3.2 |
Продолжение таблицы 5.4
|
1 |
2 |
3 |
4 |
|
Машинист экскаватора, бурстанка, промприбора, бульдозера, водитель БелАЗа. |
1 Содержание работы 2 Восприятия сигналов ( информации) и их охрана 3 Степень сложности задания. 4 Характер выполнения работы. 5 Длительность сосредоточенного наблюдения. 6 Плотность сигналов(световых, звуковых) и сообщений в среднем за час работы. 7 Число объектов одновременного наблюдения. 8 Степень ответственности. Значительность ошибки. 9 Фактическая продолжительность рабочего дня, час. 10 Сменность работы. |
Решения сложных задач по известным алгоритмам, работа по серии инструкции. Восприятия сигналов с последующим корректировкой действий. Обработка, выполнения задания и его проверка. Работа по установленному графику с возможной коррекцией по ходу деятельности. 26 – 50%. 76 -175. 6 - 10 Несет ответственность за функциональное качество вспомогательных работ. Влечет за собой дополнительные усилия со стороны вышестоящего руководства. 10 - 12 Двухсменная (работа в ночную смену). |
2 |
Окончание таблицы 5.4
|
1 |
2 |
3 |
4 |
|
Помощник машиниста экскаватора, бурстанка, промприбора, доводчик, взрывник, слесарь, дежурный слесарь |
1. Содержание работы 2. Восприятия сигналов ( информации) и их охрана 3. Степень риска для собственной жизни. 4. Степень риска за безопасность других лиц. 5. Число элементов(приемов) необходимо для реализации простого задания. 6. Фактическая продолжительность рабочего дня, час. 10. Сменность работы |
Решения сложных задач по известным алгоритмам, работа по серии инструкции. Восприятия сигналов с последующим корректировкой действий. Вероятно. Вероятно. 9 - 6 10 - 12 Двухсменная (работа в ночную смену). |
2 |
Основные опасные производственные факторы при работе горного оборудования. Объектом внимания здесь выступает техника, применяемая на открытых горных работах: экскаваторы, буровые станки, автосамосвалы, трансформаторные подстанции.
Таблица 5.5 - Основные опасные производственные факторы.
|
Вид работ |
Характерные нарушения работников, Определяющие фактор. |
Основные опасные производственные факторы. |
|
Буровые работы |
Нахождения вблизи бурстанка при его работе. |
Движущиеся и вращающиеся механизмы. |
|
Взрывные работы |
Пребывания в опасной зоне после предупредительного особенно боевого сигнала |
Ударная волна, куски породы. |
|
Выемочно – погрузочные работы |
Пребывания в близи экскаватора при его работе.
|
Движущийся ковш экскаватора, движущиеся и вращающиеся механизмы. |
|
Транспортирования |
Нарушения скорости режима, правила движения, Нарушения звуковых сигналов машиниста экскаватора. |
Возможный съезд под откос, столкновение с другой техникой. Движущийся ковш, куски породы подающиеся из ковша. |
|
Электроснабжение |
Пребывания в близи конструкций, находящиеся под высоким напряжением, в близи токоведущих частей. |
Электрический ток опасной для жизни. |
Перечень и краткая характеристика основных возможных чрезвычайных ситуаций на местах проведения горных работ:
-нарушение работы водоотливных установок;
-потери устойчивости бортов карьера;
-аварии на экскаваторах и автосамосвалах;
-пожары на складах ВМ и других производственных объектах;
-короткое замыкание на трансформаторных подстанциях;
-загрязнение атмосферы карьеров.
Все проектируемые объекты на месторождении Вача является в той или иной степени опасности.
5.7.2 Основные мероприятия по обеспечению безопасных и здоровых условий труда на проектируемых работах
Все работы, предусмотренные проектом выполняются на основе норм “Единых правил безопасности при разработке месторождений полезных ископаемых открытым способом.”
На карьере должны функционировать разработанные и утвержденные директором “Положения о производственном контроле за соблюдением требований промышленной безопасности, управлением охраной труда, а также нарядная система”.
Лица, поступающие на предприятие должны пройти в течении трех дней технику безопасности и правила оказания первой медицинской помощи.
Экзамены сдают по утвержденной программе комиссии под председательством главного инженера предприятия или его заместителя.
Все рабочие и ИТР, поступающие на карьер, или переводимые с одной работы на другую, должны:
-пройти предварительное медицинское обследование;
-пройти предварительное обучение по технике безопасности;
-иметь соответствующую квалификацию;
-быть обученным безопасным приемами работы на обслуживаемом оборудовании и методам оказания первой медицинской помощи;
-ознакомиться под роспись с руководством по эксплуатации оборудования, местными инструкциями, техническими условиями и технологическими картами по безопасному ведению отдельных процессов, утвержденными техническим руководителем ООО «Вачинское».
Все рабочие в период работы обязаны:
-проходить ежегодную периодическую проверку знании по ТБ;
-проходить внеочередные инструктажи по ТБ при изменении технологии производственного процесса, введении новых инструкций и анализе несчастных случаев, происшедших на аналогичных предприятиях;
-уметь оказывать первую медицинскую помощь;
-выполнять указания лиц технического надзора ,требования предупредительных надписей, знаков, сигналов;
-при обнаружении опасности, угрожающей здоровью и жизни персонала принимать меры для предотвращения несчастного случая и немедленно сообщать об опасности лицу технического надзора;
-в части обеспечения безопасных условий труда быть требовательным к себе и к рабочим смены.
Контроль и надзор за охраной труда осуществляют:
непосредственные исполнители работ;
руководители работ;
работники администрации предприятия;
работники общественной организации.
Надзор за охраной труда осуществляют: Госгортехнадзор; Госэнергонадзор; Госсаннадзор; Госпожнадзор; Гострудинспекция.
Первый руководитель предприятия обязан обеспечить безопасные и здоровые условия труда на карьере.
Каждое рабочее место в течении смены должно осматриваться мастером, а в течении суток начальником участка или его заместителем, которые обязаны не допускать нарушения правил безопасности.
Предприятия обязаны обеспечивать специальной одеждой, средства защиты, доставку рабочих к месту работы и обратно.
К основной документации по охране труда относится:
утвержденный проект разработки месторождения полезного ископаемого;
утвержденная маркшейдерская и геологическая документация;
утвержденный план развития горных работ;
лицензия на право ведения горных работ.
На карьере должны быть:
схема электроснабжения нанесенного на план горных работ;
паспорта на основные виды работ в карьере;
журнала приема – сдачи смены;
инструкция по техники безопасности по видам выполняемых работ;
план ликвидаций аварий;
карты аттестации рабочих мест.
Периодичность медицинских осмотров устанавливается исходя из наличия на рабочих местах вредных, опасных веществ и производственных факторов и характера проводимых работ. За основу принимается наименьшая периодичность осмотра.
Таблица 5.6 - Сведения о медицинских осмотрах работников
|
Профессии |
Вредные, опасные вещества и производственные факторы. Характер проводимых работ |
Периодичность осмотра |
Медицинские противопоказания |
|
|
В лечебно-проф.учр. |
В центре профпа-тол. |
|||
|
1 |
2 |
3 |
4 |
5 |
|
Начальник участка, механик карьера, горный мастер, геолог, маркшейдер. |
Повышенная температура воздуха: до 4 град. выше верхней границы допустимой. |
. 1 раз в конце первого года, затем 1 раз в 2 года |
1 раз в 5 лет. |
1 Хроническое рецидивирующие заболевания кожи. 2 Выражения вегетативного сосудистая дистония. |
|
Машинист экскаватора, бурстанка, промприбора, бульдозера, водитель БелАЗа. |
Локальная вибрация при нормативных уровнях и превышения ПДУ |
1 раз в год |
1 раз в 3 года |
1 Облитерирующие заболевания артерий, периферический ангиоспазм. 2 Хронические заболевания нервной системы. 3 Высокая и осложненная близорукость. |
|
Производственный шум при превышении ПДУ 80 дБА: - от 81 до 99 дБА - от 100 дБа и выше |
1 раз в 2 года 1раз в год |
1 раз в 5лет 1раз в 3 года |
1 Стойкие понижения слуха, любые этилогии. 2 Отосклероз. 3 Нарушении вестибулярного аппарата. |
Продолжении таблицы 5.6
|
1 |
2 |
3 |
4 |
5 |
|
Работы связанные с региональными мышечными напряжениями преимущественно мышц рук и плечевого пояса. |
1 раз в год |
1раз в 3 года |
1 Хроническое заболевания нервной системы. 2 Облитерирующие заболевания артерий, периферический ангиоспазм. 3 Выражения варикозное расширения вен нижних конечностей, геморрой. 4 Болезни сердца. |
|
|
Помощник машиниста экскаватора, бурстанка, промприбора, доводчик, взрывник, слесарь, дежурный слесарь |
Физические перегрузки: - подъем и перемещения тяжести (постоянно более двух раз в час) Работы связанные с вынужденные наклоны корпуса (30 град. по вертикали). |
1 раз в год |
1 раз в 3 года |
1 Хроническое заболевания нервной системы. 2 Облитерирующие заболевания артерий, периферический ангиоспазм. 3 Выражения варикозное расширения вен нижних конечностей, геморрой. 4 Болезни сердца. |
Обеспечения работающих средствами индивидуальной защиты.
Таблица 5.7 - Обеспеченность работающих средствами индивидуальной
защиты
|
Профессии и должности работников |
Наименования средств индивидуальной защиты. |
Нормы выдачи на год |
|
Начальник участка, механик карьера, горный мастер, геолог, маркшейдер. |
Костюм хлопчатобумажный Сапоги резиновые Рукавицы комбинированные Портянки суконные Куртка на утепленной прокладке Брюки на утепленной прокладке Валенки |
1 1 пара 3 пары 2 пары по поясам по поясам по поясам |
|
Машинист экскаватора, бурстанка, промприбора, бульдозера, водитель БелАЗа |
Костюм хлопчатобумажный Сапоги резиновые Рукавицы комбинированные Портянки суконные Куртка на утепленной прокладке Брюки на утепленной прокладке Валенки |
1 1 пара 4 пары 2 пары по поясам по поясам по поясам |
|
Помощник машиниста экскаватора, бурстанка, промприбора, |
Костюм хлопчатобумажный Сапоги резиновые Рукавицы комбинированные Портянки суконные Куртка на утепленной прокладке Брюки на утепленной прокладке Валенки |
1 1 пара 4 пары 2 пары по поясам по поясам по поясам |
|
Слесарь, дежурный слесарь, взрывники. |
Костюм брезентовый Сапоги резиновые Рукавицы брезентовые Портянки суконные Куртка на утепленной прокладке Брюки на утепленной прокладке Валенки |
1 1 пара 6 пары 2 пары по поясам по поясам по поясам |
Нормализация условий труда на объектах работ заключается в установлении нормальных, допустимых уровней и мер по защите работающих от неблагоприятного воздействия пыли, газа, шума, вибрации и других факторов производственной среды.
5.8 Охрана труда и промышленная безопасность
Общие требования по охране труда и техники безопасности.
Все рабочие и ИТР, поступающие на карьер, или переводимые с одной работы на другую, должны:
-пройти предварительное медицинское обследование;
-пройти предварительное обучение по технике безопасности;
-иметь соответствующую квалификацию;
-быть обученным безопасным приемами работы на обслуживаемом оборудовании и методам оказания первой медицинской помощи;
-ознакомиться под роспись с руководством по эксплуатации оборудования, местными инструкциями, техническими условиями и технологическими картами по безопасному ведению отдельных процессов, утвержденными техническим руководителем ООО «Вачинское».
Все рабочие в период работы обязаны:
-проходить ежегодную периодическую проверку знании по ТБ;
-проходить внеочередные инструктажи по ТБ при изменении технологии производственного процесса, введении новых инструкций и анализе несчастных случаев, происшедших на аналогичных предприятиях;
-уметь оказывать первую медицинскую помощь;
-выполнять указания лиц технического надзора, требования предупредительных надписей, знаков, сигналов;
-при обнаружении опасности, угрожающей здоровью и жизни персонала принимать меры для предотвращения несчастного случая и немедленно сообщать об опасности лицу технического надзора;
-в части обеспечения безопасных условий труда быть требовательным к себе и к рабочим смены.
5.8.1 Требования по ТБ при эксплуатации оборудования
1 Горные работы.
Горные и геологоразведочные выработки в местах, представляющих опасность падения в них людей, а также полости отработанных подземным способом запасов, провалы и воронки, должны быть ограждены предупредительными знаками, освещенными в темное время суток.
В нерабочее время землеройные, погрузочные и горно-транспортные машины должны быть отведены от забоя в безопасное место, рабочий орган землеройных машин опущен на землю, двигатель выключен, кабина заперта. Землеройные, погрузочные и горно-транспортные машины должны быть в исправном состоянии: снабжены действующими сигнальными устройствами, тормозами, ограждениями доступных движущихся частей, противопожарными средствами, иметь освещение, комплект исправного инструмента и необходимую контрольно-измерительную аппаратуру. Исправность машин должна проверяться ежесменно машинистом, еженедельно - механиком карьера, с соответствующей регистрацией в бортовых журналах.
Присутствие посторонних лиц в кабинах землеройных горнотранспортных машин запрещается.
Для осмотра ножа бульдозера, ковша экскаватора cнизу он должен быть опущен на надежные подкладки, а двигатель бульдозера (экскаватора) выключен. Запрещается находиться под поднятым ножом, (ковшом) без их расположения на надежных подкладках.
Запрещается работа на бульдозере без блокировки, исключающей запуск двигателя при включенной коробке передач и при отсутствии устройства для запуска двигателя из кабины.
Земляное полотно карьерных дорог сооружается из прочных грунтов. Не допускается применение для насыпей пород , содержащих глины, дерн и растительные остатки.
При затяжных уклонах дорог (более 0,06) должны устраиваться горизонтальные площадки с уклоном 0,02 длиной не менее 50м и не более, чем через каждые 600м длины затяжного уклона.
Скорость движения автомобилей по карьерным дорогам устанавливается руководством ООО «Вачинское» с учетом местных условий и не должна превышать 20 км/час.
На карьерных автомобильных дорогах движение машин осуществляется без обгона.
При погрузке автомобилей экскаватором должны выполняться следующие правила:
а) ожидающий погрузки автомобиль
должен находиться за пределами
радиуса
действия ковша и становиться код погрузку
только после
разрешающего сигнала
машиниста экскаватора;
б) находящийся под погрузкой автомобиль должен быть заторможен;
в) погрузка в кузов автомобиля должна производиться только сбоку или сзади; перенос ковша над кабиной автомобиля запрещается;
г) нагруженный автомобиль должен следовать к пункту разгрузки только после разрешающего сигнала машиниста экскаватора;
д) находящийся под погрузкой автомобиль должен быть в пределах видимости машиниста;
кабина карьерного автосамосвала должна быть перекрыта специальным защитным козырьком, обеспечивающим безопасность водителя при погрузке. При отсутствии защитного козырька водитель при погрузке автомобиля обязан выйти из кабины и находиться за пределами радиуса действия ковша экскаватора.
При работе карьерного автосамосвала запрещается:
а) движение автомобиля с поднятым кузовом;
б) движение задним ходом к месту погрузки на расстояние более 30м (за исключением случаев проведения траншей);
в) переезжать через кабели, проложенные по почве без специальных предохранительных укрытий;
г) перевозить посторонних людей в кабине, разрешается проезд в кабинах технологических автомобилей лицам технического надзора и отдельным рабочим при наличии у них письменного разрешения руководства карьера «Вача»;
д) оставлять автомобиль на уклонах и подъемах, в случае остановки автомобиля на подъеме или уклоне вследствие технической неисправности водитель должен принять меры, исключающие самопроизвольное движение автомобиля: выключить двигатель,
затормозить машину, подложить под колеса упоры (башмаки)
е) производить запуск автомобиля, используя движение автомобиля под уклон.
5.8.2 Обогащение
Подача материала кондиционного пласта на промывочный стол промприбора бульдозером осуществляется по разрешающему сигналу оператора, установленному перед бункером (в дневное время — флажковый,
в ночное - световой).
Запрещается эксплуатация гидрогрохота без постоянного надзора за режимом их загрузки-разгрузки, периодической очистки их рабочих органов от дресвы и металлических предметов.
5.8.3 Требования по ТБ при
эксплуатации электротехнических установок
При обслуживании электроустановок потребителей запрещается: - ремонтировать злектрооборудованне под напряжением;
- эксплуатировать без заземления;
-осуществлять запуск в работу со снятыми или поврежденными устройствами подключений силовых кабелей, соединительных муфт, защитной брони силовых кабелей;
-осуществлять подвешивание, перенос силовых электрокабелей, находящихся под напряжением без диэлектрических средств защиты от поражения электрическим током;
-использовать электроинструмент и электрооборудование со снятыми или поврежденными изолирующими ручками, держателями и пусковыми устройствами.
5.8.4 Заземление
Для защиты персонала от
поражения электрическим током
оборудуется защитное заземление и
устанавливается реле утечки тока.
Заземлению подлежат металлические части электроустановок, нормально не находящиеся под напряжением, но которые в случае повреждения изоляции могут оказаться под ним.
Сеть заземления оборудуется путем непрерывного соединения между собой заземляющих проводников и заземляющих жил гибких кабелей. В качестве центрального заземлителя используется заземляющий контур понизительной электроподстанции 35 /6 кВ.
Дополнительные заземлители подключаются к магистрали заземления.
Сеть 0,4 кВ должна быть выполнена с изолированной нейтралью и оборудована защитой от однофазных замыкании на землю с установкой реле.
Корпуса электрооборудования, которые могут оказаться под напряжением, должны надежно заземляться болтовым или сварочным соединением с заземляющим устройством, сопротивление которого не должно превышать 4 Ом.
В специально отведенных местах оборудуются места хранения средств индивидуальной защиты от поражения электрическим током (диэлектрические перчатки, боты, коврики), своевременно прошедшие периодическую проверку.
Перед использованием защитных средств их тщательно осматривают и очищают. Необходимо проверить, нет ли на них внешних повреждений, а также по клейму — соответствуют ли они напряжению данной установки, и не истек ли срок их периодического испытания. При обнаружении неисправных защитных средств или с просроченным клеймом проверки их следует немедленно изъять из применения.
Номенклатуру защитных средств , места их хранения и расположения устанавливает главный инженер ООО «Вачинское».
Освещение
Промплощадка, территория района ведения горных работ, рабочие места операторов обогагительных установок, насосные станции, отвалы торфов, водоудерживающие дамбы и подходы к ним в темное время суток должны быть освещены в соответствии с нормами (ЕПБ стр. 86, 87. табл. 2).
Светильники должны быть расположены таким образом, чтобы можно было безопасно их обслуживать без снятия напряжения с электрооборудования.
Для питания светильников общего освещения должно применяться напряжение не выше 220 В. Для питания светильников местного стационарного освещения с лампами накаливания следует применять напряжение не выше 220 В , и в помещениях с повышенной опасностью не выше 36 В. Промплощадка базы карьера раздельной добычи «Вача» и территория горных работ освещаются прожекторами, установленными на углах их периметров.
Питание сети освещения выполняется через разделительный трансформатор 380 / 220 В.
Сигнализация
Пульты управления землеройной, погрузочной и горно-транспортной техники, промывочной установки оборудуются звуковой и световой сигнализацией. Таблица сигналов располагается на работающем механизме или вблизи от него. С назначением сигналов ознакамливаются весь персонал карьера «Вача»
Сигнализация оборудуется: на загрузке массы исходной на промывочный стол ПГШ – II - 50 - флажковая и световая, на землеройных, погрузочных и горнотранспортных машинах - звуковая.
Карьер должен оборудоваться телефонной связью (радиосвязью) между участками производства горных работ, диспетчерской службой карьера и промышленно-бытовой базой ООО «Вачинское» (пос.Кропоткин). На экскаваторах, тяжелых бульдозерах и карьерном транспорте устанавливаются мобильные радиостанции.
Ремонтные работы
При эксплуатации землеройного, погрузочного, транспортного и обогатительного оборудования необходимо проводить регулярные профилактические осмотры и ремонт оборудования в сроки, предусмотренные графиками, утвержденными техническим руководителем ООО «Вачинское».
Монтажные и ремонтные работы на основном технологическом оборудовании выполняются по наряд допускам, технологическим картам, руководствам и проектам организации работ (ПОР). Монтаж и ремонт выполняются под руководством ответственного лица за их ведение. Рабочие, занятые производством монтажа и ремонта, ознакамливаются под роспись с указанными инструкциями, обеспечиваются соответствующей спецодеждой и средствами индивидуальной защиты
Профилактические осмотры проводятся персоналом два раза в сутки по 1-му часу на стыке смен, ремонтные работы по графикам - службой ППР участка
Все работы по перемещению грузов выполняются по указанию и с разрешения лиц. ответственных за безопасное проведение работ и перемещение грузов.
При выполнении работ с лестниц на высоте более 1,5 м рабочие должны пользоваться предохранительными поясами со страховочными канатами.
Перечень работ повышенной опасности, выполняемых по наряд допускам.
1 Все виды строительных и ремонтных работ на водоудерживающих дамбах;
2 Аварийные работы на дамбах, каналах, илоотстойниках. связанные с их возможным нарушением в период паводков;
3 Взрывные работы;
4 Все
виды сварочных, ремонтных и монтажных
работ на гидрогрохоте ПГШ – II - 50,
концентраторе , на стреле, крыше корпуса
экскаватора, бурового станка. оборудовании
склада ГСМ;
5 Ремонтные работы в электроустановках;
6 Монтажные и такелажные работы: при монтаже-демонтаже экскаваторов Като -1500, а/самосвалов и буровой станков;
7 Работа грузоподъемных механизмов на пункте ППР и в непосредственной близости ЛЭП.
Производственная санитария
Общими и специфическими требованиями в части производственной санитарии при отработке месторождения р. Вача:
1 Все рабочие и ИТР, помимо предварительного медицинского освидетельствования перед направлением на работу, подлежат обязательному периодическому медицинскому осмотру в сроки, установленные министерством здравоохранения РФ;
2 Все рабочие, ИТР и служащие должны пройти инструктаж по промышленной санитарии, личной гигиене и по оказанию неотложной помощи пострадавшим на месте несчастных случаев;
3 Рабочие и ИТР с выявленными хроническими заболеваниями органов дыхания, а также с подозрением на вибрационное и другие профессиональные заболевания должны быть взяты на учет и систематическое диспансерное наблюдение;
4 Лица, у которых при медицинских осмотрах обнаружено заболевание, препятствующее использованию их на выполняемой работе, должны быть переведены на другую работу в соответствии с заключением врачебной комиссии;
5 В ООО «Вачинское» ежегодно разрабатываются мероприятия по систематическому улучшению условий труда на рабочих местах. Сроки приведения всех рабочих мест в соответствии с действующими нормами устанавливаются, но согласованию с местными органами санитарного надзора;
6 Административно-бытовые помещения располагаются в базовом поселке Кропоткин;
7 Пункт приема пищи оборудуется на месте производства работ в соответствии с требованиями Госсанинспекции;
8 В базовом поселке Кропоткин оборудуется баня с душевым отделением и отделением для сушки, хранения спецодежды;
9 Водоснабжение для хозяйственно-бытовых нужд предусматривается из речки Вача (выше ведения горных работ);
10 Питьевое водоснабжение предусматривается из речки Вача с водозабором, расположенным выше ведения горных работ;
11 На рабочих местах предусматривается наличие аптечек первой медицинской помощи;
12 Непосредственно на месте производства горных работ предусматривается устройство передвижного помещения для приема пищи и обогрева. Там же располагаются бачки с питьевой водой.
Противопожарная защита
Комплекс мероприятий по обеспечению противопожарной защиты объектов и оборудования включает в себя следующие требования
1 Ежегодно руководителем предприятия разрабатываются и согласовываются с местными органами Госпожнадзора мероприятия по обеспечению противопожарного состояния промышленных и бытовых объектов, которые предусматривают:
1.1 Строительство и эксплуатацию объектов в соответствии противопожарных Норм и Правил;
1.2 Назначение ответственных за противопожарное состояние объектов.
1.3 Расчет потребности, обеспечение наличия и указания о местах хранения средств пожаротушения;
1.4 Заключение договора с местной пожарной командой на профилактическое обслуживание, направленное на предупреждение возгораний;
1.5 Периодичность противопожарного обследования объектов
1.6 0беспечение передвижных машин, и землеройных агрегатов углекислотными огнетушителями;
1.7 Определение средств и методов тушения пожаров;
1.8 Определение и оборудование мест проведения газосварочных работ, хранения баллонов с газом;
1.9Необходимость в наличии мотопомпы, противопожарного водопровода, резервуаров с водой и т.д.;
2 Горюче-смазочные и обтирочные материалы на рабочих местах хранятся в закрытых металлических сосудах. Хранение легковоспламеняющихся веществ на рабочих местах – запрещается;
З Все землеройные, погрузочные, транспортные машины, производственные и подсобные помещения, обеспечиваются первичными средствами тушения и пожарным инвентарем, количество этих средств и их содержание должны соответствовать ГОСТ 12.4.009-83
4 Ответственность за наличие и, контроль за сохранностью противопожарных средств возлагается на начальника карьера « Вача». 5.Обязательным является оборудование трех противопожарных щитов (один на пункте ППР, второй у помещения выдачи наряд заданий на базе, третий - на складе ГСМ) со следующей комплектацией:
|
- ящик с песком емкостью 0,5 м.3 |
1 шт. |
|
- кошма или брезент (2 х 2 м) |
1 шт. |
|
- бочки с водой емкостью 0,2 м3 |
1шт. |
|
- огнетушитель пенный 0X 11-10 |
2шт. |
|
- огнетушитель углекислотный |
1 шт. |
|
- лопаты |
2 шт. |
|
- багры |
2 шт. |
|
- ломы |
2 шт. |
|
- ведра |
2 шт. |
Каждая единица буровой, бульдозерной, погрузочной и доставочной техники оборудуется одним углекислотным огнетушителем ОУ-5; ОУ-8.
6 Экономика и организация производства
6.1 Полная стоимость добычи и обогащения песков
Таблица 6.1 - Полная стоимость добычи и обогащения песков.
Статьи затрат |
Стоимость затрат, тыс.руб. |
|
Вспомогательные материалы |
17934,3 |
|
Заработанная плата |
5461,2 |
|
Амортизация |
4985,8 |
|
Электроэнергия |
2637,1 |
|
БВР |
24207 |
|
Текущий ремонт |
2798 |
|
Охрана труда |
580 |
|
Цеховые расходы |
5688 |
|
Общекарьерные расходы |
3214,6 |
|
Прочие производственные расходы |
13501,2 |
|
Производственная себестоимость |
81007,2 |
|
Внепроизводственные расходы |
2430,2 |
|
Полная себестоимость |
83437,4 |
Себестоимость одного грамма золота:
(6.1)
где С - полная себестоимость, С = 83437400 рублей;
VГ>З> – количество золота добываемого в год, VГ>З> = 402268 граммов.
6.2 Технико–экономические показатели
Производительность рабочего на добычу в сутки:
(6.2)
где V>СУТ> – объем добычи в сутки, V>СУТ> = 1404 м3;
П>ЯВ> – явочное число рабочих, П>ЯВ> = 50 человек;
Трудоемкость работ:
(6.3)
Расчет фондоотдачи по товарной продукции:
(6.4)
где Ф>ОСН> – годовая стоимость основных фондов, Ф>ОСН> = 78353 тыс.рублей;
V>Т> – годовой объем товарной продукции, V>Т> = 161019,6 тыс.рублей;
(6.5)
где ц – цена за 1 грамм золота, ц = 310 рублей.
Расчет фондоемкости:
Фондоемкость есть обратная величина фондоотдачи.
Расчет прибыли:
(6.6)
Общая рентабельность:
(6.7)
где Ф>ОБ> – нормируемые оборотные средства, Ф>ОБ> = 15670480 рублей.
Расчетная прибыль:
(6.8)
где Н – налог на прибыль, 24 % от прибыли, Н =9944065 рублей;
П>РЕН> – фиксированные платежи, 10 % от прибыли, П>РЕН> =4143360рублей;
П>КР> – оплата за кредит, 15 % от прибыли, П>КР> =6215041 рублей.
Расчетная рентабельность:
(6.9)
Капитальные затраты на 1 г годовой добычи золота определяем как:
(6.10)
где ΣК – сметная стоимость строительства карьера, ΣК = 1657684273 рублей (см. табл. 3.5);
Срок окупаемости капитальных вложений:
(6.11)
Заключение
В данном дипломном проекте «Вскрытия и разработки россыпного месторождения рч. Вача» приведены и разработаны технические и технологические решение по отработки месторождения.
Проведен сравнительный анализ добычной техники, фронтального погрузчика К 703 и экскаватора КАТО 1500 GV. Из данных расчет сделан вывод, что при применение экскаватора КАТО 1500 GV на погрузке золотосодержащих песков в автосамосвалы БелАЗ 540 А экономическая эффективность (при погрузке песков) увеличивается в 2,5 раза нежели при использование на тех же самых работах погрузчика К 703 (который в данное время применяется на предприятии).
Так же в проекте предусмотрено ведение буровзрывных работ. Что так же не применялось на предприятии. При использование БВР удалось сократить численность рабочего персонала и в тоже время увеличить производительность труда.
В разделе 5 «Охрана труда», рассмотрены меры по повышению безопасности труда рабочих и улучшению условий труда.
Общий срок эксплуатации месторождения составил 5 лет, при этом за счет использования на вскрышных работах экскаватора драглайна ЭШ 15/90 А и применение БВР срок окупаемости карьера составил 2,7 года.
Библиография
1 Проект разработки россыпного месторождения р. Вача. Новосибирский филиал института ВНИИПИГОРЦВЕТМЕТ (Ленксикий ОКП), -564 с.;
2 Единые нормы выработки (времени) на разработку россыпных месторождений открытым способом. – Магадан: «Северовосток золото», 1981. – 298 с.;
3 Методика определения параметров и формы развала НИИОГР. – выполнил Г. А. Дудник. Иркутск 2000.;
4 Единые правила безопасности при взрывных работах. –М.: НПО ОБТ 1992. 238с.;
5 Единые правила безопасности при разработки месторождения полезных ископаемых открытым способом. –М.: НПО ОБТ 1992. 110 с.;
6 В. И. Емельянов Открытая разработка россыпных месторождения. –М.: Недра, 1985. -175 с.;
7 В. Г. Лешков Разработка россыпных месторождений. –М.: Недра, 1985. ---568 с.;
8 Методические указания и программа выполнения дипломного проекта студентами специальности 090500 – «Открытые горные работы» специализация «Разработка россыпных месторождений». Составил В. М. Мореходов. –Иркутск: Изд-во ИрГТУ. -2005.-21 с.
9 Горная графическая документация. ГОСТ 2.850-75. –М.: Издательство стандартов, 1983. -200 с.;
10 Б. Н. Кутузов Взрывные работы. –М.: Недра, 1988. -383 с.;
11 Положение о планово-предупредительных ремонтах оборудования и транспортных средств на предприятиях цветной металлургии СССР. –М.: Недра, 1984.