Розробка проекту технологічної системи інтенсифікації гірничих робіт при відпрацюванні запасів руди на горизонті 330м шахти “Експлуатаційна” ЗАТ “ Запорізький
М
іністерство
освіти і науки України
Національний гірничий університет
Гірничий факультет
Кафедра підземної розробки родовищ
(повна назва)
ПОЯСНЮВАЛЬНА ЗАПИСКА
дипломної роботи
спеціаліста
(освітньо – кваліфікаційний рівень)
специальності 7.090301.02 Підземна розробка
родовищ корисних копалин
на тему “Розробка проекту технологічної системи інтенсифікації гірничих робіт при відпрацюванні запасів руди на горизонті 330м шахти “Експлуатаційна” ЗАТ “ Запорізький
залізорудний комбінат” ”
Виконавець: Ю.Г.Борисенко
(підпис)
|
Керівники |
Прізвище, ініціали |
Оцінка |
Підпис |
|
проекту |
Кузьменко О.М. |
||
|
розділів: |
|||
|
1.Технологічний |
Барташевський |
||
|
Вентиляція |
Литвиненко А.А. |
||
|
2.Охорона праці |
Литвиненко А.А. |
||
|
3.Економічний |
Безпалько В.М. |
||
|
Рецензент |
|||
|
Нормоконтролер |
Дніпропетровськ
2004г.
З
АТВЕРДЖЕНО:
завідувач кафедри
підземної розробки родовищ
(повна назва)
В. І. Бондаренко
(підпис)
ЗАВДАННЯ
на дипломну роботу
спеціаліста
(освітньо – кваліфікаційний рівень)
студенту групи ГІП-98 Борисенко Юрію Григоровичу
Тема дипломної роботи "Розробити проект технологічної системи інтенсифікації гірничих робіт при відпроцюванні запасів руди на горизонті 330м шахти "“Експлуатаційна” ЗАТ “ ЗЗРК” ”
затвержена наказом ректора НГУ від __________ ________
|
Розділ |
Зміст завдання |
Термін виконання |
|
Технологічний |
Охарактеризувати технологію ведення гірничих робіт на шахті “Експлуатаційна”. Розробити технологію та розрахувати параметри очисної виїмки на гор.330м. |
24.04.03- 5.05.03 |
|
Вентиляція |
Розрахувати параметри вентиляції шахти |
6.05.03- 16.05.03. |
|
Охорона праці |
Розробити заходи з охорони праці, які забезпечать безпечну та нешкідливу роботу в умовах впровадженої технології |
17.05.03- 26.05.03. |
|
Економічний |
Розрахувати показники прибутку чи збитковості прийнятої технології |
27.05.03- 8.06.03. |
Завдання видав О.М.Кузьменко
(підпис)
Завдання прийняв до виконання Ю.Г.Борисенко
(підпис)
Дата видачі завдання:______________
Термін подання дипломного проекту до ДЕК ______________
|
3 Реферат Пояснительная записка: 54., 6 рис., 14табл., 3 приложения, 13 источников. Объект разработки: система интенсификации горных работ при отработке запасов руды на гор. 330м в условиях шахты «Эксплуатационная» ЗАО «ЗЖРК». Цель дипломного проекта: поддержание мощности шахты, уменьшение затрат, повышение цены руды. Во вступлении дано нынешнее состояние проблемы, выдвинуты предложения по её решению. В расчётной части обоснованы параметры и произведены расчёты проектируемой технологии,. Новизна проекта в применении самоходной техники. В технологической части даны характеристики и показатели проекта. В экономической части приводится расчёт показателей при введении проектных решений. Практическое значение проекта – опробование в условиях шахты новой технологии очистных работ. Разработанные технические решения могут применяться для сходных условий на других шахтах. РУДНАЯ ПОТОЛОЧИНА, ПРЕДОХРАНИТЕЛЬНЫЙ ЦЕЛИК, ВСКРЫТИЕ ЗАПАСОВ, РУДОПЕРЕПУСК, КАМЕРА, ПОГРУЗО-ДОСТАВОЧНАЯ МАШИНА, ОРТ. |
||||||||||||||||||||||||||||||||||||||||||||||||||||||||||||||||||||||||||||||||||||||||||||||||||||||||||||||||||||||||||||||||||||||||||||||||||||||||||||||||||||||||||||||||||||
|
ПРМ.ПД.04.02.Р.ПЗ |
||||||||||||||||||||||||||||||||||||||||||||||||||||||||||||||||||||||||||||||||||||||||||||||||||||||||||||||||||||||||||||||||||||||||||||||||||||||||||||||||||||||||||||||||||||
|
Зм |
Арк. |
№ докум. |
Підпис |
Дата |
||||||||||||||||||||||||||||||||||||||||||||||||||||||||||||||||||||||||||||||||||||||||||||||||||||||||||||||||||||||||||||||||||||||||||||||||||||||||||||||||||||||||||||||||
|
Розробн. |
Борисенко |
РЕФЕРАТ |
Літера |
Аркуш |
Аркушів |
|||||||||||||||||||||||||||||||||||||||||||||||||||||||||||||||||||||||||||||||||||||||||||||||||||||||||||||||||||||||||||||||||||||||||||||||||||||||||||||||||||||||||||||||
|
К. розд. |
Кузьменко |
1 |
1 |
|||||||||||||||||||||||||||||||||||||||||||||||||||||||||||||||||||||||||||||||||||||||||||||||||||||||||||||||||||||||||||||||||||||||||||||||||||||||||||||||||||||||||||||||||
|
Керівн. |
Кузьменко |
ГІП-98 |
||||||||||||||||||||||||||||||||||||||||||||||||||||||||||||||||||||||||||||||||||||||||||||||||||||||||||||||||||||||||||||||||||||||||||||||||||||||||||||||||||||||||||||||||||
|
Н. контр. |
Кузьменко |
|||||||||||||||||||||||||||||||||||||||||||||||||||||||||||||||||||||||||||||||||||||||||||||||||||||||||||||||||||||||||||||||||||||||||||||||||||||||||||||||||||||||||||||||||||
|
Зав. Каф. |
Бондаренко |
|||||||||||||||||||||||||||||||||||||||||||||||||||||||||||||||||||||||||||||||||||||||||||||||||||||||||||||||||||||||||||||||||||||||||||||||||||||||||||||||||||||||||||||||||||
|
4 Содержание Введение………………………………………………………………….…3 Характеристика горного предприятия……………………………...4 1.1 Местонахождение предприятия………………………………….4 1.2 Горно-геологическая характеристика……………………………4 1.3 Анализ производственной ситуации развития горных работ….10 1.4 Выводы…………………………………………………………….12 1.5 Исходные данные на проект……………………………………..13 Применение прогрессивной технологии ведения очистных работ для отработки вскрытых запасов руды……………………………………14 2.1 Выбор участка для отработки части запасов потолочины……..14 2.2 Обоснование решения о вскрытии и вводе в эксплуатацию части запасов рудной потолочины…………………………………………………...15 2.3 Расчёт параметров очистной выемки……………………………17 2.4 Технология ведения горных работ………………………………19 2.5 Технологическая схема транспорта……………………………..27 2.6 Вентиляция шахты………………………………………….…….28 2.7 Организация работ на добычном участке………………………34 2.8 Охрана труда……………………………………………………....36 2.9 Охрана окружающей среды……………………………………...43 Экономическая оценка целесообразности применения погрузочно-доставочных машин для проектных условий для проектных условий…………………………………………………………………………46 3.1 Расчёт общешахтных экономических показателей при введении в эксплуатацию этажа 301÷303м и применении самоходной техники……..46 3.2 Расчёт себестоимости добычи руды по элементам затрат…….46 3.3 Расчёт стоимости реализации руды……………………………..47 3.4 Расчёт прибыли по шахте………………………………………...48 Вывод……………………………………………………………………….50 Перечень ссылок………………………………………………………….51 Приложения: Приложение А: Аэродинамическая характеристика вентилятора местного проветривания СВМ-6М……………………………………………53 Приложение Б: Оперативная часть плана ликвидации аварий…………..54 |
||||||||||||||||||||||||||||||||||||||||||||||||||||||||||||||||||||||||||||||||||||||||||||||||||||||||||||||||||||||||||||||||||||||||||||||||||||||||||||||||||||||||||||||||||||
|
ПРМ.ПД.04.02.З.ПЗ |
||||||||||||||||||||||||||||||||||||||||||||||||||||||||||||||||||||||||||||||||||||||||||||||||||||||||||||||||||||||||||||||||||||||||||||||||||||||||||||||||||||||||||||||||||||
|
Зм |
Арк. |
№ докум. |
Підпис |
Дата |
||||||||||||||||||||||||||||||||||||||||||||||||||||||||||||||||||||||||||||||||||||||||||||||||||||||||||||||||||||||||||||||||||||||||||||||||||||||||||||||||||||||||||||||||
|
Розробн. |
Борисенко |
ЗМІСТ |
Літера |
Аркуш |
Аркушів |
|||||||||||||||||||||||||||||||||||||||||||||||||||||||||||||||||||||||||||||||||||||||||||||||||||||||||||||||||||||||||||||||||||||||||||||||||||||||||||||||||||||||||||||||
|
К. розд. |
Кузьменко |
1 |
1 |
|||||||||||||||||||||||||||||||||||||||||||||||||||||||||||||||||||||||||||||||||||||||||||||||||||||||||||||||||||||||||||||||||||||||||||||||||||||||||||||||||||||||||||||||||
|
Керівн. |
Кузьменко |
ГІП-98 |
||||||||||||||||||||||||||||||||||||||||||||||||||||||||||||||||||||||||||||||||||||||||||||||||||||||||||||||||||||||||||||||||||||||||||||||||||||||||||||||||||||||||||||||||||
|
Н. контр. |
Кузьменко |
|||||||||||||||||||||||||||||||||||||||||||||||||||||||||||||||||||||||||||||||||||||||||||||||||||||||||||||||||||||||||||||||||||||||||||||||||||||||||||||||||||||||||||||||||||
|
Зав. Каф. |
Бондаренко |
|||||||||||||||||||||||||||||||||||||||||||||||||||||||||||||||||||||||||||||||||||||||||||||||||||||||||||||||||||||||||||||||||||||||||||||||||||||||||||||||||||||||||||||||||||
|
5 Введение В последнее время на Запорожском железорудном комбинате наметилась тенденция сокращения объёмов добычи из-за ряда объективных причин, а именно, износа оборудования, повышения цен на новую технику, общей обстановки в стране. В этих условиях становится экономически невыгодным вскрывать и подготавливать запасы на нижележащих горизонтов 740÷940 м и, по сути, ситуация сводится к резкому спаду производства в ближайшие годы. Стабилизировать объёмы добычи руды на комбинате, возможно путём вовлечения в отработку временно неактивных запасов, а в первую очередь, запасов рудной потолочины выше гор. 340 м под предохранительным целиком. В проекте рассматриваются аспекты вскрытия и отработки запасов рудной потолочины. Необходимо разработать технологию наиболее выгодной системы выемки запасов с минимальными затратами и максимальным экономическим эффектом, который способен поддержать объём добычи на ЗЖРК и сохранить уровень рентабельности производства.
|
||||||||||||||||||||||||||||||||||||||||||||||||||||||||||||||||||||||||||||||||||||||||||||||||||||||||||||||||||||||||||||||||||||||||||||||||||||||||||||||||||||||||||||||||||||
|
ПРМ.ПД.04.02.В.ПЗ |
||||||||||||||||||||||||||||||||||||||||||||||||||||||||||||||||||||||||||||||||||||||||||||||||||||||||||||||||||||||||||||||||||||||||||||||||||||||||||||||||||||||||||||||||||||
|
Зм |
Арк. |
№ докум. |
Підпис |
Дата |
||||||||||||||||||||||||||||||||||||||||||||||||||||||||||||||||||||||||||||||||||||||||||||||||||||||||||||||||||||||||||||||||||||||||||||||||||||||||||||||||||||||||||||||||
|
Розробн. |
Борисенко |
ВСТУП |
Літера |
Аркуш |
Аркушів |
|||||||||||||||||||||||||||||||||||||||||||||||||||||||||||||||||||||||||||||||||||||||||||||||||||||||||||||||||||||||||||||||||||||||||||||||||||||||||||||||||||||||||||||||
|
К. розд. |
Кузьменко |
1 |
1 |
|||||||||||||||||||||||||||||||||||||||||||||||||||||||||||||||||||||||||||||||||||||||||||||||||||||||||||||||||||||||||||||||||||||||||||||||||||||||||||||||||||||||||||||||||
|
Керівн. |
Кузьменко |
ГІП-98 |
||||||||||||||||||||||||||||||||||||||||||||||||||||||||||||||||||||||||||||||||||||||||||||||||||||||||||||||||||||||||||||||||||||||||||||||||||||||||||||||||||||||||||||||||||
|
Н. контр. |
Кузьменко |
|||||||||||||||||||||||||||||||||||||||||||||||||||||||||||||||||||||||||||||||||||||||||||||||||||||||||||||||||||||||||||||||||||||||||||||||||||||||||||||||||||||||||||||||||||
|
Зав. Каф. |
Бондаренко |
|||||||||||||||||||||||||||||||||||||||||||||||||||||||||||||||||||||||||||||||||||||||||||||||||||||||||||||||||||||||||||||||||||||||||||||||||||||||||||||||||||||||||||||||||||
|
6 Характеристика горного предприятия 1.1 Местонахождение предприятия.
Административная подчинённость. Запорожский железорудный комбинат располагается в южной части Василевского и Весёловского районов запорожской области в 25 км от города Запорожья. В Каменско-Днепровском, соседнем, районе расположены тепловая и атомная электростанции-источники электроэнергии для производства. Транспортные условия района благополучные, в восточной части его с севера на юг проходит железная дорога Токмак-Новая Каховка. Район покрыт густой сетью шоссейных и грунтовых автодорог. География месторасположения. Рельеф местности представлен холмистой равниной степной зоны, изрезанную балками и оврагами. Климатические условия района умеренные с частыми сухими ветрами, смена времени года происходит постепенно, зима мягкая и малоснежная, летом часты засухи. 1.2 Горно-геологическая характеристика
1.2.1 Геологическая характеристика
Структурное строение горного массива. В геологическом строении кристаллического фундамента района принимают участие метаморфизованные осадочные породы, эффузивные и интрузивные Конско-Верховцеской серии верхнего архея. Эти породы подстилаются гнейсами и магнитными объединёнными в Днепровскую группу. Южно-Белозёрское месторождение состоит из так называемой «Главной» залежи. Эта залежь имеет субмеридиальное простирание и крутое падение на восток под углом 65÷70°. Лежащий бок месторождения представлен кварцево-серицитовыми сланцами, висячими-серпентинитами. Наибольшая мощность «Главной» залежи 115 м в южном крыле, на севере мощность уменьшается до 10 м. На юге залежь ограничена «Пограничным» сбросом. Гидрогеология шахты. Южно-Белозёрское месторождение, расположено в северо-восточной части Причерноморского артезианского бассейна и имеет сложные гидрогеологические условия. Вся толщина мезо-кайнозойских осадочных пород и сам рудокристалический район сильно обводнён. Основными водоносными горизонтами, обводняющими горные выработки, являются Бучакский и рудокристалический. |
||||||||||||||||||||||||||||||||||||||||||||||||||||||||||||||||||||||||||||||||||||||||||||||||||||||||||||||||||||||||||||||||||||||||||||||||||||||||||||||||||||||||||||||||||||
|
ПРМ.ПД.04.02.01.ПЗ |
||||||||||||||||||||||||||||||||||||||||||||||||||||||||||||||||||||||||||||||||||||||||||||||||||||||||||||||||||||||||||||||||||||||||||||||||||||||||||||||||||||||||||||||||||||
|
Зм |
Арк. |
№ докум. |
Підпис |
Дата |
||||||||||||||||||||||||||||||||||||||||||||||||||||||||||||||||||||||||||||||||||||||||||||||||||||||||||||||||||||||||||||||||||||||||||||||||||||||||||||||||||||||||||||||||
|
Розробн. |
Борисенко |
ХАРАКТЕРИСТИКА ГІРНИЧОГО ПІДПРИЄМСТВА |
Літера |
Аркуш |
Аркушів |
|||||||||||||||||||||||||||||||||||||||||||||||||||||||||||||||||||||||||||||||||||||||||||||||||||||||||||||||||||||||||||||||||||||||||||||||||||||||||||||||||||||||||||||||
|
К. розд. |
Кузьменко |
1 |
10 |
|||||||||||||||||||||||||||||||||||||||||||||||||||||||||||||||||||||||||||||||||||||||||||||||||||||||||||||||||||||||||||||||||||||||||||||||||||||||||||||||||||||||||||||||||
|
Керівн. |
Кузьменко |
ГІП-98 |
||||||||||||||||||||||||||||||||||||||||||||||||||||||||||||||||||||||||||||||||||||||||||||||||||||||||||||||||||||||||||||||||||||||||||||||||||||||||||||||||||||||||||||||||||
|
Н. контр. |
Кузьменко |
|||||||||||||||||||||||||||||||||||||||||||||||||||||||||||||||||||||||||||||||||||||||||||||||||||||||||||||||||||||||||||||||||||||||||||||||||||||||||||||||||||||||||||||||||||
|
Зав. Каф. |
Бондаренко |
|||||||||||||||||||||||||||||||||||||||||||||||||||||||||||||||||||||||||||||||||||||||||||||||||||||||||||||||||||||||||||||||||||||||||||||||||||||||||||||||||||||||||||||||||||
|
7 Бучакский водонососный горизонт слагается из разнозернистых песков мощностью 15÷20 м, величина гидростатического напора перед осушением составила 160/2001,5 до 20,8 м/сут. Осушение Бучанского водоносного горизонта привело к формированию асимметричной депрессионной воронки, вытянутой в виде поломы вдоль рудного тела. Тектоника. Залегание железистых кварцитов и согласных с ними железных руд, как показывают данные горно-эксилуатационных работ и разведочных скважин, значительно осложнено складчатостью четвёртого и более высоких порядков. Разрывных нарушений на залегании пород и руд не наблюдается. Установлено горно-эксилутационными работами м разведочными скважинами широкое распространение по всей площади рудного тела трещиноватости отдельности-вертикальных и пологих с углами железистые кварцмты разбиты на длоки. 1.2.2 Горная характеристика
Граница и размеры шахтного поля. „Главная” залежь распространена до 2,5 км и имеет пластообразную форму. Мощность рудного тела на севере 45-60 м, на юге-до 120 м. Падение рудного тела составляет в среднем 70°. Вертикальная высота этажа составляет 100 м. Технические показатели. Проектная мощность шахты составляет 4 млн. т руды в год, освоена мощность 3,7 млн. в год. За последние годы объём производства снижен с 3,7 млн. т в 2000 году. Очистные и подготовительные работы ведутся с отметки 580 м до отметки 840 м. Руды Южно-Белозёрского месторождения не самовозгораемы, не опасны по выделению газов, горные работы ведутся на глубинах, где не наблюдаются выбросы и горные удары. Наиболее высокая температура воздуха при 90%-ной влажности была отмечена на горизонте 940 м и составила 26°С (при проходке и углубке стволов). Схема вскрытия. Южно-Белозёрское месторождение, на базе которого построен Запорожский железорудный комбинат, вскрыто вертикальными стволами и этажными квершлагами горизонтов 340, 400, 480, 560, 640, 740, 840, 940 м. Тип околоствольного двора скиповой, скипоклетевой, для электровозной откатки. Грузовой ствол №1, грузовой ствол №2, вспомогательный ствол пройдены в лежачем боку месторождения на расстоянии 1км от рудной залежи. Глубина этих стволов (высота подъема): №1 – 960м (940м); №2 – 740м (740м); вспомогательный – 740м (740м). Дренажный ствол пройден в центре залежи в висячем боку месторождения, глубина – 660м, высота подъема 640м, ствол круглого сечения, диаметром в свету 6м. |
||||||||||||||||||||||||||||||||||||||||||||||||||||||||||||||||||||||||||||||||||||||||||||||||||||||||||||||||||||||||||||||||||||||||||||||||||||||||||||||||||||||||||||||||||||
|
ПРМ.ПД.04.02.01.ПЗ |
Арк 2 |
|||||||||||||||||||||||||||||||||||||||||||||||||||||||||||||||||||||||||||||||||||||||||||||||||||||||||||||||||||||||||||||||||||||||||||||||||||||||||||||||||||||||||||||||||||
|
Зм |
Арк. |
№ докум. |
Підпис |
Дата |
||||||||||||||||||||||||||||||||||||||||||||||||||||||||||||||||||||||||||||||||||||||||||||||||||||||||||||||||||||||||||||||||||||||||||||||||||||||||||||||||||||||||||||||||
|
8 Южный и Северный вентиляционные стволы пройдены в лежачем боку месторождения у флангов залежи, глубина – 400м, высота подъема 400м. Центральный слепой ствол (ЦСС) служит для вскрытия нижележащих горизонтов, с гор.480м до гор.740м – высота подъёма. Лифтовой (слепой ствол) пройден не далеко от рудной залежи, с гор.480м до гор.740м – высота подъёма. Южный слепой ствол вентиляционный служит для проветривания южного крыла месторождения (исходящая струя), является также запасным выходом из шахты, для того же служит и Северный слепой вентиляционный ствол (исходящая струя), для проветривания северного крыла. Вентиляционный горизонт 340м вскрыт уклоном, пройденным до гор.480м под углом 25º. Наклонный съезд для самоходной техники пройден с гор.440м до гор.740м, угол наклона 15º. Грузовой №1 – предназначен для рудо-породного подъёма; грузовой №2 – для рудного подъёма скипами и материально-людского подъёма клетью; вспомогательный – для материально-людского подъёма с возможностью выдачи клетями породы. Все стволы круглого сечения с диаметром в свету 7м. Закреплены стволы в верхней части (воротник) железобетонной крепью, до гор.480м комбинированной: внутри металлической тюбинговой крепью с наружной бетонной «рубашкой», а ниже бетонной крепью толщиной 440мм. Южный вентиляционный и Северный вентиляционный стволы – круглого сечения диаметром в свету 6м, закреплены также как и грузовые №1, №2 и вспомогательный. (Также закреплён и дренажный вентиляционный ствол). Соседнее Переверзевское месторождение, прилегающее с юга к эксплуатируемому Южно-Белозёрскому, сейчас вскрывается одним северным вентиляционным стволом, проходимым 400м от рудного тела со стороны лежачего бока месторождения. Вентиляция. Способ проветривания шахты всасывающий, то есть вентиляторы работают на всас. На ЗЖРК принято фланговое проветривание, которое осуществляется за счёт вентиляционных установок, расположенных на Северном, Южном и Дренажном вентиляционных стволах. Тип вентиляторов соответственно: ВЦД-3,3; ВЦД-3,3; ВЦД-3,2м. Фактический режим работы ГВУ следующий: 1) подача, м³/с, соответственно: 273, 220, 220; 2) депрессия, Па, соответственно: 2180, 2850, 3290 Проходческие забои проветриваются вентиляторами местного проветривания СМВ-6М и СВМ-5М и диаметрами трубопроводов 600 и 500 мм. Для определения количества и состава воздуха используется следующая аппаратура: анемометры, секундомеры, пылемеры и экспресс-аппаратура для определения содержания в воздухе углекислого газа, сернистых соединений, окиси углерода и окислов азота. |
||||||||||||||||||||||||||||||||||||||||||||||||||||||||||||||||||||||||||||||||||||||||||||||||||||||||||||||||||||||||||||||||||||||||||||||||||||||||||||||||||||||||||||||||||||
|
ПРМ.ПД.04.02.01.ПЗ |
Арк 3 |
|||||||||||||||||||||||||||||||||||||||||||||||||||||||||||||||||||||||||||||||||||||||||||||||||||||||||||||||||||||||||||||||||||||||||||||||||||||||||||||||||||||||||||||||||||
|
Зм |
Арк. |
№ докум. |
Підпис |
Дата |
||||||||||||||||||||||||||||||||||||||||||||||||||||||||||||||||||||||||||||||||||||||||||||||||||||||||||||||||||||||||||||||||||||||||||||||||||||||||||||||||||||||||||||||||
|
9 Шахтный подъём. Каждый ствол центральной группы стволов оборудован двумя подъёмными машинами типа БЦК 8,5×2,7. На Грузовом стволе №1 навешены два скипа с данной разгрузкой типа 2СН-1, грузоподъёмностью 25 т для подъёма руды и один породный скип грузоподъёмностью 20 т с противовесом. На Грузовом стволе №2 навешены два скипа 2СН-1 грузоподъёмностью 25 т для руды и двухэтажная клеть для подъёма людей в количестве 60 человек с противовесом типа ПГС. Транспорт. На поверхности ЗЖРК применяется автомобильный, железнодорожный и конвейерный транспорт. Автомобильный: КАМаЗы транспортируют ВМ, песок и другой стройматериал, запасные части; БЕЛаЗы транспортируют породу в отвал; автобусы «Икарус» транспортируют людей на рабочее место из г.Днепрорудного; Железнодорожный: для транспортировки людей из г.Днепрорудного до ЗЖРК; для доставки ВМ на поверхностный склад; для отправки руды получателю; для доставки мелких компонентов на закладочный цех. Конвейерный: для доставки руды из дробилки бункера стволов на дробильно-сортировочную фабрику. В подземных условиях применяется кольцевая электровозная откатка по схеме: от погрузочных пунктов добычных участков Северного и Южного крыла составы с рудой по откаточному штреку лежачего бока направляются к перегрузочным станциям рудоперепусков, пройденных в условиях рудного тела и оборудованных опрокидывателями, позволяющие производить разгрузку составов без отцепки локомотива. После разгрузки порожние составы по откаточному штреку висячего бока едут за новой партией руды к погрузочным пунктам добычных участков; руда загружается в вагонетки через ВВДР, ВПУ – которые установлены в днищах камер на откаточных ортах. Руда и порода попадает в дозаторный комплекс (после прохождения дробления), дозируется в скипы и выдаётся на поверхность. Затем порода отгружается в грузовые машины и вывозиться в отвал. А руда по конвейеру загружается в вагоны (думпкары) и отвозиться к требуемому месту тепловозами. В шахте применяются следующие марки: электровозов – 14КР; 10КР; К-14; К-10 и др.; вагонеток – ВГ-4,0; ВГ-4,5; ВГ-9 и др.; рельсов – Р-33; Р-38 (временные Р-24 и Р-18). Для транспортирования людей применяют вагонетки типа ВП-18, на уклоне вместо электровозов используются лебёдки с вагонетками ВЛ-30118. Также на комбинате применяют самоходную технику – машины “Мультивэн” финской фирмы “Норман” и МВК-5 производства КЗТМ. Мультивэн для перевозки грузов, оборудования, людей и взрывчатки. Также для перевозки грузов используются машины ПНЕ-2500 шведского производства. |
||||||||||||||||||||||||||||||||||||||||||||||||||||||||||||||||||||||||||||||||||||||||||||||||||||||||||||||||||||||||||||||||||||||||||||||||||||||||||||||||||||||||||||||||||||
|
ПРМ.ПД.04.02.01.ПЗ |
Арк 4 |
|||||||||||||||||||||||||||||||||||||||||||||||||||||||||||||||||||||||||||||||||||||||||||||||||||||||||||||||||||||||||||||||||||||||||||||||||||||||||||||||||||||||||||||||||||
|
Зм |
Арк. |
№ докум. |
Підпис |
Дата |
||||||||||||||||||||||||||||||||||||||||||||||||||||||||||||||||||||||||||||||||||||||||||||||||||||||||||||||||||||||||||||||||||||||||||||||||||||||||||||||||||||||||||||||||
|
10 Требования к качеству руды. Руда ЗЖРК, в основной своей массе, крепкая, кусковатая с коэффициентом крепости 3÷5 по шкале Протодьяконова. По заключению Института чёрной металлургии АН УССР, руда относится к мартеновским. Остальные запасы представлены доменными рудами. Руды не требуют обогащения. Основной вид продукции ЗЖРК – руда железная не агломерированная.
Таблица 1.2.1. – Качественные показатели руды.
Руда с содержанием железа не менее 60,02% идёт на экспорт в определённом количестве в страны ближнего и дальнего зарубежья, а остальная руда реализуется металлургическими заводами Украины - Запорожсталь, ДМЗ, имени Петровского и другими. Способ подготовки и порядок отработки запасов в шахтном поле. На ЗЖРК принята этажная подготовка запасов шахтного поля. Подготовительные работы осуществляются с помощью проходки этажных и подэтажных горизонтов. Первые – в основном выполняют функцию концентрационных, вторые – вспомогательных горизонтов, которые используются, в основном, для обуривания рудного массива. Для отработки запасов проводятся также полевые штреки лежачего и висячего боков на расстоянии до 15м от рудного тела. Эти штреки соедин ортами, которые проводятся через каждые 30м. Отбойка руды в камерах подэтажная вертикальными слоями в одной плоскости или с опережением верхних этажей. Отбойка производится на предварительно разделанную щель, расположенную поперёк камеры. Система разработки. На ЗЖРК принята этажно-камерная система разработки с подэтажной отбойкой руды и с последующим искусственным поддержанием выработанного пространства при помощи твердеющей закладки. Камеры отрабатываются через целик руды или закладки шириной 30м (ширине камеры). Порядок отработки этажей по вертикали применяют как восходящий, так и нисходящий. Отрабатываемые камеры в смежных этажах должны всегда находится за створом зон общего влияния очистного пространства отрабатываемых камер. |
||||||||||||||||||||||||||||||||||||||||||||||||||||||||||||||||||||||||||||||||||||||||||||||||||||||||||||||||||||||||||||||||||||||||||||||||||||||||||||||||||||||||||||||||||||
|
ПРМ.ПД.04.02.01.ПЗ |
Арк 5 |
|||||||||||||||||||||||||||||||||||||||||||||||||||||||||||||||||||||||||||||||||||||||||||||||||||||||||||||||||||||||||||||||||||||||||||||||||||||||||||||||||||||||||||||||||||
|
Зм |
Арк. |
№ докум. |
Підпис |
Дата |
||||||||||||||||||||||||||||||||||||||||||||||||||||||||||||||||||||||||||||||||||||||||||||||||||||||||||||||||||||||||||||||||||||||||||||||||||||||||||||||||||||||||||||||||
|
11 Очистные работы. При очистной выемке подсечка камеры траншейная с разбуриванием станками НКР-100 м и СИМБА-1352. Отработка производится слоями при помощи восходящих или нисходящих веерных комплектов скважин диаметром 105 мм. Выпуск руды из камеры производится виброустановками ВВДР-5 и ПШВ-6 по торцевой схеме. Вибровыпуск, в отличие от других видов принудительного выпуска, отличается тем, что вибропитатели обеспечивают не только перемещение руды, но и её вибрирование. Истечение руды происходит по всему сечению выпускного отверстия. Проведение подготовительных и нарезных выработок. Нарезные выработки (штреки, орты), также как и подготовительные, проводятся с применением комплексов из буровых кареток СБКН, погрузочных машин ППН-3, вагонов ВПК-7,5, ВПК-10 и электровозов К-10 и К-14. Проведение отрезных штреков, сбоек, заходов, заездов, буровых ортов, вентиляционных штреков, сбоек, заходок, заездов, буровых ортов, вентиляционных штреков, подсечных ортов с помощью буровых кареток СБКН и уборкой горной массы машинами ПТ-4. Скорость подвигания подготовительного забоя колеблется в пределах от 2,5 до 7 м/сут. Энергоснабжение шахты. Основной вид энергии на ЗЖРК – электрическая. На главную понизительную подстанцию (ГПП) 154/36/6 кВ. электроэнергия подаётся по двум ЛЭП-154 кВ от системы "Днепроэнерго". На ГПП установлено два трёхобмоточных трансформатора. Заявленная мощность электропотребителей комбината 4200 кВт. Годовой расход энергии 209 млн.кВт.ч. Другой распространенный вид энергии – пневматическая. На центральной компрессорной станции установлены три турбокомпрессора К-500-61-6, производительностью 525 м³/мин и один турбокомпрессор К-250-61-6, производительностью 250 м³/мин. Подземными потребителями воздуха являются перфораторы, погрузочные машины ППН-3А, ПТ-4, ППН-1С, станки НКР-100М, буровые каретки УБШ-207. Организация работы на шахте. Число рабочих дней для специальностей: проходчики, бурильщики, слесари составляет 264 дня в году, из расчета 5 рабочих дней в неделю. Для добычных участков число рабочих дней составляет 5 в неделю, но добычные бригады работают по скользящему графику, что позволяет работать 357 дней по добыче руды. Число рабочих смен составляет 3 смены в сутки. Продолжительность рабочей смены на подземных работах 7 часов 12 минут с переменой 48 минут, на поверхности - 8 часов 15 минут.
|
||||||||||||||||||||||||||||||||||||||||||||||||||||||||||||||||||||||||||||||||||||||||||||||||||||||||||||||||||||||||||||||||||||||||||||||||||||||||||||||||||||||||||||||||||||
|
ПРМ.ПД.04.02.01.ПЗ |
Арк 6 |
|||||||||||||||||||||||||||||||||||||||||||||||||||||||||||||||||||||||||||||||||||||||||||||||||||||||||||||||||||||||||||||||||||||||||||||||||||||||||||||||||||||||||||||||||||
|
Зм |
Арк. |
№ докум. |
Підпис |
Дата |
||||||||||||||||||||||||||||||||||||||||||||||||||||||||||||||||||||||||||||||||||||||||||||||||||||||||||||||||||||||||||||||||||||||||||||||||||||||||||||||||||||||||||||||||
|
12 Охрана труда. На ЗЖРК для безопасности ведения горных работ разработаны такие мероприятия: оптимизация режима вентиляции для обеспечения минимальной запыленности воздуха, орошение места выпуска и погрузки руды, торкретирование горных выработок, применение средств индивидуальной защиты, противошумные глушители на оборудовании, применение малошумящего оборудования (ППН-3А, СБКН-2), применение противовибрационных амортизаторов, расположение рабочих мест вне негативного действия вибрации. Технологические средства противопожарной защиты в подземных выработках и на поверхности – это огнетушители. Ящики с песком, а также противопожарные трубопроводы с подачей воды на каждой очистной камере. Охрана окружающей среды. Для охраны атмосферы на ЗЖРК применяют следующие устройства: на закладочном комплексе установлены рукавные фильтры типа СМЦ-166, проведена реконструкция системы аспирации закладочного участка, на дробильно-сортировальной фабрике применяются установки мокрой очистки. Для охраны окружающей водной среды используются следующие мероприятия: была произведена очистка водосборников шахтных вод, часть шахтных вод используется для применения закладочной смеси, часть соленых шахтных вод отводится в пруд-испаритель, осуществляет лабораторный контроль качества шахтных вод. Для охраны окружающей среды также применяют: отсыпку дорог горными породами, полученными при проходке подготовительных выработок. Отработанные нефтепродукты (масло) сдаются на регенерацию (8-10 т/год) и используются повторно. 1.3 Анализ производственной ситуации развития горных работ на ЗЖРК В последние годы из-за ряда объективных причин на комбинате резко сократились объемы горно-капитальных работ, что не позволяет своевременно вскрыть и подготовить запасы руды на новых глубоких горизонтах 740 – 840м взамен погашаемых в действующих этажах 480 – 640м и, по сути, предопределяет в ближайшее время резкий спад производства. Осложняющими факторами, влияющими на ведение горно-капитальных работ являются: большая глубина ведения горных работ; большой водоприток в выработки; эксплуатация выемочной и проходческой техники отработавшей свой ресурс; сложная система проветривания шахты; большие затраты на приготовление закладочной смеси и сложность ее транспортирования на глубокие горизонты. |
||||||||||||||||||||||||||||||||||||||||||||||||||||||||||||||||||||||||||||||||||||||||||||||||||||||||||||||||||||||||||||||||||||||||||||||||||||||||||||||||||||||||||||||||||||
|
ПРМ.ПД.04.02.01.ПЗ |
Арк 7 |
|||||||||||||||||||||||||||||||||||||||||||||||||||||||||||||||||||||||||||||||||||||||||||||||||||||||||||||||||||||||||||||||||||||||||||||||||||||||||||||||||||||||||||||||||||
|
Зм |
Арк. |
№ докум. |
Підпис |
Дата |
||||||||||||||||||||||||||||||||||||||||||||||||||||||||||||||||||||||||||||||||||||||||||||||||||||||||||||||||||||||||||||||||||||||||||||||||||||||||||||||||||||||||||||||||
|
13 1.3.1 Проверочный расчет пропускной способности шахты при применении электровозной откатки. Мощность шахты по электровозному транспорту определяется как сумма производительности участков, примыкающих к околоствольному двору. Для каждого звена производительность транспортной цепи определяется по формуле:
где Т – продолжительность работы электровозной откатки в течение суток по вывозу руды, мин;
m G – грузоподъемность электровозного состава, т; V – средняя техническая скорость откатки грузов; м/мин;
К Для первого звена: от погрузочного пункта добычного участка северного крыла по откаточному штреку к опрокидывателю:
Для второго звена: от погрузочного пункта добычного участка южного крыла по откаточному штреку к опрокидывателю:
|
||||||||||||||||||||||||||||||||||||||||||||||||||||||||||||||||||||||||||||||||||||||||||||||||||||||||||||||||||||||||||||||||||||||||||||||||||||||||||||||||||||||||||||||||||||
|
ПРМ.ПД.04.02.01.ПЗ |
Арк 8 |
|||||||||||||||||||||||||||||||||||||||||||||||||||||||||||||||||||||||||||||||||||||||||||||||||||||||||||||||||||||||||||||||||||||||||||||||||||||||||||||||||||||||||||||||||||
|
Зм |
Арк. |
№ докум. |
Підпис |
Дата |
||||||||||||||||||||||||||||||||||||||||||||||||||||||||||||||||||||||||||||||||||||||||||||||||||||||||||||||||||||||||||||||||||||||||||||||||||||||||||||||||||||||||||||||||
|
14
В результате суммирования результатов производительности откатки составляет 11660 т/сут. При существующей нагрузке 9100 т пропускная способность электровозной откатки электровозами К-14 удовлетворяет данному условию. 1.4 Выводы Для ритмичной работы шахты и достижения его проектной мощности необходимо: произвести вовлечение в отработку временно неактивных запасов на действующих этажах (днища камер 400, 480, 640м ) и в первую очередь части запасов рудной потолочины выше гор.340 м под предохранительным целиком; произвести замену устаревшего оборудования на новое, более совершенное; внедрять в производство новейшие достижения науки и техники; перед проведением подготовительных выработок производить разгрузку горного массива путём бурения скважин и последующего дренажа воды. В данном проекте повышение эффективности горных работ рассматривается на примере вовлечения в отработку запасов рудной потолочины месторождения и применения для данных условий прогрессивной системы разработки 1.5 Исходные данные на проект Глубина ведения горных работ – горизонт 330 м; Система разработки – камерная с последующей закладкой отработанного пространства твердеющей смесью Доставка руды – самоходными погрузочно-доставочными машинами с электроприводом и перепуск руды по восстающему с гор.330 м на концентрационный гор. 640м; Подготовка камер – двумя горизонтами: горизонт выпуска (330м) и бурозакладочный (301м); |
||||||||||||||||||||||||||||||||||||||||||||||||||||||||||||||||||||||||||||||||||||||||||||||||||||||||||||||||||||||||||||||||||||||||||||||||||||||||||||||||||||||||||||||||||||
|
ПРМ.ПД.04.02.01.ПЗ |
Арк 9 |
|||||||||||||||||||||||||||||||||||||||||||||||||||||||||||||||||||||||||||||||||||||||||||||||||||||||||||||||||||||||||||||||||||||||||||||||||||||||||||||||||||||||||||||||||||
|
Зм |
Арк. |
№ докум. |
Підпис |
Дата |
||||||||||||||||||||||||||||||||||||||||||||||||||||||||||||||||||||||||||||||||||||||||||||||||||||||||||||||||||||||||||||||||||||||||||||||||||||||||||||||||||||||||||||||||
|
15 Выемка руды – по камерно-целиковой схеме; Параметры очистной камеры: длина……………………...по всей мощности залежи ширина……………………до 15м высота……………………до 39м (29м средняя) наклон днища……………5° форма кровли……………шатровая под углом 15÷20° схема отработки…………от висячего к лежачему боку срок отработки………….0,5 года (6 месяцев) производительность……26 тыс.т/год запасы…………………...160 тыс.т способ отбойки руды…..слоевая выемка при помощи наклонных вееров скважин (d=76мм) |
||||||||||||||||||||||||||||||||||||||||||||||||||||||||||||||||||||||||||||||||||||||||||||||||||||||||||||||||||||||||||||||||||||||||||||||||||||||||||||||||||||||||||||||||||||
|
ПРМ.ПД.04.02.01.ПЗ |
Арк 10 |
|||||||||||||||||||||||||||||||||||||||||||||||||||||||||||||||||||||||||||||||||||||||||||||||||||||||||||||||||||||||||||||||||||||||||||||||||||||||||||||||||||||||||||||||||||
|
Зм |
Арк. |
№ докум. |
Підпис |
Дата |
||||||||||||||||||||||||||||||||||||||||||||||||||||||||||||||||||||||||||||||||||||||||||||||||||||||||||||||||||||||||||||||||||||||||||||||||||||||||||||||||||||||||||||||||
|
16 2 Применение прогрессивной технологии очистных работ для отработки вскрытых запасов руды 2.1 Выбор участка для отработки части запасов потолочины В отработку планируется вовлечь часть запасов рудной потолочины выше гор.340 м под предохранительным целиком в осях 11с÷26ю в объеме порядка 8 млн.т. Здесь сосредоточены рудные залежи мощностью до 120 м и содержанием железа 60%. Мощность рудной потолочины колеблется от 50 м на юге до 70 м на севере рудного тела. Отметка бурозакладочного горизонта 301 м определена исходя из условий безопасного вскрытия закладочной скважины 4"з", от которой штрек висячего бока проводится на юг с небольшим уклоном для улучшения условий транспортировки закладки по трубопроводу. Исходя из взаимного расположения выработок гор. 301 м и горизонта доставки высота отрабатываемых камер составит: в оси 1с÷8с до 39 м, южнее оси 8с до 26 м. При этом предохранительный целик, защищающий место ведения работ от прорыва воды, составит от 19 до 30 м, что значительно больше, чем рекомендует НИГРИ в [10]. При использовании самоходного гидрофицированного оборудования и дизельных машин для доставки людей и материалов наиболее рациональным является вскрытие горизонта 301 м путем проведения уклонов-рамп от оси О. В этом случае первые участки рамп и орт О между штреками висячего и лежачего боков гор. 340 м будут пройдены с непосредственным складированием горной массы и закладки, полученных от проходческих работ , в очистное пространство недозаложенной ранее камеры 2/0 этажа 340÷400 м. Вовлечение в эксплуатацию части запасов потолочины предусматривается путем последовательного ввода в эксплуатацию и подготовки технологических участков в направлении с севера на юг. Первым пусковым будет участок в осях 11с÷0, вскрываемый рамкой №1 с перепуском горной массы и руды по рудоспускам и породоспуску, проведенных до откаточного горизонта 640 м (с использованием ранее проведенных рудоперепусков этажей 400÷480, 480÷580 и 580÷640 м). Проведение выработок по этому участку предусматривается только по руде и кварцитам без выхода в породы лежачего бока. Перепуск руды и кварцитов может быть как раздельны в зависимости от необходимости усреднения содержания руды. Высокое качество руды в массиве, превышающее по содержанию железа 60% и кварцитов с содержанием железа 37,5 % при совместном выпуске |
||||||||||||||||||||||||||||||||||||||||||||||||||||||||||||||||||||||||||||||||||||||||||||||||||||||||||||||||||||||||||||||||||||||||||||||||||||||||||||||||||||||||||||||||||||
|
ПРМ.ПД.04.02.02.ПЗ |
||||||||||||||||||||||||||||||||||||||||||||||||||||||||||||||||||||||||||||||||||||||||||||||||||||||||||||||||||||||||||||||||||||||||||||||||||||||||||||||||||||||||||||||||||||
|
Зм |
Арк. |
№ докум. |
Підпис |
Дата |
||||||||||||||||||||||||||||||||||||||||||||||||||||||||||||||||||||||||||||||||||||||||||||||||||||||||||||||||||||||||||||||||||||||||||||||||||||||||||||||||||||||||||||||||
|
Розробн. |
Борисенко |
Применение прогрессив-ной технологии очистных работ |
Літера |
Аркуш |
Аркушів |
|||||||||||||||||||||||||||||||||||||||||||||||||||||||||||||||||||||||||||||||||||||||||||||||||||||||||||||||||||||||||||||||||||||||||||||||||||||||||||||||||||||||||||||||
|
К. розд. |
Кузьменко |
1 |
34 |
|||||||||||||||||||||||||||||||||||||||||||||||||||||||||||||||||||||||||||||||||||||||||||||||||||||||||||||||||||||||||||||||||||||||||||||||||||||||||||||||||||||||||||||||||
|
Керівн. |
Кузьменко |
ГІП-98 |
||||||||||||||||||||||||||||||||||||||||||||||||||||||||||||||||||||||||||||||||||||||||||||||||||||||||||||||||||||||||||||||||||||||||||||||||||||||||||||||||||||||||||||||||||
|
Н. контр. |
Кузьменко |
|||||||||||||||||||||||||||||||||||||||||||||||||||||||||||||||||||||||||||||||||||||||||||||||||||||||||||||||||||||||||||||||||||||||||||||||||||||||||||||||||||||||||||||||||||
|
Зав. Каф. |
Бондаренко |
|||||||||||||||||||||||||||||||||||||||||||||||||||||||||||||||||||||||||||||||||||||||||||||||||||||||||||||||||||||||||||||||||||||||||||||||||||||||||||||||||||||||||||||||||||
|
17 обеспечивают получение товарной продукции (руды) с содержанием железа 48,5 %. Способ перепуска в каждом конкретном случае, в зависимости от качественной потребности в отгружаемой руде, устанавливается технологической службой комбината. Вторым пусковым участком предлагается часть рудного тела в осях 0÷9ю, который разделяется вкрест простирания на два технологических участка. Здесь требуется проведение промежуточного штрека параллельно штреку лежачего бока по породам, разделяющим два рудных тела. Дальнейшая схема отработки и перепуска та же, что и описанная ранее. Южнее оси 9ю в весьма мощной сплошной залежи располагаются несколько однотипных технологических участков. Подробности о местонахождении технологических участков, их запасах, количестве, очистных камерах и очередности отработки приведены на листе 3 графической части на чертеже и таблице. 2.2 Обоснование решения о вскрытии и вводе в эксплуатацию части запасов рудной потолочины Месторождение характеризуется сложными гидрогеологическими условиями. Для исключения прорывов воды в очистные выработки из Бучакского водоносного горизонта была оставлена рудная потолочина толщиной 50÷70 м. Научно-исследовательскими работами, обобщившими опыт ведения горных работ на ЗЖРК, была обоснована возможность уменьшения толщины потолочины. В частности, НИГРИ на основе геомеханических расчетов, рекомендовано величину предохранительного целика под Бучакским водоносным горизонтом принимать равной 15,0. Днепропетровским горным институтом величина предохранительного целика также была определена исходя из расчетов допустимых водопритоков в очистные камеры. В проекте НИГРИ расчет предохранительного целика (потолочины) выполнен по следующей зависимости:
где L
|
||||||||||||||||||||||||||||||||||||||||||||||||||||||||||||||||||||||||||||||||||||||||||||||||||||||||||||||||||||||||||||||||||||||||||||||||||||||||||||||||||||||||||||||||||||
|
ПРМ.ПД.04.02.02.ПЗ |
Арк 2 |
|||||||||||||||||||||||||||||||||||||||||||||||||||||||||||||||||||||||||||||||||||||||||||||||||||||||||||||||||||||||||||||||||||||||||||||||||||||||||||||||||||||||||||||||||||
|
Зм |
Арк. |
№ докум. |
Підпис |
Дата |
||||||||||||||||||||||||||||||||||||||||||||||||||||||||||||||||||||||||||||||||||||||||||||||||||||||||||||||||||||||||||||||||||||||||||||||||||||||||||||||||||||||||||||||||
|
18 По данным гидрогеологической службы ЗЖРК предохранительный целик осушен.
H =
В соответствии с расчетами и рекомендациями НИГРИ, толщина предохранительного целика принимается равной 15 м. Днепропетровским горным институтом расчет предохранительного целика выполнен по следующей методике:
где g=9,81 м/с² - ускорение свободного падения (силы тяжести);
P=0,92·10
γ
где а = 150 м – протяжённость незакреплённого участка горной выработки ;
η = 1,33 – коэффициент, зависящий от контура подошвы водного объекта; δ = 2,0 м – погрешность при определении контура подошвы водного объекта; γ = 0,3 – коэффициент структурного ослабления массива горных пород;
=16,3 м. |
||||||||||||||||||||||||||||||||||||||||||||||||||||||||||||||||||||||||||||||||||||||||||||||||||||||||||||||||||||||||||||||||||||||||||||||||||||||||||||||||||||||||||||||||||||
|
ПРМ.ПД.04.02.02.ПЗ |
Арк 3 |
|||||||||||||||||||||||||||||||||||||||||||||||||||||||||||||||||||||||||||||||||||||||||||||||||||||||||||||||||||||||||||||||||||||||||||||||||||||||||||||||||||||||||||||||||||
|
Зм |
Арк. |
№ докум. |
Підпис |
Дата |
||||||||||||||||||||||||||||||||||||||||||||||||||||||||||||||||||||||||||||||||||||||||||||||||||||||||||||||||||||||||||||||||||||||||||||||||||||||||||||||||||||||||||||||||
|
19 Следуя выше приведённым расчётам, мощность предохранительного целика принимается равной 15 м. Следовательно, ведение очистных работ под предохранительным целиком рассчитанной мощности исключает возможность крупных и катастрофических прорывов воды, но сохраняется опасность интенсификации водопроявлений. Из выше сказанного видно, что подход к определению безопасной глубины разработки руд под водным объектом, является основанием для вовлечения в отработку части запасов руды выше гор.340 м. 2.3 Расчёт параметров очистной выемки Исходными параметрами для определения являются: h = 39 м – высота камер, принятая из расчёта применения самоходных погрузочно-доставочных машин (ПДМ) с дистанционным управлением, позволяющих отрабатывать камеры с наклонным плоским днищем;
H = 322 м – средняя глубина отработки камерами; γ = 2,6 т/м³ - средняя плотность налегающих пород; β = 65÷75° - угол падения пород; i = 15÷20° - угол наклона шатровой формы кровли камеры. Допустимый эквивалентный размер кровли камеры (горизонтальное или наклонное по простиранию залежи):
где
Допустимый эквивалентный размер обнажения пород висячего бока (наклонное или вертикальное по простиранию залежи):
|
||||||||||||||||||||||||||||||||||||||||||||||||||||||||||||||||||||||||||||||||||||||||||||||||||||||||||||||||||||||||||||||||||||||||||||||||||||||||||||||||||||||||||||||||||||
|
ПРМ.ПД.04.02.02.ПЗ |
Арк 4 |
|||||||||||||||||||||||||||||||||||||||||||||||||||||||||||||||||||||||||||||||||||||||||||||||||||||||||||||||||||||||||||||||||||||||||||||||||||||||||||||||||||||||||||||||||||
|
Зм |
Арк. |
№ докум. |
Підпис |
Дата |
||||||||||||||||||||||||||||||||||||||||||||||||||||||||||||||||||||||||||||||||||||||||||||||||||||||||||||||||||||||||||||||||||||||||||||||||||||||||||||||||||||||||||||||||
|
20 Допустимый эквивалентный размер обнажения пород по вертикали (вкрест простирания залежи):
Связь допустимых эквивалентных размеров с размерами очистной камеры:
где а – ширина камеры, м; в – длина камеры, м; h – высота камеры, м; Исходя из этих зависимостей, находим линейные размеры камер, расположенных вкрест простирания:
ширина камеры
длина камеры
В связи с этим длина камеры не ограничивается. В соответствии с рекомендациями НИГРИ по отработке камер под предохранительным целиком и принятой технологии размеры очистных камер принимаются: ширина -15 м, высота до 39 м и длина – на всю мощность залежи. В условиях, где устойчивость обнажений очистного пространства не поддаётся расчётам из-за физико-механических свойств руды или вмещающих пород, руда оставляется в целиках. |
||||||||||||||||||||||||||||||||||||||||||||||||||||||||||||||||||||||||||||||||||||||||||||||||||||||||||||||||||||||||||||||||||||||||||||||||||||||||||||||||||||||||||||||||||||
|
ПРМ.ПД.04.02.02.ПЗ |
Арк 5 |
|||||||||||||||||||||||||||||||||||||||||||||||||||||||||||||||||||||||||||||||||||||||||||||||||||||||||||||||||||||||||||||||||||||||||||||||||||||||||||||||||||||||||||||||||||
|
Зм |
Арк. |
№ докум. |
Підпис |
Дата |
||||||||||||||||||||||||||||||||||||||||||||||||||||||||||||||||||||||||||||||||||||||||||||||||||||||||||||||||||||||||||||||||||||||||||||||||||||||||||||||||||||||||||||||||
|
21 2.4 Технология ведения горных работ 2.4.1 Выпуск руды из камер и доставка её к местам перепуска на нижележащий горизонт 640м Выпуск отбитой руды из камер осуществляется непосредственно на подошву погрузочного орта из его торца, примыкающего полным сечением к очистному пространству камеры. Истечение руды из камеры происходит за счёт собственного веса под углом 45÷50°. Высота выпускного отверстия при высоте орта 3,4 м будет составлять около 1м. Из этого следует, что, в основном, выход негабаритов ожидается размером до 1 м, что соответствует применяемому технологическому оборудованию, в частности, - подземной дробилке. Проектом предусматривается перепуск руды по восстающим сечениям 2,4×2,4 м (или диаметром 2,4 м), поэтому требуются специальные ограждения для предотвращения падения людей не менее 1,2 м. По условиям проветривания допускается дробление негабаритов взрывным способом непосредственно в забоях, при этом максимальный вес заряда 4,0 кг. Для складирования негабаритов предусматривается устройство специальных ниш через 5 м по длине орта с последующим дроблением негабаритов в междусменный перерыв. Указанные выработки погашаются совместно с погрузочно-доставочным ортом для увеличения площади выпуска. Для выпуска руды из камер и дост предусматривается применение погрузочных машин шведского производства ТОРО-400Е или других однотипных машин с соответствующими размерами и производительностью. Техническая характеристика ТОРО-400Е приводится в таблице 2.4.1 и на листе графической части 4. Таблица 2.4.1 - Техническая характеристика ТОРО-400Е
|
||||||||||||||||||||||||||||||||||||||||||||||||||||||||||||||||||||||||||||||||||||||||||||||||||||||||||||||||||||||||||||||||||||||||||||||||||||||||||||||||||||||||||||||||||||
|
ПРМ.ПД.04.02.02.ПЗ |
Арк 6 |
|||||||||||||||||||||||||||||||||||||||||||||||||||||||||||||||||||||||||||||||||||||||||||||||||||||||||||||||||||||||||||||||||||||||||||||||||||||||||||||||||||||||||||||||||||
|
Зм |
Арк. |
№ докум. |
Підпис |
Дата |
||||||||||||||||||||||||||||||||||||||||||||||||||||||||||||||||||||||||||||||||||||||||||||||||||||||||||||||||||||||||||||||||||||||||||||||||||||||||||||||||||||||||||||||||
|
22 Выпуск руды производится до того момента, пока не откроется выпускное отверстие, что свидетельствует об отсутствии руды в камере. При оборудовании погрузочно-доставочных машин дистанционным управлением уборка оставшейся от выпуска руды осуществляется непосредственно в очистном пространстве камеры с выносом ковша за выпускное отверстие и при обязательном нахождении машиниста в безопасном месте. Максимальная длина доставки руды (расстояние от выпускного отверстия до рудоперепуска) определяется длиной электрического кабеля на погрузочно-доставочной машине. Ориентировочно производительность погрузочно-доставочной машины принимается равной 387 тыс.т/год (692т/см). Для обеспечения заданной производительности необходимо иметь три машины в работе и одну в резерве. 2.4.3 Горнопроходческие работы Подготовка гор.330 м заключается в проходке штрека лежачего бока в осях 4с÷23ю и промежуточного штрек в осях 3ю÷9ю доставочных ортов: для камер первой очереди – на границах камер, для второй очереди – по центру камер. Для вскрытия горизонта 301 м необходимо пройти ходовой уклон лежачего бока с горизонта 340 м в осях 7с + 15÷11с и транспортно-ходовые уклоны (рампы) №1 и №2, которые проходятся с орта о висячего бока гор. 340 м до осей 11с и 11ю горизонта 301 м. Транспортно-ходовые уклоны №1 и №2 предназначаются для доставки самоходного оборудования на горизонт 301 м, доставки людей транспортными машинами F-66, канализации, электроэнергии, воды и целей вентиляции. Подготовка горизонта 301 м заключается в проходке штреков лежачего и висячего боков, буровых ортов по центру камер, проектируемых к отработке, промежуточных штреков по пустым породам, восстающих различного назначения. Проходка горизонтальных и наклонных выработок с углами наклона не более 10° осуществляется самоходными гидрофицированными машинами: буровыми каретками типа МОНОМАТИК ГС105Л (техническая характеристика приведена в таблице 2.4.2), также погрузочно-доставочными машинами ТОРО 151Е или ТОРО 400Е. |
||||||||||||||||||||||||||||||||||||||||||||||||||||||||||||||||||||||||||||||||||||||||||||||||||||||||||||||||||||||||||||||||||||||||||||||||||||||||||||||||||||||||||||||||||||
|
ПРМ.ПД.04.02.02.ПЗ |
Арк 7 |
|||||||||||||||||||||||||||||||||||||||||||||||||||||||||||||||||||||||||||||||||||||||||||||||||||||||||||||||||||||||||||||||||||||||||||||||||||||||||||||||||||||||||||||||||||
|
Зм |
Арк. |
№ докум. |
Підпис |
Дата |
||||||||||||||||||||||||||||||||||||||||||||||||||||||||||||||||||||||||||||||||||||||||||||||||||||||||||||||||||||||||||||||||||||||||||||||||||||||||||||||||||||||||||||||||
|
23 Таблица 2.4.2 - Техническая характеристика проходческой буровой каретки ГС 105 Л
Проходка круто-наклонных (свыше
30° ) и вертикальных выработок
осуществляется методами, общепринятыми
на ЗЖРК, при помощи проходческих
комплексов КПВ-1, комбайнами ГКВ,
«Роббинс» или «Рино», секционным
взрыванием. Все горизонтальные и
слабонаклонные выработки должны иметь
сводообразную форму ( 2.4.4. Крепление выработок. Крепление горных выработок осуществляется по паспортам, составляемым в соответствии с «ЕПБ при разработке месторождений подземным способом». Проектом принимаются следующие виды крепи в зависимости от крепости горных пород. 2.4.4.1. Крепление технологических выработок. При крепостях f=1÷3 по шкале проф. Протодьяконова штанги-анкера по сетке 0,7×0,7 м и набрызгбетон толщиной 50 мм, длина анкеров 1,5; при крепости f=3÷5 – анкера по сетке 1,0×1,0 м, длина 1,5, м, набрызгбетон толщиной 30÷50 мм; при крепости f>5 – выработки не крепятся. 2.4.4.2. Крепление буровых выработок и выработок доставки. При крепости f=1÷3 – штанговое крепление с металлической сеткой с установкой штанг 0,7×0,7 м и набрызгбетон 30÷50 мм, длина штанг 1,5 м; при f=4÷5 – штанги 1,0×1,0 м, набрызгбетон толщиной 30÷50 мм, длина штанг 1,5 м; при f=4÷6 – набрызгбетон 30÷50 мм; при f>6 – выработки не крепятся. Требуемый вид постоянного или временного крепления выработок, |
||||||||||||||||||||||||||||||||||||||||||||||||||||||||||||||||||||||||||||||||||||||||||||||||||||||||||||||||||||||||||||||||||||||||||||||||||||||||||||||||||||||||||||||||||||
|
ПРМ.ПД.04.02.02.ПЗ |
Арк 8 |
|||||||||||||||||||||||||||||||||||||||||||||||||||||||||||||||||||||||||||||||||||||||||||||||||||||||||||||||||||||||||||||||||||||||||||||||||||||||||||||||||||||||||||||||||||
|
Зм |
Арк. |
№ докум. |
Підпис |
Дата |
||||||||||||||||||||||||||||||||||||||||||||||||||||||||||||||||||||||||||||||||||||||||||||||||||||||||||||||||||||||||||||||||||||||||||||||||||||||||||||||||||||||||||||||||
|
24 величина отставания крепи от забоя устанавливаются в зависимости от конкретных горно-геологических условий. Все сопряжения вертикальных выработок с горизонтальными должны быть закреплены независимо от устойчивости пород. 2.4.5. Буровзрывные работы. Проектом предусматривается отбойка руды в камере двухслойной по высоте, камеры с опережающей отбойкой верхнего слоя наклонными верхними скважинами. Обуривание рудного массива камеры в пределах очистного пространства производится нисходящими (с гор.301 м) и восходящими (с гор. 330 м) комплексами скважин диаметром 76 мм. Концы скважин вееров, направленных в сторону закладочного массива, не добуриваются на 1 м в целях оставления рудной корки, предотвращающей показании закладки в руду. Расчёт параметров БВР: Для разбуривания рудного массива предусматривается применение самоходных гидрофицированных буровых установок СОЛО-Г1006РА с электрическим приводом , а также возможно применение станков НКР-100М. Характеристика буровой установки приводится в таблице 2.4.3. Таблице 2.4.3 - Техническая характеристика буровой установки СОЛО Г 1006 РА
|
||||||||||||||||||||||||||||||||||||||||||||||||||||||||||||||||||||||||||||||||||||||||||||||||||||||||||||||||||||||||||||||||||||||||||||||||||||||||||||||||||||||||||||||||||||
|
ПРМ.ПД.04.02.02.ПЗ |
Арк 9 |
|||||||||||||||||||||||||||||||||||||||||||||||||||||||||||||||||||||||||||||||||||||||||||||||||||||||||||||||||||||||||||||||||||||||||||||||||||||||||||||||||||||||||||||||||||
|
Зм |
Арк. |
№ докум. |
Підпис |
Дата |
||||||||||||||||||||||||||||||||||||||||||||||||||||||||||||||||||||||||||||||||||||||||||||||||||||||||||||||||||||||||||||||||||||||||||||||||||||||||||||||||||||||||||||||||
|
25 Отбойка руды в камерах предусматривается наклонными слоями на подошву очистного пространства с оставлением предохранительного надортового целика толщиной 5÷8 м, который отбивается восходящими веерами скважин диаметром 76 мм по мере отработки камеры. При отбойке наклонными слоями запасы камеры выше подортового целика отбиваются с опережением до 15 м по отношению к выпускному отверстию. Способ взрывания вееров скважин – электрический, схема взрывания – двойная последовательная или последовательно-параллельная с одной магистралью. Удельный расход ВВ принимается 0,45 кг/т. Выход руды с одного метра скважины – 6,5÷7,0 т/м. Величина недозарядов в веере принимается равной 0,3 общей длины скважины. Коммутация взрывных сетей должна осуществляться так, чтобы в одной ступени замедления масса заряда не превышала 1200 кг. 1) опережение отбойки руды верхней части камеры по отношению к выпускному отверстию:
Вертикальное:
где
h = 15м – высота отбиваемого слоя; g = 9,8 м/с2 - ускорение силы тяжести.
Горизонтальное:
где
|
||||||||||||||||||||||||||||||||||||||||||||||||||||||||||||||||||||||||||||||||||||||||||||||||||||||||||||||||||||||||||||||||||||||||||||||||||||||||||||||||||||||||||||||||||||
|
ПРМ.ПД.04.02.02.ПЗ |
Арк 10 |
|||||||||||||||||||||||||||||||||||||||||||||||||||||||||||||||||||||||||||||||||||||||||||||||||||||||||||||||||||||||||||||||||||||||||||||||||||||||||||||||||||||||||||||||||||
|
Зм |
Арк. |
№ докум. |
Підпис |
Дата |
||||||||||||||||||||||||||||||||||||||||||||||||||||||||||||||||||||||||||||||||||||||||||||||||||||||||||||||||||||||||||||||||||||||||||||||||||||||||||||||||||||||||||||||||
|
26
расстояние между веерами скважин……………………………..1,8 м расстояние между концами скважин……………………………..1,8 м диаметр скважин…………………………………………………..76 мм удельный расход ВВ……………………………………………..0,45 кг/т опережение отбойки верхней части камеры по отношению к выпускному отверстию…………………………………………………………до 15 м масса ВВ в одном метре скважины при плотности заряжания 1,1…4,5 кг масса ВВ в одной ступени замедления при короткозамедленном взрывании………………………………………………………….1200 кг выход руды с одного метра скважины ………………………….6,5 т/м. 2) Высота надортового целика:
где k = 5 – запас прочности; d = 0,076 м – диаметр применяемых скважин; b - величина свода естественного равновесия, определяется по формуле:
где a = 1,85 м – полупролет ширины выработки; β.= 75° - угол внутреннего трения пород;
Рассчитанная высота целика проверяется на сдвиг от веса отбитой руды, находящейся на целике.
Временное сопротивление
скалыванию P>s>>
>> >составит
6÷8% прочности на сжатие (P
При коэффициенте крепости f =
4 прочность на сжатие:
Несущая способность целика ( N ) высотой 6,5 м составит: N = 2P·l·h = 2 ·24·1500·650 = 46000т; (2.17) |
||||||||||||||||||||||||||||||||||||||||||||||||||||||||||||||||||||||||||||||||||||||||||||||||||||||||||||||||||||||||||||||||||||||||||||||||||||||||||||||||||||||||||||||||||||
|
ПРМ.ПД.04.02.02.ПЗ |
Арк 11 |
|||||||||||||||||||||||||||||||||||||||||||||||||||||||||||||||||||||||||||||||||||||||||||||||||||||||||||||||||||||||||||||||||||||||||||||||||||||||||||||||||||||||||||||||||||
|
Зм |
Арк. |
№ докум. |
Підпис |
Дата |
||||||||||||||||||||||||||||||||||||||||||||||||||||||||||||||||||||||||||||||||||||||||||||||||||||||||||||||||||||||||||||||||||||||||||||||||||||||||||||||||||||||||||||||||
|
27 где l = 15 м длина, в контурах которой находится отбитая руда. Давление столба отбитой руды (P) на площадь целика составит:
где
Коэффициент запаса прочности в целике составит:
2.4.6. Очистные работы. Все месторождения в осях 11с÷26ю разбивается на технологические участки, в зависимости от мощности рудного тела. Первоначальное вовлечение в очистную выемку рудных запасов производится в осях 11с÷0 (камеры 2/10с, 1/3с, 2/9с, 1/8с, 1/7с, 1/2с, 2/2с, 1/1с, 2/1с). Целик между одновременно отрабатываемыми камерами должен быть не менее 30 м. В технологическом участие 0÷9ю месторождение разбивается на две панели – лежачего и висячего боков, т.к. здесь рудные тела разобщены пустыми породами. Первоначальная отработка камеры производится с висячего бока, затем с лежачего. В соответствии с проектом ЗЖРК, разработанным УкрНИИ Проект, общие эксплуатационные потери принимаются 10% и засорение 1%. 2.4.7. Закладочные работы. Закладка камер должна производится сразу же после её отработки в максимально короткие сроки. Максимальная крепость шлако-доломитной закладки проектом принимается не ниже 3МПа в трёхмесячном возрасте. Минимальная прочность при плотности налегающих пород 2,5 т/м³, на глубине отметки 301 м принята 10% максимальной, или 3МПа (в соответствии с рекомендациями [13] ). При отработке запасов должен быть постоянно в рабочем состоянии пульпопроводы от закладочного цеха до отрабатываемых камер, которые монтируются до начала отработки. Перед началом закладки камеры необходимо принять меры по изоляции камеры от действующих выработок. |
||||||||||||||||||||||||||||||||||||||||||||||||||||||||||||||||||||||||||||||||||||||||||||||||||||||||||||||||||||||||||||||||||||||||||||||||||||||||||||||||||||||||||||||||||||
|
ПРМ.ПД.04.02.02.ПЗ |
Арк 12 |
|||||||||||||||||||||||||||||||||||||||||||||||||||||||||||||||||||||||||||||||||||||||||||||||||||||||||||||||||||||||||||||||||||||||||||||||||||||||||||||||||||||||||||||||||||
|
Зм |
Арк. |
№ докум. |
Підпис |
Дата |
||||||||||||||||||||||||||||||||||||||||||||||||||||||||||||||||||||||||||||||||||||||||||||||||||||||||||||||||||||||||||||||||||||||||||||||||||||||||||||||||||||||||||||||||
|
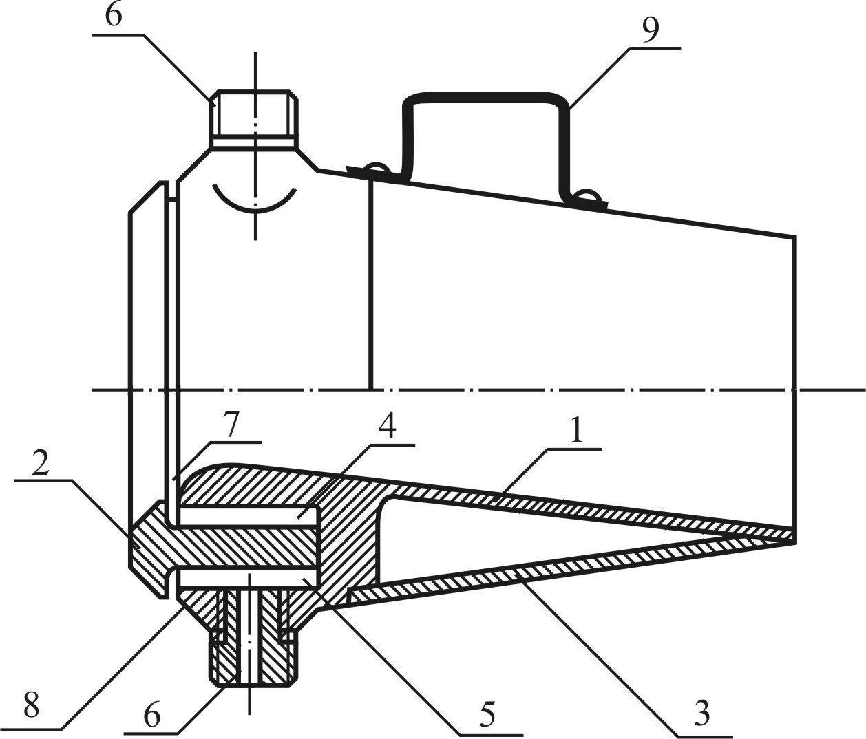
28 Одним из способов изоляции очистного пространства является создание завальных перемычек с помощью ПДМ, которые укладываются со стороны камеры фильтрационным материалом для предотвращения притока воды из закладочной смеси. Закладку необходимо производить с остановками: до достижения уровней закладочной смеси гребня перемычки и выше не более 2 м. 2.5. Технологическая схема транспорта На горизонте 330 м руда транспортируется погрузочно-доставочными машинами по системе буровых и откаточных выработок от места выпуска до рудоперепускных восстающих, проведённых, на гор. 640 м, где поступающая руда вливается в общий грузопоток шахты. Количество рудоперепусков определяется, исходя из горных условий и длины транспортировки руды машинами, зависящей от длины питающего кабеля (120 м). Основным откаточным горизонтом является горизонт 640 м, где поступающая из рудоперепусков руда погружается при помощи виброустановок ВВДР-5 или ПШВ-6 (рисунок 2.8.1) в вагонетки и по кольцевой схеме откатки транспортируется электровозами К-14 к грузовым стволам, где грузится при помощи опрокидывателей в скипы грузоподъемностью 25 т и выдаётся на поверхность. Технические данные электровозов и вагонеток приведены в таблицах 2.5.1 и 2.5.2 Таблица 2.5.1 - Технические характеристики вагонеток ВГ-4,5 и ВГ-9
|
||||||||||||||||||||||||||||||||||||||||||||||||||||||||||||||||||||||||||||||||||||||||||||||||||||||||||||||||||||||||||||||||||||||||||||||||||||||||||||||||||||||||||||||||||||
|
ПРМ.ПД.04.02.02.ПЗ |
Арк 13 |
|||||||||||||||||||||||||||||||||||||||||||||||||||||||||||||||||||||||||||||||||||||||||||||||||||||||||||||||||||||||||||||||||||||||||||||||||||||||||||||||||||||||||||||||||||
|
Зм |
Арк. |
№ докум. |
Підпис |
Дата |
||||||||||||||||||||||||||||||||||||||||||||||||||||||||||||||||||||||||||||||||||||||||||||||||||||||||||||||||||||||||||||||||||||||||||||||||||||||||||||||||||||||||||||||||
|
29 Таблица 2.5.2 - Технические характеристики электровозов К-10 и К-14
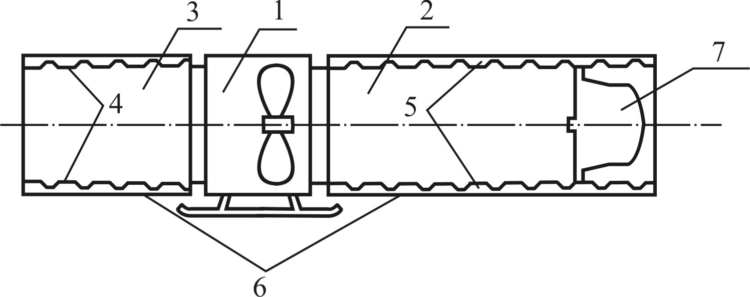
Расчёт электровозной откатки
Рисунок 2.5.1 – Схема откатки руды на гор.640м 1. Определение средних уклонов маршрутов и средневзвешенного уклона:
|
||||||||||||||||||||||||||||||||||||||||||||||||||||||||||||||||||||||||||||||||||||||||||||||||||||||||||||||||||||||||||||||||||||||||||||||||||||||||||||||||||||||||||||||||||||
|
ПРМ.ПД.04.02.02.ПЗ |
Арк 14 |
|||||||||||||||||||||||||||||||||||||||||||||||||||||||||||||||||||||||||||||||||||||||||||||||||||||||||||||||||||||||||||||||||||||||||||||||||||||||||||||||||||||||||||||||||||
|
Зм |
Арк. |
№ докум. |
Підпис |
Дата |
||||||||||||||||||||||||||||||||||||||||||||||||||||||||||||||||||||||||||||||||||||||||||||||||||||||||||||||||||||||||||||||||||||||||||||||||||||||||||||||||||||||||||||||||
|
30 где i1 – 2, i2 – 3, i3 – 4, i4 – 5, i5 – 6 – уклоны на соответствующих участках маршрутов; L1 – 2, L2 – 3, L3 – 4, L4 – 5, L5 – 6 – длины соответствующих участков маршрутов; A1, A2, A3 – производительность погрузочных пунктов, т/смену; А – общая производительность погрузочных пунктов, т/смену. Определение длин маршрутов
Определение средневзвешенной длины откатки
2. Выбор состава а) вес состава по сцепному весу
где Р – вес электровоза, кг; Z – число вагонеток в составе; G – вес груза в вагонетке, кг; G0 – собственный вес вагонетки, кг;
Ψ=0,25 – коэффициент сцепления; i – уклон пути; j0 – минимальное пусковое ускорение, м/сек². б) вес состава по нагреву тяговых двигателей
Здесь
Где Fдл – длительная сила тяги электровоза, кг; а – коэффициент, учитывающий работу двигателя во время манёвров; при L=1-2км, а=1,25; τ – характеристика тягового режима; ω´ - коэффициент сопротивления движению состава вагонеток. в) вес состава по допустимому тормозному пути
|
||||||||||||||||||||||||||||||||||||||||||||||||||||||||||||||||||||||||||||||||||||||||||||||||||||||||||||||||||||||||||||||||||||||||||||||||||||||||||||||||||||||||||||||||||||
|
ПРМ.ПД.04.02.02.ПЗ |
Арк 15 |
|||||||||||||||||||||||||||||||||||||||||||||||||||||||||||||||||||||||||||||||||||||||||||||||||||||||||||||||||||||||||||||||||||||||||||||||||||||||||||||||||||||||||||||||||||
|
Зм |
Арк. |
№ докум. |
Підпис |
Дата |
||||||||||||||||||||||||||||||||||||||||||||||||||||||||||||||||||||||||||||||||||||||||||||||||||||||||||||||||||||||||||||||||||||||||||||||||||||||||||||||||||||||||||||||||
|
31 где jт – тормозное ускорение, м/сек²;
г) число вагонеток в составе
3. Определение тормозного пути при экстренном торможении гружёного состава под уклон
а)
где
k – коэффициент нажатия; м – коэффициент тормозных масс.
4. Определение продолжительности рейса
а)
б)
где Тр – продолжительность рейса, мин; Тдв – продолжительность движения; tм – продолжительность манёвров; tп – продолжительность стоянок. 5. Определение числа возможных рейсов и производительности одного электровоза
а)
где Т – продолжительность работы электровоза в смену, часов; б) возможная производительность электровоза
|
||||||||||||||||||||||||||||||||||||||||||||||||||||||||||||||||||||||||||||||||||||||||||||||||||||||||||||||||||||||||||||||||||||||||||||||||||||||||||||||||||||||||||||||||||||
|
ПРМ.ПД.04.02.02.ПЗ |
Арк 16 |
|||||||||||||||||||||||||||||||||||||||||||||||||||||||||||||||||||||||||||||||||||||||||||||||||||||||||||||||||||||||||||||||||||||||||||||||||||||||||||||||||||||||||||||||||||
|
Зм |
Арк. |
№ докум. |
Підпис |
Дата |
||||||||||||||||||||||||||||||||||||||||||||||||||||||||||||||||||||||||||||||||||||||||||||||||||||||||||||||||||||||||||||||||||||||||||||||||||||||||||||||||||||||||||||||||
|
32
7. Определение числа электровозов в работе и действительной производительности електровоза. а) число электровозов в работе
где k=1,25 – коэффициент неравномерности поступления груза б) действительная производительность электровоза
2.6 Вентиляция рудника Проветривание горных работ, производимых под предохранительным целиком, осуществляется по постоянной схеме и является составной частью единой общешахтной фланговой системы вентиляции. 2.6.1 Определение количества воздуха необходимого для проветривания очистных выработок Количества воздуха для проветривания очистных выработок определяем по следующим факторам: по разжижению газов от взрывных работ при вторичном дроблении, по выносу пыли при минимальной скорости воздушной струи и по количеству людей. Количество воздуха для очистного забоя по разжижению газов от взрывных работ при вторичном дроблении
где n = 1 – количество выработок, где происходит выпуск руды:
где
|
||||||||||||||||||||||||||||||||||||||||||||||||||||||||||||||||||||||||||||||||||||||||||||||||||||||||||||||||||||||||||||||||||||||||||||||||||||||||||||||||||||||||||||||||||||
|
ПРМ.ПД.04.02.02.ПЗ |
Арк 17 |
|||||||||||||||||||||||||||||||||||||||||||||||||||||||||||||||||||||||||||||||||||||||||||||||||||||||||||||||||||||||||||||||||||||||||||||||||||||||||||||||||||||||||||||||||||
|
Зм |
Арк. |
№ докум. |
Підпис |
Дата |
||||||||||||||||||||||||||||||||||||||||||||||||||||||||||||||||||||||||||||||||||||||||||||||||||||||||||||||||||||||||||||||||||||||||||||||||||||||||||||||||||||||||||||||||
|
33
газовыделение которого равно
сумме газовыделений из отбитой руды
и от взрываемого заряда ВВ при вто
где
где S = 11,4 м² - сечение в свету l = 70 м – длина выработки выпуска;
c = 0,008 г/м³ - предельно допустимая концентрация СО; b = 40 л/кг – количество газов, выделяющихся при взрыве 1 кг ВВ;
Количество воздуха для очистного забоя по выносу пыли при минимальной скорости воздушной струи
где V = 0,5 м/с – минимальная скорость воздуха в очистной выработки по «ЕПБ при взрывных работах» [9]. Количество воздуха для очистного забоя по числу людей:
|
||||||||||||||||||||||||||||||||||||||||||||||||||||||||||||||||||||||||||||||||||||||||||||||||||||||||||||||||||||||||||||||||||||||||||||||||||||||||||||||||||||||||||||||||||||
|
ПРМ.ПД.04.02.02.ПЗ |
Арк 18 |
|||||||||||||||||||||||||||||||||||||||||||||||||||||||||||||||||||||||||||||||||||||||||||||||||||||||||||||||||||||||||||||||||||||||||||||||||||||||||||||||||||||||||||||||||||
|
Зм |
Арк. |
№ докум. |
Підпис |
Дата |
||||||||||||||||||||||||||||||||||||||||||||||||||||||||||||||||||||||||||||||||||||||||||||||||||||||||||||||||||||||||||||||||||||||||||||||||||||||||||||||||||||||||||||||||
|
34 Так, как скорость, рекомендованная ЕПБ, для воздушной струи в очистной тупиковой выработке, не является оптимальной, для расчётов принимается количество воздуха, взятое по выделению газов при взрывных работах вторичного дробления, как по основополагающему фактору.
Принимаем
2.6.2 Выбор вентилятора местного проветривания Проветривание погрузочно-доставочных и буровых выработок осуществляется за счёт общешахтной депрессии или с помощью вентиляторов местного проветривания. Вентилятор местного проветривания устанавливаем в вентиляционной сбойке между погрузочным и буровым ортами камеры у вентиляционного восстающего. Также принимаем: способ проветривания – отсасывающий, отставание вентиляционного трубопровода от места выпуска руды - 2 м (при развитии очистных работ вентиляционных трубопровод укорачивается, снижая тем самым депрессию и повышая подачу вентилятора), применяемый трубопровод – металлический, диаметром 0,5 м. Необходимая производительность вентилятора:
где
n = 1 – коэффициент, учитывающий натяжение вентиляционного трубопровода. Максимальная депрессия трубопровода:
где α = 0,00035 - коэффициент аэродинамического сопротивления трубопровода; p = 1,12 – коэффициент потерь по длине трубопровода; l = 100 м – максимальная длина трубопровода; α = 0,5 м – диаметр трубопровода; Наиболее близким по необходимой подаче и депрессии принимается вентилятор СВМ-6 м, который согласно его аэродинамической характеристике (приводится в приложение Б) при депрессии 1886 Па развивает подачу 5,7 м³/с. |
||||||||||||||||||||||||||||||||||||||||||||||||||||||||||||||||||||||||||||||||||||||||||||||||||||||||||||||||||||||||||||||||||||||||||||||||||||||||||||||||||||||||||||||||||||
|
ПРМ.ПД.04.02.02.ПЗ |
Арк 19 |
|||||||||||||||||||||||||||||||||||||||||||||||||||||||||||||||||||||||||||||||||||||||||||||||||||||||||||||||||||||||||||||||||||||||||||||||||||||||||||||||||||||||||||||||||||
|
Зм |
Арк. |
№ докум. |
Підпис |
Дата |
||||||||||||||||||||||||||||||||||||||||||||||||||||||||||||||||||||||||||||||||||||||||||||||||||||||||||||||||||||||||||||||||||||||||||||||||||||||||||||||||||||||||||||||||
|
35 При подаче этого количества воздуха в забой сечением 11,4 м², скорость воздуха составит:
что удовлетворяет поставленным требованием.. 2.6.3 Определение количества воздуха необходимого для проветривания подготовительного забоя Количество воздуха для проветривания подготовительного забоя определяем по следующим факторам: по разжижению газов до норм ПБ после взрывных работ, по выносу пыли из забоя и по числу людей. Расчёт количества воздуха для подготовительного забоя по разжижению газов до норм ПБ после взрывных работ:
где S = 11,4 м² - сечение выработки; t = 1800 с – заданное время проветривания;
А = 30 кг – заряд ВВ на 1 м² выработки. Расчёт количества воздуха для подготовительного забоя по выносу пыли из забоя:
где
Количество воздуха для подготовительного забоя по числу людей:
Принимаем
|
||||||||||||||||||||||||||||||||||||||||||||||||||||||||||||||||||||||||||||||||||||||||||||||||||||||||||||||||||||||||||||||||||||||||||||||||||||||||||||||||||||||||||||||||||||
|
ПРМ.ПД.04.02.02.ПЗ |
Арк 20 |
|||||||||||||||||||||||||||||||||||||||||||||||||||||||||||||||||||||||||||||||||||||||||||||||||||||||||||||||||||||||||||||||||||||||||||||||||||||||||||||||||||||||||||||||||||
|
Зм |
Арк. |
№ докум. |
Підпис |
Дата |
||||||||||||||||||||||||||||||||||||||||||||||||||||||||||||||||||||||||||||||||||||||||||||||||||||||||||||||||||||||||||||||||||||||||||||||||||||||||||||||||||||||||||||||||
|
36 2.6.4 Расчёт количества воздуха при применении дизельных машин В одновременной работе на одном горизонте предполагается иметь две самоходные машины с дизельным проводом: транспортную F-66 с двигателем мощностью 44 кВт и буровую МОНОМАТИК ГС105Л с ходовым двигателем мощностью 42 кВт, которая при работающем дизеле транспортируется из забоя в забой. Указанные машины будут постоянно находиться в выработках со сквозной вентиляционной струёй, создаваемой общешахтной депрессией. Количество воздуха для транспортной машины:
где N = 60 л.с. (44 кВт) – мощность двигателя; g = 5 м³/мин = 0,08 м³/с – норматив подачи воздуха на 1 л.с. Количество воздуха для буровой каретки:
где N = 57,5 л.с. (42 кВт) – мощность двигателя. 2.6.5 Расчёт общего количества воздуха для проветривания этажа 301÷330 м При заданной производительности по добыче руды с проектируемого этажа в 1 млн. т в год в одновременной работе необходимо иметь четыре очистных забоя; три забоя в проходке; два орта для бурения глубоких скважин; две машины с дизельным приводом, передвигающихся по своей струе (транспортная машина и буровая каретка); пять электромашинных и других хозяйственных камер, проветриваемых за счёт общешахтной депрессии из расчёт 4-х кратного обмена воздуха в газ. Итоговые результаты расчётов расхода воздуха для проветривания этажа 301÷330 м сводятся в таблицу 2.6.1. |
||||||||||||||||||||||||||||||||||||||||||||||||||||||||||||||||||||||||||||||||||||||||||||||||||||||||||||||||||||||||||||||||||||||||||||||||||||||||||||||||||||||||||||||||||||
|
ПРМ.ПД.04.02.02.ПЗ |
Арк 21 |
|||||||||||||||||||||||||||||||||||||||||||||||||||||||||||||||||||||||||||||||||||||||||||||||||||||||||||||||||||||||||||||||||||||||||||||||||||||||||||||||||||||||||||||||||||
|
Зм |
Арк. |
№ докум. |
Підпис |
Дата |
||||||||||||||||||||||||||||||||||||||||||||||||||||||||||||||||||||||||||||||||||||||||||||||||||||||||||||||||||||||||||||||||||||||||||||||||||||||||||||||||||||||||||||||||
|
37 Таблица 2.6.1 – Результаты расхода воздуха
2.6.7 Расчёт депрессии горизонта
Рассчитывается максимальная
депрессия для горизонта погрузки
руды, принимая во внимание расчётную
депрессию шахты (вентиляторной
установки Дренажного вентиляционного
ствола) принятую по данным ЗЖРК и
равную
Депрессия горизонта определяется как сумма депрессии выработок направления максимальной депрессии. За направление максимальной депрессии принимается то, суммарная длина выработок которого имеет наибольшую величину. Депрессия i-ой выработки рассчитывается по формуле:
где
Коэффициент α берётся из таблицы справочников [2] и [10].
|
||||||||||||||||||||||||||||||||||||||||||||||||||||||||||||||||||||||||||||||||||||||||||||||||||||||||||||||||||||||||||||||||||||||||||||||||||||||||||||||||||||||||||||||||||||
|
ПРМ.ПД.04.02.02.ПЗ |
Арк 22 |
|||||||||||||||||||||||||||||||||||||||||||||||||||||||||||||||||||||||||||||||||||||||||||||||||||||||||||||||||||||||||||||||||||||||||||||||||||||||||||||||||||||||||||||||||||
|
Зм |
Арк. |
№ докум. |
Підпис |
Дата |
||||||||||||||||||||||||||||||||||||||||||||||||||||||||||||||||||||||||||||||||||||||||||||||||||||||||||||||||||||||||||||||||||||||||||||||||||||||||||||||||||||||||||||||||
|
38 Аналогично рассчитываем для остальных участков маршрута. Результаты расчёта депрессии приводятся в таблице 2.6.2. Таблица 2.6.2 - Расчёт депрессии горизонта 330 м
|
||||||||||||||||||||||||||||||||||||||||||||||||||||||||||||||||||||||||||||||||||||||||||||||||||||||||||||||||||||||||||||||||||||||||||||||||||||||||||||||||||||||||||||||||||||
|
ПРМ.ПД.04.02.02.ПЗ |
Арк 23 |
|||||||||||||||||||||||||||||||||||||||||||||||||||||||||||||||||||||||||||||||||||||||||||||||||||||||||||||||||||||||||||||||||||||||||||||||||||||||||||||||||||||||||||||||||||
|
Зм |
Арк. |
№ докум. |
Підпис |
Дата |
||||||||||||||||||||||||||||||||||||||||||||||||||||||||||||||||||||||||||||||||||||||||||||||||||||||||||||||||||||||||||||||||||||||||||||||||||||||||||||||||||||||||||||||||
|
39
848<3290 – условие соблюдается. 2.6.8 Построение АД характеристики шахтной сети Депрессия вентилятора:
где
Подача вентиляторной установки:
где
Аэродинамическое сопротивление шахтной сети: |
||||||||||||||||||||||||||||||||||||||||||||||||||||||||||||||||||||||||||||||||||||||||||||||||||||||||||||||||||||||||||||||||||||||||||||||||||||||||||||||||||||||||||||||||||||
|
ПРМ.ПД.04.02.02.ПЗ |
Арк 24 |
|||||||||||||||||||||||||||||||||||||||||||||||||||||||||||||||||||||||||||||||||||||||||||||||||||||||||||||||||||||||||||||||||||||||||||||||||||||||||||||||||||||||||||||||||||
|
Зм |
Арк. |
№ докум. |
Підпис |
Дата |
||||||||||||||||||||||||||||||||||||||||||||||||||||||||||||||||||||||||||||||||||||||||||||||||||||||||||||||||||||||||||||||||||||||||||||||||||||||||||||||||||||||||||||||||
|
40
Для построения АД характеристики шахтной сети составляем таблицу по формуле:
2.7 Организация работ на добычном участке Штат промышленно-производственного персонала на добычном участке, занимающимся отработкой части запасов потолочины в этаже 301÷330 м составляет 33 человека, в их числе: машинисты ПДМ V разряда – 6 человек; машинисты БУ IV, V разрядов – 3 человека; машинисты ПШВ III, IV разрядов – 6 человек; горнорабочие III, IV разрядов – 12 человек; подземный электрослесарь IV разряда – 3 человека; подземный электросварщик IV разряда – 3 человека. Примечание. Машинисты ПДМ имеют право на ведение взрывных работ на вторичном дроблении. Количество добычных смен в сутки – 3 смены. В состав смены входит горный мастер, 2 машиниста ПДМ, 1 машинист БУ, 2 машиниста ПШВ, 4 горнорабочих, подземный электрослесарь, подземный электрогазосварщик. Продолжительность рабочей смены принимается, как и для всего комбината – 7 часов 20 минут. Основными операциями при добыче руды на участке являются погрузка руды в рудоперепуски, бурение скважин при обуривании массива руды в камерах, текущий ремонт электрооборудования и установок, выпуск и погрузка руды в вагоны. 2.8 Охрана труда. 2.8.1 Анализ условий труда, вредных и опасных производственных факторов К вредным производственным факторам с которыми придется столкнуться при введении проекта в производство относятся: запылённость, газы от взрывных работ, производственный шум и вибрации. |
||||||||||||||||||||||||||||||||||||||||||||||||||||||||||||||||||||||||||||||||||||||||||||||||||||||||||||||||||||||||||||||||||||||||||||||||||||||||||||||||||||||||||||||||||||
|
ПРМ.ПД.04.02.02.ПЗ |
Арк 25 |
|||||||||||||||||||||||||||||||||||||||||||||||||||||||||||||||||||||||||||||||||||||||||||||||||||||||||||||||||||||||||||||||||||||||||||||||||||||||||||||||||||||||||||||||||||
|
Зм |
Арк. |
№ докум. |
Підпис |
Дата |
||||||||||||||||||||||||||||||||||||||||||||||||||||||||||||||||||||||||||||||||||||||||||||||||||||||||||||||||||||||||||||||||||||||||||||||||||||||||||||||||||||||||||||||||
|
41 К опасным производственным факторам относятся: прорыв воды в действующие выработки, обводнение отбитой руды, обрушение горных пород и падение людей в горные выработки (восстающие, рудоперепуски). В соответствии с требованиями предельно допустимые концентрации вредных веществ должны определятся при t=20С, атмосферном давлении 0,1 МПа и влажности 50%. Предельно допустимые концентрации газов по объёму: окиси азота NО2 – 0,00026; окиси углерода CО – 0,0017; ангидрид сернистый SО2 – 0,00038; сероводород H2S –0,00071. Кроме того, в составе рудничного воздуха допускается наличие углекислого газа СО2 на рабочем месте не более 0,5%, в выработках с общей исходящей струёй – 0,75%. Содержание пыли в воздухе на месте постоянного или временного пребывания работающего в процессе трудовой деятельности не должно превышать 0,3 ПДК, установленной для этих рабочих мест. 2.8.2 Инженерные мероприятия по охране труда 2.8.2.1 Мероприятия по производственной санитарии 1) Меры по снижению запыленности рудничного воздуха. Проектом предусматривается комплекс мер по орошению пылеопасных участков при выпуске и погрузке руды погрузочно-доставочными машинами и виброустановками ПШВ-6. Система обеспыливания виброустановки показана на рис.2.8.1. Техническая характеристика системы обеспыливания виброустановки: Расход воды, л/мин……………………………………………20-40Давление воды, МПа: минимальное…………………………………………0,4 максимальное…………………………………………..2 Проходные диаметры напорных рукавов для воды, мм………15 Количество напорных рукавов………………………………….3 Снижение запылённости, раз…………………………………..3-5 Масса узлов, кг: вибрационного клапана………………………………24 увлажнителя…………………………………………..14 |
||||||||||||||||||||||||||||||||||||||||||||||||||||||||||||||||||||||||||||||||||||||||||||||||||||||||||||||||||||||||||||||||||||||||||||||||||||||||||||||||||||||||||||||||||||
|
ПРМ.ПД.04.02.02.ПЗ |
Арк 26 |
|||||||||||||||||||||||||||||||||||||||||||||||||||||||||||||||||||||||||||||||||||||||||||||||||||||||||||||||||||||||||||||||||||||||||||||||||||||||||||||||||||||||||||||||||||
|
Зм |
Арк. |
№ докум. |
Підпис |
Дата |
||||||||||||||||||||||||||||||||||||||||||||||||||||||||||||||||||||||||||||||||||||||||||||||||||||||||||||||||||||||||||||||||||||||||||||||||||||||||||||||||||||||||||||||||
|
42
Рис. 2.8.1 Схема расположения оборудования системы обеспыливания виброустановок.1 – вибрационный клапан; 2 – форсунки; 3 – увлажнитель; 4 – водяная магистраль. Также для снижения запылённости в призабойном пространстве проектом предусматривается снабдить наконечники трубопроводов сжатого воздуха эжекторами типа ЭПД (двойной) (Рисунок 2.8.2). Эжектор предназначен для турбулизации атмосферы призабойного пространства и повышения коэффициента доставки воздуха в забой горно-капитальных и подготовительных выработок, для создания усиленного кратковременного режима проветривания выработок горизонта доставки, для проветривания буровых и камерных выработок. |
||||||||||||||||||||||||||||||||||||||||||||||||||||||||||||||||||||||||||||||||||||||||||||||||||||||||||||||||||||||||||||||||||||||||||||||||||||||||||||||||||||||||||||||||||||
|
ПРМ.ПД.04.02.02.ПЗ |
Арк 27 |
|||||||||||||||||||||||||||||||||||||||||||||||||||||||||||||||||||||||||||||||||||||||||||||||||||||||||||||||||||||||||||||||||||||||||||||||||||||||||||||||||||||||||||||||||||
|
Зм |
Арк. |
№ докум. |
Підпис |
Дата |
||||||||||||||||||||||||||||||||||||||||||||||||||||||||||||||||||||||||||||||||||||||||||||||||||||||||||||||||||||||||||||||||||||||||||||||||||||||||||||||||||||||||||||||||
|
43
1 – корпус; 2 – насадок кольцевой; 3 – кожух; 4 – камера кольцевая внутренняя; 5 - камера кольцевая внешняя; 6 – штуцер; 7 – сопло кольцевое внутреннее; 8 - сопло кольцевое внешнее; 9 – ручка. Рисунок 2.8.2 Пневматический эжектор ЭПДТехническая характеристика: Производительность, м³/спри работе на трубопроводе…….............................................3,2при работе в сквозной выработке………………………….10,2 Диаметр трубопровода, мм……………………………………400 Полное давление воздуха на выходе из эжектора, кПа……...2,5 Расход сжатого воздуха, м³/с………………………………………...0,22 Коэффициент эжекции……………………………………..15,6/45,0* Уровень звука ,дБА, не более………………………………….85 Размеры эжектора, мм: максимальный диаметр…………………………………….250 диаметр на выходе………………………………………….210 длина…………………………………………………………340 Диаметр сопла, мм…………………………………………166/234** Ширина сопла, мм…………………………………………..0,2/0,2** Длина камеры смешивания, мм……………………………….310 Масса, кг………………………………………………………..10,0 * числитель – коэффициент эжекции при работе на трубопровод, знаменатель - коэффициент эжекции при работе в выработке; ** числитель – размеры внутреннего сопла, знаменатель – размеры внешнего сопла. |
||||||||||||||||||||||||||||||||||||||||||||||||||||||||||||||||||||||||||||||||||||||||||||||||||||||||||||||||||||||||||||||||||||||||||||||||||||||||||||||||||||||||||||||||||||
|
ПРМ.ПД.04.02.02.ПЗ |
Арк 28 |
|||||||||||||||||||||||||||||||||||||||||||||||||||||||||||||||||||||||||||||||||||||||||||||||||||||||||||||||||||||||||||||||||||||||||||||||||||||||||||||||||||||||||||||||||||
|
Зм |
Арк. |
№ докум. |
Підпис |
Дата |
||||||||||||||||||||||||||||||||||||||||||||||||||||||||||||||||||||||||||||||||||||||||||||||||||||||||||||||||||||||||||||||||||||||||||||||||||||||||||||||||||||||||||||||||
|
44 2) Меры по борьбе с производственным шумом.Предусматривается комплекс мер активного и пассивного характера: применение малошумящего оборудования (буровых кареток, вентиляторов местного проветривания с глушителем шума (рисунок 2.8.3) и пользование средствами индивидуальной защиты (беруши).
Рисунок 2.8.2 – Глушитель шума ГШ-6 для вентилятора местного проветривания СВМ-6М 1 - вентилятор местного проветривания СВМ-6М; - корпус глушителя на всасе вентилятора; - корпус глушителя на выбросе вентилятора; - внутренний перфорированный цилиндр; - звукопоглотитель; - внешний (сплошной) цилиндр из листового метала; - перфорированный цилиндрический элемент, заполненный звуко-поглотителем. Масса комплекта глушителей – 120 кг. Шум вентиляторов с глушителем, установленных в горной выработке, равен 84-88 дБ на расстоянии 10 м. При установке глушителей потери полного давления и подачи вентилятора не превышают 5%. 2.8.2.1 Мероприятия по технике безопасности 1) Меры по предупреждению падения людей в горные выработки Для предохранения людей, работающих в очистных выработках, от падения в рудоперепускные восстающие, предусматривается установка ограждений типа ОРВ (ограждение рудосвалочных восстающих) Схема расположения ограждения приводится на рис.2.8.3. |
||||||||||||||||||||||||||||||||||||||||||||||||||||||||||||||||||||||||||||||||||||||||||||||||||||||||||||||||||||||||||||||||||||||||||||||||||||||||||||||||||||||||||||||||||||
|
ПРМ.ПД.04.02.02.ПЗ |
Арк 29 |
|||||||||||||||||||||||||||||||||||||||||||||||||||||||||||||||||||||||||||||||||||||||||||||||||||||||||||||||||||||||||||||||||||||||||||||||||||||||||||||||||||||||||||||||||||
|
Зм |
Арк. |
№ докум. |
Підпис |
Дата |
||||||||||||||||||||||||||||||||||||||||||||||||||||||||||||||||||||||||||||||||||||||||||||||||||||||||||||||||||||||||||||||||||||||||||||||||||||||||||||||||||||||||||||||||
|
45
Рисунок 2.8.4 Ограждение рудоперепускного восстающего ОРВ 1 – рама ограждения; 2 – ограждающая решетка; 3 – грохотная решетка; 4 – ковш погрузочной машины; 5 – рудоперепуск. Техническая характеристика: Габаритные размеры ограждения, мм……………………...1200х3000х3000 Площадь поперечного сечения проходного отверстия, м²………3,2 Форма проходного отверстия…………………………………П-образная Масса комплекта, кг, не более…………………………………….400 2) Мероприятия по предотвращению прорыва воды в действующее выработке, а также по предупреждению обводнения отбитой руды. Включают следующие меры: тампонация всех пересекающихся с действующими выработками гидрогеологических, разведочных и других скважин; осушение (дренирование) рудного массива, подлежащего отработке; запрещение горных работ при признаках самообрушений в камерах или резкого водопритока. 2.8.2.2 Меры пожарной безопасности Проектом предусматриваются следующие мероприятия: оборудуется передвижной аварийный склад противопожарных материалов; погрузочно-доставочные машины оборудуются электрозащитой, сухими углекислотными или порошковыми огнетушителями; |
||||||||||||||||||||||||||||||||||||||||||||||||||||||||||||||||||||||||||||||||||||||||||||||||||||||||||||||||||||||||||||||||||||||||||||||||||||||||||||||||||||||||||||||||||||
|
ПРМ.ПД.04.02.02.ПЗ |
Арк 30 |
|||||||||||||||||||||||||||||||||||||||||||||||||||||||||||||||||||||||||||||||||||||||||||||||||||||||||||||||||||||||||||||||||||||||||||||||||||||||||||||||||||||||||||||||||||
|
Зм |
Арк. |
№ докум. |
Підпис |
Дата |
||||||||||||||||||||||||||||||||||||||||||||||||||||||||||||||||||||||||||||||||||||||||||||||||||||||||||||||||||||||||||||||||||||||||||||||||||||||||||||||||||||||||||||||||
|
46 монтируется сеть противопожарных трубопроводов воды с гайками Богданова; в очистных забоях, где ведутся взрывные работы по вторичному дроблению, обязательно наличие ящика для ВМ и ящика для песка (объемом 0,2 м3, лопаты); При пожаре, согласно ПЛА, персоналу необходимо: сообщить о пожаре горному мастеру и попытаться потушить его средствами первичного пожаротушения, если это не возможно, направится в ближайший КАВС (при необходимости включившись в самоспасатель), откуда сообщить горному диспетчеру о пожаре (причину пожара, горизонт, № орта), свою фамилию, горизонт и номер КАВСа. Камера аварийного воздухоснабжения представляет собой тупиковую выработку 2,5×3 м, длиной 5 м и снабжается воздухом от воздушного става шахты. КАВС предусматривается оборудовать около пересечения людского уклона и штрека лежачего бока гор. 340 м (Рисунок 2.8.5). Схема размещения противопожарных средств в блоке приводится на рисунке 2.8.6.
Рисунок 2.8.5 Схема аварийного выхода людей из камеры 22ю гор.330м |
||||||||||||||||||||||||||||||||||||||||||||||||||||||||||||||||||||||||||||||||||||||||||||||||||||||||||||||||||||||||||||||||||||||||||||||||||||||||||||||||||||||||||||||||||||
|
ПРМ.ПД.04.02.02.ПЗ |
Арк 31 |
|||||||||||||||||||||||||||||||||||||||||||||||||||||||||||||||||||||||||||||||||||||||||||||||||||||||||||||||||||||||||||||||||||||||||||||||||||||||||||||||||||||||||||||||||||
|
Зм |
Арк. |
№ докум. |
Підпис |
Дата |
||||||||||||||||||||||||||||||||||||||||||||||||||||||||||||||||||||||||||||||||||||||||||||||||||||||||||||||||||||||||||||||||||||||||||||||||||||||||||||||||||||||||||||||||
|
47
Рисунок 2.8.6 Схема размещения противопожарных средств в блоке 2.8.3 План ликвидации аварии На момент начала горных работ на гор.301÷330м шахтой разрабатывается план ликвидации аварий (ПЛА). Пример оперативной части ПЛА приведён в приложении В. 2.9 Охрана окружающей среды 2.9.1 Прогноз влияния проектируемых работ на окружающую среду 1) Загрязнение воздушной среды В течение процессов добычи, дробления, сортировки и отгрузки железной руды, а также при вспомогательных операциях в атмосферу выбрасываются загрязняющие вещества. Основными вкладчиками в загрязнение атмосферного воздуха являются: дробильно-сортировочная фабрика, закладочный цех, железнодорожный цех, котельная и шахта. Всего в цехах комбината насчитывается 131 источник выбросов, в том числе 126 организованных источников выбросов загрязняющих веществ. Значительное количество загрязняющих веществ выбрасывается дробильно-сортировочной фабрикой, котельной, автотранспортом, складами руды, сыпучих материалов и породным отвалом: |
||||||||||||||||||||||||||||||||||||||||||||||||||||||||||||||||||||||||||||||||||||||||||||||||||||||||||||||||||||||||||||||||||||||||||||||||||||||||||||||||||||||||||||||||||||
|
ПРМ.ПД.04.02.02.ПЗ |
Арк 32 |
|||||||||||||||||||||||||||||||||||||||||||||||||||||||||||||||||||||||||||||||||||||||||||||||||||||||||||||||||||||||||||||||||||||||||||||||||||||||||||||||||||||||||||||||||||
|
Зм |
Арк. |
№ докум. |
Підпис |
Дата |
||||||||||||||||||||||||||||||||||||||||||||||||||||||||||||||||||||||||||||||||||||||||||||||||||||||||||||||||||||||||||||||||||||||||||||||||||||||||||||||||||||||||||||||||
|
48
сернистый ангидрид
окись углерода
окислы азота
окислы железа
пыль, содержащая
сажа С – 6 т/год 2) Загрязнение и истощение водных ресурсов В процессе горных пород по трещинам в горные выработки дренирует шахтная вода с высоким уровнем минерализации, которая в дальнейшем собирается в водосборники и откачивается в пруд отстойник. В связи с понижением уровня водоносного горизонта (Бучакского), ухудшилось водоснабжение окружающей местности. 3) Нарушение земной поверхности В начальный период эксплуатация ЗЖРК образовалась депрессионная воронка, которая при начале применения закладки остановила рост и в дальнейшей деформации земной поверхности не наблюдалась. 2.9.2 Мероприятия по охране окружающей среды 1) Охрана атмосферы в 2000г совместно с предприятием «Экоуниверсал» была проведена инвентаризация всех источников выбросов, выполнение которых позволило снизить выбросы в атмосферу на 1165 т/год. На ДСФ было установлено ПОУ мокрой очистки, на закладочном комплексе для улавливания цементной пыли установлены рукавные фильтры , кательная переведена с мазуты на газ. 2) Охрана водной среды В целях рационального использования пресных вод из системы осушения шахтного поля около 5 млн. м3/год их используется для водоснабжения промплощадки, прилегающих сел (Малая Белозерка, Тополиное, Видножено, Балки) и города Днепрорудного. Часть шахтных вод (до 400 тыс. м3/год) используется для приготовления закладочной смеси и растворов. Осуществляется лабораторный контроль качества сточных вод. Выполнена радиологическая съемка пруда-испарителя научным центром радиационной безопасности города Желтые Воды. Радиационная характеристика ила, шахтных вод, гамма-фон пруда-испарителя значительно ниже санитарных норм. Сточные воды от технологии и жизнедеятельности персонала комбината поступают на очистные сооружения для механической и биологической очистки. Очистные сооружения включают в себя: |
||||||||||||||||||||||||||||||||||||||||||||||||||||||||||||||||||||||||||||||||||||||||||||||||||||||||||||||||||||||||||||||||||||||||||||||||||||||||||||||||||||||||||||||||||||
|
ПРМ.ПД.04.02.02.ПЗ |
Арк 33 |
|||||||||||||||||||||||||||||||||||||||||||||||||||||||||||||||||||||||||||||||||||||||||||||||||||||||||||||||||||||||||||||||||||||||||||||||||||||||||||||||||||||||||||||||||||
|
Зм |
Арк. |
№ докум. |
Підпис |
Дата |
||||||||||||||||||||||||||||||||||||||||||||||||||||||||||||||||||||||||||||||||||||||||||||||||||||||||||||||||||||||||||||||||||||||||||||||||||||||||||||||||||||||||||||||||
|
49 приемный резервуар в фекальной насосной; песколовки с двухъярусными отстойниками; 3 иловых площадки поля фильтрации площадью 4 га каждое; дренажная канава и отводной канал. В год производится очистка около 800 тыс.м3 сточных вод. 3) Прочие природные мероприятия Горные породы от проходки используются для отсыпки дорог, для закладки очистных камер, отработанные нефтепродукты сдаются в регенерацию и используются повторно, изношенные металлокордовые шины используются периодически для ограждения автодорог, отработанные ртутьсодержащие лампы, которых образуется до 1000 шт./год, сдаются на демеркуризацию в г.Запорожье. |
||||||||||||||||||||||||||||||||||||||||||||||||||||||||||||||||||||||||||||||||||||||||||||||||||||||||||||||||||||||||||||||||||||||||||||||||||||||||||||||||||||||||||||||||||||
|
Арк 34 |
||||||||||||||||||||||||||||||||||||||||||||||||||||||||||||||||||||||||||||||||||||||||||||||||||||||||||||||||||||||||||||||||||||||||||||||||||||||||||||||||||||||||||||||||||||
|
Зм |
Арк. |
№ докум. |
Підпис |
Дата |
||||||||||||||||||||||||||||||||||||||||||||||||||||||||||||||||||||||||||||||||||||||||||||||||||||||||||||||||||||||||||||||||||||||||||||||||||||||||||||||||||||||||||||||||
|
50 3. Экономическая оценка целесообразности принятия решения3.1 Расчёт изменения общешахтных экономических показателей при введении в эксплуатацию этажа 301÷330 м и применение самоходной техники Таблица 3.1 Численность и структура штата трудящихся
3.2 Расчёт себестоимости добычи руды по элементам затрат Расчёт себестоимости добычи руды по элементам сводится в таблице 3.3 Таблица 3.2 Амортизационные отчисления на новую применяемую в проекте технику
|
||||||||||||||||||||||||||||||||||||||||||||||||||||||||||||||||||||||||||||||||||||||||||||||||||||||||||||||||||||||||||||||||||||||||||||||||||||||||||||||||||||||||||||||||||||
|
ПРМ.ПД.04.02.03.ПЗ |
||||||||||||||||||||||||||||||||||||||||||||||||||||||||||||||||||||||||||||||||||||||||||||||||||||||||||||||||||||||||||||||||||||||||||||||||||||||||||||||||||||||||||||||||||||
|
Зм |
Арк. |
№ докум. |
Підпис |
Дата |
||||||||||||||||||||||||||||||||||||||||||||||||||||||||||||||||||||||||||||||||||||||||||||||||||||||||||||||||||||||||||||||||||||||||||||||||||||||||||||||||||||||||||||||||
|
Розробн. |
Борисенко |
ЕКОНОМІЧЕА ОЦІНКА ПРИЙНЯТОГО РІШЕННЯ |
Літера |
Аркуш |
Аркушів |
|||||||||||||||||||||||||||||||||||||||||||||||||||||||||||||||||||||||||||||||||||||||||||||||||||||||||||||||||||||||||||||||||||||||||||||||||||||||||||||||||||||||||||||||
|
К. розд. |
Беспалько |
1 |
4 |
|||||||||||||||||||||||||||||||||||||||||||||||||||||||||||||||||||||||||||||||||||||||||||||||||||||||||||||||||||||||||||||||||||||||||||||||||||||||||||||||||||||||||||||||||
|
Керівн. |
Кузьменко |
ГІП-98 |
||||||||||||||||||||||||||||||||||||||||||||||||||||||||||||||||||||||||||||||||||||||||||||||||||||||||||||||||||||||||||||||||||||||||||||||||||||||||||||||||||||||||||||||||||
|
Н. контр. |
Кузьменко |
|||||||||||||||||||||||||||||||||||||||||||||||||||||||||||||||||||||||||||||||||||||||||||||||||||||||||||||||||||||||||||||||||||||||||||||||||||||||||||||||||||||||||||||||||||
|
Зав. Каф. |
Бондаренко |
|||||||||||||||||||||||||||||||||||||||||||||||||||||||||||||||||||||||||||||||||||||||||||||||||||||||||||||||||||||||||||||||||||||||||||||||||||||||||||||||||||||||||||||||||||
|
51 Продолжение таблицы 3.2
Таблица 3.3 Расчёт себестоимости добычи руды по шахте
3.3 Расчёт стоимости реализации руды Стоимость реализации руды (валовой доход шахты) считается по формуле:
где Ц = 52,3 грн/т – фактическая оптовая цена руды;
Проектом предусматривается снижение разубоживания руды с 3% до 2,2%, что повлечёт за собой повышение содержания железа в отпускаемой руде и увеличении её оптовой цены до 58,8 грн/т. Следовательно проектная стоимость реализации руды будет равна: |
||||||||||||||||||||||||||||||||||||||||||||||||||||||||||||||||||||||||||||||||||||||||||||||||||||||||||||||||||||||||||||||||||||||||||||||||||||||||||||||||||||||||||||||||||||
|
ПРМ.ПД.04.02.03.ПЗ |
Арк 2 |
|||||||||||||||||||||||||||||||||||||||||||||||||||||||||||||||||||||||||||||||||||||||||||||||||||||||||||||||||||||||||||||||||||||||||||||||||||||||||||||||||||||||||||||||||||
|
Зм |
Арк. |
№ докум. |
Підпис |
Дата |
||||||||||||||||||||||||||||||||||||||||||||||||||||||||||||||||||||||||||||||||||||||||||||||||||||||||||||||||||||||||||||||||||||||||||||||||||||||||||||||||||||||||||||||||
|
52
где
3.4 Расчёт прибыли по шахте Чистая прибыль рассчитывается по формуле:
где
здесь
Общая рентабельность по проекту равна:
где
Таблица 3.4 Основные технико-экономические показатели шахты
|
||||||||||||||||||||||||||||||||||||||||||||||||||||||||||||||||||||||||||||||||||||||||||||||||||||||||||||||||||||||||||||||||||||||||||||||||||||||||||||||||||||||||||||||||||||
|
ПРМ.ПД.04.02.03.ПЗ |
Арк 3 |
|||||||||||||||||||||||||||||||||||||||||||||||||||||||||||||||||||||||||||||||||||||||||||||||||||||||||||||||||||||||||||||||||||||||||||||||||||||||||||||||||||||||||||||||||||
|
Зм |
Арк. |
№ докум. |
Підпис |
Дата |
||||||||||||||||||||||||||||||||||||||||||||||||||||||||||||||||||||||||||||||||||||||||||||||||||||||||||||||||||||||||||||||||||||||||||||||||||||||||||||||||||||||||||||||||
|
53 Продолжение таблицы 3.4
|
||||||||||||||||||||||||||||||||||||||||||||||||||||||||||||||||||||||||||||||||||||||||||||||||||||||||||||||||||||||||||||||||||||||||||||||||||||||||||||||||||||||||||||||||||||
|
ПРМ.ПД.04.02.03.ПЗ |
Арк 4 |
|||||||||||||||||||||||||||||||||||||||||||||||||||||||||||||||||||||||||||||||||||||||||||||||||||||||||||||||||||||||||||||||||||||||||||||||||||||||||||||||||||||||||||||||||||
|
Зм |
Арк. |
№ докум. |
Підпис |
Дата |
||||||||||||||||||||||||||||||||||||||||||||||||||||||||||||||||||||||||||||||||||||||||||||||||||||||||||||||||||||||||||||||||||||||||||||||||||||||||||||||||||||||||||||||||
|
54 Вывод В данном дипломном проектеё был произведён расчет и обоснование параметров вскрытия новых запасов руды на этаже 301÷330 м на шахте «Эксплуатационной» ЗАО «Запорожский железорудный комбинат». Рассчитана вентиляция шахты при введении потолочины в эксплуатацию, приведены мероприятия по производственной санитарии и технике безопасности, разработан план ликвидации аварии для конкретного случая. Из экономических расчетов видно, что в результате нововведений изменяются технико-экономические показатели по шахте в целом: увеличивается отпускная цена руды, уменьшается разубоживание, уменьшается себестоимость добычи, сокращается количество персонала, занятого на подготовительных работах, уменьшаются капитальные затраты на проведение выработок.
|
||||||||||||||||||||||||||||||||||||||||||||||||||||||||||||||||||||||||||||||||||||||||||||||||||||||||||||||||||||||||||||||||||||||||||||||||||||||||||||||||||||||||||||||||||||
|
ПРМ.ПД.04.02.В.ПЗ |
||||||||||||||||||||||||||||||||||||||||||||||||||||||||||||||||||||||||||||||||||||||||||||||||||||||||||||||||||||||||||||||||||||||||||||||||||||||||||||||||||||||||||||||||||||
|
Зм |
Арк. |
№ докум. |
Підпис |
Дата |
||||||||||||||||||||||||||||||||||||||||||||||||||||||||||||||||||||||||||||||||||||||||||||||||||||||||||||||||||||||||||||||||||||||||||||||||||||||||||||||||||||||||||||||||
|
Розробн. |
Борисенко |
ВИСНОВОК |
Літера |
Аркуш |
Аркушів |
|||||||||||||||||||||||||||||||||||||||||||||||||||||||||||||||||||||||||||||||||||||||||||||||||||||||||||||||||||||||||||||||||||||||||||||||||||||||||||||||||||||||||||||||
|
К. розд. |
Кузьменко |
1 |
1 |
|||||||||||||||||||||||||||||||||||||||||||||||||||||||||||||||||||||||||||||||||||||||||||||||||||||||||||||||||||||||||||||||||||||||||||||||||||||||||||||||||||||||||||||||||
|
Керівн. |
Кузьменко |
ГІП-98 |
||||||||||||||||||||||||||||||||||||||||||||||||||||||||||||||||||||||||||||||||||||||||||||||||||||||||||||||||||||||||||||||||||||||||||||||||||||||||||||||||||||||||||||||||||
|
Н. контр. |
Кузьменко |
|||||||||||||||||||||||||||||||||||||||||||||||||||||||||||||||||||||||||||||||||||||||||||||||||||||||||||||||||||||||||||||||||||||||||||||||||||||||||||||||||||||||||||||||||||
|
Зав. Каф. |
Бондаренко |
|||||||||||||||||||||||||||||||||||||||||||||||||||||||||||||||||||||||||||||||||||||||||||||||||||||||||||||||||||||||||||||||||||||||||||||||||||||||||||||||||||||||||||||||||||
|
55 Перечень ссылок С.Г.Борисенко. Технология подземной разработки рудных месторождений. – К., Вища школа. Головне видавництво, 1987. – 262с. Мартынов В.К. Проектирование и расчет систем разработки рудных месторождений. – К. –Д.: Вища школа. Головне видавництво, 1987. – 215 с Научные рекомендации по применению технологии отработки залежей с использованием самоходного оборудования на ЗЖРК. - Кривой Рог, НИГРИ, 1994. Технико-экономическое обоснование применения новых технологий с использованием самоходного импортного оборудования на ЗЖРК. К.: Укр НИИ проект, 1994. Методические указания по составлению раздела «Вентиляция» в дипломных проектах студентов специальности 02.02. Кременчугский Н.Ф. – Днепропетровск: НГАУ, 1977 Методические указания по расчетным обоснованиям вопросов охраны труда в дипломных проектах студентов горных специальностей Шибка Н,В., Бескровный В.Н., Кременчугский Н.Ф. – Днепропетровск: НГАУ, 1983 Кузнецов Б.А. Транспорт на горном предприятии. – М.: Недра, 1977 – 552 с Единые правила безопасности при разработке рудных, нерудных и россыпных месторождений подземным способом. – М.: Недра, 1977. – 223 с. Единые правила безопасности при взрывных работах. – Кривой Рог, НИГРИ, 1974. Справочник по горнорудному делу, М. – Недра, 1961. Проектное задание системы с полной твердеющей закладок выработанного пространства ЗЖРК – К.: Укр НИИ Проект, 1994 Типовая инструкция по определению параметров очистной выемки при системах с твердеющей закладкой на горнорудных предприятиях Минчермета СССР – Кривой Рог, НИГРИ, (с дополнениями) Типовая инструкция производства закладочных работ на горнорудных предприятиях Минчермета СССР,- Кривой Рог, НИГРИ, 1974. А.А.Соловьёв. Сборник задач по рудничному транспорту.-Углетехиздат.-1952.-278с. |
||||||||||||||||||||||||||||||||||||||||||||||||||||||||||||||||||||||||||||||||||||||||||||||||||||||||||||||||||||||||||||||||||||||||||||||||||||||||||||||||||||||||||||||||||||
|
ПРМ.ПД.04.02.П.ПЗ |
||||||||||||||||||||||||||||||||||||||||||||||||||||||||||||||||||||||||||||||||||||||||||||||||||||||||||||||||||||||||||||||||||||||||||||||||||||||||||||||||||||||||||||||||||||
|
Зм |
Арк. |
№ докум. |
Підпис |
Дата |
||||||||||||||||||||||||||||||||||||||||||||||||||||||||||||||||||||||||||||||||||||||||||||||||||||||||||||||||||||||||||||||||||||||||||||||||||||||||||||||||||||||||||||||||
|
Розробн. |
Борисенко |
ПЕРЕЛІК ПОСИЛАНЬ |
Літера |
Аркуш |
Аркушів |
|||||||||||||||||||||||||||||||||||||||||||||||||||||||||||||||||||||||||||||||||||||||||||||||||||||||||||||||||||||||||||||||||||||||||||||||||||||||||||||||||||||||||||||||
|
К. розд. |
Кузьменко |
1 |
1 |
|||||||||||||||||||||||||||||||||||||||||||||||||||||||||||||||||||||||||||||||||||||||||||||||||||||||||||||||||||||||||||||||||||||||||||||||||||||||||||||||||||||||||||||||||
|
Керівн. |
Кузьменко |
ГІП-98 |
||||||||||||||||||||||||||||||||||||||||||||||||||||||||||||||||||||||||||||||||||||||||||||||||||||||||||||||||||||||||||||||||||||||||||||||||||||||||||||||||||||||||||||||||||
|
Н. контр. |
Кузьменко |
|||||||||||||||||||||||||||||||||||||||||||||||||||||||||||||||||||||||||||||||||||||||||||||||||||||||||||||||||||||||||||||||||||||||||||||||||||||||||||||||||||||||||||||||||||
|
Зав. Каф. |
Бондаренко |
,
т/сут
–
время занятия перегона (звена)
одним электровозом с составом, мин;
,
мин; (1.2)
–
длина участка пути
транспортного звена, м;
– коэффициент, учитывающий
эксплуатационные условия работы
электровозной откатки,
К
мин;
т/сут;
мин;
т/сут;
т/сут;
,
=
15,0 м – принятая ширина очистной камеры;
=
1 – коэффициент устойчивости горного
массива;
=
1 – коэффициент устойчивости
подработанных пород в зависимости от
степени подработки. По рекомендации
НИГРИ, степень подработки налегающих
пород не должна превышать 0,3;
=
1 – коэффициент, учитывающий степень
снижения устойчивости горного массива
в зависимости от обводненности.
м;
,
м; (2.2)
Па – гидростатическое давление в
водном объекте;
Па
– временное сопротивление породы на
растяжение;
м
– мощность водонасыщенной несвязанной
породы в водном объекте;
=2,7·10³
кг/м³ - объёмная масса породы в защитном
целике;
кг/
м³ - объёмная масса породы в защитном
целике;
- эквивалентный пролёт выработки,
рассчитываемый по формуле:
,
м; (2.3)
=
15 м – ширина очистной камеры (выработки);
м;
=
и
по шкале проф. Протодьяконова –
коэффициенты крепости руды и кварцитов
соответственно;
МПа и
МПа
– временное сопротивление руды и
кварцитов на одноосное сжатие
соответственно;
м; (2.4)
-
коэффициент относительной устойчивости;
-
коэффициент подработки висячего бока;
м;
(2.5)
м;
(2.6)
,
м; (2.7)
,
м; (2.8)
,
м; (2.9)
м ; (2.10)
; (2.11)
).
,
м; (2.12)
м/с
- первоначальная скорость отрыва
отбиваемого вертикального слоя руды;
м.
,
-
угол наклона к горизонту отбиваемого
слоя;
м.
,
м; (2.14)
,
м; (2.15)
м;
).
Н/м²; (2.16)
т;
(2.18)
т/м³
и
т/м³ – плотность руды в массиве и в
разрыхленном состоянии соответственно.
, что соответствует условиям.
‰
(2.19)
‰
‰
‰
(2.20)


(2.21)
(2.22)
- коэффициент сопротивления
при трогании гружёного состава;
,
т
(2.23)
(2.24)
(2.25)

,
т
(2.26)
(2.27)
(2.28)
(2.29)
(2.30)
,
- коэффициент трения между бандажом
и тормозными колодками;
(2.31)
(2.32)
(2.33)
(2.34)
(2.35)
(2.36)
(2.37)
(2.38)
(2.39)
(2.40)
,
м³/с; (2.41)
м³/с;
(2.42)
м³/с;
(2.43)
кг
– величина условного заряда ВВ,
кг;
(2.44)
- коэффициент, учитывающий более
интенсивное выделение газа из
выпускаемой руды в начальный период
после взрыва;
т
– количество руды, выпущенной за сутки
в данной выработке;
м³
- объём дозы выпуска;
с
– максимальное допустимое время
проветривания при вторичном дроблении;
т/м³
- объёмный вес руды в разрыхлённом
состоянии;
21×3600 с – время выпуски руды в
сутки;
- объём выработки выпуска, м;
м³;
(2.45)
-
фактический заряд ВВ при вторичном
дроблении;
м³/с.
м/³с;
(2.46)
м/³с.
(2.47)
м/³с.
м³/с;
(2.48)
- коэффициент доставки воздуха по
вентиляционному проходу;
Па
(2.49)
м³/с,
м³/с; (2.50)
=
кг/м² - количество одновременно
взрываемых ВВ;
м³/с; (2.51)
м/с
– минимальная допустимая скорость
воздуха в подготовительных выработках.
м/³с
(2.52)
м³/с
как большее значение.
м³/с; (2.53)
м³/с; (2.54)
Па.
Па; (2.55)
- коэффициент аэродинамического
сопротивления выработки, Н
· с²/м
;
- периметр, м;
- длина, м;
- сечение, м;
- расход воздуха, м³/с;
Па;
, Па; (2.56)
- депрессия подземных выработок
труднопроветриваемого направления,
Па;
- депрессия воздухонагревателей
и канала калориферной установки, Па;
Па;
(2.57)
Па;
,
м³/с; (2.58)
- расход воздуха по шахте, с учетом
отработки потолочины
-
коэффициент внешних утечек;
м³/с;
(2.59)
(2.60)





- 150 т/год
- 23 т/год
- 47 т/год
- 80 т/год
- более 100 т/год
тыс. грн; (3.1)
тыс.т – фактический объём
реализации руды в год;
тыс. грн; (3.2)
грн/т – проектная оптовая цена руды;
тыс.т
– проектный объём реализации;
,
тыс. грн; (3.3)
=
-
(
+
),
тыс.грн. – проектная налогооблагаемая
прибыль;
(3.4)
тыс. грн
тыс. грн
- налоговая ставка на прибыль;
тыс.
грн – проектный валовой расход;
тыс.
грн – проектный объём амортизационных
отчислений;
;
(3.5);
тыс.
грн – стоимость основных фондов и
оборотных средств по пректу;