Курсовой проект по разведочному бурению
Введение
Целью курсового проектирования является закрепление, углубление и обобщение знаний, полученных студентами при изучении теоретического курса «Разведочное бурение»; приобретение навыков для самостоятельного решения конкретных задач по технологии и технике бурения скважин с умелым использованием достижений научно-технического прогресса и передового опыта в геологоразведочном деле; подготовка к завершающему этапу обучения - составлению дипломного проекта. Кроме того, в процессе курсового проектирования, студенты приобретают навыки самостоятельной творческой работы с учебной, справочной и специальной научно-технической литературой.
Предлагаемые технические решения в курсовом проекте предусматривают применение как серийного так и перспективного оборудования, инструментов, материалов, КИПов в соответствии с требованиями действующих ГОСТов, строительных норм и правил (СНИП), «Правил безопасности при геологоразведочных работах» и других нормативных документов. Принимаемые решения обоснованы или подкреплены необходимыми расчетами.
Курсовой проект состоит из пояснительной записки, графического материала и приложений. Обязательным приложением к курсовому проекту является геолого-технический наряд (ГТН) на бурение скважины.
Выбор и обоснование способа бурения.
В данном геологическом разрезе целесообразнее использовать вращательный способ бурения. Так как вращательный способ применяют и при бурении разрезов с небольшими по мощности слоями трещиноватых пород, в которых использовать ударно-вращательный способ вследствие вывалов кусков пород под воздействием ударных импульсов невозможно.
Так как данная скважина предполагает поиск и предварительную разведку, то требуется взять керн по всей глубине скважины, поэтому следует применять колонковый способ бурения. Достоинствами колонкового способа являются возможность извлекать образцы горных пород, бурить скважины с относительно небольшим искривлением, бурить скважины на значительную глубину с относительно не высоким расходом энергии.
Вследствие того, что мы имеем несложный геологический разрез, и относительно непрочные слагающие его горные породы более целесообразным будет применение твердосплавного способа бурения, так как алмазные коронки имеют малый выход режущей кромки алмаза, что резко уменьшает механическую скорость бурения в рыхлых и мягких породах. В отличие от алмазных коронок, твердосплавные коронки имеют больший выход резца, что позволяет ему более глубже внедрятся в породу. Наиболее целесообразнее использовать твердосплавные коронки типа CМ-6, как наиболее подходящие для бурения в данных условиях. Диаметры коронок 93 мм для первой ступени и 76 мм для второй ступени.
Выбор конструкции скважины.
Геологический разрез представлен в основном осадочными породами. В данном разрезе имеется одна усложненная зона. Она находиться на интервале от 0 до 10 метров, на данном участке возможно обрушение стенок скважины из за рыхлого делювия.
Общую глубину скважины берём равной 500 метрам. К этой глубине добавляем еще 1,5 метра, для достоверности подсечения подошвы и возможности исследования пласта геофизическими приборами.
С

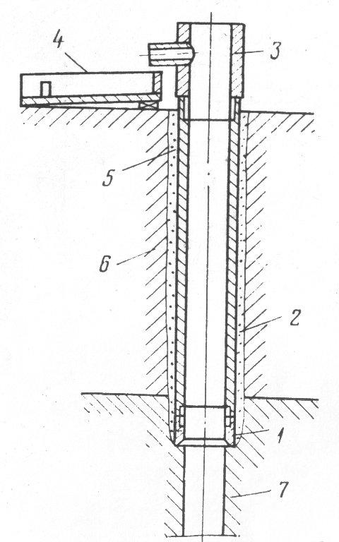
Рис. 1. 1 – башмак трубный, 2 – обсадная труба, 3 – тройник, 4 – желоб, 5 – цементный камень, 6 – деллювий, 7 – порода.
тоит заметить, что главным показателем совершенства конструкции скважины является ее простота. Для конструкции данной скважины наиболее рационально выбрать 2 ступени, как минимально возможное число для исследуемого геологического разреза. Конечная ступень скважины будет в интервале 10-500 метров, диаметром 76 мм. Первая ступень будет находиться в интервале от 0 до 10 метров, диаметр второй ступени возьмем, на размер больше чем диаметр предыдущей ступени, равный 93 мм.Обсадные трубы применяются для закрепления неустойчивых стенок скважины, восстановления циркуляции промывочной жидкости и разъединения пластов горных пород. В соответствии с данной конструкцией скважины потребуется одна колонна обсадных труб для укрепления стенок скважины на глубине от 0 до 10 м диаметром 89 мм, плюс 2 м для закрепления трубы в монолитной толще, одновременно она будет использоваться как направляющая. Применять будем обсадные трубы ниппельного соединения, длиной 4500 мм. Башмаки обсадных колон, с целью герметизации зазора между стенкам скважин и обсадными трубами, следует зотампонировать цементным раствором, а сверху на трубы установить пеньковые сальники.
Техническая характеристика обсадной трубы:
|
Наружный диаметр трубы, мм |
89 |
|
Толщина стенки трубы, мм |
5,0 |
|
Масса 1 м трубы, кг |
10, 4 |
|
Длина трубы, мм |
1500;3000;4500;6000 |
Выбор бурового снаряда и оборудования
Породы, слагающие разрез чередуются по устойчивости, поэтому для повышения качества выхода керна, придется использовать одновременно одинарный и двойной колонковый снаряд высокооборотного твердосплавного бурения, меняя их на определенной глубине. Эти снаряды отличаются простотой конструкции и использование любых промывочных жидкостей. Они позволяют повышать механическую скорость бурения при высоком качестве опробования.
Бурить будем с прямой промывкой технической водой. Исключая зоны переслаивания угля. Об этом подробнее ниже.
Забойный снаряд для бурения первой ступени скважины состоит из твердосплавной буровой коронки СМ6 диаметром 93 мм, кернорвателя, калибровочного расширителя, одинарной колонковой трубы диаметром 89 мм, переходника с колонковой трубы на бурильные трубы П1.
Бурильная колонна должна соответствовать выбранной конструкции скважины диаметром 93 мм. Для высокооборотного бурения скважин диаметром 93 мм рекомендуется использовать стальные бурильные трубы муфто-замкового соединения диаметром 60,3 мм, длиной 4500 мм.
Для подачи промывочной жидкости в бурильную колонну выбираем сальник типа СА.
Снаряд будет использован на глубинах от 0 до 13 м.
Забойный снаряд для бурения второй ступени скважины состоит из твердосплавной буровой коронки СМ6 (коронка применяется для бурения пород средней твердости, относящимся к IV-VII категориям по буримости, рис. 1) диаметром 76 мм, кернорвателя, калибровочного расширителя, одинарной колонковой трубы диаметром 73 мм, переходника с колонковой трубы на бурильные трубы П1.
Рекомендуется использовать бурильные трубы муфто-замкового соединения диаметром 50 мм, длиной 4500 мм. А так же применить утяжеленные бурильные трубы (УБТ) для уменьшения изнашивания и повышения надежности работы растянутой части бурильной колонны, расположенной над УБТ.
Технические характеристики колонковой трубы:
|
Наружный диаметр труб D и ниппелей D>1> |
73 |
|
Толщина стенки труб |
5,0 |
|
Внутренний диаметр ниппеля |
62,0 |
|
Длина труб |
3000;4500;6000 |
|
Диаметры резьбы Наружний Внешний |
68 66,5 |
|
Длина наружной резьбы ниппеля и внутренней резьбы с полным профилем |
40 |
|
Масса 1 м трубы, кг |
8,38 |
|
Масса ниппеля, кг |
1,3 |
Характеристика коронки СМ-6:

Рис. 2. 1 – короночное кольцо, 2 – основной резец, 3 – подрезной резец, 4 – установочная пластина, 5 – опорная пластина
|
Основные размеры коронок, мм D>1> D>2> |
58 76 |
|
Число резцов: Основных Подрезных |
12 4 |
При встрече со слоём углей будем менять забойный снаряд на двойной колонковый снаряд. Двойные колонковые снаряды применяют в породах и полезных ископаемых, дающих плохой выход керна. Для нас более всего целесообразнее использовать такой снаряд под названием ДонбассНИЛ-II (рис. 2). При бурении по мягким углям твердосплавная коронка этого снаряда, на внутренней невращающейся трубе, имеющей вертикальное перемещение, врезается в забой как кольцевой штамп. При встрече более крепкого породного прослоя под действием возросшего осевого усилия включается фрикцион, который передает крутящий момент на внутреннюю керноприемную трубу с твердосплавной коронкой, обеспечивая, таким образом, бурение крепких пород вращательным способом. Осевая нагрузка на коронку при бурении по углю 4000-6000 Н. При бурении ДКС «Донбасс НИЛ» коронками 76 мм рекомендуется придерживаться следующего режима:
Расход бурового раствора, л/мин 50-70
Частота вращения снаряда, об/мин 100-150
Для бурения скважины мы будем применять буровую установку УКБ-500/800. Буровая установка УКБ-500/800 предназначена для бурения вертикальных и наклонных (90—60°) геологоразведочных скважин на твердые полезные ископаемые глубиной до 800 м алмазными коронками диаметром 59 мм и до 500 м твердосплавными коронками диаметром 93 мм до 500м. Буровая установка состоит " из бурового станка СКБ-5, буровой мачты МБТ-5 с основанием труборазворота РТ-1200 М, грузоподъемных принадлежностей (элеватор-50, элеватор 50/54, вертлюг-пробка-50, вертлюг-пробка-54, полуавтоматические элеваторы типа ЭН-12 и насосная установка НБЗ-120/40), контрольно-измерительная аппаратура, транспортная база ТБ-15.
Технические характеристики буровой установки УКБ-5П:
|
Глубина бурения при конечном диаметре скважины, м: 93 мм 59 мм |
500 800 |
|
Начальный диаметр, мм |
151 |
|
Диаметр бурильных труб, мм |
50; 54; 55; 63,5; 68 |
|
Частоты вращения шпинделя, об/мин: 1 диапазон 2 диапазон |
120;260;340;410;540;720;1130;1500 |
|
Наибольшее усиление подачи, кН: вверх вниз |
85 65 |
|
Грузоподъемность лебедки, т |
35 |
|
Скорость навивки каната на барабан лебедки, м/с |
0,8; 1,75; 2,7; 3,6 |
|
Мощность электродвигателя станка бурового, кВт |
30 |
|
Высота мачты (вышки), м |
19,0 |
|
Длина свечи, м |
13,5 |
|
Тип насосной установки |
НБ4- |
|
Масса станка, кг |
2200 |
|
Масса установки, кг |
17500 |
Буровой станок СКБ-5 (рис 3) имеет все основные функциональные узлы, что и станок СКБ-4. Однако он отличается от него тем, что в станке СКБ-5 нет такого традиционного узла, как станина. Все узлы: электродвигатель, лебедка, вращатель-лебедка съемного керноприемника — размещены и закреплены на корпусе коробки перемены передач. Последняя своими опорными плоскостями лежит на направляющих рамы станка и перемещается на них при вскрытии устья скважины с помощью гидроцилиндра. Закрепление станка в любом положении на раме производится автоматически с помощью гидрозамка. Отказ от станины позволил уменьшить длину кинематических цепочек и, таким образом, повысить надежность и жесткость станка. Повышение жесткости снижает вибрации при бурении. Кроме того, гидросистема станка СКБ-5 смонтирована на выносном пульте, что обеспечивает удобный доступ для обслуживания и ремонта не только гидросистемы, но и станка в целом. На пульте управления (рис) размещены оперативные кнопки управления двигателем станка, маслонасоса, гидросистемы, буровой насосной установки. Там же установлена кнопка общего стопа, приборы контроля осевой нагрузки на породоразрушающий инструмент, амперметр и манометры гидросистемы.
Буровой станок имеет восемь частот вращения шпинделя в диапазоне 120—150 об/мин, два гидроцилиндра подачи, два зажимных гидропатрона, автоматический перехват шпинделя на ведущей трубе, регулятор скорости подачи, включенный и поршневые полости гидроцилиндров. Все это обеспечивает возможность работы станка в оптимальном режиме. Для контроля за параметрами процесса бурения станок комплектуется четырехканальной контрольно-измерительной системой КУРС-411, которая имеет каналы для измерения следующих параметров: осевой нагрузки на породоразрушающий инструмент, механической скорости бурения, расхода и давления промывочной жидкости.
Ниже приводятся диапазон измерения указанных параметров с помощью комплекта КУРС-411.
|
Вес бурового снаряда, кН |
0-50 |
|
Усилие на крюке, кН |
0-80 |
|
Осевая нагрузка на породоразрушающий инструмент, кН |
0-25 |
|
Давление промывочной жидкости Мпа |
0-10 |
|
Расход промывочной жидкости, м3/с |
(0-25)10-4 (0-50)10-4 |
|
Механическая скорость бурения, м/ч |
0-15 |
|
Напряжение сети, В |
380 |
|
Частота питающего тока, Гц |
50 |
Буровое здание, установки — контейнерного типа. Оно собрано из трехслойных алюминиевых панелей, имеет электрическую систему обогрева и автономную систему водоснабжения (бак, насос, водонагреватель).
Буровая мачта БМТ-5 представляет собой одно-стержневую трубчатую систему, ствол которой шарнирно опирается на портал арочного типа. Для придания устойчивости мачте ствол ее раскреплен продольным и поперечным раскосами. Подъем и опускание мачты производятся с помощью гидравлических цилиндров.
Библиографический список
Р.М. Скрябин, Г.А. Свешников «Методические указания. Разведочное бурение» ЯГУ, 2001
Шамшев Ф.А., Тараканов С.Н., Кудряшов Б.Б. и др «Технология и техника разведочного бурения» Недра, 1983
Воздвиженский В.И. «Разведочное бурение» Недра, 1979
Козловский Е.А. «Справочник инженера по бурению геологоразведочных скважин в 2 т.» Недра, 1984
|
Геологическая часть |
Техническая часть |
|||||||||||||
|
Интервал, м |
Литологичесий разрез |
От, м |
До, м |
Мощность, м |
Горные породы |
Категория |
Угол наклона скважины |
Возможные осложнения |
Выход керна, % |
Диаметр и глубина скважины, мм |
Диаметр и глубина спуска обсадных труб, мм |
Мощность зоны тампонирования |
Типы и размеры породоразрушающего инструмента |
Режим бурения |
|
1 |
2 |
3 |
4 |
5 |
6 |
7 |
8 |
9 |
10 |
11 |
12 |
13 |
14 |
15 |
|
|
|
0,00 |
10,00 |
10,00 |
Делювий |
|
90 |
Возможны обвалы |
70-90 |
|
|
Применение тампонажа не предвидится |
СМ-6, 93 мм |
|
|
|
|
10,00 |
17,00 |
7,00 |
Песчаник |
VI |
|
СМ-6, 76 мм |
|
|||||
|
|
|
17,00 |
18,60 |
1,60 |
Уголь |
IV |
Донбасс НИЛ-II |
|
|
|||||
|
|
|
18,60 |
96,00 |
77,40 |
Песчаник |
VI |
|
СМ-6, 76 мм |
|
|||||
|
|
|
96,00 |
97,00 |
1,00 |
Уголь |
IV |
Донбасс НИЛ-II |
|
|
|||||
|
|
|
97,00 |
179,00 |
82,00 |
Алевролит |
VII |
|
СМ-6, 76 мм |
|
|||||
|
|
|
179,00 |
180,70 |
1,70 |
Уголь |
IV |
Донбасс НИЛ-II |
|
|
|||||
|
|
|
180,70 |
360,00 |
179,30 |
Песчаник |
VI |
|
СМ-6, 76 мм |
|
|||||
|
|
360,00 |
445,00 |
85,00 |
Алевролит |
VII |
|
|
|||||||
|
|
|
445,00 |
446,10 |
1,10 |
Уголь |
IV |
Донбасс НИЛ-II |
|
|
|||||
|
|
|
446,10 |
500,00 |
53,90 |
Песчаник |
VI |
|
СМ-6, 76 мм |
|
1
