Бурение и оборудование скважин при подземном выщелачивании полезных ископаемых
Томский Политехнический Университет
Кафедра БС
Реферат
«Бурение и оборудование скважин при
подземном выщелачивании полезных ископаемых»
Подготовил:
студент гр.2440
Естаев Н.Б.
Проверил:
Брылин В.И.
Томск 2007
Содержание
Содержание 2
Введение 3
1. Общие сведения о добычи ПИ методом подземного выщелачивания и о геотехнологических скважинах 4
1.1. Основные сведения о методе ПВ 4
1.2. Основные сведения о геотехнологических скважинах 5
2.3. Классификация геотехнологических скважин 7
2. Технология бурения геотехнологических скважин 8
2.1. Способы бурения геотехнологических скважин 8
2.2. Искривление скважин. Мероприятия по поддержанию заданного направления технологических скважин 10
3. Буровое оборудование для сооружения геотехнологических скважин 11
3.1. Основные факторы, определяющие выбор буровых агрегатов 11
3.2. Самоходные буровые агрегаты с роторными вращателями 13
3.3. Буровые установки со шпиндельными вращателями 17
4. Конструкции геотехнологических скважин для ПВ металлов 20
5. Крепление геотехнолгичеких скважин 27
5.1. Обсадные трубы для оборудования геотехнологических скважин 27
5. 2. Монтаж и спуск эксплуатационных и обсадных колонн 35
6. Цементирование и гидроизоляция геотехнологических скважин 49
6.1. Назначение цементирования и гидроизоляции 49
6.2. Способы цементирования геотехнологических скважин 50
6.3. Технические средства для цементирования скважин 57
6.4. Технические средства и технология гидроизоляции зон движения рабочих и продуктивных растворов 58
7. Технология вскрытия продуктивных горизонтов 61
8. Забойное и устьевой оборудование 67
8.1. Основные требования к фильтрам 67
8.2. Типы фильтров 68
8.3. Оборудование скважин фильтрами с гравийной обсыпкой 71
8.4. Оборудование устья технологических скважин 83
9. Основные направления повышения эффективности сооружения геотехнологических скважин 90
9.1. Расширение призабойной зоны геотехнологических скважин 90
Список литературы 97
Патенты 98
Скважинный фильтр (RU 2 284 408 С1) 98
Способ сооружения фильтровой сквадины (2 309 244 С1) 102
Скважинный фильтр (2 254 421 С1) 107
Введение
В последнее время для добычи многих твердых полезных ископаемых (ПИ) применяют геотехнологические методы добычи с использованием буровых скважин. Они позволяют упростить и удешевить добычу, производить отработку бедных месторождений, а также месторождений, характеризующихся сложными условиями залегания. Вскрытие рудной залежи осуществляют буровыми скважинами, которые предлагается называть геотехнологическими.
Геотехнологические методы добычи полезных ископаемых позволяют снизить в некоторых случаях в 2 – 4 раза капитальные затраты на строительство предприятий, повысить производительность труда по конечной продукции, сократить численность работающих. Кроме того, их применение способствует значительному улучшению условий труда и уменьшению отрицательного воздействия на окружающую среду.
Одним из геотехнологических методов является метод подземного выщелачивания (ПВ). Подземное выщелачивание ПИ, метод добычи полезного ископаемого избирательным растворением его химическими реагентами в рудном теле на месте залегания с извлечением на поверхность. ПВ применяется для добычи цветных металлов и редких элементов и др. ПВ относится к фильтрационным процессам и основано на химических реакциях «твёрдое тело – жидкость».
При ПВ проницаемых рудных тел месторождение вскрывается системой скважин, располагаемых (в плане) рядами, многоугольниками, кольцами. В скважины подают растворитель, который, фильтруясь по пласту, выщелачивает полезные компоненты. Продуктивный раствор откачивается через другие скважины. В случае монолитных непроницаемых рудных тел залежь вскрывают подземными горными выработками, отдельные рудные блоки дробят с помощью буровзрывных работ. Затем на верхнем горизонте массив орошают растворителем, который, стекая вниз, растворяет полезное ископаемое. На нижнем горизонте растворы собирают и перекачивают на поверхность для переработки.
1. Общие сведения о добычи ПИ методом подземного выщелачивания и о геотехнологических скважинах
1.1 Основные сведения о методе ПВ
Сущность подземного выщелачивания ПИ заключается в избирательном переводе полезного компонента в жидкую фазу путем управляемого движения растворителя по руде в естественном залегании или подготовленного к растворению и подъему насыщенного металлом раствора на поверхность. С этой целью через скважины, пробуренные с поверхности в пласт полезного ископаемого нагнетается химический реагент, способный переводить минералы полезного ископаемого в растворимую форму. Раствор, пройдя часть рудного пласта, через другие скважины поднимается на поверхность и далее по трубопроводу транспортируется к установкам для переработки.
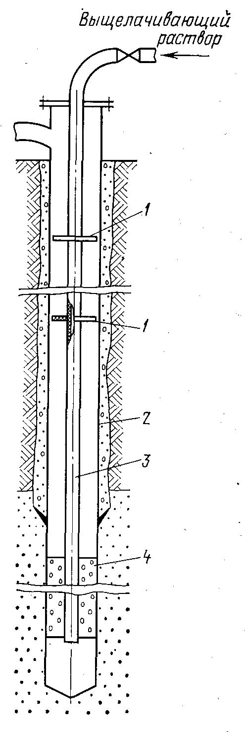
Принципиальная схема подземного выщелачивания металлов приведена на рис. 1.

Рис. 1. Принципиальная технологическая схема подземного выщелачивания
В случае монолитных, непроницаемых руд выщелачивание осуществляется из горных выработок, вскрывших пласт ПИ. Раздробленную с помощью буровзрывных работ горную массу орошают растворителем, который, стекая вниз, растворяет минералы полезного ископаемого. Продуктивные растворы собираются на нижнем горизонте и перекачиваются затем на поверхность, для переработки.
Важнейшими природными предпосылками применения ПВ являются способность ПИ и его соединений переходить в раствор при воздействии на рудный пласт водного раствора выщелачивающего реагента, а также возможность фильтрации выщелачивающих растворов в породах продуктивного горизонта.
Выбор растворителя для ПВ зависит от состава руд. Наиболее широкое применение находят водные растворы кислот (серной, соляной, азотной) или соды.
ПВ применяется при добыче урановых руд, цветных и редких металлов (медь, никель, свинец, цинк, золото и др.). Имеются предпосылки использования его для добычи фосфоритов, боратов и др.
Важным фактором повышения эффективности добычи методом ПВ является правильный выбор схемы размещения технологических скважин и расстояний между ними. В практике эксплуатации месторождений в основном применяется линейная схема расположения скважин, представляющая собой чередование рядов нагнетательных и откачных скважин. Расстояния между рядами и скважинами в ряду колеблются в широких пределах (15 – 50 м и более). Наиболее широкое распространение получила схема 25х50 м.
1.2 Основные сведения о геотехнологических скважинах
Буровые скважины при ПВ являются ответственным сооружением и служат не только для вскрытия пластов ПИ, но и основным техническим средством в процессе добычи. Буровые скважины производят подачу рабочих агентов в зону продуктивного пласта и подъем технологических растворов на поверхность, выполняют все операции, связанные как непосредственно с процессом добычи, так и контролем за ходом этого процесса. С помощью буровых скважин производится также контроль полноты извлечения полезного компонента и охрана окружающей среды от возможного физико-химического загрязнения. Кроме того, с помощью буровых скважин уточняются данные геологической разведки (положение рудного пласта, условия залегания и др.), физико-механические и физико-химические свойства пород, создаются противофильтрационные завесы.
При ПВ руд путем воздействия кислотных, щелочных и бактериальных растворителей диаметр скважины определяется размерами раствороподъемного оборудования (эрлифты, погружные насосы и др.).
В зависимости от существующих конструкций добычных агрегатов конечные диаметры геотехнологических скважин колеблются от 150 до 400 мм.
Следует отметить, что диаметры стволов геотехнологических скважин должны определяться с учетом затрат на бурение и на добычу полезного компонента.
Известно, что при уменьшении диаметра скважин все технико-экономические показатели бурения повышаются – увеличиваются механическая и рейсовая скорости, уменьшаются энергетические затраты и трудоемкость выполнения спускоподъемных операций, снижается стоимость 1 м бурения и оборудования скважин.
С другой стороны, при увеличении размеров добычного и подъемного оборудования повышается производительность скважин и эффективность добычи. Поэтому критерием выбора диаметра скважин в конечном счете является стоимость добытой руды. Необходимо стремиться к тому, чтобы применяемое добычное оборудование при равной производительности имело бы меньшие размеры. Это позволит уменьшить диаметры скважин, снизить стоимость буровых работ, а в результате – и стоимость добычи.
Направление геотехнологических скважин выбирается с учетом характера залегания пластов полезных ископаемых. При горизонтальном залегании пластов скважины задаются вертикальными. При наклонном залегании они могут быть наклонными или направленными вдоль пласта, что может способствовать увеличению добытой руды из одной скважины. Повышению количества добытой руды из одной скважины и уменьшению стоимости, особенно при глубоко залегающих пластах, может способствовать применение многоствольного бурения. Вскрытие может осуществляться с помощью одиночных скважин и комбинированным способом.
Глубины геотехнологических скважин определяются глубиной залегания продуктивных пластов и колеблются в широких пределах – от нескольких метров до 1000 м и более.
1.3 Классификация геотехнологических скважин
По своему назначению, составу и объему выполняемых функций буровые скважины, используемые для добычи твердых ПИ, подразделяются на две основные группы: эксплуатационные и вспомогательные.
Эксплуатационные скважины предназначены для осуществления непосредственного процесса добычи – подачи рабочего агента на забой скважины и подъема образующегося раствора из скважины на поверхность.
Эксплуатационные скважины для ПВ металлов с использованием кислотных или других растворителей подразделяются на нагнетательные и откачные.
Нагнетательные технологические скважины предназначены для подачи в продуктивный пласт рабочих растворов.
Откачные скважины предназначены для подъема продуктивных растворов на поверхность.
К вспомогательным скважинам относятся разведочные, наблюдательные, контрольные, барражные, для гидроразрыва пластов, анкерные и др.
Разведочные скважины используются для уточнения положения пласта ПИ, его мощности, условий залегания и др. Бурение разведочных скважин ведется с отбором керна только в зоне рудного интервала. Они закладываются в основном на месте эксплуатационных скважин и после выполнения поставленных задач используются в дальнейшем для ведения процесса добычи.
Наблюдательные скважины предназначаются для наблюдений и контроля за условиями формирования продуктивных растворов или камер в пределах эксплуатационных блоков, гидродинамическим состоянием продуктивного горизонта, растеканием технологических растворов за пределы эксплуатационных участков и их возможным перетеканием в выше или нижележащие горизонты.
Контрольные скважины бурятся на отработанных участках для контроля полноты извлечения полезного компонента из недр, а также для решения других задач (исследование изменений рудовмещающих пород, контроль возможного загрязнения подземных вод и окружающей среды и др.).
Барражные скважины предназначаются для создания вертикальных и горизонтальных противофильтрационных гидравлических завес, ограничивающих растекание выщелачивающих растворов за пределы эксплуатационного блока, а также для уменьшения охвата этими растворами пород, вмещающих рудную залежь.
Скважины для гидроразрыва пластов предназначены для увеличения поверхности контакта растворителя с породами продуктивных горизонтов путем образования искусственной пористости. При ПВ гидроразрыв пластов используется также для создания механических противофильтрационных завес.
Анкерные скважины предназначены для сооружении бесфильтровых скважин при ПВ металлов. Закрепление пород анкерными скважинами обычно осуществляется перед добычей ПИ.
В зависимости от назначения геотехнологические скважины имеют существенные различия в конструкции, в технике и технологии бурения и оборудования. К ним также предъявляются различные требования.
Наиболее высокие требования к качеству сооружения предъявляются к эксплуатационным скважинам, оказывающим наиболее существенное влияние на технико-экономические показатели добычи полезных ископаемых.
2. Технология бурения геотехнологических скважин
2.1 Способы бурения геотехнологических скважин
Из различных способов бурения для сооружения геотехнологических скважин в настоящее время в основном применяется вращательное бурение с прямой промывкой.
Однако в связи с расширением областей применения геотехнологических методов добычи и с целью повышения их эффективности проводятся работы по разработке более прогрессивных способов бурения. К числу таких способов относятся: 1) вращательное бурение с обратной промывкой; 2) вращательное с продувкой воздухом; 3) ударно-вращательное; 4) вибрационное; 5) термическое; 7) термомеханическое и др.
Вращательное бурение с прямой промывкой применяется для бурения различных по твердости пород и находит широкое применение при проходке устойчивых пород. При разработке россыпных месторождений методом ПВ из-за недостаточной устойчивости стенок скважин и наличия различной величины валунов этот способ бурения имеет значительные недостатки, так как требует применения специальной технологии ведения работ. В качестве породоразрушающих инструментов (ПРИ) применяются долота (лопастные и шарошечные), а также различные пикобуры.
Вращательное бурение с прямой промывкой осуществляется с помощью различных буровых установок (роторных, шпиндельных). Для бурения мягких пород сплошным забоем широкое применение находят установки с роторными вращателями типа УРБ-ЗАМ, 1БА-15В, УБВ-600 и др.
Вращательное бурение с обратной промывкой особенно эффективно может быть применино при сооружении технологических скважин для ПВ металлов, что позволит уменьшить кольматацию продуктивных пластов, увеличить диаметры скважин и создавать фильтры с уширенным контуром гравийной обсыпки.
Для бурения скважин с обратной промывкой сконструирован буровой агрегат 1БА-15К. Можно также использовать буровые установки 1БА-15В, УКС-22М и др., приспособив их для этих целей. Кроме того, при бурении с обратной промывкой требуется применение специального инструмента и приспособлений (бурильные и ведущие трубы и др.).
Вращательное бурение с продувкой при сооружении технологических скважин повышает качество вскрытия продуктивных горизонтов, уменьшает затраты времени на освоение скважин и повышает технико-экономические показатели, особенно при сооружении технологических скважин ПВ.
Однако этому способу бурения присущи и значительные недостатки, связанные с его неприменимостью при бурении глинистых, песчано-глинистых и сыпучих пород и при встрече подземных вод.
Наиболее эффективными способами бурения скважин на россыпях могут быть ударно-забивное, ударно-канатное, виброударное, термическое, термомеханическое, электроимпульсное и др.
2.2 Искривление скважин. Мероприятия по поддержанию заданного направления технологических скважин
Поддержание заданного направления геотехнологических скважин имеет большое значение. При ПВ металлов искривление скважин может привести к нарушению принятой системы разработки месторождений.
В настоящее время при разработке методом ПВ урановых руд наиболее распространенной является линейная система с шахматным расположением скважин с расстоянием 25х50 м. При искривлении скважин расстояния между осями скважин в зоне рудного пласта могут измениться, что приведет к нарушению полноты выемки полезного компонента.
При отработке пластовых месторождений отклонение забоя скважины от вертикали при бурении вертикальных скважин достигает 1,5 – 4,5 м при глубинах скважин до 150 м и 6 – 15 м при глубинах скважин свыше 250 м.
При указанной выше сетке расположения технологических скважин максимальное сближение фильтров может достигнуть 5 м, а максимальное их удаление – 80 м. В связи с искривлением скважин может значительно изменяться конфигурация ячеек выщелачивающих блоков (рис. 2). Допустимое отклонение ствола скважин от вертикали не должно превышать 1 – 2° на 100 м при сооружении неглубоких скважин и 1° на 100 м при сооружении скважин глубиной более 250 – 300 м.

Рис. 2. Влияние искривления скважин на форму отрабатываемой ячейки при ПВ:
1 – проектная форма ячейки; 2 – фактическая форма ячейки; 3 – устье откачных скважин; 4 – устье нагнетательных скважин; 5 – фактическое положение забоя нагнетательных и откачных скважин.
Разработка мероприятий по поддержанию заданного направления геотехнологических скважин является важной задачей. Такими мероприятиями могут быть следующие: а) тщательная установка стола ротора; б) зазор между ведущей трубой и клиньями не должен превышать 2 – 3 мм; в) искривленность бурильных и утяжеленных труб, а также ведущей трубы должна быть в пределах нормы; г) тип долота подбирать в соответствии с физико-механическими свойствами пород; д) низ бурильной колонны собирать без перекосов, не допуская несоосности ее деталей и узлов; е) применять правильный режим бурения.
Основным средством борьбы с искривлением скважин является правильная конструкция низа бурильной колонны. Бурение скважин необходимо вести с обязательным применением утяжеленных бурильных труб. Диаметр УБТ должен быть близким к диаметру долота.
Для придания скважинам заданного направления при значительном несоответствии диаметров долота и труб очень часто предусматривается центрирование долота путем установки над долотом центраторов или фонарей, изготовленных из труб близкого к долоту диаметра. Центраторы могут также устанавливаться по длине УБТ или БТ на расстоянии друг от друга, равном длине полуволны изогнутой колонны труб.
3. Буровое оборудование для сооружения геотехнологических скважин
3.1 Основные факторы, определяющие выбор буровых агрегатов
Важным требованием к буровому оборудованию для сооружения геотехнологических скважин является его высокая мобильность, быстрый монтаж, демонтаж и перевозка, высокий уровень механизации вспомогательных операций, а также наличие укрытий, так как сооружение скважин производится круглогодично.
Разбуриваемые горные породы по своим свойствам обладают большим разнообразием, но преобладают породы осадочного комплекса, что вызывает определенные требования к буровому оборудованию и в первую очередь необходимость в буровых насосах с высокой подачей.
Из современных буровых установок, выпускаемых промышленностью, наиболее полно требованиям технологии сооружения геотехнологических скважин отвечают буровые агрегаты УРБ-ЗАМ 1БА-15В, УРБ-ЗА2, УРБ-ЗАЗ, УБВ-600. Указанные буровые установки отвечают основным требованиям, предъявляемым к технологии бурения и оборудованию геотехнологических скважин. Самоходные установки обеспечивают возможность бурения скважин большими диаметрами. Наиболее полно требованиям технологии сооружения эксплуатационных скважин при ПВ отвечает буровой агрегат 1БА-15В.
Бурового оборудования, полностью удовлетворяющего требованиям технологии бурения геотехнологических скважин, в нашей стране не выпускается, так как не было необходимости бурения скважин таких конструкций и глубин в больших объемах. Выпускаемые промышленностью буровые установки роторного типа во многих случаях не могут обеспечить необходимые параметры режима бурения – осевую нагрузку на долото и количество промывочной жидкости, подаваемой на забой. Выпускаемые буровые установки укомплектованы насосами, обычно имеющими небольшую подачу, что не может обеспечить при бурении мягких пород эффективную очистку забоя от шлама в скважинах, имеющих значительные поперечные размеры.
При бурении скважин установками роторного типа передача осевой нагрузки на долото осуществляется с помощью УБТ. В этом случае при неглубоких скважинах не представляется возможным обеспечить требуемые осевые нагрузки на долото для объемного разрушения породы на забое, в связи с чем имеются трудности в получении высоких скоростей бурения.
Применение воды способствует увеличению механической скорости бурения и уменьшению затрат на приготовление глинистого раствора. Но вода обладает меньшей вязкостью, чем любая промывочная жидкость и ее применение может способствовать оседанию большого количества шлама при остановке циркуляции. Кроме того, применение воды возможно в том случае, когда обеспечивается необходимая устойчивость разбуриваемых пород, их высокая сопротивляемость размывающему действию потока ПЖ.
Повышению эффективности разрушения мягких пород при небольших осевых нагрузках может способствовать применение лопастных гидромониторных долот.
Опыт эксплуатации буровых агрегатов УРБ-ЗАМ, 1БА-15В, УБВ-600 в различных горно-геологических условиях выявил ряд недостатков, присущих этим агрегатам. Основными из них являются следующие: 1) недостаточный уровень механизации вспомогательных процессов; 2) отсутствие утепляемых укрытий; 3) значительные затраты времени на монтаж, демонтаж и перевозку агрегатов; 4) не в полной мере отвечают требованиям технологии оборудования эксплуатационных скважин добычными устройствами.
Отсутствие утепляемых укрытий и другие недостатки, присущие самоходным установкам с роторными вращателями, привели к тому, что для сооружения технологических скважин ПВ путем конструктивных изменений приспосабливаются и другие буровые агрегаты, например ЗИФ-650А, ЗИФ-650М, ЗИФ-1200А, ЗИФ-1200МР и др.
Ведутся работы по созданию специализированных буровых агрегатов для сооружения технологических скважин ПВ.
В подземных условиях при выщелачивании в скальных блоках для бурения скважин применяются буровые агрегаты типа НКР-100М, БСК-2М-100, БСК-2М2-100, буровые каретки БК-2П с перфораторами ПК-60 и др.
3.2 Самоходные буровые агрегаты с роторными вращателями
Буровой агрегат 1БА-15В. Буровой агрегат состоит из трех блоков: бурового, насосно-силового и компрессорного.
Кинематическая схема бурового агрегата 1БА-15В приведена на рис. 3. Буровой блок агрегата монтируется на шасси автомобиля МАЗ-500А, здесь располагаются ротор с проходным отверстием 410 мм, лебедка, коробка скоростей с пневмомуфтой, буровой насос НБ-12-63-40, буровая мачта с секционными гидравлическими домкратами, генератор мощностью 12 кВт, коробка отбора мощности с гидравлическим насосом, гидрораскрепитель, пульт управления (ПУ), аварийный компрессор для пневмоуправления.

Рис.34. Кинематическая схема бурового агрегата 1БА-15В:
1 – двигатель ЯМЗ-256; 2, 11, 14, 32 – пневмокамеры; 3 – коробка передач двигателя; 4, 8, 22, 27, 34, 35 – карданные валы; 5 – коробка отбора мощности; 6 – генератор; 7, 10, 25, 29 – клиноремённые передачи; 9 – буровой насос; 12 – коробка передач; 13- лебёдка; 15 – индикатор веса; 16 – талевый канат; 17 – ведущая труба; 18 – вертлюг; 19 – талевый блок; 20 – кронблок; 21 – ротор; 23 - цепная передача; 24 – гидронасос; 26 – тахогенератор; 28 – аварийный компрессор; 30 – компрессор двигателя; 31 – двигатель Д-108 для привода компрессора; 33 – редктор угловой; 36 – компрессор К9М.
На насосно-силовом блоке расположены двигатель ЯМЗ-236 с коробкой передач, буровой насос 9МГР-61 или 9МГР-73, угловой редуктор, аккумуляторный ящик и др.
На компрессорно-силовом блоке располагаются двигатель Д-108 со сцеплением, компрессор К9М для производства откачек, угловой редуктор, ресивер и др.
Для привода средств механизации, имеющихся на буровом агрегате, а также с целью облегчения управления механизмами буровой установки она снабжена пневмо- и гидромеханизмами.
Буровой насос и ротор включаются с пульта управления бурильщика с помощью пневмомуфт. Фрикцион и тормоз лебедки имеют пневмоусилители, которые получают привод от компрессора автошасси или аварийного компрессора.
На буровом агрегате используются гидрораскрепитель для развинчивания БТ диаметром 73 мм с помощью ротора, приспособление для выноса БТ, вспомогательная катушка и др.
Для измерения осевой нагрузки на долото применяется индикатор веса ГИВ-6-11. При бурении можно использовать свечи длиной 12 м, обсаживать скважину трубами диаметром 377 мм без снятия ротора.
Буровая установка УБВ-600. Буровая установка состоит из двух блоков – бурового и насосного, смонтированных на трехосном автошасси КрАЗ-257.
Привод основных механизмов осуществляется от ходового двигателя ЯМЗ-238 через двухскоростную коробку отбора мощности. Управление коробкой отбора мощности установлено в кабине автомобиля.
В состав бурового блока входят раздаточная коробка, угловой редуктор, двухбарабанная лебедка, вал для привода ротора, компрессор для привода механизмов управления, мачта с гидравлическими домкратами подъема, закрепленная на раме лебедки.
На насосном блоке размещены раздаточная коробка, два насоса 9МГР-61 с обвязкой, электрогенератор мощностью 30 кВт, компрессор КТ-7, устройства для спаривания насосного и бурового блоков. Передача вращения с блока на блок производится с помощью карданного вала. Суммирование мощности двух двигателей на одну трансмиссию не допускается.
Ротор с проходным отверстием 410 мм и подсвечник устанавливаются на рабочей площадке.
Мачта – наклонная, телескопическая. Верхняя секция выдвигается посредством талевого блока установки. На верхнем торце нижней секции крепят полати емкостью 50 свечей из труб диаметром 114 мм. Полати при транспортировке перевозятся отдельно.
Лебедка состоит из двух барабанов – бурового и тартального, которые включаются шинно-пневматическими муфтами. Из средств механизации работ предусматриваются гидрораскрепитель, тележка для переноса труб, устройство для свинчивания долот под ротором и бурения шурфа, электрическая лебедка и компрессор.
Управление механизмами бурового агрегата сосредоточено на пульте управления бурового и насосного блоков.
Технические характеристики самоходных буровых агрегатов с роторными вращателями приведены в табл. 1.
Таблица 1
|
Параметры |
УРБ-ЗАМ |
УРБ-ЗАЗ |
УРБ-ЗА2 |
1БА-15В |
УБВ-600 |
|
|
Грузоподъемность, т: |
||||||
|
номинальная |
5 |
6,5 |
6,3/12,5 |
12,5 |
32 |
|
|
максимальная |
8 |
13 |
10/20 |
20 |
50 |
|
|
Основной способ бурения |
Вращательный с промывкой |
|||||
|
Рекомендуемая глубина бурения, м |
500 |
600 |
800 |
500 |
600 |
|
|
Диаметр труб, мм |
60 |
60 |
60 |
73 |
114 |
|
|
Рекомендуемые диаметры скважин, мм: |
||||||
|
начальный |
243 |
243 |
243 |
394 |
490 |
|
|
конечный |
93 |
93 |
93 |
194 |
214 |
|
|
Транспортная база |
Шасси МАЗ-500А |
Шасси МАЗ-500А |
Шасси МАЗ-500А |
Шасси МАЗ-500А |
КрАЗ-257 (2 шасси) |
|
|
Силовой привод, тип |
Дизель Д-54 |
Дизель А-41Г |
ЯМЗ-236 |
ЯМЗ-236/ Д-108 |
ЯМЗ-238 (2 двигателя) |
|
|
Мощность, кВт |
39,7 |
66,2 |
77,2 |
77,2/79,4 |
110,3х2 |
|
|
Частота вращения,об/мин |
1300 |
1750 |
1500 |
1500/1070 |
1500 |
|
|
Удельный расход топлива, г/(кВт∙ч) |
150,7 |
132,4 – 136 |
122,8 – 133 |
132,4 – 133 |
122,8 – 133 |
|
|
Ресурс до капитального ремонта, ч |
5000 |
6000 |
8000 |
8000 |
8000 |
|
|
Мачта |
Секционная складывающаяся |
Телескопическая наклонная |
||||
|
Высота до оси кронблока, м |
16 |
18 |
18 |
18 |
22,4 |
|
|
Подъем мачты |
Гидродомкратом |
|||||
|
Длина бурильной трубы/свечи, м |
4,5/9 |
6/12 |
6/12 |
6/12 |
12 |
|
|
Механизм вращения |
Ротор |
|||||
|
Проходное отверстие стола, мм |
250 |
250 |
250 |
410 |
410 |
|
|
Частота вращения, об/мин (прямые основные передачи) |
110, 190, 314 |
75, 150, 285 |
79, 160, 300 |
65, 130, 245 |
105, 183 |
|
|
Число передач основных / вспомогательных |
4 |
4 |
4/4 |
4/4 |
2/3 |
|
|
Крутящий момент (максимальный), Н∙м |
3500 |
7000 |
4500 (7000) |
7000 (1000) |
1700 |
|
|
Натяжение талевого каната максимальное, кН |
28 |
35 |
52 |
52 |
90/30 |
|
|
Диаметр каната, мм |
15,5 |
18 |
18 |
18 |
25/13 |
|
|
Емкость барабана, м |
100 |
150 |
150 |
150 |
200 |
|
|
Оснастка талевой системы |
1x2 |
2x3 |
1x2/2x3 |
2x3 |
3X4 |
|
|
Скорость подъёма крюка, м/с |
0,54 – 1,56 |
0,34 – 1,32 |
0,4 – 1,48 |
0,2 – 1,39 |
0,18 – 1,2 |
|
|
Тип подачи |
С тормоза лебедки |
С тормоза лебедки и гидравлическая |
С тормоза лебедки и гидравл. (по заказу) |
С тормоза гидравлическая (по заказу) |
С тормоза лебедки |
|
|
Усилие подачи, кН: |
||||||
|
вниз |
– |
35 |
35 |
35 |
– |
|
|
вверх |
– |
50 |
50 |
50 |
– |
|
|
Ход подачи, м |
На длину штанги |
0,6 или на длину штанги |
0,6 или на длину штанги |
0,6 или на длину штанги |
На длину штанги |
|
|
Параметры |
УРБ-ЗАМ |
УРБ-ЗАЗ |
УРБ-ЗА2 |
1БА-15В |
УБВ-600 |
|
|
Буровой насос |
11ГрИ |
НБ 12-63-40 |
11ГрИ |
НБ 12-63-40 |
9МГр-61 (2 насоса) |
|
|
Приводная мощность, кВт |
35,3 |
50 |
35,3 |
50 |
125 |
|
|
Подача максимальная, л/с |
7 |
12, 25 |
7 |
12, 25 |
32 |
|
|
Давление максимальное, МПа |
6,3 |
6,3 |
6,3 |
6,3 |
15 |
|
|
Компрессор |
– |
– |
Гаро |
К9М |
КТ-7 |
|
|
Подача, м3/мин |
– |
– |
0,5 |
10 |
5,3 |
|
|
Давление, МПа |
– |
– |
0,7 |
0,6 |
0,8 |
|
|
Гидравлический насос |
НШ-46 (на двигателе) |
НШ-10 (на двигателе) |
НШ-32 или НШ-10 |
НШ-32 или НШ-10 |
М-20 |
|
|
Электрогенератор |
||||||
|
Мощность, кВт |
8 |
20 |
12 |
12 |
30 |
|
|
Напряжение, В |
380/220 |
380/220 |
380/220 |
380/220 |
380/220 |
|
|
Сварочное устройство |
– |
– |
– |
– |
Трансформатор ТС6-300 (по заказу) |
|
|
Механизм развинчивания |
Ротором трубы диаметром 60 мм |
РТ-1200М |
Ротором трубы диаметром 60 мм |
Ротором трубы диаметром 73 мм, гидрораскрепитель |
Гидрораскрепитель, электролебедка |
|
|
Управление основными рабочими механизмами |
Механическое |
Пневмагическое |
||||
|
Укрытие |
– |
Укрытие бурильщика и верхового рабочего |
Укрытие бурильщика и верхового рабочего |
Укрытие бурильщика |
Укрытие блоков и верхового рабочего (по заказу) |
|
|
Габариты основного блока в транспортном положении, м |
10,7х2,8х3.5 |
10.86хЗх3.75 |
10.86хЗх3.75 |
10.86хЗх3.75 |
12,46х2,65х х4,16х10,0х х3,0х3,25 |
|
|
Масса основного блока, т (транспортная) |
13,7 |
14,8 |
14,4 |
14,7 |
24,1 (20,9 насосный) |
|
|
Гарантийный срок исправной работы, мес |
12 |
12 |
9 |
12 |
12 |
|
|
Межремонтный период до первого капитального ремонта, ч |
6400 |
7000 |
8000 |
8000 |
6000 |
3.3 Буровые установки со шпиндельными вращателями
Для бурения геотехнологических скважин используются также буровые станки, имеющие шпиндельные вращатели. В основном применяются буровые станки ЗИФ-650М и ЗИФ-1200МР.
Их основное преимущество перед установками с роторными вращателями заключается в наличии гидравлических механизмов подачи и средств механизации спуско-подъемных операций (СПО), а также электродвигателей в качестве привода основных механизмов. Другим важным преимуществом этих установок является возможность создания нормальных условий работы для обслуживающего персонала путем постройки передвижных буровых зданий.
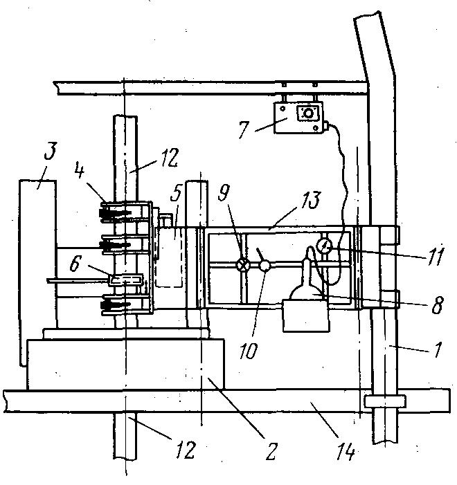
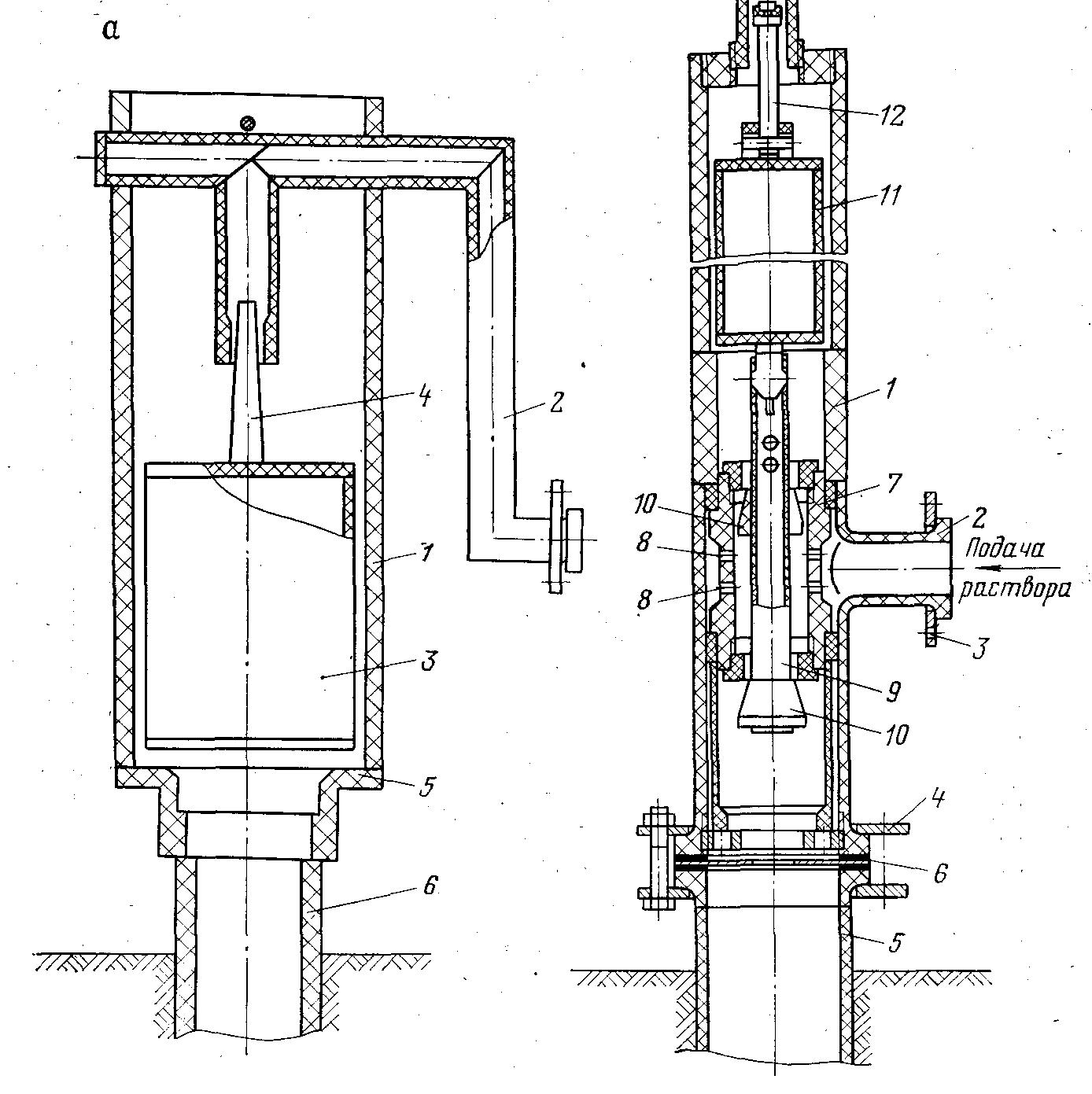
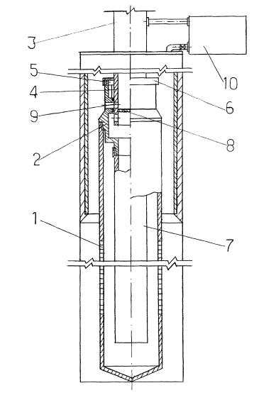
Установки колонкового бурения применяются в основном для проходки разведочных скважин. Однако в последнее время для сооружения эксплуатационных скважин ПВ металлов используются модифицированные установки типа БПУ-650М и БПУ-1200М, изготовленные на базе буровых агрегатов ЗИФ-650А, ЗИФ-650М, ЗИФ-1200А, ЗИФ-1200МР. Глубины скважин при диаметре 243 – 295 мм в зависимости от применяемого бурового станка достигали 250 – 500 м. Основное буровое оборудование смонтировано в утепленном буровом здании, установленном на платформе на колесном ходу. Схема буровой передвижной установки БПУ-1200М дана на рис. 4. Перевозка установки производится с помощью транспортных средств. В рабочем положении платформа установки снабжена гидравлическими опорами, которые подключены к гидросистеме бурового станка.
В состав бурового оборудования, установленного на платформе, входят: буровой станок, буровой насос НБ-32, электропривод бурового станка и бурового насоса. Из средств механизации СПО применяются труборазворот РТ-1200М и полуавтоматические элеваторы.
Мачта телескопическая, двухсекционная, высотой 18,7 м, грузоподъемностью 11 т. Изменение высоты мачты осуществляется путем выдвижения верхней секции мачты с помощью гидроцилиндров, смотированных на платформе, или лебедки. Гидроцилиндры подъема мачты через распределитель подключены к гидросистеме бурового станка. Подъем и опускание мачты осуществляется с пульта управления.
Отапливается буровое здание двумя электрокалориферами типа СФОА, мощностью 25 кВт каждый. Питание бурового агрегата электроэнергией осуществляется от промышленной энергосистемы или от передвижной электростанции ЭСД-100.
Иногда в модифицированных установках колонкового бурения в качестве вращателя используется ротор типа Р-410 с проходным отверстием 410 мм от бурового агрегата 1БА-15В.
Применение модифицированных буровых агрегатов типа БПУ-650М и БПУ-1200М позволило повысить производительность сооружения технологических скважин ПВ и улучшить условия работы обслуживающего персонала.
Однако установки колонкового бурения не дают возможности использовать их при сооружении технологических скважин глубиной свыше 500 м при диаметре ствола 320 – 346 мм.
Техническая характеристика модифицированных буровых агрегатов и станков для бурения скважин из подземных горных выработок приведена в табл. 2.
Таблица 2
|
Параметры |
БПУ-1200М |
БПУ-650М |
БСК-2М-100 |
НКР-100 |
|
Глубина бурения, м, при конечном диаметре скважины, мм: |
||||
|
93 |
1500 |
650 |
||
|
152 – 190 |
700 |
500 |
||
|
46 |
100 |
|||
|
105 |
50 |
|||
|
Диаметр бурильных труб, мм |
50; 63,5; 73 |
50; 63,5; 73 |
33,5; 42 |
43; 63,5. |
|
Частота вращения бурового инструмента, об/мин |
75; 136; 231; 288; 336; 414; 516; 600 |
81; 118; 188; 254; 340; 460; 576; 800 |
300; 600 |
76 |
|
Наибольшее усилие подачи, кН: |
||||
|
вверх |
150 |
80 |
||
|
вниз |
50 |
30 |
12 |
6,0 |
|
Грузоподъемность лебедки, т |
5,5 |
3,5 |
Нет |
|
|
Скорость навивки каната на барабан, м/с |
0,7; 1,24; 2,1; 2,6; 3,04; 3,75; 4,7; 5,24 |
0,7; 0,95; 1,5; 2,04; 2,72; 3,7; 4,6; 6,24 |
||
|
Мощность электродвигателя для привода бурового станка, кВт |
55 |
30 |
7,5 |
|
|
Расход воздуха, м3/мин |
– |
– |
– |
6 |
|
Тип бурового насоса |
НБ-32 |
НБ-32 |
НБ-63/40 |
|
|
Подача, л/мин |
540 |
540 |
63 |
|
|
Максимальное давление, МПа |
4,0 |
4,0 |
4,0 |
|
|
Приводная мощность, кВт |
32 |
32 |
3,0 |
|
|
Высота мачты, м |
18 |
18 |
– |
|
|
Грузоподъемность, т |
11 |
11 |
||
|
Механизм свинчивания и развинчивания труб |
РТ-1200М |
РТ-1200М |
– |
– |
|
Транспортная база |
Платформа на колесном ходу |
– |
– |
|
|
Укрытие |
Буровое здание |
|||
|
Отопление |
Калорифер СФОА |
– |
– |
|
|
Мощность калорифера, кВт |
25 |
25 |
– |
– |
4. Конструкции геотехнологических скважин для ПВ металлов
При выборе конструкции эксплуатационных скважин для подземного выщелачивания ПИ с использованием кислотных растворителей металла необходимо учитывать следующее: 1) обеспечение высокой стойкости материала обсадных труб (ОТ) к химически агрессивным средам, а также механической прочности ОТ в условиях горного давления и гидродинамических нагрузок; 2) внутреннее сечение ОТ должно допускать производство ремонтно-восстановительных работ, цементирование скважин для создания гидроизоляции зон движения рабочих и продуктивных растворов и проведение необходимых геофизических и гидрогеологических наблюдений за ходом процесса ПВ; 3) возможность создания надежной гидроизоляции надрудного горизонта, особенно в случае эксплуатации маломощных рудных тел, находящихся в зоне водоносных горизонтов; 4) в процессе бурения не должна нарушаться целостность нижнего водоупора, в случае перебуривания водоупора необходимо предусматривать в дальнейшем его тампонирование; 5) утяжелитель для спуска в скважину полиэтиленовых обсадных колонн необходимо изготовлять из инертных материалов или же он должен быть извлекаемым; 6) при оборудовании нижней части фильтра отстойником с окнами для облегчения освоения скважины необходимо предусматривать возможность перекрытия окон после окончания работ по освоению; 7) для предохранения затрубного пространства скважин от проникновения с поверхности рабочих растворов следует использовать специальное оборудование устья; 8) срок службы скважин должен быть не менее срока отработки блока.
При отработке месторождений ПИ методом ПВ особые требования предъявляются и к фильтрам буровых скважин.
На выбор проектных конструкций эксплуатационных скважин ПВ оказывают влияние следующие основные факторы: 1) геологические и гидрогеологические условия месторождения (физико-механические свойства слагающих пород, глубина залегания продуктивного пласта, наличие в разрезе водоносных горизонтов и др.); 2) принятая система отработки месторождения и схема размещения эксплуатационных скважин; 3) проектная производительность добычных скважин; 4) тип и конструкция раствороподъемных устройств; 5) географическое расположение месторождения; 6) назначение скважин и др.
Конструкции откачных и нагнетательных технологических скважин отличаются только по диаметру применяемых эксплуатационных колонн: откачные скважины обычно оборудуются колоннами большего диаметра. Диаметры скважин и эксплуатационных колонн определяются размерами раствороподъемных устройств (эрлифты, погружные насосы и др.).
В качестве материала обсадных и эксплуатационных колонн при подземном выщелачивании металлов наиболее широко используются полиэтиленовые трубы типа ПНП, серии С и Т; ПВП серии С, Т, СТ„ стеклопластовые и металлопластовые трубы, ОТ из нержавеющей стали. ОТ применяются при кислотном выщелачивании в качестве обсадных (защитных) колонн, а при других способах выщелачивания могут использоваться и в качестве эксплуатационных колонн. В практике ПВ металлов в основном применяются одноколонные и двухколонные конструкции технологических скважин.
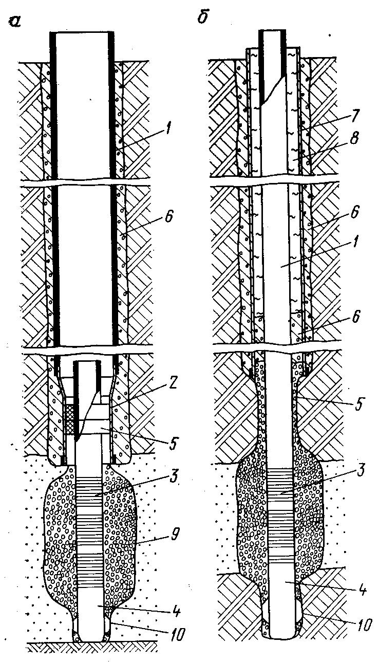
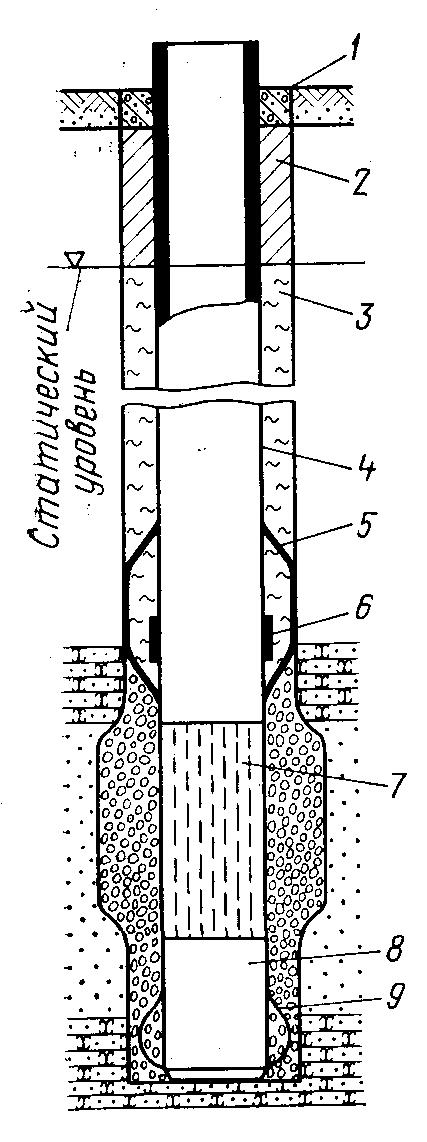
На рис. 5 показаны конструкции одноколонных эксплуатационных скважин, наиболее широко применяемых при подземном выщелачивании пластовых месторождений. В некоторых случаях при значительных глубинах залегания продуктивных горизонтов и наличии в разрезе неустойчивых пород устье скважины может быть оборудовано направляющей трубой и кондуктором.
При сооружении эксплуатационных нагнетательных и откачных скважин с гидроизоляцией рабочих и продуктивных растворов с помощью манжет скважины бурят до рудного пласта диаметром 190 – 243 мм, а перебуривание рудного пласта осуществляется долотами меньшего диаметра (рис. 5, а).

Рис. 5. Типовые конструкции одноколонных эксплуатационных скважин ПВ металлов:
а – с гидроизоляцией при помощи пакера (манжеты); б – с гравийной обсыпкой фильтров;
в – с комбинированной эксплуатационной колонной и эрлифтным подъёмом продуктивных растворов;
г – с комбинированной эксплуатационной колонной и подъёмом продуктивных растворов с помощью погружных насосов:
1 – эксплуатационная колонна, 2 – фильтр, 3 – отстойник, 4 – разобщающая манжета с цементировочным устройством, 5 – утяжелитель, 6 – материал гидроизоляции, 7 – песчано-гравийная обсыпка, 8 – центратор
Эксплуатационная колонна диаметром 110 – 140 мм оборудуется отстойником, фильтром, манжетой из кислотостойкой резины и утяжелителями.
В месте перехода на уменьшенный диаметр скважины эксплуатационная колонна снабжается манжетой с удлиненным корпусом и впаянным в основание металлическим кольцом, которое обеспечивает необходимую прочность и жесткость. В тех случаях, когда посадка манжеты производится в верхний водоупор, представленный слабыми глинистыми породами, плечо должно отбуриваться выше предполагаемого места установки манжеты.
Основное назначение манжеты – создание гидроизоляции выше зоны движения продуктивных растворов. Поверх манжеты заливается гидроизоляционный материал.
Интервал гидроизоляции, кроме специально оговариваемых случаев, обычно равен высоте от манжеты до динамического уровня подземных вод. Остальная часть затрубного пространства скважины может заполняться другим материалом, а устье скважины на глубину 2 – 3 м цементируется.
Одноколонные конструкции нагнетательных и откачных технологических скважин ПВ с гидроизоляцией с помощью манжет обладают простотой и имеют небольшие затраты на их сооружение. Однако такие конструкции технологических скважин не дают возможности применять фильтры с гравийной обсыпкой, что снижает производительность и срок службы скважин. Такие конструкции технологических скважин в настоящее время чаще всего используются в качестве нагнетательных.
В последнее время технологические скважины ПВ оборудуются фильтрами с гравийной обсыпкой. С целью создания на забое скважины уширенного контура гравийной обсыпки призабойная зона скважины может предварительно расширяться (рис. 5. б).
Оборудование нагнетательных скважин гравийными фильтрами позволило увеличить приемистость скважины, при этом также увеличились срок службы скважины и работоспособность раствороподъемных устройств, особенно погружных насосов. Гидроизоляция зон движения рабочих и продуктивных растворов осуществляется после создания вокруг фильтра песчано-гравийной обсыпки путем заливки гидроизоляционного материала поверх слоя гравия.
Диаметры эксплуатационных колонн выбираются с учетом назначения скважин и применяемых добычных устройств (откачных, нагнетательных).
При сооружении нагнетательных скважин диаметр эксплуатационных колонн выбирается так, чтобы разместить внутри колонны раствороподающие устройства и обеспечить необходимую приемистость скважин (в продуктивный пласт должно быть подано в единицу времени необходимое количество раствора). В настоящее время при сооружении нагнетательных скважин диаметр эксплуатационных колонн колеблется в пределах 70 – 150 мм.
Для конструкции скважин, показанных на рис. 5, б, диаметры эксплуатационных колонн имеют величины 110 – 225 мм.
В глубоких скважинах при высоком динамическом уровне продуктивных растворов эксплуатационная колонна может быть комбинированной. Верхняя часть колонны выбирается большего диаметра для установки погружных насосов. Длина верхней части эксплуатационной колонны увеличенного диаметра устанавливается с учетом динамического уровня раствора в скважине, длины насоса, глубины погружения насоса ниже динамического уровня (3 – 5 м) и дополнительного понижения уровня в результате кольматации фильтра. Собирается эта часть колонны в большинстве случаев из полиэтиленовых труб, длина которых определяется предельной глубиной спуска труб данного типоразмера. Нижняя же часть эксплуатационной колонны соответствует диаметру фильтра (рис. 5, г). Материал труб нижней и верхней частей колонны также может различаться, обычно в нижней части устанавливаются более прочные трубы, например, из нержавеющей стали, стеклопластиковые и др.
В некоторых случаях при эрлифтном подъеме продуктивных растворов при использовании в качестве раствороподъемных труб эксплуатационных колонн возможно уменьшение диаметра колонны по сравнению с диаметром фильтра (рис. 5, в). Это устанавливается На основе расчетных соотношений диаметра воздухоподающих и раствороподъемных труб и производительности скважины.
Диаметр скважины под эксплуатационную колонну при одноколонных конструкциях зависит от диаметра и материала применяемых труб (полиэтиленовые, стеклопластиковые, из нержавеющей стали и др.); типа, диаметра и места установки утяжелителя для спуска полиэтиленовых колонн, применяемых способов цементирования и гидроизоляции зон движения рабочих и продуктивных растворов.
При применении системы отработки месторождений, в которых Число откачных и нагнетательных скважин выбирается из соотношения 1:3, 1:4, 1:5, производительность откачных скважин должна быть соответственно в 3, 4 и 5 раз больше производительности нагнетательных скважин. На рис. 7 даны типовые конструкции высокодебитных скважин. При сооружении высокодебитных откачных скважин, оборудованных фильтрами с песчано-гравийной обсыпкой, находят применение конструкции, в которых предусмотрена обсадка ствола скважины до кровли продуктивного горизонта трубами из нержавеющей стали, стеклопластика и других, материал которых не подвержен разрушению при действии кислотных растворителей (рис. 6, а). Конструктивно башмак обсадной колонны выполняется меньшего диаметра для более надежной и легкой установки гидроизоляционного пакера.

Рис. 6. Типовые конструкции высокодебитных эксплуатационных скважин ПВ: а – высокодебитные откачные скважины; б – скважины большой глубины при наличии неустойчивых интервалов ствола:
1 – эксплуатационная колонна; 2 – хвостовик; 3 – фильтр; 4 – отстойник; 5 – пакер; 6 – слой гидроизоляции;
7 – защитная колонна; 8 – глинистый раствор; 9 – гравий; 10 – центратор
Забуривание скважины и бурение до продуктивного горизонта обычно осуществляются долотами диаметром 295, 346, 394 мм. Затрубное пространство обсадной колонны цементируется. Дальнейшее бурение с целью вскрытия продуктивного горизонта осуществляется долотами диаметром 190 – 243 мм.
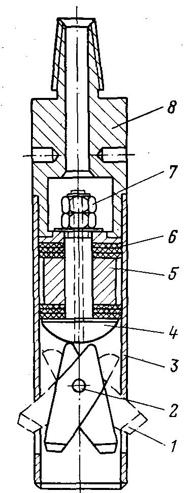
Интервал продуктивного пласта, в котором располагается каркас фильтра с гравийной обсыпкой, при необходимости расширяется. Фильтр вместе с надфильтровым патрубком и отстойником опускают в скважину на БТ соединенных с надфильтровым патрубком с помощью специального переходника, имеющего левую резьбу. Для обеспечения лучшего центрирования фильтра на забое скважины он снабжается двумя направляющими фонарями – на отстойнике и на надфильтровом патрубке (в верхней части).
Конструкция эксплуатационных скважин, применяемая в условиях больших глубин (свыше 300 м) и при наличии неустойчивых пород в верхних интервалах скважины, показана на рис.6, б. Закрепление неустойчивой части ствола скважины осуществляется обсадной (защитной) колонной из металлических труб с последующей цементацией затрубного пространства. В дальнейшем скважина оборудуется эксплуатационной колонной из кислотостойких материалов, которая изолируется от обсадной колонны при помощи манжет (пакеров), цементных, глинистых или известковых растворов.
Глубины эксплуатационных скважин ПВ определяются положением продуктивного горизонта, длиной отстойника и др. Положение рудного пласта определяется путем взятия геологических проб (кернов) при опережающем бурении скважин малого диаметра в процессе сооружения технологических скважин, а также по данным геофизических измерений.
Длина отстойника нагнетательных скважин определяется количеством взвесей, находящихся в рабочем растворе, подаваемом в скважину, и временем между профилактическими ремонтами скважин. Обычно длина отстойников в фильтрах, устанавливаемых в нагнетательных скважинах, составляет не более 1 % номинальной глубины скважин, для откачных скважин эта величина не превышает 2 %.
В некоторых случаях при низких уровнях пластового раствора и большой глубине скважин использование эрлифтов в качестве раствороподъемных средств возможно только путем увеличения заглубления смесителя под уровень пластовых растворов. Для этого глубину скважин увеличивают.
Если при перебуривании скважины ниже рудного горизонта последняя вскрывает водоносный горизонт, то необходимо предусмотреть цементацию затрубного пространства отстойника до нижней границы фильтра.
5. Крепление геотехнолгичеких скважин
5.1 Обсадные трубы для оборудования геотехнологических скважин
К обсадным трубам для крепления и оборудования геотехнологических скважин предъявляются специфические требования, связанные с условиями сооружения и эксплуатации скважин.
Основными из них являются следующие: 1) достаточная механическая прочность в условиях горного давления и гидродинамических нагрузок; 2) стойкость материала труб к химически агрессивным средам (рабочим и продуктивным растворам), а также при работе в условиях низких и высоких температур; 3) высокие адгезионные свойства или сцепление с различными тампонажными и гидроизоляционными материалами; 4) простота конструкции, надежность в работе и высокая герметичность соединений труб; 5) невысокая стоимость труб, обусловливающая рациональную конструкцию скважин.
Правильный выбор типа труб для обсадных и эксплуатационных колонн геотехнологических скважин определяет работоспособность и срок службы скважин.
В настоящее время для крепления и оборудования геотехнологических скважин широко применяются стальные (в том числе из нержавеющей стали) и полиэтиленовые трубы. Реже используются полипропиленовые, винипластовые, бипластмассовые, фанерные и стальные трубы, футерованные полиэтиленом. В стадии внедрения находятся стеклопластиковые и металлопластовые трубы.
Стальные трубы, изготовляемые по ГОСТ 632–80, широко применяются в качестве обсадных и эксплуатационных колонн при сооружении технологических скважин для подземного выщелачивания солей, а также при обсадке и оборудовании различных вспомогательных скважин (баражные, гидроразрыва пластов, водопонизительные и др.).
При добыче металлов методом ПВ с использованием кислотных растворителей стальные трубы из обычной стали применяются в качестве обсадных, защитных колонн. В процессе освоения и эксплуатации технологических скважин они должны быть изолированы от контакта с продуктивными и рабочими растворами.
Обсадные трубы ГОСТ 632–80 выпускаются бесшовными, муфтового соединения с короткой, нормальной и реже удлиненной резьбами. Стандартом предусмотрено также изготовление труб с удлиненной резьбой трапециедального профиля, отличающегося повышенной прочностью.
Трубы ниппельного соединения, выпускаемые согласно ГОСТ 6238–52, используются при оборудовании неглубоких технологических скважин, а также для вспомогательных работ.
При оборудовании неглубоких геотехнологических скважин стальными обсадными эксплуатационными колоннами муфтового соединения рабочие напряжения в резьбовых соединениях и по телу трубы будут незначительными. Для упрощения конструкции скважин и уменьшения их диаметров, соединительные муфты обсадных труб можно обточить, уменьшив их диаметр на 10 – 15 мм. Это будет способствовать также улучшению условий извлечения труб в процессе ликвидации скважин.
Для выполнения вспомогательных работ в технологических скважинах применяются насосно-компрессорные трубы, изготовляемые по ГОСТ 633–80.
При добыче металлов методом ПВ с использованием кислотных растворителей наиболее полно требованиям технологии оборудования скважин отвечают трубы из коррозионно-стойкой стали. Однако применение труб из нержавеющей стали для крепления и оборудования технологических скважин ПВ очень ограничено вследствие недостаточного числа этих труб и их значительной стоимости. Поэтому в настоящее время трубы из нержавеющей стали применяют только для изготовления фильтров глубоких скважин и скважинного оборудования, а также в качестве раствороподъемных колонн.
Трубы из нержавеющей стали изготовляются по ГОСТ 9940–81 бесшовные, горячедеформированные, коррозионно-стойкие. Наиболее широко используются трубы из стали марок 10Х17Н13М2Т, 12Х18Н9, 12Х18Н10Т.
Изготавливаются бесшовные, холоднотянутые, холоднокатаные и теплокатаные трубы из нержавеющей стали марок 12Х18Н10Т.
Опыт эксплуатации технологических скважин ПВ показал, что применение стальных труб позволяет упростить конструкции скважин, облегчить их оборудование, а в некоторых случаях и снизить стоимость работ.
Поэтому проводятся исследования, направленные на повышение коррозионной стойкости труб, изготовленных из обычных сталей. Одним из наиболее эффективных направлений улучшения коррозионной стойкости материала труб является использование покрытий поверхности труб кислотостойкими оболочками (футерование; использование лаков и т. д.).
При футеровании полиэтиленовая труба свободно (с зазором) вставляется в стальную, затем вся система подвергается совместному волочению.
Преимуществами футерованных труб являются высокие прочностные показатели (всю эксплуатационную нагрузку несет стальная оболочка) и устойчивость при работе с температурами от –40° до + 90 °С.
При сооружении технологических скважин на полигонах ПВ в основном применялись трубы 114X5 (104ХЗПВП) с фланцевым соединением. Однако широкое применение этих труб для крепления технологических скважин сдерживается по следующим причинам: 1) затруднено проведение ремонтных и других работ в обсаженной скважине вследствие возможного разрушения полиэтиленовой оболочки; 2) применение фланцевого соединения для спуска футерованных труб в скважину требует увеличенного диаметра скважины и: значительных затрат времени на сборку труб; 3) для предупреждения разъедания металлического каркаса растворами кислот крепление скважин футерованными трубами возможно только при наличии двух- и более колонн с обязательной цементацией затрубного пространства кислотостойким или сульфатостойким цементом.
Трубы из неметаллических материалов. Наиболее широко применяются трубы, изготовленные из полимеров (полиэтилен, полипропилен, винипласт), стеклопластика, фанеры, а также различные типы труб, составленные из разнородных материалов (металлопластовые, бипластмассовые и др.).
Трубы из полимерных материалов находят широкое применение при сооружении технологических скважин ПВ с использованием кислотных растворителей в качестве обсадных и эксплуатационных колонн, напорных трубопроводов для подачи сжатого воздуха и рабочих растворов в скважину, а также в качестве раствороподъемных труб.
Трубы из полимерных материалов обладают высокой химической стойкостью при работе в различных агрессивных средах, достаточной механической прочностью, возможностью механической и тепловой обработки. Важным преимуществом труб из полимеров является низкий коэффициент трения, что позволяет предотвратить отложения различных веществ на стенках труб и снизить сопротивления при движении растворов. Они обладают также низкими диэлектрическими показателями и высокой стойкостью против электрохимической коррозии. Однако трубы из полимерных материалов имеют и некоторые недостатки, которые необходимо учитывать при эксплуатации: 1) низкие адгезионные свойства полимерных труб приводят к недостаточному сцеплению цементных и других растворов с поверхностью труб, что способствует ухудшению гидроизоляции зон движения растворов и требуют разработки специальных мероприятий; 2) механическая прочность труб из полимеров уменьшается при увеличении температуры и нагрузок; 3) величина деформации полимерных труб и их работоспособность сильно зависят от температуры окружающей среды, при которой осуществляется эксплуатация труб; 4) физико-механические свойства труб из полимеров под влиянием солнечной радиации ухудшаются с течением времени, т.е. наблюдается старение материала труб, в результате чего увеличивается их жесткость и хрупкость. В США больше нашли применение трубы поливинилхлоридные ПВХ Sch40 и стеклопластиковые.
Полиэтиленовые трубы. Для оборудования геотехнологических скважин наиболее широко применяются полиэтиленовые трубы, которые изготавляются согласно ГОСТ 18599–73 из полиэтилена низкой (ПНП) и высокой (ПВП) плотности четырех типов: легкие (Л), среднелегкие (СЛ), средние (С) и тяжелые (Т). В соответствии с ТУ 95333–78 выпускаются трубы из полиэтилена высокой плотности типа СТ (сверхтяжелые).
Трубы из ПНП менее прочные, но более гибкие, чем из ПВП, и имеют меньшую стоимость. Применение труб из ПНП возможно только в определенных горно-технических условиях с высокой устойчивостью стенок скважин. В геологическом разрезе должны отсутствовать пучащие глины, а также породы, склонные к оплыванию и способные развивать высокое горное давление. В процессе сооружения и эксплуатации недодопустимы осевые нагрузки, превышающие предел текучести материала, а для большинства типоразмеров труб перепады гидростатического давления должны быть не более 1МПа. Эти условия ограничивают возможность применения данного типа труб в скважинах глубже 100 м.
В связи с этим для крепления буровых скважин при ПВ более широко используются ОТ из полиэтилена высокой плотности. Прочность труб из ПВП при толщине стенки 6 – 10 мм также невелика, что ограничивает их применение в сложных горно-технических условиях. Применение толстостенных полиэтиленовых труб с наружным диаметром ПО – 210 мм и толщиной стенок 18 мм, которые незначительно уступают по прочности некоторым типам металлических и, несмотря на высокую стоимость, широко применяются при сооружении технологических скважин.
При работе в малоагрессивной водной среде может быть получен экономический эффект за счет отсутствия коррозии, большего срока эксплуатации и меньших сопротивлений движению жидкости.
Глубины спуска полиэтиленовых труб типа ПВП, серии Т и СТ при сооружении скважин подземного выщелачивания достигли в настоящее время 300 – 350 м. При этом нарушения целостности обсадных и эксплуатационных колонн обычно не превышают величин, имеющих место в скважинах меньшей глубины.
Полипропиленовые трубы. При сооружении технологических скважин ПВ могут также применяться полипропиленовые трубы.
Полипропилен (ПП) является продуктом полимеризации пропилена и изготовляется из отходов нефтеперерабатывающей промышленности.
Для изготовления труб применяют гранулированный, стабилизированный полипропилен марок 02П и ОЗП. Изготавливают трубы методом экструзии гранулированного полипропилена.
Недостатком полипропилена является повышенная хрупкость, при низких температурах.
Полипропиленовые трубы пока не нашли широкого применения для крепления технологических скважин ПВ.
Винипластовые трубы. Винипласт или твердый непластифицированный поливинилхлорид (ПВХ).
К достоинствам винипластовых труб можно отнести их сравнительно высокую механическую прочность, высокую химическую стойкость к воздействию кислот, щелочей и растворов солей различной концентрации, хорошие диэлектрические свойства, хорошую обрабатываемость материала.
Согласно сортаменту, винипластовые трубы изготавливаются четырех типов: Л, СЛ, С, Т.
К основным недостаткам винипласта следует отнести то, что он сильно подвержен старению под воздействием кислорода воздуха и ультрафиолетовых лучей, а также наличие повышенной хрупкости при отрицательных температурах.
Винипластовые трубы могут быть из полиэтилена высокой плотности (ПВП), полиэтилена низкой плотности (ПНП), полипропилена (ПП) и неспластифицированного поливинилхлорида (ПВХ).
Металлопластовые трубы. Одним из направлений повышения прочности обсадных полиэтиленовых труб и увеличения глубины их спуска в скважину является армирование полиэтиленовых труб металлическими спиралями или сетками.
В настоящее время для крепления технологических скважин ПВ по техническим условиям ТУ 95.661–79 разработаны обсадные металлопластовые трубы (МПТ) на основе полиэтиленовой оболочки и металлической сетки из проволоки диаметром 1,5–2,0 мм. Соединение обсадных труб осуществляется при помощи резьбовых металлопластовых муфт.
Важным преимуществом металлопластовых труб является их высокие прочностные показатели и коррозионная стойкость. Глубины спуска труб в настоящее время превышают 600 м.
Основным недостатком металлопластовых труб является различие коэффициентов температурного расширения материала арматуры и полиэтиленовой оболочки, что приводит к растрескиванию тела трубы и последующему разрушению труб в местах повреждения.
С целью предупреждения повреждения труб от температурных деформаций оболочки и арматуры в настоящее время проводятся исследования по изготовлению труб с наполненным полиэтиленом. В качестве наполнителя применяется стеклопластиковая масса.
В индексации указывают материал труб, наружный диаметр и толщину стенки в миллиметрах. Например, МПТ 132X12,5 ТУ 95.661–79.
Стеклопластиковые трубы. Материалом для изготовления труб служит стекловолокно и связующие вещества в виде смол. При этом тип применяемых смол является определяющим фактором коррозионной стойкости труб. Стеклопластиковые трубы применяются для оборудования технологических скважин глубиной более 300 м для транспортирования рабочих и продуктивных растворов в напорном режиме. Они обладают высокой прочностью и коррозийной стойкостью при работе в агрессивных средах, а также низким коэффициентом гидравлических сопротивлений.
Стеклопластиковые трубы для напорных трубопроводов разработаны Всесоюзным научно-исследовательским институтом по строительству магистральных трубопроводов (ВНИИСТ) на эксплуатационное давление 2,5 – 3 МПа при диаметрах труб 100, 150 и 200 мм.
Для оборудования технологических скважин на предприятиях ПВ металлов разработаны и изготовляются стеклопластиковые трубы с резьбовыми муфтами соединениями согласно ТУ 013.98–79. Трубы состоят из двух или трех заготовок, соединенных с помощью клея.
В настоящее время стеклопластиковые трубы используются при оборудовании технологических скважин ПВ глубиной более 500 м. Этими трубами оборудовано несколько скважин глубиной 520 м в тяжелых горно-геологических условиях и находятся в хорошем состоянии. Трубы имеют хорошую адгезию к цементу, что позволяет осуществить качественную гидроизоляцию затрубного пространства.
В связи с недостаточным выпуском стеклопластиковых труб и их относительно высокой стоимостью они чаще всего применяются совместно с полиэтиленовыми трубами и обычно располагаются в нижней части обсадной колонны.
В индексации указывается материал труб, внутренний диаметр и толщина стенки, например ТСО 110X6 ТУ 13.098–79.
Бипластмассовые трубы. К ним относятся трубы, в которых внутренний слой обеспечивает требуемую герметичность и химическую стойкость обсадной или эксплуатационной колонны, а связанный с ним наружный слой служит для обеспечения необходимой прочности и жесткости. Роль внутреннего футеровочного слоя обычно выполняет полиэтилен, а наружного слоя – стеклопластик. Для повышения адгезии футеровочного слоя к стеклопластику полиэтиленовую пленку облучают электронами высокой энергии.
Бипластмассовые трубы не нашли применения при сооружении геотехнологических скважин из-за повреждения полиэтиленовой оболочки в результате отслаивания ее от стеклопластика и потери герметичности в соединениях труб (применялись резьбовые соединения с помощью металлических муфт и ниппелей). Испытания показали, что бипластмассовые трубы могут найти применение в качестве напорных магистральных трубопроводов для подачи в скважины рабочих растворов.
Фанерные трубы. Для крепления технологических скважин ПВ применения не получили. Испытания показали ненадежность соединений труб при помощи клеевых муфт и быстрый выход скважин из строя. Поэтому фанерные трубы применяются в основном в качестве технологических самотечных трубопроводов для отвода из откачных скважин продуктивных растворов.
В процессе ПВ нашли применение фанерные трубы двух марок Ф1 и Ф2. Для изготовления труб и муфт применяются березовая двухслойная фанера, фенольно-формальдегидная смола и фенольно-формальдегидные клеи холодного отверждения.
Фанерные трубы достаточно стойки к слабокислым и щелочным средам в пределах рН от 4 до 10 при температуре до 60 °С.
Для транспортирования более агрессивных сред фанерные трубы покрываются стойкими лаками, наиболее распространенным из которых является лак этиноль. Лучшим методом нанесения лака на трубы является метод двукратного погружения.
5.2 Монтаж и спуск эксплуатационных и обсадных колонн
Трубы для обсадных и эксплуатационных колонн перед спуском их в скважину подвергаются тщательной контрольной проверке. Контроль внешнего вида и качества поверхности труб обычно производится визуально путем составления контролируемой трубы с эталоном, утвержденным техническими условиями на изготовление данного вида труб. На наружной и внутренней поверхностях не должно быть раковин, расслоений, трещин и др.
Производятся замеры диаметра труб и толщины стенки. Особую значимость эти измерения имеют при применении труб из неметаллических материалов.
Самым простым способом определения диаметра труб является проведение замеров с помощью рулетки.
Толщину стенки трубы измеряют микрометром с обоих концов трубы на расстоянии не менее 10 мм от торца в четырех расположенных по окружности точках. Каждый замер производится с точностью до 0,01 мм.
Толщину стенки по длине труб определяют с помощью жесткого шаблона длиной 150 – 250 мм. Наружный диаметр шаблона меньше внутреннего диаметра трубы на 3 мм для труб с толщиной стенки 14 18 мм и 2 мм – для труб с толщиной стенки 8 – 11 мм. При отклонении диаметра и толщины стенки трубы от допустимой величины производится выбраковка дефектных участков. В этом случае труба на участке с выявленным дефектом разрезается, бракованная часть отбрасывается, а пригодные концы труб могут использоваться для подбора проектной длины фильтров или эксплуатационной колонны.
В случае неметаллических колонн испытание каждой трубы гидравлическим давлением для определения величины внутреннего и внешнего сминающих давлений обычно не производится. Герметичность эксплуатационных колонн определяется в собранном виде.
Все данные измерений и сведения по качеству поверхности труб заносятся в буровой или специальные журналы.
В случае необходимости перед спуском колонны осуществляют проработку ствола скважины с помощью специальных или шарошечных долот. Монтаж колонны и спуск ее в скважину производят только после разметки элементов колонны в соответствии с фактическим геологическим разрезом.
Спуск металлических обсадных и эксплуатационных колонн обычно не представляет больших трудностей и осуществляется по общепринятой технологии. Для повышения герметичности и предохранения колонн от смятия при оборудовании глубоких технологических скважин предусматривается постановка в нижней части одного или двух обратных клапанов, которые в дальнейшем должны быть разбурены. Герметичность резьбовых соединений при спуске обсадных и эксплуатационных колонн в скважинах ПРС и ПВС повышают с помощью специальных смазок, типа Р-1, Р-2 и УС-1 [2].
Для лучшего центрирования обсадных колонн и более качественной цементации затрубного пространства рекомендуется на обсадных трубах через 10 – 20 м по длине колонны устанавливать направляющие фонари.
В практике сооружения технологических скважин находят применение два вида соединений металлических обсадных колонн – резьбовое, муфтовое и с помощью электросварки. Трубы из нержавеющей стали соединяются в колонну только с помощью сварки. Применение электродуговой сварки по сравнению с резьбовыми соединениями позволяет уменьшить металлоемкость скважин, упростить их конструкцию, повысить герметичность колонны.
Сварка ОТ над устьем скважины может производиться как автоматическими, так и полуавтоматическими сварочными установками. Наиболее широко используются сварочные установки УГОТ-1, в состав которых входят сварочные автоматы А-950 или А-1208, позволяющие осуществлять сварку труб дуговым способом в защитной среде углекислого газа. Полуавтоматическая сварка труб производится двумя полуавтоматами А-537 при одновременном участии двух сварщиков.
Для сварки труб из нержавеющей стали используются электроды марки ЦЛ-11. Перед сваркой на трубах протачиваются фаски под углом 45°.
При оборудовании неглубоких технологических скважин металлическими колоннами с целью уменьшения диаметра скважины и обсадных колонн допускается уменьшение диаметра соединительных муфт путем обточки.
При спуске в скважину полиэтиленовых обсадных и эксплуатационных колонн применяют два вида соединений – термоконтактную сварку встык и резьбовое.
Способ сварки полиэтилена основан на том, что при сближении деталей (труб), предварительно нагретых до определенной температуры, между ними образуется соединение, которое после охлаждения обладает достаточной прочностью. Необходимым условием качественной сварки полиэтиленовых труб является зажатие и центрирование свариваемых труб, нагрев кромок до требуемой температуры и на заданную глубину, а также сжатие их после нагрева с необходимым усилием. Увеличение глубины прогрева более 2 – 4 мм приводит к некоторому снижению прочности сварного шва. С увеличением давления в месте контакта нагретых поверхностей полиэтиленовых труб прочность шва возрастает.
Изменение глубины прогрева свариваемых труб приводит не только к изменению прочности сварного шва, но и к изменению размеров утолщения в виде валика, образующегося вдоль всего шва после осадки. С увеличением глубины прогрева ширина и высота валика увеличиваются. Минимальное давление в месте контакта свариваемых поверхностей должно быть 0,15 МПа. Это обеспечит прочность сварного шва при растяжении не ниже 90 % прочности основного-материала.
На прочность сварного соединения большое влияние оказывает чистота свариваемых поверхностей труб. Наличие загрязнений в материале труб непосредственно у свариваемых кромок значительно снижает прочность сварного шва. Поэтому при производстве сварочных работ рекомендуется торцы труб очищать и обезжиривать ацетоном, так как наличие масел, нефтепродуктов и других жирных веществ может привести к образованию трещин в свариваемом шве.
Термоконтактная сварка встык осуществляется с применением нагревательных плит с встроенными в них электрическими спиралями. Температура прогрева определяется в основном при помощи термометров. Степень нагрева плиты при монтаже колонн можно устанавливать при помощи индикаторов – двухцветных карандашей, синего и желтого цвета. Нагрев является достаточным, если соответствующий карандаш плавится при соприкосновении с плитой и не оставляет следа при движении по плите.
При термоконтактной сварке встык величина сварного валика достигает 5–6 мм, что снижает сечение труб в месте сварки. Для уменьшения величины сварного валика перед сваркой подготавливают кромки свариваемых труб. Для этого в трубах ПВП «СТ» с внутренней стороны торцов срезают фаски на глубину до 5 мм или протачивают трубы под установку металлической втулки. В некоторых случаях металлическая втулка является и ограничителем подачи (сжатия) труб после их прогрева.
В настоящее время при использовании существующих установок для сварки полиэтиленовых труб большинство операций, связанных со сваркой труб, выполняются с применением неквалифицированного ручного труда. Из недостатков такого способа соединения следует отметить трудности поддержания необходимой чистоты свариваемых поверхностей труб, а также субъективную оценку параметров сварки – температуры нагревателя и удельного давления при оплавлении и соединении труб. В то же время соблюдать параметры сварки, близкие к оптимальным, может только опытный сварщик, в связи с чем кроме членов буровой бригады при креплении и оборудовании технологических скважин требуется присутствие высококвалифицированного сварщика.
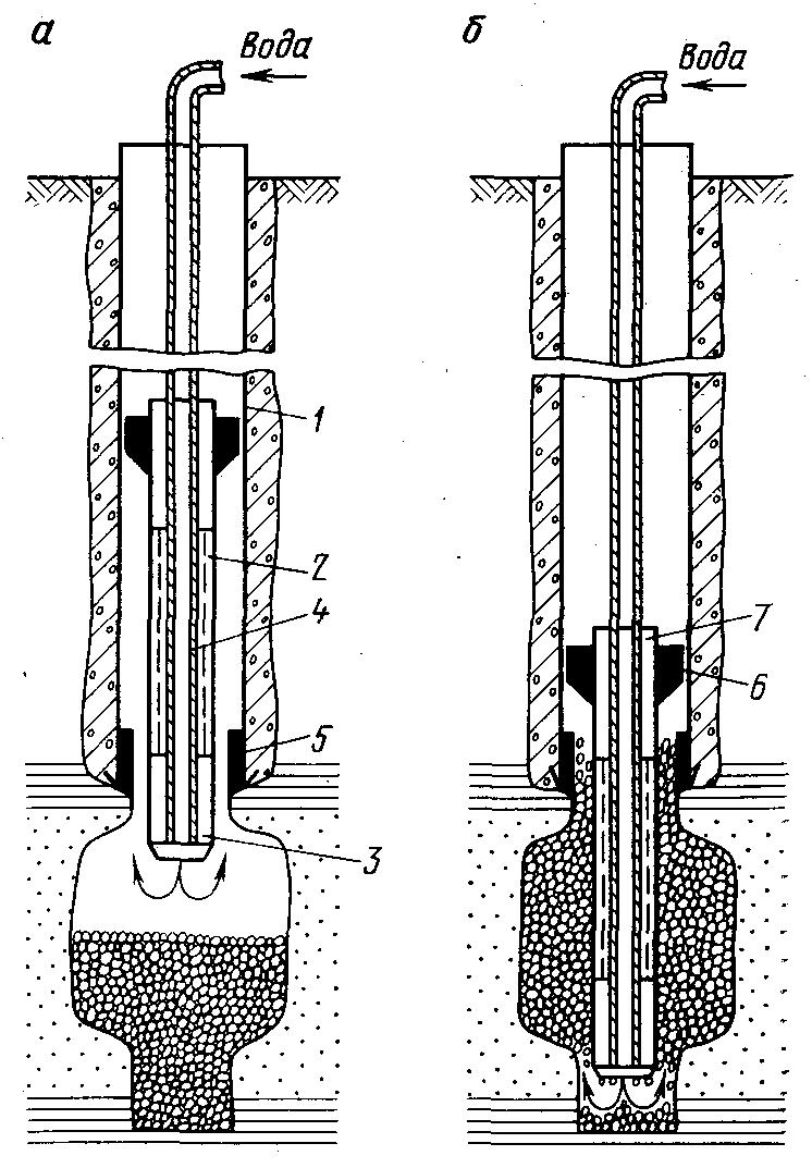
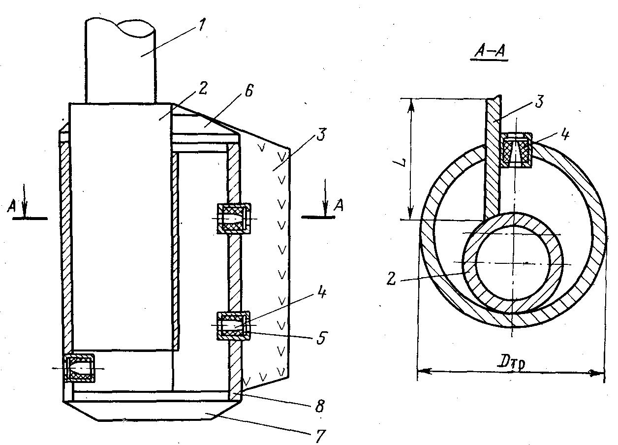
С целью повышения эффективности соединения полиэтиленовых труб на предприятиях ПВ металлов разработаны и применяются специальные установки для сварки вертикальных и горизонтальных трубопроводов, позволяющие механизировать и автоматизировать процесс сварки полиэтиленовых колонн. Схема этой установки показана на рис. 7.

Рис. 7. Полуавтоматическая установка для сварки полиэтиленовых труб УСВТ-2:
1 – стойка мачты буровой установки; 2 – ротор; 3 – лебедка; 4 – центратор; 5 – пневмоцилиндр;
6 – торцовочное приспособление; 7 – терморегулятор; 8 – нагревательный элемент; 9 – регулятор давления;
10 – переключатель; 11 – манометр; 12 – свариваемые трубы; 13 – рама крепления к мачте; 14 – платформа буровой установки.
Центрирующие приспособления сварочной установки консолью крепятся к стойке мачты бурового агрегата. Шарнирные соединения позволяют свободно отводить и подводить центраторы к месту сварки над ротором. Необходимое давление при оплавлении и сварке создается пневматическим цилиндром, который одновременно позволяет смыкать и размыкать торцы труб. Разогрев нагревательного элемента осуществляется от генератора буровой установки. Имеющийся блок контрольно-измерительных приборов позволяет устанавливать заданную величину температуры. Поверхность нагревательного элемента покрыта антиадгезионным материалом, армированным фторопластом, в результате чего на нагревателе не остается следов от расплавленного полиэтилена. Торцовка труб осуществляется непосредственно перед сваркой с помощью специального приспособления. Выполнение этой операции непосредственно перед сваркой труб способствует улучшению качества свариваемого шва из-за меньшего окисления поверхностного слоя торцов ОТ.
При торцовании концов труб в механических мастерских имеет место значительное окисление поверхностного слоя до начала сварки и спуска труб в скважину, что отрицательно сказывается на качестве шва.
Применение полуавтоматической электронагревательной установки позволяет сократить затраты времени и способствует улучшению технологии сварки и условий труда. Кроме того, автоматическая установка оптимальных параметров сварки и упрощение операций в результате использования малой механизации позволяют производить спуск обсадных и эксплуатационных колонн силами буровой бригады.
Основываясь на анализе аварийности скважин, оборудованных полиэтиленовыми колоннами, можно сделать вывод, что большинство аварий колонны связано со сварными соединениями, так как при наличии нескольких нарушений колонны расстояния между ними кратны длине свариваемых отрезков.
С целью повышения эффективности сооружения технологических скважин на предприятиях подземного выщелачивания металлов разработаны различные типы резьбовых соединений для толстостенных полиэтиленовых труб типа Т и СТ, изготавливаемых из полиэтилена высокой плотности. Наиболее широко применяются три типа резьбовых соединений полиэтиленовых труб: замковое, муфтовое и «труба в трубу».
Резьба для муфтового соединения и соединения «труба в трубу» нарезается непосредственно на полиэтиленовых трубах и муфтовых заготовках на труборезном станке. Для замкового соединения вначале в специальных пресс-формах изготовляются необходимых размеров заготовки элементов соединения, затем на них нарезается резьба, а перед спуском труб в скважину элементы замкового соединения (ниппель и муфта) привариваются к трубам при помощи термоконтактной сварки.
Определение возможных параметров резьб на полиэтиленовых трубах вытекает из исходных характеристик полиэтиленовых труб, к которым относятся геометрические параметры труб и их технические характеристики. При оценке параметров резьб учитываются: величина нагрузок, условия работы и монтажные характеристики.
Для повышения герметичности резьбовых соединений полиэтиленовых труб разработана специальная герметизирующая смесь, которая имеет хорошую адгезию к полиэтилену и обладает высокой химической стойкостью к растворам серной, соляной и азотной кислот, а также к щелочам. В готовом виде герметизирующая смесь представляет собой полупрозрачную вязкотекучую жидкость. Она сохраняет пластические свойства в течение всего периода эксплуатации полиэтиленовой колонны, что позволяет осуществить ее разборку после окончания эксплуатации скважины.
Применение резьбовых соединений при спуске полиэтиленовых обсадных и эксплуатационных колонн в процессе сооружения технологических скважин позволяет значительно сократить затраты времени, упростить технологию спуска колонн при достаточной прочности соединений. В то же время при использовании резьбовых соединений с увеличением длины трубы возрастают трудности при ее свинчивании вследствие недостаточной продольной устойчивости полиэтиленовых труб.
Металлопластовые трубы при спуске их в скважину соединяются между собой при помощи резьбового муфтового соединения. При этом муфты армированы металлической сеткой или спиралью. Соединительные муфты для металлопластовых труб разработаны по ТУ 95.660–69.
Стеклопластиковые трубы. В практике сооружения технологических скважин ПВ применяются два способа соединений стеклопластиковых труб при спуске их в скважину – с помощью накидных металлических муфт и с помощью резьбовых соединений.
Фанерные трубы. При оборудовании технологических скважин фанерными трубами последние соединяют между собой при помощи конусной муфты и клея. Клей наносится на конусные и торцовые поверхности труб. На конусные поверхности муфт клей не наносится.
Для спуска фанерных труб в скважину применяют стальные хомуты. Для предупреждения повреждения труб при зажиме хомутов предусматривается постановка на трубу резиновых прокладок.
При сооружении технологических скважин ПВ применяются два способа монтажа полиэтиленовых труб при спуске их в скважину:
а) путем поочередного наращивания отрезков труб длиной 6 – 12 м, соединяемых между собой с помощью резьбовых соединений или с использованием термических методов (обычно сварка встык);
б) полностью собранная на поверхности колонна труб опускается в скважину с помощью специальных приспособлений.
При использовании второго варианта спуск обсадных и эксплуатационных колонн в скважину можно осуществить только в случае применения труб из ПНП или труб из ПВП типа Л. При этом в подготовительном цехе или на специальной площадке возле буровой установки из отрезков труб, имеющих длину 6 – 12 м, сваривают в горизонтальном положении плеть длиной, соответствующей глубине скважины. Перед спуском труб в скважину производят опрессовку сваренной полиэтиленовой колонны путем нагнетания воды или воздуха под давлением, равным допустимому внутреннему давлению для соответствующего типа труб с целью определения ее герметичности.
В процессе спуска в скважину собранной и испытанной на поверхности полиэтиленовой колонны труб к ее нижнему концу подсоединяют утяжелитель, отстойник, фильтр, средства гидроизоляции и др. Для плавного изменения направления движения колонны из горизонтального положения в вертикальное на столе ротора устанавливают различные направляющие устройства, чаще всего в виде дуги, на которую укладываются полиэтиленовые трубы. С помощью лебедки бурового станка добиваются плавного перехода колонны в вертикальное положение.
При применении этого метода спуска полиэтиленовых труб значительно уменьшаются затраты времени на оборудование технологических скважин ПВ. При этом вследствие сокращения затрат времени на спуск колонны труб повышается надежность ее посадки на конечную глубину из-за меньшего осаждения шлама и релаксации стенок скважины.
Дополнительным преимуществом рассматриваемого способа обсадки является то, что трубы свариваются в колонну в стационарных условиях подготовительного цеха, где имеются возможности для поддержания оптимального режима сварки и надежного контроля качества шва. Кроме того, на прочность соединения оказывают меньшее влияние погодно-климатические факторы – уменьшается попадание в получаемый в процессе сварки шов влаги, пыли, песка и др.
Из недостатков обсадки скважин с использованием заранее подготовленных колонн следует отметить значительное снижение гибкости труб при понижении температуры. Установлено, что необходимая гибкость труб сохраняется при температуре окружающей среды не ниже 5 – 10 °С. При более низких температурах имеют место обрывы труб в месте перегиба на дуге.
В настоящее время в качестве направляющих приспособлений для спуска заранее подготовленной полиэтиленовой колонны труб чаще всего используются арки.
Такие арки имеют существенный недостаток, связанный с невозможностью их применения при широком изменении диаметров и жесткости полиэтиленовых труб. Кроме того, при монтажно-демонтажных работах и перевозке приспособления имеют место дополнительные затраты времени, связанные с установкой арки. С целью повышения эффективности спуска труб в скважину за счет расширения диапазона изменения диаметров спускаемых труб и сокращения затрат времени и труба на его монтаж, демонтаж и перевозку предложено устройство, показанное на рис. 8. Устройство имеет арку, состоящую из звеньев 2 с направляющими роликами 3 в местах их соединения, где предусмотрены также винтовые съемные домкраты 4 для регулирования радиуса кривизны арки. Концы съемных домкратов зафиксированы в опорном башмаке 5.
Перед началом спуска полиэтиленовой колонны 6 устройство монтируется на устье скважины, а после окончания работ по ее спуску домкраты убирают, а арку укладывают вдоль стойки мачты 7 и закрепляют с помощью крюка 8.
Основным достоинством предложенного устройства является то, что оно позволяет легко регулировать радиус кривизны арки с учетом жесткости полиэтиленовых труб.
Отличительной особенностью полиэтиленовых, полипропиленовых и фанерных труб является их незначительная плотность, по величине меньшая плотности большинства ПЖ.

Рис. 8. Устройство для спуска полиэтиленовых труб в скважину
Наиболее перспективным и экономически выгодным способом снижения плотности жидкости в скважине является химическое аэрирование ее, при котором ПЖ обрабатывается специальными реагентами – пенообразователями и поверхностно-активными веществами (ПАВ). Обработанные растворы обладают также повышенными структурными свойствами и характеризуются незначительной фильтрацией. Однако применение аэрированных растворов в качестве ПЖ приводит к удорожанию работ, а во многих случаях их применение является невозможным.
Другим направлением, обеспечивающим эффективный спуск полиэтиленовых обсадных и эксплуатационных колонн, является увеличение массы самих колонн с помощью различных утяжелителей, а также использование заталкивающих устройств. Для спуска полиэтиленовых труб в основном применяются утяжелители, а заталкивающие устройства ввиду сложности технологии спуска труб практического применения не нашли.
Для спуска полиэтиленовых колонн применяют утяжелители стационарные и съемные (рис.9). В качестве стационарных утяжелителей используются чугунные, металлические, железобетонные стержни и ОТ с различными инертными наполнителями. Они присоединяются к нижней части полиэтиленовой колонны или равномерно распределяются по ее длине.

Рис. 9. Утяжелители для спуска полимерных труб:
а – съемный утяжелитель в виде звеньев бурильных труб; б – стационарный утяжелитель; в – стационарный утяжелитель с равномерно распределенной массой по длине колонны:
1 – обсадная или эксплуатационная колонна; 2 – бурильные трубы; 3 – манжета; 4 – фильтр; 5 – утяжелитель; 6 – секции утяжелителя
Применение стационарных утяжелителей, расположенных в нижней части колонны, является наиболее простым способом спуска полиэтиленовых труб, однако их применение требует увеличения глубины бурения на длину утяжелителя, что с учетом стоимости самих утяжелителей приводит к снижению технико-экономических показателей сооружения технологических скважин. Кроме того, чугунные, металлические и железобетонные утяжелители при применении кислотных растворителей способствуют засорению продуктивных растворов.
Для съемных утяжелителей можно использовать чугунные, металлические и железобетонные стержни, устанавливаемые внутри полиэтиленовой колонны на специальных упорах, а также звенья БТ, опущенные внутрь колонны (см. рис. 9, а).
Съемные утяжелители в виде стержней, устанавливаемых внутри колонны, не нашли широкого применения из-за трудностей их извлечения после спуска полиэтиленовой колонны. Это вызвано значительными колебаниями толщины стенки, а следовательно и значительными колебаниями величины внутреннего диаметра изготавливаемых полиэтиленовых труб, а также вследствие наплывов полиэтилена, которые образуются при термических методах соединения.
БТ диаметром 42 и 50 мм широко используются в качестве съемных утяжелителей. Они опускаются внутрь полиэтиленовой колонны и соединяются со специальным противоаварийным переходником, смонтированным в отстойнике. Очень часто указанные БТ используются для более точной установки фильтра в зоне рудного пласта, особенно в глубоких скважинах.
Для глубоких скважин в 500 – 600 м при спуске полиэтиленовых труб требуются утяжелители, имеющие значительную массу. Основным недостатком описанных ранее утяжелителей при оборудовании полиэтиленовыми колоннами глубоких скважин является то, что нагрузка от утяжелителя воспринимается нижним концом колонны, вследствие чего происходит концентрация значительных растягивающих напряжений в месте соединения утяжелителя с обсадной колонной, что приводит к обрыву ОТ.
С целью повышения надежности и экономической эффективности оборудования глубоких скважин полиэтиленовыми колоннами авторами предложена обсадная колонна, у которой масса утяжелителя равномерно распределена по ее длине (см. рис. 9, в). Предложенный утяжелитель может быть выполнен в виде набора трубчатых секции, каждая из которых является разрезной, состоящей из двух полуцилиндров, которые могут быть закреплены на колонне труб при помощи хомутов. Секции располагаются концентрично наружной поверхности полиэтиленовых труб на расстоянии друг от друга, равном длине полуволны изогнутой колонны.
Сборку полиэтиленовой колонны и спуск ее в скважину осуществляют наращиванием труб по мере спуска колонны. Через интервалы, равные длине полуволны изогнутой колонны, на трубе закрепляют секции утяжелителя, число которых определяют исходя из величины общей массы утяжелителя.
Спуск металлопластовых, стеклопластиковых и других труб, имеющих значительную жесткость, производится по общепринятой технологии.
При спуске полимерных, металлопластовых и стеклопластиковых труб в скважину необходимо использовать специальные инструменты (ключи, хомуты и др.). С целью предотвращения повреждения поверхности труб инструмент должен иметь предохранительные прокладки, выполненные из резины или полиэтилена.
Значительную трудность представляет спуск фильтра с надфильтровым патрубком, выполненным из полиэтилена, стеклопластика, нержавеющей стали, при установке фильтра в скважине «впотай».
Для этой цели применяются специальные устройства, позволяющие быстро и надежно отсоединить фильтр после его установки (рис. 10). При применении таких устройств фильтр может опускаться на бурильных трубах или на канате. На рис. 10, а показано устройство для отсоединения фильтра, опущенного в скважину на бурильных трубах. Устройство содержит корпус 1, в котором размещен подпружиненный шток, выполненный в нижней части с утолщением. В отверстиях корпуса против утолщенной части штока расположены кулачки 4, которые размещаются в окнах надфильтрового патрубка в процессе спуска фильтра.
Для отсоединения устройства от фильтра по бурильным трубам подают жидкость, под действием которой шток 2 смещается вниз и утолщенная его часть выходит из зоны расположения кулачков. Затем путем вращения устройства на пол-оборота утапливают кулачки в корпус и прекращают подачу жидкости. Под действием усилия пружины шток движется вверх, а захваты 3 утолщенной части штока 2 удерживают кулачки и не позволяют им выйти за габариты корпуса. После этого производится подъем бурильных труб и отсоединителя.
Для сокращения затрат времени на спуск фильтра в скважину отсоединительное устройство и фильтр с надфильтровым патрубком могут опускаться в скважину на канате. Общий вид такого устройства показан на рис. 10, б. В корпусе 1 устройства свободно размещен полый шток 2, удерживающий кулачки 3 от падения во время спуска фильтра. Через полый шток и захват 4, расположенный в верхней части, проходит канат 5, на котором на 2 – 5 м выше корпуса закреплен овершот.

Рис. 10. Отсоединители для установки фильтров «впотай»: с – для спуска фильтров на бурильных трубах:
1 – корпус; 2 – подпружиненный шток; 3 – захват; 4 – кулачок; 5 – фильтр;
б – для спуска фильтра на канате: 1 – корпус; 2 – шток; 3 – кулачки; 4 – захват; 5 – канат; 6 – овершот;
7 – фильтр; 8 – пружина
Для отсоединения фильтра после его установки в скважине производят опускание каната до тех пор, пока овершот не войдет в зацепление с захватом штока. Затем поднимают канат, а вместе с ним и захваченный овершотом полый шток. При выходе штока из корпуса устройства кулачки утапливаются в корпус и с помощью пружин освобождаются от фильтра. В дальнейшем с помощью каната устройство поднимают из скважины.
6. Цементирование и гидроизоляция геотехнологических скважин
6.1 Назначение цементирования и гидроизоляции
Цементирование и гидроизоляция геотехнологических скважин являются важнейшими факторами эффективности и качества работ, связанных с добычей твердых ПИ. Они осуществляются с целью решения основных задач:
предотвращения растекаемости рабочих и продуктивных растворов из отрабатываемых продуктивных пластов через затрубное пространство скважин в выше- и нижележащие водоносные горизонты;
разобщения пространства между эксплуатационной и обсадной колоннами. Применяется в основном тогда, когда обсадная колонна выполнена из коррозирующего материала, а рабочие и продуктивные растворы обладают высокой агрессивностью;
защиты эксплуатационной колонны от сминающих усилий, вызванных горным давлением слабоустойчивых пород, вскрытых в процессе бурения скважин. Такая защита особенно необходима, когда скважиной вскрываются мощные пласты несцементированных, неустойчивых пород, и в качестве обсадных колонн применяются неметаллические трубы;
предотвращения утечек рабочих растворов через соединения(чаще всего резьбовые) эксплуатационных колонн, особенно при высоконапорном режиме нагнетания;
удержания и изоляции обсадных и эксплуатационных колонн в скважине, когда ствол скважины в призабойной зоне представлен камерой (полостью) значительных размеров. Это необходимо учитывать при бесфильтровых скважин ПВ. Расширение призабойной зоны скважин с целью повышения их производительности также широко практикуется при сооружении технологических скважин ПВ металлов;
локализации рудных тел и отдельных залежей для предотвращения растекаемости выщелачивающих и продуктивных растворов в отдельных блоках при подземном выщелачивании металлов путем закачки в специально оборудованные трещины гидроразрыва цементных и других растворов;
упрочнения стенок скважин при сооружении эксплуатационных скважин ПВ в раздробленных породах и в подготовительных скальных блоках;
создания искусственных целиков для предупреждения размыва породы в зоне башмака обсадной колонны. Это мероприятие находит применение при оборудовании эксплуатационных скважин при под земном растворении солей.
6.2 Способы цементирования геотехнологических скважин
Процесс цементирования скважин ПВ, оборудованных неметаллическими обсадными и эксплуатационными колоннами, является сложным и трудоемким.
Широкое применение нашли способы цементирования через заливочные трубки, по которым и подается цементный раствор. В зависимости от размещения заливочных трубок различают два варианта доставки тампонажных материалов в затрубное пространство скважины. При первом варианте цементирования заливочные трубки опускают в затрубное пространство цементируемой колонны, а при втором – внутрь обсадной или эксплуатационной колонны.
Вариант доставки тампонажных материалов при размещении заливочных трубок в затрубном пространстве колонны показан на рис. 11.

Рис. 11. Схемы цементирования скважин с применением заливочных трубок: а, б – путем спуска заливочных трубок в затрубное пространство обсадной колонны; в, г – путем спуска заливочных трубок в полость обсадной колонны:
1 – ствол скважины; 2 – обсадная (эксплуатационная) колонна; 3 – заливочные трубки; 4 – разобщающая манжета; 5 – пакер; 6 – обратный клапан; 7 – цементирующее устройство; 8 – диафрагма; 9 – центратор
Нижний конец заливочных трубок опускают выше башмака колонны или разобщающей манжеты на 0,5 – 2 м и по ним в затрубное пространство закачивают цементный, раствор в требуемом объеме. В качестве заливочных трубок могут применяться бурильные трубы ниппельного соединения, насосно-компрессорные трубы или полиэтиленовые шланги.
В связи с трудностью спуска в скважину полиэтиленовых шлангов предусматривается их крепление к обсадным или эксплуатационным трубам и одновременный спуск.
При цементировании обсадных колонн из полимерных материалов с целью предупреждения смятия предусматривается полное заполнение их внутренней полости глинистым раствором (рис. 11 а). Причем по мере заполнения затрубного пространства тампонажным раствором заливочные трубки приподнимают. Для предупреждения перетекания цементного раствора в полость обсадной колонны ее башмак оборудуется диафрагмой, изготовленной из чугуна, стекла и других материалов, либо предусматривается заливка полости обсадной колонны глинистым раствором с плотностью, близкой к плотности цементного раствора.
При цементировании колонн, оборудованных в нижней части фильтром, предусматривается постановка разобщающей манжеты, закрепленной на колонне выше фильтра (рис. 11, б). Она предотвращает поступление тампонажных растворов в прифильтровую зону скважины.
Манжета выполняется из эластичного материала, в основном из кислотостойкой резины и имеет форму усеченного конуса, широкая часть которого больше диаметра скважины на 20 – 50 мм. Для лучшей герметизации прифильтровой зоны скважины посадку манжеты обычно производят на уступ, образованный при переходе ствола скважины на уменьшенный диаметр.
К основным недостаткам цементирования при размещении заливочных трубок в затрубном пространстве можно отнести следующие:
затруднено использование при цементировании глубоких скважин в связи с трудностью спуска заливочных трубок;
необходимость увеличения диаметра скважин для размещения заливочного става в пространстве между стенкой скважины и обсадной колонной. Для цементирования обсадной колонны из полиэтиленовых труб ПВП 110X18 Т и применения в качестве заливочного става БТ диаметром 42 мм диаметр скважины должен быть не менее 190 – 214 мм. Это приводит к увеличению стоимости ее сооружения;
при использовании качестве заливочных трубок бурильных, насосно-компрессорных и других металлических труб увеличивается вероятность повреждения цементируемых труб и их соединений, что приводит к аварийным ситуациям и выходу скважины из строя;
невозможность оборудования цементируемой колонны центрирующими фонарями, скребками и другими приспособлениями вследствие того, что они являются препятствием для спуска заливочногостава;
не обеспечивается высокое качество цементирования в связи с неравномерным распределением цементного раствора за колонной и разбавлением его глинистым раствором.
Более совершенным способом подачи тампонажных растворов Является подача через заливочные трубки, опущенные в полость цементируемой колонны (рис. 11, в, г).
При цементировании неметаллических обсадных колонн через заливочные трубки, опущенные внутрь колонны, по схеме (рис. 11, в) нижний конец заливочных трубок снабжается обратным клапаном 6 и пакером 5, устанавливаемым в зоне башмака обсадной колонны на расстоянии не более 0,5 м от низа с целью предупреждения заполнения полости колонны цементным раствором. После установки пакера в обсадную колонну до устья скважины заливают глинистый раствор с плотностью не ниже 1200 кг/м3. Верх колонны оставляют открытым. После закачки цементного раствора и ОЗЦ, пакер срывают и вместе с заливочным ставом извлекают из скважины. Высота цементного стакана в обсадной колонне при такой схеме цементирования не превышает 0,5 м и не затрудняет дальнейшего углубления скважины.
Цементирование неметаллических обсадных (эксплуатационных) колонн, оборудованных в нижней части фильтром, осуществляют по схеме, показанной на рис. 11 г. Для подачи тампонажных растворов в затрубное пространство скважины используются специальные устройства, показанные на рис. 12 и 13.
Устройство, показанное на рис. 12, монтируется и опускается в скважину на обсадной колонне и содержит разобщающую манжету с клапаном, центратор с принудительным цементированием колонны и диафрагму, изготовленную из листовой стали толщиной 2 – 3 мм, чугуна и стекла толщиной 2 – 5 мм. Выше диафрагмы в колонне сделаны отверстия диаметром 15 – 25 мм в один или два ряда. Отверстия с наружной части трубы закрыты резиновыми клапанами, представляющими собой часть разобщающей манжеты.
Р
ис.
12. Устройство для цементирования
неметаллических колонн с резиновым
клапаном:
1 – корпус; 2 – разобщающая манжета; 3 – центратор; 4 – подвижная втулка; 5 –диафрагма;
6 – резиновый клапан; 7 – окна
Перед закачкой цементного раствора в полость колонны опускают заливочные трубки с таким расчетом, чтобы их нижний конец не доходил до диафрагмы на 0,5 – 1,5 м.
Внутренняя полость обсадной колонны заполняется ПЖ, а верх колонны – герметизируется. При закачке цементного раствора под действием давления диафрагма 5 толкает втулку 4, связанную с пружинами центратора 3. При этом происходит центрирование обсадной колонны в зоне размещения разобщающей манжеты 2. Через окна 7 в корпусе устройства цементный раствор заполняет затрубное пространство обсадной колонны выше разобщающей манжеты. После окончания подачи тампонажной смеси клапан 6 предотвращает попадание ее внутрь колонны. Движением заливочных труб вниз разбивают диафрагму и извлекают заливочный став из скважины.
При применении описанного устройства требуется обязательное выполнение работ, связанных с герметизацией колонны ОТ.
Более совершенным устройством для цементирования обсадных неметаллических колонн является устройство, показанное на рис. 13. Устройство содержит полый корпус 1, который вместе с втулкой 6, запрессованной в обсадной колонне 7, образует поршневую пару. Корпус удерживается на втулке при помощи плашек 10. Монтаж устройства производится на поверхности, после чего оно опускается в скважину вместе с обсадной (эксплуатационной) колонной.

Рис. 13. Устройство для цементирования неметаллических колонн и гидроизоляции с поршневой парой:
1 – полый корпус; 2 – муфта; 3 – шаровой клапан; 4, 5 – окна для подачи цементного раствора; 6 – втулка;
7 – обсадная колонна; 8, 9 – поршни; 10 – плашки; 11– резиновое кольцо; 12 – кольцевая проточка;
13 – резиновый клапан; 14 – пружина
Подача цементного раствора производится по трубам, которые опускаются во внутреннюю полость обсадной колонны и соединяются с устройством при помощи переходника. Цементный раствор поступает в затрубное пространство выше разобщающей манжеты или выше верхней границы гравийного слоя (при отсутствии манжеты) через окна 4 и 5, сделанные в корпусе, втулке и обсадной колонне.
После окончания подачи цементного раствора заливочный став вместе с корпусом извлекают из обсадной колонны. При этом плашки 10 заходят в проточку 12, выполненную на корпусе, и не препятствуют подъему из скважины корпуса тампонажного узла через колонну полиэтиленовых труб.
Порядок цементирования с помощью предлагаемого устройства включает следующие этапы:
спуск БТ и соединение с устройством;
промывку затрубного пространства обсадной колонны облегченным глинистым раствором;
подачу тампонажного раствора в затрубное пространство скважины через заливочные трубки;
промывку внутренней полости обсадной колонны;
ОЗЦ и контроль качества цементации;
извлечение цементировочного узла и проведение работ по освоению скважины.
Предложенное устройство позволяет полностью исключить попадание цементного раствора в прифильтровую зону скважины и осуществить цементирование затрубного пространства обсадных колонн из неметаллических материалов (полиэтилен, полипропилен, стеклопластик) при небольших затратах времени и расходе тампонажных материалов.
Цементирование неметаллических обсадных колонн можно производить по схеме с одной или двумя разделительными пробками. Для этого с целью предохранения обсадной колонны от разрушения при движении пробок применяют дополнительную защитную металлическую колонну, опущенную внутрь цементируемой колонны (рис. 14). Верх обеих колонн герметизируют, а пространство между ними заполняют глинистым раствором. Закачка цементного раствора производится только через внутреннюю защитную колонну. Тампонажный раствор с помощью продавочной жидкости вытесняется за неметаллическую колонну. После ОЗЦ цементный стакан и разделительные пробки разбуривают, а защитную металлическую колонну извлекают из скважины. В дальнейшем осуществляют вскрытие продуктивного горизонта и оборудование скважины фильтровой колонной.

Рис. 14. Схема цементирования неметаллических колонн с применением разделительных пробок:
1 – ствол скважины; 2 – обсадная неметаллическая колонна; 3 – защитная металлическая колонна;
4 – центратор; 5 – цементировочная головка; 6 – разделительные пробки; 7 – продавочная жидкость;
8 – цементный раствор; 9 – глинистый раствор
Выбор зоны цементирования обсадных и эксплуатационных колонн определяется с учетом материала труб, глубины и конструкции скважин, их назначения, устойчивости пород приствольной зоны.
В практике сооружения геотехнологических скважин применяется полная и частичная цементация. При полном цементировании пространство за эксплуатационной (обсадной) колонной заполняется цементным (тампонажным) раствором от фильтра или башмака обсадной колонны до устья скважины.
Полная цементация затрубного пространства применяется, когда геологический разрез месторождения сложен неустойчивыми и перемежающимися породами при сооружении нагнетательных скважин.
В откачных и наблюдательных скважинах ПВ обязательным является цементирование интервалов от фильтра до пьезометрического уровня подземных вод, а также зон ниже фильтра в случае вскрытия данной скважиной нижележащих водоносных горизонтов.
В остальных случаях при сооружении откачных и наблюдательных скважин ПВ высота цементной оболочки при частичном цементировании определяется мощностью неустойчивых пластов или интервалом скважины, при котором обеспечивается надежная гидроизоляция продуктивного горизонта.
6.3 Технические средства для цементирования скважин
Для приготовления тампонажных растворов и паст для гидроизоляции применяются цементно-смесительные машины и агрегаты. В качестве монтажной и транспортной базы цементно-смесительных машин и агрегатов используются платформы автомобилей типа КрАЗ, ЗИЛ-131, полуприцепы, металлические передвижные основания. Используются механические, гидравлические и пневматические способы приготовления растворов, а также комбинации этих способов.
Для закачки и продавки тампонажных растворов и паст применяются специальные цементировочные агрегаты. В качестве монтажных и транспортных баз цементировочных агрегатов используются платформы автомобилей и передвижные металлические сани.
На платформе монтируются буровые насосы с приводом, водоподающие насосы для подачи воды в смесительные машины, не имеюшие водоподающих блоков, а также мерники и система обвязки.
6.4 Технические средства и технология гидроизоляции зон движения рабочих и продуктивных растворов
К оборудованию технологических скважин ПВ предъявляются специфические требования, связанные с необходимостью гидроизоляции зон движения рабочих и продуктивных растворов. Надежная изоляция зон движения растворов повышает технико-экономические показатели добычи и является важным мероприятием охраны природы и в частности подземных вод.
Осуществляется гидроизоляция по самым разнообразным схемам с применением различных материалов. Одним из самых распространенных способов гидроизоляции рабочих и продуктивных растворов является способ с использованием кислотостойких резиновых манжет с впаянным в основание металлическим кольцом, которое обеспечивает необходимую прочность и жесткость. С помощью специальных кислотостойких штифтов манжета присоединяется к телу трубы, изготовленной обычно из полиэтилена или другого кислотостойкого материала. Место установки манжеты соответствует переходу ствола скважины на уменьшенный диаметр бурения. Схема гидроизоляции показана на рис. 6, а.
Гидроизоляционный материал заливается в этом случае обычно поверх манжеты через заливочные трубки, которые опускаются в затрубное пространство или внутрь эксплуатационной (обсадной) колонны.
В последнее время технологические скважины ПВ оборудуются фильтрами с гравийной обсыпкой, очень часто с предварительным расширением призабойной зоны. Применение гравийных фильтров способствует повышению производительности технологических скважин и увеличению срока службы. Гидроизоляционный материал при сооружении таких скважин заливается поверх слоя гравия (рис.5,б).
Интервал гидроизоляции обычно равен высоте от манжеты или верхнего уровня гравийного слоя до, статического (откачных скважин) или динамического (для нагнетательных скважин) уровня подземных вод. Остальная часть скважины обычно заполняется инертным (очень часто песчаным) материалом, а устье скважин на глубину 2 – 3 м цементируется, что предотвращает попадание растворов с поверхности в затрубное пространство.
Гидроизоляция с помощью манжет выполняется с небольшими затратами средств и обеспечивает при качественной посадке манжеты достаточно высокую надежность перекрытия зон движения растворов.
Однако следует отметить и значительные недостатки гидроизоляции с использованием манжет, главным из которых является проникновение цементных растворов или других гидроизоляционных материалов под манжету, что приводит иногда к цементированию фильтров. В большинстве случаев это обусловливается отсутствием достаточного уступа при переходе на меньший диаметр скважины и его размывом при промывке скважин через фильтр.
При заливе гидроизоляционного материала поверх гравийного слоя также не всегда обеспечивается надежная изоляция, так как возможны перетоки растворов вверх по стволу скважины и проникновение материала гидроизоляции в слой гравия. Перетоки растворов по стволу скважины могут быть обусловлены двумя обстоятельствами:
а) недостаточным сцеплением цементных и других растворов, используемых в качестве гидроизоляционного материала с поверхностью полиэтиленовых труб и стенками скважины;
б) разрушением материала гидроизоляции в результате длительного воздействия агрессивных выщелачивающих растворов и образованием в гидроизоляционном материале каналов, пор, по которым могут циркулировать выщелачивающие растворы.
Важным недостатком существующих способов сооружения технологических скважин с гравийными фильтрами, формируемыми на забое, является невозможность осуществления гравийной обсыпки фильтров при наличии пакерных гидроизоляционных устройств.
При применении одноколонных конструкций скважин, в том числе и с гравийной обсыпкой, гидроизоляцию затрубного пространства можно производить с помощью гидравлических пакеров, которые позволяют разобщить зону продуктивного пласта от вышележащих пород (рис.15). Привод пакера в рабочее состояние производится путем закачки воды в его полость через обратный клапан по бурильным трубам, опускаемым в эксплуатационную колонну.
П
осле
разобщения зафильтрового пространства
затрубное пространство поверх пакера
заполняют гидроизоляционным материалом.
Такая схема гидроизоляции позволяет
применять одноколонные конструкции
скважин и оборудовать их фильтрами с
гравийной обсыпкой, что позволяет
повысить производительность и срок
службы технологических скважин. Материал
гидроизоляции в этом случае заливают
в зону выше пакера после засыпки гравия
в прифильтровую зону скважины.
Рис. 15. Гидроизоляция растворов с помощью гидравлических пакеров:
1 – цементное кольцо; 2 – тампонажный слой глины; 3 – глиноизвестковый раствор; 4 – полиэтиленовая колонна; 5 – гидравлический пакер; 6 – клапан; 7 – фильтр; 8 – отстойник; 9 – направляющий фонарь
Можно выделить некоторые особенности сооружения таких скважин. Бурение их обычно осуществляется долотами уменьшенных диаметров – 151 – 243 мм. При применении фильтров с гравийной обсыпкой производится при необходимости расширение призабойной зоны скважин с целью получения уширенного контура гравийной обсыпки.
Данный способ оборудования технологических скважин и создание гидроизоляции имеет следующие преимущества: 1) уменьшается диаметр скважин; 2) сокращается время на их сооружение; 3) не требуется производить дорогостоящие и трудоемкие работы по цементированию скважин; 4) уменьшается стоимость оборудования скважин.
В качестве гидроизоляционного материала при сооружении технологических скважин ПВ применяются растворы сульфастойких и кислостойких цементов, а также различные пасты и специальные растворы.
При создании гидроизоляционных оболочек важным условием является также доставка гидроизоляционных материалов в зону скважины. Доставка этих материалов в скважину, оборудованную неметаллическими колоннами, осуществляется заливкой материала по трубам или шлангам, опущенным в зазор между стенками скважины и эксплуатационной (обсадной) колонной или опущенными внутрь колонны, по аналогии с технологией цементирования скважин. В последнем случае потребуется применение специальных цементировочных устройств.
7. Технология вскрытия продуктивных горизонтов
Вскрытие продуктивных горизонтов при сооружении технологических скважин ПВ металлов является одним из мероприятий повышения производительности и срока службы скважин, снижения эксплуатационных затрат. При вскрытии продуктивных пластов, сложенных мелкозернистыми песками, практически всегда происходит нарушение их естественных фильтрационных свойств, что выражается прежде всего в уменьшении проницаемости пород приствольной зоны в результате образования зоны кольматации – участка скважины, в поры которого проникли частицы дисперсной фазы промывочной жидкости. Выделяют две зоны кольматации: зону, примыкающую к приствольной части скважины, обусловленную проникновением частиц бурового шлама и ПЖ, а также зону фильтрата ПЖ, чаще всего глинистого раствора, в породы продуктивного горизонта.
Возникновение зоны кольматации является неизбежным, если в ПЖ присутствуют твердые частицы и бурение осуществляется с депрессией на пласт.
Величина зоны кольматации зависит от перепада давления в процессе бурения, продолжительности бурения и от соотношения размеров твердой фазы ПЖ и размеров пор и трещин. При попадании твердых частиц в поры и трещины продуктивного пласта площадь сечения их уменьшается, что приводит к резкому снижению проницаемости.
Глубина проникновения глинистого раствора в поры продуктивного горизонта зависит от свойств пород и глинистого раствора.
При увеличении зоны интенсивной кольматации возрастает и сложность ее разрушения. Снятие корки со стенок скважины с помощью механических расширителей и гидроразмыва большой сложности не представляет, но удаление глинистых частиц полностью из пласта представляет собой значительные трудности.
Воздействие фильтрата ПЖ на пласт вызывает следующие изменения в породах продуктивных горизонтов:
наличие химических веществ, содержащихся в фильтрате жидкости, приводит к уменьшению эффективных сечений пор и каналов продуктивных пластов, а также их проницаемости за счет увеличения гидрофильности пород и толщины гидратных оболочек;
глинистые минералы, содержащиеся в продуктивных пластах, гидратируют под влиянием водного фильтрата и увеличиваются в объеме, что также способствует снижению проницаемости;
наличие в фильтрате ПЖ растворенных химических элементов способствует при взаимодействии с веществами продуктивного пласта образованию нерастворимых осадков.
Таким образом, при воздействии фильтрата проницаемость пласта также снижается.
Но это снижение обычно меньше, чем при кольматации, воздействие фильтрата на пласт следует уменьшать, так как глубина проникновения фильтра в пласт во много раз больше толщины зоны кольматации.
Вращательное бурение с прямой промывкой является наиболее распространенным способом при вскрытии продуктивных горизонтов.
В качестве очистных агентов для вскрытия продуктивных горизонтов при вращательном бурении могут применяться:
Техническая вода. Является самым дешевым очистным агентом, ее применение предотвращает загрязнение пород продуктивных горизонтов, способствует резкому уменьшению их кольматации.
Применение воды способствует также повышению скоростей бурения и снижению стоимости сооружения скважин. Однако вода является по отношению к породам приствольной зоны скважин самой агрессивной промывочной жидкостью и приводит к размыву песчано-глинистых пород, набуханию и обвалам скважин. Применение воды для вскрытия продуктивных горизонтов возможно только в том случае, когда обеспечивается устойчивость разбуриваемых пород, их высокая сопротивляемость размывающему действию потока промывочной жидкости.
Высокие технико-экономические показатели вскрытия продуктивных горизонтов, сложенных песками различной зернистости, могут быть получены при вращательном бурении с прямой промывкой скважин технической водой путем поддержания на пласт постоянного противодавления. Этот метод вскрытия водоносных пластов требует постоянного подлива воды в скважину и поддержания уровня жидкости на устье скважины [7].
Из недостатков этого способа вскрытия следует также отметить большой расход воды.
Глинистые растворы обеспечивают высокую устойчивость стенок скважин, сложенных неустойчивыми породами. Однако содержащиеся в глинистом растворе твердые частицы, а зачастую и химические реагенты способствуют кольматации пород продуктивных горизонтов и резкому снижению их проницаемости. Глинистые растворы целесообразно применять для вскрытия напорных водоносных пластов.
Глинистые растворы, применяемые для вскрытия продуктивных пластов при ПВ, должны удовлетворять следующим основным требованиям:
обеспечивать минимальное проникновение раствора в породы продуктивного пласта;
предотвращать образование осадков (механических, химических), закупоривающих поры пласта и отверстия в рабочей части фильтра;
способствовать быстрому удалению продуктов кольматации в зоне пласта;
обеспечивать необходимую стабильность при изменении температуры и давления.
Меловые растворы. Применение меловых растворов для вскрытия продуктивных пластов приводит к образованию корки толщиной 3 – 5 мм, которая легко удаляется при воздействии растворами серной или соляной кислот. Содержащиеся в кольматирующем слое глинистые частицы дезинтегрируют и легко удаляются при откачках.
Основной недостаток меловых растворов – трудоемкость приготовления и низкая технологичность в процессе их использования. Поэтому меловые растворы в качестве ПЖ находят ограниченное применение.
Ингибированные растворы. Для вскрытия продуктивных горизонтов при сооружении скважин ПВ могут найти применение известковые, кальциевые и гипсовые растворы. Получают ингибированные растворы путем добавления к малоглинистым растворам соответствующих ингибирующих компонентов: СаС1>2>, КС1 и др. Зона кольматации продуктивных пластов при применении ингибированных растворов легко разрушается под действием кислоты в процессе освоения скважин и подготовки их к эксплуатации.
Однако образование труднорастворимых осадков при обработке продуктивных пластов кислотными растворами может привести к закупориванию пор и трещин и снижению проницаемости пластов. Поэтому для определения эффективности применения ингибированных растворов для вскрытия продуктивных горизонтов потребуется проведение исследований.
Буровые растворы с низким содержанием твердой фазы. К числу таких растворов можно отнести растворы с добавками гидролизованных продуктов акрилатного типа К-4, К-6, К-9, а также гипан.
Их применение способствует резкому уменьшению поглощения ПЖ и повышению устойчивости прифильтровой зоны скважин. Зона кольматации в виде корки толщиной 5 – 7 мм легко разрушается в процессе освоения скважин. При этом время освоения скважин сокращается.
Основным недостатком реагентов К-4, К-9, К-6 является их плохое растворение в воде в холодное время года. Кроме того, все они имеют высокую стоимость.
Приготовление растворов с реагентами в виде гидролизованного полиакриламида К-4, К-9, К-6 осуществляется в зумпфе путем тщательного перемешивания определенного количества воды и реагента с помощью гидросмесителя или бурового насоса.
Водогипановые растворы обладают повышенной вязкостью, что способствует улучшению условий выноса шлама при бурении скважин большого диметра с использованием буровых насосов с небольшой подачей, т.е. при малых скоростях восходящего потока ПЖ.
Кроме того, их применение позволяет предотвратить аварии и осложнения при бурении в поглощающих и неустойчивых, склонных к обрушениям пластах.
Водогипановые растворы обладают кольматирующими свойствами, что объясняется их способностью коагулировать при контакте с электролитами, содержащими ионы железа, кальция и магния и с выделением нерастворимого осадка.
Наличие слоя кольматации в виде корки небольшой толщины способствует при сооружении технологических скважин ПВ повышению устойчивости пород продуктивных пластов, обычно сложенных мелкозернистыми песками, что является положительным фактором. В процессе освоения скважин слой кольматации легко разрушается, а проницаемость продуктивных пластов и приемистость нагнетательных скважин восстанавливаются.
Водогипановые растворы приготовляются перемешиванием с помощью гидросмесителя или непрерывным подливанием тонкой струйкой на храпок всасывающего шланга.
Аэрированные растворы. К ним относятся все типы глинистых, безглинистых и других буровых растворов, аэрированных воздухом или другим газообразным агентом. Аэрация – это процесс насыщения бурового раствора пузырьками воздуха или газом.
Аэрированные воздухом буровые растворы обладают пониженной плотностью (800 – 900 кг/м3), повышенной текучестью и подвижностью.
Аэрированные ПЖ способствуют уменьшению гидростатического давления на продуктивный пласт, улучшению условий очистки забоя скважины от шлама, повышению скорости бурения и проходки на ПРИ.
Применение аэрированных растворов обеспечивает высокие показатели вскрытия продуктивных пластов за счет сохранения естественного состояния призабойной зоны скважин, исключения проникновения в пласт воды и твердой фазы.
Сжатый воздух. Использование сжатого воздуха позволяет во. многих случаях повысить скорость бурения и проходку на долото, а также снизить стоимость бурения. За счет низкого гидростатического давления сжатого воздуха на продуктивный пласт при его вскрытии обеспечивается сохранение естественной проницаемости пластов и снижение затрат на освоение скважин и поддержание их в работоспособном состоянии в период эксплуатации.
Однако применение сжатого воздуха для бурения скважин различного целевого назначения ограничено устойчивыми породами, в которых водопритоки отсутствуют или незначительны. Важным условием применения сжатого воздуха является герметизация устья скважин.
Вскрытие продуктивных горизонтов с помощью обратной промывки. Применение обратной промывки при сооружении технологических скважин для ПВ металлов является важным: фактором повышения эффективности вскрытия пластов и производительности скважин. При этом способе бурения в качестве ПЖ может быть использована вода, которая поступает на забой по зазору между стенками скважины и бурильными трубами, а образовавшаяся в процессе бурения пульпа поднимается на поверхность по БТ с помощью вакуумных насосов, эрлифтов и гидроэлеваторов. Наличие столба жидкости в скважине обеспечивает необходимую устойчивость стенок скважины.
В процессе вскрытия продуктивных пластов вследствие всасывания пульпы с забоя скважины сохраняются их естественные условия пористости и проницаемости.
Применение обратной промывки наиболее эффективно при сооружении скважин диаметром 500 мм и более, пробуренных в однородных по составу породах.
Однако при сооружении технологических скважин ПВ способ вскрытия продуктивных пластов с обратной промывкой пока не нашел широкого применения по следующим причинам:
отсутствие серийно выпускаемых бурового оборудования и инструмента;
небольшие диаметры технологических скважин;
значительная глубина и наличие зон поглощения ПЖ;
требуется значительное количество воды.
8. Забойное и устьевой оборудование
8.1 Основные требования к фильтрам
Фильтры технологических скважин предназначены для свободного пропуска в продуктивный пласт выщелачивающих растворов и свободного, без механических примесей, извлечения из пласта продуктивных растворов.
К фильтрам технологических скважин ПВ предъявляются следующие основные требования: 1) высокая стойкость материалов, из которых изготовлен фильтр, к химически агрессивным средам; 2) повышенная механическая прочность в условиях горного давления и гидродинамических нагрузок; 3) высокая удерживающая способность, – фильтр должен обеспечивать прохождение в скважину раствора, не содержащего песка. Это условие имеет большое значение на последующих стадиях переработки промышленных растворов; 4.) сохранение работоспособности в течение всего срока эксплуатации скважины; 5) должна обеспечиваться необходимая площадь фильтрующей поверхности для пропуска требуемого количества раствора при допустимых входных скоростях и сопротивлениях; 6) возможность обеспечения быстрой замены или ремонта; 7) небольшая стоимость фильтров и невысокая трудоемкость их изготовления.
8.2 Типы фильтров
При сооружении технологических скважин ПВ находят применение трубчатые с круглой и щелевой перфорацией, сетчатые, проволочные, дисковые и гравийно-обсыпные фильтры. Наиболее широкое применение находят трубчатые со щелевой перфорацией, дисковые и гравийно-обсыпные фильтры, иногда с уширенным контуром гравийной обсыпки.
В качестве каркасов при изготовлении фильтров используются полиэтиленовые, полипропиленовые, полихлорвиниловые, фанерные, нержавстальные и эмалированные трубы, а также стальные трубы с антикоррозионным покрытием. Стеклопластиковые трубы в качестве фильтров широкого применения не нашли из-за нарушения сплошности волокна навивки при сверлении отверстий или образовании щелей, что снижает прочность каркаса фильтра и увеличивает его кольматацию. Возможно применение в качестве каркаса фильтров бипластмассовых труб. При этом диаметр отверстий или размер щелей в полиэтиленовой оболочке должен быть меньше, чем в наружной, стеклопластиковой оболочке.
Трубчатые фильтры с круглой и щелевой перфорацией. Трубчатые фильтры с круглой перфорацией находят ограниченное применение из-за трудностей изготовления отверстий с размерами в соответствии с гранулометрическим составом рудовмещающих пород. Чаще всего они используются при сооружении технологических скважин в скальных месторождениях, при отработке пластовых месторождений они применяются при оборудовании прифильтровой зоны с гравийной обсыпкой.
Скважность таких фильтров зависит от материала труб и колеблется в широких пределах (5 – 25 %). Размеры отверстий и расстояния между ними выбираются в зависимости от диаметра и материала каркаса, назначения скважин и гранулометрического состава скважины можно производить свабирование путем опускания и подъема бурильных труб с пакером, что повышает эффективность освоения.
Щелевые фильтры являются самыми распространенными при сооружении технологических скважин ПВ. Щелевые фильтры изготавливают в основном их полиэтиленовых труб, реже из фанерных и труб из нержавеющей стали с различной величиной щели. Общий вид щелевого фильтра из нержавеющей стали дан на рис. 16.
Р
ис.
16. Щелевой фильтр из нержавеющей стали:
1 – труба; 2 – отверстия в трубе; 3 – вкладыши; 4 – щели во вкладыше
В основном применяются фильтры с вертикальными прямоугольными щелями, которые расположены отдельными поясами по длине каркаса. Это обеспечивает по сравнению с другими возможными вариантами расположения щелей небольшие затраты времени на изготовление фильтров и более высокую надежность в работе в период эксплуатации вследствие более равномерного распределения нагрузки на отдельные пояса в период возникновения критических давлений (периоды интенсивной закачки или откачки растворов).
При оборудовании глубоких скважин (350 – 600 м) для предохранения фильтра от смятия под действием горного давления применяются каркасы фильтров из нержавеющей стали. Однако при наличии в продуктивном горизонте тонкозернистых песков нарезка отверстий необходимого размера в металлических трубах из нержавеющей стали представляет значительную трудность. Получить отверстия размером 0,3 – 1 мм с различной конфигурацией можно с помощью вставных планок (см. рис 16). В этом случае проектные отверстия на каркасе выполнены на боковых сторонах планок, закрепленных в щелях, нарезанных на фильтровой трубе. Крепление планок в щели может выполняться склеиванием, сваркой, припоем, на хомутах и др.
Фильтры проволочные каркасные и каркасно-стержневые. Проволочные фильтры являются разновидностью щелевых фильтров, горизонтальные щели которых получаются в результате навивки проволоки на опорный каркас в виде перфорированной трубы с круглой или щелевой перфорацией или стержней, закрепленных по образующей опорных поясов. В качестве каркаса проволочных фильтров могут применяться стержни и трубы из нержавеющей стали, полиэтиленовые, полипропиленовые, фанерные трубы, а также трубы стальные, покрытые эмалью или другими коррозионно-стойкими материалами. В качестве навивочного материала используется проволока из нержавеющей стали, полихлорвиниловый жгут и стальная проволока, покрытая коррозионностойкими пастами и пластмассовыми оболочками.
Применяются проволочные фильтры преимущественно при сооружении высокодебитных откачных скважин и технологических скважин глубиной свыше 300 м.
Сетчатые фильтры выполняются путем намотки фильтрующей сетки на продольные стержни, уложенные по образующей поверхности трубчатого перфорированного каркаса.
Сетчатые фильтры разработаны с каркасами из нержавеющей стали, полиэтиленовых и фанерных труб и фильтрующими сетками из пластмасс и нержавеющей стали.
Сетчатые фильтры не нашли широкого применения, так как не предотвращают пескования и быстро кольматируются. Очистка же сетчатых фильтров представляет значительную трудность из-за малой прочности фильтрующей поверхности и возможности разрыва сетки как при спуске фильтра в скважину, так и в период эксплуатации.
Дисковые фильтры нашли широкое применение. Они состоят из набора конусных дисков из ударопрочного полистирола, собранных в отдельные звенья (рис. 17). Диски имеют переменную конусность 5–10°. Собранные в отдельные звенья, они закрепляются с помощью шпилек, имеющих на конце болты, посредством которых диски плотно прижимаются друг к другу. Соединение отдельных звеньев при сборке фильтров осуществляется посредством полиэтиленовых патрубков с помощью резьбы или сварки.
Общее время освоения скважин, оборудованных дисковыми фильтрами, обычно меньше, чем для скважин, оборудованных щелевыми фильтрами, а производительность откачки на момент освоения – выше.

Рис. 17 Дисковый фильтр:
1 – полиэтиленовый патрубок; 2 – стягивающие шпильки; 3 – диски
8.3 Оборудование скважин фильтрами с гравийной обсыпкой
При наличии в продуктивном горизонте мелкозернистых песков гравийно-обсыпные фильтры являются наиболее эффективными. Они позволяют увеличить проницаемость прифильтровой зоны скважины путем замены песков продуктивных горизонтов более крупным материалом, подаваемым извне. Это способствует также увеличению эффективного диаметра скважин.
Применение фильтров с песчано-гравийными обсыпками на месторождениях ПВ способствует увеличению дебита в момент освоения скважин. При этом увеличиливается продолжительность работы скважин между циклами освоении и работоспособность насосно-подъемного оборудования.
Гравийные фильтры могут быть изготовлены на поверхности а затем опущены в скважины, но чаще применяются гравийные фильтры, сооруженные непосредственно на забое скважины.
Существует два способа сооружения фильтров непосредственно на забое скважины: 1) способ, основанный на силах гравитации при котором гравий осаждается вокруг фильтра при свободном падении частиц на забой в межтрубном пространстве под действием сил тяжести; 2) способ принудительного осаждения гравия путем закачки его на забои потоком ПЖ с использованием различных приспособлений.
Сооружение гравийных обсыпок в восходящем потоке жидкости. Из способов укладки гравия под действием сил гравитации наиболее широко применяемым является доставка гравия в восходящем потоке жидкости. Отсортированный гравий засыпается непосредственно в зазор между стенками скважины и эксплуатационной колонной или доставляется в прифильтровую зону по бурильным трубам малого диаметра, опущенным в этот зазор. При формировании фильтра в восходящем потоке по повышению давления на манометре бурового насоса фиксируются гравийные пробки. В этом случае предотвращается загрязнение прифильтровой зоны и фильтров мелкими глинистыми частицами со стенок скважины, а также частицами отделившимися от песчано-гравийной смеси.
При доставке гравия в восходящем
потоке важным является определение
интенсивности засыпки и средней скорости
восходящего
потока, величины которых
устанавливаются с учетом площади
за
трубного пространства. Интенсивность
загрузки должна регулироваться в
зависимости от крупности частиц гравия.
Скорость восходящего потока должна
быть не менее 0,6 м/с и не более 3 – 4 м/с.
При большей скорости восходящего потока
наблюдается вынос частиц гравия.
Однако способ доставки гравия в восходящем потоке во многих случаях не обеспечивает высокого качества гравийной обсыпки Доставка гравия затруднена из-за налипания последнего на стенки скважины, образования пробок в местах сужения ствола скважины скапливания гравия в кавернах. Кроме того, отсутствует гарантия плотной и равномерной укладки гравия по высоте и периметру водоприемной части фильтра. Это может привести к длительному пескованию и обрушению пород в фильтровой области.
Глубины скважин, где можно применять подачу гравия в зону продуктивного пласта в восходящем потоке жидкости обычно не превышают 250 – 300 м. Кроме того, при доставке гравия в прифильтровую зону имеют место значительные затраты времени на оборудование скважин.
Сооружение гравийных обсыпок в нисходящем потоке жидкости. Более прогрессивным способом создания обсыпок является доставка гравия в зафильтровую полость в движущемся нисходящем потоке жидкости, которая может осуществляться при открытом или загерметизированном устье скважины. В этом случае обеспечивается принудительное осаждение гравия вокруг фильтра с последующим перераспределением частиц гравия по крупности: более крупный гравий будет находиться в контакте с фильтром, что обусловливается более высокими скоростями входа воды в фильтр.
Принципиальная схема создания гравийной обсыпки в нисходящем потоке жидкости при открытом устье скважины состоит в следующем. После опускания фильтровой колонны на забой внутри нее из труб меньшего диаметра монтируется водоподъемная колонна, нижняя часть которой располагается на 2 – 3 м выше верхней границы отстойника. Около скважины устанавливается емкость для гравия и воды с наклонным подводным желобом к устью или эжектор. Вода из скважины откачивается с помощью центробежного вакуум-насоса или эрлифта. Одновременно с началом откачки к устью скважины подается смесь гравия и воды. Водогравийная смесь потоком обратной циркуляции доставляется в зафильтровое пространство, где происходит отделение твердой фазы и формирование гравия вокруг фильтрового каркаса, а вода через водоподъемные трубы поднимается на поверхность. В процессе формирования гравийного слоя из скважины удаляются мелкие частицы пород, слагающие продуктивный горизонт.
Основным недостатком схемы доставки гравия в призабойную зону скважины является то, что при отсутствии в стволе скважины выше рудного пласта обсадных труб и если вышележащие породы являются неустойчивыми, возможны обвалы стенок скважины из-за резкого изменения динамического уровня при пуске эрлифта в работу, а также засорения гравийной смеси и прифильтровой зоны породами стенок скважины.
При подаче гравия в восходящем или нисходящем потоках жидкости для улучшения условий доставки гравия по межтрубному зазору при применении полиэтиленовых эксплуатационных колонн необходимо предусмотреть их центрирование путем установки направляющих фонарей по длине колонны на расстоянии 10 – 15 м.
Для предотвращения обрушения зоны продуктивного пласта в период подготовки эксплуатационной колонны к спуску и в период ее спуска необходимо поддерживать необходимое гидростатическое давление на продуктивный пласт путем налива воды в скважину.
Сооружение гравийных обсыпок путем подачи гравия по БТ. Для того чтобы улучшить условия доставки гравия в прифильтровую зону скважин, на месторождениях подземного выщелачивания широко применяется способ доставки гравия по БТ, опущенным в зазор между эксплуатационной колонной труб и стенками скважины. Нижний конец колонны БТ располагается выше приемной части фильтра на 0,5 – 1,5 м и служит во многих случаях для определения величины заполнения прифильтровой зоны скважины гравием.
Внутрь эксплуатационной колонны опускаются раствороподъемные трубы эрлифта. Одновременно с подачей по трубам гравия на забой скважины производится откачка жидкости эрлифтом, что способствует более плотной укладке песчано-гравийного материала вокруг фильтра. Для того чтобы стенки скважины были более устойчивыми и не обрушились за счет снижения уровня жидкости в скважине при откачке ее эрлифтом, подачу песчано-гравийной смеси осуществляют в потоке жидкости с помощью эжекторного насоса, установленного на поверхности.
Эта схема доставки гравия в прифильтровую зону скважины позволяет исключить контакт гравийного материала с незакрепленными стенками скважины, а следовательно позволяет исключить потери гравия в кавернах, налипание его на стенки скважины и пробкообразование.
Работа буровой бригады при оборудовании фильтров гравийными обсыпками с подачей гравия в нисходящем потоке по БТ заключается в сортировке на виброситах гравийно-песчаной смеси и загрузке этой смеси в приемный бункер эжекторного насоса.
Интенсивность загрузки определяется режимом работы эжектора. Загружается гравий мерными емкостями с целью определения его количества, подаваемого в скважину. После подачи расчетного количества гравия положение гравийного слоя проверяется с помощью бурильных труб. При необходимости производится дополнительная подача гравия или удаление его потоком воды из призабойной зоны скважины.
Важным узлом при формировании гравийных фильтров является водоструйный эжекторный насос (рис. 18). При работе эжекторного насоса струей воды, истекающей из насадки, в пространстве между насадкой и камерой смешения создается пониженное давление, вследствие чего песчано-гравийная смесь поступает в камеру смешения и далее в диффузор и БТ.

Рис. 18. Схема эжекторного насоса с вертикальным расположением эжектора:
1 – присоединительный переводник; 2 – воронка; 3 – насадка; 4 – окна; 5 – камера смешения; 6 – диффузор
Эжектор с помощью специального переводника подсоединяется к ведущей трубе или буровому насосу, а с другой стороны с помощью переводника и гибких шлангов он подсоединяется к БТ, опущенным в скважину. Разработаны и применяются в практике оборудования технологических скважин ПВ две конструкции эжекторных устройств для подачи гравия – с вертикальным и горизонтальным расположением эжекторных насосов.
Предпочтение следует отдать схеме с вертикальным расположением эжекторного насоса, так как в этом случае упрощается схема его монтажа (см. рис. 18). Эжекторный насос вместе с приемным бункером устанавливается на столе ротора бурового агрегата. Это также улучшает условия транспортирования гравийного материала, так как в горизонтальных и наклонных участках трубопроводов возможно образование песчано-гравийных пробок.
При вертикальном расположении эжектора последний монтируется на столе ротора. Верхняя часть эжектора подсоединяется к ведущей трубе, а нижняя к опущенным в скважину бурильным трубам. Приемный бункер приваривается к корпусу эжектора и в него засыпается песчано-гравийная смесь.
Сооружение гравийных обсыпок при применении пакерных устройств для гидроизоляции. При сооружении скважин важным мероприятием является создание надежной гидроизоляции зон движения рабочих и продуктивных растворов. При оборудовании скважин фильтрами с гравийной обсыпкой материал гидроизоляции заливается поверх слоя гравия до статического (динамического для закачных скважин) уровня подземных вод. Качество гидроизоляции не всегда является высоким, очень часто наблюдаются перетоки раствора вверх по стволу скважины. Более надежным средством гидроизоляции является применение пакерных устройств, например манжет из кислотостойкой резины. Однако их применение невозможно при существующих методах создания гравийных фильтров.
Повысить качество сооружения скважин, оборудованных фильтрами с гравийной обсыпкой, и упростить схему герметизации прифильтрового пространства и зон движения рабочих и продуктивных растворов, а также повысить эффективность эрлифтной откачки в процессе сооружения скважин позволяет следующее устройство (см. рис. 19). В этом устройстве кислотостойкая манжета расположена на втулке (трубе), которая соединена с фильтром посредством соединения, позволяющего перемещать манжету вверх или вниз относительно фильтра. При этом втулка соединена с нижним концом раствороподъемных труб эрлифта, а верхний конец этих труб расположен ниже оголовка скважины. Обсадная колонна имеет в нижней части башмак с упорами для посадки манжеты.

Рис. 19. Схема создания гравийных обсыпок при применении пакерных устройств для гидроизоляции:
1 – обсадная колонна; 2 – фильтр; 3 – манжета из кислотостойкой резины (пакер); 4 – башмак с упором;
5 – подвижная втулка; 6 – соединение; 7 – водоподъемная колонна; в – воздухоподающая колонна;
9 – смеситель; 10 – воронка для засыпки гравия
Устройство работает следующим образом. В пробуренную до продуктивного горизонта скважину опускают обсадную колонну, а ее затрубное пространство цементируют. Затем вскрывают продуктивный горизонт и расширяют его до проектного диаметра. На поверхности собирают фильтр с отстойником и втулкой 5 с закрепленной на ней манжетой. Затем к втулке подсоединяют водоподъемную колонну труб 7 и опускают в скважину на воздухоподающих трубах 8. Длину раствороподающих труб выбирают таким образом, чтобы их верхний конец был ,на 1 – 3 м выше пьезометрического уровня водоносного горизонта После установки фильтра втулку с манжетой перемещают в крайнее верхнее положение так, чтобы пакер вышел из зоны суженной части башмака эксплуатационной колонны, а затем в скважину подают воздух, под действием которого происходит циркуляция жидкости, находящейся в скважине. Одновременно с началом циркуляции жидкости через воронку 10 в скважину подают песчано-гравийную смесь, которая поступает в прифильтровую зону скважины в нисходящем потоке жидкости, и происходит принудительная укладка гравия вокруг фильтрового каркаса. При этом формирование гравийного фильтра будет при меньших затратах мощности и давления на компрессоре.
После засыпки гравия втулку с манжетой перемещают в крайнее нижнее положение до места установки пакера в суженной части башмака эксплуатационной колонны. Манжета заходит в зону башмака обсадной колонны и качественно изолирует пространство между обсадной колонной и фильтром. Происходит разрушение временных креплений, а затем подъем из скважины раствороподъемных и воздухоподающих труб.
Поверх слоя гравия на высоту 15 – 20 м заливается гидроизоляционный материал, после чего скважина готова к эксплуатации.
Сооружение гравийных обсыпок с предварительной подачей гравия на забой скважины. Другим способом создания фильтров с гравийной обсыпкой и установкой манжет для гидроизоляции является способ, при котором в прифильтровую зону вначале подают гравий, а затем осуществляют установку фильтра с пакером для гидроизоляции. Сооружение технологических скважин согласно этому способу осуществляется следующим образом (рис. 20). Вначале производится бурение скважины до продуктивного горизонта. В случае неустойчивых пород пробуренный интервал скважины закрепляется ОТ. Вскрытие продуктивного горизонта осуществляется долотами меньшего диаметра с последующим расширением (при необходимости) ствола скважины в зоне продуктивного пласта. В скважину на бурильных или насосно-компрессорных трубах, соединенных с противоаварийным переходником, установленным в нижней части, опускается фильтр с отстойником. На надфильтро-вом патрубке в месте перехода на уменьшенный диаметр скважины закрепляется резиновая манжета. Спуск фильтра прекращается не доходя забоя скважины.
Затем по бурильным или насосно-компрессорным трубам на забой скважины подается расчетное количество гравия (рис. 20, а).

Рис. 20. Способ создания гравийных обсыпок с предварительной подачей гравия на забой скважины:
а – подача гравия на забой скважины; б – посадка фильтра гидровмывом в гравий:
1 – обсадная колонна; 2 – фильтр; 3 – отстойник; 4 – бурильные трубы; 5 – пакер; 6 – манжета;
7 – надфильтровый патрубок
Фильтр устанавливается на гравий,
а по бурильным или насосно-компрессорным
трубам начинают подавать воду (рис. 20,
б). При подаче воды происходит гидравлический
размыв гравия, что позволяет осуществить
посадку фильтра на забой скважины.
Расход воды должен быть таковым, чтобы
предотвратить вынос частиц гравия из
скважины. После прекращения подачи
жидкости произойдет осаждение гравия
вокруг фильтра с образованием контура.
При этом манжета устанавливается на
уступ в месте перехода на уменьшенный
диаметр бурения, осуществляя тем самым
гидроизоляцию зон движения растворов.
После посадки фильтра на забой скважины БТ отсоединяются и поднимаются на поверхность, а поверх манжеты заливается гидроизоляционный материал, оборудуется устье скважины и производятся другие работы, связанные с завершением сооружения скважины.
При наличии обсадной колонны, опущенной в скважину до продуктивного пласта, необходимо предусмотреть предварительную установку пакера внутри обсадной колонны, на расстоянии 1 – 2 м выше башмака, а манжету устанавливают на пакер. При этом во избежание повышенного расхода обсадных труб фильтр можно устанавливать впотай.
Описанный способ сооружения гравийных фильтров имеет ряд преимуществ: 1) при посадке фильтра на забой скважины происходит очистка гравийного слоя от глинистых частиц и механических взвесей, которые потоком жидкости выносятся из скважины; 2) позволяет применять пакерные устройства для гидроизоляции зон движения рабочих и продуктивных растворов; 3) сокращается время оборудования скважин фильтрами с гравийной обсыпкой; 4) повышается качество сооружения скважин.
Сооружение гравийных обсыпок в прифильтровой зоне скважин с одновременной установкой фильтров. При этом способе звенья фильтров оборудуются на поверхности кожухами, заполненными песчано-гравийной смесью. Кожухом могут служить легкорастворимые или разрушающиеся под действием растворов серной или соляной кислоты материалы, например хлопчатобумажные или синтетические ткани, сетки из латуни или сталей, не стойкие при действии различных кислот. Звенья фильтра с кожухами, заполненными гравием, собираются в колонну и опускаются в скважину. После спуска фильтра в него опускают промывочный став и производят интенсивную промывку водой прифильтровой зоны, до полного удаления глинистой корки со стенок скважины. Эффект разглинизации при этом увеличивается за счет большей скорости движения воды в зазоре между стенкой скважины и кожухами. Затем в скважину подают растворитель, который разрушает кожух фильтра. При этом песчано-гравийная обсыпка равномерно распределяется в прифильтровой зоне скважины и плотно заполняет кольцевое пространство за фильтром с образованием контура. Последним этапом работ при сооружении технологических скважин по этой схеме является гидроизоляция зон движения растворов путем заливки гидроизоляционных материалов выше слоя гравийной обсыпки.
Применение описанного способа создания гравийно-обсыпных фильтров способствует улучшению качества их сооружения, сокращению затрат времени на оборудование прифильтровой зоны скважин и ее освоение, но требует увеличения диаметра скважины.
Способ сооружения обсыпных фильтров из гранул низкой плотности. При кислотном выщелачивании металлов к материалу песчано-гравийных обсыпок предъявляются специфические требования, связанные с их кислотостойкостью. Наличие в материале обсыпок карбонатных частиц приводит к их растворению с выделением твердого нерастворимого осадка и газа, что может привести в некоторых случаях к выбросам из скважины кислоты в первоначальный момент закачки. Кроме того, многие другие материалы обсыпок растворяются при длительном воздействии кислоты, что приводит к проседаниям песчно-гравийных обсыпок в прифильтровой зоне, уменьшению их контура, а в некоторых случаях и к обнажению участков фильтров.
Ведутся работы по применению в качестве обсыпок нерастворимых в кислотах материалов, таких, как полиэтиленовые гранулы, гранулированный материал группы пиролюзит-псиломелана, плотность которых меньше плотности воды.
Сооружение технологических скважин при применении этих материалов осуществляется следующим образом. При применении одноколонных конструкций скважин на эксплуатационной колонне закрепляется манжета, которая устанавливается на уступе в месте перехода на уменьшенный диаметр скважины, а в случае обсадки ствола скважин до продуктивного горизонта трубами в последних в нижней части (следует предусмотреть установку пакера выше башмака колонны при наличии суженной части (рис. 21). В некоторых случаях для создания уширенного контура обсыпки предусматривается расширение прифильтровой зоны скважины.
В скважину опускается фильтр, а прифильтро-вая зона скважины разобщается с помощью пакера. По насосно-компрессорным или бурильным трубам, соединенным с отстойником фильтра, закачивают фильтрующую обсыпку, которая содержит гранулы полиэтилена или других веществ и воду. Попадая в зафильтровое пространство, гранулы всплывают и удерживаются в зоне фильтра с помощью пакера, а вода через фильтр и обсадную колонну поступает на поверхность. При этом благодаря значительным скоростям движения воды при входе в фильтр происходит плотная укладка гранул вокруг фильтра. После полного заполнения зафильтрового пространства гранулами насосно-компрессорные трубы извлекают, поверх пакера заливается гидроизоляционный материал и производится освоение скважины.

Рис. 34. Сооружение обсыпных фильтров из гранул низкой плотности:
1 – ОТ; 2 – материал гидроизоляции; 3 – разобщающий пакер; 4 – материал обсыпки; 5 – фильтр;
6 – трубы для подачи материала обсыпки
При оборудовании обсыпных фильтров технологических скважин ПВ в качестве материала обсыпки могут применяться кварцевый и кремниевый песок, гранулированный пиролюзит, гранулы полиэтилена и стекла.
В качестве жидкости-носителя материала фильтровой обсыпки применяется техническая вода, а также вода, загущенная синтетическими или натуральными смолами, химическими реагентами типа К-9, К-4 и др. Вязкость жидкостей-носителей должна составлять 50 – 2000 Па·с.
В скважинах с аномально высокими пластовыми давлениями можно использовать рабочую жидкость с высокой плотностью, несущую на забой гравий и предотвращающую открытый выброс при намыве гравийных фильтров. В качестве утяжелителей рекомендуется применять окиси железа. В жидкость-носитель могут добавляться загустители и добавки, снижающие его фильтруемость.
В большинстве случаев нашли применение способы создания цементирующихся гравийных обсыпок, что связано в первую очередь с облегчением замены вышедшего из строя фильтра и сохранением относительно высокой проницаемости.
Укладку гравия вокруг фильтра следует производить с противодавлением на пласт, что снижает кольматацию гравийного слоя песками продуктивного горизонта.
8.4 Оборудование устья технологических скважин
Устья технологических скважин, предназначенных для добычи твердых ПИ, в процессе подготовки и эксплуатации должны быть оснащены специальным оборудованием.
Оборудование устья включает обустройство и герметизацию затрубного и межтрубного пространства обсадных и эксплуатационных колонн и установку специальных оголовков, позволяющих осуществить обвязку эксплуатационных и рабочих колонн.
Основное назначение устьевой арматуры: а) регулирование направления подачи в скважину рабочих агентов (вода, выщелачивающий кислотный раствор, водяной пар, нерастворитель, воздух и др.); б) регулирование отвода от устья скважины и распределение продуктивных растворов; в) предохранение ствола скважины от загрязнения и попадания посторонних предметов, г) обеспечение надежной герметизации устья с целью предотвращения загрязнения окружающей среды и ствола скважины рабочими агентами и продуктивными растворами и обеспечение их раздельного движения; д) осуществление контроля за работой скважины.
К оборудованию устья технологических скважин предъявляются следующие основные требования:
основные узлы устьевого оборудования должны быть выполнены из материала, стойкого к длительному контакту с рабочими агентами и продуктивными растворами;
основные узлы должны выдерживать максимальное давление
подачи рабочих агентов с учетом двукратного запаса прочности;устьевое оборудование должно быть оснащено необходимыми
устройствами и приборами для измерения соответствующих параметров работы скважины, а также вентилями и задвижками. При. использовании эрлифтов для подъема продуктивных растворов оголовки должны дополнительно содержать сепараторы для отделения песка и воздуха от растворов;в конструктивном отношении устьевое оборудование должно быть простым, иметь небольшие габариты, легко и быстро монтироваться и демонтироваться.
Большие требования высокой надежности работы предъявляются к устьевому оборудованию технологических скважин ПВ.
Для предохранения попадания рабочих и продуктивных растворов в почвенный слой предусматривается заливка затрубного пространства на устье скважины гидроизоляционными материалами, засыпка специальных материалов, поглощающих и нейтрализующих технологические растворы, а также бетонирование площадок для установки устьевого оборудования и откачных средств.
В качестве гидроизоляционных материалов могут использоваться кислотостойкие цементы и глина с последующей засыпкой доломитовой или мраморной крошки, а иногда и извести. В случае утечек продуктивные или выщелачивающие растворы будут реагировать с материалом засыпки и нейтрализуются с образованием гипса или другой твердой фазы. ПИ, содержащееся в растворе, в дальнейшем также может быть удалено вместе с материалом обсыпки.
В процессе сооружения технологических скважин ПВ применяются оголовки, предназначенные для оборудования устья нагнетательных и откачных скважин. В свою очередь, нагнетательные скважины могут работать в режиме свободного налива и подачи выщелачивающего раствора под давлением до 1,0 – 1,5 МПа.
Конструкция оголовка для нагнетательных скважин, работающих в режиме свободного налива, приведена на рис. 22. Оголовки устанавливаются на эксплуатационной колонне при помощи фланцевого или резьбового соединений. Оголовок, показанный на рис. 22, а, состоит из полого корпуса, в котором размещен поплавок с запорным клапаном, расположенным в патрубке и соединенным с раствароподводящим трубопроводом.

Рис. 22. Оголовки нагнетательных скважин ПВ, работающих в режиме свободного налива:
а –при отсутствии газовых выбросов:
1 – корпус; 2 – патрубок; 3 – поплавок; 4 – клапан; 5 – соединительная муфта- 6 – эксплуатационная колонна;
б – при наличии газовых выбросов:
1 – корпус; 2 – патрубок; 3, 4 – фланцы; 5 – эксплуатационная колонна; 6 – диафрагма; 7 – втулка; 8 – отверстия во втулке; 9 – шток; 10 – клапан; 11 – поплавок; 12 – запорный орган; 13 – отверстия
Под действием выщелачивающего раствора поплавок отжимается и находится в нижней части корпуса. При снижении приемистости скважины и повышении уровня раствора в колонне поплавок всплывает и с помощью клапана перекрывает отверстие в раствороподающем патрубке. Это предупреждает излив раствора на поверхность.
Все контрольно-измерительные приборы (расходомеры, манометры и др.) устанавливаются в нагнетательной линии. Основное достоинство такого оголовка – простота конструкции и надежность в работе. Однако оголовок такой конструкции невозможно применять при наличии выбросов газов, образующихся при взаимодействии выщелачивающих растворов с породами продуктивного горизонта.
Оголовок, показанный на рис. 22, б, позволяет автоматически стабилизировать работу скважины при наличии газовых выбросов. Он состоит из полого корпуса с патрубком для подачи растворов в скважину. В корпусе размещена втулка 7 и поплавок 11 со штоком 9, клапаном 10 и запорным органом 12. Для поддержания проектного! расхода растворов в нижней части оголовка размещается регулирующая шайба. При снижении приемистости скважины уровень раствора поднимается и заполняет корпус оголовка. При этом поплавок поднимается вверх и с помощью клапана 10 перекрывает отверстие во втулке, в результате чего прекращается подача выщелачивающих растворов до тех пор, пока уровень раствора не понизится, а поплавок со штоком не опустится вниз.
Выпуск образовавшихся газов происходит через отверстие 13 в крышке корпуса. При снижении приемистости скважины и заполнении корпуса оголовка выщелачивающими растворами запорный орган на поплавке перекрывает выход раствора на поверхность. При скоплении газов в верхней части корпуса будет непрерывно: увеличиваться их давление. Если давление газов превысит давление жидкости в корпусе оголовка, поплавок переместится вниз и временно откроет отверстие для выхода газов.
В случае выделения большого количества газов при наличии в продуктивном горизонте карбонатных пород газовые пробки могут привести к внезапным выбросам газожидкостной смеси, повреждению при этом устьевого оборудования и загрязнению поверхности рабочей площадки. Это приводит также к потере растворителя и снижает безопасность ведения работ. Повысить эффективность работы нагнетательной скважины и безопасность ведения работ можно с помощью следующего устройства, показанного на рис. 23, в котором по длине раствороподающей колонны выше уровня раствора в скважине предусмотрено размещение сетчатых отражателей. При этом нижний торец раствороподающей колонны находится в нижней части фильтра.

Рис. 23. Устройство для оборудования нагнетательных скважин:
1 – отражатель; 2 – эксплуатационная колонна; 3 – раствороподающая колонна; 4 – фильтр
В случае выброса газожидкостной смеси последняя, поднимаясь вверх, разбивается об отражательные сетки, что приводит к отделению газа от раствора. Газ выходит на поверхность через устьевой оголовок, а раствор поступает обратно в скважину. Установка раствороподающей колонны в нижней части фильтра позволяет предупредить попадание газа внутрь колонны, что способствует также повышению приемистости нагнетательных скважин.
Для нагнетательных скважин, работающих в напорном режиме, применяется оголовок, показанный на рис.24. Оголовок состоит из корпуса патрубка для подачи выщелачивающих растворов и поплавка с запорным органом. В рабочем состоянии поплавок находится в верхней части корпуса и с помощью запорного органа перекрывает отверстие в крышке корпуса. Выщелачивающий раствор под давлением непрерывно нагнетается в скважину, а образовавшиеся газы скапливаются в верхней части оголовка. При давлении газов выше давления растворов поплавок перемещается вниз и временно открывает отверстие для выхода газов.

Рис. 24. Оголовок нагнетательных скважин, работающих в напорном режиме:
1 – поплавок; 2 – корпус; 3 – запорный орган; 4 – фиксаторы; 5 – патрубок; 6 – эксплуатационная колонна
Оголовки для откачных скважин различаются в зависимости от конструкции раствороподъемного оборудования. Обвязка устья скважин при применении в качестве откачных средств эрлифтов показана на рис.25. Для отделения продуктивных растворов от воздуха и механических взвесей (песка) предусматривается установка специальных сепараторов. Сепаратор присоединяется к раствороподъемной трубе и состоит из корпуса (трубы), двух камер – соответственно для ввода пульпы и слива раствора в коллектор. Он должен устанавливаться выше раствороприемного коллектора.
При попадании пульпы в сепаратор воздух, отделяясь, выходит в атмосферу через отверстия, выполненные в крышках камер. Механические взвеси осаждаются на дне корпуса сепаратора. Для лучшего осаждения взвесей при движении пульпы в корпусе сепаратора-предусматривается установка перегородок. Очищенный раствор поступает на слив в коллектор. Механические взвеси периодически удаляются из сепаратора через отверстия, выполненные в нижней части корпуса. Отверстия перекрываются с помощью пробки 8.

Рис. 25. Устройство для оборудования устья откачных скважин ПВ:
1 – корпус; 2 – перегородки; 3 – отверстия для выхода воздуха; 4 – камера для раствора, поступившего из скважины; 5 – камера слива; 6 – патрубок слива; 7 – поплавковый расходомер; 8 – пробка
Для определения количества раствора, поступившего из скважины, применяются поплавковые расходомеры 7, смонтированные в камере слива. Все части сепаратора и расходомер выполнены из полиэтилена.
При откачке растворов с помощью погружных электронасосов на устье скважины устанавливаются раствороотводной патрубок с задвижкой, манометр и опорная плита, которая находится на кондукторе и воспринимает нагрузки от насоса и раствороподъемных труб
9. Основные направления повышения эффективности сооружения геотехнологических скважин
9.1 Расширение призабойной зоны геотехнологических скважин
Расширение призабойной зоны геотехнологических скважин является одним из путей повышения их производительности и снижения стоимости бурения и добычи ПИ.
При ПВ металлов происходит увеличение дебита расширенных скважин, что связано с увеличением площади притока технологических растворов и с разрушением зон кольматации продуктивных пластов.
При определении величины расширения призабойной зоны технологических скважин ПВ необходимо учитывать следующие основные факторы: а) размеры добычного оборудования, опускаемого в скважину (фильтры, эрлифты и др.); б) эффективное разрушение зон интенсивной кольматации продуктивных горизонтов; в) создание гравийных обсыпок необходимой толщины; г) устойчивость кровли над зоной расширения.
При ПВ металлов диаметр зоны расширения определяется толщиной слоя гравийной обсыпки, величина которого оказывает существенное влияние на производительность скважины и срок ее службы.
Наиболее широко применяются следующие три способа расширения призабойной зоны: механический, гидродинамический и комбинированный. Для скважин ПВ предпочтение следует отдать механическому и особенно комбинированному способу, основанному на механическом разрушении горных пород с использованием энергии струи ПЖ.
На эффективность расширения призабойной зоны технологических скважин большое влияние оказывает конструкция расширителя и режим его работы. При сооружении технологических скважин ПВ находят применение расширители механические, показанные на рис. 26. Режущие лопасти расширителя выводятся в рабочее положение посредством поршня, приводимого в движение потоком жидкости, нагнетаемой буровым насосом. Основное достоинство таких расширителей – высокая надежность в работе благодаря незначительному числу подвижных органов. Приведение лопастей расширителя в транспортное положение по окончании расширения производится в процессе подъема бурового инструмента при движении расширителя по стволу скважины.

Рис. 26. Расширитель механический:
1 – режущие лопасти; 2 – втулка; 3 – корпус расширителя; 4 – нажимное устройство; 5 – корпус поршня;
6 – резиновая манжета; 7 – гайка; 8 –переходник
Д
ругой,
более эффективной разновидностью
механических расширителей, применяемых
при сооружении технологических скважин
ПВ, являются расширители, показанные
на рис. 27. Режущие лопасти расширителя
выводятся в рабочее положение с помощью
поршня, приводимого в действие потоком
жидкости, нагнетаемой буровым насосом
и промежуточных тяг. Усиление резания
регулируется путем изменения давления,
развиваемого буровым насосом. Для
проработки ствола скважины, очистки
его от шлама нижняя часть расширителя
снабжена режущими элементами (лопастями).
Испытания расширителей показали их
высокую надежность в работе. Диаметр
камеры может достигать 300 – 400 мм при
первоначальном диаметре скважины 190
мм. Режущие лопасти занимают исходное
положение при подъеме бурового инструмента
и прекращении подачи жидкости буровым
насосом.
Рис. 27. Расширитель механический с промежуточными тягами:
1 – корпус; 2 – поршень; 3 – тяга; 4 – лопасти; 5 – породоразрушающий наконечник
При сооружении технологических скважин ПВ широкое применение находят гидромеханические эксцентриковые расширители, сконструированные на кафедрах «Разведочного бурения» и «Геотехнологии руд» МГРИ (рис. 28). Корпус расширителя представляет собой трубу, а режущим элементом является лопасть 3, армированная твердосплавными резцами. Для повышения эффективности разрушения пород и очистки лопастей от шлама в корпус расширителя вмонтированы насадки 4. Расширитель имеет замковую резьбу для присоединения к бурильным трубам. Рабочая лопасть расширителя приваривается к замку от бурильных труб диаметром 73 мм. На расширитель надевается корпус, который выполняется из трубы, диаметр которой зависит от диаметра расширяемой скважины. Сверху и снизу к корпусу привариваются крышки 6 и 7, а в корпусе делаются отверстия, к которым привариваются гнезда для гидромониторных насадок. Внутренний диаметр гидромониторных насадок обычно принимается равным 9 или 10 мм, что обеспечит получение высокой скорости струи на выходе из насадки.
Расширитель эксцентриковый отличается простотой конструкции, высокой надежностью в работе (из-за отсутствия подвижных элементов) и быстротой изготовления.
Процесс разрушения породы стенок буровых скважин таким долотом основан на свойстве вращающихся предметов занимать положение в пространстве, при котором их момент инерции относительно оси вращения стремится быть максимальным. Расширение скважин происходит за счет возникающих центробежных сил и частично за счет гидромониторного эффекта струи жидкости.

Рис. 28. Расширитель гидромеханический эксцентриковый:
1 – бурильная труба; 2 – муфта замка для бурильных труб; 3 – лопасть; 4 – насадка; 5 – втулка; 6 – верхняя крышка; 7 – нижняя крышка; 8 – корпус расширителя
Расширитель присоединяется к БТ с помощью замка, расположенного в верхней части расширителя, и опускается в скважину.
Важной проблемой при расширении скважин с помощью механических и гидромеханических расширителей является очистка расширителя и расширенной призабойной зоны от разрушенной породы и шлама, так как в расширенной части скважины возникают неблагоприятные условия для выноса шлама из-за уменьшения скорости восходящего потока ПЖ.
В этих условиях существенную роль играет турбулизация потока ПЖ. В целях усиления турбулизации потока ПЖ при применении эксцентриковых расширителей следует предусмотреть дополнительные лопасти или другие средства турбулизации, которые устанавливаются непосредственно над расширителем.
Другим направлением повышения качества очистки расширяемой части скважины и режущих элементов долота от разрушенной породы и шлама может быть применение обратно всасывающей промывки. В этом случае могут использоваться расширители, показанные на рис. 29. Режущие лопасти расширителей выводятся в рабочее положение в начальный период их работы за счет центробежных сил, возникающих при вращении долот, а также воздействия обратного потока жидкости при бурении с обратно всасывающей промывкой. В дальнейшем усилие резания и крутящий момент регулируются за счет передаваемой на долото осевой нагрузки. При этом вращение бурового инструмента осуществляется с небольшой частотой.


1 – корпус; 2 – породоразрушающий наконечник; 3 – лопасть-расширитель; 4 – тяга
При полном расширении ствола скважины произойдет уменьшение крутящего момента, что можно заметить по характеру работы ротора или двигателя буровой установки. Закончив расширение, осуществляют интенсивную промывку ствола скважины, а затем инструмент вместе с расширителем поднимают на поверхность.
Гидродинамический способ расширения призабойной зоны скважины производят с помощью устройств, имеющих гидромониторные насадки. Такие устройства легко изготовить в местах производства работ. Однако в этом случае имеются затруднения по удалению разрушенной породы с призабойной зоны скважины и подъему ее из расширенной части на поверхность. При отсутствии специальных подъемных устройств возможны осаждения шлама на забое и снижение эффективности расширения.
Расширитель гидравлический, показанный на рис. 30, позволяет периодически очищать забой скважины от разрушенной породы. Он опускается на забой на бурильных или насосно-компрессорных трубах, в нижней части которых выполнены отверстия для смесителя эрлифта. Сверху отверстия в смесителе эрлифта плотно закрываются патрубком, который приваривается к наружной поверхности трубы. В патрубке имеются отверстия для подачи воздуха по трубам меньшего диаметра или по шлангам. Насадки монтируются в нижней части бурового инструмента в специальном подвижном клапане.

Рис. 53. Расширитель гидравлический:
1 – корпус; 2 – смеситель эрлифта; 3 – патрубок; 4 – обратный клапан; 5 – металлокерамическая насадка;
6 – клапан
Наличие режущих элементов (лопастей) в нижней части расширителя позволяет обеспечить спуск расширителя на заданную глубину и осуществить при необходимости углубление скважины одновременно с формированием камеры.
Об окончании расширения призабойной зоны скважины в интервале рудного пласта при применении механических и гидромеханических расширителей можно судить по изменению крутящего момента.
Разрушение пород стенок скважины в процессе образования камеры производится при подаче на забой скважины промывочной жидкости. Выходя с большой скоростью из насадки, струя жидкости разрушает стенки скважины и формирует камеру, при этом буровой инструмент поворачивается.
Для удаления с забоя скважины разрушенной породы по трубам (шлангам) начинают подавать воздух, в результате чего открывается клапан 6 и внутрь бурильных труб поступает пульпа.
Поднятая пульпа отводится на поверхность в специальные отстойники или в зумпф. Затем может повториться операция по разрушению пород стенок скважины. Для подачи воздуха к смесителю эрлифта могут применяться полиэтиленовые шланги диаметром 25 – 32 мм. Для предотвращения разрушения шлангов давлением жидкости, подаваемой к насадке, должна быть предусмотрена постановка обратного клапана в отводном патрубке 3.
Расширение призабойной зоны технологических скважин способствует уменьшению диаметра основного ствола скважины, что дает возможность повысить скорости бурения, уменьшить материально-технические затраты и снизить стоимость сооружения скважин. Кроме того, при сооружении скважин для подземного выщелачивания легко создается уширенный контур гравийной обсыпки, что способствует повышению производительности скважин и увеличению их срока службы.
Список литературы
Сергиенко И.А., Мосеев А.Ф., Бочко Э.А., Пименов М.К. Бурение и оборудование геотехнологических скважин М., Недра, 1984
Бобко П.С., Романов В.С., Исаев Г.Г. Строительство скважин подземного выщелачивания солей. М., ВНИИГ, НИИТЭХИМ, 1976
Бахуров В. Г., Руднева И. К., Химическая добыча полезных ископаемых, М., 1972
Аренс В. Ж. [и др.], Геотехнологические способы добычи полезных ископаемых, в кн.: Технология разработки месторождений твёрдых полезных ископаемых, т. 11, М., 1973.
Патенты
Скважинный фильтр (RU 2 284 408 С1)
Реферат:
Изобретение относится к области горного дела и может быть использовано для оборудования водозаборных, нефтяных, газовых скважин и скважин подземного выщелачивания в интервале продуктивного пласта, сложенного слабосцементированными породами. Обеспечивает образование устойчивых арочных структур вокруг скважинного фильтра, исключающих вынос породных частиц, песка за счет оптимизации работы системы: пластовая порода или гравийная набивка и скважинный фильтр в среде фильтруемого агента и упрощение технологии сборки фильтра. Сущность изобретения: скважинный фильтр включает фильтрующую оболочку, базовый элемент в виде трубы, продольные элементы в виде стержней и опорные кольца. При этом опорные кольца выполнены с наружными пазами под продольные элементы и внутренними пазами. Внутренние пазы образуют с базовым элементом продольные каналы. Продольные элементы выполнены из стержней в виде прямоугольных треугольников. Катеты последних образуют наружный диаметр фильтрующей оболочки. Острые углы стержней в виде прямоугольных треугольников установлены в продольных каналах с образованием односторонних расширений и обеспечением направленных потоков фильтруемого агента.
Изобретение относится к области горного дела и может быть использовано для оборудования водозаборных, нефтяных, газовых скважин и скважин подземного выщелачивания в интервале продуктивного пласта, сложенного слабосцементированными породами.
Известен скважинный фильтр, включающий фильтрующую оболочку с продольными каналами и элементами в виде шарнирных выпукло-вогнутых пластинок [1].
Известный фильтр имеет шарнирную конструкцию для регенирации фильтра.
Недостатком известного фильтра является конструктивная ненадежность, особенно в глубоких и осложненных скважинах.

Фиг. 1
Наиболее близким является скважинный фильтр, включающий фильтрующую оболочку с продольными элементами и каналами, базовый и опорные элементы [2].
В известном фильтре в качестве продольных элементов использованы стержни различного сечения, общим для них является то, что они образуют на базовом элементе расширяющие в обе стороны продольные каналы и фильтруемый агент проходит через них 15 по хаотическим направлениям, что не обеспечивает образования прочных структур вокруг фильтрующей оболочки и не исключает выноса песка в процессе эксплуатации.
Кроме того, осложнены сборка и крепление элементов фильтра и контроль качества изготовления, в частности не обеспечивается определенность зазоров продольных каналов.
Задача изобретения состоит в образовании устойчивых прочных структур вокруг скважинного фильтра, исключающих вынос песка за счет оптимизации работы системы: пластовая порода или гравийная набивка и скважинный фильтр в среде фильтруемого агента и упрощение технологии сборки фильтра.
Поставленная задача решается тем, что в скважинном фильтре, включающем 25 фильтрующую оболочку с базовым элементом в виде трубы, продольными элементами в виде стержней и опорными кольцами, последние выполнены с наружными пазами под продольные элементы и внутренними пазами, образующими с базовым элементом продольные каналы, при этом продольные элементы выполнены из стержней в виде прямоугольных треугольников, катеты которых образуют наружный диаметр фильтрующей зо оболочки, а острые углы установлены в продольных каналах с образованием односторонних расширений и обеспечением направленных потоков фильтруемого агента.
Кроме того, опорные кольца снабжены центраторами, выполненными в виде полуколец.
Сущность изобретения поясняется чертежом. На фиг.1 дан общий вид фильтра, на фиг.2 – разрез по А-А.
Скважинный фильтр включает базовый элемент 1 в виде трубы, фильтрующую оболочку 2 с продольными элементами 3, выполненными из стержней в виде прямоугольных треугольников, и каналами 4. Базовые элементы выполнены в виде опорных колец 5 с наружными пазами под продольные элементы 3 и внутренними пазами, образующими с базовым элементом 1 продольные перепускные каналы 6. Продольные элементы 3, выполненные из стержней в виде прямоугольных
треугольников, установлены острым углом в продольные пазы опорных колец 5 и образуют между собой продольные каналы с односторонним расширением, а катеты образуют наружный диаметр фильтрующей оболочки.
Опорные кольца 5 снабжены центраторами, выполненными в виде полуколец 7. Составные части фильтра сварены или склеены в местах контактов.
Работа фильтра заключается в обеспечении направленных движений потоков фильтруемого агента и за счет центробежных сил вытеснения породных частиц или гравийной набивки от продольных каналов.
Конструкция фильтра позволяет использование его в различных условиях, в том числе с осложнениями, выраженными искривлениями ствола скважины и сложностью доставки гравийной набивки.
Источники информации:
1. Авторское свидетельство СССР №1097779, Е 21 В 43/08. 15.06.82.
2. Патент РФ №2147676, E 21 В 43/08, 20.04.2000.
Формула изобретения:
1. Скважинный фильтр, включающий фильтрующую оболочку с базовым элементом в виде трубы, продольными элементами в виде стержней и опорными кольцами, отличающийся тем, что опорные кольца выполнены с наружными пазами под продольные элементы и внутренними пазами, образующими с базовым элементом продольные каналы, при этом продольные элементы выполнены из стержней в виде прямоугольных треугольников, катеты которых образуют наружный диаметр фильтрующей оболочки, а ю острые углы установлены в продольных каналах с образованием односторонних расширений и обеспечением направленных потоков фильтруемого агента.
2. Фильтр по п.1, отличающийся тем, что опорные кольца снабжены центраторами, выполненными в виде полуколец.

Способ сооружения фильтровой сквадины (2 309 244 С1)
Реферат:
Изобретение относится к горному делу, в частности к способам сооружения скважин для подземного выщелачивания, на воду и другую текучую среду, и может быть использовано при заканчивании для борьбы с выносом песка. Технический результат – повышение надежности очистки от бурового шлама и пластового песка и формирование естественного фильтра. В способе сооружения фильтровой скважины, включающем спуск в скважину скважинного фильтра на промывочной трубе с промывочной муфтой, намыв гравийной набивки, вынос вымытых частиц и предэксплуатационную откачку скважины, промывочную муфту снабжают телескопическим клапаном с радиальными каналами и перекрытым центральным каналом в нижней части. Вынос вымытых частиц и предэксплуатационную откачку производят через прискважинную камеру, соответственно, в верхнем положении клапана с сообщенными радиальными каналами и промывочной муфты с кольцевой полостью скважины и нижнем положении клапана с сообщенными радиальными каналами клапана со скважинным фильтром. Изобретение развито в зависимом пункте.
Настоящее изобретение относится к горному делу, в частности, к способу сооружения скважин для подземного выщелачивания, на воду и другой текучей среды, и может быть использовано при заканчивании скважин в процессе бурения или проведения ремонта скважин для борьбы с выносом песка.
5 Известен способ сооружения фильтровой скважины, включающий спуск в скважину эксплуатационной, фильтровой колонн с двойной промывочной трубой, намыв гравия, внутрискважинную промывку [1].
Недостатком известного способа является промывка скважины через фильтровую колонну, что не обеспечивает надежной очистки фильтровой зоны и предэксплуатационной откачки скважины.
Наиболее близким является способ сооружения фильтровой скважины, включающий спуск в скважину эксплуатационной, фильтровой колонн, промывочной муфты и промывочной трубы, промывку скважины [2].
Недостатком известного способа является промывка фильтровой зоны через 15 эксплуатационную колонну, что не обеспечивает надежную очистку от бурового шлама и пластового песка и формирование естественного фильтра. Кроме того, известный способ не предназначен для подземного выщелачивания.

Фиг. 1
В задачу настоящего изобретения ставится повышение надежности очистки от бурового шлама и пластового песка и формирование естественного фильтра. Поставленная задача решается тем, что в способе для сооружения фильтровой скважины, включающем спуск в скважину скважинного фильтра на промывочной трубе с промывочной муфтой, намыв гравийной набивки и вынос вымытых частиц, промывочную муфту снабжают телескопическим клапаном с радиальными каналами и перекрытым центральным каналом в нижней части, вынос вымытых частиц и предэксплуатационную откачку производят через прискважинную камеру, соответственно, в верхнем положении клапана с сообщенными радиальными каналами клапана и промывочной муфты с кольцевой полостью скважины и нижнем положении клапана с сообщенными радиальными каналами клапана со скважинным фильтром.
Кроме того, откачиваемую жидкость сбрасывают в скважину и используют в качестве продавочной.
Сущность изобретения пояснена чертежом (Фиг. 1).
Инструмент по способу включает скважинный фильтр 1, промывочную муфту 2, промывочную трубу 3. Промывочная муфта 2 снабжена клапаном 4.
Клапан 4 телескопически установлен в промывочной муфте 2 и выполнен с приводным 35 узлом 5 в виде шлицевого или шпоночного соединения с промывочной муфтой 2 и снабжен опорной гайкой 6.
Промывочная муфта 2 снабжена дополнительной промывочной трубой 7, а промывочная труба 3 выполнена двойной в верхней части.
Клапан 4 выполнен с перекрытым центральным каналом в нижней части заглушкой 8 и 40 радиальными каналами 9, сообщенными с затрубной полостью скважины через
промывочную муфту 2 и со скважинным фильтром через дополнительную и промывочную трубу 7 соответственно в верхнем и нижнем положениях клапана 4. Промывочная труба 3 соединена с прискважинной камерой 10 гибким рукавом.
Промывочная муфта 2 соединена со скважинным фильтром 1 левым переводником. Прискважинная камера 10 выполнена с двумя отсеками для очистки откачиваемой жидкости.
Работа инструмента по способу заключается в следующем.
Скважинный фильтр 1 спускают в скважину, устанавливают на забое и переводят клапан 4 в нижнее положение, когда радиальные каналы 9 сообщены через дополнительную so промывочную трубу 7 с внутренней полостью скважинного фильтра 1.
Производят подачу промывочной жидкости и засыпку гравийной набивки в восходящем потоке промывочной жидкости.
При этом мелкие фракции гравийной набивки и буровой шлам вместе с пластовым песком вымываются из фильтровой зоны, и фильтровая набивка оседает в кольцевую полость, образуя естественный фильтр, а вымытые частицы выносятся из фильтровой зоны обратной промывкой через промывочную трубу 3 при переводе клапана 4 в верхнее положение и сообщения с кольцевой полостью радиальных каналов 9, клапана 4 через 5 промывочную муфту 2, в прискважинную камеру 10, а из нее в скважину.
Процесс засыпки гравийной набивки производят порциями с последовательным выносом вымытых частиц обратной промывкой, включением эрлифтной откачки. Предэксплуатационную откачку производят через прискважинную камеру 10 со сбросом в скважину, откачиваемую жидкость используют в качестве продавочной жидкости. После окончания технологических процессов инструмент раскрепляется от скважинного фильтра и выносится из скважины.
Технический результат.
Надежная и полная очистка скважины от бурового шлама и пластового песка.
Обеспечение формирования естественного фильтра.
Пример осуществления способа.
На участке №1 ПВ подлежит сооружению откачивающая скважина глубиной 400 м. Последовательность работ.
1. Бурение скважины диаметром 245 мм до 350 м.
2. Спуск и цементация обсадной колонны 168 мм.
3. Бурение с расширением прифильтровой зоны 350-400 м до 350 мм.
4. Спуск фильтра 0118 мм на инструменте для сооружения фильтровой скважины, НКМ 073 мм.
5. Промывка скважины с одновременной засыпкой гравия с крупностью фракций от 0,5 до 10 мм и подсыпка по мере выноса мелких фракций и песка и образования естественного фильтра.
6. Предэксплуатационная откачка скважины через прискважинную камеру со сбросом в скважину.
Источники информации:
1. А.с. СССР №804819, Е21В 43/04, 43/28, 15.02.81.
2. Патент РФ №2179628, МПК 7, Е21В 43/04, 20.02.2002.
Формула изобретения:
1. Способ сооружения фильтровой
скважины, включающий спуск в скважину
скважинного
фильтра на промывочной
трубе с промывочной муфтой, намыв
гравийной набивки, вынос вымытых частиц
и предэксплуатационную откачку скважины,
отличающийся тем, что промывочную муфту
снабжают телескопическим клапаном с
радиальными каналами и перекрытым
центральным каналом в нижней части,
вынос вымытых частиц и предэксплуатационную
откачку производят через прискважинную
камеру соответственно в верхнем положении
клапана с сообщенными радиальными
каналами клапана и промывочной муфты
с кольцевой полостью скважины и нижнем
положении клапана с сообщенными
радиальными каналами клапана со
скважинным фильтром.
2. Способ по п.1, отличающийся тем, что откачиваемую жидкость сбрасывают в скважину и используют в качестве продавочной жидкости.
Скважинный фильтр (2 254 421 С1)
Реферат:
Изобретение относится к горному делу, а именно к фильтрам для нагнетательных скважин подземного выщелачивания, заводнения пластов и захоронения отходов в глубокие горизонты. Скважинный фильтр включает перфорированный каркас, опорные стержни и витки профилированной проволоки или наборные кольца из пластмассы или пропилена, образующие горизонтальные щели, выполненные расширяющимися в наружную сторону фильтра. Указанные витки профилированной проволоки или наборные кольца из пластмассы или пропилена выполнены с прямоугольными гранями в сечении, верхние из которых скошены с наружной стороны под углом к горизонту, соответствующим углу естественного откоса пластовой породы или гравийной набивки в среде фильтрующего агента. Техническим результатом является оптимизация работы системы - пластовая порода или гравийная набивка и скважинный фильтр в среде фильтрующего агента.

Фиг. 1
Изобретение относится к горному делу, а именно к фильтрам для нагнетательных скважин подземного выщелачивания, заводнения пластов и захоронения отходов в глубокие горизонты.
Известен скважинный фильтр, выполненный в виде уложенных на каркасе кольцевых 5 или спиральных проволокообразных элементов с чередующимися радиальными пазами и выступами с образованием расширяющихся каналов в направлении движения флюида через фильтр [1].
В известном фильтре круглое сечение обмотки обеспечивает расширение каналов в направлении нагнетания фильтрующего агента. В то же время, при контакте обмотки круглого сечения с пластовой породой или гравийной набивки в процессе эксплуатации скважины происходит расклинивание частиц пластовой породы или гравийной набивки в отверстиях фильтра и повышение гидравлического сопротивления.
Кроме того, известный фильтр каркасной конструкции и предназначен для не глубоких скважин.
Известен также скважинный фильтр, включающий перфорированный каркас, опорные стержни и витки профилированной проволоки [2].
Недостатком известного фильтра являются возможные нарушения арочных структур в процессе эксплуатации в связи с изменением режима эксплуатации, а также непригодность для использования в нагнетательных скважинах. Наиболее близким аналогом является скважинный фильтр, содержащий перфорированный каркас, опорные стержни и витки профилированной проволоки [3].
Недостатком известного фильтра является нарушение арочных структур вокруг фильтра при изменениях режима эксплуатации скважины, а также непригодность для использования в нагнетательных скважинах.
В задачу настоящего изобретения ставится оптимизация работы системы: пластовая порода или гравийная набивка и скважинный фильтр в среде фильтрующего агента, за счет образования устойчивых арочных структур вокруг скважинного фильтра в процессе эксплуатации с изменением режима эксплуатации.
Поставленная задача решается тем, что в скважинном фильтре, включающем перфорированный каркас, опорные стержни и витки профилированной проволоки или наборные кольца из пластмассы или пропилена, образующие горизонтальные щели, горизонтальные щели выполнены расширяющимися в наружную сторону фильтра, а витки профилированной проволоки или наборные кольца из пластмассы или пропилена выполнены с прямоугольными гранями в сечении, верхние из которых скошены с наружной стороны под углом к горизонту, соответствующим углу естественного откоса пластовой породы или гравийной набивки в среде фильтрующего агента.
Сущность изобретения пояснена чертежом.
Скважинный фильтр включает перфорированный каркас 1, опорные стержни 2, витки профилированной проволоки 3 (или наборные кольца из пластмассы или пропилена, на чертеже не показано).
Витки профилированной проволоки 3 (или наборные кольца) выполнены с прямоугольными гранями в сечении и скошенными верхними гранями с наружной стороны витков под углом 4 к горизонту, соответствующим углу естественного откоса пластовой породы или гравийной набивки в среде фильтрующего агента.
Горизонтальные щели между витками профилированной проволоки выполнены расширяющимися в наружную сторону фильтра.
Работа скважинного фильтра заключается в оптимизации взаимодействия системы: пластовая порода или гравийная набивка и скважинный фильтр в среде фильтрующего агента с образованием и ненарушением устойчивости арочных структур вокруг фильтра в 50 процессе эксплуатации, в том числе с изменением режима эксплуатации за счет равенства реакций опор: статической нагрузки от веса от пластовой породы или гравийной набивки и гидродинамической от давления фильтрующего агента.
Источники информации:
1. Авторское свидетельство СССР №1213179, Е 21 В, 43/08, 23.02.86.
2. Авторское свидетельство СССР №1712591, Е 21 В, 43/08, 15.02.92.
3. Патент РФ №2074313, Е 21 В 43/08, 27.02.97.
Формула изобретения:
Скважинный фильтр, включающий перфорированный каркас, опорные стержни и витки профилированной проволоки или наборные кольца из пластмассы или пропилена, образующие горизонтальные щели, отличающийся тем, что горизонтальные щели выполнены расширяющимися в наружную сторону фильтра, а витки профилированной проволоки или наборные кольца из пластмассы или пропилена выполнены с прямоугольными гранями в сечении, верхние из которых скошены с наружной стороны под углом к горизонту, соответствующим углу естественного откоса пластовой породы или гравийной набивки в среде фильтрующего агента.