Головной гидроузел с каменно-земляной плотиной и водосбросным сооружением
РОССИЙСКИЙ УНИВЕРСИТЕТ ДРУЖБЫ НАРОДОВ
факультет: Инженерный
специальность: Гидротехническое строительство
кафедра: Гидравлики и гидротехнических сооружений
Курсовая работа
ГОЛОВНОЙ ГИДРОУЗЕЛ С КАМЕННО-ЗЕМЛЯНОЙ ПЛОТИНОЙ
И ВОДОСБРОСНЫМ СООРУЖЕНИЕМ
Студент (Ф.И. О) Косачёв И.Ю.
V курс, группа ИСМ-103
Руководитель работы: проф., д. т. н. Ляпичев Ю.П.
Заведующий кафедрой: доц., к. т. н. Пономарев Н.К.
Москва 2008
Содержание
Глава 1
Глава 2. Вариант гидроузла с каменно-земляной плотиной
2.1 Паспорт гидроузла. Определение отметки гребня грунтовой плотины
2.3 Прогноз геотехнических характеристик грунтов в материалах плотины: в ядре (суглинок)
2.4 Расчет устойчивости откосов
2.5 Пропуск строительных расходов
2.6 Водосбросное сооружение
2.6.1 Выбор водосброса
2.7 Гидравлический расчет открытого берегового водосброса-быстротока
Глава 3. Плотина из укатанного бетона (УБ-2) (вариант Б)
3.1 Основные характеристики "укатанный бетон" (УБ)
3.1.1 Физико-механические характеристики укатанного и обычного бетонов
3.1.2 Основные факторы, влияющие на прочность на сдвиг в швах УБ
3.1.3 Современное состояние строительства плотин из укатанного бетона в мире
3.2. Современные тенденции в проектировании плотин из укатанного бетона
3.3 Определение отметки гребня плотины из укатанного бетона
3.4 Гидравлический расчет водосбросного сооружения
3.5 Расчеты устойчивости и напряжений в плотине по СНиПу Расчет плотины из укатанного бетона на прочность и устойчивость на сокращенный состав нагрузок (СНиП 2.06.06-85)
Литература
Глава 1
Курсовая работа охватывает дисциплины: гидротехнические сооружения, специальные подземные сооружения, механика грунтов, инженерная гидравлика.
Цель и задачи работы:
Тема данной работы - головной высоконапорный гидроузел на горной реке, сооружаемый для подачи воды в деривационную ГЭС (вопросы гидроэнергетики здесь не рассматриваются). Основными сооружениями гидроузла являются: каменно-земляная плотина на скальном основании, отводящий (строительный) туннель и береговой эксплуатационный водосброс (туннельного или открытого типа). Студент должен разработать рациональную компоновку гидроузла на основе заданных параметров водохранилища, гидрологических и геологических данных; с учетом прогноза геотехнических характеристик грунтовых материалов разработать рациональную конструкцию каменно-земляной плотины, выполнить необходимые суффозионно-фильтрационные и статические расчеты плотины, запроектировать основные элементы ее конструкции с учетом геотехнических характеристик грунтов плотины и основания, а также разработать схему пропуска расходов реки во время строительства и эксплуатации гидроузла, выполнить требуемые гидравлические расчеты и запроектировать водосбросные сооружения гидроузла.
Руководитель работы: проф., д. т. н. Ляпичев Ю.П.
Консультанты по разделам:
Каменно-земляная плотина - проф., д. т. н. Ляпичев Ю.П.
Водосбросные сооружения - проф., д. т. н. Ляпичев Ю.П.
II. Исходные данные для проектирования (задание 11)
а) Топографические данные:
1. План места строительства гидроузла и геологический разрез по его створу /Приложение I/.
б) Гидрологические данные:
Максимальные расчетные расходы реки: строительный расход: Q>10%> = 400 м3/сек, эксплуатационный расход; Q>1%> = 1200 м3/сек.
2. Кривая связи расходов и уровней воды в створе гидроузла
|
Расходы воды, м3/сек |
0 |
100 |
200 |
500 |
800 |
1200 |
|
Уровни НБ, м |
87,0 |
91,0 |
91,8 |
93,0 |
93,7 |
94,0 |
3. Отметка минимального уровня воды НБ: 91,0 м
4. Отметка максимального уровня воды НБ: 94,0 м
5. Расчетная скорость ветра: 28,0 м/сек
6. Максимальная сейсмичность района строительства: 8 баллов
7. Длина водохранилища по направлению господствующих ветров: 3км
в) Задаваемые параметры гидроузла:
1. Класс гидроузла: II
2. Состав основных сооружений: (плотина, водосбросы)
3. Отметка нормального подпорного уровня (НПУ): 145,5 м
4. Отметка уровня мертвого объема: 135,0 м
5. Кривая объемов водохранилища:
|
Отметки уровней воды ВБ, м |
87,0 |
100 |
120 |
135 |
140 |
145,5 |
|
Объем водохранилища, 106м3 |
0 |
0,1 |
0,2 |
1,8 |
3,7 |
8,4 |
г) Геологические условия в створе гидроузла:
1. Физические расчетные характеристики грунтов и скальных пород основания
|
№ пород |
Наименование породы и плотность ее частиц, γ> ч,> т/м3 |
Степень трещиноватости, (модуль, М>т>) |
Степень выветрелости (коэфф. - т, К>вс>) |
Удельное водопоглощение, q, л/мин на 1п. м. |
Коэффициент фильтрации, К>ф>, м/сут |
|
1 |
известняки (2,72) |
10 |
0,75 |
4,0 |
- |
|
2 |
суглинки (2,77) |
- |
- |
- |
0,1 |
|
3 |
крупный песок (2,6) |
- |
- |
- |
50 |
2. Механические расчетные характеристики пород основания
|
№ пород |
Временное сопротивление сжатию R>с, >кгс/см2 |
Прочность на сдвиг |
Модуль деформации Е*103, кгс/см2 |
Коэффициент Пуассона, ν |
Коэффициент крепости, f>кр> |
|
|
Сцепление С, кгс/см2 |
Угол внутреннего трения, tg |
|||||
|
1 |
200 |
1,5 |
0,8 |
50 |
0,22 |
7 |
|
2 |
- |
1,2 |
0,5 |
0,25 |
0,35 |
- |
|
3 |
- |
- |
0,62 |
0,5 |
0,3 |
- |
д) Карьерные грунты:
Расчетные характеристики грунтов:
а) физические характеристики:
|
№ грунтов |
Плотность частиц, γ> ч>, т/м3 |
Пористость, n |
Коэфф.-т фильтрации Кф, см/с |
Для связных грунтов (дополнительно) |
||||
|
Каръерная влажность, W >к,>% |
Оптимальная влажность, W >опт>,% |
Максим. плотность сухого грунта, γ>сух (макс),> т/м3 |
Число пластич-ности, W >пл>,% |
Предел раска-тыва-ния, W>р,>% |
||||
|
1 |
2,7 |
10-6 |
8,0 |
8,5 |
7,0 |
18,0 |
||
|
2 |
2,65 |
10-1 |
3,0 |
- |
- |
- |
б) зерновой состав (содержание в % различных фракций крупностью d, мм)
|
№ грунтов и их наименование |
<0,005 мм |
0,005-0,05 мм |
0,05-0,5 мм |
0,5-5 мм |
5-100 мм |
100-500 мм |
>500 мм (D>max>, мм) |
|
1 морена |
9 |
25 |
16 |
13 |
37 |
0 |
(200 мм) |
|
2 галечник |
- |
- |
5 |
10 |
45 |
30 |
10 (600) |
|
3 камень |
Состав работы:
В составе работы студенту необходимо:
1. Определить превышение гребня плотины над НПУ с учетом расчетных параметров волны.
2. Разработать противоволновое крепление верхового откоса крупным камнем
3. Выполнить прогноз геотехнических характеристик каръерных грунтов в плотине.
4. Разработать предварительный профиль каменно-земляной плотины с глинистым ядром с учетом природных условий строительства и геотехнических характеристик грунтов плотины.
Выполнить суффозионно-фильтрационные расчеты глинистого ядра плотины, запроектировать обратные фильтры и переходные зоны плотины.
Выполнить расчеты порового давления воды и осадок в глинистом ядре плотины к концу строительства плотины.
Выполнить на компьютере (программа UST) расчеты статической и сейсмической устойчивости откосов плотины во время эксплуатации.
8. На основе выполненных расчетов уточнить профиль плотины с разбивкой его на зоны грунтов, разработать конструкцию гребня плотины, основных элементов сопряжения глинистого ядра плотины со скальным основанием и береговыми примыканиями.
9. Разработать рациональную конструкцию берегового эксплуатационного водосброса (туннельного или открытого) и отводящего (строительного) туннеля с учетом возможности их совмещения.
10. Выполнить гидравлические расчеты эксплуатационного и строительного водосбросов, определив размеры сечений входного, транзитного и концевого участков, режим сопряжения бьефов с учетом устройств нижнего бьефа по гашению энергии потока;
11. Разместить водосбросы и грунтовую плотину на генплане с учетом топографических, гидрологических и геологических условий, добившись рациональной компоновки гидроузла.
Отчетные материалы:
1. Чертежи в ACAD (3 листа формата А3 или А2)
Лист 1. Генплан гидроузла и геологический разрез по створу с показом всех сооружений.
Лист 2. Грунтовая плотина. Результаты расчетов плотины. Поперечники и детали плотины. Лист 3. Эксплуатационный и строительный водосбросы. Продольный и поперечные разрезы.
Примечание: компоновка чертежей, масштабы и степень детализации сооружений устанавливаются студентом при консультации с преподавателем и утверждаются руководителем.
2. Пояснительная записка в Word (формат А4, 25-30 стр).
Введение. Оценка природных условий и исходных данных.
Глава I. Описание компоновки гидроузла с учетом схемы пропуска строительных и эксплуатационных расходов реки.
Глава 2. Каменно-земляная плотина:
1. Расчеты параметров волны и превышения гребня плотины над НПУ.
2. Расчет противоволнового крепления верхового откоса крупным камнем
3. Прогноз геотехнических характеристик грунтовых материалов в плотине.
4. Предварительный профиль каменно-земляной плотины с глинистым ядром.
5. Расчеты фильтрации и выходных градиентов фильтрации в глинистом ядре.
6. Расчеты (подбор) обратных фильтров и переходных зон плотины.
7. Расчеты порового давления воды (закрытая и открытая схемы) и осадок в глинистом ядре к концу строительства плотины.
8. Расчеты на компьютере (программа UST) статической и сейсмической устойчивости откосов плотины во время эксплуатации.
Глава 3. Водосбросные сооружения:
1. Гидравлические расчеты отводящего туннеля.
2. Гидравлические расчеты эксплуатационного водосброса.
3. Расчет режима сопряжения бьефов с учетом устройств НБ по гашению потока.
Список использованной литературы.
Примечание:
Графические материалы, формулы и таблицы, используемые в расчетах или получаемые в результате расчетов, проводятся в пояснительной записке со ссылкой на источники.
В начале записки прилагается задание (план местности, геологический разрез и др.).
Глава 2. Вариант гидроузла с каменно-земляной плотиной
2.1 Паспорт гидроузла. Определение отметки гребня грунтовой плотины
Отметку гребня плотины следует назначать на основе расчета возвышения гребня (h>s>) над расчетным уровнем воды.
Отметку гребня
плотины (
Гр)
следует определять для двух случаев
стояния уровня воды в верхнем бьефе
(ВБ):
при нормальном подпорном уровне (НПУ), соответствующем пропуску максимального паводка, входящего в основное сочетание нагрузок и воздействий:
Гр
=
НПУ
+ h>s>>
>=145.5+3,74=149,24 (1)
Из двух полученных результатов расчета выбирают более высокую отметку гребня плотины.
Возвышение гребня плотины h>s>, в обоих случаях (Рис.1) определяется по формуле:
h>s> = h>set> + h>run>> 1% >+ a =0,0011+2.93+0,8=3,74 (2)
где h>set> - ветровой нагон воды в ВБ;
h>run>> 1% - >высота наката ветровых волн обеспеченностью 1%;
а - запас возвышения гребня плотины.

Рис. 1. Схема определения отметки гребня грунтовой плотины: а) без парапета; б) с парапетом; 1 - расчетный уровень при НПУ и ФПУ; 2 - парапет: 3 - объем экономии грунта.
При определении первых двух слагаемых формулы (2) следует принимать обеспеченности скорости ветра для расчета элементов волн, наката и нагона при основном сочетании нагрузок и воздействий (при НПУ) по СНиП 2.06.04-82*: для плотин I, II класса - 2% и III, IV класса - 4%. При особом сочетании нагрузок и воздействий (при ФПУ) эти обеспеченности следует принимать для сооружений I - II классов 20%, для III класса - 30%, для IV класса - 50%.
Запас а для всех классов плотин принимают не менее 0,5 м.
При определении высоты наката волн на гидросооружения обеспеченность волн в этой системе принимают равной 1%.
Отметку гребня плотины принимают с учетом строительного подъема, назначаемого сверх определенного по формуле (3-3) возвышения h>s>. Величину строительного подъема определяют по расчетной строительной осадке гребня.
При наличии на гребне плотины сплошного парапета, рассчитанного на воздействие волн, возвышение его верха над уровнем ВБ следует принимать не ниже значений, полученных, по формуле (3-3).
Возвышение гребня плотины в этом случае назначают на 0,3 м над НПУ или на отметке ФПУ, причем принимают наибольшую из них. Парапет уменьшает объем насыпи (Рис.1, б), но появляются затраты на железобетон парапета.
Высота ветрового нагона определяется по формуле:
h>set>= K>w>> >V>w>2cos a>w>/gH= 0,00000282х282х3000хcos0°/9,81х58,5=0,011 м (6.4)
где a>w> - угол между направлением господствующего (расчетного) ветра и продольной осью водохранилища, град.; L - длина разгона волны по направлению господствующих ветров, м; V>w>> >- расчетная скорость ветра на высоте 10 м над НПУ, м/с; H - условная расчетная глубина воды в водохранилище, м; g = 9,81 м/с2; K - безразмерный коэффициент, зависящий от скорости ветра V>w> по формуле:
K = 3 (1+0,3V>w>) 107=0,00000282 (3)
При определении
элементов ветровых волн водоемы делят
на отдельные зоны. В ВБ обычно имеют
место глубоководная зона (
),
где дно не влияет на основные характеристики
волн, или мелководная зона (
),
в которой дно оказывает влияние на
развитие волн и их основные характеристики
(H>1> - расчетная
глубина воды;
- средняя длина волны в глубоководной
зоне; Н>кр> - критическая
глубина воды, при которой происходит
первое обрушение волн).
Высоту наката
на откос волн обеспеченностью 1% по
накату (h>run>>
1%>, м) для волн 1% обеспеченности
(h>1%>) при
глубине воды перед сооружением H>1>
2h>1%>
определяют по формуле:
=0,72х0,55х1,6х2,02х1х2,29=2,93
(4)
где значения высоты бегущей волны обеспеченностью 1% (h>1%>) и коэффициентов К>r>, К>p>, K>sp> и K>run> определяются либо по номограммам и таблицам СНиП 2.06.04-82* [2] с погрешностью до 10%, либо точнее по нижеследующим зависимостям, полученным на основе обработки этих номограмм и таблиц. Это позволяет избежать ошибок при интерполяции данных номограмм и таблиц и проанализировать влияние отдельных факторов на высоту наката.
Для нахождения
высоты волны обеспеченностью 1% (h>1%>)
следует знать среднюю высоту
,
средний период Т и среднюю длину
волн
в глубоководной или мелководной зоне.
В глубоководной зоне указанные параметры волн находятся по следующим новым расчетным зависимостям:
средняя высота волны. (h>d>, м)
(5)
где
находится по зависимости:
(6)
в которой параметр А равен меньшему значению из величин (L/V>w>) или (0,5 t); V>w> - расчетная скорость ветра, м/с; g - ускорение свободного падения, м/с2; L - расчетная длина разгона волн, м; t - продолжительность действия ветра, принимаемая для предварительных расчетов t= 21600 с. Средний период волны (Т, с)
(7),
где
=
(8)
средняя длина
волны (
,
м)
(9)
В расчетах устойчивости и прочности креплений откосов из бетонных плит и каменной наброски расчетная обеспеченность i% высоты волн равна, соответственно, 1 и 2%, а при определении наката волн i=1%.
Высота волны 1% обеспеченности в глубоководной зоне равна:
(10)
где К>i> - коэффициент, определяемый по следующей формуле:
(11)
в которой i - принятая обеспеченность, %; L - длина разгона волны, м; а - показатель степени равный:
при
i
1
а =
0,14 (1 + 0,01i);
(12)
при i<1 a=0,14i 0.25; (13)
Высота волны 1% обеспеченности в глубоководной зоне (h>d>> >>1%>) будет равна:
(14)
где K>1%> находится по формулам (6.13 - 6.16) при i = l, т.е.
(15)

В формуле (6.17) К>r> и К>p> - коэффициенты шероховатости и проницаемости откоса, зависящие от типа крепления, могут быть определены по следующим зависимостям:
=
(16)
где r - средний размер шероховатости, м (средняя крупность материала крепления или средний размер бетонных блоков).
В формуле (16)
при значениях r/h>d>>1%>>
>0,002
и r/h>d>>1%>
0,2,
соответственно, следует принимать К>r>
= 1 и К>p> = 0,9.
При r/h>d>>1%>=0,13 принимаю К>r> = 0,72 и К>p> = 0,55.
К>p> = (0,9 - r/h>d>>1%>) К>r> (17)
в которой при значениях выражения (0,9-r/h>d>> 1%>) <0,7 следует принимать (0,9 - r/h>d>>1%>) = 0,7; К>r> - определяется по (16).
Коэффициент К>sp> в формуле (3-6), зависящий от расчетной скорости ветра и крутизны верхового откоса, может быть определен по формуле (18):
К>sp> =0,11 [0,15 - V>w> (l+0,4m>1>) - 0,6m>1> + 8>,>5] =0,11 [0,15х28 (1+0,4х1,8) - 0,6х1,8+8,5] =1,6 (18)
в которую при скорости ветра V>w>>20 м/с и V>w><10 м/с следует подставлять, соответственно V>w>=20 м/с и V>w> =10 м/с, а при заложениях верхового откоса m>1>>5 величину К>sp>=1,6 для значений V>w> >20 м/c и K>sp> =1,2 для значений V>w> <10 м/с.
Коэффициент
пологости волны K>run>
в формуле (5) зависит от крутизны (заложения
m>1>) верхового
откоса и может быть определен при глубине
воды перед сооружением H>1>
2
h>d>>
>>1%> по следующим зависимостям:
при m>1>
1,5
K>run>
= l,25 + lg
(l + 6
)
(19)
при m>1>>1,5
(20)
При глубине воды перед сооружением H>1><2 h>d>>1% >и при значениях m>1>>l,5 вместо формулы (3-22) действует формула:
(21)
Полученные
по формулам (20) и (21) значения K>run>
следует ограничивать величиной K>run>
2,6 - 2,7.
Коэффициент K>β> в формуле (3-6), учитывающий угол β подхода фронта волны к плотине (угол β можно принять равным углу α>w> между продольной осью водохранилища и направлением ветра, β=α>w>), определяется по зависимости:
=1
(22)
где β =0 - угол подхода фронта волны, град.
Высота наката на откос волн, произвольной обеспеченности i,% по накату определяется по формуле:
м (23)
где К>н>>i>> - >коэффициент, учитывающий обеспеченность по накату, значения которого определяют по формуле:
(24)
в которой i - заданная обеспеченность по накату,%.
В случае
мелководной зоны (H>1>>
>)
для определения высоты наката волны
пользуются формулой (6.6), а высоту и длину
волны корректируют по зависимостям:
(25)
(26)
где
и
- средние значения высоты и длины волны;
и
- коэффициенты, определяемые по формулам:
=
1,06 { [2-H>1>/
]
H>1>/
]
}0,38 (27)
=
{ [2,15 - H>1>/
]
H>1>/
}0,42
(28)
2.3 Прогноз геотехнических характеристик грунтов в материалах плотины: в ядре (суглинок)
При проектировании грунтовых плотин необходимо знать физико-механические (геотехнические) свойства грунтовых материалов, приготавливаемых из местных грунтов карьеров или полезных выемок гидросооружений (последнее обычно предпочтительнее).
В грунтовых плотинах свойства грунтов можно регулировать, изменяя их зерновой состав, влажность, метод укладки (послойная статическая или вибрационная укатка, наброска без укатки, отсыпка в воду), которые определяют плотность укладки грунтов и как следствие, их прочность, деформируемость и водопроницаемость.
В грунтовых плотинах глинистый грунт обычно используют в водоупорных элементах (ядре или экране), в нашем случае в ядре. В плотину глинистый грунт стремятся укладывать при оптимальной влажности W>on>>т>, при которой при выбранном методе уплотнения (тип катка, число его проходок, толщина слоя) достигается максимальная плотность сухого грунта γ>сух>макс. В общем случае W>on>>т> грунта зависит от типа катка и числа его проходок. В нашем случае W>on>>т>=10,68%. .
Оптимальную влажность глинистого грунта определим методом Проктора (стандартного), т.к у нас легкий каток.
Согласно методу Проктора (табл.6.6) грунт испытывают в лаборатории на уплотнение ударной нагрузкой. Опыты проводят в стальном цилиндре диаметром 100, 150 и 350 мм в зависимости от максимальной крупности частиц грунта (соответственно, 20, 32 и 60 мм), в который укладывают последовательно 3 или 5 слоев грунта и утрамбовывают его падающим грузом массой, соответственно, 2,5, 4,5 и 15 кг. Число ударов и высота падения груза подобраны так, чтобы интенсивность уплотнения 1 м3 грунта по стандартному Проктору была эквивалентна легким каткам, а по модифицированному Проктору - тяжелым каткам.
Допустимое значение плотности сухого глинистого грунта γ>сух> при укатке можно приближенно определить по формуле (6.69 Приложения 6.12):
Определение плотности сухого грунта:
γ>сух> = γ>ч >γ>в> (1 - V) / (γ>в> + W>расч> γ>ч>) = 2,7*1 (1-0,04) / (1+11,68*2,7) = 1,9 т/м3

где γ>ч> - плотность частиц грунта (т/м3); γ>в> - плотность воды; V - объем защемленного в грунте воздуха в долях 1,0 (в глине 0,03, суглинке 0,04, супеси 0,05, лёссе 0,07); W>расч> - расчетная влажность грунта (в долях 1,0).
Обычно в каменно-земляных плотинах 1 и 2 классов расчетное значение плотности глинистого грунта при укатке γ>сух>расч принимается не менее γ>сух>макс по стандартному Проктору.
Вместо формулы (6.69) для определения γ>сух>макс суглинистых грунтов каменно-земляных плотин можно использовать корреляционную зависимость (6.70), полученную по натурным данным в виде:
γ>сух>макс = 1,44 + 0,88 ln [γ>ч>/ (1+e>Т>)] = 1,44+0,88 ln [2,7/ (1+0,675)] =1,86 т/м3
W>Т >=W>пл. >+ W>p>> >= 7+18=25%
Тогда e>Т >= γ>ч>W>Т >= 2,7*0,25= 0,675
γ>ч>/ (1+e>Т>) - плотность сухого грунта при влажности W>Т.>
Определение оптимальной влажности грунта
W>опт> = 11,83 ln (e>опт> W>Т>) + 37,07,% = 11,83 ln (0,43*0,25) +37,07= 10,68%
e>опт >= (2,75 - 1,86) / 1,86 =0,45
Определение коэффициента фильтрации для плотины
По формуле Жарницким В.Я. для коэффициентов фильтрации суглинков ряда каменно-земляных плотин в следующем виде:
k>ф> =0,574 [e/ (P><5 мм> W>Т>)] 3,22 10-7, см/с

k>ф> =0,574 [0,42/ (0,63* 0,25)] 3,22 10-7 = 1,35* 10-6 см/с
Определение расчетных параметров.
На основе этих исследований был обоснован безразмерный эквивалент физических параметров - обобщенный коэффициент физических характеристик обломочно-пылевато-глинистого грунта М>τ> в качестве меры связей физических характеристик с механическими. Безразмерный эквивалент грунта М>τ> определяется как:
М>τ>> >= p>1> [I>P> (1+I>L>)] / p>2>
где р>1> - процентное содержание заполнителя (частицы <2 мм) в грунте; р>2> - то же, обломков (частицы ≥2 мм); I>P> - число пластичности заполнителя; I>L>> - >показатель текучести заполнителя.
М>τ>> >= p>1> [I>P> (1+I>L>)] / p>2 >=0,63 [0,07 (1+0,25)] /0,37=0,15
Нормативные значения углов внутреннего трения крупнообломочных грунтов с пылевато-глинистым заполнителем и пылевато-глинистых грунтов с крупными включениями при консолидированном срезе φ>п (>град) определяют по степенной зависимости:
φ>п> = k>1> k>φ> 46,0 (0,3) M>τ>
где k>1> - коэффициент окатанности обломков для угла φ>п> грунтов с окатанными обломками k>1>; для грунтов с острыми обломками k>1 >=1; k>φ> - коэффициент, учитывающий прочность обломков; М>τ> - физический эквивалент грунта.
k>1>=0,88
φ>п> = k>1> k>φ> 46,0 (0,3) M>τ> =0,88*1*46* (0,3) 0,15 =33,79

Нормативные значения сцепления крупнообломочных грунтов с пылевато-глинистым заполнителем и пылевато-глинистых грунтов с обломками для схемы консолидированного среза С>n> (кПа) определяют по формуле:
С>n> = k>2> k>γ> 79,0 М>τ>0,32/ (1 + I>L>) 3,62
где k>2> - коэффициент окатанности обломков для сцепления: для грунтов с окатанными обломками, k>2>=0,9.
С>n> = k>2> k>γ> 79,0 М>τ>0,32/ (1 + I>L>) 3,62=0,9*1,1*79*0,150,32/ (1+0,25) 3,62=18,64КПа≈1,9т/м2
Нормативные значения модулей деформации Е, МПа, крупнообломочных грунтов с пылевато-глинистым заполнителем и пылевато-глинистых грунтов с обломками определяют по формуле:
E = k>E >k>L >k>p (E) >/ (0,07 М>τ> + 0,017)
где М>τ> - физический эквивалент грунта; k>E> - коэффициент, учитывающий прочность крупных обломков; k>L> - коэффициент, зависящий от процентного содержания обломков Р>2> и показателя текучести пылеватого или глинистого заполнителя I>L>; k>p>> (>>E>>) - >коэффициент, учитывающий плотность грунта, принимается в зависимости от соответствия фактической плотности грунта γ>ф>, т/м3, ее нормированным значениям γ>n>.
γ>n>> >= k>s> γ>n>>1>=2,16
E = k>E >k>L >k>p (E) >/ (0,07 М>τ> + 0,017) =1*0,75*1,05/ (0,07*0,15+0,017) =29,78
в боковых призмах (галечник)
Определение минимальной плотности сухого грунта
γ>сух>мин = А γ>ч >/2,65 [∆Р (K1/2)] 0,05
=

γ>сух>макс = 1,794 +0,125 ln [1 - n) k γ>ч>], т/м3
По Жарницкому В. определение пористость горной массы, n
n = 0,45- 0,1 lg (d>60>/d>10>) = 0,45- 0,1 lg (3/0,007) =0,186
определение коэффициент неравномерности раскладки частиц грунта в слое, k
k=1+ 0,05 (d>60>/d>10>) = 1+ 0,05 (3/0,007) =22,42
определение максимальной плотности сухой горной массы
γ>сух>макс = 1,794 +0,125 ln [1 - n) k γ>ч>] = 1,794 +0,125 ln [1 - 0,186) 22,42*2,65] =2,2 т/м3
e>max>=γ>ч>-γ>сух>мин/ γ>сух>мин =0,65
e>min>= γ>ч>- γ>сух>макс/ γ>сух>макс=0,2
e= e>max>- I>D> (e>max>-e>min>) =0,65-0,87 (0,65-0,2) =0,26
где I>d> - коэффициент плотности уплотнения
γ>сух>мин = А γ>ч >/2,65 [∆Р (K1/2)] 0,05=1,6
Определение расчетных параметров
ψ>0> = θ + α Ik>D> =40 º +8 º.0,870,9 = 47,06
tgφ>расч >= tgφ>норм>/1,15= tg47/1,15= 0,93
φ=43º
Заложение откосов плотины определяется расчетами устойчивости и зависит от конструкции плотины, расчетных характеристик прочности грунтов тела плотины, условий эксплуатации, геологического строения основания и т.п. На предварительных стадиях проектирования заложения откосов назначается на основе опыта проектирования и эксплуатации существующих плотин. Предварительно назначаем угол заложения откосов m>1 >и m>2>: m>2 - >Низовой откос сtg α>н> =1,3/tgφ>расч >= 1,4, m>1>-Верховой откос сtg α>в>= сtg α>н>+0,2=1,6
2.4 Расчет устойчивости откосов
Расчет был произведен с помощью программа UST.
1. Основные характеристики программы UST
Программа UST предназначена для нахождения коэффициента запаса откосов по КЦПС. Большим преимуществом UST по сравнению с другими подобными программами является то, что она требует малого времени машинного счета, что обеспечивает возможность эффективно увеличить количество граничных линий для различных грунтов и вариантов кругов скольжения. Эта программа, в частности, полезна для тех, кто имеет небольшой опыт в расчетах устойчивости. С ее помощью может быть исследована большая зона и получен минимальный коэффициент запаса. Основные особенности этой программы формулируются следующим образом:
1. Могут рассматриваться откосы любой конфигурации при наличии большого числа различных слоев грунта (до 25).
2. Фильтрация может быть учтена как введением пьезометрической поверхности, так и коэффициентом порового давления. Можно одновременно рассматривать несколько различных случаев фильтрации.
3. Могут быть вычислены коэффициенты запаса как статической, так и сейсмической устойчивости откосов.
4. Число точек описывающих геометрию области - до 125.
5. Число отсеков обрушения шириной "b" - до 200.
6. Максимальное число центров вращения - до 400.
7. Допускается большая гибкость при назначении радиусов. Для проверяемых зон можно устанавливать один или большее число радиусов и указывать количество кругов для каждой зоны.
8. Могут быть вычислены коэффициенты запаса для ряда отдельных центров или их групп, которые образуют сетку. Путем выбора одного или большего числа вероятных центров может быть задействована процедура поиска для локализации минимального коэффициента запаса.
Расчет по методу Терцаги-ВНИИГ в программе UST
Этот метод применяется для расчета статической и сейсмической устойчивости откосов всех грунтовых сооружений и плотин. При этом расчетная область делится на элементарные отсеки шириной "b" (рис.5.49).

Рис. 2. Cхема к определению коэффициента запаса устойчивости откоса по кругло-цилиндрической поверхности скольжения: 1 - поле центров кругов скольжения; 2 - круги, проведенные с шагом ∆R; 3 - круги, касательные к слоям; 4 - ось элементарных отсеков (столбиков); 5 - нижняя граница расчетной области (поверхность грунта)
Намечаются, согласно приведенным ниже указаниям, центры окружностей скольжения, и из каждого центра проводится серия возможных окружностей скольжения. Для каждой окружности скольжения определяется коэффициент статической устойчивости по формуле Терцаги - ВНИИГ:
(1)
где
- масса грунта в отдельном отсеке с
учетом водонасыщения;
- величина полного давления поровой
воды (т/м2), равная пьезометрическому
напору (м), умноженному на плотность
воды
(т/м3);
- ширина элементарного отсека (м);
- коэффициент трения;
- расчетное сцепление грунта (т/м2);
- угол (в градусах) между вертикалью и
радиусом, проведенным из центра вращения
в точку пересечения оси отсека с
окружностью скольжения;
- плотность водонасыщенного грунта
(ниже уровня воды) или грунта природной
влажности (выше уровня воды) в т/м³;
- высота отсека, занятая грунтом или
водой (м).
В расчете
суммирование производится по всей длине
кривой скольжения до пересечения ее с
поверхностью грунта в правой и левой
частях плотины. Расчет можно выполнить
при двух вариантах определения давления
в поровой воде
.
В первом основном случае величина
определяют как вертикальное расстояние
от любой точки поверхности скольжения
до депрессионной кривой (рис.3)

Рис.3. Схема определения давления в поровой воде грунта основания и плотины в расчете устойчивости откосов; учет давления воды ВБ и НБ
Во втором
случае величину
задают в узлах прямоугольной сетки, что
позволяет учитывать влияние на
устойчивость откоса ряда факторов,
изменяющих картину распределения
пьезометрических напоров в плотине и
ее основании. Варьируя величинами
полного давления воды
и сопротивления сдвигу, определяют
величину
для всех расчетных случаев.
Перед расчетом составляется схема расчетной области в прямоугольных координатах. Начало координатных осей в первом приближении можно определить следующим образом. За нулевую отметку (ось абсцисс) принимается самая нижняя точка поверхности более прочного грунта. Если такой поверхности нет, то нулевая отметка выбирается на глубине одной - двух высот плотины от поверхности основания.
Центры кривых скольжения располагают в пределах поля центров окружностей скольжения. Далее откорректируют границы поля центов окружностей скольжения так, чтобы рассматриваемые поверхности скольжения покрывали все участки откоса, как это делалось на рис.5.49 для того, чтобы сместить поле центров окружностей скольжения или увеличить его достаточно изменить координаты поля центров вращения.
Поле центров
окружностей скольжения разбивается
сеткой с шагом
и
.
Опыт показал, что величины
и
можно принять равными
,
где
- абсцисса точки на поверхности сооружения.
Из каждой точки сетки проводится серия
окружностей скольжения разного радиуса.
Одни из них являются касательными (см.
рис.2) к границам слоев основания, что
дает возможность учесть влияние слабого
слоя на устойчивость, радиусы других
окружностей меняются от максимального
до минимального с шагом
,
который может быть произвольным. При
этом
для
каждой точки сетки - это радиус окружности
касательной к нижней границе расчетной
области,
для
каждой точки сетки - это радиус окружности,
примерно равный длине перпендикуляра
из рассматриваемого центра на грань
откоса плюс
,
не рассматриваются поверхности,
содержащие 4 и менее отсеков и поверхности,
в которых максимальное заглубление
менее 1,6 м.
2. Новые нормы РФ на проектирование гидросооружений в сейсмических районах.
В пока еще действующих российских нормах 1981 г. (СНиП II-7-81*) [9, 10] основным расчетом, оценивающим сейсмостойкость сооружений, является расчет по линейно-спектральной теории (ЛСТ). Между тем Международная комиссия по большим плотинам (ICOLD) рекомендует для ответственных сооружений и для интенсивных землетрясений, когда превышается предел упругой работы, выполнять полномасштабный нелинейный динамический анализ по динамической теории (ДТ) на два уровня землетрясений [7, 8].
В марте 2003 г. в России утверждены новые нормы (СНиП 33-03 "Гидротехнические сооружения в сейсмических районах" [13]), регламентирующие строительство гидросооружений в сейсмических районах, которые соответствуют рекомендациям ICOLD [7, 8].
Одна из главных особенностей этого документа заключается в том, что вводятся два уровня сейсмических воздействий. Нижний уровень - это "проектное землетрясение" (ПЗ), т.е. землетрясение с максимальным сейсмическим воздействием, используемым для проверки сейсмостойкости всех сооружений, расположенных на данной строительной площадке. ПЗ с достаточной вероятностью может произойти в течение срока службы сооружения; сооружение должны быть в состоянии перенести такое землетрясение без существенных повреждений, не нарушающих нормальную эксплуатацию всего сооружения. Верхний уровень - это "максимальное возможное землетрясение" (МВЗ), т.е. землетрясение с максимальным сейсмическим воздействием, используемым для проверки сейсмостойкости наиболее ответственных сооружений из числа расположенных на данной строительной площадке. Вероятность МВЗ мала: при таком землетрясении сооружение может получить большой ущерб и утратить ряд своих функций, но оно не должно полностью разрушиться (для плотин не допускается прорыв напорного фронта).
2.1 Группы гидросооружений по их сейсмостойкости
В первую очередь проектируемое гидросооружение с учетом его вида и уровня ответственности, определяемого классом этого сооружения, должно быть отнесено к 1-ой или 2-ой группе по степени обеспечения его сейсмостойкости. К 1-ой группе относятся плотины I и II классов, ко 2-ой группе - все остальные сооружения.
Смысл разделения гидросооружений на группы по их сейсмостойкости прежде всего состоит в том, что сооружения 1-ой группы рассчитываются на два уровня сейсмических воздействий (ПЗ и МВЗ), а сооружения 2-ой группы рассчитываются только на ПЗ.
2.2 Назначение периода повторяемости расчетного землетрясения
Нормы устанавливают, что минимальное значение периода повторяемости проектного землетрясения ТПЗ>ПОВ> определяется величиной 100 лет, а максимальное значение периода повторяемости максимального возможного землетрясения ТМВЗ>ПОВ> величиной 10000 лет.д.опускается по усмотрению Заказчика принимать значение ТПЗ>ПОВ>=100-500 лет для всех сооружений, а при специальном обосновании принимать ТМВЗ>ПОВ>=5000-10000 лет.
2.3 Определение параметров расчетного землетрясения
2.3.1 Сооружения 1-ой группы
Для сооружений 1-ой группы нормы предусматривают выполнение сейсмологических исследований, в результате которых в районе сооружения должны быть установлены расположение основных зон возможных землетрясений и характеристики этих землетрясений, включая параметры сейсмических воздействий и направление подхода к сооружению сейсмических волн из расположенных в указанных зонах очагов землетрясений. На основе этих исследований для площадки строительства определяется параметр, отражающий в расчетах интенсивность сейсмического воздействия, - величина расчетного ускорения основания сооружения при землетрясениях с принятыми периодами их повторяемости (ТПЗ>ПОВ> и ТМВЗ>ПОВ>). Для указанной группы сооружений в качестве такой величины принимаются (с обеспеченностью не менее 50%) максимальные пиковые ускорения основания при проектном землетрясении а>П>ПЗ и при максимальном расчетном землетрясении а>П>МВЗ.
Данные величины являются главными параметрами расчетных акселерограмм (РА), моделирующих расчетные сейсмические воздействия. В качестве РА используются аналоговые акселерограммы из числа записей, сделанных непосредственно на площадке строительства или в районах, сходных с районом строительства по тектоническим, геологическим и другим условиям. Применяются также синтезированные акселерограммы, полученные с учетом таких параметров, как общая длительность сейсмических колебаний, преобладающий период колебаний с максимальным пиковым ускорением, длительность фазы сейсмических колебаний с амплитудными значениями ускорения, составляющими 0,3 или 0,5 максимального пикового значения и преобладающие периоды колебаний точек на поверхности. При синтезе РА учитываются данные о скоростных, частотных и резонансных характеристиках грунтов в основании. Используется также методика синтезирования РА, в которой заданным является спектр реакции, представляющий собой огибающую спектров реакций аналоговых акселерограмм. При необходимости аналоговые и синтезированные акселерограммы масштабируются по величинам а>П>ПЗ и а>П>МВЗ.
Важным элементом построения РА является ограничение снизу величин максимальных пиковых ускорений основания а>П>ПЗ и а>П>МВЗ. Для этой цели в качестве первой основы используются данные сейсмического районирования территории страны.
В настоящее время в России для оценки сейсмической активности местности принята 12-балльная сейсмическая шкала МSК-64 (фактически - аналог шкалы Меркалли, модифицированной ММ). В этих единицах сейсмичность территории определяется по картам Общего сейсмического районирования территории РФ (ОСР-97). На этих картах (А, В, С) указана нормативная сейсмичность IНОР, т.е. интенсивность землетрясения, имеющего на данной территории нормативное значение повторяемости ТНОР>ПОВ>.
В связи с повышенной ответственностью сооружений 1-ой группы сейсмостойкости для этих объектов предусматривают дополнительное уточнение нормативной сейсмичности площадки строительства методами детального сейсмического районирования (ДСР).
Принято, что площадки с нормативной (исходной) сейсмичностью IНОР (при средних по сейсмическим свойствам грунтах), равной 7, 8 и 9 баллам, имеют величины расчетного ускорения основания (в долях g) 0,10; 0,20 и 0,40 соответственно.
Грунтовые условия на строительстве оцениваются через категории грунтов по их сейсмическим свойствам. Таких основных категорий грунтов принято три.
К I категории относятся большинство скальных грунтов (скорость распространения поперечных волн V>S>> >>700 м/с), за исключением сильновыветрелых и разрушенных. К II категории относятся грунты с V>S>=250-700 м/с: полускальные грунты (с сопротивлением на одноосное сжатие R>C> <5 МПа), крупнообломочные, песчано-гравелистые и песчаные грунты, плотные и влажные, пылевато-глинистые грунты с показателем текучести I>L><0,5. К III категории относятся грунты с V>S>< 250 м/с: рыхлые и водонасыщенные пески, пылевато-глинистые грунты с показателем текучести I>L>>> >0,5. В случаях, когда основание площадки сложено грунтами, занимающими промежуточное положение между грунтами I и II или II и III категорий (например, слоистыми грунтами), дополнительно к категориям грунта вводятся, соответственно, категории I-II и II-III. При этом расчетная сейсмичность площадки IРАС при грунтах I-II категории принимается как при грунтах II категории, а при грунтах II-III - как при грунтах III категории.
В нормах допускается при соответствующем обосновании снижать на 1 балл расчетную сейсмичность IРАС на период нахождения водохранилище в опорожненном состоянии.
Нижние границы для максимальных пиковых ускорений основания а>П>ПЗ и а>П>МВЗ на площадке строительства определяются по формулам:
а>П>ПЗ = k>А>ПЗg A>500 (>2-1)
а>П>МВЗ = k>А>МВЗg A>5000 (>2-2)
где A>500 >и A>5000 - >расчетные амплитуды ускорения основания (в долях g, м/с2), определенные для землетрясений с нормативными периодами повторяемости T500>ПОВ> и T5000>ПОВ> соответственно с учетом отличия реальных грунтовых условий на площадке от средних грунтовых условий; значения A>500 >и A>5000 (>а также значения IРАС) даны в таблице 2.1; k>А>ПЗи k>А>МВЗ - коэффициенты, учитывающие вероятность данного землетрясения за расчетный срок службы T>СЛ>, а также переход от нормативного периода повторяемости в 500 лет T500>ПОВ> к принятому периоду повторяемости ТПЗ>ПОВ> и от нормативного периода повторяемости в 5000 лет T5000>ПОВ> к принятому ТМВЗ>ПОВ;> значения k>А>ПЗи k>А>МВЗ принимаются по таблице 2.1
Таблица 2.1 Значения величин A>500 >и A>5000 (>в долях g)
|
Категория грунта |
IНОР, баллы |
|||||||||
|
6 |
7 |
8 |
9 |
10 |
||||||
|
IРАС, баллы |
A |
IРАС, баллы |
A |
IРАС, баллы |
A |
IРАС, баллы |
A |
IРАС, баллы |
A |
|
|
I |
- |
- |
- |
- |
7 |
0,12 |
8 |
0,24 |
9 |
0,48 |
|
I-II |
- |
- |
7 |
0,08 |
8 |
0,16 |
9 |
0,32 |
- |
- |
|
II |
- |
- |
7 |
0,10 |
8 |
0, 20 |
9 |
0,40 |
- |
- |
|
II-III |
7 |
0,06 |
8 |
0,13 |
9 |
0,25 |
- |
- |
- |
- |
|
III |
7 |
0,06 |
8 |
0,16 |
9 |
0,32 |
- |
- |
- |
- |
Примечание: IНОР имеет значения IНОР>500> или IНОР>5000,> IРАС соответственно IРАС>500> или IРАС>5000. >В таблице 2.1 используется расчетная сейсмичность площадки IРАС, которая устанавливается на основе значения нормативной сейсмичности IНОР с учетом местных грунтовых условий, рельефа поверхности и других особенностей площадки. Для сооружений 1-ой группы величина IРАС определяется с использованием уточненного (в результате проведения исследований ДСР) значения нормативной сейсмичности IНОР площадки. Влияние грунтовых и других местных условий оценивается обязательно методами СМР.
Таблица 2.2 Значения коэффициентов k>А>ПЗ и k>А>МВЗ
|
Расчетный срок службы Т>СЛ,> годы |
k>А>ПЗ |
k>А>МВЗ |
|||||
|
ТПЗ>ПОВ>, годы |
ТМВЗ>ПОВ> |
||||||
|
100 |
200 |
300 |
400 |
500 |
5000 |
10000 |
|
|
10 |
0,55 |
0,60 |
0,65 |
0,68 |
0,70 |
0,70 |
0,80 |
|
20 |
0,63 |
0,70 |
0,74 |
0,78 |
0,80 |
0,80 |
0,90 |
|
50 |
0,70 |
0,78 |
0,83 |
0,87 |
0,90 |
0,90 |
1,00 |
|
100 и более |
0,80 |
0,87 |
0,93 |
0,97 |
1,00 |
1,00 |
1,10 |
2.4 Основные положения расчета сооружений на сейсмические воздействия.
Нормы предусматривают учет сейсмических воздействий в тех случаях, когда величина расчетной сейсмичности IРАС на площадке строительства составляет 7 баллов и более. Сейсмические воздействия включаются в состав особых сочетаний нагрузок. Гидросооружения, в зависимости от их группы сейсмостойкости и уровня расчетного землетрясения (ПЗ или МВЗ), рассчитываются на сейсмические воздействия методами динамической теории (ДТ) или линейно-спектральной теории (ЛСТ). Cхема использования различных методов расчета сооружений на сейсмические воздействия дана в таблице 2.3
Таблица 2.3 Схема использования методов расчета гидросооружений
на сейсмические воздействия
|
Расчетное землетрясение |
Группа сооружений по обеспечению сейсмостойкости |
|
|
1-я группа |
2-я группа |
|
|
ПЗ |
ДТ |
ЛСТ |
|
МВЗ |
ДТ |
- |
2.4.1 Сооружения 1-ой группы
Гидросооружения
1-ой группы сейсмостойкости рассчитываются
на ПЗ и МВЗ методами динамической теории
(ДТ) сейсмостойкости. В этом случае
сейсмическое ускорение основания
задается РА, представляющей собой в
общем случае однокомпонентную,
двухкомпонентную или трехкомпонентную
(j=1,2,3) функцию времени
.
Сейсмические воздействия могут задаваться
также велосиграммами либо сейсмограммами.
Расчеты на ПЗ в рамках ДТ выполняются,
как правило, с применением линейного
динамического анализа, а на МВЗ - линейного
или нелинейного временного динамического
анализа.
При выполнении расчетов по ДТ деформации, напряжения и усилия определяются на всем временном интервале сейсмического воздействия на сооружение. При этом в случае применения линейного динамического анализа максимальные и минимальные значения этих величин за весь рассматриваемый временной интервал суммируются со начениями деформаций, напряжений и усилий, полученными от остальных нагрузок и воздействий, входящих в состав особого сочетания нагрузок, включающего сейсмические воздействия.
В расчетах сейсмостойкости сооружений по ДТ используются параметры затухания , установленные на основе динамических исследований поведения сооружений при сейсмических воздействиях. При отсутствии экспериментальных данных о величинах параметров затухания допускается применять значения параметров затухания, не превышающими:
0.05 - для бетонных и железобетонных сооружений;
0.15 - для сооружений из грунтовых материалов;
0.08 - для скальных пород оснований;
0.12 - для полускальных и нескальных грунтов оснований.
2.4.2 Сооружения 2-ой группы
Сооружения 2-ой группы сейсмостойкости рассчитываются на ПЗ методами линейно-cпект-ральной теории (ЛСТ). В этих расчетах материалы сооружения и основания считаются линейно-упругими; в поведении системы "сооружение-основание" отсутствует геометрическая или конструктивная нелинейность. Сейсмическое ускорение основания задано постоянным вектором, модуль которого определяется по формуле:
= k>А>ПЗg
A>500 (>2-3)
где k>А>ПЗ, g, A>500> - то же, что и в формуле (2-1).
В случаях, когда при расчете сейсмостойкости по ЛСТ система "сооружение-основание" разбита на отдельные дискретные объемы, то в качестве сейсмических нагрузок используются узловые инерционные силы - P>ikj>, действующие на элемент сооружения, отнесенный к узлу k, в направлении j при i - ой форме собственных колебаний. В общем случае значения компонент узловых сил P>ikj> по трем (j=1, 2,3) взаимно ортогональным направлениям определяются как:
P>ikj>
= k>f>
k>H>
k>>
m>k>
>i>
>ikj>
(2-4)
где: k>f> - коэффициент ответственности сооружения и недопустимости в нем повреждений; k>H> - коэффициент, учитывающий конструктивные особенности сооружения; k>> - коэффициент, учитывающий демпфирующие свойства конструкций; m>k> - масса элемента плотины, отнесенная к узлу k, (с учетом присоединенной массы воды).
Для всех гидросооружений принимается k>f> =0,50.
Для водоподпорных сооружений принимаются значения коэффициента k>H>: 1.0 для сооружений высотой 100 м и более; 0.8 для сооружений высотой 60 м и менее; по интерполяции между значениями 1,0 и 0,8 для сооружений высотой 60 - 100 м.
Значения коэффициента k>>> >для бетонных, ж-б и сооружений из грунтов (в скобках): 1,00 (0,70) - при расчетной сейсмичности строительства IРАС не более 8 баллов; 0,80 (0,65) - при расчетной сейсмичности строительства IРАС свыше 8 баллов.
Для других
видов гидросооружений значения
коэффициентов, учитывающих конструктивные
особенности и демпфирующие свойства
сооружений, допускается принимать на
основе опыта проектирования этих
сооружении с учетом сейсмических
воздействий.
- сейсмическое ускорение основания,
определяемое по формуле (2-3); >ikj>
- коэффициент формы собственных колебаний
сооружения по i-ой
форме колебаний:
>ikj>
=U>ikj>
(2-5)
где U>ikj>
- проекции по направлениям j
смещений узла k
по i-ой форме
колебаний; cos
(U>ikj>,
)
- косинусы углов между направлениями
вектора
воздействия
и перемещениями U>ikj>.
(T>i>) (или >i>) - коэффициент динамичности, соответствующий периоду собственных колебаний сооружения T>i> по i-ой форме колебаний;
Значения коэффициента динамичности (T>i>) определяются по зависимостям (2-6) - (2-8) или по графикам на рисунке 2-1:
(T>i>) = 1 + T>i> (>0> - 1) /T>1>, 0 < T>i> <=T>1>; (2-6)
(T>i>) = >0,> T>1 >< T>i> <=T>2;> (2-7)
(T>i>) = >0 [>T>i>/T>2>] 2/3, T>2><T>i>; (2-8)
где >0,> T>1>, T>2> - параметры, значения которых даны в таблице 2-4.
Примечание: Значение произведения k>>>ш> должно составлять не менее 0,80.

Рис.2-1. Коэффициент динамичности (T>i>) для трех категорий грунтов основания. Обозначения: Кривая 1 - для грунтов I категории; кривая 2 - для грунтов I-II и II категорий; кривая 3 - для грунтов II-III и III категорий
Таблица 2.4 Значения параметров >0>, T>1,> T>2>
|
Категории грунтов по сейсмическим свойствам |
>0> |
T>1> |
T>2> |
|
I |
2,5 |
0,10 |
0,375 |
|
I-II и II |
2,5 |
0,15 |
0,611 |
|
II-III и III |
2,5 |
0, 20 |
0,881 |
При расчете сейсмостойкости сооружений по ЛСТ расчетные значения возникающих в сооружении смещений (деформаций, напряжений и усилий) с учетом всех учитываемых в расчете форм собственных колебаний сооружений следует определять по формуле:
(2-9)
где W - обобщенное значение расчетных смещений (деформаций, напряжений или усилий), возникших в рассматриваемых точках или сечениях под влиянием сейсмических воздействий;
W>i> - обобщенное значение смещений (деформаций, напряжений или усилий), возникших в рассматриваемых точках или сечениях под влиянием сейсмических нагрузок (сил), соответствующих i - ой форме собственных колебаний;
q - число учитываемых в расчетах форм собственных колебаний.
3. Расчет сейсмостойкости плотины по новым нормам РФ.
3.1 Определение сейсмических параметров для плотины.
Ранее в разделе 1 было установлено, что исходная (нормативная) сейсмичность площадки строительства плотины IНОР = 8 баллов. Учитывая сложные грунтовые условия в основании плотины, сложенном из полускальных пород (мергелей, мергелей глинистых и мергелистых известняков, подстилаемых триасовыми гипсосодержащими породами), прикрытых 10-метровым слоем руслового аллювия, а также учитывая наличие вторичного тектонического разлома в русле реки, расчетную категорию грунтов основания плотины следует отнести к промежуточной между II и III категориями, т.е. к II-III. При этом расчетная сейсмичность площадки IРАС принимается как при грунтах III категории, т.е. IРАС = 9 баллов
Согласно новым нормам плотина как сооружение II класса относится к 1-ой группе плотин по сейсмостойкости и поэтому должна быть рассчитана на два уровня сейсмических воздействий: на проектное землетрясение (ПЗ) с минимальной повторяемостью ТПЗ>ПОВ >=100 лет и на максимальное землетрясение (МВЗ) с минимальной повторяемостью ТМВЗ>ПОВ>=5000 лет.
В связи с отсутствием в Алжире карт общего макросейсмического районирования страны с оценкой повторяемости землетрясений Заказчику следует срочно провести необходимые геофизические работы по уточнению нормативной сейсмичности площадки строительства методами детального сейсмического районирования (ДСР), включая сейсморазведку.
После получения от Заказчика уточненных данных по нормативной сейсмичности площадки строительства методами ДСР будут уточнены максимальные пиковые ускорения а>П>ПЗ и а>П>МВЗ. Это позволит получить для площадки строительства плотины достоверные расчетные акселерограммы (РА) и провести на их воздействие полные динамические расчеты сейсмостойкости плотины, как это требуют нормы РФ и ICOLD.
Учитывая вышеизложенное в настоящее время следует ограничиться выполнением расчетами сейсмостойкости плотины по линейно-спектральной теории (ЛСТ), как для сооружения 2-й группы по сейсмостойкости, но на воздействие двух уровней землетрясений (ПЗ и МВЗ), как это принято для сооружений I-й группы. В связи с этим следует принять следующие нижние границы максимальных пиковых ускорений основания согласно формулам (2-1) и (2-2) норм РФ:
а>П>ПЗ = k>А>ПЗg A>500 >= 1x 0,25g = 0,25g
а>П>МВЗ = k>А>МВЗg A>5000 >= 1x0,32 g = 0,32g
где A>500>, A>5000>> >взяты по таблицы 2.1 для IНОР=8 баллов и IРАС =9 баллов, соответственно, для II-III и III категорий грунта.
Следует отметить, что а>П>ПЗ = 0,25g и а>П>МВЗ = 0,32g совпали со значениями максимальных ускорений, а>макс>, полученных ранее по методике Гидропроекта, соответственно, для гидроузла от воздействия разлома и по зависимости (1-4) для плотины.
3.2 Определение сейсмических нагрузок на плотину как сооружения 2-й группы.
Узловые инерционные нагрузки определяются по формулам (2-3) - (2-9). Вначале определяют коэффициенты динамичности (T>i>) для первых трех форм собственных колебаний плотины по формулам (2-6) - (2-8) с учетом принятой II-III категории грунтов (табл.2.4).
>1> = >0 [>T>3>/T>2>] 2/3=2,7
>2> = >0 >= 2,5;
>3>= 1 + T>1> (>0> - 1) /T>1>= 1+ 0,16 (2,5-1) /0,2 = 2,2
>4>= 1 + T>1> (>0> - 1) /T>1>= 1+ 0,12 (2,5-1) /0,3 = 1,6
Узловая инерционная сила по 1-ой форме колебаний при воздействии ПЗ определяется по формулам (2-3) и (2-4):
P>1>>kj> = k>f> k>H> k>>> >а>П>ПЗ>i> m>k> >1>>kj> = 0,5x0,8x0,7x 0,3gx2,7m>k>> >>1>>kj> = 0,1625g m>k>> >>1>>kj>
Таким образом, "коэффициент сейсмичности" при воздействии ПЗ составил соответственно 0,162 и 0, 208, что соответственно в 1,6 и 2 раза выше, чем в расчете по нормам 1981г [9].
Из рис.2-1 и расчета коэффициента динамичности (T>i>) по формулам (2-6) - (2-8) видно, что в них отсутствует прямая связь между периодами собственных колебаний конструкции плотины T>i> по первым формам колебаний и коэффициентами динамичности (T>i>), принятая в нормах 1981 г.
Поэтому ниже приведены расчеты трех первых периодов T>i> плотины по нормам 1981 г.
T>i> = 2H/k>i>V>s> (2-10)
где H =60 м, высота плотины без уборки русловых отложений в большей части основания,
V>s>> - >скорость поперечных волн в виброукатанной горной массе (известняк прочный),
k>i> - коэффициенты, определяемые по методу сдвигового клина (МСК) для каждой из первых трех форм собственных колебаний плотины с учетом податливости основания по табл.3 в [9].
Скорость поперечных волн V>s> в горной массе наиболее точно можно определить через динамический модуль ее деформации E>дин >используя известную зависимость:
V>s>= [E>дин >g/2>сух> (1+)] 1/2 (2-11)
где E>дин> 100000 т/м2 по данным динамических испытаний плотного камня (рис.3, [9]),
>сух>=1,8 т/м3
=0,3 (коэффициент Пуассона для указанного камня)
V>s>= [100000x9,81/2x1,8 (1+0,3)] 1/ 2= 450 м/с
Эта величина V>s>, в целом, соответствует справочным значениям для камня (рис.7 [9]).
По данным таблицы 1 [7] соотношение между V>s> в мергелях (M) основания плотины и в горной массе составляет примерно 2, что указывает на необходимость учета влияния податливости полускального основания на периоды собственных колебаний плотины. Поэтому коэффициент k>i> в формуле (2-10) определяется по табл.6 [9] с учетом коэффициента k>о> по формуле (19) в [9].
k>o>= k>п>E/2 (1+>о>) E>о> (2-12)
где E,E>о>,>о - >динамические модули упругости плотины, основания, коэффициент Пуассона,
k>п> - коэффициент податливости основания (по Фогту), определяемый по табл.7 [9] при >о>=0,27> >с учетом отношения длины к ширине подошвы основания плотины (A/B2), k>п>=1,4. Мергель (M) в основании плотины по принятой в РФ классификации (по Протодьяконову) горных пород относится к V группе (довольно мягкие) с коэффициентом крепости f>кр>=2, что соответствует прочности на одноосное сжатие R>cs>=20 МПа, близкой к средней 22,4 МПа в [14]. Учитывая, что отношение E/E>o>=V/V>o>=1/2, определим значение коэффициента k>o> по формуле (2-12):
k>o>> >=1,3/2 (1+0,3) x3 = 1,6
По табл.6 [9] определим для k>o>=1,6 величины коэффициента k>i> в формуле (2-10):
k>1 >= 1,3; k>2> = 4,57; k>3> = 7,75
Первые три периода собственных колебаний определятся по формуле (2-10):
T>1 >= 6,28x62,24/1,3x450 =0,668 c; T>1 >= 6,28x62,24/5,26x450 =0,167 c;
T>1 >= 6,28x62,24/8,4x450 =0,103 c;
Коэффициенты динамичности по формулам (2-8) - (2-10): (T>1>) =2,7; (T>2>) = 2,5; (T>3>) =2,2; не изменились по сравнению с ранее полученными.
В соответствии с линейно-спектральной теорией (ЛСТ) приведенное сейсмическое ускорение от ПЗ определится в точке k плотины как:
P*>ik>
=k>f>
k>H>
k>>>
>а>П>ПЗ
=0,5x0,8x0,7x0,3
,
=0,065
Коэффициенты >ikj> первых трех собственных форм колебаний при расчете по методу сдвигового клина (МСК) определяются по таблицам 5 и 8 [9] с учетом влияния податливости основания (k>o>=1,6).
Табл.5. Коэффициенты >ikj> первых трех собственных форм
колебаний плотины (k>o>=1,1)
|
x/H |
k>o>=1,6 |
||
|
i=1 |
i=2 |
I=3 |
|
|
0,0 |
1,22 |
- 0,74 |
0,74 |
|
0,1 |
1,18 |
- 0,7 |
0,64 |
|
0,2 |
1,18 |
- 0,58 |
0,37 |
|
0,3 |
1,16 |
- 0,43 |
0,05 |
|
0,4 |
1,14 |
- 0,23 |
- 0,21 |
|
0,5 |
1,09 |
-0,05 |
- 0,29 |
|
0,6 |
0,99 |
0,04 |
- 0,21 |
|
0,7 |
0,99 |
0,23 |
-0,03 |
|
0,8 |
0,93 |
0,29 |
0,14 |
|
0,9 |
0,87 |
0,30 |
0,22 |
|
1,0 |
0,70 |
0,32 |
0,17 |
x/H - относительная координата 10 горизонтальных сечений плотины, считая от гребня.
Расчет приведенного сейсмического ускорения P*>ik> от воздействия ПЗ и МВЗ и его распределение по высоте плотины приведены в таблице 6.
Табл. 6. Распределение сейсмического ускорения P*>ik> от ПЗ и МВЗ по высоте плотины.
|
x/H |
η1 |
η2 |
η3 |
|
|
|
βη1 |
βη2 |
βη3 |
Σ (8+9+10) |
|
P |
|
1 |
2 |
3 |
4 |
5 |
6 |
7 |
8 |
9 |
10 |
11 |
12 |
|
|
0 |
1,22 |
-0,74 |
0,74 |
1,4884 |
0,5476 |
0,5476 |
4,01868 |
1,369 |
1, 20472 |
6,5924 |
2,567567 |
0,215676 |
|
0,1 |
1,18 |
-0,7 |
0,64 |
1,3924 |
0,49 |
0,4096 |
3,75948 |
1,225 |
0,90112 |
5,8856 |
2,426026 |
0, 203786 |
|
0,2 |
1,18 |
-0,58 |
0,37 |
1,3924 |
0,3364 |
0,1369 |
3,75948 |
0,841 |
0,30118 |
4,90166 |
2,213969 |
0,185973 |
|
0,3 |
1,16 |
-0,43 |
0,05 |
1,3456 |
0,1849 |
0,0025 |
3,63312 |
0,46225 |
0,0055 |
4,10087 |
2,02506 |
0,170105 |
|
0,4 |
1,14 |
-0,23 |
-0,2 |
1,2996 |
0,0529 |
0,0441 |
3,50892 |
0,13225 |
0,09702 |
3,73819 |
1,93344 |
0,162409 |
|
0,5 |
1,09 |
-0,05 |
-0,3 |
1,1881 |
0,0025 |
0,0841 |
3, 20787 |
0,00625 |
0,18502 |
3,39914 |
1,843676 |
0,154869 |
|
0,6 |
1,04 |
0,15 |
-0,2 |
1,0816 |
0,0225 |
0,0361 |
2,92032 |
0,05625 |
0,07942 |
3,05599 |
1,748139 |
0,146844 |
|
0,7 |
1 |
0,23 |
-0 |
0,990025 |
0,0529 |
0,0009 |
2,673068 |
0,13225 |
0,00198 |
2,807298 |
1,675499 |
0,140742 |
|
0,8 |
0,94 |
0,29 |
0,14 |
0,874225 |
0,0841 |
0,0196 |
2,360408 |
0,21025 |
0,04312 |
2,613778 |
1,616718 |
0,135804 |
|
0,9 |
0,88 |
0,28 |
0,22 |
0,765625 |
0,0784 |
0,0484 |
2,067188 |
0, 196 |
0,10648 |
2,369668 |
1,539372 |
0,129307 |
|
1 |
0,71 |
0,225 |
0,17 |
0,497025 |
0,050625 |
0,0289 |
1,341968 |
0,126563 |
0,06358 |
1,53211 |
1,237784 |
0,103974 |
2.5 Пропуск строительных расходов
Комплекс сооружений для пропуска расходов в строительный период включает в себя строительный туннель и верховую и низовую перемычку. Туннель предназначен для отведения воды в строительный период из верхнего бьефа в нижний и осушения котлована. Отводящий туннель находится на отметке 1130. туннель имеет длину 438 м. площадь сечения туннеля полуциркульная 8,5х8,5 м. Для предотвращения воды к месту строительства плотины устраиваем верховую и низовую перемычку. Они представляют собой насыпи трапециидального сечения. Отметка гребня верховой перемычки 1135,5 а низовой 1136,8.
2.6 Водосбросное сооружение
2.6.1 Выбор водосброса
Основные типы водосбросов, используемых в гидроузлах с глухими грунтовыми плотинами, имеют определенные области применения (рис1). Эти области показаны в зависимости от мощности сбросного потока:
N=0,0098∙Q∙H=0,0098∙6500∙43.7=2783,7 (МВт)
где Q - расчетный расход водосброса, м3/с; H - перепад между уровнем ВБ и отметкой уровня воды в русле в НБ при пропуске расчетного паводка Q.
и относительной ширины речной долины L/H, где L и Н - соответственно длина плотины по гребню и ее высота тогда 297/60=4,95 принимаем береговой открытый водосброс по графику В.М. Семенкову.

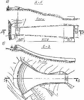
Рис 4. Области применения различных водосбросов в гидроузлах с глухими плотинами (по В.М. Семенкову): I - туннельные водосбросы; II - береговые открытые и глубинные водосбросы: III - русловые водосбросные плотины с поверхностным переливом и глубинными отверстиями.
Открытые береговые водосбросы устраивают на гидроузлах с грунтовыми и бетонными глухими плотинами. Располагают их обычно на одном берегу (рис.5). Расположение водосбросов на двух берегах применяют редко: при высоких сбросных расходах и возможности их размещения по топографическим и геологическим условиям и с учетом компоновки гидроузла. Обычно эти береговые водосбросы применяют при расходах 500-12000 м3/с на одно сооружение. Их выполняют в виде открытых водосбросных каналов, быстротоков и разных сочетаний водослива с ними. Водосбросной тракт (быстроток) водосбросов обычно имеет большую длину.
По типу оборудования эти водосбросы подразделяют на регулируемые (с затворами и механизмами для их подъема и опускания) и нерегулируемые (автоматического). Последние не имеют затворов (открытый водослив, сифон) или имеют их, когда подъем затворов происходит по достижению заданного уровня ВБ.
Регулируемые водосбросы с затворами при глухих плотинах обычно на 20% дешевле подобных нерегулируемых водосбросов.
Ось водосбросного тракта чаще всего трассируют по водораздельным участкам склона, по возможности перпендикулярно горизонталям. С особой осторожностью относятся к вариантам трассировки оси водосброса по понижениям эрозионного происхождения (балкам и оврагам), так как это говорит о неблагоприятных геологических и гидрологических условиях. При трассировке оси водосброса перпендикулярно горизонталям объемы земляных работ меньше, чем при трассировке под углом к горизонталям. При трассировке по крутым косогорам ширина транзитной части водосброса должна быть наименьшей. Поэтому быстротоки часто делают сужающимися по течению, что предупреждает также образование катящихся волн.
Открытые береговые водосбросы состоят из трех основных частей: а) подводящего канала; б) водослива фронтального типа, регулирующего сбрасываемый расход; в) водоотводящего тракта.

Рис.5. Схема открытого берегового водосброса: 1 - подводящий канал; 2 - водослив; 3 - отводящий промежуточный канал; 4 - быстроток; 5 - концевая часть; 6 - грунтовая плотина; 7 – русло
Входные части открытых береговых водосбросов

а - сужающаяся с прямолинейным водосливным порогом; б - с циркуль-ным порогом; в - с зигзагообразной тонкой стенкой по гребню циркуль-ного порога практического профиля; г - со струйным течением; д - с искусственной шероховатостью; е - с полигональным (лабиринтным) водосливным порогом; ж, з - план и разрез мексиканского водосброса
Особенностью водослива берегового водосброса является отсутствие ниже его устройств для гашения энергии воды, поступающей в водоотводящий тракт, состоящий из промежуточного канала, сопрягающего сооружения (быстротока) или многоступенчатого перепада и устройства для гашения энергии потока.
Быстроток.
Быстроток представляет собой канал, уклон которого намного превышает критический. Обычно уклон задают в пределах 0,05-0,25, но он может быть больше, например, в скальных грунтах. Ширина быстротока бывает постоянной или переменной уменьшающейся или возрастающей книзу (рис.6).

Рис.6. Быстротоки: а - расширяющийся; б – сужающийся
Изменение ширины быстротока вызывается условиями гашения энергии в НБ и возможностью сокращения объема работ. Быстротоки выполняют в виде железобетонного лотка с прямоугольным, трапецеидальным или полигональным сечением Сужающиеся в плане быстротоки (рис.7, а) позволяют уменьшить объем земляных работ по трассе, обеспечить плановое сопряжение развитых входных частей с быстротоками постоянной ширины и создать благоприятный гидравлический режим работы концевой части. Однако на длинных быстротоках возникает необходимость устройства в его конце расширяющегося участка (рис.7, а) с рассеивающим носком-трамплином.

Рис.7. Средства борьбы с волнообразованием на быстротоках: а - сужение в плане быстротока; б, в, г - гасители в конце быстротока, соответственно, типа зигзаг, ребра и решетчатый трамплин; 1 - водовыпуск;.2 - плотина; 3 - водосброс; 4 - ребра нарастающей высоты; 5 - быстроток; 6 - растекатель; 7 - прорезная водобойная стенка
2.7 Гидравлический расчет открытого берегового водосброса-быстротока
Обусловлены наличием в его составе трех основных частей (головной, сбросной и концевой) и заключаются в следующем: определение параметров головного участка (очертания подводящего канала, число и ширина водосливных пролетов, отметка порога), обеспечивающих заданную пропускную способность;
Расчет водослива
Известно Q=6500 м3/с; В=100 м; m=0,48
Определение напора на гребне без учета бокового сжатия:


Задаем ширину отверстий:

Ширина одного бычка:

Количество отверстий:

Число бычков:
n>б=>n>отв>> >- 1 =5 - 1 =4 бычка
Уточним окончательную ширину фронта:

Форма бычка: ξ=0,95 (ξ - коэффициент бокового сжатия плотины);
Эффективная ширина фронта водослива с учетом бокового сжатия в первом приближении:
принимаем 96 м

Уточняем напор на гребне:


Определение скорости воды на подходе:


Расчетный напор на гребне:

- коэффициент кинетической энергии
Определение удельного расхода

Определим глубину воды в сжатом сечении h>сж>
принимаем


Во втором приближении:

В третьем приближении:

Принимаю

Гидравлический расчет быстротока.
Гидравлический расчет быстротока заключается в определении сечения на быстротоке, где скорость в этом сечении будет равна допустимой скорости. Допустимая скорость определяется в зависимости от материала поверхности. Для быстротока с большой пропускной способностью, допустимую скорость принимают в пределах 25. .35 м/с.
В начале быстротока т.е. на месте перелома где I больше I>кр>
Известно
Q=6500м3/с;
B>нач>=86
м;

требуется:
определить h>кр>=

w= h>кр>. B=8,65.86=744.3 м3
x=2 h>кр>+B=2.8,65.86=103,3 м


=0.014,
находим

Определяем h>0> - нормальная глубина на быстротоке

Составляем таблицу для нахождения нормальной глубины, для этого задаемся значениями h. Затем строим график h = f (K), из которого определяем h>0>.
|
h>i> |
B |
W=h. B |
X=2h+B |
R=W/X |
C=1/n. R1/6 |
K=W. C |
|
1 |
86 |
86 |
88 |
0.97 |
71.06 |
6018 |
|
2 |
86 |
172 |
90 |
1.91 |
79.59 |
18912 |
|
3 |
86 |
258 |
92 |
2.80 |
84.40 |
36609 |
|
4 |
86 |
344 |
94 |
3.65 |
88.63 |
58248 |
|
5 |
86 |
430 |
96 |
4.47 |
91.67 |
83339 |
|
6 |
86 |
516 |
98 |
5.26 |
94.2 |
111480 |
|
7 |
86 |
602 |
100 |
6.02 |
96.33 |
142284 |
|
8 |
86 |
688 |
102 |
6.74 |
98.17 |
175346 |
|
9 |
86 |
774 |
104 |
7.44 |
99.8 |
210696 |
К>ф>=
Строим график для определения нормальной глубины.

Из графика (при К>ф> = 178543) h>0> = 8,20 м.
Определим глубину воды в сжатом сечении в конца быстротока с учетом h>кр>
принимаем
Р=15-разница между начальной и концевой
частью быстротока.
-
где b ширина в конце быстротока

Во втором приближении:

В третьем приближении:

Принимаю 5,4 h>сж>
График для определения гидравлического показателя русла Х.

Х зависит от
отношения
,
где h-заданная глубина
канала,b-ширина канала.
Построение кривых свободной поверхности способом Бахметева

Где (i-уклон
дна; l-длина заданного
участка канала; h>0>-глубина
равномерного течения при заданном
расходе Q (нормальная
глубина);
-относительные
глубины
и
в конце и в начале данного участка.
Определим
глубину воды в сжатом сечении в конца
быстротока с учетом h>кр
>
принимаем
Р=15-разница между начальной и концевой
частью быстротока.
-
где b ширина в конце быстротока

Во втором приближении:

В третьем приближении:

Принимаю 5,4 h>сж>
Тогда h>сж>=h>2>
Таким образом находим требуемые параметры в конце быстротока при известным данным:
Q=6500м3/с;
B>нач>=67
м;

Требуется определить:
w= h>2>. B=5,4.67=361.8 м3
x=2 h>2>+B=2.5,4.67=77.8 м

,
=0.014
Определяем I>cp> в начале и в конце быстротока
В начале


В конце


Далее

По Бахметеве уточняем h>2>

от сюда находим

=0,65

Уточняем




Принимаем

Определение дальность отлета струи
Дальность отлета струи L, отброшенной с трамплина, до встречи со свободной поверхностью нижнего бьефа определяется по формуле:

Здесь
- угол наклона струи к горизонту в створе
уступа (
);
g - ускорение силы тяжести;
- превышение носка над уровнем нижнего
бьефа (
= 24 м);
- коэффициент скорости находится по
формуле

- превышение носка над уровнем нижнего
бьефа (
= 30м);
Т - превышение уровня верхнего бьефа над уровнем воды нижнего бьефа (Т =46 м);
Н - напор на гребне водослива (Н = 11м).
Принимаем высоту носка (трамплина)

Далее определяем толщину струи в створе уступа



Следовательно дальность отлета струи будет равна
Скорость струи на уровне свободной поверхности нижнего бьефа находится без учета изменения ее формы при движении в воздушной среде.

Где
,

Далее определяем угол встречи струи со свободной поверхностью (угол входа):


Струя, войдя под уровень нижнего бьефа, движется по прямой при этом принимается, что ось струи касательная к точке встречи оси струи со свободной поверхность.
Приращение дальности падения струи с учетом движения под уровнем нижнего бьефа по прямой до дна размыва равно

Где hр - глубина в яме размыва.
Яму размыва, образующуюся в месте падения струи, можно определить по эмпирической формуле И.Е. Мирцхулавы

К - коэффициент перехода от средних скоростей к актуальным (К = 1,5-2), W - гидравлическая крупность грунта, определяемая по формуле
м
Где d
- расчетный диаметр частиц грунта,
отвечающих фракциям, мельче которых в
грунте содержится 90% частиц;
- удельные веса материала и воды с учетом
Вывод:
меньше
размыва нет
Глава 3. Плотина из укатанного бетона (УБ-2) (вариант Б)
3.1 Основные характеристики "укатанный бетон" (УБ)
За последние 20 лет во многих странах мира установилась тенденция широкого строительства плотин из укатанного бетона (roller compacted concrete) или сокращенно УБ (RCC). УБ представляет собой особо жесткую бетонную смесь с пониженным содержанием цемента и повышенным содержанием пуццоланы (золы-уноса), уплотняемую вибрационными катками. Под понятием УБ подразумевается определение его как нового особо жесткого бетона с широкими физико-механическими свойствами, зависящими не только от его состава, но и от технологии его укладки и виброукатки в плотине. В этом отношении УБ приближается к виброукатаному гравелистому грунту, упрочненному цементом. УБ отличается от традиционного бетона главным образом своей консистенцией. Для эффективного уплотнения УБ должен быть достаточно сухим, чтобы выдержать вес виброкатков, и в то же время достаточно влажным, чтобы обеспечить полное распределение цементного раствора в смеси в процессе перемешивания и виброукатки. УБ значительно отличается и по внешнему виду от обычного бетона, скорее напоминая гравийную насыпь, так как присутствие в нем цементного раствора почти незаметно. Для достижения максимального уплотнения требуется намного большее вибрационное усилие, чем для обычного бетона.
3.1.1 Физико-механические характеристики укатанного и обычного бетонов
Физико-механические характеристики УБ всех типов зависят от содержания его компонентов, величины которых изменяются в широких пределах, как видно из табл.1.1, полученной по данным смесей УБ в 150 плотинах на 1997 г.
Содержания компонентов смесей УБ в 150 плотинах (1997 г)
|
Содержание компонентов |
УБ-1 |
УБ-2 |
УБ-3 |
УБ-4 |
|
Цемент, кг/м3: Среднее Максимальное Минимальное |
63 95 0 |
63 125 0 |
83 154 46 |
88 96 42 |
|
Пуццоланы, кг/м3: Среднее Максимальное Минимальное |
13 90 0 |
57 130 0 |
111 225 40 |
35 78 24 |
|
Вода, л/м3: Среднее Максимальное Минимальное |
121 168 87 |
115 145 95 |
101 136 73 |
95 110 75 |
|
Пуццоланы/вяжущие: |
0,17 |
0,48 |
0,57 |
0,28 |
|
Водоцементное отношение: |
1,59 |
0,96 |
0,52 |
0,77 |
Анализ физико-механических характеристик УБ выполнен по данным испытаний образцов УБ ряда построенных плотин из УБ, приготовленных из одинаковых компонентов, что исключает влияние различных местных материалов и условий. Это сравнение позволит на стадии проектирования плотин более обоснованно принимать физико-механические характеристики УБ до проведения полевых испытаний УБ.
Время перекрытия швов УБ и их обработка
|
Тип УБ |
Свежий шов |
Полухолодный шов |
Холодный шов |
|
УБ-1: Пределы перекрытия, град. /час Обработка шва Укладка слоя цементного раствора |
<100 град. /час Очистка пылесосом Нет |
100-250 град. /час Очистка пылесосом Около напорной грани |
>250 град. /час Промывка водой По всей поверхности |
|
УБ-2: Пределы перекрытия, град. /час Обработка шва Укладка слоя цементного раствора |
<200 град. /час Очистка пылесосом Нет |
200-500 град. /час Промывка водой Около напорной грани |
>500 град. /час Срезка всей поверхности По всей поверхности |
|
УБ-3: Пределы перекрытия, град. /час Обработка шва Укладка слоя цементного раствора |
<300 град. /час Очистка пылесосом Нет |
300-800 град. /час Промывка водой Нет |
>800 град. /час Срезка всей поверхности По всей поверхности |
|
УБ-4: Пределы перекрытия, град. /час Обработка шва Укладка слоя цементного раствора |
Не иcпользуют Нет Нет |
Не иcпользуют Нет Нет |
Швы обрабатывают как холодные Срезка всей поверхности По всей поверхности |
На основе анализа натурных данных поведения швов УБ в Бюллетене N 125 (2003) Международной комиссии по большим плотинам даны пределы времени перекрытия швов (град. С/час) и рекомендации по их обработке, включая укладку подстилающего слоя цементного раствора (табл.1.2).
3.1.2 Основные факторы, влияющие на прочность на сдвиг в швах УБ
Влияние возраста УБ на сцепление и трение в швах
На рис.1.1 показано влияние возраста УБ (в сутках) на сцепление С (МПа) и угол внутреннего трения φ в швах УБ при низком и высоком расходе вяжущих (УБ-1 и 2), среднем содержании пуццоланов в вяжущих 25% и времени перекрытия швов от 80 до 500 град. /час (без применения замедлителей схватывания). Влияние времени перекрытия швов на их сцепление и трение
На рис.1.2 показано влияние времени перекрытия швов УБ на сцепление и трение в них при низком и высоком расходе вяжущих (УБ-1 и 2,3), среднем содержании пуццоланов в вяжущих, равном 25%, и без применения замедлителей схватывания, увеличивающих время перекрытия швов.
C (МПа) (град)

Рис.1.1 Зависимость сцепления С и трения в швах УБ от времени Т (дни) при высоком и низком расходе вяжущих (Ц + З): 1 - зависимость при высоком (Ц + З); 2 - то же при низком (Ц + З); 3 - зависимость С при высоком (Ц + З); 4 - то же при низком (Ц + З)
C (МПа) (град)

Рис.1.2 Влияние времени перекрытия швов УБ (град. С/час) на сцепление С, МПа (сплошные линии) и угол внутреннего трения, град. (пунктир) в швах при низком и высоком расходе вяжущих
Анализ обширных опытных данных и зависимостей рис.1.2 позволил сделать следующие важные выводы:
1. Угол внутреннего трения в шве УБ практически не зависит от расхода вяжущих, в том числе пуццоланов, времени перекрытия швов и возраста УБ, а зависит в основном от типа заполнителя (прочности частиц породы и их формы).
2. Сцепление в шве УБ практически прямо пропорционально расходу вяжущих при данном типе заполнителей.
3. Сцепление в шве УБ возрастает во времени подобно росту прочности самого УБ на сжатие.
4. Сцепление и в меньшей степени трение в шве начинают снижаться с началом гидратации вяжущих (без замедлителей схватывания) на поверхности шва и спустя 80 град. /час (или 4 часа при температуре УБ 20о) сцепление в шве при высоком и низком расходе вяжущих снизится примерно вдвое, если этот шов не будет перекрыт свежим слоем УБ.
5. В слое УБ, перекрытом через 80 град-час свежим слоем УБ, снижение сцепление в шве происходит медленно вплоть до 600 град. /час.
6. Предельное время перекрытия шва, равное 80 град. /час, может быть увеличено до 200 град. /час за счет применения замедлителей схватывания или высокого содержания золы-уноса, т.е. перехода на УБ 3-го типа.
Условия подготовки поверхности швов УБ могут быть следующими: естественное просушивание свежей или мокрой поверхности (SSD), продувка воздухом, очистка щетками, поврежденная поверхность, нетронутая поверхность и обработка подстилающим слоем цементного раствора (bedding mix) толщиной 1-2 см.
Трение в шве УБ практически не зависит ни от каких факторов, кроме типа заполнителя, согласно опытным данным по УБ плотины Миель-1.
Согласно этим же данным сцепление в шве прямо пропорционально расходу вяжущих (после его порогового значения в 30-40 кг/м3) и оно повышается с сокращением времени перекрытия шва и, особенно, при применении замедлителя схватывания. Применение подстилающего слоя цементного раствора даже при больших сроках перекрытия шва (до 1200 град. /час) позволяет достичь максимального сцепления в нем близкого к сцеплению УБ между швами.
В проектах плотин из УБ используют уменьшенное на коэффициент запаса пиковое значение прочности УБ на сдвиг, при котором сцепление в швах УБ исчерпывается, и возникают микроподвижки по шву. Обычно при проектировании плотин используют пиковые значения прочности УБ на сдвиг и угла внутреннего трения, и сопротивление плотины на сдвиг должно превышать сдвигающую нагрузку с расчетным коэффициентом запаса. Поэтому целесообразно определять остаточное или кажущее сцепление и трение в шве, которые остаются после возникновения скольжения по шву. Тогда эти значения могут быть использованы в расчетах устойчивости плотины на сдвиг и если ее коэффициент запаса на сдвиг больше 1,0, то плотина считается устойчивой, что соответствует реальному предельному состоянию.
Расчетные напряжения в плотине из УБ не должны превышать предельные значения, соответствующие началу раскрытия швов, а устойчивость плотины на сдвиг должна быть обеспечена даже при отсутствии сцепления в швах, т.е. при "холодных" швах.
При проектировании плотин из УБ разного типа можно использовать средние параметры прочности, деформируемости и водопроницаемости УБ и параметры прочности на сдвиг швов УБ, данные в Бюллетене Международной комиссии по большим плотинам (табл.1.3).
Параметры прочности, деформируемости и водопроницаемости УБ.
Табл. 1.3
|
Параметры |
УБ-1 |
УБ-2 |
УБ-3 |
УБ-4 |
|
Прочность на сжатие УБ (МПа), диапазон: среднее значение: |
5 - 15 11,6 |
10 - 25 15,2 |
15 - 30 20,7 |
12 - 25 17,3 |
|
Прочность на растяжение шва, МПа, диапазон: среднее значение: |
0 - 0,7 0,35 |
0,3 - 1,0 0,7 |
0,8 - 1,8 1,35 |
0,8 - 1,8 1,3 |
|
Сцепление в шве, МПа, диапазон: среднее значение: |
0 - 1,5 0,7 |
0,5 - 1,8 0,9 |
1,0 - 4,0 1,9 |
1,5 - 4,0 2,4 |
|
Модуль упругости УБ, (103х МПа) |
10 - 20 |
15 -25 |
20 - 25 |
20 - 25 |
|
Водопроницаемость, м/с |
10-4 - 10-5 |
10-5 - 10-8 |
10-7-10-12 |
10-8 - 10-9 |
Как показывают испытания блоков УБ других плотин с различным расходом вяжущих, состоянием и обработкой швов, сроком их перекрытия, боковой нагрузкой и возрастом блоков, при сдвиге швов остаточное сцепление в них падает до малых значений (до 10% от пиковых), но остаточное трение в них остается на уровне 90% пиковых значений
3.1.3 Современное состояние строительства плотин из укатанного бетона в мире
Метод строительства плотин из укатанного бетона (УБ) в мировой практике плотино-строения получил распространение с начала 1980 г. Этому значительно способствовали созданные ранее мощные строительные машины для возведения грунтовых плотин, необходимость снятия ограничений по темпам строительства бетонных плотин из условий предельно-допустимых температурных напряжений в плотине, а также необходимость удешевления и ускорения строительства. Метод строительства плотин из УБ полностью отвечает этим требованиям: технология возведения этих плотин приближается к технологии возведения грунтовых плотин. УБ укладывается в плотину с помощью практически тех же механизмов, которые используют на строительстве грунтовых плотин: доставка УБ осуществляется ленточными конвейерами или самосвалами, разравнивание - бульдозерами, уплотнение - виброкатками.
УБ отличается от обычного бетона главным образом своей консистенцией. Для эффективного уплотнения УБ должен быть достаточно сухим, чтобы выдержать вес виброкатков, и в то же время достаточно влажным, чтобы обеспечить полное распределение цементного раствора в смеси в процессе перемешивания и виброукатки. УБ значительно отличается и по внешнему виду от обычного бетона, скорее напоминая гравийную насыпь, так как присутствие в нем цементного раствора почти незаметно. Для достижения максимального уплотнения требуется намного большее вибрационное усилие, чем для обычного бетона.
УБ представляет собой особо жесткую бетонную смесь с пониженным содержанием цемента (30-50%) и повышенным содержанием (50-70%) пуццоланы (золы-уноса), уплотняемую виброкатками. Под понятием укатанный бетон подразумевается определение УБ как конструкционного материала, так и технологии производства работ при его использовании.
Малое содержание цемента в УБ (в среднем 50-80 кг/м3) резко снижает температурные напряжения в плотине, что позволяет полностью отказаться от мероприятий по регулированию температурного режима и снять все ограничения по интенсивности укладки УБ. Все это, а также максимальная механизация всех строительных процессов, снижение трудоемкости строительства обеспечивают резкое снижение стоимости и сроков строительства.
Согласно классификации УБ в зависимости от содержания вяжущих (цемент + пуццоланы) УБ бывает 3-х типов: 1 - тощий УБ с низким содержанием вяжущих (65-99 кг/м3); 2 - умеренно-пластичный УБ со средним содержанием вяжущих (100-149 кг/м3); 3 - пластичный УБ с высоким расходом вяжущих (150-300 кг/м3). Отдельно выделен УБ-4 плотин Японии с содержанием вяжущих (120-130 кг/м3), но при более высоком расходе цемента и низком расходе золы-уноса и с более высокой прочностью на сжатие и сдвиг чем УБ-1, 2 и 3.
Подробно вопросы проектирования и строительства плотин из УБ изложены в пособии Ляпичева Ю.П. [1], в котором приведены также многочисленные справочные данные по УБ.
Широкое строительство плотин из УБ объясняется тем, что использование УБ имеет ряд существенных преимуществ, а именно:
УБ, при прочности на сжатие 10 - 15 МПа, отличаются низким тепловыделением и малой усадкой. Это открывает возможность укладки УБ часто по всей длине и ширине плотины, не прибегая к дорогостоящим мерам по регулированию температурного режима УБ. Высокая ранняя прочность УБ в силу его жесткой структуры обеспечивает возможность перемещения по нему машин сразу после укладки и укатки. Таким образом, по сравнению с обычным бетоном УБ является более экономичным и технологичным материалом.
Благодаря простоте технологии и сокращению до минимума операций по опалубке, подготовке блоков к бетонированию, терморегулированию и т.п., резко сокращаются продолжительность подготовительного периода и строительства в целом.
Послойная технология возведения обуславливает наличие многочисленных горизонтальных швов; физико-механические параметры укатанного бетона и межслойных швов накладывают существенный отпечаток практически на все конструктивные элементы тела плотины и его сопряжения с основанием.
В практике современного плотиностроения разработано много конструкций плотин из УБ, при этом водонепроницаемость напорной грани обеспечивается 3 основными типами:
I - напорная грань защищена слоем обычного вибрированного бетона;
II- та же грань защищена слоем УБ-3, обогащенного цементом и затем вибрируемым [1] ;
III - та же грань защищена двухслойной (1-й слой - экран из ПВХ, 2-й - дренаж) пленкой CARPI (Швейцария), устанавливаемой после окончания укладки УБ в плотину.
Наиболее надежным решением, обеспечивающим такой же низкий коэффициент фильтрации УБ, как и обычного бетона (10-9 - 10-10 см/с), является способ II, разработанный и широко применяемый при строительстве самых крупных плотин из УБ в Китае. В Латинской Америке (в Колумбии, Бразилии и др.) широкое применение нашел способ III, который также успешно применяется для гидроизоляции напорных граней старых бетонных плотин в Европе.
3.2. Современные тенденции в проектировании плотин из укатанного бетона
Современные гравитационные плотины из УБ высотой 100 м и более на скальном основании с вертикальной напорной гранью требуют заложения низового откоса 0,8-0,95 при сейсмичности 8-9 баллов. Другим недостатком этих плотин традиционного профиля является затрудненность или невозможность их строительства на слабых полускальных и грунтовых основаниях, что подтверждает последний Бюллетень СИГБ № 117 от 2000 г. [1].
Эти ограничения обычных гравитационных плотин из УБ могут быть преодолены путем перехода на симметричный треугольный профиль плотины из особо тощего УБ (расход цемента до 50-70 кг/м3), без обработки швов УБ и с устройством на верховом откосе железобетонного экрана после возведения плотины [4]. Сейчас уже построены 3 подобные плотины высотой 25-30 м в Греции и Доминиканской республике и начато строительство двух плотин высотой 100 м в Турции и Греции (рис.1.1).

Рис.1.3 Плотина симметричного профиля высотой 100 м из особо тощего УБ с железобетонным экраном (предложение П. Лонде)
3.3 Определение отметки гребня плотины из укатанного бетона
Отметку гребня
плотины следует назначать на основе
расчета возвышения гребня (h>s>)
над расчетным уровнем воды. Отметку
гребня плотины (
Гр)
следует определять для двух случаев
стояния уровня воды в верхнем бьефе
(ВБ):
а) при нормальном подпорном уровне (НПУ), соответствующем пропуску максимального паводка, входящего в основное сочетание нагрузок и воздействий:
Гр
=
НПУ
+ h>s>=1180+1,8=1181,8>
>(6.1)
б) при форсированном подпорном уровне (ФПУ), при пропуске максимального паводка, относимого к особым сочетаниям нагрузок и воздействий:
Гр
=
ФПУ
+ h>s>>
>= 1190+1,8 = 1191,8> >(6.2)
Из двух полученных результатов расчета выбирают более высокую отметку гребня плотины.
Возвышение гребня плотины h>s>, в обоих случаях (Рис.6.4) определяется по формуле:
h>s> = h>set> + h>run>> 1% >+ a =0,008+1,30+0,5=1,8 (6.3)
где h>set> - ветровой нагон воды в ВБ;
h>run>> 1% - >высота наката ветровых волн обеспеченностью 1%;
а - запас возвышения гребня плотины.

Рис. 1.4. Схема определения отметки гребня грунтовой плотины: а) без парапета; б) с парапетом; 1 - расчетный уровень при НПУ и ФПУ; 2 - парапет: 3 - объем экономии грунта.
При определении первых двух слагаемых формулы (6.3) следует принимать обеспеченности скорости ветра для расчета элементов волн, наката и нагона при основном сочетании нагрузок и воздействий (при НПУ) по СНиП 2.06.04-82*: для плотин I, II класса - 2% и III, IV класса - 4%. При особом сочетании нагрузок и воздействий (при ФПУ) эти обеспеченности следует принимать для сооружений I - II классов 20%, для III класса - 30%, для IV класса - 50%. Запас а для всех классов плотин принимают не менее 0,5 м.
При определении высоты наката волн на гидросооружения обеспеченность волн в этой системе принимают равной 1%.
В сейсмических районах к h>s> прибавляют высоту гравитационной волны
h>g>=0,4
+ 0,76 (J-6) = 0,4 +
0,76 (8,5-6) =2,3
НПУ
+ h>g>
=1180+2,3=1182,3
где J - интенсивность землетрясения (J = 8,5 баллов)
Отметку гребня плотины принимают с учетом строительного подъема, назначаемого сверх определенного по формуле (3-3) возвышения h>s>. Величину строительного подъема определяют по расчетной строительной осадке гребня.
При наличии на гребне плотины сплошного парапета, рассчитанного на воздействие волн, возвышение его верха над уровнем ВБ следует принимать не ниже значений, полученных, по формуле (3-3). Возвышение гребня плотины в этом случае назначают на 0,3 м над НПУ или на отметке ФПУ, причем принимают наибольшую из них. Парапет уменьшает объем насыпи (Рис.6.4, б), но появляются затраты на железобетон парапета.
Высота ветрового нагона определяется по формуле:
h>set>= K>w>> >V>w>2L cos a>w>> >/gH,= 252х0,0000025х3000хcos (0) /9,81х60=0,008 м (6.4)
где a>w> - угол между направлением господствующего (расчетного) ветра и продольной осью водохранилища, град.; L - длина разгона волны по направлению господствующих ветров, м; V>w>> >- расчетная скорость ветра на высоте 10 м над НПУ, м/с; H - условная расчетная глубина воды в водохранилище, м; g = 9,81 м/с2; K - безразмерный коэффициент, зависящий от скорости ветра V>w> по формуле:
K = 3 (1+0,3V>w>) 107=25,5х107=0,00000255 (6.5)
При определении
элементов ветровых волн водоемы делят
на отдельные зоны. В ВБ обычно имеют
место глубоководная зона (
),
где дно не влияет на основные характеристики
волн, или мелководная зона (
),
в которой дно оказывает влияние на
развитие волн и их основные характеристики
(H>1> - расчетная
глубина воды;
- средняя длина волны в глубоководной
зоне; Н>кр> - критическая
глубина воды, при которой происходит
первое обрушение волн).
Высоту наката
на откос волн обеспеченностью 1% по
накату (h>run>>
1%>, м) для волн 1% обеспеченности
(h>1%>) при
глубине воды перед сооружением H>1>
2h>1%>
определяют по формуле:
=1х0,9х1,4х1,7х1,6х0,38=1,30
(6.6)
где значения высоты бегущей волны обеспеченностью 1% (h>1%>) и коэффициентов К>r>, К>p>, K>sp> и K>run> определяются либо по номограммам и таблицам СНиП 2.06.04-82* [2] с погрешностью до 10%, либо точнее по нижеследующим зависимостям, полученным на основе обработки этих номограмм и таблиц. Это позволяет избежать ошибок при интерполяции данных номограмм и таблиц и проанализировать влияние отдельных факторов на высоту наката.
Для нахождения
высоты волны обеспеченностью 1% (h>1%>)
следует знать среднюю высоту
,
средний период Т и среднюю длину
волн
в глубоководной или мелководной зоне.
В глубоководной зоне указанные параметры волн находятся по следующим новым расчетным зависимостям:
средняя высота волны. (h>d>, м)
(6.7)
где
находится по зависимости:
(6.8)
в которой параметр А равен меньшему значению из величин (L/V>w>) или (0,5 t); V>w> - расчетная скорость ветра, м/с; g - ускорение свободного падения, м/с2; L - расчетная длина разгона волн, м; t - продолжительность действия ветра, принимаемая для предварительных расчетов t= 21600 с.
средний период волны (Т, с)
(6.9)
где
=
(6.10)
средняя длина
волны (
,
м)
(6.11)
В расчетах устойчивости и прочности креплений откосов из бетонных плит и каменной наброски расчетная обеспеченность i% высоты волн равна, соответственно, 1 и 2%, а при определении наката волн i=1%.
Высота волны 1% обеспеченности в глубоководной зоне равна:
(6.12)
где К>i> - коэффициент, определяемый по следующей формуле:
(6.13)
в которой i - принятая обеспеченность,%; L - длина разгона волны, м; а - показатель степени равный:
при
i
1
а =
0,14 (1 + 0,01i);
(6.14)
при i<1 a=0,14i 0.25; (6.15)
Высота волны 1% обеспеченности в глубоководной зоне (h>d>> >>1%>) будет равна:
(6.16)
где K>1%> находится по формулам (6.13 - 6.16) при i = l, т.е.
(6.17)

В формуле (6.17) К>r> и К>p> - коэффициенты шероховатости и проницаемости откоса, зависящие от типа крепления, могут быть определены по следующим зависимостям:
(6.18)
где r
- средний размер шероховатости, м (средняя
крупность материала крепления или
средний размер бетонных блоков). В
формуле (6.18) при значениях r/h>d>>1%>>
>0,002
и r/h>d>>1%>
0,2,
соответственно, следует принимать К>r>
= 1 и К>p> = 0,9.
К>p> = (0,9 - r/h>d>>1%>) К>r> (6.19)
в которой при значениях выражения (0,9-r/h>d>> 1%>) <0,7 следует принимать (0,9 - r/h>d>>1%>) = 0,7; К>r> - определяется по (6.18).
Коэффициент К>sp> в формуле (3-6), зависящий от расчетной скорости ветра и крутизны верхового откоса, может быть определен по формуле (6.20):
К>sp> =0,11 [0,15 - V>w> (l+0,4m>1>) - 0,6m>1> + 8>,>5] =
0,11 [0,15х25 (1+0,4х0,7) - 0,6х0,7+8,5] =1,4
в которую при
скорости ветра V>w>>20
м/с и V>w><10
м/с следует подставлять, соответственно
V>w>=20 м/с и V>w>
=10 м/с, а при заложениях верхового откоса
m>1>>5 величину
К>sp>=1,6 для
значений V>w>
>20 м/c и K>sp>
=1,2 для значений V>w>
<10 м/с. Коэффициент пологости волны
K>run>
в формуле (6.6) зависит от крутизны
(заложения m>1>)
верхового откоса и может быть определен
при глубине воды перед сооружением H>1>
2
h>d>>
>>1%> по следующим зависимостям:
при m>1>
1,5
K>run>
= l,25 + lg
(l + 6
)
= 1,25 + lg
(l + 6
)
=1,7 (6.21)
при m>1>>1,5
(6.22)
При глубине воды перед сооружением H>1><2 h>d>>1% >и при значениях m>1>>l,5 вместо формулы (3-22) действует формула:
(6.23)
Полученные
по формулам (6.22) и (6.23) значения K>run>
следует ограничивать величиной K>run>
2,6 - 2,7. Коэффициент K>β>
в формуле (3-6), учитывающий угол β
подхода фронта волны к плотине (угол β
можно принять равным углу α>w>
между продольной осью водохранилища
и направлением ветра, β=α>w>),
определяется по зависимости:
=
(1+901,82х10-4) - 1=1,6 (6.24)
где β =90 - угол подхода фронта волны, град. Высота наката на откос волн, произвольной обеспеченности i,% по накату определяется по формуле:
(6.25)
где К>н>>i>> - >коэффициент, учитывающий обеспеченность по накату, значения которого определяют по формуле:
(6.26)
в которой i - заданная обеспеченность по накату,%.
В случае
мелководной зоны (H>1>>
>)
для определения высоты наката волны
пользуются формулой (6.6), а высоту и длину
волны корректируют по зависимостям:
(6.27)
(6.28)
где
и
- средние значения высоты и длины волны;
и
- коэффициенты, определяемые по формулам:
=
1,06 { [2-H>1>/
]
H>1>/
]
}0,38 (6.29)
=
{ [2,15 - H>1>/
]
H>1>/
}0,42
(6.30)
3.4 Гидравлический расчет водосбросного сооружения
Расчет водосливного фронта плотины и напора на плотине
Дано: Q
=
,
= 100 м
Определение напора на гребне без учета бокового сжатия:


где m = 0,48- коэффициент для регулируемой плотины
Задаем ширину
отверстий:

Ширина одного
бычка:
Количество отверстий:

Число бычков:
n>б=>n>отв>> >- 1 =5 - 1 =4 бычка
Уточним окончательную ширину фронта:

Форма бычка: ξ=0,95 (ξ - коэффициент бокового сжатия плотины);
Эффективная ширина фронта водослива с учетом бокового сжатия в первом приближении:
принимаем 96 м

Уточняем напор на гребне:

Определение скорости воды на подходе:
где:


Расчетный напор на гребне:

- коэффициент кинетической энергии
Определение удельного расхода

Определим глубину воды в сжатом сечении в первом приближении:
принимаем


Во втором приближении:

В третьем приближении:

Принимаю

Прогноз местных размывов
Основными параметрами, характеризующими местный размыв, являются его глубина и форма, которые зависят от типа сооружения, кинематических характеристик потока в конце крепления, особенностей грунта и соотношения между шириной водосливного фронта и шириной русла.
Задачами прогноза местных размывов являются определение максимальной глубины размыва, ширины, длины и заложения откосов воронки размыва.
Донный режим сопряжения бьефов - основной гидравлический режим сопряжения бьефов, который наблюдается при устойчивом нахождении струи у дна и характеризуется значительными и медленно затухающими по длине донными скоростями (это недостаток режима), а также вращением в вальце гидравлического прыжка плавающих тел. Режим является наиболее распространённым и часто реализуемой схемой гашения энергии. Транзитная струя может быть не затоплена (незатопленный или отогнанный гидравлический прыжок, обычно такой режим не допускается) и затоплена (затопленный прыжок).
Для низко и средненапорных сооружений обычно рекомендуется донный режим с применением гасителей энергии и растекателей потока, которые улучшают режим сопряжения бьефов, увеличивают интенсивность гашения энергии и приводят к перераспределению скоростей потока. Следует отметить, что наибольшая эффективность гашения энергии (до 65÷75%) происходит в затопленном гидравлическом прыжке.
Определение дальность отлета струи
Дальность отлета струи L, отброшенной с трамплина водослива, до встречи со свободной поверхностью нижнего бьефа определяется по формуле:

Здесь
- угол наклона струи к горизонту в створе
уступа (
);
g - ускорение силы тяжести;
,

q - удельный расход на носке трамплина;
- коэффициент скорости, который для
водослива с трамплином находится по
формуле

- превышение носка над уровнем нижнего
бьефа (
= 2,71 м);
Т - превышение уровня верхнего бьефа над уровнем воды нижнего бьефа (Т = 55,4 м);
Н - напор на гребне водослива (Н = 11,7 м).
Принимаем высоту носка (трамплина)

Определяем коэффициент скорости

Далее определяем толщину струи в створе уступа


Следовательно дальность отлета струи будет равна

Для определения наибольшей дальности струи отлета используем формулу

Где
,

Таким образом наибольшая дальность струи отлета равна

Скорость струи на уровне свободной поверхности нижнего бьефа находится без учета изменения ее формы при движении в воздушной среде.

Далее определяем угол встречи струи со свободной поверхностью (угол входа):
,


Струя, войдя под уровень нижнего бьефа, движется по прямой при этом принимается, что ось струи касательная к точке встречи оси струи со свободной поверхность.
Приращение дальности падения струи с учетом движения под уровнем нижнего бьефа по прямой до дна размыва равно

Где hр - глубина в яме размыва.
Общая дальность падения струи на дно ямы размыва составит
Струя в полете насыщается воздухом и разрушается. Разрушение струи тем значительнее, чем больше скорость в струе и чем тоньше струя в начальном сечение.
Аэрация сказывается на ее толщине и дальности отлета. Для учета влияния аэрации и распада струи рекомендуется значение L принимается равной L*k=*= м, где k - поправочный коэффициент, величина которого находится по графику (рис.2б) в зависимости от числа Фруда для сечения уступа.

Яму размыва, образующуюся в месте падения струи, можно определить по эмпирической формуле И.Е. Мирцхулавы

К - коэффициент перехода от средних скоростей к актуальным (К = 1,5-2), W - гидравлическая крупность грунта, определяемая по формуле
м
Где d
- расчетный диаметр частиц грунта,
отвечающих фракциям, мельче которых в
грунте содержится 90% частиц;
- удельные веса материала и воды с учетом.
Вывод:
меньше
размыва нет
3.5 Расчеты устойчивости и напряжений в плотине по СНиПу Расчет плотины из укатанного бетона на прочность и устойчивость на сокращенный состав нагрузок (СНиП 2.06.06-85)
Длина подошвы плотины:
B=113 м Hпл=73,5 м mt=mu=0,7
Расположение дренажной галереи:
adr=10 м
Сила давления воды с верхнего бьефа (при ФПУ):
Pu=0,5xH1² xγw=0,5x 71,72x1=2570,5 т
Pw=0,5xH1xH2x γw=0,5x71,7x 50.19x1=1799.32т
Сила давления воды с нижнего бьефа:
Pt=0,5xHt2xγw=0,5x102x1=50 т
T=0,5xHtxH3x γw=0,5x10x 7x1=35т
Вес плотины Gпл:
Gпл= γбx (B+b) /2xHпл=2,4x (113+10) /2x73.5=10848.6 т
Взвешивающее давление:
Wвзв=HtxBxγw=10x113x1=1130 т/м
Фильтрационное давление на подошву:
W1= 0,5xγwx ( (H1-Ht) - H4) xadr=0,5x1x ( (71,2-10) - 20) x10 = 206 т/м
W2= γwxH4xadr=1x 20x10 = 200 т/м
W3= 0,5xγwx (B-adr) xH4=0,5x1x (113-10) x 20= 1030 т/м
Сумма вертикальных сил:
N=Gпл+Pw+T-Wвзв-W1-W2-W3 = 10848.6 +1799.32+35-1130-206-200-1030 =10116.6 т
Момент всех сил относительно т.0:
M=Puxh1 - Ptxh3 + Txh4 - Pwxh5 + W1xC2 + W2xC3 + W3xC4=2570,5 х23.3-50х3.33+35х53.42-1799.32х39.72+206х52.41+200х50.75+ 1030х12.97 = 24432.42т/м
σuy= - N/B + 6M/B2 = - 10116.6 /113 + 6x24432.42/ 1132= - 78.04 т/м
σty= - N/B - 6M/B2 = - 10116.6 /113 - 6x24432.42/ 1132= - 101 т/м

R=Nxtgφ + CxB=10116.6x0.7 + 0x113=7081.62 т
F=Pu - Pt=2570,5-50=2520.5т
R/F=2.40>1.25
В особом случае выхода из строя стенки-завесы (при полном противодавлении):
Wпол=3082.45т/м
R= (Gпл + Pw + T -Wвзв -W) xtgφ + CxB= (10848.6+1799.32+35-1130-3082.45) x0,7 + 0x113=5929.4 т
R/F=2.35>1.25

Так как сечение расположено на аллювиальных отложениях, поэтому проверяем условие (4) СНиП 2.02.02-85:
(4) B=113 м; σmax
=101 т/м; γ1 = γвзв
= 1.004 т/м³

Вывод: схема плоского сдвига выполняется.
Расчет водосливной плотины из укатанного бетона на прочность и устойчивость
на сокращенный состав нагрузок (СНиП 2.06.06-85)
Длина подошвы плотины:
B=94 м Hпл=60 м mt=mu=0,7
Расположение дренажной галереи:
adr=10 м
Сила давления воды с верхнего бьефа (при НПУ):
Pu=0,5xH1² xγw=0,5x 602x1=1800 т
Pw=0,5xH1xH2x γw=0,5x60x 42x1=1260 т
Pа= H2х H3 x γw =42х11.7х1=491 т
Сила давления воды с нижнего бьефа:
Pt=0,5xHt2xγw=0,5x102x1=50 т
T=0,5xHtxH3x γw=0,5x10x 7x1=35т
Вес плотины Gпл:
Gпл= γбx (B+b) /2xHпл=2,4x (94+10) /2x60=7488 т
Взвешивающее давление:
Wвзв=HtxBxγw=10x94x1=940 т/м
Фильтрационное давление на подошву:
W1= 0,5xγwx ( (H1-Ht) - H5) xadr=0,5x1x ( (60-10) - 17.48) x10 = 162.6 т/м
W2= γwxH5xadr=1x 17.48x10 = 174.8 т/м
W3= 0,5xγwx (B-adr) xH5=0,5x1x (94-10) x 17.48= 700 т/м
Сумма вертикальных сил:
N=Gпл+Pw+ Pа - T-Wвзв-W1-W2-W3 = 7488 +1260+491-35-940-162.6-174.8-700 =7226.6 т
Момент всех сил относительно т.0:
M=Puxh1 - Ptxh3 + Txh4 - Pwxh5- Pахh + W1xC2 + W2xC3 + W3xC4=1800 х23.81-50 х3.33+35х44.67-1260х32.89-491х26+162.6х43.67+ 174.8х42+700х9 = 10790т/м
σuy= - N/B + 6M/B2 = - 6575.6 /94 + 6x12689.2/ 942= - 69.55 т/м
σty= - N/B - 6M/B2 = - 6575.6 /94 - 6x12689.2/ 942= - 84.2 т/м

R=Nxtgφ + CxB=7226.6x0.7 + 0x94=5058.62 т
F=Pu - Pt=1800-50=1750 т
R/F=2.89>1.08
В особом случае выхода из строя стенки-завесы (при полном противодавлении):
Wпол=2241.17т/м
R= (Gпл + Pw + Pa + T -Wвзв -W) xtgφ + CxB= (7488+1260+491+93-940-2241.17) x0,7 + 0x94=4305.6 т
R/F=2.74>1.08

Так как сечение 1-1 расположено на аллювиальных отложениях, поэтому проверяем условие (4) СНиП 2.02.02-85:
(4) B=94 м; σmax
=84.2 т/м; γ1 = γвзв
= 1.004 т/м³

Вывод: условие плоского сдвига выполняется.
при ФПУ Расчет водосливной плотины из укатанного бетона на прочность и устойчивость
на сокращенный состав нагрузок (СНиП 2.06.06-85)
Длина подошвы плотины:
B=94 м Hпл=60 м mt=mu=0,7
Расположение дренажной галереи: adr=10 м
Сила давления воды с верхнего бьефа (при ФПУ):
Pu=0,5xH1² xγw=0,5x 71.72x1=2570 т
Pw=0,5xH1xH2x γw=0,5x71.7x 42x1=1505.7 т
Pа= H2х H3 x γw =42х11.7х1=491 т
Сила давления воды с нижнего бьефа:
Pt=0,5xHt2xγw=0,5x16.32x1=132.85 т
T=0,5xHtxH4x γw=0,5x16.3x 11.41x1=93 т
Вес плотины Gпл:
Gпл= γбx (B+b) /2xHпл=2,4x (94+10) /2x60=7488 т
Взвешивающее давление:
Wвзв=HtxBxγw=16.3x94x1=1532 т/м
Фильтрационное давление на подошву:
W1= 0,5xγwx ( (H1-Ht) - H5) xadr=0,5x1x ( (60-10) - 17.48) x10 = 162.6 т/м
W2= γwxH5xadr=1x 17.48x10 = 174.8 т/м
W3= 0,5xγwx (B-adr) xH5=0,5x1x (94-10) x 17.48= 700 т/м
Сумма вертикальных сил:
N=Gпл+Pw+ Pа - T-Wвзв-W1-W2-W3 = 7488 +1505.7+491-93-1532-162.6-174.8-700 =6822.3 т
Момент всех сил относительно т.0:
M=Puxh1 - Ptxh3 + Txh4 - Pwxh5- Pахh + W1xC2 + W2xC3 + W3xC4=2570 х23.81-132.85 х5.43+93х43.2-1260х32.89-491х26+162.6х43.67+ 174.8х42+700х9 = 31022.86 т/м
σuy= - N/B + 6M/B2 = - 6575.6 /94 + 6x31022.86/942= - 48.88 т/м
σty= - N/B - 6M/B2 = - 6575.6 /94 - 6x31022.86/942= - 91 т/м

R=Nxtgφ + CxB=6822.3 x0.7 + 0x94=4775.61 т
F=Pu - Pt=2570-132.85=2437.15 т
R/F=1.96>1.08
В особом случае выхода из строя стенки-завесы (при полном противодавлении): Wпол=2241.17т/м, R= (Gпл + Pw + Pa + T -Wвзв -W) xtgφ + CxB= (7488+1507.7+491+93-1532-2241.17) x0,7 + 0x94=4064.57 т. R/F=1.66>1.08

Так как сечение 1-1 расположено на аллювиальных отложениях, поэтому проверяем условие (4) СНиП 2.02.02-85:
(4) B=94 м; σmax
=91 т/м; γ1 = γвзв
= 1.004 т/м³

Вывод: условие плоского сдвига выполняется.
Литература
Обязательная (нормативная):
СНиП 33-01-2003. Гидротехнические сооружения. Основные положения. - М.: Госстрой РФ, 2004.
СНиП 2.06.04-82. Нагрузки и воздействия на гидротехнические сооружения. - М.: Госстрой СССР, 1989.
СНиП 2.06.06-85. Плотины бетонные и железобетонные. - М.: Госстрой СССР, 1986.
СНиП 2.06.05-84*. Плотины из грунтовых материалов. - М.: Госстрой СССР, 1998.
СНиП 2.02.02-85. Основания гидротехнических сооружений. - М.: Госстрой СССР, 1988.
СП 33-101. Расчетные гидрологические характеристики. - М.: Госстрой РФ, 2001.
Обязательная (учебная):
Рассказов Л.Н. и др. Гидротехнические сооружения. (Учебник, части 1 и 2). - М., Энергоиздат. 1996. - 780 с
Каганов Г.М., Румянцев И.С. Гидротехнические сооружения. (Учебное пособие, книги 1,2). - М., Энергоиздат. 1994.
Чугаев Р.Р. Гидротехнические сооружения. (Учебное пособие, части 1 и 2). - М., Энергоиздат. 1985. - 620 с
Ляпичев Ю.П. Расчеты консолидации грунтовых плотин и оснований. (Учебное пособие) - М.: Изд. УДН, 1989. -120 с.
Ляпичев Ю.П. Проектирование и строительство современных высоких плотин. (Уч. пособие). - М.: УДН, 1986. - 275 с.
Розанова Н.Н. Бетонные плотины на нескальном основании. (Учебное пособие). - М., изд. РУДН. 1995. - 80 с.
Гарбовский Э.А. Фильтрационные расчеты грунтовых плотин. (Учебное пособие). - М.: Изд. УДН, 1993. - 82 с.
Гарбовский Э.А., Пономарев Н.К. Расчеты бетонных плотин. (Учебное пособие). - М.: Изд. УДН, 1999. - 404 с.
Дополнительная:
Гидротехнические сооружения. Справочник проектировщика (под ред. Недриги В. П). - М., Стройиздат. 1983.
Ляпичев Ю.П., Васильев В.Н. Пропуск расходов рек при строительстве гидроузлов. (Уч. пособие). -М., Изд. РУДН. 1979.
Гидравлические расчеты водосбросных гидросооружений: Справочной пособие. - М.: Энергоатомиздат, 1988. - 624 с.
Киселев П.Г. Справочник по гидравлическим расчетам. - М.: Стройиздат, 1974. - 450 с.
