Добыча полезных ископаемых методом подземного выщелачивания
Введение
В последнее время для добычи многих твердых полезных ископаемых (ПИ) применяют геотехнологические методы добычи с использованием буровых скважин. Они позволяют упростить и удешевить добычу, производить отработку бедных месторождений, а также месторождений, характеризующихся сложными условиями залегания. Вскрытие рудной залежи осуществляют буровыми скважинами, которые предлагается называть геотехнологическими.
Геотехнологические методы добычи полезных ископаемых позволяют снизить в некоторых случаях в 2 – 4 раза капитальные затраты на строительство предприятий, повысить производительность труда по конечной продукции, сократить численность работающих. Кроме того, их применение способствует значительному улучшению условий труда и уменьшению отрицательного воздействия на окружающую среду.
Одним из геотехнологических методов является метод подземного выщелачивания (ПВ). Подземное выщелачивание ПИ, метод добычи полезного ископаемого избирательным растворением его химическими реагентами в рудном теле на месте залегания с извлечением на поверхность. ПВ применяется для добычи цветных металлов и редких элементов и др. ПВ относится к фильтрационным процессам и основано на химических реакциях «твёрдое тело – жидкость».
При ПВ проницаемых рудных тел месторождение вскрывается системой скважин, располагаемых (в плане) рядами, многоугольниками, кольцами. В скважины подают растворитель, который, фильтруясь по пласту, выщелачивает полезные компоненты. Продуктивный раствор откачивается через другие скважины (рис 1). В случае монолитных непроницаемых рудных тел залежь вскрывают подземными горными выработками, отдельные рудные блоки дробят с помощью буровзрывных работ (рис 2). Затем на верхнем горизонте массив орошают растворителем, который, стекая вниз, растворяет полезное ископаемое. На нижнем горизонте растворы собирают и перекачивают на поверхность для переработки.
Основные сведения о методе подземного выщелачивания
Подземное выщелачивание цветных металлов известно с 16 в. (Испания), в крупных промышленных масштабах метод впервые освоен на медном руднике Кананеа в Мексике (1924г) и на медноколчеданных месторождениях Урала (1939—42гг). Урановые руды разрабатываются ПВ с 1957г. ПВ применяется в ряде стран (США, СССР, Франция, Япония, ГДР и др.); в 1974г этим способом было получено 20% мировой добычи меди.
Сущность подземного выщелачивания ПИ заключается в избирательном переводе полезного компонента в жидкую фазу путем управляемого движения растворителя по руде в естественном залегании или подготовленного к растворению и подъему насыщенного металлом раствора на поверхность. С этой целью через скважины, пробуренные с поверхности в пласт полезного ископаемого нагнетается химический реагент, способный переводить минералы полезного ископаемого в растворимую форму. Раствор, пройдя часть рудного пласта, через другие скважины поднимается на поверхность и далее по трубопроводу транспортируется к установкам для переработки.
Рис. 1. Схема отработки пластовых месторождений выщелачиванием через скважины: 1 — узел приготовления растворов; 2 — нагнетательные скважины; 3 — дренажные скважины; 4 — компрессор; 5 — воздухопровод для эрлифта продуктивных растворов; 6 — коллектор для продуктивных растворов; 7 — отстойник; 8 — установка для переработки раствора.

Рис. 2. Схема подземного выщелачивания скальных руд: 1 — ёмкость для растворителя; 2 — насос; 3 — трубопровод рабочих растворов; 4 — отрабатываемый блок руды; 5 — ёмкость для сбора продуктивных растворов; 6 — насос; 7 — ёмкость для продуктивных растворов на поверхности; 8 — сорбционная установка; 9 — отстойник отработанного раствора; 10 — ёмкость для доукрепления растворов; 11 — пресс-фильтр.
Важнейшими природными предпосылками применения ПВ являются способность ПИ и его соединений переходить в раствор при воздействии на рудный пласт водного раствора выщелачивающего реагента, а также возможность фильтрации выщелачивающих растворов в породах продуктивного горизонта.
Выбор растворителя для ПВ зависит от состава руд. Наиболее широкое применение находят водные растворы кислот (серной, соляной, азотной) или соды.
ПВ применяется при добыче урановых руд, цветных и редких металлов (медь, никель, свинец, цинк, золото и др.). Имеются предпосылки использования его для добычи фосфоритов, боратов и др.
Важным фактором повышения эффективности добычи методом ПВ является правильный выбор схемы размещения технологических скважин и расстояний между ними. В практике эксплуатации месторождений в основном применяется линейная схема расположения скважин, представляющая собой чередование рядов нагнетательных и откачных скважин. Расстояния между рядами и скважинами в ряду колеблются в широких пределах (15 – 50 м и более). Наиболее широкое распространение получила схема 25х50 м.
Бактериальное выщелачивание
Бактериальное выщелачивание, избирательное извлечение химических элементов из многокомпонентных соединений посредством их растворения микроорганизмами в водной среде. Благодаря бактериальному выщелачиванию появляется возможность извлекать из руд, отходов производства и т. д. ценные компоненты (медь, уран и др.) или вредные примеси (например, мышьяк в рудах чёрных и цветных металлов). Впервые запатентовано в США (1958) применительно к извлечению меди и цинка.
Бактериальным выщелачиванием можно пользоваться при всех способах выщелачивания, не связанных с повышенными давлениями и температурой. Наиболее широко для бактериального выщелачивания применяют тионовые бактерии: Thiobacillus ferrooxidans, способные окислять сульфидные минералы и закисное железо до окисного (так называемые железобактерии), и Th. thiooxidans (так называемые серобактерии). Тионовые бактерии являются хемоавтотрофами, т. е. единственный источник энергии для их жизнедеятельности — процессы окисления закисного железа, сульфидов различных металлов и элементарной серы. Эта энергия расходуется на усвоение углекислоты, выделяемой из атмосферы или из руды. Получаемый углерод идёт на построение клеточной ткани бактерий. Th. ferrooxidans окисляют сульфидные минералы до сульфатов прямым и косвенным путём (когда микроорганизмы окисляют сернокислое закисное железо до окисного, являющегося сильным окислителем и растворителем сульфидов):
Важнейший фактор бактериального выщелачивания — быстрая регенерация сернокислого окисного железа тионовыми бактериями (Th. ferrooxidans), что в некоторых случаях ускоряет процессы окисления и выщелачивания. Оптимальная температура для развития тионовых бактерий 25—35°C, а pH от 2 до 4. Тионовые бактерии ускоряют растворение халькопирита в 12 раз, арсенонирита и сфалерита в 7 раз, ковелина и борнита в 18 раз по сравнению с обычными химическими методами.
В значительных промышленных
масштабах бактериальное выщелачивание
применяется для кучного извлечения
полезных ископаемых (меди и урана) из
руд на месте их залегания. Например,
экономически целесообразно извлекать
бактериальное выщелачивание медь из
забалансовых сульфидных руд. Это
осуществляется водными растворами Fe2
(SO>4>)3
в присутствии Al2(SO>4>)3,
FeSO4 и тионовых
бактерий Th. ferrooxidans. Раствор подаётся по
шлангам в скважины, пробурённые в рудном
теле (рис.3); бактерии и сульфат окиси
железа окисляют сульфиды меди по схеме:

В различных странах ведутся исследования по выщелачиванию с участием тионовых бактерий для извлечения мн. металлов (Zn, Со, As, Мп и др.). Ведутся работы по выявлению бактерий иных видов для извлечения др. полезных ископаемых. Например, для растворения и извлечения золота предложено использовать гетеротрофные бактерии Aeromonas, выделенные из рудничных вод золотоносных приисков.
Простота аппаратуры для бактериального выщелачивания, возможность быстрого размножения бактерий, особенно при возвращении в процесс отработанных растворов, содержащих живые организмы, открывает возможность не только резко снизить себестоимость получения ценных полезных ископаемых, но и значительно увеличить сырьевые ресурсы за счёт использования бедных, забалансовых и потерянных (например, в целиках) руд в месторождениях, отвалов из отходов обогащения, пыли, шлаков и др. В перспективе бактериальное выщелачивание открывает возможности создания полностью автоматизированных предприятий по получению металлов из забалансовых и потерянных руд непосредственно из недр Земли, минуя сложные горнообогатительные комплексы.

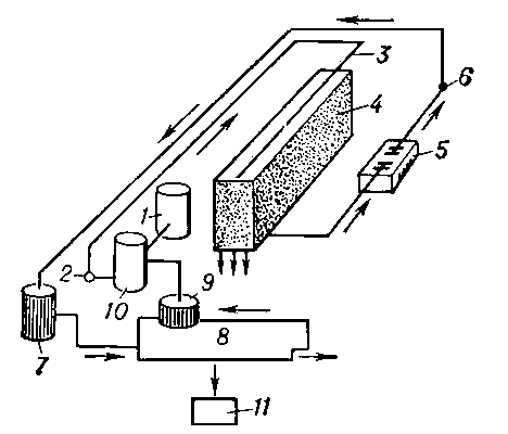
Рис.3. Схема подземного бактериального выщелачивания медной руды: 1 — прудок для выращивания и регенерации бактерий; 2 — насосная для перекачки бактериального раствора к руде; 3 — трубопровод; 4 — задвижка; 5 — коллектор; 6 — полиэтиленовый шланг; 7 — скважина для орошения рудного тела бактериальным раствором; 8 — орошаемый участок рудной залежи; 9 — горизонтальные горные выработки для сбора бактериального раствора, обогащенного медью; 10 — насос; 11 — отстойник для насыщенных медью растворов; 12 — цементационная ванна для получения порошкообразной меди; 13 — сушка цементной меди; 14 — транспортировка меди потребителям; 15 — компрессорная для обогащения бактериального раствора кислородом.
Добыча урана методом подземного выщелачивания
В современной промышленности в силу отсутствия богатых урановых руд (исключения составляют канадские месторождения несогласия, где концентрация урана доходит до 30% и австралийских с содержанием урана до 3%) используется способ подземного выщелачивания руд. Это - один из самых рентабельных и экологически чистых способов добычи не требует ни карьеров, ни шахт. Предварительная подготовка идёт непосредственно под землёй. Способ применим в тяжелых климатических условиях и вечной мерзлоты. Технология абсолютно закрытая, герметичная. Недра практически не разрушаются и даже полностью восстанавливаются в течение нескольких лет.
Вся площадь месторождения «прокалывается» скважинами (колоннами). В одну скважину закачивается серная кислота (1-2% раствор), иногда с добавлением солей трёхвалентного железа (для окисления урана U(IV) до U(VI)), хотя руды часто содержат железо и пиролюзит, которые облегчают окисление). Идёт процесс выщелачивания урана. Через другую скважину продуктивный раствор с помощью насоса извлекается наверх. Далее он непосредственно поступает на сорбционное, гидрометаллургическое извлечение и одновременное концентрирование урана.
Метод подземного скважинного выщелачивания является наиболее привлекательным способом добычи урана с точки зрения упрощенности технологических операций. При данном методе не происходит изменения геологического состояния недр, так как не производится выемка горнорудной массы. Общая поверхность земли, занимаемая полигоном подземного выщелачивания и перерабатывающим цехом для получения 500 метрических тонн U/год U3O8, в 3-4 раза меньше площади, занимаемой типичным гидрометаллургическим заводом на эту же производительность. В процессе скважинного выщелачивания в подвижное состояние в недрах переходит и выводится на поверхность менее 5% радиоактивных элементов по сравнению со 100% при традиционных способах добычи урана. Серная кислота при контакте с породой превращается в гипс, поэтому при данной технологии не остаётся в земле элементов, которых там нет. И если и бывают какие-то размывы, то они быстро устраняются, т.к. при утечках технология не работает. Здесь отпадает необходимость строительства хвостохранилищ для хранения отходов с высоким уровнем радиации. Есть маленькие пескоотстойники, которые после завершения добычи легко рекультивировать.
Отметим, что часто природная гидрогеохимическая среда на урановых месторождениях обладает способностью к самовосстановлению от техногенного воздействия. За счет постепенного восстановления естественных окислительно-восстановительных условий происходит хоть и медленный, но необратимый процесс рекультивации подземных вод рудовмещающих водоносных горизонтов. Возможна интенсификация этого процесса, ускоряющий рекультивацию в десятки раз. Примером естественной деминерализации остаточных растворов может служить результат 13-летних наблюдений, проведенных на месторождении Ирколь (Южный Казахстан).