Исследование истечения жидкости из отверстий и насадков
Реферат
Исследование истечения жидкости из отверстий и насадков
Распространенная в инженерной практике задача расчета истечения жидкости из резервуара через отверстия и насадки, состоит в установлении связи между напором в резервуаре и расходом или скоростью струи, вытекающей через отверстия или насадки, присоединенные к отверстию в стенке или в днище резервуара.
Малым называется такое отверстие, при расчете истечения через которое пренебрегают скоростью подхода жидкости и считают местные скорости жидкости во всех точках сжатого сечения практически одинаковыми, что наблюдается при d ≤ 0,1H, где d - диаметр отверстия, H -напор над центром отверстия.
Стенка считается в гидравлическом смысле тонкой, если ее толщина δ ≤ (22,5)d. В этом случае толщина стенки не влияет на истечение жидкости и в расчет принимается только местное сопротивление, возникающее при сжатии струи. В частном случае края отверстия могут иметь заостренную форму (рис.1). Условия истечения жидкости в этих случаях будут совершенно одинаковыми: частицы жидкости приближаются к отверстию из всего прилежащего объема, двигаясь ускоренно по различным плавным траекториям. Струя отрывается от стенки у кромки отверстия и затем несколько сжимается. Узкое сечение С-С, в котором течение имеет параллельноструйный характер и кривизна тока незначительна, находится на расстоянии (0,51)d от плоскости отверстия.

Рис. 1.
Сжатие струи обусловлено необходимостью плавного перехода от различных направлений движения жидкости, в том числе от радиального движения по стенке к осевому движению в струе. Степень сжатия струи характеризуется коэффициентом сжатия ε, представляющим собой отношение площади сжатого поперечного сечения струи SС к площади отверстия:
(1)
Истечение через отверстие может происходить при постоянном или переменном напоре. Если истечение жидкости через отверстие происходит в атмосферу или другую газовую среду, то такое отверстие называется незатопленным. Если истечение жидкости через отверстие происходит под уровень жидкости, а не в атмосферу, то такое отверстие называется затопленным.
При истечении жидкости через отверстие различают полное и неполное сжатие струи.

Рис. 2.
Полное сжатие происходит тогда, когда струя сжимается по всему периметру (рис. 2а). Неполное сжатие – когда в определенной части периметра отверстия сжатие струи не происходит вследствие примыкания этой части периметра струи к стенке сосуда (рис. 2б).
Полное сжатие струи разделяется на совершенное и несовершенное.
Совершенным сжатием называется такое сжатие, при котором стенки не оказывают влияния на степень сжатия струи. Экспериментальные исследования показали, что совершенное сжатие струи образуется при выполнения условия (рис. 2а):

при
- несовершенное сжатие.
Запишем уравнение Бернулли для сечения свободной поверхности жидкости 0-0 в резервуаре (рис. 1), где давление РА, а скорость можно считать равной нулю, до сжатого сечения струи С-С где она уже приняла цилиндрическую форму, а давление в ней, следовательно, сделалось равным давлению окружающей среды РА.
(2)
Так как
,
,
,
то уравнение (2) примет вид:
(3)
Отсюда скорость истечения
(4)
или
(5)
где
(6)
– коэффициент скорости.
В случае идеальной жидкости
,
следовательно,
и скорость истечения идеальной жидкости
(теоретическая скорость):
(7)
Тогда из формулы (5) можно заключить, что коэффициент скорости φ есть отношение действительной скорости истечения к скорости истечения идеальной жидкости (теоретической скорости):
(8)
Действительная скорость истечения V всегда несколько меньше идеальной из-за наличия сопротивления, следовательно, коэффициент скорости φ всегда меньше единицы.
Расход жидкости
(9)
Обозначим
,
тогда
(10)
где
- коэффициент расхода(10а)
Из формулы (10)
(11)
где
(11а)
Это значит, что коэффициент расхода есть отношение действительного расхода к теоретическому расходу QТ, который имел бы место при отсутствии сжатия струи и сопротивления (теоретический расход). Величина QТ не является расходом при истечении идеальной жидкости, так как сжатие струи будет иметь место и при отсутствии гидравлических потерь.
Действительный расход всегда меньше теоретического и, следовательно, коэффициент расхода всегда меньше единицы.
Коэффициент сопротивления
определяется по формуле (6) (при
):
(12)
Как показали результаты экспериментальных исследований, при истечении через малые круглые отверстия в тонкой стенке при совершенном сжатии и турбулентном режиме

маловязких жидкостей (воды,
бензола, керосина и др.) коэффициенты
истечения мало изменяются и при расчетах
можно принимать следующие их значения:
(13)
Насадком называют короткую трубку длиной (34)d, прикрепленную к отверстию. Существуют следующие виды насадков: цилиндрические – внешний (рис. 3а) и внешний (рис. 3б); конические - сходящиеся (рис. 3в) и расходящиеся (рис. 3г); коноидальные (рис. 3д), диффузорные или комбинированные (рис. 3е)
Цилиндрический внешний насадок,
называемый еще насадком Вентури, широко
применяется на практике, например, в
гидротехнических сооружениях. На
практике такой насадок часто получается
в тех случаях, когда выполняется сверление
в толстой стенке и не обрабатывается
входная кромка. Истечение через такой
насадок показано на рис. 3а. При входе
жидкости в отверстие насадка вследствие
изгиба линий токов происходит сжатие
струи и на некотором расстоянии от входа
в насадке образуется замкнутая отрывная
зона. Затем струя постепенно расширяется
до размеров отверстия и из насадка
выходит полным сечением. Если струя
истекает в среду с атмосферным давлением,
то в зоне сжатия струи устанавливается
(согласно уравнению Бернулли) абсолютное
давление меньшее атмосферного, то есть
вакуум, так как скорость истечения из
насадка меньше скорости в сжатом сечении
С-С. Вакуум можно замерить жидкостным
вакуумметром, подключенным к сжатой
зоне струи (рис. 3а), причем
(14)
Если принять атмосферное давление равным 0,1 МПа, что соответствует 10 м вод. ст., то максимальное (теоретическое) значение вакуума hВАК = 10 м. Это значение вакуума получится при теоретическом (критическом) значении напора:
(15)
При заданном напоре Н за счет вакуума в зоне сжатия скорость истечения получается больше, чем при истечении из отверстия в тонкой стенке. Вместе с тем присоединение насадка к отверстию дает дополнительные потери по сравнению с истечением жидкости через отверстие без насадка, вызываемые внезапным расширением жидкости внутри насадка и трением потока о его внутреннюю поверхность. Обычно длина насадка Вентури LН = (34)d. При меньших LН зона отрыва может стать незамкнутой (рис. 3ж) и истечение будет происходить как через малое отверстие в тонкой стенке.
Результаты экспериментальных
исследований в зоне турбулентного
течения показали, что для насадка Вентури
(16)
Таким образом, коэффициент расхода насадка Вентури примерно на 30% больше, чем для отверстия в тонкой стенке, соответственно больше будет и расход жидкости при прочих равных условиях.
Цилиндрический внутренний
насадок (рис. 3б) имеет большие гидравлические
сопротивления, что приводит к уменьшению
коэффициентов скорости и расхода:
(17)
Конические сходящиеся насадки (рис. 3в) применяются для увеличения дальнобойности истечения (пожарные брандспойты, гидромониторы, фонтаны, эжекторы).
Оптимальный угол конусности 13О24’.
Конические расходящиеся насадки (рис. 3г) применяются в случаях, когда нужно за счет уменьшения скорости значительно увеличить давление, например, в реактивных гидротурбинах, центробежных насосах и др. Оптимальное значение угла конусности 5 – 7О. В коническом расходящемся насадке сжатие струи и вакуум больше, чем у цилиндрического внешнего. Потери энергии на внезапное расширение в нем значительно больше потерь в других насадках, что ведет к уменьшению коэффициентов скорости и расхода (коэффициент расхода определяется относительно площади выходного отверстия насадка).
Коноидальный насадок (рис. 3д) имеет входную часть, выполненную по форме струи, что снижает потери и увеличивает коэффициенты скорости и расхода. Коноидальный насадок еще называется соплом.
Диффузорный насадок (рис. 3е) представляет собой комбинацию коноидального насадка (сопла) и диффузора. Приставка диффузора к соплу влечет за собой снижение давления в узком месте насадка, а, следовательно, увеличение скорости и расхода жидкости через него (увеличение расхода до 2,5 раз по сравнению с соплом).
Основные характеристики насадков при турбулентных режимах течения (ReИД ≥ 105) приведены в таблице 1.
Таблица 1
|
№ |
Тип насадка |
μ |
φ |
ε |
ξ |
|
1 |
Малое отверстие круглого сечения в тонкой стенке |
0,62 |
0,97 |
0,64 |
0,065 |
|
2 |
Цилиндрический внешний насадок |
0,82 |
0,82 |
1,0 |
0,5 |
|
3 |
Цилиндрический внутренний насадок |
0,71 |
0,71 |
1,0 |
1,0 |
|
4 |
Конический сходящийся насадок |
0,94 |
0,96 |
0,98 |
0,075 |
|
5 |
Конический расходящийся насадок |
0,5 |
0,5 |
1,0 |
3,5 |
|
6 |
Коноидальный насадок |
0,98 |
0,98 |
1,0 |
0,04 |
Непрерывно увеличивать расход жидкости через насадки нельзя, так как с ростом расхода увеличивается скорость в сжатом сечении и, как следствие этого, уменьшается давление. Если абсолютное давление при этом достигает значения, равного упругости насыщенных паров протекающей жидкости при данной температуре, то в данном сечении наступает интенсивное парообразование и выделение растворенных в жидкости газов, то есть местное кипение жидкости.

Рис.3 Типы насадков.
В расширяющейся части струи скорость падает, давление растет и кипение жидкости прекращается (выделившиеся пары конденсируются, а газы постепенно растворяются). Так как объем образовавшейся при конденсации жидкости значительно меньше объема, который занимал пар, то в образовавшуюся пустоту устремляется с большой скоростью жидкость, окружающая объемчик пара. Двигающиеся навстречу друг другу частицы жидкости соударяются, образуется гидравлический удар, то есть местное повышенное давление. Такое явление называется кавитацией. Кавитация сопровождается характерным шумом и эрозионным разрушением стенок канала, а также снижением пропускной способности гидравлических систем, так как часть поперечного сечения канала занимает выделившийся пар и растворенные в жидкости газы.
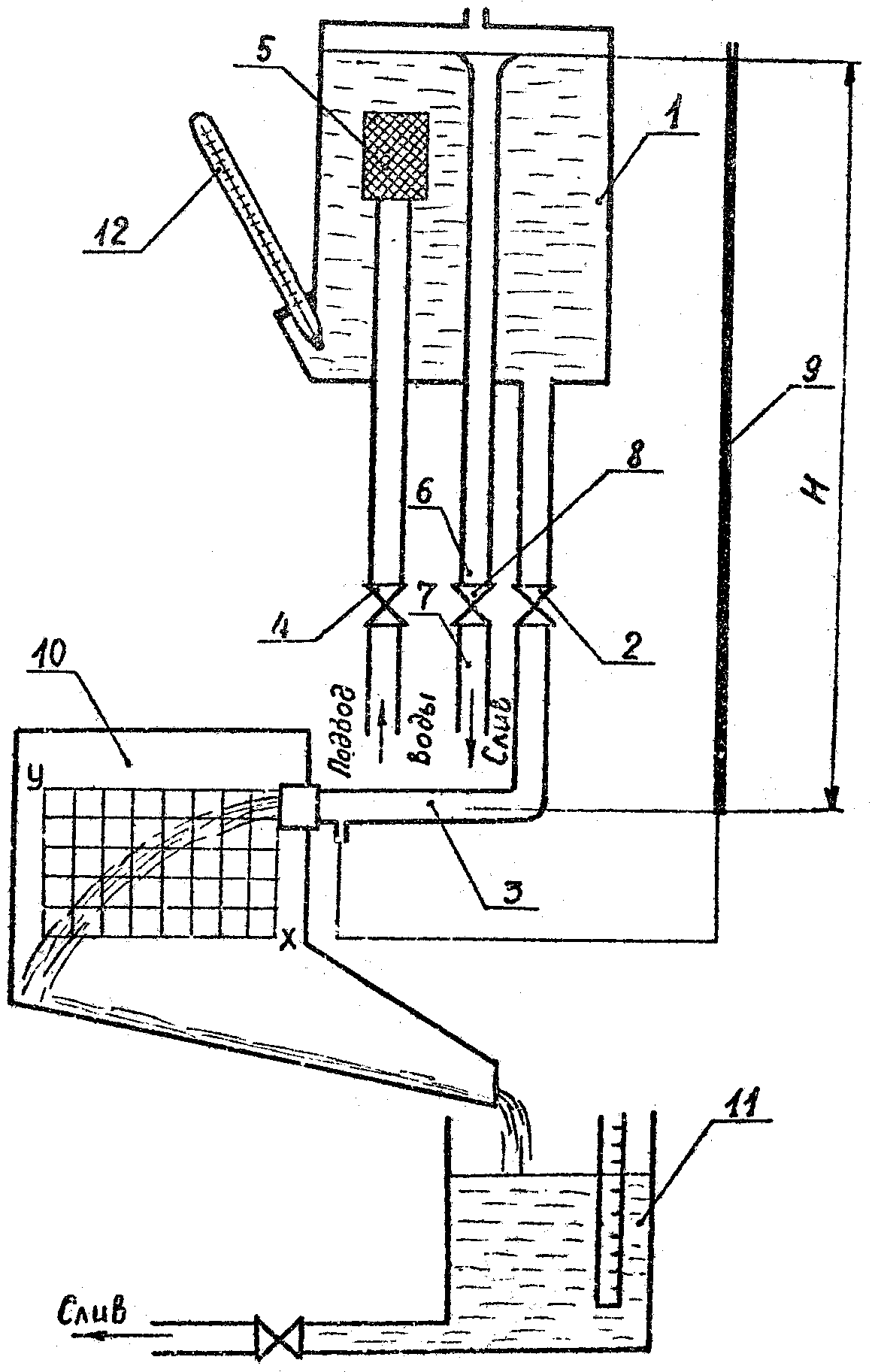
Описание экспериментальной установки.
Схема экспериментальной установки показана на рис. 4. Вода из напорного бака 1 подается через вентиль 2 в горизонтально расположенный трубопровод 3 со сменными насадками. В напорный бак вода непрерывно подается из водопровода через вентиль 4 и успокоительную сетку 5. Постоянство уровня жидкости в напорном баке осуществляется с помощью переливной трубы 6 с вентилем 7. Для определения напора Н служит пьезометрическая трубка 8 со шкалой, имеющей нулевое деление на уровне центра отверстия.
Для измерения координат точек вытекающей струи жидкости используется щит 9 из оргстекла с нанесенной на нем шкалой. Жидкость стекает в мерный бак 10, а из него в систему слива.
Для контроля температуры воды в напорном баке имеется термометр 11.

Рис. 4
Список литературы
Осипов П.Е. Гидравлика, гидравлические машины и гидропривод. М.: Лесная промышленность, 1981, 424 с.
Идельчик И.Е. Справочник по гидравлическим сопротивлениям. – М.: Машиностроение, 1975, 559 с.
Башта Т.М. и др. Гидравлика, гидромашины и гидроприводы. – М.: Машиностроение, 1982, 423 с.
Лабораторный практикум по гидравлике, гидромашинам и гидроприводу / Под ред. Вильнера Я.М.: Минск, Высшая школа, 1980, 224 с.
Лабораторный курс гидравлики, насосов и гидропередач / Под ред. Руднева С.С. и Подвидза Л.Г. – М.: Машиностроение, 1974, 415 с.