Исследование технического состояния аварийных участков набережных р. Иртыш и Омь и методы их реконструкции
Министерство образования РФ
Внебюджетный заочный факультет
Второе высшее образование
Кафедра
"Городское строительство и хозяйство"
Контрольная работа на тему:
"Исследование технического состояния аварийных участков набережных р. Иртыш и Омь и методы их реконструкции"
Выполнил:
Принял:
Омск - 2003
План
Раздел 1. Исследование технического состояния аварийных участков набережной р. Иртыш
Раздел 2. Исследование технического состояния аварийных участков набережной р. Омь
Раздел 3. Методы реконструкции набережной р. Омь
Заключение
Литература
Раздел 1. Исследование технического состояния аварийных участков набережной р. Иртыш
Исполнительная конструктивная схема набережной в районе дома № 23 по ул. Иртышская набережная.
Набережная откосного профиля. Со стороны реки она имеет грунтозащитный деревянный шпунт, выполненный из цельных деревянных брусьев с пазами и гребнями, перед забивкой они объединялись при помощи металлических скоб в блоки, состоящие из 3х-6х брусьев. Верхняя кромка шпунта имеет одиночную схватку из одиночного бруса, закрепленную с блоками шпунта болтами. По шпунту и схватке выполнена монолитная железобетонная кордонная балка трапециевидной формы. По песчаному откосу от кордонной балки к ограждению пешеходной части набережной, уложены железобетонные плиты различных размеров, сборные и монолитные. Ограждение выполнено из монолитного железобетона, как единый блок с опорной плитой, так же как и плиты на откосе она уложена на песчаное основание. Опорная плита основания ограждения имеет уклоны верхней плоскости, в сторону откоса, являясь его верхней точкой и уходит под пешеходную часть, припертую на половину ее ширины. Между кардонной балкой и плитами на откосе имелся своеобразный лоток или желоб, отформованный при изготовлении балки для сопряжения её с откосом, Деформационные швы на откосе и ограждении размещены примерно через каждые 10 м по длине набережной.
Отвод воды, попадающей на пешеходную часть проектировался через отверстия в монолитном ограждении (установлено только одно) в сторону откосной части на которой формовался лоток в сторону кордонной балки. Скорее всего после завершения строительства в ограждении высверлены отверстия диаметром 30-50 мм для отвода воды с шагом 6-10 м. Напротив дома № 23 на откосной части набережной из монолитного железобетона выполнена лестница с площадками, которая со стороны реки имеет шпунт из сборных ж/б элементов прямоугольного сечения в большей части имеющих пазы и гребни (фото 1.1). На ширину нижних площадок шпунтовый ряд повернут в сторону откоса.
Результаты наружных визуальных обследований набережной р. Иртыш
Обследован участок набережной в створе дома № 23 длиной 200 м (фото 1.2). Для привязки координат обследуемый участок разбит на пикеты (ПК) по 10 м, за "0" пикет принята точка, лежащая на створе стены дома, имеющая вход в подъезд. На участке от ПК+2 до ПК+10 кордонная балка сохранилась, хотя и имеет значительные деформации в плане и по высоте.

Фото 1.1 Состояние Иртышской набережной в районе дома № 21.

Фото 1.2 Состояние Иртышской набережной в районе дома № 23
Практически все плиты откоса, примыкающие к балке осели в образовавшиеся за шпунтом полости в грунте на глубину от 0,2 до 1,5 м. На участке ПК+6 до ПК+10 монолитные плиты, примыкающие к шпунту отошли (сползли по откосу) от крупноразмерных монолитных плит на верхней части откоса до 250500 мм. Верхние плиты деформировались и имеют трещины. На участке от ПК+3 до ПК+6 откос выполнен в основном из сборных ж/б плит частично закрытых сверху раствором. Смещение плит по склону до 150 мм. Смещение плит в верхних участках откоса у монолитного блока ограждений незначителен.
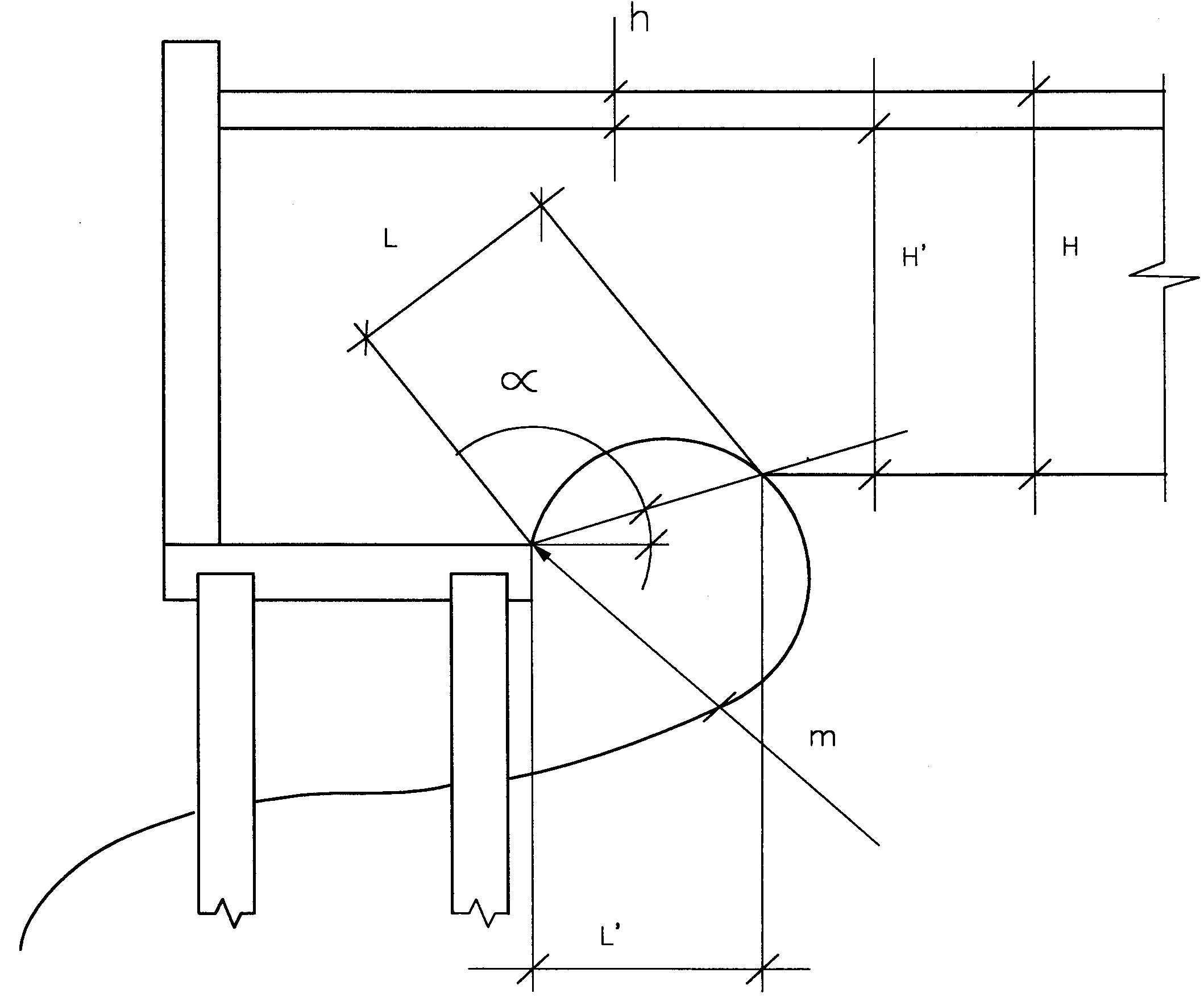
На участках от ПК-2 до ПК-3 (+3 м) и от ПК-6 до ПК-10 кордонная балка отсутствует, шпунтовый ряд имеет значительные повреждения из-за воздействия огня. От ПК-3 (+3 м) до ПК-6 контурная балка со значительными разрушениями и зависла на шпунтовой стенке, которая деформировалась частично в сторону реки и частично в сторону откоса. На этом участке имеется отмель у шпунта, и он также поврежден огнем. На участке от ПК-6 до ПК-8 шпунт не обнаружен, перед откосом выполнена каменная отсыпка. Скорее всего, на этом участке выполнялись работы по укладке труб канализации в сторону реки под откосом. На участке ПК-7 ПК-10 сползание плит на откосе от монолита ограждения составляет от 300 до 900 мм, от ПК-3 до ПК-6 от 50 до 150 мм. Монолитные большеразмерные плиты имеют значительные деформации и трещины в результате деформации грунтов под ними. Смещение углов смежных плит откосов по вертикали на разных участках составляет 50450 мм. Характер типовых повреждений набережной показан в табл.1.1, рис.1-4. Проектное решение шпунта дано в табл.1.2, рис.0.
На участках от ПК+1 до ПК+3, от ПК-0 до ПК-3, от ПК-8 (+5 м) до ПК-9 (+5 м) выполнен демонтаж всех ж/б элементов набережной. На вскрытой поверхности грунта видны последствия плоскостной и линейной эрозии. Глубина смыва абляции составляет на некоторых участках до 1,5 м. У ПК-3 и ПК-9 наблюдается смещение грунта из-под пешеходной части набережной по образовавшемуся в результате линейной эрозии склону в сторону реки.
Шпунт из сборных ж/б шпунтовых свай, забитых при устройстве площадок к лестницам от пешеходной зоны также, как и деревянный шпунт, сваи, имеющие пазы и гребни, сваи прямоугольной формы, все имеет зазоры. Каких-либо конструктивных мероприятий, обеспечивающих грунтонепроницаемость через прозоры в шпунте не обнаружены.
Таблица 1.1 Схема, поясняющая динамику разрушения откосной набережной р. Иртыш

Продолжение табл.1.1

Анализ причин разрушения набережной р. Иртыш и методы её реконструкции
Из анализа причин повлекших за собой разрушение набережной, можно сделать вывод, что главной причиной, способствовавшей разрушению набережной, является некачественное выполнение шпунтовой стенки и неудачно выбранная система защиты от поверхностных стоков, фильтрационного разрушения и гидрогеологической деятельности реки.
Некачественное выполнение шпунта можно объяснить несколькими возможными причинами:
а) невозможностью создания плотного шпунта из деревянных свайных шпунтовых блоков из-за встреченных на пути при забивке препятствий (бревен, камней и т.п.);
б) отсутствия опыта возведения подобных сооружений или отсутствие контроля за производством работ;
в) не понимание последствий, которые возможны при таком качестве работ, как со стороны непосредственных исполнителей, так и со стороны проектировщиков;
г) не удачно выбранная и принятая конструктивная схема, как шпунта, так и набережной в целом.
Анализ выполненного покрытия откоса набережной, где были применены сборные и монолитные ж/б плиты различных размеров, позволяет сделать выводы, что применение многих комбинаций было вызвано технологическими и материальными возможностями исполнителя, а не проектными предложениями:
а) возможностью выполнения работ по укладке монолитного бетона на наклонные плоскости с уплотнением при весьма податливом основании и не значительном удалении от верха откоса;
б) возможностью монтажа плит максимально возможного веса на максимально возможном вылете стрелы крана (строительство началось в 1969 г);
в) сложностью формования откоса набережной, сложенной насыпным грунтом песком; сложностью сохранения незащищенного откоса до монтажа и в период устройства покрытия;
г) сезонностью выполнения всех видов работ.
Отсутствие систем дренажа, обратных фильтров и других грунтозащитных мероприятий можно объяснить:
а) надеждой проектировщиков и исполнителей в то, что насыпной грунт - песок, способен выполнить все функции, обеспечивающие беспрепятственный отвод воды из-под конструкций набережной без вымывания грунта;
б) опасением извлечения грунта из-за шпунта после забивки свай для устройства обратных фильтров, представляющих собой несколько слоев несвязных грунтов, уложенных в порядке возрастания крупности частиц по направлению фильтрации 0,251 мм, 15 мм, 520мм,20мм, способных удержать грунт от вымывания через зазоры по причине технологической сложности последующего устройства наклонных засыпок фильтра и последующего уплотнения пазух для монтажа плит; тоже самое касается откосной части.
в) работы не были предусмотрены проектом по причине отсутствия опыта проектирования набережных в данных условиях.
Плиты на откосах необходимы на откосах не только для создания архитектурно привлекательного вида набережной, но и для защиты откоса от внешних воздействий, в частности, от воздействия поверхностных стоков воды, который был организован на откос через отверстия в ограждении не только с пешеходной зоны, но и с обширного газона. У высверленных отверстий лотков на откосе организовано не было, а проем, оставленный при изготовлении ограждения, не выполнял свои функции.
Устройство перед кордонной балкой желоба, не имеющего слива к реке, это нерациональное проектное решение, возможно, оно принято по какой-либо причине при производстве работ. Кордонная балка с желобом, конечно, не могла играть роль бермы или эспланады.
Следует отметить, что древесина шпунта мало подвержена биологическим повреждениям, основные повреждения сваям нанес огонь костров, разводимый у шпунтов но отмелях.
Железобетонные шпунтовые сваи прямоугольного сечения и сваи с пазом и гребнем также не удалось забить без зазоров, что привело к полному вымыванию грунта из под нижних площадок лестниц на спуске к реке.
Конструктивная схема набережной не позволила оперативно выполнить ремонт на начальной стадии разрушения начала вымывания грунта у шпунтовой стенки, без вскрытия защитного покрытия и монолита у кардонной балки, чтобы выполнить грунтозащиту. Процесс ремонта осложнялся бы и использованием кранового оборудования со стороны пешеходной зоны. В любом случае, своевременное принятие мер по предупреждению разрушений набережной на начальных стадиях потребовало бы гораздо меньших затрат, чем возможные затраты на восстановление практически полностью разрушенной набережной. Не исключено, что за техническим состоянием набережной вообще не велось систематического наблюдения, либо не были своевременно выявлены причины и приняты меры по локализации масштабных разрушений.
Откосная набережная на правом берегу Иртыша является одним из крупнейших инженерных сооружений г. Омска, она стала архитектурным символом города для нескольких поколений Омичей и конечно необходимо облик, приемлемый для равнинной реки сохранить, восстановив его по возможности близким, к просуществовавшему более 40 лет.
Исходя из вышесказанного, обеспечить в дальнейшем наибольший безаварийный срок службы восстанавливаемой набережной можно при следующих условиях.
Возможности, в первую очередь технологическую, т.е. возведение шпунта без зазоров.
Если реально такой возможности нет, то необходимо предусмотреть альтернативное шпунту решение, например, в виде плит, наваленных за сваями, забитыми с шагом до 3 м.
Непосредственно за шпунтом необходимо устроить обратный насыпной фильтр для предотвращения вымывания грунта через возможные щели в шпунте.
Откос набережной укрепить сборными плитами или монолитными, если такая возможность имеется, но обязательно на обратный фильтр.
Для повышения эксплуатационных свойств набережной и лучшей ремонтопригодности предусмотреть устройство прогулочной эспланады, которая будет совмещать в себе и берегозащитную функцию и грунтозащитную функцию нижней части откоса.
Предусмотреть, чтобы поверхностный сток с прилегающих территорий не осуществлялся через покрытие откосов.
Рассмотреть возможность выполнения берегозащитных мероприятий перед шпунтом.
В процессе проведения работ по восстановлению, предусмотреть возможность наиболее полного использования строительных материалов с демонтируемой части набережной.
Разработку проекта восстановления необходимо поручить проектной организации, имеющей опыт выполнения подобных работ.
Перечисленным условиям могут удовлетворять конструктивные решения представленные в табл.1.3, рис.1-4.
Таблица 1.3 - Возможные способы восстановления поврежденных участков Иртышской набережной на участке в районе дома № 23

Продолжение табл. 1.3

Раздел 2. Исследование технического состояния аварийных участков набережной р. Омь
Исследование технического состояния аварийных участков набережной р. Омь проводилось с использованием нового диагностического оборудования, разработанного в СибАДИ при участии отв. исполнителя данной темы с. н. с. П.А. Самосудова, "Гром-103" и "Звук РС-5-5". Исследование набережной, согласно календарного плана, проводилось у причалов прогулочных судов по р. Омь (длина участка 400 м) и в районе дома № 23 по Иртышской набережной (длина участка 90м), прил.2.
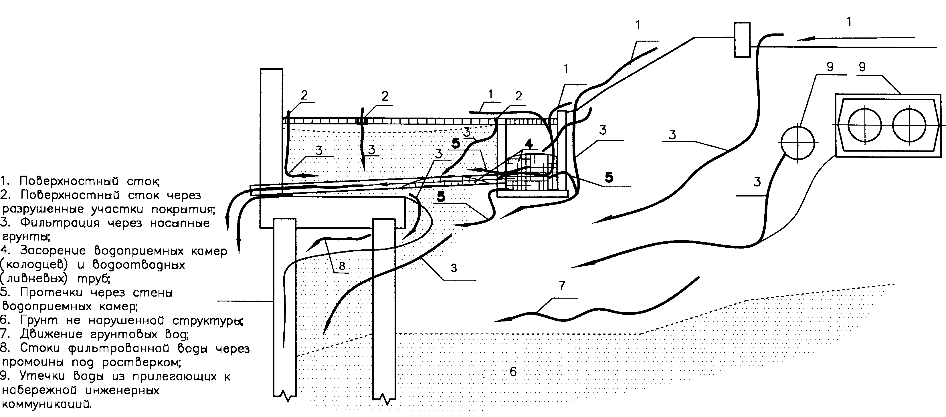
Исследование участков обрушении грунтов и разрушении конструкций проводилось от обреза Юбилейного моста до здания пассажирского речного порта по р. Омь шириной охвата 30-40 м. в сторону сквера и шагом поперечных профилей 1,5-2 м. В результате прозвучивания грунтов и конструкций удалось установить причины их разрушений, представленных на рис.2.1-2.6 Основными причинами разрушений явились ливневые водостоки и зазоры между шпунтовыми ограждениями набережной. На рис.2.1 показана схема перераспределения напряжений в грунте в процессе его вымывания. На рис.2.1 дана схема образования провала грунта на поверхности земли, показаны основные причины обрушения грунтов и их сдвижки при высоком и низком ростверке, что позволяет понять процессы разрушения набережной р. Омь. К ним относятся ливневые водостоки, движения воды, вызванные препятствиями и движение водных потоков, связанные с вращением гребных винтов прогулочных судов.

Рис 2.1 Схема перераспределений напряжений в грунте над вымытым грунтом.

Рис. 2.2 Схема к определению возможности образования провала на поверхности земли.

Рис. 2.3 Схема образования зон сдвижения грунтов над "низким" ростверком

Рис.2.4 Схема пневматического и прибойного разрушения грунтового основания

Рис.2.5 Схемы фильтрационного механизма разрушения грунтового основания при изменении уровня воды в реке

Рис. 2.6 Схема размыва грунта набережной на участке "опущеного" ростверка от поверхностного и подземного стока.
Раздел 3. Методы реконструкции набережной р. Омь
В таблице 2.1 предложены 7 вариантов восстановления набережной р. Омь с устройством грунтозащиты за шпунтом под ростверком, грунтозащиты перед шпунтом из сборных ж/б элементов, заделкой прозоров в шпунте со стороны акватории вяжущими полимерами, устройством заднего грунтозащитного экрана, шпунтом, навешанным на ростверк и грунтозащитным экраном парусного типа (рис.1-7). На рис.0 таблицы 2.1 дано существующее конструктивное решение набережной с высоким ростверком.
Заключение
В результате проведенного обследования были выявлены аварийные участки набережных р. Иртыша и р. Оми и определена очередность проведения работ по их реконструкции. Считаем целесообразным организовать инженерный контроль за состоянием набережных во все сезоны года, что позволит установить динамику процесса разрушения и своевременно принять меры профилактического характера.
После проведения инженерного контроля заказчику необходимо принять решение о выдаче проектному институту задания на разработку чертежей реконструкции набережных с использованием материалов данного обследования.
Таблица 2.1 Возможные способы восстановления поврежденных участков набережной на участке от моста "Юбилейный" до речного вокзала

Продолжение табл.2.1

Продолжение табл.2.1

Продолжение табл.2.1

Литература
Костерин Э.В., Тюменцева О.В. Методические указания к контрольным работам по дисциплине "Инженерная геология, дорожное грунтоведение и механика грунтов"
Маслов Н.Н. Основы инженерной геологии и механики грунтов. -М.: Высшая школа, 1982. - 341 с.
ГОСТ 25100-82. Грунты. Классификация.
Цытович Н.А. Механика грунтов. -М.: Высшая школа, 1983. - 288 с.
Костерин Э.В. Основания и фундаменты. - М.: Высшая школа, 1978. - 375 с.
Градостроительный кодекс РФ. - М.: "Проспект", 2001. - 72 с.