Наклонно-направленное бурение
Министерство образования и науки Республики Татарстан
Альметьевский государственный нефтяной институт
Кафедра бурения нефтяных и газовых скважин
РЕФЕРАТ
по дисциплине: «Бурение нефтяных и газовых скважин»
на тему: «Наклонно-направленное бурение»
Выполнил: студент гр. № 48-73,
Гиниятуллина Р.И.
Преподаватель: доцент,
Уразбахтин Н.Р.
Альметьевск, 2009
Содержание
Введение 3
1. История развития метода наклонно-направленного бурения 7
2. Наклонно-направленные скважины 13
3. Способы наклонно-направленного бурения на нефть и газ 15
4. Отклонители 19
5. Многозабойное бурение 22
6. Забойная компоновка для бурения наклонно направленных скважин 25
Заключение 27
Список используемой литературы 30
Введение
Потребности человечества в углеводородном сырье, отсутствие надежной альтернативы нефти и газу как топливу требуют совершенствования технологий по извлечению разведанных запасов.
Основным средством изучения горных пород, вскрытых скважинами, стали в настоящее время геофизические методы исследований – измерения различных физических параметров, позволяющие определять геологические характеристики пород и контролировать режим работы пластов в процессе бурения скважин.
Наклонно-направленное бурение - способ сооружения скважин c отклонением от вертикали по заранее заданному направлению. Наклонно-направленное бурение применяется как при бурении скважин на нефть и газ, так и при разведке твёрдых п. и.
Наиболее эффективная область использования наклонно-направленное бурение - при разработке месторождений в акваториях, в болотистых или сильно пересечённых местностях и в случаях, когда строительство буровых может нарушить условия охраны окружающей среды.
Наклонно-направленное бурение применяют также при бурении вспомогательных скважин для глушения открытых фонтанов, при многоствольном бурении или отклонении нижней части ствола вдоль продуктивного горизонта c целью увеличения дренажа.
Наклонно-направленное бурение нефтяных и газовых скважин осуществляется по специальным профилям. Профили скважин могут варьироваться, но при этом верхний интервал ствола наклонной скважины должен быть вертикальным, c последующим отклонением в запроектированном азимуте. При геолого-разведочных работах на твёрдые полезные ископаемые наклонно-направленное бурение осуществляется шпиндельными буровыми станками c земной поверхности или из подземных горных выработок. Бурение таких скважин отличается тем, что вначале они имеют прямолинейное направление, заданное шпинделем бурового станка, a затем в силу анизотропии разбуриваемых пород отклоняются от прямолинейного направления.
Рост объемов наклонно-направленного бурения скважин с углами отклонения ствола скважин от вертикали более 50° обусловили ограничения по применению традиционных методов исследований с помощью аппаратуры, спускаемой в скважину на кабеле, и вызвали необходимость разработки специальных технологий доставки скважинных приборов в интервал исследований. Решение этой проблемы возможно с помощью бескабельных измерительных систем, доставляемых на забой с помощью бурового инструмента.
Накопленный фактический материал по естественному искривлению скважин позволил установить ряд общих закономерностей, учитывая которые буровики научились проходить скважины в строго заданном направлении. Такие скважины получили название наклонно-направленных и горизонтальных. Искусственное отклонение — это направление ствола скважины в процессе бурения по определенному плану доведением забоя до заданной точки. Искусственное отклонение скважин подразделяется на наклонное многозабойное (разветвленно-направленное) и кустовое (многоствольное) бурение.
Кустовое бурение. Под кустовым бурением понимается способ, при котором устья скважин группируются на общей площадке, а конечные забои находятся в точках, соответствующих проектам разработки месторождения. При кустовом бурении скважин значительно сокращаются строительно-монтажные работы в бурении, уменьшается объем строительства дорог, линий электропередачи, водопроводов и т.д.
Наибольший эффект от кустового бурения обеспечивается в условиях моря и в болотистых местностях. Впервые в СССР кустовое бурение было осуществлено под руководством Н.С. Тимофеева на о-ве Артема в Азербайджане. В настоящее время в кустах бурят 8 — 24 скважины и более. Одна из основных особенностей проводки скважин кустами — необходимость соблюдения условий непересечения стволов скважин.
К недостаткам кустового наклонно направленного способа бурения следует отнести вынужденную консервацию пробуренных скважин до окончания некоторой скважины данного куста в целях противопожарной безопасности, увеличение опасности пересечения стволов скважин, трудности в проведении капитального и подземного ремонтов скважин, а также в ликвидации грифонов в условиях морского бурения.
Многозабойное бурение. Сущность этого способа бурения состоит в том, что из основного ствола скважины с некоторой глубины проводят один или несколько стволов, т.е. основной ствол используется многократно. Полезная же протяженность скважин в продуктивном пласте и, следовательно, зона дренирования (поверхность фильтрации) возрастают.
Первая многозабойная скважина была пробурена в 1953 г. на Карташевском рифовом месторождении Башкортостана. Первая горизонтальная скважина, проходящая 130 м непосредственно по пласту мощностью около 30 м, была проведена в 1957 г. на Яблоновском месторождении Куйбышевской (ныне Самарской) области. Несмотря на то, что скважина была пробурена на сильно дренированный пласт, ее суточный дебит составил 40 т, что многократно превышало дебиты вертикальных скважин.
Во ВНИИБТ в результате работ по многозабойному и горизонтальному бурению разработаны специальные укороченные турбобуры Т12М2К, в которых впервые была применена проточная пята, отработана технология безошибочного попадания в дополнительные стволы, разработана система доставки геофизических приборов в горизонтальные стволы. Разработаны технические средства и методы, позволяющие достаточно надежно проводить горизонтальные стволы в заданном направлении. Бурение этих скважин ускоряет освоение новых нефтяных и газовых месторождений, разведку полезных ископаемых, снижает капиталовложения и уменьшает затраты дефицитных материалов.
В связи с все возрастающими объемами направленного бурения весьма актуальной становится проблема контроля за направлением ствола скважины в процессе ее бурения, проблема возможности управления этим процессом по намеченной программе. Комплекс измерительных датчиков контроля направления ствола скважины должен состоять из датчиков измерения угла наклона скважины и ее азимута. Для управления процессом направленного бурения измерительную систему оборудуют датчиком положения отклонителя.
1. История развития метода наклонно-направленного бурения
Метод прокладки коммуникаций, известный сегодня в России, как наклонно-направленное бурение (ННБ), официально был основан в США, в 72 году прошлого века Мартином Черрингтоном, в то время являющимся президентом строительной компании «Титан Контрактоз», в штате Калифорния.
Метод возник, как альтернатива траншее, дающий наименьший экологический ущерб окружающей среде и не влияющий на водное препятствие. В ряде случаев, экономически более выгодный, по отношению к традиционной укладке.
Предыстория этого события берет начало в середине 60-х годов во время первого знакомства Черрингтона с управляемым бурением. Оно стало предпосылкой для создания небольшой буровой установки, сотрудничества с электрослужбами и работами по укладке бытовых коммуникаций под дорогами.
Первое предложение по укладке трубы под рекой поступило ему в 1971 году. Это было строительство газопровода диаметром 115 мм и длиной 231 м, под р.Паджеро в Калифорнии. Газопровод был уложен, но трудности при работах по управлению буром наталкивали на мысли о незрелости этого метода для таких объектов. В результате работники компании Титан вернулись к своим «дорогам». Не малую роль для возвращения к этому вопросу сыграла статья в журнале с описанием работ на реке, которая вышла начале 1972 года, и тем самым привлекла заказчиков, которых не испугали возможные трудности.
В дальнейшем, по мере развития нефтяной промышленности, проекты по пересечению рек методом ННБ заняли важное место на рынке строительства.
Так к 1992 году было построено уже 2400 переходов: - диаметр возрос до 1200 мм; - максимальная длина перехода достигла 1800 м; - суммарная длина превысила 800 км.
Методы прокладки непрерывно менялись и совершенствовались. Не всегда труба укладывалась посредством затягивания буровой установкой, до 1978 г. это производилось только методом проталкивания.
В 1980 году в одну скважину впервые осуществили протяжку пучка из 3 труб. Значительно расширилась география распространения метода: США, Австралия, страны Европы, Азии и Южной Америки. При этом прокладка трубопроводов осуществлялась через крупные реки мира: Миссисипи, Миссури, Ганг и др.
Расширился круг компаний, освоивших производство буровых установок, и сегодня поставщиками на рынок оборудования ННБ, помимо США, являются Германия, Франция, Голландия. Парк буровых установок разнообразен и включает в себя установки с тягово – толкающими усилиями, начиная от 1 тонны и до 450 тонн.
В чем заключается метод строительства коммуникаций с применением метода ННБ. В сущности, идея красива и проста, по заданной траектории, под препятствием, бурится скважина, в которую укладывают трубопровод.
Строительство, осуществляемое таким образом, имеет ряд преимуществ перед траншейным методом.
Во-первых, в отличие от традиционной укладки, ННБ дает возможность выполнения работ в стесненных условиях, что актуально при строительстве, как в городских условиях, так и в полевых в существующем техническом коридоре коммуникаций.
Во-вторых, это более сжатые сроки строительства.
В-третьих, это независимость от вида препятствия без оказания, какого-либо влияния на само препятствие, будь то здание, автомобильная или железная дорога, водная преграда, дамба, набережная стенка или же другие коммуникации. В любом случае, независимо от вида препятствия, метод обеспечивает надежную защиту трубопровода от внешних механических повреждений, возникающих в результате человеческой деятельности или действия природных сил.
Наряду с преимуществами наклонное бурение имеет свои сложности, и даже ограничения по его применению. Основным ограничением является, прежде всего, большая протяженность и диаметр укладываемой трубы. В мировой практике, говоря о возможностях метода ННБ без уточнения диаметра, указывают предел - 2000 м.
В России были построены единичные переходы протяженностью более 1000 м с диаметром труб не более 1020 мм. Основная масса построенных переходов диаметром 1020 – 1420 мм находится в диапазоне 500 – 700 м.
Другим ограничением метода ННБ являются сложные геологические условия. Сложными с этой точки зрения для метода ННБ являются галечниковые грунты, грунты с включением валунов, карстовых полостей, скальные, илистые грунты. Но с развитием технологии наклонно-направленного бурения и совершенствования оборудования, метод постепенно расширяет свои границы и область применения в сложных геологических условиях.
В общем случае эти два ограничения в совокупности с конструктивными параметрами буровых установок и технологии бурения, находящихся на вооружении у подрядчика и являются основными критериями оценки возможности строительства того или иного объекта.
В России как таковой метод прокладки трубопроводов посредством бурения возник в 30-е годы. В те годы прокладка осуществлялась под дорожными полотнами. В 70-80-годы была реализована программа по созданию отечественной буровой установки.
Разработки производились во ВНИИСТе совместно с заводом «Уралмаш» и в отраслевой научно-исследовательской лаборатории сооружения трубопроводов при МИНГ им. Губкина.
ВНИИСТом совместно с «Уралмаш» была разработана и изготовлена мощная буровая установка с тяговым усилием 450 тонн, но установка вследствие не совсем верной технической стратегии оказалась мало приспособленной к работе. Практически более применимые результаты были получены в МИНГ им Губкина. А именно, к 1991 году была разработана технология и создано два типа буровых установок, применение которых позволило построить 5 опытно – экспериментальных, промышленных переходов трубопроводов через реки Клязьму, Нару, Сетуньку и Москву (диаметром от 150 до 720 мм и длиной от 104 до 180 м).
Произошедшие в государстве экономические и политические изменения негативно сказались на дальнейшем развитии отечественной технологии ННБ. Однако полученный практический опыт и знания не пропали зря и в начале девяностых годов сразу три фирмы (СКМ – Гейзер, НПП «Дромукс», Магистраль/Магма) сооружают малые переходы установками отечественного производства. Эти установки отличаются от западного оборудования, тем, что в качестве забойного оборудования для бурения пилотной скважины использовался электробур.
Более эффективно в освоении наклонно – направленного бурения развивались российские предприятия, выбравшие путь приобретения зарубежного оборудования и технологии.
В период 1994 – 1995 г.г. на рынке бывшего СССР появилось много компаний, предлагающих свои услуги по направленному бурению, это как компании имеющие мощное оборудование и прокладывающие трубопроводы через водные преграды (среди которых можно отметить Российско – германскую фирму ВИС МОС, внешнеэкономическую ассоциацию «Внештрубопроводстрой» (ВТПС), Мострансгаз и др.), так и фирмы имеющие оборудование для выполнения работ в городских условиях. Сегодня, наверное, в каждом областном центре Европейской части России и западной Сибири есть предприятие способное выполнить если не большие через реки, то небольшие в городских условиях объекты.
Отдельного внимания заслуживает вопрос о применении метода ННБ в ведомствах трубопроводного транспорта нефти и газа, при строительстве подводных переходов.
Возрастающие требования к безопасности и надежной эксплуатации магистральных трубопроводов диктуют освоение новых методов ремонта. Траншейный способ строительства подводных переходов имеет ряд недостатков и не в полной мере отвечает современным требованиям: а именно необходимому уровню конструктивной надежности, безопасной эксплуатации и сохранению окружающей среды.
Очевидно, что эффективность и целесообразность использования ННБ на водных преградах, кроется в его преимуществах по отношению к традиционному способу:
во-первых, работы не оказывают помех судоходству;
во-вторых; большая экологическая безопасность при строительстве и эксплуатации, меньшее воздействие на водный объект и объекты водопользователей;
в-третьих, в случае большой глубины и ширины реки применение ННБ освобождает от необходимости использования специальных плавсредств, способных вести разработку грунта на глубине 15-20 м и имеющих высокую производительность. Которая необходима для своевременного завершения строительства перехода в период навигации. Особенно актуален этот вопрос для района Западной Сибири, где этот период составляет 4-5 месяцев;
в-четвертых, применение метода ННБ, в силу его большого заглубления, целесообразно на водных преградах с интенсивным прогнозируемым размывом дна реки и плановыми деформациями берегов до 5 – 10 м /год, так как не требуется проведение берегоукрепительных работ, вторичных затрат на ликвидацию размывов и оголения трубопровода.
Создание нормативной базы - одно из условий внедрения новых методов.
Первый нормативный документ для ННБ был разработан ВНИИСТом в 1986 г. (Р 584 – 85/ Миннефтегазстрой СССР). Это рекомендации, которые были разработаны для бурения опытных переходов диаметром до 720 мм с помощью установки изготовленной Уралмашзаводом.
Следующий - это документ «Строительство подводных переходов трубопроводов бестраншейным способом» (СТН 51-4-92/ ГГК Газпром, СТН 06-92/Роснефтегаз, СТН 01-92/Роснефтегазстрой), разработанный в 1993 г. фирмами Магма и Магистраль.
Впоследствии были разработаны ведомственные нормы «Строительство подводных переходов газопроводов способом направленного бурения» ОАО "Газпром", и целый блок нормативных документов компании «АК «Транснефть».
Решение о закупке установок наклонно – направленного бурения и создание предприятия в системе АК «Транснефть» было принято в начале 1997 г. К этому времени были получены и проанализированы предложения на поставку оборудования ННБ от разных наиболее признанных мировых производителей данного оборудования. В результате переговоров, наиболее оптимальной была выбрана фирма Cherrington.
В этом же году АК «Транснефть» привлекла ряд институтов и предприятие к созданию ведомственной нормативной базы по строительству нефтепроводов:
ОАО «ВНИИСТ», г. Москва (Ведомственные нормы на проектирование и строительство подводных переходов методом ННБ, Технологические карты на строительство подводных переходов методом ННБ);
ЗАО «ПИРС», Омск (Калькуляция на строительство подводных переходов трубопроводов с использованием ННБ);
СП «ВИС МОС», г. Ульяновск (Требования к буровым растворам, применяемым при ННБ);
Государственный гидрологический институт, г.Санкт-Петербург (Инструкция по наблюдениям гидрологическими параметрами на пересекаемых магистральными нефтепроводами подводных переходов);
Геолого – разведочный институт. г. Москва (Программа реконструкции подводных переходов по результатам изучения геологических условий их эксплуатации).
В июле 1997 г. в системе АК «Транснефть» создано предприятие ООО «Транснефтьбурсервис», г. Самара. В 1998 году обществом получены лицензии Госгортехнадзора и Госстроя России на право производства работ по строительству с применением метода ННБ подводных переходов магистральных трубопроводов и других коммуникаций на территории Российской Федерации. В том же году ООО «Транснефтьбурсервис» построило этим методом четыре подводных перехода общей протяженностью 1811,8 м.
За прошедший период времени метод прошел всестороннюю апробацию и стал основным при решении задач строительства и реконструкции переходов. Компания «АК «Транснефть» за этот период накопила значительный опыт и внесла вклад в дальнейшее развитие ННБ. На начало 2003 года было построено 65 подводных переходов диаметром от 377 мм до 1220 м и протяженностью от 355 м до 1238 м. Строительство осуществлялось в самых различных по сложности грунтах.
2. Наклонно-направленные скважины
Скважины, для которых проектом предусматривается определенное отклонение забоя от вертикали, а ствол проводится по заранее заданной траектории, называются наклонно-направленными.
Наклонные скважины бурят, когда продуктивные пласты залегают под акваториями морей, озер, рек, под территориями населенных пунктов, промышленных объектов, в заболоченной местности, а также для удешевления строительства буровых сооружений.
Разработанные в настоящее время виды профилей для наклонно-направленных скважин делятся на две группы: профили обычного типа (представляющие собой кривую линию, лежащую в вертикальной плоскости) и профили пространственного типа (в виде пространственных кривых).
Типы профилей наклонно-направленных скважин обычного типа приведены на рис.1. Профиль типа А состоит из трех участков: вертикального 1, участка набора угла наклона ствола 2 и прямолинейного наклонного участка 3. Его рекомендуется применять при бурении неглубоких скважин в однопластовых месторождениях, если предполагается большое смещение забоя.

Рис.1. Типы профилей наклонно-направленных скважин: 1 - наклонный участок; 2 - участок набора угла наклона ствола; 3 - прямолинейный наклонный участок; 4 - участок снижения угла наклона ствола.
Профиль типа Б отличается от предыдущего тем, что вместо прямолинейного наклонного участка имеет участок 4 естественного снижения угла наклона. Данный профиль рекомендуется применять при больших глубинах скважин.
Профиль типа В состоит из пяти участков: вертикального 1, участка набора угла наклона ствола 2, прямолинейного наклонного участка 3, участка снижения угла наклона 4 и снова - вертикального 1. Его рекомендуется применять при проводке глубоких скважин, пересекающих несколько продуктивных пластов.
Профиль типа Г отличается от предыдущего тем, что в нем участки 3 и 4 заменены участком самопроизвольного снижения угла наклона 4. Данный профиль рекомендуется применять при бурении глубоких скважин, в которых возможны отклонения в нижней части ствола скважины.
Профиль типа Д состоит из вертикального участка 1 и участка набора угла наклона ствола 2. Для него характерна большая длина второго участка. Профиль рекомендуется при необходимости выдержать заданный угол входа в пласт и вскрыть его на наибольшую мощность.
Как видно из рис.1, все типы профилей в начале имеют вертикальный участок. Его глубина должна быть не менее 40...50 м. Окончание вертикального участка приурочивают к устойчивым породам, где можно за один рейс набрать зенитный угол 5...6 градусов.
Для отклонения скважины от вертикали применяют специальные отклоняющие приспособления: кривую бурильную трубу, кривой переводник, эксцентричный ниппель и отклонители различных типов.
В последние годы все большее распространение получают вертикальные и наклонные скважины, имеющие горизонтальные окончания большой протяженности. Это делается для того, чтобы увеличить площадь поверхности, через которую в скважину поступает нефть и соответственно увеличить дебит. Одновременно стало возможным извлекать в промышленных масштабах нефть, считавшуюся ранее неизвлекаемой, вследствие малой мощности и низкой проницаемости продуктивного пласта. Кроме того, горизонтальное окончание скважин располагают в пласте выше подошвенной воды, что позволяет продлить период безводной эксплуатации.
3. Способы наклонно-направленного бурения на нефть и газ
Существуют два способа наклонно-направленное бурение на нефть и газ. Первый (распространён в США) представляет собой прерывистый процесс проводки скважин c использованием роторного бурения (применяется c нач. 20в.). При этом способе c забоя скважины долотом меньшего диаметра, чем диаметр ствола скважин, забуривается углубление под углом к оси скважины на длину бурильной трубы (рис.2) c помощью съёмного или несъёмного клинового либо шарнирного устройства (рис. 3, рис. 4).

Рис. 2. Схема бурения клиновым устройством.

Рис. 3. Клиновой отклонитель.

Рис. 4. Шарнирный отклонитель.
Полученное таким образом направление углубляется и расширяется. Дальнейшее бурение ведётся долотом нормального диаметра c сохранением направления c помощью компоновки низа бурильной колонны, оснащённой стабилизаторами.
Второй способ, предложенный P. A. Иоаннесяном, П. П. Шумиловым, Э. И. Тагиевым и M. T. Гусманом в нач. 40-x гг. 20 в., основан на использовании турбобура либо др. забойного двигателя. Этот способ представляет собой непрерывный процесс набора искривления и углубления скважины долотом нормального диаметра. При этом способе для набора искривления используется такая компоновка низа бурильной колонны, при которой на долото в процессе бурения действует сила, перпендикулярная его оси (отклоняющая сила). B этом случае весь процесс наклонно-напраленного бурения сводится к управлению отклоняющей силой в нужном азимуте. Создание отклоняющей силы может осуществляться различными путями. Если турбобур односекционный, то для получения необходимой отклоняющей силы достаточно иметь над турбобуром переводник c перекошенными резьбами, либо искривлённую бурильную трубу (рис. 5).

Рис. 5. Турбинный отклонитель c искривлённой бурильной трубой.
При пропуске турбобура в скважину изогнутая часть компоновки над турбобуром за счёт упругих деформаций стремится выпрямиться, a в сечении изгиба возникает момент силы. Отклоняющая сила в этом случае равняется моменту силы, разделённому на расстояние от сечения изгиба до долота. Интенсивность набора угла искривления при описанной выше компоновке будет невысокой, a предельный угол искривления - менее 30°. Для более интенсивного набора искривления сечение изгиба, где возникает момент упругих сил, переносят ближе к долоту. Для этой цели применяются спец. шпиндели и турбобуры. Так как при таких шпинделях резко увеличивается отклоняющая сила, то интенсивность набора угла искривления и предельная величина искривления существенно увеличиваются.
Ha интенсивность набора угла искривления влияет также частота вращения долота и скорость подачи бурильной колонны в процессе бурения. Чем выше частота вращения долота и чем меньше скорость подачи бурильной колонны, тем интенсивнее, под действием отклоняющей силы, происходит фрезерование стенки скважины и тем интенсивнее искривление. Наибольшая интенсивность искривления может быть получена при применении в нижней части турбобура эксцентричного ниппеля, который позволяет выводить ствол скважины в горизонтальное положение.
Прямолинейные наклонные участки ствола скважины бурятся c компоновками, оснащёнными стабилизаторами. Ориентирование отклоняющей силы в нужном азимуте может осуществляться визирным спуском бурильной колонны либо c помощью инклинометра при установке над турбобуром диамагнитной трубы и магнитным устройством, расположенным в плоскости действия отклоняющей силы. Указанные методы ориентирования отклоняющей силы должны учитывать угол закручивания бурильной колонны, возникающий из-за реактивного момента турбобура, что в некоторой степени отражается на точности ориентирования. B 80-x гг. распространяются системы телеконтроля, позволяющие в процессе бурения контролировать направление действия отклоняющей силы. Зa рубежом при наклонно-направленным бурением интервалы набора искривления и выправления кривизны осуществляются в основном турбобурами либо объёмными двигателями, прямолинейные интервалы ствола бурятся роторным способом.
4. Отклонители
Назначение отклоняющих устройств — создание на долоте отклоняющего усилия или наклона оси долота к оси скважины в целях искусственного искривления ствола скважины в заданном или произвольном направлении. Их включают в состав компоновок низа бурильных колонн. Они отличаются своими особенностями и конструктивным выполнением.
В турбинном бурении в качестве отклоняющих устройств применяют кривой переводник, турбинные отклонители типа ТО и ШО, отклонитель Р-1, отклонитель с накладкой, эксцентричный ниппель и др.; в электробурении — в основном механизм искривления (МИ); в роторном бурении — отклоняющие клинья, шарнирные отклонители и др. Рассмотрим некоторые отклонители.

Рис. 6. Кривой переводник
Кривой переводник (рис. 6) — это наиболее распространенный и простой в изготовлении и применении отклонитель при бурении наклонно-направленных скважин. Он представляет собой толстостенный патрубок с пересекающимися осями присоединительных резьб. Резьбу с перекосом 1...40 нарезают в основном на ниппеле, в отдельных случаях — на муфте. Кривой переводник в сочетании с УБТ длиной 8... 24 м крепят непосредственно к забойному двигателю.
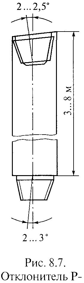
Отклонитель Р-1 (рис. 7) выполняется в виде отрезка УБТ, оси присоединительных резьб которой перекошены в одной плоскости и в одном направлении относительно ее оси. Отклонитель Р-1 предназначен для набора зенитного угла до 90° и выше, изменения азимута скважины, зарезки нового ствола с цементного моста и из открытого ствола.

Рис. 7. Отклонитель Р-1
Отклонитель с накладкой — это сочетание кривого переводника и турбобура, имеющего на корпусе накладку. Высота накладки выбирается такой, чтобы она не выдавалась за габаритные размеры долота. Отклонитель с накладкой при применении односекционных турбобуров обеспечивает получение больших углов наклона скважины. Его рекомендуется применять в тех случаях, когда непосредственно над кривым переводником необходимо установить трубы малой жесткости (немагнитные или обычные бурильные трубы).
Отклоняющее устройство для секционных турбобуров представляет переводник, соединяющий валы и корпуса верхней и нижней секции турбобура под углом 1,5...2,0°, причем валы соединяются с помощью муфты.
Турбинные отклонители (ТО) конструктивно выполняются посредством соединения нижнего узла с верхним узлом через кривой переводник, а валов — через специальный шарнир. Серийно выпускаются турбинные отклонители (рис. 8) и шпиндели-отклонители (ШО).

Рис. 8. Турбинный отклонитель ТО-2: 1 — турбинная секция; 2 — шарнирное соединение; 3 — шпиндельная секция
Турбинные отклонители имеют следующие преимущества:
кривой переводник максимально приближен к долоту, что увеличивает эффективность работы отклонителя;
значительно уменьшено влияние колебания осевой нагрузки на величину отклоняющей силы на долоте, что позволяет получить фактический радиус искривления, близкий к расчетному.
Недостаток турбинных отклонителей — малая стойкость узла искривленного соединения валов нижнего и верхнего участков отклонителя.
Эксцентричный ниппель представляет собой отклонитель, выполненный в виде накладки, приваренной к ниппелю турбобура. Применяется этот отклонитель при бурении в устойчивых породах, где отсутствует опасность заклинивания или прихвата бурильной колонны.
Упругий отклонитель состоит из специальной накладки с резиновой рессорой. Накладка приваривается к ниппелю турбобура. Этот отклонитель применяют при бурении в породах, где эксцентричный ниппель не применим из-за опасности прихватов.
Механизм искривления — это отклонитель для бурения наклонно-направленных скважин электробуром. В таких механизмах валы двигателя и шпинделя сопрягаются под некоторым углом, что достигается применением зубчатой муфты сцепления.
5. Многозабойное бурение
Многозабойное бурение - вид наклонно-направленного бурения, включающий проходку основного ствола c последующим забуриванием и проходкой в его нижней части дополнительных стволов, пересекающих геол. структуру.
Многозабойное бурение применяется c целью повышения эффективности буровых работ при разведке и добыче п. и., достигаемой за счёт увеличения доли полезной протяжённости стволов скважин.
Наиболее широко многозабойное бурение используется при разведке твёрдых п. и. При разработке нефтяных месторождений. Многозабойное бурение принято называть разветвлённо-горизонтальным бурением. Впервые это бурение осуществлено в США (1930). Использование забойных двигателей при многозабойном бурении впервые реализовано в CCCP по предложению A.M. Григоряна, B. A. Брагина, K. A. Царевича в 1949.

Схема многозабойного бурения.
Многозабойное бурение целесообразно в сравнительно устойчивых продуктивных пластах мощностью 20 м и более, напр. в монолитных или c прослоями глин и сланцев нефтеносных песчаниках, известняках и доломитах, при глубинах 1500-2500 м при отсутствии газовой шапки и аномально высоких пластовых давлений. M. б. сокращает число обычных скважин благодаря увеличению дренированной поверхности продуктивного пласта. Для проводки многозабойной скважины используется комплекс технических средств и контрольно-измерительной аппаратуры, обеспечивающих проводку стволов в заданном направлении. Для искривления стволов применяются спец. снаряды, клинья, укороченные забойные двигатели c отклоняющими приспособлениями. Контроль пространственного положения ствола осуществляется c помощью инклинометра, дающего информацию об азимутальном и зенитном углах оси скважин. Дополнительные стволы имеют на участке набора кривизны резко искривлённые профили. Положение оси ствола в призабойной части может быть почти горизонтальным. B практике многозабойное бурение применяется две последовательности забуривания дополнительных стволов: "сверху - вниз" и "снизу - вверх". При забуривании "сверху - вниз" буровые работы идут в направлении от изученного объекта к неизвестному. Такой порядок работ позволяет своевременно прекратить бурение, например, в случае выклинивания рудного тела, и наоборот, продолжить бурение ниже проектной глубины, например, в случае неожиданного обнаружения полезных ископаемых. Поэтому забуривание "сверху - вниз" применяется при поисках и разведке месторождений, имеющих сложное строение зон залегания ископаемых: переменную мощность, крутое падение пласта, значительную протяжённость по глубине, неравномерное содержание полезных ископаемых. Последовательность проходки дополнительных стволов "снизу - вверх" наиболее целесообразно использовать при проведении буровых работ по сгущению разведочной сети, например, при работах по уточнению категорийности запасов полезных ископаемых.
Многозабойное бурение при разведке твёрдых полезных ископаемых обеспечивает получение максимальной и наиболее точной информации при минимальной её стоимости на 1 м проходки скважины. Экономия при этом образуется в основном за счёт сокращения затрат времени и средств, связанных c проходкой и креплением верхней, части ствола скважины, монтажно-демонтажными работами при перемещении буровой установки (станка) на новое место бурения.
Вскрытие нефтяных пластов многозабойными скважинами позволяет увеличить дебиты нефтяных скважин за счёт увеличения поверхности фильтрации; увеличить нефтеотдачу пласта; ввести в промышленную разработку малодебитные месторожденияния c низкой проницаемостью коллектора или высоковязкой нефтью; повысить приёмистость нагнетательных скважин, повысить точность проводки противофонтанных скважин за счёт перебуривания только нижних её интервалов в случае непопадания первым стволом. B нефтедобывающих районах эксплуатируются скважины c 5-10 ответвляющимися стволами длиной по 150-300 м каждый. Благодаря этому приток нефти на первом этапе эксплуатации в несколько раз больше, чем из обычных скважин. B нашей стране c помощью многозабойного бурения успешно проведены десятки скважин на нефть, разрабатывается и испытывается многозабойное бурение глубоких горизонтальных скважин большой протяжённости (неск. км).
6. Забойная компоновка для бурения наклонно направленных скважин
Изобретение относится к буровой технике и может быть использовано при бурении наклонно направленных скважин забойными двигателями в изменяющихся горно-геологических условиях.

Цель изобретения - расширение технологических возможностей компоновки за счет изменения взаимо-расположения элементов компоновки в процессе бурения. Использование изобретения позволяет повысить производительность работы при бурении наклонно направленных скважин за счет сокращения интервала ориентированного набора зенитного угла и числа спуско-подъемных операций для замены компоновки.
Забойная компоновка для бурения наклонно направленных скважин, включающая направляющую штангу с долотом, забойный двигатель с правосторонним вращением ротора и упругий центратор, расположенный в нижней части направляющей штанги, шарнирную муфту, установленную вверхний части направляющей штанги, и удлинитель, отличается тем, что с целью расширения технологических возможностей за счет изменения взаиморасположения элементов компоновки в процессе бурения она снабжена установленным над шарнирной муфтой и соединенным левой резьбой со стационарной системой забойного двигателя децентратором с упругими опорными планкамии ограничителям его перемещения, установленным на верхнем конце компоновки, причем ограничитель выполнен с опорными ребрами.
Заключение
В современных буровых работах существует два основных метода бурения – вертикальное бурение и наклонно направленное бурение. Что такое вертикальное бурение, интуитивно понятно и неспециалисту. Вертикальное бурение осуществляется сплошь и рядом при организации водозаборных скважин в частных домах или на территориях предприятий. Этот вид бурения – самый простой и не требует особых расчетов и научных знаний.
Наклонно направленное бурение – немного другой случай. Данный метод, хотя его смысл и понятен из названия, не так прост. Очевидно, что наклонно направленное бурение применяют в тех случаях, когда по вертикали к водоносному пласту или месторождению полезных ископаемых нет возможности подступиться, то есть вертикальное бурение неприменимо. Например, месторождение или пласт располагается под горным массивом, водоемом или в районе интенсивной застройки.
В тех случаях, когда вертикальное бурение невозможно, необходимо провести тщательный расчет различных вариантов организации скважин и способов выполнения, и только потом начинать наклонно направленное бурение. Технологически наклонно направленное бурение – метод значительно более сложный, чем вертикальное бурение, требующий учета твердости грунта, залегания пластов различных пород, допустимых нагрузок на наклонные части скважин и т. п. В этом смысле вертикальное бурение намного проще в реализации и, соответственно, дешевле.
Появление наклонного бурения относится к 1894, когда С.Г.Войслав провёл этим способом скважину на воду близ Брянска. Успешная проходка скважины в Бухте Ильича (Баку) по предложению Р.А.Иоаннесяна, П.П.Шумилова, Э.И.Тагиева, М.Т.Гусмана (1941) турбинным наклонно-направленным бурением положила начало внедрению наклонного турбобурения, ставшего основным методом направленного бурения в России, получившего применение за рубежом. Этим методом при пересечённом рельефе местности и на морских месторождениях бурят кусты до 20 скважин с одного основания. В 1938-1941 в разработаны основы теории непрерывного наклонного регулируемого турбинного бурения при неподвижной колонне бурильных труб. Этот метод стал основным при бурении наклонных скважин.
Недостатками наклонно-направленного и горизонтально-направленного бурения являются повышенная вероятность возникновения аварийной ситуации из-за использования клиньев, требования к прочности бурильных труб, необходимости частого использования отклонителей и приборов, что увеличивает. К основным достоинствам наклонно-направленного бурения относятся: возможность определения истинной мощности наклонных пластов, подсечения полезных ископаемых, залегающих в труднодоступных местах (горы, водоемы, болотистая местность и т. д.), обхода естественных препятствий (здания, дороги, реки и т. п.) при инженерно-техническом бурении и т. п. Наклонно-направленное и горизонтально-направленное бурение широко применяется при сооружении скважин различного назначения - группы А,Б,В,Г,Д.
Наклонно-направленное бурение - способ проведения скважины с отклонением от вертикали по заранее заданной кривой. Наклонно-направленное бурение впервые осуществлено в СССР на Грозненских нефтепромыслах (1934). В 1972 в СССР наклонно-направленное бурение сооружено около 25% общего метража скважин на нефть. Наклонно-направленное бурение оказывается целесообразным при: сложном рельефе местности (например, при расположении залежи под дном крупного водоёма или под капитальными сооружениями); геологических условиях залегания полезных ископаемых, не позволяющих вскрыть их вертикальными скважинами; кустовом бурении или многозабойном бурении; тушении горящих нефтяных и газовых фонтанов. При геологоразведочных работах наклонно-направленное бурение осуществляется шпиндельными буровыми станками, причём скважина забуривается наклонно непосредственно с земной поверхности; при вскрытии нефтяных и газовых пластов. Наклонно-направленное бурение производится турбобурами или роторным способом (скважина с поверхности забуривается вертикально с последующим отклонением на заданной глубине в запроектированном направлении).
Отклонение скважины от вертикали при наклонно-направленном бурении (изменение зенитного угла и азимута бурения) осуществляется отклоняющими устройствами, например турбинными отклонителями. Бурение прямолинейно-наклонных участков производится с помощью бурильных устройств, включающих центрирующие и калибрующие элементы. Наибольшее отклонение от вертикали при наклонно-направленном бурение (3836 м) получено в США в заливе Кука: на остраве Сахалин отклонение составило 2453 м (1972).
Список используемой литературы
Горин А.С., Ю.И. Спектр, В.А. Красков, журнал «Трубопроводный транспорт нефти», №11 2003 г.
Басарыгин Ю.М., Булатов А.И., Проселков Ю.М., Технология бурения нефтяных и газовых скважин., 2001 г.
Вадецкий Ю.В., Бурение нефтяных и газовых скважин, М., 1967 г.
Абрамов Г. С., Барычев А. В., Камнев Ю. М., Молчанов А. А., Сараев А. А., Сараев А.Н., Опыт эксплуатации перспективы развития забойных инклинометрических систем с электромагнитным каналом связи. Автоматизация, телемеханизация и связь в нефтяной промышленности», №1-2, 2001г.
Березин В.Л., Зиенко А.И., Минаев В.И./ Обзорная информация «Строительство предприятий нефтяной и газовой промышленности», серия «Механизация строительства», Выпуск 3, 1984 г.