Отбор пластового флюида с помощью опробователей пластов
1. Отбор пластового флюида с помощью опробователей пластов на кабеле и испытателей пластов на трубах.
Оценку промышленного значения пластов, выделенных по материалам геофизических исследований и геологическим данным, выполняют путем их опробования или испытания. В процессе опробования устанавливают характер насыщения, продуктивные характеристики пластов, отбирают пробы пластового флюида. Повысить эффективность опробования можно путем проведения испытаний скважины в процессе бурения по мере вскрытия перспективных объектов до спуска обсадной колонны и ее цементирования.
На практике опробование в необсаженных скважинах проводят с помощью опробователей пластов на кабеле или испытателей пластов на бурильных трубах.
Опробователь пластов на кабеле. Опробователь пластов опускают в скважину на кабеле и устанавливают против заданного интервала. Принцип работы прибора следующий.

Рис. 1. Принципиальная схема опробователя пласта типа ОПО с применением кумулятивного заряда
По команде с поверхности выдвигается рычаг прижимного устройства (рис. 1); герметизирующий элемент прибора 1 — башмак со значительным усилием прижимается с помощью прижимного устройства 2 к стенке скважины и изолирует небольшой участок пласта от бурового раствора 4 в стволе скважины.
По следующей команде баллон, находящийся в приборе, соединяется с изолированным участком пласта. Давление воздуха в баллоне равно атмосферному. Так как пластовое давление значительно превышает атмосферное, то возникает поток флюида из пласта в баллон.
После заполнения баллона проба герметизируется, убираются рычаги прижимного устройства. Для беспрепятственного подъема прибора на поверхность давление на участке стенки скважины под герметизирующим башмаком уравновешивается с гидростатическим давлением в стволе скважины.
Для создания дренажного канала может быть использован кумулятивный заряд КМ. В обсаженных скважинах такой заряд необходим для создания канала в металлической колонне и цементном камне. При взрыве кумулятивного заряда образуются газы сложного состава, которые попадают в баллон и затрудняют выполнение компонентного анализа газов, отобранных из пласта. Поэтому в большинстве случаев в необсаженных скважинах пробы флюида отбираются без выстрела кумулятивного заряда.
При исследовании неглубоких скважин (структурно-поисковых, гидрогеологических, углеразведочных) открытие и закрытие прижимного устройства и клапана пробосборника осуществляются механическим устройством, приводимым в действие управляющим штоком. Перемещается шток с помощью реверсивного электродвигателя через редуктор.
При исследовании нефтяных и газовых скважин механические операции (перемещение прижимных башмаков, открытие и закрытие клапана пробосборника) осуществляются с помощью давления гидростатического столба жидкости в скважине.
Аппаратура АИПД-7-10 позволяет проводить многократное (до 25 раз) определение притока и измерение пластового давления без подъема прибора на поверхность.
Приток пластового флюида из пласта в баллон возникает за счет большего перепада давлений. Создаваемая депрессия воздействует на окружающие горные породы и оказывает существенное влияние на характер отбираемой пробы. Поток пластового флюида при больших депрессиях выносит частицы горной породы, способствует очистке прискважинной зоны пласта, удалению глинистой корки со стенок скважины. Кроме того, при большой депрессии создается область дегазации в зоне возмущения, и это позволяет даже при наличии глубокого проникновения фильтрата бурового раствора в пласт извлекать углеводороды из остаточного пластового флюида и за счет этого получать информацию о характере насыщения пласта. Однако при исследовании пластов с неглубоким проникновением раствора информация о характере насыщения пласта получается более надежной.
Для анализа получаемых результатов используют индикаторные диаграммы притока и давления; контрольные замеры давления в баллоне; данные анализа отобранной пробы.
В отобранной пробе измеряют объем газа, воды, нефти. Определяют компонентный состав газа, плотность, вязкость, люминесцентную характеристику флюида, удельное сопротивление воды, фракционный состав нефти.
Диаграммы давления позволяют выделить в разрезе проницаемые и непроницаемые пласты (рис. 2).

Рис. 2. Типичные диаграммы давлений (по П. А. Бродскому). 1 — отбор жидкости из ствола скважины (контрольная проба; отбор из пласта: 2 — 0. высокой проницаемостью, приток жидкости (пластовая вода, фильтрат, нефть с низким газовым фактором); 3 — с низкой проницаемостью; 4 — непроницаемого; 5 — с высокой проницаемостью, приток газа; 6 — с высокой проницаемостью, приток нефти с большим газовым фактором; />0> — стандарт-сигнал
Эти материалы могут дать также предварительную информацию о характере насыщения.
При неглубоком проникновении фильтрата бурового раствора в пласт интерпретация результатов опробования затруднений не вызывает. Состав пробы соответствует характеру насыщения пласта. Глубокое проникновение искажает картину. В этих случаях фильтрат раствора и пластовую воду различают по данным химического анализа и удельному сопротивлению пробы. Характер насыщения оценивают по составу и количеству газа, поступившего в пробу из зоны с остаточным нефтенасыщением.
Для оценки влияния зоны проникновения отбирают пробы из пластов с известным насыщением. По этим пробам уточняют газовый фактор, влияние условий вскрытия пласта на состав газа.
Достаточный признак нефтенасыщенности пласта — наличие нефти в отобранной пробе, газоносного пласта — наличие конденсата или существенно большой газовый фактор. При больших размерах зоны проникновения рассматривается компонентный состав газа. Для нефтеносных пластов содержание метана в газах пробы менее 70%; присутствуют тяжелые углеводороды. Для газоносных пластов содержание метана более 80% мало тяжелых углеводородов.
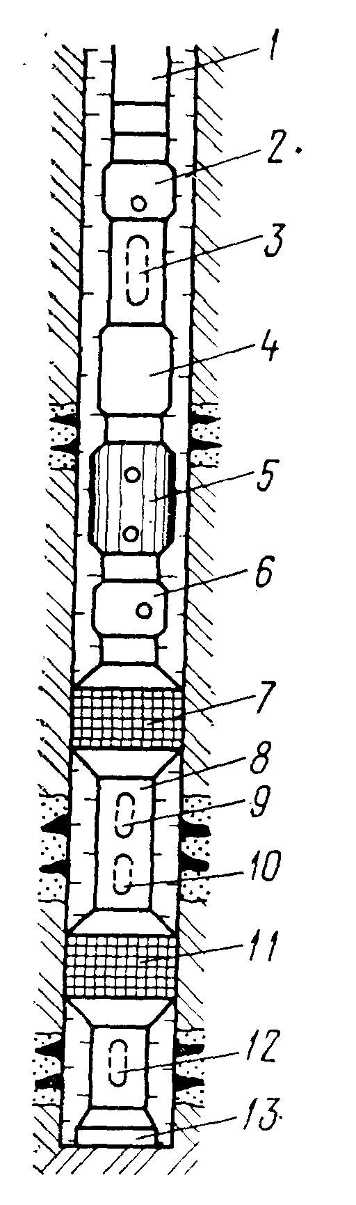
Испытатель пластов на трубах. Предназначен для проведения испытаний в стволе скважины в процессе бурения. Испытатель пластов спускают в скважину на бурильных трубах и устанавливают против исследуемого интервала. При помощи пакерующего устройства этот интервал перекрывается в стволе скважины, что позволяет изолировать его от гидростатического давления, создаваемого буровым раствором. После этого открывается впускной клапан и затрубное пространство, ограниченное пакерами, сообщается с полостью бурильных труб. Бурильные трубы частично заполнены буровым раствором или пустые. Под действием перепада давлений бурильные трубы заполняются пластовым флюидом и поднимаются на поверхность. Процесс заполнения регистрируется глубинными манометрами.
Основные узлы прибора показаны на рис. 3.

Рис 3. Схема компоновки испытателя пласта на трубах с опорой на забой.
1-бурильная труба; 2-циркуляционный клапан; 3,10,12-манометры; 4-запорный клапан; 5-испытатель пласта с пробоотборником; 6-ясс; 7,11-пакеры; 8-фильтр; 9-автономный пробоотборник; 13-опорный башмак.
Узел опоры предназначен для удержания испытателя на заданной глубине. Пакеры, механические или гидравлические, служат для изоляции интервала испытания. Они представляют собой массивные резиновые цилиндрические элементы с металлической основой. Фильтр служит для механической очистки поступающего флюида от частиц горных пород и шлама. Испытатель пласта (один из основных элементов) представляет собой сложную гидромеханическую систему клапанов, обеспечивающих уравнение давлений, необходимое при спуске-подъеме прибора, и процесс испытания. Запорный клапан изолирует полость бурильных труб от подпакерного пространства. Ясс гидравлический (гидромеханический узел) срабатывает при превышении расчетных растягивающих усилий и предназначен для освобождения прихваченного инструмента.
В процессе испытания с помощью глубинных манометров снимают диаграммы изменения давлений; характер изменения давлений показан на рис. 4.

Рис. 4. Определение пластового давления р>пл> по результатам испытания пласта на трубах.
а — схематическое изображение изменения давления в процессе испытания:
б — обработка кривой с целью определения пластового давления
р\—рг — рост гидростатического давления в процессе спуска прибора в скважину; р>2>—р'г— давление равно гидростатическому; р>2>—рз — резкое уменьшение давления в момент срабатывания впускного клапана и соединения межпакерного пространства с полостью бурильных труб;
Р>3> —р'>3> — увеличение давления в процессе притока пластового флюида;
Р>3> — Р>пл> — период восстановления давления, запорный клапан закрыт, межпакерное пространство изолировано от полости бурильных труб, давление возрастает и приближается к пластовому р>пл>; Р>пл> — Р’’>2> — открывается уравнительный клапан, давление в межпакерном пространстве равно гидростатическому; Р’’>2>—р’ >1> — снижение давления в процессе подъема инструмента на поверхность.
Исследования, проводимые испытателем пластов, позволяют не только определить характер насыщений исследуемого интервала, но и оценить параметры пласта, в частности, найти эффективную мощность коллектора h>эф>, вычислить пластовое давление р>пл>, коэффициенты проницаемости k>эф>, гидропроводности.
Эффективную мощность коллектора определяют по материалам геофизических исследований.
2. Каротажные подъемники. Спуск-подъем скважинных приборов.

Рис. 5. Схема размещения оборудования в самоходном подъемнике.
/ — шасси автомобиля; 2 — кузов; 3 — кресло лебедчика; 4 — рычаг переключателя коробки передач; 5 — рычаг ручного тормоза барабана лебедки; 6 — рукоятка корректора кабелеукладчика; 7 — пульт лебедчика; 8 — лебедка с кабелем
Подъемник представляет собой самоходную установку, смонтированную в специальном металлическом кузове на шасси автомобиля повышенной проходимости.
Спуск и подъем приборов осуществляют с помощью лебедки, установленной в кузове подъемника, на барабан которой намотан кабель. Барабан лебедки выполнен из немагнитного материала. Он имеет радиальное отверстие, через которое пропускается кабель для геофизических работ. Броня кабеля в большинстве подъемников крепится на оси барабана. Токоведущие жилы кабеля подсоединяются к коллектору. Выбор автомашины, емкость лебедки и ее конструктивные особенности определяются глубиной исследования и типом кабеля.
Кузов подъемника (рис. 5) разделен на два отделения. Передняя часть, примыкающая к кабине автомобиля, отведена под кабину лебедчика. Здесь установлен пульт управления лебедкой 7, контрольные приборы, силовой блок энергопитания, дублеры рычагов управления автомашины 4, рычаги управления лебедкой 5 и 6.
Во втором отделении установлена лебедка с кабелем 8. При необходимости в нем могут быть размещены бензоэлектрический агрегат или стационарный контейнер для транспортировки источников радиоактивного излучения. Здесь же перевозят грузы, скважинные приборы, блок-балансы. Для спуска прибора в скважину в торцевой части кузова предусмотрена широкая дверь.
Отделения разделены перегородкой с широким смотровым окном, через которое лебедчик наблюдает за процессом спуска-подъема кабеля в скважину, укладки кабеля на барабан лебедки. Тяговое усилие на барабан лебедки передается от двигателя автомобиля через механизм сцепления и коробку отбора мощности, карданную передачу, двухскоростной редуктор и двухрядную цепь.
Изменение скорости движения кабеля и величины тягового усилия осуществляется регулированием числа оборотов двигателя, переключением передаточных отношений в коробке передач автомобиля и в двухскоростном редукторе. Для плавного спуска кабеля и установки его на заданной глубине лебедка снабжена ленточным тормозом с ручным и пневматическим управлением. Лебедка оборудована полуавтоматическим кабелеукладчиком и маслонаполненным коллектором с металлическими щетками для соединения жил кабеля со схемой лаборатории.
В кабине лебедчика в подъемнике установлены приборы для измерения скорости движения и натяжения кабеля, глубины спуска прибора, световой сигнализации и двусторонней переговорной связи со скважиной и лабораторией, приборы для освещения кузова и устья скважины. Питание всех приборов осуществляется напряжением ПО В. Энергопитание на подъемник подается от промысловой сети через силовой блок, рассчитанный на напряжение 110, 210 и 380 В. При отсутствии промысловой сети подъемник может питаться от бензоэлектрического агрегата типа АБ-2, дающего напряжение 220 В.
Техническая характеристика промыслово-геифизических подъемников, используемых на производстве, дана в табл. 1.
Таблица 1

При проведении геофизических исследований необходимо контролировать перемещение скважинного прибора, т.е. знать глубину нахождения и скорость перемещения прибора, нагрузку на кабель. Кроме того, необходимо согласовывать перемещение прибора по стволу скважины с протяжкой диаграммной бумаги. Эти задачи решают путем применения блок-баланса с датчиками глубины и натяжения, а также сельсинной передачи.
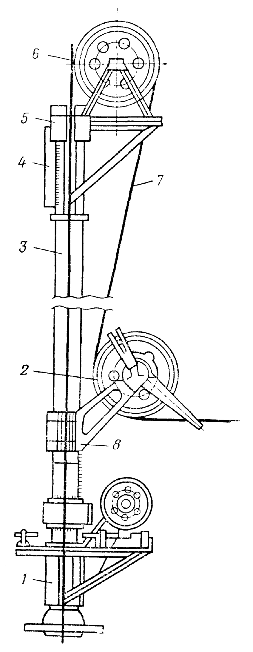
Блок-баланс с роликом служит для направления кабеля в скважину и может быть установлен на стволе ротора — рамочный блок-баланс (рис. 6, а); он может быть также подвешен над устьем скважины на крюке буровой лебедки — подвесной блок-баланс (рис. 6,б).

При работе с рамочным блок-балансом подставку 2 устанавливают на роторе над устьем скважины и прижимают к столу ротора буровым инструментом. Для предотвращения горизонтального смещения снизу к подставке приваривают поперечную планку, упирающуюся во вкладыш ротора.
При отсутствии ротора, а также при работах через буровые или компрессорные трубы применяют блок-баланс, в котором подставка заменена патрубком с кронштейном. Патрубок снабжен резьбой под муфту обсадной колонны или фланцем, который затем крепят к фланцу обсадной колонны.
С помощью роликов 3, За обычно определяют длину опущенного в скважину кабеля. Для этого длину окружности ролика выбирают такой, чтобы за 1 оборот через него проходило определенное количество кабеля, примерно 1,5 или 2 м. С роликом шестеренчатой передачей связаны счетчик, показывающий количество опущенного кабеля, и сельсин-датчик. Соотношение зубьев в шестеренчатой передаче таково, что при прохождении 1 м кабеля через ролик блок-баланса ротор сельсиндатчика делает 4 оборота.
В промыслово-геофизических станциях при исследовании скважин к сельсин-датчику, установленному на блок-балансе, подключают три сельсин-приемника, которые посредством шестеренчатых передач приводят в обращение счетчик глубин в кабине лебедчика, счетчик глубин на контрольной панели в лаборатории, лентопротяжный механизм регистратора.
Для более точного определения глубин кабель промеряют мерной лентой и на нем через 20—50 м устанавливают метки. Кабель промеряют в условиях, приближенных к скважинным. На блок-балансе устанавливают меткоуловитель, отмечающий момент прохождения меток и передающий соответствующие сигналы на регистратор.
Для определения натяжения кабеля при спуско-подъемных операциях ось и опору ролика рамочного блок-баланса смещают относительно друг друга. Это смещение определяет длину малого плеча рычага, равного в блок-балансах тяжелого типа 8 мм. Второе плечо длиной 330 мм образуется продолжением щеки от точки опоры до места крепления с динамометром пружинного типа. Конец плеча соединен с подвижным контактом реостата,являющегося датчиком натяжения кабеля. Сила, действующая в этом случае на динамометр, равна примерно 1/30 фактического натяжения кабеля в скважине.
В подвесном блок-балансе на тензодатчика, который устанавливают в месте крепления подвесного ролика к крюку бугрузку на кабель измеряют с помощью ровой лебедки. В этом случае сила, действующая на датчик натяжения, равна 1/2 фактического натяжения кабеля в скважине.
Показания динамометра с помощью датчиков натяжений передаются на измерительные приборы, установленные на контрольной панели в кабине лебедчика и в лаборатории станции. На контрольной панели, помимо указателя натяжения кабеля, размещены указатели скорости движения кабеля и счетчик глубины.
Ряд геофизических работ, особенно при исследовании эксплуатационных скважин или скважин, осложненных высокими пластовыми давлениями, проводятся при герметизации устья скважины с помощью лубрикаторов. На рис. 7 изображен лубрикатор ВНИИ марки Л-4, установленный на фланце арматуры скважины.

Рис. 7. Общий вид лубрикатора Л-4.
1 — основание; 2 — мерный ролик; 3 — приемная камера; 4 — кронштейн; 5 — сальник; 6 — верхний ролик; 7 — кабель; 8 — червячное колесо с кронштейном для установки приемной камеры
Скважинный прибор на кабеле вводят вначале в приемную камеру лубрикатора, а затем, открыв подлубрикаторную задвижку, спускают в скважину. Ввод кабеля в лубрикатор герметизируется сальником. Имеются лубрикаторы различных типов, применяемые при разных давлениях в скважине. Для работы с герметизированным устьем используют также устьевые сальники.
Библиографический список:
1. Добрынин ВМ., Вендельштейн БЮ., Пезванов РА., Африкян АН., Промысловая геофизика. М.: Недра, 1986
2. Итенберг С.С., Интерпретация результатов каротажа скважин. М.: Недра, 1978.