Открытые горные работы (работа 2)
Основные процессы открытых горных работ
Подготовка горных пород к выемке
Погрузка горной массы в транспортные средства
Транспортировка горной массы
Отвалообразование
Основные элементы карьера
Месторождение (или часть), разрабатываемая карьером, называется карьерным полем. Оно разделяется в процессе разработки на горизонтальные слои. Каждый вышележащий слой отрабатывается с опережением по отношению к нижележащему. В результате этого слои приобретают ступенчатую (уступную) форму. Слой толщи горных пород, разрабатываемый самостоятельными средствами выемки и транспорта, называют уступом. Иногда уступ разделяют по высоте на подуступы, которые разрабатываются самостоятельными средствами выемки, но обслуживаются общим для всего уступа транспортом.
Основными элементами уступа являются: верхняя и нижняя площадки, откос, угол откоса бровки уступа и забой уступа (рис. 27.1). Верхняя горизонтальная часть поверхности уступа называется верхней площадкой, а нижняя — нижней площадкой.
Площадки уступа ограничивают уступ по высоте. Откос уступа — наклонная (иногда вертикальная) плоскость, ограничивающая уступ от выработанного пространства. Угол, образуемый откосом уступа и горизонтальной плоскостью, называется углом откоса уступа. Линии пересечения откоса уступа с верхней и нижней площадками называются соответственно верхней и нижней бровками уступа.
Расстояние по вертикали между нижней и верхней площадками называют высотой уступа. Она выбирается с учетом физических свойств разрабатываемых пород и применяемого оборудования. Угол откоса уступа определяется устойчивостью горных пород и изменяется в широких пределах — от 40 до 80°.
Часть уступа по его длине, подготовленная для разработки, называется фронтом работ уступа. Суммарная протяженность фронта работ уступов составляет фронт работ карьера.
Площадки уступа, на которых располагают выемочное оборудование (буровое, добычное, транспортное), называют рабочими площадками (рис. 27.2). В отличие от рабочих не рабочие площадки оставляются с целью повышения устойчивости откосов карьера.
Поверхность уступа, являющаяся объектом горных работ и перемещающаяся в результате этих работ, называется забоем уступа . Им, как правило, является его торец. В отдельных случаях забоем уступа может быть его откос или верхняя рабочая площадка.
В результате перемещения забоя производится отработка горных пород в виде полос, называемых заходками.
Часть заходки по ее длине, разрабатываемая самостоятельными средствами отбойки и погрузки, называют блоком.

Боковые поверхности, ограничивающие карьер, называют бортами карьера. Различают рабочий и нерабочий борта карьера. Рабочим называют борт, на котором ведутся горные работы, а нерабочим — борт, на котором горные работы уже не производятся. Нижнюю, обычно горизонтальную, поверхность карьера называют дном карьера.
При решении вопроса о выборе способа разработки, а также определении целесообразной конечной глубины карьера производят технико-экономические расчеты, при которых используют такой показатель, как коэффициент вскрыши. Последний представляет отношение количества пустых (вскрышных) пород, удаляемых при открытой разработке месторождений, к единице добытого полезного ископаемого. Используя этот показатель, а также учитывая стоимостные показатели добычи полезного ископаемого подземным и открытым способом, можно определить целесообразность применения открытого способа разработки.
Коэффициент крепости по шкале Протодьяконова
|
Категория |
Степень крепости |
Порода |
f |
|
I |
В высшей степени крепкие породы |
Наиболее крепкие, плотные и вязкие кварциты и базальты. Исключительные по крепости другие породы. |
20 |
|
II |
Очень крепкие породы |
Очень крепкие гранитовые породы: кварцевый порфир, очень крепкий гранит, кремнистый сланец, менее крепкие, нежели указанные выше кварциты. Самые крепкие песчаники и известняки. |
15 |
|
III |
Крепкие породы |
Гранит (плотный) и гранитовые породы. Очень крепкие песчаники и известняки. Кварцевые рудные жилы. Крепкий конгломерат. Очень крепкие железные руды. |
10 |
|
IIІа |
То же |
Известняки (крепкие). Некрепкий гранит. Крепкие песчаники. Крепкий мрамор, доломит. Колчеданы. Обыкновенный песчаник. |
8 |
|
IV |
Довольно крепкие породы |
Железные руды. Песчанистые сланцы. |
6 |
|
IV |
То же |
Сланцевые песчаники |
5 |
|
V |
Средние породы |
Крепкий глинистый сланец. Некрепкий глинистый сланец и известняк, мягкий конгломерат |
4 |
|
|
|
Разнообразные сланцы(некрепкие). Плотный мергель |
3 |
|
VI |
Довольно мягкие породы |
Мягкий сланец, очень мягкий известняк, мел, каменная соль, гипс. Мерзлый грунт: антрацит. Обыкновенный мергель. Разрушенный песчаник, сцементированная галька и хрящ, каменистый грунт |
2 |
|
VIa |
То же |
Крепкий каменный уголь |
1,5 |
|
VII |
Мягкие породы |
Глина (плотная). Мягкий каменный уголь, крепкий наносо-глинистый грунт |
1 |
Протодьяконов предполагал положить подобную классификацию в основу оценки труда рабочего при добыче угля и руд, нормирования труда. Он полагал, что при любом методе разрушения породы и способе её добычи, возможно оценить породу по усредненному коэффициенту добываемости. Если один из двух типов пород более трудоемок при разрушении, например, энергией взрыва, то порода будет более крепкой при любом процессе её разрушения, например, зубком комбайна, кайлом, лезвием головки бура при бурении и т.д.
При разработке подобной шкалы М.М. Протодьяконов ввел понятие крепость горной породы. В отличие от принятого понятия прочность материала, оцениваемой по одному из видов напряженного её состояния, например, временном сопротивлении на сжатие, на растяжение, на кручение и т.д., параметр крепость позволяет сравнивать горные породы по трудоемкости разрушения, по добываемости. Он полагал, что с помощью этого параметра возможно оценить совокупность действующих при разрушении породы различных по характеру напряжений, как это имеет место, например, при разрушении взрывом.М.М. Протодьяконов разработал шкалу коэффициента крепости породы. Одним из методов определения этого коэффициента было предложено испытание образца породы на его прочность на сжатие в кг/см2, а значение коэффициента определялось как одна сотая временного сопротивления на сжатие.
Этот метод достаточно хорошо коррелирует со шкалой крепости, предложенной М.М.Протодьяконовым для пород различной крепости угольной формации, пород средней крепости, но мало пригоден при определении этим методом коэффициента крепости очень крепких пород. Шкала крепости ограничивается коэффициентом 20, т.е. породами с временным сопротивлении на сжатие 2000 кг/см2, а у сливного базальта, например, этот параметр равен 3000 кг/см2. Тем не менее, в Советском Союзе шкала крепости М.М. Протодьконова имела широкое применение при оценке трудоемкости разрушения горной породы и используется до настоящего времени. Она удобна для относительной оценки крепости горной породы при ее разрушении при помощи буровзрывных работ.Метод относительной оценки горной породы по крепости, трудоемкости при её разрушении имеет, как отмечалось многими, недостатки, за рубежом им не пользуются, но без него не обходятся в технической литературе Советского Союза и России.Коэффициент крепости пород по М.М.Протодьяконову в системе СИ рассчитывается по формуле: fкр = 0.01σсж, где σсж - предел прочности на одноосное сжатие [МПа].
Бурение - процесс сооружения горной выработки цилиндрической формы — скважины, шпура или шахтного ствола — путём разрушения горных пород на забое, бурение осуществляется, как правило, в земной коре, реже в искусственных материалах (бетоне, асфальте и др.). В ряде случаев процесс бурения включает крепление стенок скважин (как правило, глубоких) обсадными трубами с закачкой цементного раствора в кольцевой зазор между трубами и стенками скважин.
Скважина: горная выработка круглого сечения, пробуренная с поверхности земли или с подземной выработки без доступа человека к забою под любым углом к горизонту, диаметр которой много меньше ее глубины. Бурение скважин проводят с помощью специального бурового оборудования. По назначению скважины подразделяются на: разведочные, эксплуатационные, нагнетательные, вспомогательные, специальные, взрывные, опорные, параметрические, поисковые. Шпур: искусственное цилиндрическое углубление в твёрдой среде (горной породе) диаметром до 75 мм и глубиной до 5 м. Создаются и применяются для размещения зарядов при взрывных работах, для установки анкерной крепи, нагнетания воды или цемента в окружающий массив горных пород и т. п.
Классификация способов бурения. По характеру разрушения породы, применяемые способы бурения делятся на: механические — буровой инструмент непосредственно воздействует на горную породу, разрушая её, и немеханические — разрушение происходит без непосредственного контакта с породой источника воздействия на неё (термическое, взрывное и др.).
Механические способы бурения подразделяют на вращательные и ударные (а также вращательно-ударные и ударно-вращательные). При вращательном бурении порода разрушается за счёт вращения прижатого к забою инструмента. В зависимости от прочности породы при вращательном бурении применяют буровой породоразрушающий инструмент режущего типа; алмазный буровой инструмент; дробовые коронки, разрушающие породу при помощи дроби. Ударные способы бурения разделяются на: ударное бурение или ударно-поворотное (бурение перфораторами, в том числе погружными, ударно-канатное, штанговое и т.п., при которых поворот инструмента производится в момент между ударами инструмента по забою); ударно-вращательное (погружными пневмо- и гидроударниками, а также бурение перфораторами с независимым вращением и т.п.), при котором удары наносятся по непрерывно вращающемуся инструменту; вращательно-ударное, при котором породоразрущающий буровой инструмент находится под большим осевым давлением в постоянном контакте с породой и разрушает её за счёт вращательного движения по забою и периодически наносимых по нему ударов. Разрушение пород забоя скважины производится по всей его площади (бурение сплошным забоем) или по кольцевому пространству с извлечением керна (колонковое бурение). Удаление продуктов разрушения бывает периодическое с помощью желонки и непрерывное шнеками, витыми штангами или путём подачи на забой газа, жидкости или раствора. Иногда бурение подразделяют по типу бурового инструмента (шнековое, штанговое, алмазное, шарошечное и т.д.); по типу буровой машины (перфораторное, пневмоударное, турбинное и т.д.), по методу проведения скважин (наклонное, кустовое и т.д.). Технические средства бурения состоят в основном из буровых машин (буровых установок) и породоразрушающего инструмента. Из немеханических способов получило распространение для бурения взрывных скважин в кварцсодержащих породах термическое бурение, ведутся работы по внедрению взрывного бурения.
Схема параметров БВР

На большинстве карьеров и в разнообразных условиях применяют скважинные заряды. К основным параметрам взрывных скважин относятся глубина, диаметр и угол наклона (рис. 6.5).Глубина скважины l>c >определяется высотой взрываемого уступа Ну, углом наклона скважины к горизонту а и величиной перебура скважины l>n> ниже отметки подошвы уступа. Перебур необходим для качественного разрушения пород в подошве уступа. Забойка скважины должна быть плотной, а ее длина l3 — достаточной для предотвращения утечек продуктов взрыва, выброса породы и образования сильной ударной воздушной волны. Для забойки используют буровую мелочь, песок с размерами частиц до 50 мм. Различают горизонтальные, наклонные и вертикальные скважины. В основном в настоящее время применяют вертикальные скважины. Заряд ВВ в скважине может быть сплошным или рассредоточенным, а расположение скважин в пределах взрываемого блока — однорядным и многорядным.
Виды забоев экскаваторов
Выемка и погрузка горных пород — отделение от массива мягкой или предварительно разрыхленной крепкой породы с последующей погрузкой в средства транспорта или непосредственно в отвал. В качестве основных средств механизации используются экскаваторы, в этом случае выемка и погрузка сливаются в один процесс — выемочно-погрузочные работы.
Экскаватор — самоходная машина цикличного или непрерывного действия. Они могут быть одноковшовые и многоковшовые. Экскаваторы цикличного действия (одноковшовые) последовательно выполняют операции копания и перемещения горной массы в ковше, поворачиваясь вокруг своей оси.
Многоковшовые экскаваторы непрерывного действия (цепные, роторные) производят выемку и погрузку горной массы в результате перемещения ковшей по круговой траектории. Важнейшие типы одноковшовых экскаваторов — прямая и обратная механическая лопата и драглайн.
Рабочее место экскаватора называется забоем. Геометрические размеры и форма забоя различны и зависят от типа рабочего оборудования, экскаватора, его рабочих параметров, размеров земляного сооружения, видов транспорта и принятой схемы разработки грунта. По мере разработки грунта в забое экскаватор перемещается, оставляя разработанные участки, называемые проходками. Очень важное значение имеет правильный выбор забоя. Высота забоя также принимается не по максимальной высоте резания, а из условия наполнения ковша за одно черпание. Высоту забоя можно принимать и с превышением высоты, необходимой для наполнения ковша. В этом случае при разработке сыпучих грунтов черпание производят у подошвы забоя, подбирая осыпающийся грунт из верхней части забоя. Если грунт не осыпается, то забой разрабатывается по частям — сначала верхняя часть (на глубину двух-трех стружек), а затем нижняя часть забоя и т. д. Если в процессе экскавации происходит осыпание грунта (при разработке сыпучих и мелкорваных пород), высота забоя прямой лопаты может незначительно превышать максимальную высоту резания. Такое превышение допускается и для плотных грунтов, но при условии принятия мер своевременного обрушения козырьков, образующихся в верхней части забоя. Таким образом, для получения высокой производительности труда размеры забоя следует принимать по оптимальным рабочим параметрам экскаватора с учетом всех условий производства работ на площадке. Оптимальные рабочие параметры обычно устанавливаются для каждого типа экскаватора. Экскаваторы с прямой лопатой разрабатывают грунт выше уровня стоянки экскаватора. Небольшие модели этих экскаваторов могут разрабатывать грунт и ниже уровня стоянки, но на незначительную глубину, что используется лишь для устройства съездов в котлован.

Рис 6.7. Одноковшовые экскаваторы:
а — прямая лопата; 6—обратная лопата; в—драглайн

Рис. 6.8. Цепной (а) и роторный (б) экскаваторы
У механической лопаты ковш жестко скрепляется с рукоятью. У драглайна ковш подвешивается к стреле на стальном канате. Из экскаваторов с жесткой связью наиболее широко применяются экскаваторы карьерные гусеничные ЭКГ-4.6Б (5А), ЭКГ-8и, ЭКГ-12,5, ЭКГ-20, а также гидравлические (прямая и обратная лопаты) ЭГ-8, ЭГ-12 и ЭГ-20. Особенность гидравлических экскаваторов — использование гидропривода рабочего оборудования, поворотной платформы и механизма хода. Гидропривод обеспечивает одновременную подвижность стрелы, рукояти и ковша, большее усилие копания. Экскаваторы вскрышные гусеничные (ЭВГ) типа ЭВГ-35/65, ЭВГ-15/40, ЭВГ-100/100 имеют стрелу и рукоять увеличенной дойны и предназначены в основном для непосредственного перемещения породы в отвал. Передвижение всех экскаваторов осуществляется за счет гусеничного хода. Из экскаваторов с канатной связью широкое применение имеют драглайны. Драглайны — шагающие экскаваторы типа ЭШ-10/60, ЭШ-15/90, ЭШ-100/100 — используются на карьерах для перевалки пород вскрыши в выработанное пространство, из забоев, расположенных как ниже, так и выше горизонта установки экскаватора. Выпускаются шагающие драглайны с ковшом вместимостью от 4 до 120 м3 и длиной стрелы до 125м.Важнейшими типами многоковшовых экскаваторов являются цепные и роторные (рис. 6.8).
Цепные многоковшовые экскаваторы имеют рабочий орган — ковшовую раму, которая служит для направления цепи с ковшами. Рама одним концом шарнирно закреплена на корпусе, а другой ее конец подвешен на укосине и полиспастах. Выемка породы в забое производится ковшами, которые прижимаются к забою весом рамы.
Емкость ковшей изменяется от 250 до 4500 л. Производительность экскаваторов составляет от 800 до 10 000 м3/ч. Передвижение осуществляется за счет железнодорожного, гусеничного или шагающего хода.
Роторные экскаваторы типа ЭР-25, ЭР-100 и другие имеют рабочий орган в виде роторного колеса диаметром от 2,5 до 18 м с ковшами, установленными на конце стрелы. Число ковшей на роторе изменяется от 6 до 12, а емкость ковшей от 300—800 до 4000—8000 л.
Экскаваторы бывают небольшой (до 630 м3/ч), средней (630 —2500 м*ч), большой производительности (2500—5000 м3/ч), сверхмощные — производительностью свыше 5000 м3/ч. Один из мощных современных экскаваторов — ЭРГ-1600 40/10-31 производительностью до 4500 м3/ч, или 100 тыс. м3/сут.
Технологическая характеристика транспорта
Карьерный транспорт — это комплекс средств перемещения горной массы (вскрыши и полезного ископаемого) от забоев до пунктов разгрузки. Он является связывающим звеном в общем технологическом процессе и одним из наиболее трудоемких и дорогих.
Затраты на транспортирование и связанные с ним вспомогательные работы составляют 45—50 %, а в отдельных случаях 65—70 % общих затрат на добычу полезного ископаемого. Существуют понятия грузооборот и грузопоток.
Грузооборотом называется количество полезного ископаемого (в тоннах или в м3), перемещаемого в единицу времени. Под грузопотоком понимается поток грузов, характеризуемый направлением относительно контуров карьера.
На открытых горных работах используются почти все известные виды и технические средства перемещения грузов. Наибольшее распространение получил железнодорожный, автомобильный и конвейерный транспорт, а также комбинированный. В ограниченных условиях эффективно применение скиповых подъемников, канатно-подвесных дорог, гидравлического трубопроводного транспорта, конвейерных поездов, вертолетов и других:
Железнодорожный транспорт рекомендуется применять на карьерах с большим годовым грузооборотом (25 млн. т и более) при длине транспортирования 4 км и более. Для железнодорожного транспорта необходимы большая протяженность фронта работ на уступах (не менее 300—500 м), кривые большого радиуса (не менее 100—120 м), небольшие подъемы и уклоны путей (до 20—30, реже 40—60 %). При использовании новейших тяговых агрегатов и уклонах путей до 60 % глубина применения железнодорожного транспорта увеличивается до 300—350 м.Средствами железнодорожного транспорта являются рельсовые пути и подвижной состав. Рельсовые пути на карьерах бывают стационарными и временными, периодически перемещаемыми вслед за продвижением фронта работ на уступах. Ширина колеи равна 1524 мм. Стандартная длина шпалы 2700 мм, рельса 12,5 и 25 м.
Основным типом рельсов являются Р-50 и Р-65, а также Р-75. Скорость движения на стационарных и временных путях составляет соответственно 30—40 и 15—20 км/ч. Технологический подвижной состав состоит из локомотивов и вагонов (рис. 6.10). В качестве локомотивов применяются электровозы, тепловозы, тяговые агрегаты.
Контактные электровозы Д-94, Д-100М, ЕЛ-1, 13Е-1 работают на постоянном токе напряжением 1500—3000 В. Тепловозы исключают наличие контактной сети, обладают высоким КПД, равным 24—26 %. Тяговые агрегаты ОПЭ-1, ОПЭ-2 — это сочетание электровоза управления, секции автономного питания (дизельной секции) и нескольких моторных думпкаров. Устраняется потребность в контактной сети на передвижных путях.
Для перевозки горной массы применяются думпкары ВС-60, ВС-105, ВС-180 — саморазгружающиеся вагоны с двухсторонней разгрузкой грузоподъемностью 60—105 и 180 т.

Рис. 6.10. Подвижной состав железнодорожного транспорта
Автомобильный транспорт применяется на карьерах малой и средней производственной мощности с грузооборотом до 15 млн. т в год. В последние годы область применяется значительно расширена (до 70 млн. т в год и более). Достоинства: гибкость, маневренность, независимость работы автосамосвалов,*радиусы поворота 15—25 м, подъем и уклоны до 80—120 %. Недостатки: более высокие затраты на транспортирование 1 т горной массы по сравнению с железнодорожным транспортом, зависимость от погодных условий.
Подвижной состав карьерного автотранспорта представлен автосамосвалами и полуприцепами. Наибольшее применение при транспортировании вскрыши получили автосамосвалы типа БелАЗ грузоподъемностью 40,75,110 и 180 т (рис. 6.11). Для транспортирования угля применяются углевозы — самосвалы типа БелАЗ грузоподъемностью 40 и 105 т и полуприцепы углевозы БелАЗ грузоподъемностью 120 т с донной разгрузкой.
Эффективность использования автотранспорта на карьерах в значительной степени зависит от схемы подъезда автосамосвала к забою и установки его у экскаватора. В зависимости от способа вскрытия рабочих горизонтов, размеров рабочих площадок, условий работы экскаваторов и числа автосамосвалов, находящихся одновременно в забое, применяют одиночную или спаренную установку их под погрузку (рис. 6.12). Автосамосвалы следует устанавливать так, чтобы обеспечить минимальный угол поворота экскаватора при погрузке. Спаренная установка автосамосвалов обеспечивает более высокую производительность экскаваторов.

Рис. 6.11. Автосамосвал БелАЗ-75211
Рациональное отношение емкости кузова автосамосвала V>a> к емкости ковша экскаватора E должно находиться в пределах 4—10. Основными параметрами карьерных автосамосвалов являются грузоподъемность, мощность двигателя, емкость кузова, колесная формула, минимальный радиус поворота. Колесная формула (например, 4—2) показывает, что всего колес 4, из них 2 ведущих. Срок службы шин 25—40 тыс. км. Срок службы автосамосвала 5—6 лет, их пробег за это время составляет 220— 300 тыс. км. При увеличении грузоподъемности автосамосвалов показатели их работы улучшаются.
Для передвижения автосамосвалов в карьер сооружаются стационарные и временные автодороги. Стационарные автодороги строятся в капитальных траншеях, на поверхности и соединительных транспортных бермах на длительный срок, имеют дорожное покрытие и двухполосное движение. Временные автодороги, сооружаемые на уступах и отвалах, периодически перемещаются вслед за подвиганием фронта работ и, как правило, не имеют дорожного покрытия. Ширина проезжей части двухполосных дорог для автосамосвалов грузоподъемностью 75—120 т составляет 14—15 м.
Конвейерный транспорт применяется преимущественно для перемещения мягких пород и угля, а также мелкораздробленных скальных пород. Достоинства: непрерывность и ритмичность перемещения грузов, использование на пересеченной местности, возможность полной автоматизации. Наиболее эффективен конвейерный транспорт при грузообороте 20—30 млн. т в год на карьерах глубиной более 150 м и расстоянии транспортирования 10—20 км. Наибольшее применение получили ленточные .конвейеры типа КЛШ-500, КЛШ-800, С-160 с шириной ленты от 1000 до 3600 мм и скоростью движения от 2 до 6 м/с.Ленточный конвейер (рис. 6.13). состоит из ленты /, роликовых опор 2, приводных барабанов 3> устройства для натяжения ленты 4У загрузочного устройства 5. Конвейерная лента является одновременно и грузонесущим, и тяговым органом. На открытых горных работах наибольшее применение получили резинотканевые многопрокладные ленты. Допустимый угол наклона конвейера зависит от физико-механических свойств транспортируемых пород и составляет 20— 22, 16—18 и 13—15° соответственно для разрыхленных, скальных пород и гравия. Размеры кусков не должны превышать 500 мм. Длина става конвейера с одним приводом составляет 400 —1500 м.

Рис. 6.13. Схема ленточного конвейера
Схема отвалообразования
Технологический процесс размещения пустых пород, удаляемых при разработке месторождений открытым способом, называется отвалообразованием. Отвалообразование вскрышных пород производится на специально отведенных для этих целей площадках, называемых отвалами. Отвалы в комплексе с техническими устройствами, средствами механизации составляют отвальное хозяйство карьеров.
Отвалы бывают внутренние и внешние. Внутренние отвалы располагаются в выработанном пространстве карьера, внешние — за его пределами. Внутренние отвалы возможны при разработке месторождения с углом падения не более 12°. Для перемещения породы во внутренние отвалы применяют мощные драглайны с вместимостью ковша 25—80 м3 и длиной стрелы до 100 м (ЭШ-25/100, ЭШ-80/100), механические лопаты с вместимостью ковша 35 м3 и длиной стрелы до 65 м (ЭВГ-35/65, ЭВГ-100/70).
Внешнее отвалообразование применяется при разработке наклонных и крутонаклонных месторождений. Для складирования пород при транспортировании их на внешние отвалы используются механические лопаты, драглайны, отвальные плуги, абзетцеры и бульдозеры. При транспортировании пород железнодорожным транспортом наиболее распространено отвалообразование экскаваторами ЭКГ-8и и ЭКГ-12,5 (рис. 6.15).
Технология отвалообразования следующая. Отвальный уступ Н>о> высотой от 10—15 до 20—40 м разделен на два подусту-па (Ai и hi). Экскаватор располагается на кровле нижнего подуступа на 4—7 м ниже кровли верхнего подуступа, на которой расположен железнодорожный путь. Порода разгружается из думпкаров в приемную яму длиной h = 20—25 м, глубиной кг = = 0,8—1,0 м и вместимостью 200—300 м3. Экскаватор переваливает эту породу в трех направлениях: вперед по ходу экскаватора, в сторону под отхос отвала и назад, создавая при этом заходку Ao, высота которой должна быть выше уровня железнодорожных путей на 0,5—1,0 м (Лз). При использовании на отвалах экскаваторов ЭКГ-8и ширина отвальной заходки (или шаг передвижных путей) практически составляет 30 м, а высота верхнего подуступа—7 м.
В качестве отвалообразующего механизма при доставке породы на отвалы автомобильным транспортом применяются бульдозеры на базе тракторов ДЭТ-250, Т-330 и Т-500, а в благоприятных рельефных условиях (глубокие овраги, балки) применяют драглайны ЭШ-10/70 и ЭШ-13/50.

Рис. 6.15. Схема Отвалообразования.
Вскрытие
Вскрытием карьерного поля называются горные работы по созданию комплекса капитальных и временных траншей и съездов, обеспечивающих грузотранспортную связь между рабочими горизонтами в карьере и приемными пунктами на поверхности. Рабочими горизонтами в карьере являются рабочие площадки уступов. Приемные устройства на поверхности — обогатительные фабрики, перегрузочные бункеры, склады, отвалы или станции. Траншеи и съезды оборудуются средствами транспорта.Совокупность всех вскрывающих выработок называется схемой вскрытия Вскрытие рабочих горизонтов карьеров осуществляется при помощи горных выработок — капитальными наклонными или крутыми траншеями и горизонтальными — разрезными, которые являются продолжением капитальных траншей и служат для подготовки месторождения к выемке, создавая начальный фронт работ на вскрытом уступе.Капитальные траншеи могут быть внешними и внутренними. Внутренние траншеи располагают внутри контура карьера; внешние — за пределами его контура. Вскрывающие траншеи имеют трапециевидное поперечное сечение. При разработке неглубоких горизонтальных или пологих месторождений при числе уступов не более трех применяют внешние траншеи.
ВСКРЫТИЕ ГОРИЗОНТАЛЬНЫХ И ПОЛОГИХ МЕСТОРОЖДЕНИЙ
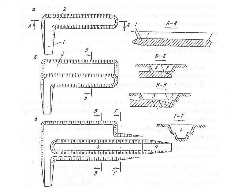
Этапы вскрытия при разработке горизонтальных и пологих месторождений включают обычно проведение одной или двух внешних капитальных траншей, разрезных траншей по вскрышным породам и по полезному ископаемому. После проходки разрезной траншеи по вскрышным породам отрабатывают две-три заходки и создают тем самым необходимое опережение вскрышных работ для проходки разрезной траншеи по полезному ископаемому. Последовательность развития работ при вскрытии горизонтального пласта показана на рис. 6.16.
Сначала (рис. 6.16, а) с поверхности до кровли пласта проводят наклонную капитальную траншею I. Затем горизонтальную разрезную траншею 2. Далее один борт траншеи разносят (рис. 6.16,6), освобождая рабочую площадку 3 (рис. 6.16, в), ширина которой должна обеспечить размещение оборудования и возможность проведения разрезной траншеи по пласту. После проведения второй капитальной траншеи 4, которая опускается на почву пласта, проводят разрезную траншею 5 по пласту, в результате создается фронт вскрышных и добычных работ.
ВСКРЫТИЕ НАКЛОННЫХ И КРУТЫХ МЕСТОРОЖДЕНИЙ
Вскрытие обычно осуществляется внутренними траншеями со сложной формой трассы, расположенной на нерабочих бортах траншеи.Работы по вскрытию ведутся в течение всего времени разработки: на каждом горизонте проводят подготовительные выработки (разрезные траншеи), удлиняют и совершенствуют систему капитальных и временных съездов.Если при разработке горизонтальных месторождений вскрывают сразу все горизонты и работы по вскрытию заканчиваются в период строительства карьера, то в данном случае они продолжаются до конца разработки месторождения. При крутом залегании пласта необходим разнос не одного, а обоих бортов разрезной траншеи. Вскрытие и подготовка очередного горизонта карьера с крутым залеганием пласта осуществляются следующим образом (рис. 6.17). Вначале с вышележащего горизонта проводятся наклонная капитальная траншея 1 и разрезная траншея 2 (рис. 6.17, а). Затем разрезную траншею проводят в обратном направлении (рис. 6.17, б), при этом капитальная траншея переходит в съезд 3 длиной /, то есть один ее борт срабатывается (рис. 6.17, в). При последующем расширении траншеи на новом горизонте образуется площадка, достаточная для размещения рабочего оборудования (рис. 6.17, г). Например, драглайн разрабатывает одну часть с размещением породы на один из бортов траншеи, а мехлопата — другую, с погрузкой в средства транспорта.


Рис 6.17. Вскрытие крутонаклонной залежи
Система разработки
СИСТЕМЫ ОТКРЫТОЙ РАЗРАБОТКИ
Системой открытой разработки называется определенный порядок выполнения во времени и пространстве подготовительных, вскрышных и добычных работ на уступах рабочих горизонтов. Существующие классификации систем разработки можно разделить на две группы:
• по способу производства вскрышных работ и по способу перемещения пород в отвалы;
• в зависимости от порядка ведения вскрышных и добычных работ, направления подвигания забоя и способа вскрытия.
Наиболее простой и распространенной является классификация первой группы, предложенная профессором Е.Ф. Шешко и академиком Н.В. Мельниковым. Главным классификационным признаком здесь послужил способ перемещения пустых пород. По этому признаку все системы разделяются на бестранспортные, транспортные и комбинированные.
БЕСТРАНСПОРТНЫЕ СИСТЕМЫ РАЗРАБОТКИ
Эти системы характеризуются тем, что породы вскрыши перемещаются экскаваторами или отвалообразователями во внутренние отвалы (рис. 6.18). При системе разработки с непосредственной экскаваторной перевалкой вскрыши (рис. 6.18, а) перемещение породы из забоя до отвала производится вскрышными экскаваторами, мехлопатами или драглайнами, которые одновременно являются также и отвальными экскаваторами.
При системе разработки с кратной экскаваторной перевалкой вскрыши (рис. 6.18, б) перемещение породы из забоя до отвала производится вскрышными и отвальными экскаваторами, работающими совместно.

Рис 6.18. Бестранспортные системы разработки
При системе разработки с перевалкой вскрыши отвалообразователями (рис. 6.18, в) перемещение породы из забоя до отвала производится консольными отвалообразователями и транспортно-отвальными мостами.
При всех бестранспортных системах порода перемещается поперек фронта работ, то есть по кратчайшему расстоянию. Поэтому эти системы просты и экономичны. Область применения — при пологих углах падения пластов (до 12°) и не слишком большой мощности. Для этих систем характерна жесткая связь между вскрышными и добычными работами, так как количество вскрываемых запасов ограничивается рабочими параметрами и мощностью вскрышных и отвальных машин.
ТРАНСПОРТНЫЕ СИСТЕМЫ РАЗРАБОТКИ
Эти системы характеризуются перевозкой вскрышных пород при помощи транспортных средств (рис. 6.19).
При системе разработки с перевозкой во внутренние отвалы (рис. 6.19, а) порода перемещается на сравнительно короткое расстояние по пути с благоприятным профилем, обычно без подъема в грузовом направлении. Система с перевозкой породы на внешние отвалы (рис. 6.19, 6) характеризуется перемещением вскрыши на значительные расстояния: 2—4 км для автотранспорта и до 10 км для железнодорожного транспорта. Порода перемещается на пути с подъемом в грузовом направлении. Система с перевозкой породы частично на внутренние и частично на внешние отвалы (рис. 6.19, в) имеет признаки первых двух систем этой группы.
Транспортные системы сложнее бестранспортных и менее экономичны. Они могут применяться при любых условиях залегания месторождения, поэтому получили широкое распространение. Здесь связь между подвиганием вскрышного и добычного фронта работ менее жесткая, в зависимости от потребностей можно вскрыть необходимое количество запасов.

Рис. 6.19. Транспортные системы разработки.
КОМБИНИРОВАННЫЕ СИСТЕМЫ РАЗРАБОТКИ
Эти системы сочетают признаки бестранспортных и транспортных систем разработки (рис. 6.20). По признаку относительного преобладания перевалки или перевозки выделяют систему с частичной перевозкой пустых пород во внутренние или внешние отвалы (рис. 6.20, а) и систему с частичной перевалкой пород во внутренние отвалы (рис. 6.20, б). Достоинства этой системы в том, что благодаря частичной перевозке породы, обычно с верхних уступов, расширяется возможность использования преимуществ бестранспортных систем разработки. Частичное применение перевалки породы во внутренние отвалы, обычно с нижних уступов карьера, позволяет улучшить показатели транс портных систем разработки, так как транспорт с нижних уступов наиболее трудный.
Относительная сложность и экономичность комбинированных систем разработки зависят от доли участия перевозки и перевалки. Чем больше объем породы будет разрабатываться по бестранспортной системе, тем экономичнее комбинированная система разработки.

Рис, 6.20. Комбинированные системы разработки