Проект разбуривания участка в районе деятельности БП "ТЮМЕНБУРГАЗ"
МИНИСТЕРСТВО ОБРАЗОВАНИЯ РОССИЙСКОЙ ФЕДЕРАЦИИ
УФИМСКИЙ ГОСУДАРСТВЕННЫЙ НЕФТЯНОЙ ТЕХНИЧЕСКИЙ УНИВЕРСИТЕТ
КАФЕДРА БУРЕНИЯ НЕФТЯНЫХ И ГАЗОВЫХ СКВАЖИН
Рецензент «К защите допущен»
___________________________
______________ Зав. кафедрой _______________________ профессор
ДИПЛОМНЫЙ ПРОЕКТ
ТЕМА: ПРОЕКТ РАЗБУРИВАНИЯ УЧАСТКА В РАЙОНЕ ДЕЯТЕЛЬНОСТИ БП «ТЮМЕНБУРГАЗ»
Спец. тема: «Аварии с обсадными колоннами»
КЛУШ. 111000.000
Выполнил: ст
Руководитель: доцент
Консультант по безопасности
и экологичности проекта: профессор
Консультант по экономической доцент
части
СОДЕРЖАНИЕ
СОДЕРЖАНИЕ
ВВЕДЕНИЕ
1. ГЕОЛОГО-ГЕОФИЗИЧЕСКАЯ ЧАСТЬ
2. ТЕХНОЛОГИЯ СТРОИТЕЛЬСТВА СКВАЖИНЫ
2.1 Проектирование конструкции скважины
2.2.1 Вскрытие продуктивного пласта
2.1.2 Обоснование числа обсадных колонн и глубины их спуска
2.1.2 Выбор диаметров обсадных колонн и долот
2.2 Выбор буровых растворов и их химическая обработка по интервалам
2.2.1 Обоснование параметров бурового раствора
2.2.2 Определение потребного количества бурового раствора и материалов для его приготовления
2.3 Выбор способа бурения
2.4 Расчет бурильной колонны
2.5 Выбор компоновок бурильного инструмента
2.6 Проектирование режима бурения
2.6.1 Разработка гидравлической программы проводки скважины
2.6.2 Расчет рабочих характеристик забойных двигателей
2.6.3 Составление проектного режима бурения
2.5 Расчет и выбор конструкции обсадных колонн, компоновка их низа и обоснование технологической оснастки.
2.5.1 Расчет построение эпюр внутренних и наружных избыточных давлений
2.5.2 Расчет и построение эпюр избыточных давлений
2.5.3 Выбор и расчет обсадных труб для эксплуатационной колонны.
2.5.4 Компоновка кондуктора и эксплуатационной колонны.
2.6 Цементирование эксплуатационной колонны
2.6.1 Расчет необходимого количества материалов.
2.6.2 Гидравлический расчет цементирования
2.6.3 Контроль качества цементирования
3. ТЕХНИКА ДЛЯ СТРОИТЕЛЬСТВА СКВАЖИНЫ
3.1 Выбор буровой установки
3.2 Обогрев буровой в зимних условиях
3.3 Обоснование и выбор вновь применяемой техники для строительства скважин
4. СПЕЦИАЛЬНАЯ ЧАСТЬ
4.1 Введение
4.2 Виды аварий
4.3 Причины аварии
4.4 Аварии с обсадными колоннами
4.5 Предупреждение аварии с обсадными колоннами
5. БЕЗОПАСНОСТЬ И ЭКОЛОГИЧНОСТЬ ПРОЕКТА
5.1 Анализ вредностей и опасностей
5.1.1 Взрывопожаробезопасность
5.1.2 Электробезопасность
5.1.3 Шум и вибрация
5.1.4 Освещение рабочей площадки
5.1.5 Метеорологические условия труда
5.1.6 Механические опасности
5.2 Инженерно техническая защита при СПО
5.3 Безопасная организация при проведении сложных работ
5.4 Охрана недр и окружающей среды при бурении скважин
6. ОБОСНОВАНИЕ ОРГАНИЗАЦИИ РАБОТ ПРИ СТРОИТЕЛЬСТВЕ СКВАЖИН
6.1 Составление геолого-технического наряда
6.2 Составление нормативный карты
6.3 Разработка мероприятия по улучшению организации работ и повышению качества строительства скважин
7. ЭКОНОМИЧЕСКАЯ ЧАСТЬ
7.1 Составление сметы
7.2 Технико-экономические показатели
7.3 Экономическая эффективность от применения рекомендуемых компоновок низа бурильной колонны для проработки скважины
7.3.1 Краткая аннотация
7.3.2 Методика расчета
7.3.3 Расчет экономического эффекта
ВВЕДЕНИЕ
Данный дипломный проект выполнен па основе материалов производственной и преддипломной практики в районе деятельности БП «Тюменбургаз».
В дипломном проекте рассматриваются следующие разделы:
1) Геолого–геофизическая часть: разрез скважины, условия проводки скважины, возможные осложнения.
2) Технология строительства скважины: рассматриваются вопросы связанные с проводкой скважины.
3) Техника для строительства скважины: выбор техники для строительства скважины.
4) Безопасность и экологичность проекта: вопросы охраны труда и окружающей среды.
5) Обоснование организации работ при строительстве скважины: составление ГТН, нормативной карты.
6) Экономическая часть: вопросы связанные с экономией строительства скважины.
7) Специальная часть: вопросы связанные с авариями происшедшими с обсадными колоннами при строительстве скважины; основные виды и причины аварий; пути предотвращения этих аварий и их ликвидации.
Приводятся необходимые выводы и рекомендации.
ОБЩИЕ СВЕДЕНИЯ О РАЙОНЕ РАБОТ
|
1. Наименование площади |
Таб-Яхинский участок Уренгойского ГКМ |
|
2. Температура воздуха: |
|
|
среднегодовая |
- 80С |
|
максимальная летняя |
+ 300С |
|
минимальная зимняя |
- 540С |
|
3. Среднегодовое количество осадков: |
500…600 мм |
|
4. Максимальная глубина промерзания грунта: |
0…600 мм |
|
5. Продолжительность отопительного сезона: |
284 сут. |
|
6. Преобладающее направление ветра: |
южное |
|
7. Наибольшая скорость ветра: |
28…30 м/с |
|
8. Сведения о площадке сторительства и подъездных путях: |
|
|
Рельеф: |
Слабовосхолмленая, сильнозаболоченная равнина с большим количеством рек и озер |
|
Состояние грунта: |
мерзлый |
|
Толщина снежного покрова: |
1…2 м |
|
Мощность сезонооттаивающего слоя: |
0,2…0,5 м |
|
Характер растительного покрова: |
Тундра кустарниковая, по берегам рек – карликовые березы, лиственицы |
|
9. Характеристика подъездных дорог: |
|
|
Средняя продолжительность: |
1,2 км |
|
Характер покрытия: |
грунтовый |
|
Высота насыпи: |
2 м |
|
10. Источник водоснабжения: |
Поверхностный водозабор |
|
11. Источник энергоснабжения: |
ЛАЭС – 25000, Госсеть |
|
12. Источник грунта: |
карьер |
1. ГЕОЛОГО-ГЕОФИЗИЧЕСКАЯ ЧАСТЬ
Таблица 1.1
1.1. Литолого-стратиграфическая характеристика скважины
-
Стратиграфическое подразделение
Глубина залегания, м
Мощность,м
Элементы залегания (падения)пластов, угол,
Стандартное описание горной породы: полное название, характерные признаки (структура, текстура, минеральный состав и т.д.)
Название
Индекс
От (кровля)
До (подошва)
1
2
3
4
5
6
7
Четвертичные
О
0
90
90
0.30
Торф, супеси, глины, пески
Некрасовская
P3nk
90
120
30
0.30
Пески
Чеганская
P2-3cq
120
180
60
0.30
Пески, глины алевралитистые с включениями гальки и гравия
Люлиноворская
P2ll
180
320
140
0.30
Глины алевралитистые, диатомовые,опоковидные с прослоями песка
Тибейсалинская
P1tbs
320
580
260
0.30
Пески и песчаники сырые, тонкозернистые с прослоями глин, в нижней части глины с прослоями песка
Ганькинская
K1-2qn
580
855
275
До 1
Глины серые, алевритистые
Березовская
K2br
855
1131
276
0.40…1.0
Глины слабоалевритистые, в нижней части опоковидные
Кузнецовская
K2kz
1131
1165
34
До 1
Глины плотные, аргелитоподобные
Покурская
K2pk
1165
1300
135
0.30
Пески, песчаники, алевролиты с прослоями глин
Таблица 1.2
1.2. Физико-механические свойства горных пород по разрезу скважины
|
Индекс страт. Подразд. |
Интервал |
Краткое название горной породы |
Плотность, кг/м3 |
Пористость, % |
Глинистость, % |
Категория твердости |
Коэффициент пластичности |
Коэффициент абразивности |
Категория породы по промысловой классификации |
|||
|
От |
До |
|||||||||||
|
О |
0 |
90 |
Пески, супеси, глины |
1500, 2300, 2000 |
25 |
15…20 |
1...2 |
– |
7…8 |
Мерзлая |
||
|
P3nk |
90 |
120 |
Пески |
2000 |
25 |
10…15 |
1...2 |
– |
7...8 |
Мерзлая |
||
|
P2-3cq |
120 |
180 |
Пески, глины |
2000 |
25 |
15...20 |
1...2 |
– |
7...8 |
Мерзлая |
||
|
P2ll |
180 |
320 |
Глины опоков. |
1800 |
30...35 |
95...100 |
2...3 |
– |
3,0 |
Мягкая, средняя |
||
|
P1tbs |
320 |
580 |
Пески, глины |
2000 |
32 |
25...30 |
2...3 |
2...4 |
6,0 |
Средняя |
||
|
K1-2qn |
580 |
855 |
Глины алевритистые |
2200 |
28 |
90...100 |
2...3 |
4...6 |
4,0 |
Мягкая, средняя |
||
|
K2br |
855 |
1131 |
Глины опоков. |
1900 |
25 |
95 |
3 |
4...6 |
6,0 |
Средняя |
||
|
K2kz |
1131 |
1165 |
Глины агрелитоподобные |
2200 |
20 |
95...100 |
2...3 |
4...6 |
4,0 |
Мягкая |
||
|
K2pk |
1165 |
1300 |
Песчаники, алевролиты |
2000-2500 |
25...30 |
25 |
3 |
2...3 |
7...8 |
Средняя |
||
Таблица 1.3
1.3. Геологические данные разреза
|
Интервал, м |
Глубина залегания нейтрального слоя, м |
Температура пород нейтрального слоя, С |
Глубина нулевой изотермы |
Распределение температуры, С |
Льдистость,% |
Интервалы залегания,м |
||||
|
От (верх) |
До (низ) |
Межмерзлотных таликов |
Криопегов |
|||||||
|
От |
До |
От |
До |
|||||||
|
0 |
40 |
8 |
-4 |
– |
-3…-4 |
30 |
– |
– |
– |
– |
|
40 |
70 |
– |
– |
– |
-3…-4 |
30 |
40 |
70 |
– |
– |
|
70 |
130 |
– |
– |
– |
-2…-3 |
20 |
– |
– |
70 |
130 |
|
130 |
290 |
– |
– |
– |
-2 |
15 |
– |
– |
– |
– |
|
290 |
400 |
– |
– |
350 |
0 |
0 |
– |
– |
– |
– |
Таблица 1.4
1.4. Нефтегазоносность
|
Индекс пласта |
Интервал, м |
Тип флюида |
Относительная плотность газа по воздуху |
Средний дебит, тыс. м3/сут |
Температура в пласте, єС |
|
|
От (верх) |
До (низ) |
|||||
|
К 1-2 рК |
1165 |
1250 |
газ |
0,56 |
580 |
31 |
Таблица 1.5
1.5. Характеристика вскрываемых пластов
|
Индекс пласта |
Интервал, м |
Тип коллектора |
Тип флюида |
Пористость, % |
Проницаемость, мДа |
Коэф. Газоконденсатонефте насыщенности |
Пластовое давление, МПа |
Коэф. Анамальности |
|
|
От (верх) |
До (низ) |
||||||||
|
К 1-2 рК |
1165 |
1250 |
Поровый |
Газ |
25…30 |
100...500 |
0,6…0,7 |
9,0 |
0,8 |
Таблица 1.6
1.6. Водоносность
|
Интервал, м |
Тип коллектора |
Плотность, кг/см3 |
Дебит, м3/сут |
Тип воды по составу |
Минерализация, мг-экв/л |
Относится к источнику питьевого водоснабжения (да, нет) |
|
|
От (верх) |
До (низ) |
||||||
|
0 |
160 |
Поровый |
998 |
192…1728 |
Гидрокарбонатно-натриевые |
0,25…2,6 |
Да |
|
160 |
580 |
Поровый |
При опробировании притока не получено |
||||
|
580 |
1131 |
Поровый |
Региональный водоупор |
||||
|
1131 |
1300 |
Поровый |
Региональный водоупор |
Таблица 1.7
1.7. Градиенты давления по разрезу
|
Интервал, м |
Градиенты |
|||
|
От (верх) |
До (низ) |
Гидроразрыва пород, Мпа/м |
Горного давление, Мпа/м |
Геотермический ◦С/10м |
|
0 |
90 |
0,02 |
0,02 |
– |
|
90 |
120 |
0,02 |
0,02 |
– |
|
120 |
180 |
0,0174 |
0,019 |
– |
|
180 |
320 |
0,0174 |
0,019 |
– |
|
320 |
580 |
0,0174-0,0162 |
0,021 |
– |
|
580 |
855 |
0,0176 |
0,021 |
0,017 |
|
855 |
1131 |
0,0176 |
0,02 |
0,024 |
|
1131 |
1165 |
0,0178 |
0,022 |
0,025 |
|
1165 |
1250 |
0,0162 |
0,022 |
0,025 |
|
1250 |
1300 |
0,0162 |
0,022 |
0,025 |
Таблица 1.8
1.8. Возможные осложнения при бурении
|
Интервал, м |
Вид, характеристика осложнения |
Условия возникновения осложнений |
|
|
От (верх) |
До (низ) |
||
|
0 |
350 |
Размывы и обвалы стенок скважины, интенсивные кавернообразования |
При длительной остановке в процессе бурения, плохом качестве бурового раствора (низкая вязкость, большое содержание песка в растворе) |
|
350 |
550 |
Прихват обсадной колонны |
При несоответствующей подготовке ствола скважины к спуску обсадной колонны. Низкое качество бурового раствора |
|
550 |
1300 |
Прихват и затяжки бурильного инструмента, обвалы стенок скважины. Газопроявления |
При плохом качестве бурового раствора (высокая плотность, высокий коэффициент трения глинистой корки). Оставление бурового инструмента без движения более 5 мин. При снижение противодавления на газонасыщеный пласт во время СПО, бурения и др. |
Таблица 2.9
2.9 Комплекс геофизических исследований
|
Наименование |
Вертикальная скважина |
|
|
Масштаб |
Интервал |
|
|
Кондуктор |
||
|
Открытый ствол: |
||
|
– Стандартный каротаж (А2М0,5N) |
1:500 |
0…550 |
|
– Кавернометрия |
1:500 |
0…550 |
|
– РК (ГК +НГК) |
1:500 |
0…550 |
|
– Инклинометрия |
ч/з 25м |
0…550 |
|
В колонне |
||
|
– АКЦ |
1:500 |
0…550 |
|
– ГГК-Ц |
1:500 |
0…550 |
|
Эксплуатационная колонна |
||
|
Открытый ствол |
1:500 |
550…1300 |
|
– Стандартный каротаж (потенциал зонд + ПС, градиент зонд l=4,0м) |
1:200 |
1150…1300 |
|
– Микрозондирование |
1:200 |
1150…1300 |
|
– БКЗ (4 зонда) |
1:200 |
1150…1300 |
|
– Боковой каротаж |
1:200 |
1150…1300 |
|
– Индукционный каротаж |
1:200 |
1150…1300 |
|
– Акустический каротаж |
1:200 |
1150…1300 |
|
– ГГК-П |
1:200 |
1150…1300 |
|
– Кавернометрия |
1:200 |
1150…1300 |
|
– Резистивеметрия |
1:200 |
1150…1300 |
|
– РК (ГК, НКТ) |
1:200 |
1150…1300 |
|
В колонне |
||
|
– АКЦ |
1:500 |
0…1300 |
|
– ГГК-Ц |
1:500 |
0…1300 |
2. ТЕХНОЛОГИЯ СТРОИТЕЛЬСТВА СКВАЖИНЫ
2.1 Проектирование конструкции скважины
2.2.1 Вскрытие продуктивного пласта
Под вскрытием понимается комплекс работ по разбуриванию пород и оборудованию скважины в интервале продуктивного пласта. При разбуривании продуктивного пласта и креплении ствола скважины должны быть приняты меры по предупреждению его загрязнения, то есть сохранению его проницаемости. Необходимо создать благоприятные условия для притока флюида из пласта в скважину. Получение начального притока зависит от параметров, состава и свойств промывочной жидкости, а также длительного воздействия ее на продуктивный пласт, а также от ряда других факторов.
Для предупреждения проявления
пластовых флюидов в процессе бурения
в скважине обычно поддерживают давление
Р>с> несколько больше, чем давление
флюида в пласте. Следовательно,
приразбуривании пласта в большинстве
случаев на него действует перепад
давления
.
Под действием этого перепада в проницаемые
пласты, в зависимости от каналов может
поступать фильтрат, частицы твердой и
газовый фаз бурового раствора, а иногда
и весь буровой раствор.
Отсюда следует, что необходимо поддерживать как можно меньшим. Для вскрытия продуктивного пласта следует выбирать буровой раствор, по составу физико-химическим свойствам близким к пластовым жидкостям или газу.
Для скважин, глубиной свыше 1200 м, техническими правилами ведения буровых работ, предусматривается следующая плотность бурового раствора из условия предупреждения проявления пластов.
Условная вязкость раствора 25 –30 с. Для предотвращения отрицательного влияния фильтрата бурового раствора на коллекторские свойства пласта, показатель фильтрации не должен превышать 5-6 см3/30 мин. Уточнение параметров бурового раствора будет проведено по графику совмещенных давлений, показанному в таблице 2.2.
Продуктивные пласты вскрываются на полную мощность. После вскрытия ствол скважины крепится эксплуатационной колонной, цементируется с подъемом цементного раствора до устья скважины и перфорируется в интервале продуктивного пласта перфоратором ПК – 103 из расчета 15 отверстий на один погонный метр.
2.1.2 Обоснование числа обсадных колонн и глубины их спуска
Обоснование производим, исходя из данных пункта 1 по график совмещенных давлений.
Расчет коэффициента анамальности К>а> и коэффициента гидроразрыва К>гр>
;
.
При Н=180м
=0,84
=2,32
При Н=550м
=0,78
=2,51
При Н=1115м
=0,75
=2,34
При Н=1130м
=0,71
=2,32
Таблица 2.1
График совмещенных давлений

По разрезу скважины несовместимых интервалов бурения нет. Поэтому, выбирая конструкцию скважины, следует исходить из других условий, в данном случае предусматривается перекрытие кондуктором неустойчивых четвертичных пород и всей толщи ММП, с расположением башмака кондуктора в интервале устойчивых горных пород и с целью оборудования устья ПВО для предотвращения выброса сеноманского газа. Глубина спуска кондуктора 550 м. Эксплуатационная колонна спускается до забоя (1300 м), с целью укрепления стенок скважины и размещением в ней технологического оборудования для эксплуатации скважины, разобщения пластов.
Заполнение пространства между обсадной колонной и стенкой скважины цементным раствором, из которого в короткий срок образуется практически непроницаемый камень, является в данное время основным способом герметичного разобщения проницаемых горизонтов друг от друга, предотвращение перетоков пластовых жидкостей из одного горизонта в другой или на поверхность через заколонное пространство.
Цементирование кондуктора и эксплуатационной колонны осуществляется прямым способом через башмак с подъемом цементного раствора до устья скважины.
2.1.2 Выбор диаметров обсадных колонн и долот
Диаметр эксплуатационный колонны задается заказчиком, исходя из условий эксплуатации, проведения исследовательских, геофизических, ремонтных работ. Эксплуатационную колонну диаметром 168 мм выбираем в соответствии с требованиями заказчика.
Диаметр долота:
,
∆=5ч10 мм,
где D>м> = 0,186 м – диаметр муфты обсадной колонны,
,
Кондуктор: D>к> =D>д>+2*д, где д – зазор между долотом и внетренней поверхности кондуктора, принимается равным от 3 до 10 мм.
D>к> =0,2159+2*6*103 =0,2279 м.
Диаметр кондуктора принимаем равным 0,2445 м.
Определим диаметр долота при бурении кондуктора:
D>д.к> =0,270+2*8*10-3 =0,286 м.
Диаметр долота при бурении под кондуктор 0,2953 м.
Результаты расчетов представлены в таблице2.2
Таблица 2.2
Конструкция скважины
|
Наименование колонны |
Глубина спуска, м |
d>д.>, мм |
d>труб>, мм |
|
Кондуктор |
0-550 |
295,3 |
245 |
|
Эксплуатационная колонна |
550-1300 |
215,9 |
168 |
2.2 Выбор буровых растворов и их химическая обработка по интервалам
Тип бурового раствора и его параметры выбираем из условия обеспечения устойчивости стенок скважины и обеспечения необходимого противодавления на флюидонасыщенные пласты, которые определяются физико-химическими свойствами горных пород слагающих разрез скважины (тбл. ) и пластовыми давлениями (таб. ). При выборе растворов следует руководствоваться опытом, накопленным при бурении в проектном горизонте. Выбор типов и параметров промывочной жидкости производим согласно регламента по буровым растворам, принятого на данном предприятии, который представлен в таблице 2.3
При бурении под кондуктор используется, наработанный на предыдущей скважине или приготовленный из глинопорошка, глинистый раствор. Бурение под эксплуатационную колонну ведется на полимерглинистом растворе, который получается из раствора оставшегося после бурения предыдущего интервала, путем его дообработки.
Таблица 2.3
Поинтервальная химическая обработка буровых растворов
|
Интервал бурения, м |
Наименование химреагентов и материалов |
Цель применения реагентов в растворе |
Норма расхода, кг/м3 |
Потребность компонентов, т |
|
1 |
2 |
4 |
5 |
6 |
|
0-550 |
Бентонитовый глинопорошок |
Приготовление глинистой суспензии |
50 |
27,5 |
|
Кальцинированная сода |
Нейтрализация ионов Са, повышение выхода глинистого раствора |
0,4 |
0,22 |
|
|
КМЦ-700 (Tylose) |
Регулирование показателя фильтрации и вязкости бурового раствора |
1 |
0,55 |
|
|
ТПНФ |
Понизитель вязкости |
0,1 |
0,055 |
|
|
ЛТМ (СКЖ, ЖИРМА, ОТП) |
Снижение липкости глинистой корки |
1,8 |
0,99 |
|
|
Графит ГС-1 |
Профилактика прихватов обсадных колонн |
1,8 |
0,94 |
|
|
Smectex (DKS-extender) |
Снижение интенсивности кавернооброзования |
0,2 |
0,11 |
|
|
550-1300 |
Кальцинированная сода |
Нейтрализация ионов Са |
0,25 |
0,19 |
|
Унифлок |
Предотвращение деспергирования и наработки объема бурового раствора |
0,3 |
0,23 |
|
|
КМЦ-700 (Tylose) |
Регулирование показателя фильтрации и вязкости бурового раствора |
0,4 |
0,30 |
2.2.1 Обоснование параметров бурового раствора
Обоснование плотности производится с учетом возможных осложнений по разрезу скважины и условий предупреждения проявления пластов.
[кг/м3],
где h – глубина залегания кровли пласта, м
к – коэффициент превышения давления в скважине над пластовым.
к = 1,1ч1,15 при h < 1200 м
к = 1,05ч1,07 при1200 < h < 2500 м
Бурение по кондуктор:
кг/м3.
Для предотвращения осыпей обвалов, а так же полагаясь на опыт бурения в проектном районе, принимаем плотность бурового раствора:
с = 1120 кг/м3.
Вскрытие продуктивного пласта:
кг/м3.
Для обеспечения повышенных структурно-механических свойств примем плотность бурового раствора в данном интервале:
с = 1100 кг/м3.
Далее представлены основные принципы выбора других параметров буровых растворов.
Выбирая вязкость, нужно учитывать, что она в большинстве случаев оказывает отрицательное влияние на процесс бурения, поэтому нужно стремиться к ее минимальному значению (в данном случае УВ = 20…25 сек.), минимизация вязкости позволяет увеличить механическую скорость бурения, поддерживать на высоком уровне скорость восходящего потока в затрубном пространстве, то есть обеспечивать качественную очистку ствола скважины, струя маловязкого раствора теряет гораздо меньше энергии на пути от насадки долота до забоя, чем струя высоковязкого, что делает возможной более качественную очистку забоя скважины.
Показатель фильтрации, при бурении в продуктивных горизонтах принимается не более 5…6 см3 за 30 мин по прибору ВМ-6 (в нашем случае 5…6 см3 за 30 мин), во избежание загрязнения пласта фильтратом раствора, что в дальнейшем затрудняет их освоение и эксплуатацию, вследствие почти необратимого ухудшения коллекторских свойств. В непродуктивных пластах допускается несколько большие значения показателя фильтрации.
Способность бурового раствора выносить выбуренную породу на дневную поверхность и удерживать ее, после прекращения циркуляции, определяется статическим напряжением сдвига (СНС). Значение СНС для выполнения этой задачи должны быть не менее 15 – 20 дПа.
Содержание абразивной фазы («песка») в буровом растворе, с целью уменьшения изнашивания инструмента и бурового оборудования, допускается не более 1%.
Результаты расчетов сведем в таблицу 2.4.
Таблица 2.4
Параметры бурового раствора
|
Интервал бурения, м |
Плотность, кг/м3 |
Условная вязкость, с |
Фильтрация по ВМ-6, см3/30 мин |
Толщина корки, мм |
СНС, Па |
Содержание Тв. Ф., % |
Содержание песка, % |
||
|
от |
до |
1 мин |
30 мин |
||||||
|
0 |
50 |
120 |
30…35 |
6 |
1 |
0 |
5 |
22 |
1…2 |
|
550 |
1300 |
100 |
20…25 |
5…6 |
1 |
5 |
10 |
до 15 |
0,5 |
2.2.2 Определение потребного количества бурового раствора и материалов для его приготовления
Количество промывочной жидкости, потребной для бурения скважины, по формуле:
V=V>П>+V>Р>+а*V>C>,
где V>П> – объем приемных емкостей буровых установки V>П> =50м3,
V>Р> – объем раствора, при фильтрации, поглощения и очистке от шлама,
а – коэффициент запаса раствора,
V>C> – объем скважины.
V>Р> = n * l,
где n = 0,15м3/м – норма расхода бурового раствра,
l – длинна интервала.
V>C> = 0,785*(D>C>*k>к>)2*l,
где – D>C> – диаметр ствола скважины,
k>к> – коэффициент кавернозности k>к> = 1,3.
Интервал 0–550:
V>Р.К.> = 0,15 * 550 = 82,5 м3;
V>C>>.К.> = 0,785*(0,2953*1,3)2*550 = 63,3 м3;
V>К> = 50 + 82,5 + 1,5 * 63,3 = 227,5 м3.
При бурении под эксплуатационную колонну используем раствор, применяемый для бурения под кондуктор. Тогда дополнительный объем раствора найдем следующим образом:
V>Р.ЭК.> = 0,15*(1300-550) = 112,5 м3;
V>C>>.ЭК.> = 0,785*(0,2953*1,3)2*750 = 86,8 м3;
V>ЭК> = 50 + 112,5 + 1,5 * 86,8 = 292,7 м3.
Определим потребное количество материалов для приготовления бурового раствора. Количество глинопорошка необходимого для приготовления 1м3 глинистого раствора определяем по формуле:

где >гл> – плотность сухого глинопорошка, равная 2600 кг/м3;
>в >– плотность воды, равная 1000 кг/м3;
m – влажность глинопоршка, равная 0,05.
Количество воды для приготовления 1м3 глинистого раствора:

где >р >– плотность раствора.
Количество воды для приготовления бурового раствора, для i – го интервала:

где V>i> – объем i – го интервала.
Количество глинопорошка, потребное для i – го интервала:

Результаты расчетов сводим в таблицу 2.5.
Таблица 2.5
Результаты расчетов потребного количества воды и глинопорошка
|
Интервал бурения, м |
Плотность бурового раствора, кг/м3 |
Объем раствора, V>i>> >, м3 |
Потребность в глинопорошке |
Потребность в воде |
||
|
q>гл>, кг |
Q>гл>, кг |
q>в>, кг |
Q>в>, кг |
|||
|
Кондуктор 0-550 |
1120 |
227,5 |
205 |
47*103 |
0,92 |
189 |
|
Эксплуатационная колонна |
1100 |
292,7 |
171 |
50*103 |
0,95 |
162 |
|
Всего |
97*103 |
351 |
Определим необходимое количество химических реагентов для обработки бурового раствора по интервалам бурения:

где С1 – концентрация химического реагента в весовых процентах;
Результаты расчетов сведены в таблицу 2.3.
2.3 Выбор способа бурения
Основные требования к выбору способа вращения долота определяются необходимостью обеспечения успешной работы, проводки ствола скважины с высокими технико-экономическими показателями.
Выбор способа бурения зависит от технической оснащенности предприятия (парк буровых установок, буровых труб, забойных двигателей и т.п.), опыта бурения в данном районе.
Для бурения данной скважины выбираем бурение с помощью гидравлических забойных двигателей. Турбинный способ обладает рядом преимуществ по сравнению с роторным способом бурения:
механическая скорость выше, чем при роторном способе бурения;
облегчает отклонение ствола в требуемом направлении;
можно использовать все виды промывочной жидкости за исключением аэрированной;
возможность применения в колонне бурильных труб легкосплавных и тонкостенных стальных труб;
улучшаются условия работы, отсутствуют шум и вибрация.
2.4 Расчет бурильной колонны
Исходные данные:
скважина вертикальная;
глубина бурения 1300 м;
способ бурения – турбинный;
диаметр долота D>д> = 215,9 мм;
нагрузка на долото G = 170 кН;
плотность бурового раствора = 1100 кг/м3;
турбобур 3ТСШ1-195;
Расчет УБТ:
D>убт> = (0,750,85)* D>д>;
D>убт> = 0,8*215,9 = 172,7 мм.
Выбираем УБТ диаметром D>убт> = 178 мм.
Затем найдем диаметр СБТ для D>убт> = 178 мм.
D>сбт> = 0,75*215,9 = 175,5 мм.
Выбираем предварительно тип СБТ-ТДПВ 127х9, трубы группы прочности «Д» – бурильные трубы с приварными замками диаметром 127 мм, толщиной стенки трубы 9 мм.
Найдем длину УБТ для бурения забойным двигателем:

где G>д> – нагрузка на долото при бурении забойными двигателями;
– коэффициент облегчения трубы в промывочной жидкости;
q>0> – вес УБТ диаметром 178 мм, q>0> = 156 кг;
G>зд> – вес забойного двигателя, G>зд> = 4790 кг;
Р>кр>III – критическая нагрузка третьего порядка.

где >п> – плотность промывочной жидкости, >п> = 1100 кг/м3,
>0> – плотность материала труб, >0> = 7800 кг/м3;


где l>кр> – критическая длина УБТ;

Примем l>убт> = 132 м, т.е. 5 свечей длинной по 24 метра и 1 секция УБТ, длинной 12 м.
Определим вес УБТ:

Определим длину СБТ:

где q>0> – вес 1 м СБТ диаметром 127 мм, q>0> = 262 н/м;
G>сбт> – полный вес СБТ;

Длина свечи 24 м, поэтому примем количество свечей равное 30, а длина стальных труб 720 м.
Найдем длину ЛБТ:

где L – глубина скважины по стволу L>сбт> = 1300 м;
L>сбт> – длина СБТ = 720 м;
L>убт> – длина УБТ = 132 м;
L>эд> – длина ЗД = 26 м;

Произведем расчет растягивающих напряжений при подъеме бурильной колонны.
Разобьем колонну на характерные участки, т.е. отметим точки перехода одного вида труб в другой, переход УБТ в турбобур.
Профиль скважины имеет 3 характерные точки. Данные занесем в таблицу 2.6.
Таблица 2.6
Результаты разбивки бурильной колонны на участки.
|
Участок |
l, м |
q, н/м |
|
1 |
2 |
3 |
|
0 – 1 |
26 |
184,2 |
|
1 – 2 |
132 |
613,6 |
|
2 – 3 |
720 |
179,9 |
Расчет напряжений в колонне ведем по методу Сушона, основываясь на том, что в конце колонны усилия Т>н> = 0.

где Т>в> – нагрузка в верхней части колонны;
Т>н> – нагрузка в нижней части колонны;
–
средней зенитный угол;
–
изменение среднего угла на
участке;
l – длина участка;
q – вес 1 метра трубы на участке длины l;
в – коэффициент облегчения в промывочной жидкости бурильной колонны, в = 0,86;
f – коэффициент сопротивления движения бурильной колонны о стенки cскважины, f = 0,3;
Участок 0 – 1:

Участок 1 – 2:

Участок 2 – 3:

Определим растягивающие напряжение:

где S>к> – площадь канала внутри трубы;
S>т> – площадь сечения трубы, м2;

где d>вн> – внутренний диаметр ЛБТ равный 125 мм;


где D – наружный диаметр трубы;

у>р> для третьего участка:

у>р> для второго участка:

Определим результирующие напряжение для второго и третьего участков по следующей формуле:

где у>рез> – результирующее напряжение, Мпа;
у>р> – растягивающее напряжение, Мпа;
у>и> – изгибающие напряжение, Мпа;
Изгибающие напряжение в нашем случае равно нулю т.к. сквжина вертикальная.

где [n>р>], n>р> – допустимый и фактический коэффициенты запаса прочности, [n>р>] = 1,45;
у>т> – предел текучести материала труб, у>т> = 300 Мпа;
Проверим сечение третьего участка на прочность:

ЛБТ 147х11 удовлетворяют прочности.
Проведем расчет на прочность ЛБТ 147х11 в клиновом захвате:
Т>3> = 330 кН при f = 0;
Для ЛБТ 147х11, Т>доп> =1180 кН;
Т>3> = 330 кН < [Т] = 1180 кН; – Условие прочности в клиновом захвате выполняется.
Сведем все результаты расчетов в таблицу 2.7.
Таблица 2.7
Результаты расчетов
|
№ участка |
L, м |
Т, кН |
у>р>, МПа |
у>рез>, МПа |
|
I |
26 |
4,1 |
- |
- |
|
II |
132 |
73,8 |
77,7 |
77,7 |
|
III |
720 |
185,2 |
54,0 |
54,0 |
2.5 Выбор компоновок бурильного инструмента
Правильно выбранная компоновка позволяет без осложнений, с наименьшими затратами пробурить скважину до проектной глубины.
Для разрушения горной породы применяем трехшарошечные долота. С целью создания осевой нагрузки на долото и для повышения жесткости бурильной колонны применяем УБТ. Для передачи вращения долоту используют турбобуры. Бурение под кондуктор ведется ротором.
Таблица 2.8
Компоновка бурильной колонны.
|
№№ |
Элементы КНБК |
||||
|
Типоразмер, шифр |
Наружный диаметр, мм |
Длина, м |
Масса, кг |
Примечание |
|
|
1 |
2 |
3 |
4 |
5 |
6 |
|
1 |
Долото 259,3 мм |
295,3 |
0,42 |
72 |
Бурение под кондуктор |
|
2 |
Центратор |
295,3 |
0,57 |
115,7 |
|
|
3 |
Колибратор |
293,7 |
0,74 |
150 |
|
|
4 |
УБТ |
203 |
10 |
2232 |
|
|
5 |
ТБПВ |
127 |
|||
|
1 |
Долото 215,9 мм |
215,9 |
0,45 |
33 |
Бурение под эксплуатационную колонну |
|
2 |
ГДК |
178 |
0,4 |
65 |
|
|
3 |
3ТСШ1-195 |
195 |
25,7 |
4790 |
|
|
4 |
УБТ |
178 |
132 |
870,5 |
|
|
5 |
ТБПВ |
127 |
|||
|
6 |
ЛБТ |
147 |
2.6 Проектирование режима бурения
2.6.1 Разработка гидравлической программы проводки скважины
Исходные данные:
Глубина скважины по стволу – 1300м;
Тип долота – III-215,9 Т-ЦВ;
Конструкция низа бурильной колонны:
долото III-215,9 Т-ЦВ;
центратор 215,9 мм;
калибратор 212,7 мм;
турбобур 3ТСШ1-195;
УБТ 178 мм – 10 м;
ТБПВ 127х9;
ЛБТ 147х9;
Параметры промывочной жидкости:
= 1100 кг/м3;
УВ = 2530 сек;
ПФ = 56 см3/30мин.
а) Выбор расхода промывочной жидкости:
– выбор расхода промывочной жидкости осуществляется исходя из условия удовлетворительной очистки забоя:

где q = 0,65 м/с – удельный расход;
F>з> – площадь забоя;

где D>c> – диаметр скважины;

где D>д> – диаметр долота.
Интервал 0 – 550 м:
D>д> = 259,3 мм;
D>с> = 0,2953*1,05 = 0,310 м;
м2;
м3/с.
Интервал 550 – 1300 м:
D>д> = 215,9 мм;
D>с> = 0,2159*1,05 = 0,227 м;
м2;
м3/с.
– выбор расхода, исходя из условий выноса наиболее крупных частиц шлама:

где U>oc> – скорость оседания крупных частиц шлама;
F>кп> – площадь кольцевого пространства, м2;

где d>ш> – средней диаметр крупных частиц шлама;
>п> – плотность породы, кг/м3;
- плотность промывочной жидкости, кг/м3;
d>ш> =0,0035+0,0037*D>д>;

где D>тр> – диаметр турбобура, м.
Интервал 0 – 550 м:
d>ш> =0,0035+0,0037*0,2953 = 0,0046 м;
0,37м/с;
м2;
м3/с.
Интервал 550 –1300 м:
d>ш> =0,0035+0,0037*0,2159 = 0,0043 м;
0,39м/с;
м2;
м3/с.
– выбор расхода из условия нормальной работы турбобура:

где М>уд> – удельный момент на долоте;
G – вес турбобура;
М>с> – момент турбобура при расходе Q>c> жидкости >с> ;
- плотность жидкости, при которой будет использоваться турбобур.
к – коэффициент учитывающий потери момента в осевой опоре турбобура равный 0,03;
Интервал 550 – 1300 м:
Параметры забойного двигателя 3ТСШ1-195:
G = 4790 кг; М>с> = 1,5 кН*м; Q>c> = 0,03 м3/с; >с> = 1000 кг/м3;
М>уд> = 6 Н*м/кН; = 1100 кг/м3.
м3/с.
Из трех расходов Q>1>, Q>2>, Q>3> выбираем максимальный расход: Q = 0,048 м3/с в интервале 0 – 550 м; Q = 0,026 м3/с в интервале 550 – 1300 м; и далее в расчетах будем принимать этот расход.
б) Определим перепады давлений во всех элементах циркуляционной системы:
Потери давления в ЛБТ:
D>лбт> = 147 мм; t = 9 мм; l>лбт> = 428 м; = 1100кг/м3;
- определим динамическое напряжение сдвига - >0>:
>0> = 8,5*10-3*-7 = 8,5*10-3*1100-7 = 2,35 Па;
- определим динамическую вязкость раствора - ;
= (0,0040,005)* >0> = 0,005* 2,35 = 0,0118Па*с;
- определим скорость течения потока – U;

где Q = 0,026 м3/с – выбранный расход;
S – площадь рассматриваемого сечения;
м2;
1,2
м/с;
- определим число Ренольдса в ЛБТ (Re):
3159;
- определим коэффициент гидравлического сопротивления в ЛБТ ():
0,027;
- потери давления в ЛБТ ():
0,07
Мпа;
Результаты расчетов S, U, Re, , сводим в таблицу 2.9.
Потери давления в СБТ:
D>cбт> = 127 мм; t = 9 мм; l>cбт> = 720 м; S = 9.3*10-3 м2; = 1100кг/м3;
Динамическое напряжение сдвига – >0> и динамическая вязкость раствора – , остаются без изменения. >0> =2,35 мПа; = 0,0118 Па*с.
- определение скорости течения потока жидкости (U):
м/с;
- определим число Рейнольдса в СБТ (Re):
;
- определим в СБТ:
;
- потери давления в СБТ ():
0,65МПа;
Потери давления в турбобуре 3ТСШ1-195:

Потеря давления в долоте

– Определим перепад давления в кольцевом пространстве между забойным двигателем и стенкой скважины, где D>c> = 0,227 м; D>н> = 0,195 м – наружный диаметр забойного двигателя; L>зд> = 26 м. Методика расчетов аналогична. Результаты расчетов сводим в таблицу 2.8.

Перепад давления в кольцевом пространстве СБТ и УБТ считаются аналогично.
- Определим перепад давления в кольцевом пространстве между ЛБТ и кондуктором, где L = L>к> = 550 м; D>c> = D>вн>к = 0,2267 м – внутренний диаметр кондуктора;
Остальные расчеты аналогичны и сводятся в таблицу 2.9.
- Определим перепад давления в замках ЛБТ по формуле:

где >р> – коэффициент, используемый при расчете;

где D>вн> = 0,129 м – внутренний диаметр ЛБТ 147х9;
d>н> = 0,110 м – внутренний диаметр ниппеля;

l>т> = 12 м – длина трубы ЛБТ;

Результаты заносим в таблицу 2.9.
- Определим потери давления в поверхностной обвязке буровой по формуле:

где а – коэффициент потери давления;
Определим потери давления в вертлюге, ведущей трубе, шланге, стояке, манифольде:

Суммарные потери в поверхностной обвязке буровой:

Общие потери равны:
Таблица 2.9
Расчеты результатов
|
Элементы циркуляционной системы |
L, м |
d, мм |
D, мм |
S, м2 |
U, м/с |
Re* |
|
, МПа |
|
1 |
2 |
3 |
4 |
5 |
6 |
7 |
8 |
9 |
|
Манифольд |
– |
– |
– |
– |
– |
– |
– |
0,1 |
|
Стояк |
– |
– |
– |
– |
– |
– |
– |
0,03 |
|
Грязевый шланг |
– |
– |
– |
– |
– |
– |
– |
0,02 |
|
Вертлюг |
– |
– |
– |
– |
– |
– |
– |
0,03 |
|
Квадрат |
– |
– |
– |
– |
– |
– |
– |
0,02 |
|
ЛБТ |
428 |
129 |
147 |
0,013 |
1,2 |
3159 |
0,027 |
0,07 |
|
СБТ |
720 |
109 |
127 |
0,009 |
2,7 |
6699 |
0,025 |
0,65 |
|
УБТ |
132 |
90 |
178 |
0,006 |
4,7 |
18247 |
0,022 |
0,41 |
|
Турбобур |
26 |
– |
– |
– |
– |
– |
– |
5,10 |
|
Долото |
– |
– |
f = 2,87*10-4 м; u = 0,94 |
6,06 |
||||
|
к.п. турбобура |
26 |
195 |
227 |
0,01 |
2,5 |
3653 |
0,026 |
0,1 |
|
к.п. УБТ |
139 |
178 |
227 |
0,015 |
1,7 |
6303 |
0,025 |
0,03 |
|
к.п. СБТ необсажен. |
585 |
127 |
227 |
0,027 |
0,9 |
1875 |
0,029 |
0,6 |
|
к.п. СБТ обсаженное |
122 |
127 |
227 |
0,027 |
0,9 |
1875 |
0,029 |
0,1 |
|
к.п. ЛБТ |
428 |
147 |
227 |
0,023 |
1,1 |
2773 |
0,028 |
0,05 |
|
кпзамки необсажен. |
– |
– |
– |
– |
– |
– |
0,001 |
|
|
кпзамки обсажен. |
– |
– |
– |
– |
– |
– |
0,0001 |
|
|
|
13,39 |
Выбираем насос, исходя из суммарных потерь в циркуляционной системы. Выбираем из условия [P] > , где [P] допускаемое рабочее давление насоса; = 13,39 Мпа;
По таблице 56 [] выбираем буровой насос с [P] = 13,9 МПа при диаметре втулок d>вт> = 170 мм –У8-6МА.
Заключительной стадией гидравлического расчета скважины является построение НТС – номограммы.
Для этого занесем в таблицу теоретические и фактические подачи и давления насоса при различных диаметрах втулки.
Теоретические подачи и давления насоса берем из таблицы 56 [].
Фактическая подача определяется по формуле:

где к – коэффициент, учитывающий работу насоса на всасывании (к = 0,85);
Q – теоретическая подача.
Таблица 2.10
Давления и подачи У8-6МА
|
Диаметр втулки, мм |
Допустимое давление, МПа |
Теоретическая подача, м3/с |
Фактическая подача, м3/с |
|
160 |
16 |
0,0317 |
0,0269 |
|
170 |
13,9 |
0,0355 |
0,03018 |
|
180 |
12,2 |
0,0404 |
0,03434 |
Затем значения Q>ф> и Р нанесем на график (рис. 2.1) Q = f().
На значениях подачи отметим интервалы регулирования расхода. Найдем потери давления, зависящие от глубины. Они равны потерям в ЛБТ, СБТ, УБТ, кольцевом пространстве между ЛБТ и стенками скважины, СБТ и стенками скважины, УБТ и стенками скважины, замках, кольцевом пространстве между замками и стенками скважины.
По таблице 2.8 определяем эти потери:
Эти
потери найдены при расходе промывочной
жидкости равном 0,026 м3/с.
Пересчитаем потери, зависящие от глубины на другие значения расходов по формуле:

Остальные потери давления, зависящие от глубины вычисляются аналогично и наносятся на график.
Определяем потери давления, не зависящие от глубины. Они равны суммарному перепаду давления во всех элементах циркуляционной системы, исключая перепад в забойном двигателе и потерь зависящих от глубины.

Пересчитаем потери, не зависящие от глубины на другие значения расходов по формуле:

Для остальных расходов потери вычисляются аналогично и наносятся на график.
Рассчитаем также характеристику 3ТСШ1-195 для различных расходов. Результаты нанесем на график (рис. 2.1).

Рисунок 2.1 НТС – номограмма.
2.6.2 Расчет рабочих характеристик забойных двигателей
Рабочей выходной характеристикой турбобуров называется зависимость частоты вращения, момента и мощности на валу турбобура от осевой нагрузки на долото. Она служит для определения интервала осевых нагрузок, при которых наблюдается устойчивая работа турбобура, а также для оптимизации режимов турбинного бурения.
Исходные данные для расчета:
Турбобур 3ТСШ1-195;
Q = 0,026 м3/с;
= 1100 кг/м3;
D>д> = 215,9 мм;
М>уд> = 4*10-3 м;
D>с> = 0,130 м;
D>1> = 0,149 м;
D>2> = 0,124 м;
D>в> = 0,135 м.
В = 0,5*4790*9,81 = 23495 Н – вес вращающихся деталей и узлов турбобура.
Произведем расчет.
Определим параметры турбины n, М, :

Определим разгонный момент на валу турбобура:

где = 0,12 – коэффициент трения в опорах турбобура;
Р – средней радиус трения;
Р>г> – гидравлическая нагрузка в турбобуре;

Определим разгонную частоту вращения вала турбобура:

где М>т >= 2*М, М>т> – тормозной момент;

Определим удельный момент в пяте:

Основные расчетные уравнения, описывающие рабочую характеристику турбобура;

Результаты расчета сводим в таблицу 2.11.
Таблица 2.11
|
G>i>, кН |
0 |
50 |
125 |
150 |
175 |
200 |
260 |
|
n>i>, с-1 |
4,48 |
4,9 |
5,52 |
5,74 |
5,13 |
4,53 |
3,08 |
|
М>i>, Нм |
118,75 |
528,74 |
1143,74 |
1348,74 |
1553,74 |
1758,74 |
2250,74 |
|
N>i>, кВт |
3,34 |
16,275 |
39,69 |
48,63 |
50,11 |
50,047 |
43,514 |
На основе полученных данных построим рабочую характеристику турбобура 3ТСШ1-195.

Рисунок 2.2 Рабочая характеристика 3ТСШ1-195
в координатах M – G; N – G; n – G.
Произведем анализ рабочей характеристики турбобура. Из рис. 2.2 видно, что турбобур устойчиво работает в области нагрузок 0 140 кН и 160 250 кН.
Из практики известно, что при Р>г> - G>i> < 104 Н наблюдается усиление вибраций турбобура и бурильного инструмента. В нашем случае эта область распространяется на интервал нагрузок 140 160 кН. Отсюда следует, допустимая нагрузка на турбобур лежит вне зоны вибрации, поэтому режим работы нормальный.
2.6.3 Составление проектного режима бурения
Выбор проектного режима бурения скважины производим в соответствии с пунктами 2.1; 2.6.1; 2.6.2, а также исходя из опыта бурения скважин и выбранные данные сводим в таблицу 2.12.
Таблица 2.12
Сводная таблица режима бурения
|
Интервал бурения, м |
Диаметр долота, мм |
Тип забойного двигателя |
Расход, м3/с |
Давление, Мпа |
Нагрузка на долото, кН |
Параметры промывочной жидкости |
|||
|
от |
до |
, кг/м3 |
УВ, с |
ПФ, см3/ 30мин |
|||||
|
0 |
550 |
295,9 |
–– |
0,037 |
13 |
10-12 |
1120 |
35 |
6 |
|
550 |
1300 |
215,9 |
3ТСШ-195 |
0,026 |
15 |
17 |
1100 |
25 |
56 |
2.5 Расчет и выбор конструкции обсадных колонн, компоновка их низа и обоснование технологической оснастки.
Расчет эксплуатационной колонны:
Исходные данные для расчета:
На рис.2.3 приведена расчетная схема эксплуатационной колонны.

D>к> =244,5 мм;
д>к> = 8,9 мм;
Н>к> = 550 мм;
D>э> = 168 мм;
Н>э> = 1300 м;
h>2> = 750 М;
с =1100 кг/м3;
с =1000 кг/м3;
Рисунок 2.3 Расчетная схема эксплуатационной колонны.
Цементный раствор от 550 до 1300 м. Облегченный цементный раствор от устья до 550 м. Подъем цемента осуществляется до устья скважины. Продавку цементного раствора в заколонное пространство осуществляется технической водой с = 1000 м/кг3.
Рассчитаем плотность облегченного цементного раствора:

где
–
давление поглощения на глубине 550 м;

где к>п> – коэффициент поглощения, к>п> = 1,5;
с>в> – плотность воды, с>в> =1000 кг/м3;
Н` – глубина поглощающего пласта, Н` = 550м;


Округлим плотность облегченного цементного раствора до 1500 кг/м3.
Рассчитаем плотность цементного раствора по формуле:

где
–
давление поглощения на глубине 1300м;

где Р>пл> – пластовое давление на глубине 1300 м, Р>пл> = 9,0 МПа;


Плотность цементного раствора равна 1820 кг/м3.
Рассчитаем для цементного раствора пластическую вязкость и ДНС:

Для цементного раствора:

Примем ф>ц.р.> = 8,47 Па, з>ц.р.> = 0,038 Па*с.
Рассчитаем для облегченного цементного раствора пластическую вязкость и ДНС:

Примем ф>ц.р.> = 4,05 Па, з>ц.р.> = 0,018 Па*с.
2.5.1 Расчет построение эпюр внутренних и наружных избыточных давлений
Определение внутренних давлений.
Максимальное значение рабочих внутренних давлений отмечается при испытании скважины на герметичность. Минимальные значения – в конечный период эксплуатации.
1) В период ввода скважины в эксплуатацию.

где

Р>в>>z> – внутренние давление на глубине Z;


где Р>опр> – давление опрессовки;
Р>у> – давление на устье.

Так как Р>опр> < 10 МПа, то принимаем Р>опр> = 10 МПа, где 10 МПа – минимальное опрессовочное давление для колонны диаметром 146 мм.


2) При окончании эксплуатации.

Определение наружных давлений.
1) В период ввода скважины в эксплуатацию



для Z < H>скв>,
где к – коэффициент разгрузки цементного камня, к = 0,25.

для Z = Н>скв>

2) При окончании эксплуатации


2.5.2 Расчет и построение эпюр избыточных давлений
Наружные избыточные давления:


Внутренние избыточные давления:

По полученным данным эпюры внутренних и наружных избыточных давлений (см. рис 2.4 и 2.5).

Рисунок 2.4 Эпюра наружных избыточных давлений.

Рис. 2.5 Эпюра внутренних избыточных давлений.
2.5.3 Выбор и расчет обсадных труб для эксплуатационной колонны.
Выбор обсадной колонны производим из условия недопущения смятия и разрыва колонны, страгивания резьб при спуске.
Максимальное наружное избыточное давление Р>ни> = 9,1 МПа, поэтому для первой секции выбираем трубы, имеющие:
Р>кр1> ≥ Р>ни> *[n>1>],
где [n>1>] = 1,1;
Р>кр1> ≥ 9,1*106*1,1 = 10,1 МПа.
Выбираем трубы диаметром 168 мм и толщиной стенки д = 7 мм, с группой прочности «Д», имеющие следующие характеристики:
Р>кр> = 16,6 МПа, Р>т> = 28,8 МПа, Р>стр> = 880 кН.
Проверяем трубы на прочность:


И так окончательно выбираем трубы согласно ГОСТу–632–64, ОТТМ диаметром 168,3 мм и толщиной стенки 7,3 мм, диаметром муфты 188 мм.
Результаты расчетов сведены в таблицу 2.13.
Таблица 2.13
|
Номер секции |
L, м |
д, мм |
Группа прочности |
Q, кН |
n>1> |
n>2> |
n>3> |
|
1 |
1300 |
7,3 |
Д |
382,6 |
1,8 |
6,7 |
2,3 |
2.5.4 Компоновка кондуктора и эксплуатационной колонны
Выбор технологической оснастки.
Под названием «технологическая оснастка» подразумевается набор устройств, которыми оснащают обсадную колонну для обеспечения ее спуска и качественного цементирования. Выбранная технологическая оснастка включает в себя следующие элементы:
1) Элементы оснастки кондуктора.
а) башмак с бетонной насадкой БК-245;
б) обсадные трубы диаметром 245 мм;
в) для предупреждения перетока бурового или тампонажного раствора из заколонного пространства в обсадную колонну, в процессе крепления скважины оборудуется обратным клапаном ЦКОД-245. его монтируют или в башмаке обсадной колонны или на 10-12 м выше него.
г) для цементирования обсадной колонны в стволе скважины, с целью равномерного заполнения кольцевого пространства тампонажным раствором и качественного разобщения, оборудуется центраторами ФП 245х3500 – 3шт.
2) Элементы оснастки эксплуатационной колонны.
а) башмак с бетонной насадкой БК-168 мм;
б) обсадные трубы диаметром 168 мм;
в) обратный клапан ЦКОД-168;
г) центраторы ФП 168х214х265 – 8 шт.;
д) турбулизаторы ЦТ 168/214-3 – 8 шт.;
Их устанавливают на обсадной колонне в зонах расширения ствола скважины на расстоянии не более 3-х метров друг от друга;
е) для разрушения корки бурового раствора на стенках скважины при расхаживании обсадной колонны, и образования прочного цементного кольца за обсадной колонны, оборудуется скребками 168/214 – 6 шт.
2.6 Цементирование эксплуатационной колонны
2.6.1 Расчет необходимого количества материалов
Для облегчения качественного крепления обсадной колонны выбираем портландцемент ПЦТ-ДО-50.
Определяем водоцементное отношение для облегченного цементного раствора и для цементного раствора по формуле:

где с>ц> = 2920 кг/м3 – плотность цементного раствора;
– для облегченного цементного раствора:

– для цементного раствора:

Найдем необходимый объем:
– облегченного цементного раствора:

т.к. облегченный цементный раствор находится внутри кондуктора, т.е. в обсаженной части ствола скважины:

– цементного раствора:

Объем воды для приготовления:

– для цементного раствора:

– для облегченного цементного раствора:

Количество цементировочной техники:

где с>нас> –насыпная плотность цементного порошка;
V>бунк> –объем бункера цементосмесительной машины СМН-20;
Для приготовления цементного раствора:

Для приготовления облегченного цементного раствора:

Всего потребуется для приготовления и закачки цементных растворов 3 машины 1АС-20 и 4 машины ЦА-320.
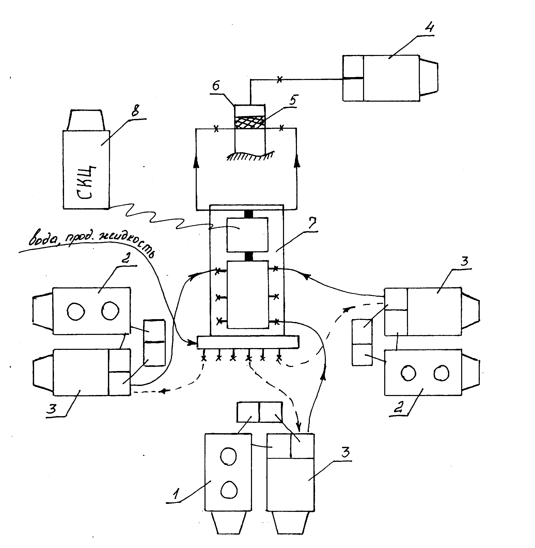
2.6.2 Гидравлический расчет цементирования
Определим объемное содержание глины, цемента и воды в 1 м3.

где q>см> – масса сухого тампонирующего материала,
q>в> – объем содержания воды в 1м3 раствора,

где q>гл> –масса глинопорошка в 1м3 раствора,
q>ц >– масса цемента в 1м3 раствора,
Определим для облегченного цементного раствора:


Определим общую массу цемента, глины и воды потребного для приготовления облегченного цементного раствора:

Найдем q>см> для цементного раствора:


Определим общую массу цемента, глины и воды потребного для приготовления облегченного цементного раствора:

Определим подачу ЦА-320 при закачке облегченного цементного раствора:

где Q>в> –объемная подача воды, Q>в> = 12,6 л/с;

Определим подачу ЦА-320 при закачке цементного раствора:

Определим время закачки:
– облегченного цементного раствора:

– цементного раствора:

Результаты расчета цементирования приведены в приложении 1.
График процесса закачки и продавки цементировочного раствора приведены на рис.2.5, а схема обвязки на рис.2.6.

Рисунок 2.5 График процесса закачки и продавки цементного раствора.
Р
ис.
2.6 Схема обвязки.
1, 2 – Смесительные машины с цементным и облегченным цементным растворами;
3 – ЦА для приготовления цементного и облегченного цементного раствора;
4 – ЦА начинающий продавку;
5 – Цементировочная пробка;
6 – Цементировочная головка;
7 – Блок манифольда;
8 – Станция контроля за цементированием.
2.6.3 Контроль качества цементирования
Наиболее эффективным методом, позволяющим получить максимальную информацию о качестве цементирования обсадной колонны не зависимо, от температуры и плотности тампонажного камня, является акустическая цементометрия. Для контроля качества цементирования обсадной колонны применяют акустические цементомеры АКЦ-1 и АКЦ-2. путем совместной интерпретации кривых акустической цементограммы представляется возможным:
– определить высоту подъема тампонажного раствора за обсадной колонной;
– оценивать состояние контакта цементного камня с колонной, а в некоторых случаях и с породой в кольцевом пространстве;
– исследовать процессы формирования цементного камня в затрубном пространстве во времени и оценивать степень влияния на камень различных нагрузок, испытываемых обсадной колонны при перфорации, избыточных внутренних давлениях и выполнение технологических операций в скважине.
С целью повышения информативности акустической цементометрии желательно использовать приставки к наземной аппаратуре цементомера, позволяющие регистрировать полный акустический сигнал, подающий в приемник цементомера. На основе интерпретации характеристик полного акустического сигнала достаточно уверено можно оценивается состояние контакта цементного камня с породой, учитывая влияния факторов на результаты измерений.
Для оценки герметичности обсадной колонны нужно провести опрссовку ствола скважины.
Давление опрессовки должно быть не менее 7 МПа. Колонна считается герметичной, если при опрессовке ее водой давление за 30 минут снижается не более чем на 0,5 МПа, а также если после замены продавочной жидкости водой не наблюдается перелива жидкости и выделения газа на устье.
3. ТЕХНИКА ДЛЯ СТРОИТЕЛЬСТВА СКВАЖИНЫ
3.1 Выбор буровой установки
При выборе буровой установки исходят из того, что бы соблюдались следующие условия: критическая нагрузка, была бы больше нагрузки в процессе бурения и крепления, оснастка и диаметр талевого каната обеспечивали безаварийную работу на буровой.
С учетом этих условий, а также на основе работы на данной группе площадей на идентичных скважинах делаем следующий вывод: для бурения скважины выбираем буровую установку согласно ГОСТу – 16293 – 82 БУ – 75 БрЭ.
В таблице 3.1 приведена техническая характеристика этой буровой установки.
Таблица 3.1
Техническая характеристика БУ – 75 БрЭ.
|
№ |
Параметры |
БУ – 75 БрЭ |
|
1 |
2 |
3 |
|
1 |
Тип привода |
электрический |
|
2 |
Число двигателей основных механизмов |
2 |
|
3 |
Допустимая нагрузка на крюке, кН |
1000 |
|
4 |
Мощность привода лебедки, кВт |
320 |
|
5 |
Оснастка талевой системы |
4х5 |
|
6 |
Число скоростей подъема |
4 |
|
7 |
Число буровых насосов |
1 |
|
8 |
Полезная высота вышки, м |
36,74 |
|
9 |
Наибольшее давление на выкиде |
24,5 |
|
10 |
Масса установки, кг |
1475 |
3.2 Обогрев буровой в зимних условиях
Продолжительность отопительного периода в районе деятельности БП «Тюменбургаз» составляет 284 сутки, по этому для работы в зимних условиях необходимо предусматривать обогрев буровой.
Отопительная установка на буровой предназначена для обеспечения паром низкого давления отопительных и технологических нужд.
На буровой пар расходуется на подогрев глинистого раствора в приемных емкостях и желобной система, подогрев выкидных линий буровых насосов, подогрева масла и двигателей внутреннего сгорания пере их пуском в работу, для отопления культбудки и насосного помещения, для разогрева замков и бурильных труб при СПО.
В зимних условиях осуществляется индивидуальный обогрев буровых установок от двух паровых котлов ПКН-20.
Подача пара к объектам буровой осуществляется по паропроводу из труб диаметром 0,1 м. Во избежании разрыва паропровода, они изготавливаются с П – образными компенсаторами.
Для регулирования подачи пара на линии паропровода устанавливают чугунные задвижки.
Из котельной пар подводится к подсвечникам, пульту управления бурильщика и емкостям с буровым раствором.
Остальное буровое оборудование, при необходимости, разогревается сухим паром от передвижной паровой установки ППУ – 3.
Для членов буровой бригады на зимний период предусмотрены отапливаемые теплушки.
3.3 Обоснование и выбор вновь
применяемой
техники для строительства
скважин
Выбор бурового и дополнительного оборудования вышки и соответствующих им конструктивных узлов при вышечных сооружений на основании справочников и инструкций в зависимости от условия проводки скважины (вида энергии, глубины, конструкции скважины, способа бурения и т.д.) и имеющегося в наличии парка буровых установок.
На данной разбуриваемой группе площадей применяется буровая установка БУ – 75 БрЭ, техническая характеристика которой приведена в таблице 3.1.
4. СПЕЦИАЛЬНАЯ ЧАСТЬ
4.1 Введение
Развитие нефте- и газодобывающей промышленности существенно зависит от темпов бурения скважин. Последние значительно сдерживаются авариями и осложнениями, на ликвидацию которых затрачивается 10-12 % общего времени, задалживаемого на бурение скважин.
Буровые организации оснащаются современными буровыми станками, оборудованием, инструментами и приборами. Для осуществления бурения скважин разработаны технологические процессы, обеспечивающие строительство скважин глубинами 7-12 тыс. м. Однако современные техника и технология в процессе бурения используются не всюду правильно, что иногда приводит к нарушениям нормального цикла бурения и возникновению аварий и осложнений. Освоение новых площадей часто сопровождается осложнениями, вызванными незнанием особенностей горно-геологических условий этого региона.
Проблема предотвращения аварий и осложнений по прежнему актуальна. Решение ее позволило бы сэкономить значительные средства, сократить время бурения скважин, повысить технико-экономические показатели.
Необходимо помнить, что беспечность и пассивность в работе исполнителя — источник аварии. От квалифицированной работы рабочих в первую очередь зависят безаварийное бурение скважин на нефть и газ и исключение осложнений.
4.2 Виды аварий и причины их возникновения
Аварии в бурении, представляющие собой нарушение нормального процесса проводки скважин, приводят к значительным затратам времени и средств, нанося тем самым большой материальный ущерб.
Аварии делят на следующие виды:
1. Прихваты бурильного инструмента
Прихватом следует считать непредвиденные при сооружении скважины процесс, характеризующийся потерей подвижности колонн труб или скважинных приборов, который не восстанавливается даже после приложения к нему максимально допустимых нагрузок (с учетом запаса прочности). Как показывают промысловые данные, по Приобской площади наиболее частыми видами аварий являются прихваты бурильного инструмента. Из числа известных видов прихватов по физической однородности вероятных причин их возникновение можно объединить в три категории:
I - прихват под действием перепада давления
II -заклинивание колонны труб при движении в стволе
III - прихват из-за сужения сечения ствола скважины, оседание шлама, течение пород, сальнокообразований.
Основными причинами прихватов инструмента на Приобской площяди являются:
а) Прихваты вследствии заклинивания низа колонны труб характерны для зон сужения ствола скважин, вызванных сработкой долот по диаметру в твердых породах, для интервалов резкого изменения направления оси ствола скважины, а также для интервалов интенсивного нарастания фильтрационной корки, обвалообразования. Как правило, такие прихваты происходят при спуске.
б) Прихваты в следствии сальникообразований возникают в основном при разбуривании глинистых отложений или хорошо проницаемых горных пород, на которых формируется толстая и рыхлая фильтрационная корка. Обычно в этом случае циркуляция теряется почти или полностью.
в) Прихваты в следствии нарушения устойчивого состояния пород приурочены к интервалам обвалообразований и осыпей.
г) Прихваты, происшедшие в следствии нарушения режима промывки, характеризуются постепенным повышением давленияпри промывке, появлением затяжек, постепенным прекращением циркуляции.
Одной из причин подобных аварий являются промывки в колонне труб (нарушение герметичности бурильной колонны.
2. Аварии с долотом
Аварии с долотом бывают двух видов: отвинчивание долота поломка их (разрушение долота и оставление деталей на забое. Отвинчивание происходит в результате нарушения правил крепления и спуска долота в скважину.
Причины разрушения долота могут быть самыми разнообразными: передержка долота на забое, удар долота о забой или уступ в скважине, несоответствие типа долот проходимым породам, дефекта в изготовлении, повреждения из-за небрежного хранения или транспортировки. Большую роль в профилактике аварий с долотами играет правильный подбор долота соответствии со свойствами проходимых пород и наиболее рациональная его отработка. Серьезное внимание нужно уделять вопросам контроля качества изготовленных долот до начала их использования, условиям хранения, транспортирования.
3. Аварии с забойными двигателями
Для применяемых конструкций забойных двигателей наиболее характерны аварии следующих видов: поломка корпуса двигателя по телу, срыв резьбы переводника, отвинчивание ниппеля, узлов турбобуров (вала, вала со статорами), отвинчивание и оставление шпинделя, слом переводника, слом вала.
Все аварии происходят преимущественно в результате несвоевременного контроля, некачественного ремонта, неграмотной эксплуатации забойных двигателей. Поэтому профилактика аварий с забойным двигателями должны заключаться прежде всего в выполнении установленных норм эксплуатации, контроля и ремонта.
4. Аварии при креплении
Основными видами при креплении скважины являются: аварий при спуске обсадной колонны, порыв колонны по телу, падение колонны в скважину, смятие колонны, недохождение колонны до заданной глубины, аварии при цементировании скважин.
Причинами возникновения подобных аварий могут быть:
недостаточная и неправильная подготовка ствола скважины;
применение недоброкачественных обсадных труб;
неправильный выбор компонентов для приготовления тампонажного раствора или плохая его подготовка.
Аварии при цементировании:
При цементировании обсадных колонн имеют место аварии и осложнения, происходящие по следующим причинам:
1.Использование тампонажного цемента, качество которого не удовлетворяет забойным условиям;
2. Не точное определение расчетных величин.
3. Халатное отношение к организации работ в процессе подготовки и проведения цементировочных работ.
4.3 Факторы, способствующие возникновению аварий
Факторы, способствующие возникновению аварии в бурении, могут быть разделены на три группы:
Неблагоприятные горно-геологические условия бурения (природный фактор).
Несовершенство и различные нарушения технологического ведения буровых работ (технологический фактор).
Несовершенство организации буровых работ и отступления от правил, инструкции эксплуатации буровой техники и инструмента (организационно-технические факторы).
Опыт показывает, что неблагоприятные горно-геологические условия бурения скважин могут являться только предпосылкой возникновения некоторых видов аварий, но не служат фактором, определяющим неизбежность аварий. Обстоятельное изучение и прогнозирование природных аномалий позволит своевременно корректировать соответствующую технологию бурения, как правило, позволит избежать аварий при проводке скважин.
Аварийность также резко уменьшиться с ростом общего уровня знаний и специальной технологической подготовки работников всех звеньев бурового предприятия. Повышение производственной дисциплины, а также совершенствование технологии бурения и культура производства, в свою очередь будут служить залогом успеха[12].
4.4 Аварии с обсадными колоннами
Как показывает анализ промыслового материала по Нефтеюганскому УБР Приобской площади за последние годы, из общего числа аварийных ситуаций, 9 приходиться на аварии с обсадными колоннами, поэтому данному виду аварий необходимо уделить повышенное внимание.
Крепление скважин обсадными колоннами—сложный и дорогостоящий процесс, поэтому любые нарушения нормального процесса крепления, приводят к значительным затратам времени и средств, нанося тем самым большой материальный ущерб.
При креплении скважин встречаются следующие группы аварий:
Прихваты обсадных колонн
Аварии этой группы происходят в интервалах геологического разреза, представленного неустойчивыми породами (глинами, песчаноглинистыми, хемогенными, илистыми породами, аргиллитами или переслаиванием перечисленных пород), бурение в которых сопровождается сужением ствола или обвалом пород.
Следует обратить внимание на частые случаи аварий с колонной — кондуктором. Только за два года известны 3 случая прихватов и разъединения резьбовых соединений малая длина и кажущаяся простота функций ведут к несоблюдению требований безаварийной работы в процессе бурения, спуска и цементирования кондуктора, что нередко приводит к тяжелым последствиям.
Обрывы колонн по резьбовым соединениям труб.
Разъединение труб обсадной колонны по резьбовым соединениям — распространенная группа аварий при креплении скважин. Наибольшее число их происходит в соединении трубы с муфтой, выполняемом буровой бригадой. В соединениях, выполненных на заводе, также случаются вырыв труб из муфты.
В основном обрыву обсадной колонны в резьбовом соединении предшествует расхаживание колонны, так произошел прихват на скважине № 8166. При спуске кондуктора Ш 324, в момент промывки произошел прихват колонны под действием перепада давления либо заклинивание. При этом усилия при расхаживании были в пределах допустимых норм, но достигали значительных величин, в результате произошел обрыв по рабочему соединению. Как позднее установила аварийная комиссия, ствол скважины не был хорошо подготовлен к спуску колонны, а профиль скважины не соответствовал проекту.
Смятие колонны и разрушения обратного клапана происходит из-за: несвоевременного заполнения колонны жидкостью, занижения прочности против расчетных данных при компоновке колонны, резких ударов об уступы при спуске, обрушения и сдвигов пластов до цементирования колонны. В зависимости от сложившихся обстоятельств трубы сминаются по-разному. Отдельные технологические упущения приводят к возникновению наружного избыточного давления, которое вызывает смятие обсадной колонны. Так на скважине № 7818 Приобской площади, произошло смятие трубы при спуске колонны, с последующим разъединением по рабочему соединению. Спуская колонну Ш 177,8 мм, на глубине 1991 метр, колонна дала посадку, и раздался хлопок. Циркуляцию восстановить не удалось При расхаживании с целью освобождения, на колонну была создана нагрузка превышающая прочностные характеристики материала труб, что привело к разрушению по телу, подняли верхнюю часть колонны. Аварию удалось устранить, путем частичной ликвидации ствола скважины.
Разрушение обсадных труб по телу происходит, как правило, в результате механического воздействия на них в уже зацементированной колонне. Трубы таких колонн разрушаются при разбуривании цементных стаканов без предварительного удаления кусков металла от узлов оснастки вышестоящей секции (стыковочных устройств, обратных клапанов), а также предметов, случайно упавших через устье в скважину.
Падения обсадных колонн происходят в результате неисправностей замков элеватора, из-за их самопроизвольного открытия при неожиданной остановке колонны на уступе в скважине. Типовая схема аварии при этом такова: когда обсадная колонна останавливается на уступе, элеватор по инерции опускается вниз, защелка поднимается и элеватор открывается. При этом колонна срывается с уступа и падает в скважину. Аналогичный вид аварии произошел на скважине № 8823, для ликвидации, успешно провели ловильные работы и продолжили дальнейший спуск[22].
Беспечность и пассивность исполнения порученной работы, не соблюдению инструкций по эксплуатации механизмов, привело к данному виду аварии.
Неосторожная работа двумя элеваторами при спуске колонн также приводит к аварии. Так, при спуске колонны (скважина №6432) элеватор, на котором подвешена колонна, был установлен на роторе защелкой в сторону порожнего элеватора. После переброски штропов порожний элеватор при подъеме зацепил за защелку элеватора, на котором была подвешена колонна, сломал ее, элеватор раскрылся и колонна упала в скважину.
В соответствии с действующими инструкциями, уложенные на стеллажи трубы, необходимо, помимо других видов проверок, про шаблонировать (протолкнуть через них шаблон). В последующем перед закреплением трубы в элеваторе просмотреть, не находится ли внутри трубы какой-либо предмет. Это правило часто нарушается. Трубы дополнительно не шаблонируются перед их спуском, а известны случаи, скважина № 8166, оставления шаблона в обсадной колонне, что и приводит к авариям.
Недохождение колонны до заданной глубины.
Этот вид аварии может быть вызван неудовлетворительным выполнением профиля ствола и подготовка скважины к спуску, что особенно важно при спуске колонн большого диаметра.
Для обеспечения нормального прохождения колонны по стволу скважины необходимо:
-интервал разных перегибов и сужений ствола проработать с особой тщательностью;
-не допускать ухудшения качества промывочной жидкости по сравнению с тем, какое по окончанию проходки ствола;
-подготовку ствола скважине производить в полном объеме согласно плана.
Этот вид аварии известен мне на личном опыте. На скважине № 8823, при спуске обсадной колонны Ш 177,8 мм в момент промывки на глубине 2109 метров произошел её прихват. После установки нефтяной ванны при расхаживании произошел обрыв обсадной колонны по рабочей резьбе. Оборванная часть колонны не дошла до забоя 199 метров. Авария была ликвидирована, путем соединения с оставшейся частью и скважину зацементировали. Причиной прихвата обсадной колонны явились не качественный профиль скважины к спуску труб Ш 177,8 мм и отсутствие действенных смазочных средств для обработки бурового раствора.
Завершающий этап крепления скважины — цементирование. От качества цементирования зависят состояние эксплуатируемой колонны и дальнейшее углубление скважины. Цементирование колонны — это один из сложнейших этапов проводки скважины, для выполнения, которого заняты различные службы и множество агрегатов и специальных машин, а также большое число специалистов и рабочих. Точное соблюдение плана по подготовке скважины, оборудования, технологии цементирования — залог успеха в выполнении работ по цементированию[66].
Вследствие нарушений возникает необходимость в сложных ремонтных работах, связанных либо с некачественным разобшением пластов, либо с оставлением тампонажного раствора в колонне.
4.5 Предупреждение аварии с обсадными колоннами
Дефекты труб являются основной причиной аварий с обсадными колоннами.
По происхождению дефекты труб можно подразделить на три группы.
1. Дефекты металлургического производства - заслои, плены, трещины, несоблюдения требований ГОСТ по прочностным показателям, геометрическим размерам и др.
2. Дефекты, явившиеся результатом несоблюдения правил погрузки, разгрузки и хранения обсадных труб.
3. Дефекты, появившиеся при креплении скважин обсадными колоннами и после завершения этого процесса.
Дефекты по первым двум группам выявляют в результате тщательного наружного осмотра, опрессовки и шаблонирования каждой трубы, а в ряде случаев - с помощью дефектоскопии.
В США, например, применяют ряд методов, направленных на выявление дефектов труб, причем наиболее широкое применение нашли:
магнитоскопический метод, заключающийся в использовании намагниченных порошков; наличие дефекта устанавливают по отсутствию линий магнитного поля, которые образует порошок, нанесенный на наружную поверхность трубы;
метод "проникновения", основанный на заполнении микротрещин флюоресцирующей или радиоактивной краской, нанесенной на поверхность трубы; после очистки поверхности трубы трещины отчетливо видны даже невооруженным глазом;
рентгеновские исследования и использование проникающих излучений радиоактивных изотопов, что позволяет получить наиболее полное представление о пригодности труб;
ультразвуковой метод, позволяющий выявлять трещины, заслои, неметаллические включения и другие дефекты.
Дефектоскопия дает наиболее объективные данные о пригодности каждой трубы для спуска в скважину. В связи с этим должны быть ускорены работы по конструированию дефектоскопов, обладающих необходимой разрешающей способностью и быстродействием.
Дефекты третьей группы связаны с нарушением наружной и внутренней поверхности, а также с коррозией обсадных труб.
Наружная поверхность труб при спуске их в скважину чаще всего повреждается плашками ключей или клиновых захватов, а также в результате попадания в затрубное пространство посторонних металлических предметов.
Исследование поднимаемых из скважины обсадных колонн и отдельных труб, замеры специальными приборами внутреннего диаметра обсадных колонн, спущенных в скважины, указывают на наличие износа труб по внутренней их поверхности. Этот износ возникает в результате воздействия замковых соединений бурильных колонн, долот, ловильного инструмента, каротажного кабеля, гидроабразивного размыва и других причин [16].
Случаи повреждения обсадных труб при спуске их в скважину довольно часты. Они связаны с тем, что прочность труб, изготовленных из стали марок Е, а также N-80, P-I05 и более высокой прочности, при наличии на их поверхности насечек, рисок, надрезов резко снижается. Обусловлено это тем, что в зоне указанных нарушений поверхности труб происходит концентрация напряжений и последующее хрупкое разрушение металла. Исследования случаев нарушения целостности труб по указанной причине показали, что опасные дефекты возникают вследствие применения недопустимо высоких крутящих моментов при докреплении резьбовых соединений, а также использования сухарей, плашек, ключей и клиновых захватов, из-за конструкции насечек которых образуются риски и надрезы[23].
Предупреждение аварий, связанных с дефектами, появляющимися при свинчивании труб, заключается в контроле с помощью приборов за величиной крутящего момента, которая должна находиться в обусловленных пределах, а также в использовании сухарей, плашек ключей и клиновых захватов, конструкция насечек которых обеспечивает точечный контакт с телом трубы.
До сих пор имеют место случаи срыва резьбовых соединений и падения обсадных колонн в скважину в результате свинчивания нецентрируемых между собой труб, навинчивания сильно раскачивающейся трубы или трубы с искривлением, превышающим допустимое, установленное ГОСТ 632-64.
Аварии подобного рода можно предупредить путем организации тщательного контроля за правильностью выполнения всех операций при спуске обсадных колонн.
В процессе спуска тяжелых обсадных колонн при подвеске их на элеваторах сжатая муфта деформируется в поперечном или продольном направлении. Такая деформация муфты вызывает появление овальности, особенно большой в зоне ее верхнего торца. Эксперименты показали, что это может быть причиной негерметичности резьбового соединения. Для предупреждения таких явлений рекомендуется докреплять резьбовые соединения в скважине сразу после проведения операции по цементированию обсадной колонны [17]. Следует также иметь в виду, что при недостаточном докреплении соединений нижняя часть обсадной колонны может отвернуться, в результате чего возникнет аварийная ситуация.
В зарубежной практике нашли широкое применение разъемные и неразъемные предохранительные кольца, либо зафиксированные на трубах, либо способные вращаться и перемещаться в пределах трубы.
Практика показывает, что особенно большой износ труб за счет их истирания наблюдается в устьевой части обсадной колонны.
Для предупреждения аварий, связанных с износом устьевой части колонны, можно, например, устанавливать толстостенные трубы (из трубных заготовок). Для предупреждения аварий, связанных с износом внутренней поверхности обсадных колонн при бурении глубоких скважин, производить смену верхней секции, которую не цементируют и по мере износа извлекают и заменяют. Одновременно в связи с односторонним износом обсадных труб, обусловленным искривлением ствола и рядом других причин, можно применить способ распределения износа колонны по ее периметру за счет поворота верхней, сменной секции обсадной колонны в специальном переводнике. Этот способ позволяет повысить надежность и долговечность работы обсадной колонны.
Смятия обсадных колонн в результате пластического течения горных пород и воздействия на колонны полного горного давления. Предупреждение таких аварий заключается в своевременном выявлении в разрезе зон, характеризующихся развитием пластического течения пород, и креплении их обсадными трубами, прочность которых должна обеспечивать устойчивость при воздействия на обсадную колонну полного горного давления.
Из промысловой практики известно, что в процессе спуска отмечаются случаи недоведения обсадных колонн до намеченной глубины вследствие их прихвата.
Во многих случаях обсадные колонны в процессе их спуска останавливаются на различных глубинах, причем в большинстве случаях обсадные колонны не удается освободить.
Основная причина, по который происходят прихваты, заключающаяся в том, что эффективный диаметр ствола скважины меньше диаметра обсадной колонны. Это является следствием резких перегибов ствола скважины на отдельных участках, образования участков ствола спиральной формы и связано с использованием в компоновке низа бурильной колонны (КНБК) только УБТ круглого сечения.
Эффективный диаметр ствола скважины (D>эф>) при использовании УБТ круглого сечения определяют из соотношения [21].

где D>Д> – диаметр долота, мм,
D>УБТ> – диаметр УБТ.
В результате неточной оценки фактического состояния скважин, в ряде случаев для проработки (шаблонирования) стволов используют малоэффективные КНБК.
По мере увеличения диаметров обсадных колонн (особенно при диаметре 273 мм и более) трудности доведения их до обусловленных глубин возрастали. Это с одной стороны связано, с значительным ростом жесткости колонн, а с другой - с полной неупорядоченностью в выборе КНБК как при бурении, так и при подготовке ствола скважины к спуску обсадной колонны. Так, было выявлено 13 типов КНБК, используемых при проведении этих работ. Такое разнообразие вариантов КНБК дало возможность сделать обоснованные выводы относительно наиболее эффективных компоновок.
Прохождение обсадных колонн по стволу скважины зависит от их жесткости [7]. Таким образом, для беспрепятственного спуска обсадной колонны на заданную глубину, при прочих равных условиях, необходимо, чтобы жесткость КНБК была не ниже жесткости колонны обсадных труб.
Обычно при расчетах для оценки жесткости КНБК и обсадной колонны используют их отношение:
.
Для решения вопроса о необходимости стабилизации КНБК разработана номограмма (рис.1). Если показатель m, определенный для конкретных условий, будет находится в зоне А номограммы, стабилизировать КНБК не надо, а при нахождении его в зоне Б стабилизация КНБК обязательна.
При принятии за основу математической модели, с защемленным одним концом, в результате расчетов были определены наиболее эффективные КНБК (рис.2).

Рисунок 1. Номограмма для определения необходимости стабилизации низа бурильной колонны.

Рисунок 2. Различные компоновки низа бурильной колонны.
Решение вопроса о выборе конкретного типа КНБК заключается в определении величины m для применяемого диаметра УБТ и диаметра намеченной к спуску обсадной колонны и нахождение по номограмме (см. рис.1) зоны, в которой находится найденная величина m. Если данная m располагается в зоне А номограммы, применяют КНБК I типа, а если Б – II типа (см. рис.2).
Причиной недоведения обсадных колонн до заданной глубины является неудовлетворительное шаблонирование ствола. Так как во многих случаях подготовка ствола скважины к спуску обсадных колонн состоит лишь в спуске долота на бурильных трубах с УБТ.
Для уменьшения случаев недоведения до заданной глубины обсадных колонн, в частности хвостовиков, из-за прихвата их под действием перепада давления. За рубежом успешно используют трубы со спиральными канавками на наружной поверхности[01].
Согласно имеющимся данным, применение колонны труб со спиральными канавками в качестве хвостовика позволяет существенно уменьшить площадь поверхности контакта труб со стенками скважины (примерно на 50%). Благодаря этому, можно значительно сократить число прихватов, под действием перепада давления; существенно повысить качество цементирования за счет лучшего распределения цементного раствора в затрубном пространстве и возможности расхаживания хвостовиков; осуществлять спуск хвостовиков большего наружного диаметра, чем предусматривалось ранее, как в вертикальные, так и в скважины с большим углом наклона [38].
Одной из причин аварий с обсадными колоннами является низкое качество их цементирования, заключающееся в плохой изоляции нефте-газо- и водоносных пластов и в возникновении вследствие этого перетоков флюидов, а иногда и межколонных проявлений. Если при этом в пластовых флюидах содержатся коррозийные примеси, например, сернистые соединения, происходит интенсивная коррозия металла труб на участках перетока. В связи с этим мероприятиям, проводимым с целью повышения качества цементирования, должно быть уделено особое внимание.
Следует также иметь в виду, что при большой разности между температурой в скважине и температурой продавочной жидкости вследствие ее нагрева давление в обсадной колонне после цементирования может повыситься сверх допустимого. Для предупреждения нарушения целостности колонны обсадных труб под воздействием этого давления необходимо полностью сбрасывать давление в колонне, если прочность и герметичность обратного клапана допускают это, или систематически сбрасывать давление через один из кранов, установленных на цементировочной головке.
Все работы по креплению скважин следует производить в соответствии с требованиями технологического регламента по креплению нефтяных и газовых скважин и других действующих инструкций.
Особое внимание необходимо обратить на выполнение нижеприведенных требований, несоблюдение которых приводит к частым авариям, осложнениям и некачественному разобщению продуктивных горизонтов.
Подготовку ствола скважины к спуску колонны, спуск колонны и цементирование надо производить по индивидуальным планам, утвержденным главным инженером и главным геологом УБР.
До начала работ по подготовке скважины к спуску обсадной колонны необходимо проверить состояние, вышки и другого оборудования, а также агрегатов буровой установки. При необходимости следует произвести ремонт и замену неисправного инструмента и оборудования.
Буровые насосы, нагнетательные линии с запорной арматурой и система очистки промывочной жидкости должны обеспечивать его бесперебойную подачу и очистку на различных режимах промывки скважины. Приемные емкости следует очистить от шлама и грязи.
В качестве дополнительного средства для герметизации устья на буровой необходимо иметь бурильную трубу под соответствующий диаметр плашек превентора, которая должна быть снабжена шаровым обратным клапаном и переводником для соединения с обсадной колонной
Также надо проверить исправность и точность показаний индикаторов веса, моментомеров и других контрольно-измерительных приборов, при необходимости их следует заменить.
Подготовленные и проверенные калибрами и шаблонами (табл. 4.1), а также гидравлическим испытанием, согласно требованиям Инструкции по испытанию скважин на герметичность, и обмером на трубных базах. Трубы на буровой подвергают наружному осмотру, повторному шаблонированию, проверке соответствия их сертификату и заводской маркировке, после чего их укладывают в порядке очередности спуска на мостки[22].
Таблица 4.1
Размеры шаблонов.
|
Диаметр обсадных труб, мм |
Длина шаблона, мм |
Наружный диаметр шаблона, мм |
|
114 … 219 |
150 |
111 … 216 |
|
245 … 340 |
300 |
241 … 336 |
|
407 |
300 |
402 |
Примечание, d - номинальный, внутренний диаметр трубы, мм.
Обсадные трубы, доставленные на буровую, должны соответствовать прочностному расчету и иметь заводской сертификат, а также заводскую маркировку, подтверждающие их соответствие требованиям ГОСТа.
Проверка, опрессовка, сборка и компоновка технологической оснастки должны осуществляться в соответствии с требованиями инструкций по эксплуатации, паспортных характеристик и планов работ на крепление скважин.
В процессе спуска бурильной колонны при последнем рейсе долота производят контрольный замер ее длины. Результаты контрольного замера необходимо отразить в буровом журнале и суточном рапорте бурового мастера.
При проведении последнего рейса долота следует привести параметры промывочной жидкости в скважине и запасных емкостях в соответствие с требованиями ГТН. При этом должна быть замерена температура циркулирующего бурового раствора.
До начала подготовки ствола скважины к спуску обсадной колонны необходимо выполнить комплекс заключительных геофизических исследовании. По результатам, которых надо откорректировать глубину установки башмака обсадной колонны, интервалы сужений ствола, объем скважины, интервалы и места установки элементов технологической оснастки.
Ствол скважины прорабатывается в интервалах сужений и калибруется на глубину спуска обсадной колонны компоновками инструмента, обеспечивающими проходимость обсадной колонны.
После калибровки ствол скважин должен быть промыт до полной очистки от шлама и достижения стабильности технологических параметров буровою раствора. Интенсивность промывки определяется, временным руководством по промывке скважин перед спуском обсадных колонн и перед цементированием. При этом во избежание прихвата обсадной колонны, от перепада давления в период технологически необходимых остановок плотность бурового раствора должна обеспечивать минимально допустимую репрессию на стенки скважины.
Обсадную колонну спускают под руководством ответственного инженерно–технического работника УБР. Отступление от плана спуска обсадной колонны или выполнения работ, не предусмотренных планом, не допускается без согласования с лицами, его утвердившими. Обсадные колонны должны спускаться с помощью клиновых захватов (спайдеров) или клиньев для обсадных труб, позволяющих докреплять резьбовые соединения в процессе спуска.
Для обеспечения герметичности резьбовых соединений обсадных колонн применяют следующие специальные смазки: Р-2МВП (ТУ 38-101-332— 73) для скважин с температурой до 100 °С, Р-402 (ТУ 38-10-1708—78) для скважин с температурой до 200 °С, УС-1 (ТУ-38-101-440—74), лента ФУМ (ТУ 6-05-1388—70).
Для обеспечения качественного крепления скважин и разобщения горизонтов в компоновку спускаемых колонн в обязательном порядке включают технологическую оснастку (башмак с направляющей насадкой, обратный клапан типа ЦКОД, стоп–кольцо, центраторы, скребки, турбулизаторы, заколонные пакеры и другие устройства). Число и глубина установки указанных устройств определяются для каждой скважины в отдельности технологической службой экспедиции и указываются в плане работ на крепление скважины.
Трубы свинчивают круговым ключом, резьбовые соединения закрепляют машинными ключами. Крутящий момент свинчивания контролируют по моментомеру с регистрирующим прибором.
Для толстостенных труб (=12 мм) из стали группы прочности более Е момент свинчивания увеличивается дополнительно на 25 %.
При использовании обратных клапанов, которые не обеспечивают самозаполнения колонны жидкостью, необходимо регулярно доливать буровой раствор через определенное число спущенных труб, установленное расчетным путем и указанное в плане работ по креплению скважины.
В процессе спуска колонны нужно непрерывно наблюдать за характером вытеснения бурового раствора из скважины. В случае возникновения поглощения и падения уровня жидкости в затрубном пространстве необходимо непрерывно заполнять его буровым раствором.
Для предотвращения прихвата обсадной колонны в процессе заполнения ее жидкостью, восстановления циркуляции и промежуточных промывок колонну необходимо держать на весу и периодически расхаживать.
Во избежание смятия обсадных труб, гидроразрыва пород и поглощении промывочной жидкости скорость спуска колонны в скважину должна быть равномерной и определена расчетным путем. Расчет прилагается к плану работ на крепление скважины.
Верхние концы потайных и нижних секций колонн должны размещаться над зонами осложнений и интервалами зарезки вторых стволов в устойчивых породах, не имеющих каверн и желобных выработок.
Бурильные трубы, используемые при креплении, должны быть проверены на прочность расчетным путем. в соответствии с существующей методикой, опрессованы на 1,5-кратное давление от максимально ожидаемого при креплении скважины, но не превышающее допустимое для данного типоразмера труб; прошаблонированы по минимальному внутреннему диаметру и проверены наружным осмотром.
Хвостовики и секции обсадных колонн должны подвешиваться в стволе скважины и цементироваться в этом состоянии, чтобы избежать изгиба. Разгрузка секций колонны и хвостовика на забой или на ранее спущенную часть обсадной колонны запрещается до окончания срока ОЗЦ.
Спуск хвостовиков и секций обсадных колонн, как правило, должен осуществляться на разъединителях, обеспечивающих вращение верхней части бурильного инструмента, во избежание его прихвата в открытом - стволе скважины.
Скорость спуска потайных нижних секций колонн на бурильных трубах не должна превышать расчетной скорости спуска обсадных труб, а заполнение их промывочной жидкостью должно производиться в сроки, указанные в плане работ на крепление скважины.
Рецептуру тампонажных растворов для конкретных скважин подбирают в производственных лабораториях. При этом в обязательном порядке особое внимание обращают на совместимость тампонажного раствора с буферной и промывочной жидкостями, применяемыми в процессе бурения.
Время начала схватывания цементного (тампонажного) раствора должно в 1,5 - 2 раза превышать время, необходимое для цементирования.
Чтобы обеспечить наиболее полное замещение бурового раствора в затрубном пространстве цементным раствором, плотность последнего должна быть больше плотности бурового раствора не менее чем на 0,2 г/см3.
Тампонажные материалы, необходимая техника и оборудование должны быть доставлены на буровую с таким расчетом, чтобы произвести цементирование скважины сразу же после допуска колонны, промывки и приведения параметров промывочной жидкости в скважине в соответствие с ГТН и планом работ на крепление. Время, необходимое для промывки скважины, в каждом конкретном случае определяется ответственным руковадителем работ по спуску колонны, но оно должно быть не менее одного цикла.
Во время промывки и выравнивания раствора обсадная колонна должна находиться в подвешенном состоянии и периодически расхаживаться.
Контроль и управление процессом цементирования обсадных колонн осуществляют с помощью станции контроля цементирования (СКЦ). Параллельно с работой СКЦ в процессе цементирования необходимо:
1) непрерывно замерять плотность тампонажного раствора при его приготовлении и закачивании с помощью ареометра и отбирать пробы из всех бачков, а также из опресненной емкости и блок–манифольда, чтобы исключить отклонения плотности от заданного значения более чем на ±0,08 г/см3 для чистых портландцементов и на ±0,05 г/см3 для утяжеленных и облегченных смесей;
2) контролировать давление нагнетания жидкостей в обсадную колонну по манометрам на цементировочных агрегатах и блок–манифольде;
3) подсчитывать объем закачиваемой в скважину продавочной жидкости по тарировочным емкостям цементировочных агрегатов;
4) визуально контролировать характер циркуляции и корректировать режим работы агрегатов в случае возникновения поглощения в скважине.
Скорость восходящего потока цементного раствора в затрубном пространстве должна быть не ниже скорости подъема промывочной жидкости во время промывки скважины перед цементированием. Закачивание и продавливание тампонажного раствора должны быть непрерывны. Для предотвращения резкого повышения давления «Стоп» последние 1 м3 объема продавочной жидкости следует закачивать одним агрегатом, работающим на первой скорости. Давление «Стоп» не должно превышать фактического давления в конце цементирования на 294 ГПа и быть выше допустимого внутреннего давления для обсадной колонны
Определять объем продавочной жидкости надо с учетом ее сжимаемости. Коэффициент сжимаемости определяется автоматическим устройством АКГ.
После окончания цементирования потайных и нижних секций обсадных колонн, перекрывающих продуктивные горизонты, следует производить непрерывную промывку скважины с необходимым противодавлением в течение времени ОЗЦ. Транспортировочные переводники поднимают из скважины только при отсутствии признаков нефте-, газо-, водопроявлсний.
После цементирования обсадных колонн в один прием и верхних секций или верхних ступеней колонн можно герметизировать устье скважины и создавать избыточное давление в затрубном пространстве на время ОЗЦ. Избыточное давление определяется расчетным путем технологической службой экспедиции и указывается в плане работ на крепление.
По окончании ОЗЦ колонну закрепляют в растянутом состоянии. Величину натяжки определяют расчетом. Разгрузка не зацементированной части колонны до подвески ее на колонной головке запрещается.
После ОЗЦ, оборудование устья скважины, обсадную колонну испытывают на герметичность в соответствии с инструкцией по испытанию скважин на герметичность.
Разбуривание цементных стаканов и элементов технологической оснастки в колонне без установленного противовыбросового оборудования и при несоответствии параметров бурового раствора ГТН запрещается.
Монтировать противовыбросовое оборудование можно через 12 ч после цементирования скважины. Цементные стаканы, цементировочные пробки, упорные кольца, обратные клапаны и башмаки обсадных колонн следует разбуривать специальными долотами фрезерного типа или трехшарошечными долотами.
4.6 Ликвидация аварий с обсадными трубами
Ликвидация аварий ведётся согласно, существующего руководства по ликвидации аварий при бурении нефтяных и газовых скважин на площадях разбуриваемых Нефтеюганским УБР.
4.7 Заключение
Одним из наиболее ответственным этапов строительства скважины является её крепление.
Успешное крепление скважин предопределяется всем предшествующим ходом её бурения и требует тщательного разработанного плана, специальной подготовки ствола скважины, оборудования, обсадной колонны и строгого соблюдения технологии цементирования.
Как показывает анализ промыслового материала, по пробуренным скважинам за последние годы на Приобской площади наиболее частыми аварийными ситуациями при спуске обсадных колонн является:
Падение в скважину колонны обсадных труб.
Оставление шаблона в обсадной колонне.
Не прохождение обсадной колонны до заданной глубины.
Прихват О.К.
Из всех перечисленных аварий наиболее частым является прихват О.К.. Из числа известных видов прихватов по физической однородности вероятных причин их возникновение можно объединить в три категории:
- прихват под действием перепада давления
- заклинивание колонны труб при движении в стволе
- прихват из-за сужения сечения ствола скважины, оседание шлама, течение пород, сальникообразований.
На примере, как, изменяя управляемые факторы, можно добиться уменьшение вероятности прихватов.
Используя данные о прихвате, происшедшем в скважине № 8331 Приобской площади. Если предположить, что прихват еще не произошел, можно выяснить какие управляемые факторы, которые необходимо было бы изменить, и как создать условия, чтобы прихват не возник.
Отсутствие действенных и эффективных смазочных средств, для обработки бурового раствора при бурении скважин Ш215,9мм, предназначенные креплению Ш177,8мм обсадными трубами, привело к прихвату О.К.
Если изменить некоторые управляемые факторы (СНС и коэффициент прихвата), СНС = 39/72 дПа, К>опасн.прихв>.= 0,127не соответствует, вероятнее всего аварию можно было бы предотвратить.
Таким образом, используя управляемые факторы, можно свести к минимуму вероятность возникновения прихватов.
5. БЕЗОПАСНОСТЬ И ЭКОЛОГИЧНОСТЬ ПРОЕКТА
5.1 Анализ вредностей и опасностей
5.1.1 Взрывопожаробезопасность
Буровая установка является взрывопожароопасным объектом, особо опасными в этом отношении являются работы с нефтью и нефтепродуктами, в частности работы, связанные с установкой нефтяных ванн при ликвидации прихватов, которые являются наиболее распространенным видом осложнений при бурении горизонтальных скважин
Причины взрывов и пожаров при работе с углеводородами могут быть различны:
1) пропуски дизельного топлива, разливы нефтепродуктов и горючих веществ;
2) нарушение герметичности выхлопных коллекторов двигателей, неисправность искрогасителей;
3) применение открытого огня, курение, проведение сварочных работ вблизи мест хранения нефти, горюче-смазочных материалов, сгораемых конструкций и горючих веществ;
4) неисправности электрооборудования, вызывающие искрение, короткое замыкание, нагрев проводов;
5) прокладка силовой осветительной сети с нарушениями;
6) перегрузка электрических приборов, оборудования.
Во избежание возникновения взрывов и пожаров необходимо выполнять следующие требования [20]:
1) территория вокруг буровой в радиусе 50 м должна быть очищена от травы, валежника, листьев;
2) площадки вокруг наземных сооружений должны быть выровнены и не иметь препятствий для передвижения людей и пожарного транспорта;
3) топливная емкость для двигателей внутреннего сгорания, а также смазочные материалы должны располагаться не ближе 15 м от буровой;
4) запрещается пользоваться на буровой факелами, спичками, свечами, керосиновыми факелами и другими источниками открытого огня. На территории буровой запрещается разведение костров, сжигание мусора, выжигание травы. Курение разрешается только в специально отведенных для этого местах, оборудованных емкостью с водой и надписью “ Место для курения”;
5) электрические машины, оборудование, приборы, применяемые во взрывоопасных местах, должны отвечать требованиям “Правил изготовления взрывозащищенного и рудничного электрооборудования”;
6) во избежание разрушений, возгораний и взрывов при прямых ударах молнии должна устанавливаться молниезащита в соответствии с СИ 305-77 “ Инструкция по проектированию и устройству молниезащиты зданий и сооружений”. Запрещается во время грозы производить работы на буровой вышке, а также находиться на расстоянии ближе 10 м от заземляющих устройств молниезащиты;
7) для борьбы с проявлениями вторичных воздействий молнии, а также статического электричества технологическая аппаратура и трубопроводы, содержащие горючие пары и газы, должны заземляться. Сопротивление заземляющих устройств допускается до 100 Ом.
Кроме того, для предупреждения возможности возникновения пожара проводят тщательную работу по подготовке всего оборудования для безопасных работ, обращая особое внимание на устранение очагов пожара под полом буровой, в зоне ствола скважины и в лебедке. Под ведущей трубой обязательно должен быть установлен шаровой или обратный клапан, при этом категорически запрещается отвинчивать ведущую трубу с клапаном. Бурильная колонна должна быть разъединена выше клапана. При работе с нефтью и нефтепродуктами должны соблюдаться меры, исключающие возможность их разлива.
Если буровая вышка устанавливается в ночное время, то место проведения работ освещается прожекторами. Трубы, по которым нефть заливается в емкость и перекачивается, надежно заземляются, пролитая нефть засыпается песком. Около подъездных путей к буровой установке и около нее устанавливаются щиты с надписями о необходимости строгого соблюдения правил пожарной безопасности. Дизельное топливо и нефтепродукты для приготовления раствора хранятся не ближе 40 м от буровой.
Буровая установка должна быть оборудована следующими средствами пожаротушения [20]:
1) двумя пожарными стояками диаметром 50-60 мм, установленными в 15-20 м от помещений насосной и со стороны мостков буровой в 75-100 м от водопровода;
2) тремя пожарными рукавами со стволами и двумя переводниками диаметром 50-60 мм (длина одного рукава не менее 20 м );
3) огнетушителями ОХП-10 в количестве 6 шт., ящиками с песком емкостью 0,5 м3 (4 шт.), пожарными щитами, оборудованными лопатами (4 шт.), ломами(2 шт.), топорами (2 шт.), баграми (2 шт.), ведрами (4 шт.).
5.1.2 Электробезопасность
Безопасность обслуживания электроустановок зависит от производственной обстановки. Согласно правилам устройства электроустановок (ПУЭ) – буровая установка с силовым приводом насосная, узел приготовления раствора, ёмкости, котельная установка, по признаку токопроводящие полы относятся к классу – особо опасный.
Защитные мероприятия, обеспечивающие безопасную эксплуатацию электроустановок недоступность прикосновения к токоведущим частям. Токоведущие части воздушной линии в подстанцию буровой установки при напряжении до 10 кв. должны находится от земли на высоте не менее 4,5м.
Защитное заземление – присоединение металлических частей электрической установки к многократно заземлённому нулевому проводу. При пробое на корпус создаётся такой величины ток, который достаточен для срабатывания защиты и отключения повреждённого оборудования. Согласно ПУЭ сопротивление заземления нейтрали не должно превышать 4-10 Ом, а каждого повторного заземления нулевого провода 10-30 Ом. Повторное заземление – основное мероприятие, ограждающее людей от поражения электрическим током при наличии напряжения прикосновения и шага. Заземляются корпуса трансформаторов, электрических машин, светильников, кабелей, кабельных муфт и других металлических токопроводящих конструкций. В качестве искусственного заземления должны применяться вертикально погружённые в землю стальные трубы, уголки, стержни или горизонтально положенные стальные полосы. Соединения заземляющих проводников между собой, а так же с заземлителями и корпусами аппаратов и машин, должны быть выполнены сваркой, пайкой или болтовыми соединениями, исключающими ослабление контактов от вибрации.
Шум и вибрация
Источниками шума и вибрации на буровой являются насосы, роторный стол, лебедка, компрессоры. Сильный шум, действуя на органы слуха, может привести к полной глухоте или профессиональной тугоухости. При этом нарушается нормальная деятельность сердечно-сосудистой системы и пищеварительной системы, возникают хронические заболевания, повышается утомляемость человека. Под действием вибрации могут произойти изменения в нервной системе, падение мышечной силы и массы, повышение артериального давления, нарушение остроты зрения, ослабление памяти.
Фактический и допустимый уровень шума и вибрации согласно [20] приведен в таблице 5.2.
Таблица 5.2.
Фактический и допустимый уровень шума
|
Наименование |
Допустимый уровень, дБ |
Фактический уровень, дБ |
|
Шум |
110 |
115 |
|
Вибрация |
108 |
95 |
По способу передачи вибрация рабочих мест относится к общей вибрации, передающейся через опорные поверхности на тело сидящего или стоящего человека.
Общую вибрацию по источнику её возникновения подразделяют на 3 категории:
1-я категория – транспортная;
2-я категория – транспортно-технологическая;
3-я категория – технологическая.
Буровая установка относится к 3-ей категории. По направлению действия вдоль осей ортогональной системы координат Xо,Yо, Zо, где Zо – вертикальная ось, перпендикулярная опорным поверхностям тела в местах его контакта с сиденьем, рабочей площадкой и т.д., а Xо,Yо – горизонтальные оси, параллельные опорным поверхностям.
По характеру спектра вибрации подразделяются на:
узкополосные – контрольные параметры в одной 1/3 октавной полосе частот более, чем на 15 Б превышают значения в соседних 1/3 октавных полосах;
широкополосные – которые не отвечают указанному требованию;
По частотному составу вибрации подразделяются на:
низкочастотные с преобладанием максимальных уровней в октавных полосах 1 и 4 Гц;
среднечастотные – 8 и 16 Гц;
высокочастотные – 31,5 и 63 Гц.
По временным характеристикам вибрации:
постоянные, для которых величина виброскорости изменяется не более чем в 2 раза (на 6 Б) за время наблюдения не менее 1 минуты;
непостоянные, для которых величина виброскорости изменяется не менее, чем в 2 раза (на 6 Б) за время наблюдения не менее 1 минуты.
Мероприятия по ограничению влияния вибрации включают:
уменьшение вибрации в источнике образования конструктивными и технологическими методами при разработке новых и модернизации существующих машин;
уменьшение вибрации на пути распространения средствами виброизоляции и вибропоглощения;
своевременное проведение планового и предупредительного ремонта машин с обязательным после ремонтным контролем вибрационных характеристик;
исключение контакта работающих с вибрирующими поверхностями за пределами рабочего места или рабочей зоны;
Освещение рабочей площадки
Рациональное освещение рабочих мест имеет весьма важное гигиеническое значение. Оно облегчает труд, делает движения работающего более уверенными, снижает опасность травматизма. Недостаточное или неправильное освещение территории, дорог, установок, лестниц может привести к падению работающих и к тяжёлым несчастным случаям.
В нефтяной промышленности для освещения широко применяются лампы накаливания. Это связано с тем, что светильники во взрывоопасном исполнении выпускаются только для ламп накаливания. На буровых применяются пылеводонепроницаемые светильники НОБ. На территории буровой установки, на открытых площадках для оборудования, на скважинах применяется прожекторное освещение. Для освещения рабочей площадки в ночное время устанавливаются 2 прожектора типа ПЗТ-ЗТ с лампой накаливания мощностью 300 Вт, способной давать рассеянный свет. Нормы минимальной освещённости производственных объектов на буровой приведены в таблице 4.2.
Таблица 4.2
Освещённость объектов на буровой
|
Наименование объектов |
Норма освещённости |
Мощность лампы |
Число точек |
|
Роторный стол Щит КИП Палатьи верхового Путь талевого блока Кронблок Приемный мост |
40 50 25 13 25 13 |
300 100 300 300 150 150 |
4 1 2 1 1 1 |
5.1.5 Метеорологические условия труда
На здоровье человека существенное влияние оказывают метеорологические условия производственной среды, которые складываются из температуры окружающего воздуха, его влажности, скорости движения и излучений от нагретых приборов. Неблагоприятные метеорологические условия приводят к ухудшению условий труда, снижают производительность, увеличивают заболеваемость. При очень низких или высоких температурах внешней среды, особенно при тяжёлой физической работе, человеческий организм не в состоянии преодолеть вредное воздействие этого метеорологического фактора. Чтобы обеспечить нормальные условия в рабочей зоне устанавливают контроль за параметрами окружающей среды. С этой целью применяются различного рода приборы-термометры, термографы, психрометры, актинометры и др.
Санитарными нормами проектирования промышленных предприятий и ССБТ ГОСТ 12.1.005-76 регламентируются нормы температуры, влажности, скорости движения воздуха в зависимости от сезона года и категории работ.
Для рабочих нефтяной и газовой промышленности, работающих в незащищённых или почти незащищённых от внешней среды объектах, а именно на буровых установках, изготовлена зимняя спец. одежда из нефтеморозостойких материалов, костюм «Нефтяник», летняя спец. одежда, а так же рукавицы со специальным покрытием и защитная нефтеморозостойкая обувь.
5.1.6 Механические опасности
При бурении скважин может возникнуть опасность, связанная с недостаточной прочностью узлов сосудов работающих под давлением, для предотвращения этого должна проводиться их опрессовка на давление, превышающее максимальное рабочее в 1,5 раза.
Также существует опасность травмирования в результате выхода из строя элементов талевой системы вследствие чрезмерных нагрузок или, что вероятнее, из-за износа каната, либо тормозных колодок, во избежание этого необходимо регулярно подвергать проверке эти элементы и вовремя проводить перетяжку каната и замену тормозных колодок.
В зонах работы механизмов, также существует опасность травмирования, чтобы ее избежать все их движущиеся части (маховики, валы, зубчатые передачи),расположенные ниже 2м, должны быть изолированы специальными кожухами.
5.2 Инженерно техническая защита при СПО
При бурении скважины наиболее трудоёмкими и опасными работами являются спускоподъемные операции (СПО). Несчастные случаи в основном происходят из-за применения неправильных приёмов труда, несоблюдение правил безопасности, нахождение рабочих в опасных зонах рабочей площадки, несогласованности в работе между бурильщиком и его помощниками.
Чтобы создать безопасные условия труда в процессе производства СПО, необходимо соответствие технического состояния бурового оборудования и инструмента правилам и нормам техники безопасности. Для исключения травматизма при эксплуатации машинных ключей, необходимо, чтобы поверхность ручки машинного ключа была гладкой, а место расположения ручки исключало возможность защемления и ушиба рук рабочих. Диаметр ручки должен быть в пределах 20-30 мм., а размер её не менее 120-170 мм. При раскреплении замковых соединений бурильных труб нередко наблюдается самопроизвольное открывание ключа, которое становится причиной возникновения несчастных случаев, для устранения опасности необходимо следить за исправностью запорного устройства. При раскреплении и креплении машинные ключи иногда ломаются, вызывая травмирование рабочих. Поломки ключей в основном происходят, когда для раскрепления замкового соединения требуется приложить к рычагу ключа максимальное усилие, которое оказывается больше допустимого. Для предотвращения этого необходимо применять исправные ключи, в которых отсутствуют трещины, наплывы и другие дефекты, приводящие к слому ключа, а так же не создавать нагрузки выше допустимой.
При работе машинных ключей наблюдаются случаи заедания шарнирных соединений вследствие того, что после работы ключи не промываются и остатки промывочной жидкости образуют корку. Несвоевременная смазка ключа тоже является причиной его заедания. Кроме того, заедание может происходить при погнутом пальце или его чрезмерной посадке. Поэтому при СПО необходимо проверить наличие смазки в шарнирных соединениях пальца, плавность движения отдельных челюстей и наличие пружин в защелке. Большое значение имеет место расположения подвесных ключей, т.е. расстояние их от центра скважины, целесообразно устанавливать так, чтобы правый свободно подвешенный машинный ключ располагался по продольной оси ротора и 30-35см. от поперечной оси в сторону приемного моста. Для облегчения регулирования расположения машинного ключа по высоте на втором конце каната подвески ключа подвязывают контр грузы, которые должны передвигаться под полом буровой.
Для обеспечения безопасной эксплуатации стационарного бурового ключа необходимо соблюдать следующие условия:
1. Запрещается:
а) подходить близко к работающим механизмам ключа;
б) производить какие-либо поправки «на ходу»;
в) вести работы в случае обнаружения неисправности в механических частях и в пневмолинии, следует производить при перекрытии краном пневмолинии, идущей к коллектору пульта управления, с обязательным выпуском оставшегося воздуха из пневматической системы ключа. Каждая рукоятка должна быть застопорена с помощью предохранительного стопорного кольца. На пульте вывесить предупредительный плакат : « Не включать – работают люди »
2. При работе с ключом запрещается:
а) спускать колонну труб в скважину при не полностью отведённомключе;
б) подводить ключ в бурильной колонне до момента окончательной посадки на клинья или элеватор и в момент установки свечи в муфту трубы;
в) включать механизмы, если в зоне действия ключа находятся люди.
3. Вращение трубозажимного устройства и включение зажима нижних челюстей производить только после того, как челюсти полностью обхватят замок.
4. Приподнимать колонну труб разрешается только после полного отвода ключа.
5. После выполнения каждой операции свинчивания – развинчивания, необходимо все рукоятки пульта управления ставить в нейтральное положение, и зафиксировать их в этом положении стопорными кольцами.
6. По окончании работы ключом следует перекрыть центральный ключ пульта; воздух, оставшийся в обвязке ключа, необходимо выпустить.
Существующие конструкции элеваторов не исключают опасность возникновения несчастных случаев при их эксплуатации. Ответственным узлом элеватора является замок, с помощью которого элеватор удерживается в закрытом положении и оно часто выходит из строя, в результате чего возможно открывание замка и падение труб.
В процессе СПО возможны неожиданные кратковременные посадки в местах сужений. В момент остановки колонны труб, подвижная часть талевой системы с элеватором продолжает двигаться. При движении элеватора по трубе от действия силы трения собачка элеватора поднимается и дверца самопроизвольно открывается. После прекращения посадки бурильный инструмент совершает свободный полёт на забой скважины. Поэтому следует применять те элеваторы, которые имеют надёжное устройство, предотвращающее самопроизвольное открытие замка.
Для обеспечения безопасности при работе с любыми типами элеваторов, необходимо перед СПО и наращиванием инструмента тщательно проверить исправность корпуса и замка элеватора. Элеваторы бракуются, если имеются следующие дефекты:
трещина в корпусе;
износ торца элеватора под замок труб более 2 мм.;
прогнутость нижней торцевой поверхности;
люфт в шарнирных соединениях дверцы элеватора;
ручка элеватора деформирована, сварные швы нарушены;
трещина в замке или выступах замка элеватора;
заедание в шарнире замка;
деформация или слом пружины, винта или ушка.
Для предотвращения несчастных случаев необходимо использовать только те элеваторы, которые имеют приспособление, предохраняющее штропа от выпадения из проушин. Подавать элеватор на стол ротора и снимать его с ротора следует при помощи якоря и только в закрытом состоянии. Сбрасывать его с ротора не следует, так как при этом, можно задеть стоящих у ротора людей, а также повредить элеватор. Заводить элеватор под муфту трубы необходимо только после полной остановки бурильной трубы. Во избежание самопроизвольного открытия элеватора, бурильные свечи необходимо спускать плавно, не допуская удара элеватора о стол ротора. Для улучшения условий труда верхового рабочего необходимо при подъёме элеватора, замок его ориентировать в сторону верхового рабочего.
Применение пневматических клиньев, встроенных в ротор (ПКР), устраняет трудоёмкие ручные операции, но не всегда обеспечивает надёжный захват труб, вследствие чего происходит медленное проскальзывание колонны, и рабочий при освобождении элеватора из-под муфты (или при подведении его под муфту) может получить травму.
Для устранения данных недостатков надо применять клинья, обеспечивающие надёжный захват бурильных и обсадных труб без деформирования их поверхности.
При эксплуатации ПКР необходимо:
проверять соответствие размера плашек клиньев диаметру труб;
комплектно заменять при изношенности плашки;
строго следить за центрированностью вышки;
перед установкой механизма на буровой проверять прямолинейность плоскостей пазов клиньев под плашки и опорных сопрягаемых поверхностей клиньев и вкладышей;
не допускать резкой посадки труб на клинья.
ПКР бракуются, если имеются:
трещина или слом в корпусе;
слом, трещина, забоины на конусной поверхности клиньев, износ зубчатой насечки плашек;
слом, трещина, забоины на трущихся поверхностях вкладышей;
слом, трещина, изгиб длинного конца рычага, выход из строя ролика, заедание в шарнирных соединениях рычага;
негерметичность системы управления;
сработка поршня цилиндра управления;
слом педали крана управления от механических повреждений, заедание крана управления.
5.3 Безопасная организация при
проведении
сложных работ
Перед выполнением, какого либо вида сложных работ, буровая бригада проходит специальный инструктаж по технике безопасности.
Работы по ликвидации аварии ведутся буровым мастером под руководством мастера по сложным работам или под руководством ведущего специалиста предприятия.
Перед установкой нефтяной ванны, при ликвидации прихватов, которые являются самым распространенным видом осложнений, при бурении горизонтальных скважин, обязательно проверяются: противоприхватное оборудование, насосы, циркуляционная система, оборудование и буровая вышка, количество и качество запасного бурового раствора, наличие и исправность предохранительных клапанов и манометров, заливочная головка с трехходовым краном высокого давления и двумя отводами к нагнетательной линии от цементировочных агрегатов. Обратный клапан опрессовывается на полуторократное давление, возникающее к моменту начала выхода жидкости ванны из труб в затрубное пространство. Проверяются площадки под вышечными и дизельными блоками с целью исключения возможности загорания, а также наличие и состояние противопожарных средств.
Для предупреждения несчастных случаев с персоналом, участвовавшем в ликвидации аварии, необходимо строго руководствоваться “Правилами безопасности в нефтедобывающей промышленности”, “ Отраслевой инструкцией по безопасности труда при ликвидации прихватов бурильного инструмента и обсадных колонн”.
Основные требования этих документов сводятся к следующему [21] :
1) работы по ликвидации аварии в скважине буровой мастер должен вести под руководством старшего инженера по сложным работам или главного инженера УБР. Присутствие остальных инженерно-технических работников внутри фонаря и в пределах опасной зоны нежелательно;
2) до начала работ необходимо проверить соединение талевого каната, приспособление для крепления неподвижного конца талевого каната, индикатор веса и особенно правильность положения стрелок приборов, четкость записей пишущего прибора, качество и состояние крепления дюритового шланга и трубочек от трансформатора к показывающим и пишущим приборам индикатора веса, вышки и крепление ее соединений, а также прочность фундаментов под ногами вышки, кронблока, талевого блока, трансмиссий и тормозной системы лебедки, вкладышей и стопорных устройств ротора и вертлюга;
3)работы по расхаживанию и провороту колонн выполняются при застопоренных вкладышах и зажимах клиньев ротора, чтобы предупредить выпадение их при резком вращении или внезапном подъеме. Кроме того, зажимы (клинья) должны быть закреплены болтами;
4) площадь внутри вышки должна быть свободной от посторонних предметов;
5) при работах по освобождению прихваченной бурильной или обсадной колонны необходимо удалить всех рабочих, кроме бурильщиков, из опасной зоны на расстояние не ближе 60 м от вышки. Необходимо также дополнительно укрепить штроп вертлюга от выпадения из зева крюка петлями из прядей талевого каната, которые закрепляются в серьгах вертлюга. Во время расхаживания и попыток провернуть бурильную колонну ротором необходимо постоянно наблюдать за состоянием крепления ведущей трубы с вертлюгом в левом соединении, чтобы исключить возможность их развинчивания ;
6)при отбивке бурильной колонны ротором с подъемного крюка должны быть сняты штропы;
7) При установке ванн под заливочной головкой или ведущей трубой устанавливается обратный клапан.
5.4 Охрана недр и окружающей среды при бурении скважин
В настоящее время охрана окружающей среды стала одной из актуальных проблем современности. Большое значение при проведении буровых работ имеют технико-экономические аспекты охраны окружающей среды, заключающиеся в рациональном выборе технологии производства, технических средств, обеспечивающих при наименьших экономических затратах реализацию необходимых природоохранительных мероприятий.
При проведении буровых работ могут возникнуть следующие основные виды отрицательного воздействия на окружающую среду:
1) отчуждение и вывод из строя плодородных земель;
2) нарушение почвенного слоя и уменьшение продуктивности почв на месте ведения буровых работ;
3) поступление в водоносные горизонты и продуктивные пласты химических реагентов;
4) переток подземных вод из одного горизонта в другой;
5) загрязнение поверхностных вод различными маслами, нефтепродуктами и химическими веществами;
6) загрязнение подземных вод при использовании таких технических средств при бурении эксплуатационных скважин на нефть и газ, как торпедирование, солянокислотная обработка призабойной зоны и гидроразрывного пласта.
При строительстве скважин с целью охраны окружающей среды от загрязнений необходимо выполнять следующие мероприятия:
1)кустовая площадка должна иметь обваловку высотой не менее 1 м для исключения попадания сточных вод в водоемы;
2)площадка должна быть очищена от леса, кустарника, травы и тщательно спланирована, а также иметь уклон в сторону шламовых амбаров, обеспечивающий водосток, величина уклона не должна быть больше 0,5 м на всю ширину площадки. Для предотвращения растекания бурового раствора вокруг циркуляционной системы необходимо производить обваловку шламового амбара высотой 1м ;
3)при бурении скважин использовать высококачественный глинистый раствор, обработанный реагентами, позволяющими сократить применение нефти для обработки раствора. Очистку раствора производить с помощью трехступенчатой системы очистки ;
4)при строительстве скважин предупреждать нефтяные и газовые проявления установкой ПВО, применением раствора с параметрами, удовлетворяющими требованиям проводки скважин, не допускать грифонов и обвалов стенок скважины. Производить при необходимости изоляцию проявляющихся пластов друг от друга в соответствии с указаниями руководящих документов;
5)обеспечивать высокое качество крепления скважин, их герметичность;
6) в процессе бурения необходимо следить за герметичностью всасывающей и нагнетательной линиями насосов и фонтанной арматуры. Запрещается слив непосредственно на почву нефти, горюче-смазочных веществ, растворов, химических реагентов. При освоении скважины сброс должен производиться в нефтесборные емкости;
7) для сыпучих материалов и химических реагентов должны строиться закрытые помещения, пол которых должен быть гидроизолирован и возвышаться над уровнем земли;
8) после окончания бурения промышленные отходы утилизируются, бытовые сжигаются или закапываются. Земельный участок рекультивируется.
6. ОБОСНОВАНИЕ ОРГАНИЗАЦИИ РАБОТ ПРИ СТРОИТЕЛЬСТВЕ СКВАЖИН
6.1 Составление геолого-технического наряда
К технологическому проекту прилагается геолого-технологический наряд и профиль наклонно-направленной скважины. Эти документы выдаются непосредственно буровой бригаде, осуществляющей по ним проводку скважины.
Геолого-технический наряд (ГТН) состоит из двух частей: геологической и технологической. Геологическая часть содержит следующие данные:
горизонты и глубины, на которой будет пройдена скважина, характер пород и предполагаемые углы падения на протяжении всей скважины;
интервалы, которые должны бурится с отбором керна и шлама из бурового раствора;
глубина замера кривизны скважины, проведение каротажа и других электрометрических работ;
интервал глубин, на которых могут ожидаться нефтегазопроявления, осложнения, связанные с нарушением целостности ствола скважины, затяжек и поглощения бурового раствора;
крепость проходимых пород.
Кроме того в геологической части наряда указывается конструкция скважины. Для эксплуатационной колонны указывается способ испытания на герметичность, а также интервалы перфорации скважины, и количество прострелов.
Технологическая часть наряда содержит следующие указания:
тип долота и его размеры, а также количество рейсов долотом каждого типа и размера;
частота вращения инструмента;
осевая нагрузка на долото;
режим работы буровых насосов.
Далее приводится указания по спуско-подъемным операциям: оснастка талевой системы, число свечей бурильных труб, которые можно поднимать на различных скоростях лебедки. Кроме того, указывается интервалы расширения ствола скважины перед спуском колонны обсадных труб, в верхней части ГТН даются общие данные по скважине (см. приложение…..).
Указывается месторождение, где расположена скважина, номер скважины и цель бурения, проектная глубина и проектный горизонт. Затем приводится перечень для определения нормативной продолжительности бурения и крепления скважины. Составляется нормативная карта (приложение 2), значение продолжительности строительства скважины по элементам представлены в табл. 5.1, где Т>смр> – время на строительно-монтажные работы; Т>вышк.монт.> – время на вышкомонтажные работы; Т>бурения> – время бурения; Т>крепления>; Т>исп> – время испытания.
В особой таблице указывается, какими бурильными трубами будет буриться скважина. В процессе бурения скважины какие либо изменения ГТН могут производиться только с разрешения соответствующих органов.
Таблица 6.1.
Продолжительность строительства скважины.
|
Элементы цикла |
Нормативная продолжительность, час |
Коэффициент перевода |
Плановая продолжительность, сут |
|
|
1 |
2 |
3 |
4 |
|
|
1. Т>смр> |
1497,60 |
1 |
62,40 |
|
|
2. Т>вышк.монт.> |
230,40 |
1 |
9,60 |
|
|
3. Т>бурения> |
168,41 |
1,068 |
7,50 |
|
|
в т.ч. кондуктор |
47,07 |
2,70 |
||
|
экспл. колонна |
121,34 |
5,40 |
||
|
4. Т>крепления> |
364,59 |
1,068 |
16,20 |
|
|
в т.ч. кондуктор |
150,97 |
6,70 |
||
|
экспл. колонна |
213,62 |
9,50 |
||
|
5. Т>исп> |
187,20 |
1 |
7,80 |
|
|
Итого |
2448,20 |
103,1 |
6.2 Составление нормативный карты
Основная часть наряда на производство буровых работ является нормативная карта, которая включает следующие объемы работ:
бурение скважин;
крепление скважины;
вспомогательные работы;
геофизические работы и т.д.
На основании ранее выбранного режима бурения и показателей работы долот по нормативным пачкам производятся расчеты количества долблений, наращиваний, объема спуско-подъемных работ.
Объем геофизических работ принимаются из технологического проекта и подсчитывается время на проведение этих работ в процентах от этого времени.
При подсчете времени на определенных операциях необходимо пользоваться ЕНВ (единые нормы времени). Нормативная карта включает объем работ, связанных с проводкой ствола скважины и разрабатываются с определенной последовательностью. Составляется перечень работ по проводке скважины.
6.3 Разработка мероприятия по улучшению
организации
работ и повышению качества
строительства скважин
Технико-экономические показатели строительства скважин в большей мере определяются режимом бурения.
При планировании, проектировании, организации буровых работ необходимо исходить из оптимального режима бурения. В процессе строительства скважины бывают различные осложнения, что вызывает непроизводительные простои и расходы. Требуется такая организация процесса, которая полностью предупреждала бы их.
Спуско-подъемные работы относятся к одним из наиболее трудоемких процессов. На них приходится до 40% всего времени затрачиваемого на строительство скважин. Автоматизация и механизация этих работ является наиболее эффективными средствами совершенствования их организации. Важное значение имеет для сокращения затрат времени, труда и средств на спуско-подъемные операции имеет также своевременная подготовка каждого члена буровой вахты к выполнению отдельных рабочих приемов, обучение передовым методам работы, содержание в чистоте рабочего места.
7. ЭКОНОМИЧЕСКАЯ ЧАСТЬ
7.1 Составление сметы
Для составления сметы используется таблица плановой продолжительности строительства скважин (таблица 5.1).
Сметные расчеты составляются на основании:
данных технического проекта на объем отдельных видов работ и затрат в натуральных измерениях, об использованном оборудовании, инструментах и продолжительности работ;
сметных норм для отдельных районов;
нормативных документов, материалов в СН и П;
плановой скорости бурения проектируемой скважины.
Сметные расчеты на бурение и крепление скважины предоставлены в приложениях I. Сводный сметный расчет на строительство скважины приведен в приложении I.
7.2 Технико-экономические показатели
1. Время:
нормативная продолжительность механического бурения
Т>мех> = 62,65 ч;
нормативная продолжительность СПО Т>спо> = 15,35 ч;
производительное время бурения Т>бур> = 533;
плановое общее время бурения Тпл>бур> = Т>бур> * к>пл> = 569,2 ч;
плановая продолжительность цикла строительства скважины
Тм>ц> = 43,1 ч.
2. Определение механической скорости проходки:

где Н = 1300 м – глубина скважины по стволу;
t>мех> - 64,65 ч,

3. Определение рейсовой скорости:


4. Определение технической скорости:


5. Определение плановой коммерческой скорости:


6. Определение цикловой скорости:

7. Определение количества буровых бригад:

принимаем 10 буровую бригаду.
8. Определим число вышкомонтажных бригад:

принимаем 4 вышкомонтажную бригаду.
9. Определение числа буровых установок, находящихся в обороте:

где к>об> – коэффициент оборачиваемости,

необходимо 2 буровых установок.
10. Определение себестоимости строительства скважины:

где С>см> – сметная стоимость строительства скважины, руб.;
П>н> –плановые накопления, руб.;

11. Определение себестоимости одного метра проходки:

12. С учетом коэффициента пересчета 5,65 с цен 1991 года на цены 1998 года

Сводим полученные значения ТЭП в таблицу 6.1.
Таблица 6.1.
Технико-экономические показатели
|
Показатели |
Единица измерения |
По
предлагаемому |
|
1.Глубина скважины |
м |
1300 |
|
2.Продолжительность строительства скважины |
сут |
43,1 |
|
3.Продолжительность бурения скважины |
сут |
19 |
|
4.Скорость бурения: |
||
|
механическая |
м/ч |
20,1 |
|
рейсовая |
м/ч |
16,25 |
|
техническая |
м/ст.мес |
1756 |
|
коммерческая |
м/ст.мес |
1644 |
|
цикловая |
м/ст.мес |
904,9 |
|
5.Себестоимость 1м проходки |
руб./м |
4741,06 |
7.3 Экономическая эффективность от применения рекомендуемых компоновок низа бурильной колонны для проработки скважины
7.3.1 Краткая аннотация
Из 10 аварий, по БП «Тюменбургаз» в 1997 году 2 аварии произошли в результате прихвата обсадных колонн. Для ликвидации этих аварий путем установки нефтяных ванн в среднем требуется 4,3 установки. Продолжительность ликвидации составляет в среднем 492 часа.
Предлагается использование наиболее эффективных компоновок низа бурильной колонны для проработки ствола скважины перед спуском обсадных колонн, что позволит сократить число аварий, вызванных прихватом обсадных колонн при спуске. Что значительно позволит сэкономить значительные материальные средства, сократить время бурения скважин, повысить технико-экономические показатели.
7.3.2 Методика расчета
Эксплуатационные затраты от безаварийного бурения, определяется суммированием экономии от уменьшения затрат времени и материальных средств.
Экономический эффект от безаварийного бурения при строительстве скважин, определяется путем сравнения затрат по базовому и новому вариантам.
Продолжительность операции определяется временем, затраченным на ликвидацию аварий, то есть без учета организационных простоев и работ по ремонту наземного оборудования и сооружения.
Затраты средств на ликвидацию аварий, зависящие от времени, определяются по формуле:

где С>ав> – затраты средств на ликвидацию аварий, руб..;
С>ч> – себестоимость часа эксплуатации буровой установки по затратам, зависящим от времени;
t>а> – время, затраченное на ликвидацию аварии, час;
0,98 – коэффициент, понижающий себестоимость часа эксплуатации буровой установки по затратам, зависящим от времени, на период ликвидации аварии.
Общие затраты на ликвидацию аварий исчисляется по формуле:

где З>а> – общая величина затрат, связанных с ликвидацией аварий, руб.;
З>вр> – затраты, зависящие от времени ликвидации аварии;
З>м> – стоимость материалов, израсходованных при ликвидации аварии, руб..;
З>би> – стоимость бурильного инструмента, пришедшего в негодность в результате аварии, руб..;
З>у> – стоимость услуг сторонних организаций, руб..;
Корректировка себестоимости часа эксплуатации буровой установки производится по формуле:

где З>ч >– себестоимость часа эксплуатации буровой установки для базового варианта;
З>ч>1 – то же по табл. 1 и 1а приложения []
к>ч> –> >коэффициент, учитывающий изменение себестоимости часа эксплуатации буровой установки в зависимости от скорости бурения.
Величина к>ч> определяется по формуле:

где
– рост (+), (–) – снижение, скорости
бурения по сравнению с приведенными в
таб.1 и1а приложения [], м/ст.мес;
–
поправка к себестоимости часа в % на 100
/ст.мес. изменения скорости бурения.
7.3.3 Расчет экономического эффекта
Таблица 7.1
Экономический эффект
|
Показатели |
Данные и расчеты |
||
|
При установке нефтяной ванны |
При соблюдении технологии |
||
|
1 |
2 |
3 |
|
|
Исходные данные |
|||
|
1.Цель бурения |
эксплуатация |
эксплуатация |
|
|
2.Способ бурения |
роторно-турбинный |
роторно-турбинный |
|
|
3.Вид привода |
электрический |
электрический |
|
|
4.Глубина скважины, м |
1300 |
1300 |
|
|
5.Количество прихватов, шт. |
2 |
||
|
6.Средняя удаленность кустов от базы, км |
27 |
||
|
7.Среднее количество нефтяных ванн на ликвидацию одного прихвата, шт. |
4,3 |
||
|
8.Средне количество нефти на установку ванны, т |
5,8 |
||
|
9.Среднее время закачки одной ванны агрегатом ЦА-320, час |
0,6 |
||
|
10.Время, затраченное на ликвидацию прихватов в данном году, час |
984 |
||
|
Расчетные показатели |
|||
|
11. Цена тонны нефти, руб. |
870 |
||
|
12. Транспортировка тонны нефти, руб. |
78,4 |
||
|
13. З/ плата буровой бригады при безметражных работах, вахта 4 чел, руб. в час |
183,78 |
||
|
14. Работа ЦА-320 за час, руб. |
169,0 |
||
|
15. Пробег ЦА-320 за км, руб. |
4,95 |
||
|
Расчет установки нефтяной ванны |
|||
|
16. Количество нефти, затраченное на установку ванн, т. |
2*4,3*5,8=49,88 |
||
|
17. Цена затраченной нефти, руб. |
49,88*870= =43395,6 |
||
|
18. Цена доставки нефти на буровую, руб. |
49,88*78,4= =3910,6 |
||
|
19. Стоимость пробега ЦА-320, руб. |
4,95*27=133,7 |
||
|
20 .Стоимость работы ЦА-320, руб. |
4,3*0,6*2* *169,0=872,04 |
||
|
21. Всего на установку нефтяных ванн, руб. |
48311,94 |
||
|
22. На ликвидацию одного прихвата, руб. |
48311,94:2= =24155,97 |
||
|
23. Время на ликвидацию одного прихвата, час |
984:2=492 |
||
|
Расчет экономического эффекта |
|||
|
24.Себестоимость часа эксплуатации буровой установки по затратам, зависящим от времени |
1232,9 |
||
|
25. Себестоимость 1 м по затратам, зависящим от времени, руб. |
1213173,6: :1300=933,2 |
74,5*0,989=933,2 |
|
|
26. Коммерческая скорость,м/ст. мес. |
1300:0,791=1646 |
1664 |
|
|
27. Время бурения, ст. мес. |
569,2:720=0,79 |
1300:1664=0,78 |
|
|
28. Календарное время бурения, час |
569,2 |
533 |
|
|
29 Себестоимость скважины по затратам, зависящим от времени, руб. |
1300*933,2= =1232,9 |
1300*933,2= =1232,9 |
|
|
30.Всего затрат, связанных с установкой нефтяных ванн и зависящих от времени, руб. |
230384,36 |
1232,9 |
|
|
Итого экономический эффект от соблюдения технологии ведения буровых работ не допустившими прихвата в скважине, руб. |
229151,46 |