Строительство и заканчивание скважин
Министерство образования Российской Федерации
Уфимский Государственный Нефтяной
Технический Университет
Кафедра бурения
нефтяных и газовых скважин
Курсовой проект по дисциплине
“Заканчивание скважин”
Выполнил:
ст. гр. ГБ-98-01 /Диндарьянов А.Р./
Проверил: /Сакаев Р.М. /
Уфа 2002
Введение
В данном проекте рассматриваются вопросы заканчивания скважины . Исходные материалы были получены автором проекта во время прохождения второй производственной практики в Мегионском УУБР.
Заканчивание скважин является важным этапом в процессе строительства скважины. При этом неправильные расчёты или несоблюдение технологии может привести к значительному материальному ущербу.
По мнению автора проекта ныне применяемые технологии не всегда приводят к нужному результату. Следует применять более современные методы: эксплуатация скважин открытым забоем (если это возможно), установка фильтров, использование устройства селективной изоляции пластов и др.
Также требуют рассмотрения вопросы цементирования скважин. В УУБР имели место случаи недоподъёма цемента до заданной глубины и другие осложнения при креплении скважин.
Для проектирования выбрана скважина № 407 куста № 49 Покомасовского месторождения, которое входит в группу площадей разбуриваемых Мегионским УУБР
1 Общие сведения о районе ведения работ
Площадь,месторождение Покомасовское
Год ввода площади в бурение 1996
Область Тюменская
Округ Ханто-Мансийский Район Нижневартовский
Температура воздуха
-средне годовая, с -40 -30
-наибольшая летняя, с +35
-наименьшая зимняя, с -58
Максимальная глубина промерзания грунта м, 2,0
Продолжительность отопительного периода, сут 277
Преобладающее направление ветров
-зимой юг-з
-летом с-в
Наибольшая скорость ветра, м/с 21
Многолетнемерзлые породы, м
-кровля 100
-подошва 350
Рельеф местности Равнинный, слабо всхолмленный
Состояние местности Заболоченная, с озерами и реками
Толщины-снежного покрова,см от 50 до 160
-почвенного слоя, см 30
Растительный покров Смешанный, сосново-березовый
Категория грунта Торфяно-болотные пески, суглинки, супеси, глины
2 Литолого – стратиграфическая характеристика разреза скважины
Стратиграфический разрез скважины, элементы залегания и коэффициент кавернозности пластов.
Таблица 1
|
Глубина залегания, м |
Стратиграфическое подразделение |
Элементы залегания (падения) пластов по подошве |
Коэффициент кавернозности интервала |
|||
|
От (кровля) |
До (подошва) |
название |
индекс |
угол |
||
|
Град. |
Мин. |
|||||
|
1 |
2 |
3 |
4 |
5 |
6 |
7 |
|
0 50 150 240 340 520 700 800 950 1120 1140 1980 2100 2450 |
50 150 240 340 520 700 800 950 1120 1140 1980 2100 2450 2615 |
Четвертичные отл. Журавская свита Новомихайловская св. Алтымская свита Чеганская свита Люлинворская свита Талицкая свита Ганькинская свита Берёзовская свита Кузнецовская свита Покурская свита Алымская свита Вартовская свита Мегионская свита |
Q P2/3 P2/3 P1/3 P1/3-P3/2 P2/2 P1 K2 K2 K2 K2+K1 K1 K1 K1 |
- - - - - - - - - - 1 1 1 1 |
- - - - - - - - - - - - - 30 |
1.45 1.45 1.45 1.45 1.45 1.25 1.25 1.25 1.25 1.25 1.25 1.25 1.25 1.25 |
Литологическая характеристика разреза скважины.
Таблица 2
|
Индекс стратиграфического подразделения |
Интервал |
Описание горной породы |
|
|
От (вверх) |
До (низ) |
||
|
1 |
2 |
3 |
4 |
|
Q P2/3 P2/3 P1/3 P1/3-P3/2 P2/2 P1 K2 K2 K2 K2+K1 K1 K1 K1 |
0 50 150 240 340 520 700 800 950 1120 1140 1980 2100 2450 |
50 150 240 340 520 700 800 950 1120 1140 1980 2100 2450 2615 |
Пески, глины, суглинки Пески, глины Пески, глины, алевролиты Глины, пески Глины Глины, опоки Глины Глины Глины, опоки Глины Глины, пески, песчаники, алевролиты Глины, алевролиты, аргиллиты, песчаники Аргиллиты, песчаники, алевролиты, глины Аргиллиты, алевролиты, песчаники |
Давление и температура по разрезу скважины.
Таблица 3
|
Индекс стратиграфического подразделения |
Интервал, м |
Градиент |
||||||||
|
От (вверх) |
До (низ) |
Пластовое давление |
Гидроразрыва пород |
Горного давления |
Геотермический |
|||||
|
Величина кгс/см2 на м. |
Источник получения |
Величина кгс/см2 на м. |
Источник получения |
Величина кгс/см2 на м. |
Источник получения |
Величина 0С на 100 м. |
Источник получения |
|||
|
1 |
2 |
3 |
4 |
5 |
6 |
7 |
8 |
9 |
10 |
11 |
|
Q – P1/3 P1/3 – K2 K2 K2 – K1 K1 |
0 500 950 1140 1980 |
500 950 1140 1980 2615 |
Р>пл>= Р>гд.стат> 0,100 0,100 0,100 0,100 |
Расчёт Расчёт Расчёт Расчёт Расчёт |
0,2 0,2 0,2 0,2 0,2 |
Расчёт Расчёт Расчёт Расчёт Расчёт |
0,22 0,22 0,22 0,22 0,22 |
Расчёт Расчёт Расчёт Расчёт Расчёт |
3,5 3,5 3,5 3,5 3,5 |
РФЗ РФЗ РФЗ РФЗ РФЗ |
Физико – механические свойства горных пород по разрезу скважины.
Таблица 4
|
Индекс страти-графичес- кого подраз-деления |
Интервал, м |
Краткое название горной породы |
Плот-ность, г/см3 |
Порис-тость, г/см3 |
Прони-цаемость, Дарси |
Глинисость, % |
Карбонатность, % |
Предел теку-чести, кгс/мм2 |
Твёрдость, кгс/мм2 |
Коэффициент пластичности |
Абразивность |
Категория породы по промысловой классификации (мягкая, средняя и т.п.) |
|
|
От (верх) |
До (низ) |
||||||||||||
|
1 |
2 |
3 |
4 |
5 |
6 |
7 |
8 |
9 |
10 |
11 |
12 |
13 |
14 |
|
К2+К1 К1 (ПК 19) К1 (БС 10) К1 (БС 11) |
1140 1915 2450 2545 |
1865 1930 2470 2565 |
песок песчаник песчаник песчаник |
2,0 2,10 2,14 2,17 |
23-36 24-32 20 19 |
0,5 0,152 0,152 0,152 |
12-18 21-23 10 11 |
3-10 3-16 3-10 3-10 |
6-17 9-213 9-213 9-213 |
- 14-234 14-234 14-234 |
- 1,1-4,5 1,1-4,5 1,1-4,5 |
2 6-9 3-9 3-9 |
М М, С С С |
3 Обоснование конструкции скважины применяемой на
данной площади
Для предотвращения разливов бурового раствора е на устье устраивается шахта с заглублением на 2 м от поверхности.
При бурении под кондуктор проходят сквозь слой рыхлых и неустойчивых песчаников и глинистых пород люлинворской свиты.
Осложнения при прохождении отложений люлинворской свиты связаны с тем, что люлинворские глины могут испытывать пластическую деформацию в сторону наименьшего сопротивления, в результате чего может происходить сужение вплоть до полного перекрытия сечения ствола бурящейся скважины. В связи с этим требуется решать основную проблему – укрепление стенок скважины. Для бурения под кондуктор предусматривается использовать остаток раствора, оставшийся от бурения предыдущей скважины, и свежеприготовленный раствор из бентонитового глинопорошка, обработанный химическими реагентами.
Кондуктор диаметром 245мм должен спускаться на глубину не менее 50м ниже ММП т. е на 400м. Учитывая вероятные осложнения при дальнейшем углублении скважины кондуктор спускается на глубину 750м. Цементируется до устья.
При бурении под эксплуатационную колонну основные проблемы, которые требуется решать, следующие: предупреждение нефтегазопроявлений, предупреждение прихвата бурильного инструмента при прохождении через проницаемые пласты и обеспечение максимально возможной степени сохранения коллекторских свойств продуктивных пластов. Эксплуатационная колонна диаметром 146мм спускается на проектную глубину и цементируется до уровня , на 100м выше башмака кондуктора. Глубины скважин колеблются от 2000-3000 м в зависимости от назначения скважин. Максимальный отход забоя 1000м.
Расчитаем индексы давления по следующей формуле из [ 1 ]:
.
Результаты расчёта сведём в таблицу 5.
Таблица 5
-
Интервал
Литология
Р>пл>
МПа
Р>погл>
МПа
К>А>
К>погл>
0-500
Q-P1/3
4,9
9,8
0,99
1,99
500 – 950
Р1/3-К2
9,3
18,6
0,99
1,99
950-1140
К2
11,2
22,4
1
1,99
1140-1980
К2-К1
19,4
33
1
1,69
1980-2615
К1
25,7
41
1
1,59
По результатам расчёта построим график 1

4 Оборудование устья скважины
Выбор колонной головки:
Р>у>=Р>пл>-
gL
Р>у>=25,7*106-840*9,8*2615=4,1 МПа
Выбирается колонная головка ОКК1-14-245-168.
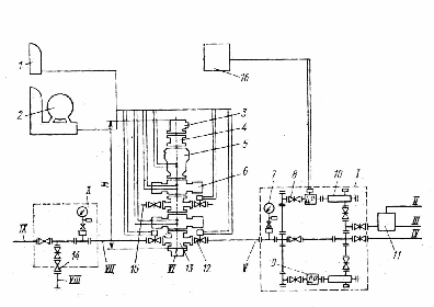
Предлагается выбрать схему обвязки ПВО применяемую на данной площади.

Рис. 1 Схема обвязки противовыбросового оборудования.
1-Впомогательный пульт; 2-станция гидравлического управления; 3-разъемный желоб; 4-фланцевая катушка; 5-универсальный превентор; 6-плашечный превентор; 7-манометр с запорным и разрядным устройствами и разделителем сред; 8-задвижка с ручным управлением; 9-регулируемый дроссель с ручным управлением; 10-отбойная камера с разрядным устройством; 11-сепаратор; 12-задвижка с гидравлическим управлением; 13-устьевая крестовина; 14-обратный клапан; 15-фланец; 16-пульт управления гидроприводным дросселем; I-блок дросселирования; II-в систему сжигания газа; III-в систему очистки; IV-прямой сброс; V-линия дросселирования; VI-устье скважины; VII-линия глушения; VIII-к буровым насосам; IX-к насосным установкам или прямой сброс; X-блок глушения.
5 Технологическая оснастка обсадной колонны
Кондуктор комплектуется трубами отечественного производства с резьбой ОТТМ. На нижней трубе устанавливается башмак БК-245, на следующей трубе устанавливается дроссельный обратный клапан ЦКОД 245-2 без шара. Центраторы ЦЦ-4-245/295 устанавливаются через 50 метров по длине кондуктора.
Эксплуатационная колонна комплектуется трубами с резьбой ОТТМ. Низ эксплуатационной колонны оснащается следующими технологическими элементами (снизу вверх): башмак БК-146; перфорированный патрубок обратный клапан ЦКОД-146 без шара, пакера ПГПМ-146-1; спиральные (турбулизирующие) жесткие центраторы ЦСЖ-146, центрирующие пружинные фонари, устанавливаются в интервале интенсивного набора параметров кривизны с целью надежного центрирования эксплуатационной колонны и соответственно качественного цементирования интервала скважины выше пакера ПГПМ-146-1.
По мнению автора применеие пружинных фонарей не всегда оправдано.Следует применять (на ответственных участках) центраторы с изменяемой геометрией. Несмотря на их высокую стоимость качество крепления при их использовании значительно увеличивается.
Таблица 6
|
Конструкция |
Тип резьбового соединения |
Герметизирующее средство |
|
Кондуктор |
ОТТМ |
Р-2МВП, Р-402 |
|
Эксплуатационная колонна |
ОТТМ |
Р-402, ГТМ-3 |
6 Подготовка ствола к спуску и спуск обсадных колонн
1 .Запрещается приступать к спуску обсадных колонн в скважину, осложненную поглощением бурового раствора, флюидопроявлениями, осыпями и обвалами, затяжками и посадками бурильной колонны.
2.Для предотвращения осложнений в процессе спуска кондуктора ствол скважины шаблонируется КНБК, которой закончили бурение под кондуктор. Перед спуском кондуктора скважина промывается в течение двух циклов.
3.По достижении бурением проектной глубины производится промывка скважины в течение двух циклов. Аналогично производится промывка после заключительного каротажа.
При осложнениях ствола (посадки инструмента, наличие уступов, сужений и т.п.), а также в случае простоев или продолжительности каротажа более 12ч. производится проработка ствола скважины КНБК, использовавшиеся при последнем долблении. Скорость проработки в интервалах осложнений не более 100-120м/час. Максимальная скорость спуска инструмента с промывкой не более 4м/с. При подъеме КНБК обеспечивается постоянный долив.
4.Спуск обсадной колонны осуществляется в соответствии со следующими требованиями:
спуск осуществляется на клиновых захватах, соответствующих размеру и массе обсадной колонны;
резьбовые соединения докрепляются машинными ключами с моментомером.
скорость спуска эксплуатационной колонны в интервале до кровли покурской свиты не должна превышать 1,0 м/с, ниже 0,4 м/с
промежуточную промывку ствола в неосложненной скважине производят с глубины 1000 м через каждые 300 м спуска обсадных труб;
промежуточную промывку при возникновении осложнений (посадки, затяжки и т.п.) проводят, начиная с интервала возникновения осложнения через каждые последующие 200м спущенных труб; для предотвращения прихвата при заполнении и промывках следует колонну держать в подвешенном состоянии и периодически расхаживать; циркуляцию восстанавливают одним насосом; продолжительность промывки на конечной глубине должна быть не менее одного цикла; давление на устье при промывке не должно вызывать гидроразрыва пород и поглощения; в случае обнаружения поглощения переходят на промывку насосом со сниженной подачей; при потере циркуляции колонну поднимают до глубины, на которой проводилась предыдущая промывка и восстанавливают циркуляцию при минимальной подаче. При возобновлении спуска повторное использование ранее извлеченных из скважины обсадных труб запрещается.
Спуск обсадных колонн проводятся по плану, составленному буровым предприятием и утвержденному в установленном порядке. К плану прилагаются данные для расчета колонны, коэффициенты запаса прочности колонны, результаты расчета колонны, а также акт о готовности буровой установки к спуску колонны. Особое внимание должно уделяться подготовке ствола скважины перед спуском эксплуатационной колонны с пакером (при необходимости проводятся работы по шаблонированию или проработке ствола скважины при заданных параметрах бурового раствора). Место установки пакера в стволе скважины указывается геологической службой бурового предприятия на основании данных геофизических исследований скважины. Не допускается установка пакера в зонах каверн.
При спуске обсадной колонны с пакером рекомендуется производить профилактические промывки скважины при обязательном применении фильтра, устанавливаемого под рабочей трубой. При появлении посадок обсадной колонны необходимо снижать скорость спуска обсадной колонны при прохождении пакером интервала ствола скважины, склонных к сужению, чтобы предотвратить гидроразрыв пластов. Не следует допускать при спуске обсадной колонны с пакером посадок ее на величину, превышающую 15% от веса спущенной колонны в вертикальном стволе и 30% - в наклонном. При превышении спуск колонны необходимо прекратить и скважину промыть до устранения посадок. По окончании спуска обсадной колонны скважина промывается до выравнивания параметров бурового раствора.
7 Расчёт обсадной колонны
Основными расчётами обсадных колонн, являются расчёты на наружное и внутреннее избыточное давление и расчёт на растяжение.
Исходные данные для расчёта эксплуатационной колонны.
Таблица 7
|
Наименование |
Размерность |
Условное обозначение |
Численное значение |
|
1 |
2 |
3 |
4 |
|
Расстояние от устья скважины:
Плотность:
Длина участка цементного раствора по вертикали Длина участка глиноцементного раствора по вертикали Давление опрессовки на устье Пластовое давление в кровле продуктивного пласта |
м м м м м г/см3 г/см3 г/см3 г/см3 г/см3 м м МПа МПа |
L L>0> h h>кэ> h>пп>
H>1> H>2> P>оп> Р>пл> |
2615 630 530 1200 2450 1.00 1.12 1.83 1.48 0.84 945 1140 13.7 25.7 |
Расчёт на внутреннее давление действующее на колонну.
Определим давление на устье при условии, что скважина заполнена пластовой жидкостью:
.
Определим давление опрессовки на забое:
.
Где
-
опрессовочное давление на устье скважины.
Определим давление в конце эксплуатации:
.
Построим график внутренних давлений.
График 2.

Расчёт на наружное давление действующее на обсадную колонну.
В не зацементированном интервале заполненным промывочной жидкостью, наружное давление определяется, как гидростатическое от столба промывочной жидкости.
.
В зацементированном интервале до затвердевания цемента, давление определяется по давлению столба промывочной жидкости и цементного раствора.
.
В случае когда обсадная колонна зацементирована разной плотности, то допускается использовать среднюю плотность раствора с учётом длины каждого интервала.
.
Отсюда получим наружное давление до затвердевания цемента:
.
Определим наружное давление после затвердения цемента:
,
где
-
гидростатическое давление столба
промывочной жидкости;
-
гидростатическое давление жидкости
содержащейся в порах затвердевшего
цемента.

Построим график наружных давлений.
График 3.

Определим внутренние избыточные давления действующие на обсадную колонну.
В общем случае внутренние давления определяются как разность внутренних и наружных давлений на один и тот же момент времени, когда внутреннее давление в колонне достигает максимальных значений. Как правило это бывает при опрессовке обсадной колонны. Избыточное давление определяется для характерных точек, а распределение давления между ними принимается линейно.
По графику 1 и 2 определим характерные точки:
При определении внутреннего избыточного давления в продуктивной зоне пласта вне осложнённых условий, вводится коэффициент разгрузки цементного кольца – К. Это обусловлено допущениями которые приняты при составлении методики расчёта. Для обсадных колонн диаметром 146 мм, К=0,25.

Определим наружные избыточные давления.
Наружные избыточные давления определяются как разность наружных и внутренних давлений на момент когда они достигают максимальных значений. Как правило это относится к моменту эксплуатации скважины. Избыточное давление определяются для характерных точек, а распределение давления между ними принимается линейно.

При определении наружного избыточного давления в продуктивной зоне пласта вне осложнённых условий, вводится коэффициент разгрузки цементного кольца – К. Для обсадных колонн диаметром 146 мм, К=0,25.
Построим график внутренних и наружных избыточных давлений.
График 4.

Рассчитаем обсадную колонну.
Расчёт начинаем снизу вверх подбирая колонну исходя из расчёта на наружное давление и проверяем полученные данные расчётами на внутреннее давление и растяжение.
Выбираем трубы из [2], для
1 секции d=146мм,
=7,7мм,
[
]=24,3
МПа, [
]=35МПа,
[
]=1254кН,
q=0,265кН,
группы прочности Д, где
d- диаметр обсадной колонны;
-
толщина стенки обсадной трубы;
[
]
– допустимое сминающее давление;
[
]
– допустимое внутреннее давление при
котором возникает предел текучести
материала трубы;
[
]
– допустимая страгивающая нагрузка
определённая по формуле Яковлева из
[3], формула 10,2;
q – вес одного погонного метра трубы.
Рассчитаем на смятие нижнюю трубу первой секции.
Основой расчёта является следующее уравнение:
,
где
- коэффициенты запаса прочности на
смятие, соответственно рассчитанной и
допускаемой;
-
расчётное сминающее давление в сечении
z
по длине обсадной колонны.
Из
[3] получим, что в интервалах продуктивных
пластов
,
в зависимости от устойчивости коллектора,
примем
.
В остальных интервалах
.
.
Определим длину первой
секции:
.
Определим вес первой
секции:
.
Рассчитаем на разрыв от внутреннего давления верхнюю трубу первой секции.
Определим по графику 4 внутреннее избыточное давление на глубине.

Основой расчёта является следующее уравнение:

где
-
коэффициенты запаса прочности,
соответственно рассчитанный и допускаемый,
[3],

внутреннее
избыточное давление в сечении колонны
z.

В интервале где на колонну действуют совместные (сжимающие и растягивающие) нагрузки должно выполнятся следующее условие:

Проверим нижнюю трубу второй секции на действие совместных нагрузок.

условие выполняется.
Выбираем трубы для второй
секции: d=146мм,
=7,7мм,
[
]=24,3МПа,
[
]=35МПа,
[
]=1254кН,
q=0,256кН,
группы прочности Д.
Проверим нижнюю трубу второй секции на растяжение от веса первой секции.
В основе расчёта используется уравнение:
,
где [n>p>] и n>p> допустимый и расчётный коэффициенты запаса прочности на растяжение, из [3] [n>p>]=1,3.
,
условие выполняется.
Рассчитаем на смятие нижнюю трубу второй секции.

Для определения длины
второй секции подбираем трубы для
третьей секции: d=146мм,
=7,0мм,
[
]=20.3МПа,
[
]=31,8МПа,
[
]=1136кН,
q=0,243кН,
группы прочности Д.
Рассчитаем на смятие нижнюю трубу третьей секции.
Глубину спуска третьей секции определим из графика 4.

Определим длину второй
секции:

Определим вес второй
секции:

Расчёт на разрыв от внутреннего давления верхней трубы второй секции.
Определим по графику 4 внутреннее избыточное давление на глубине L=1600м.

Проверим нижнюю трубу третьей секции на действие совместных нагрузок.

Проверим нижнюю трубу третьей секции на растяжение от веса первой и второй секции.
условие выполняется.
Определим допустимую длину третьей секции:

Следовательно третья секция может быть применена до устья.
Проверим верхнюю трубу третьей секции на разрыв от внутреннего давления.
Определим по графику 4 внутреннее избыточное давление на глубине L=0 м.
Проверим верхнюю трубу третьей секции на растяжение от веса первой и второй секции:
Определим вес третьей
секции:
условие выполняется.
Таблица 8
|
№ секции |
Длина, L>i>, м |
Группа прочности |
Толщина стенки, мм |
Вес погонного метра, кН |
Вес секции, кН |
Фактические |
||
|
n>см> |
n>в> |
n>p> |
||||||
|
1 |
215 |
Д |
7,7 |
0,265 |
57 |
1,16 |
4,1 |
- |
|
2 |
800 |
Д |
7,7 |
0,265 |
212 |
1,2 |
3,5 |
1,3 |
|
3 |
1600 |
Д |
7,0 |
0,243 |
388,8 |
1,24 |
2,31 |
1,73 |
8 Расчет цементирования
В процессе цементирования обсадных колонн с используется цементировочное оборудование Российского производства: цементировочные насосные агрегаты ЦА-320М, цементосмесительные машины 2СМН-20, цементовозы ЦВ-12, батареи манифольдные БМ-700, осреднительные емкостя УСО-20.Для контроля процесса цементирования используется российская станция контроля цементирования (СКЦ-2М).
Цементирование кондуктора осуществляется с использованием обвязки цементировочного оборудования, которая предусматривает закачивание тампонажных растворов в скважину одновременно с их приготовлением (затворением), при этом растворы от каждой точки затворения через блок-манифольд БМ-700 подают непосредственно в цементировочную головку. Использование БМ-700 облегчает и ускоряет обвязку трубопроводов цементировочных агрегатов и более эффективно осуществляет централизованное управление процессом цементирования благодаря включению в схему станции контроля цементирования СКЦ-2М.
Цементирование эксплуатационной колонны. Для выравнивания и получения заданных параметров, затворяемых в различных точках тампонажных растворов, осуществляется с использованием обвязки цементировочного оборудования, которая включает в себя осреднительную емкость УСО-20. При такой схеме обвязки, затворяемый в различных точках из одинакового тампонажного материала, раствор первоначально подают в осреднительную емкость, где его подвергают дополнительному перемешиванию для усреднения параметров. Затем определенным числом цементировочных агрегатов тампонажный раствор отбирают из осреднительной емкости и, через БМ-700, по двум линиям высокого давления, которые присоединены к боковым кранам цементировочной головки, закачивают в обсадную колонну.
Для проведения качественного цементирования обсадных колонн предусматривается использование комплекса мероприятий по обеспечению наиболее полного замещения бурового раствора в затрубном пространстве тампонажным. К числу основных наиболее эффективных мер в этом направлении относятся:
• снижение статического напряжения сдвига и вязкости бурового раствора в процессе промывки скважины перед цементированием до минимально допустимых значений, регламентируемых геолого-техническим нарядом на проводку скважин;
•применение полного комплекта элементов технологической оснастки обсадных колонн;
•обеспечение скорости восходящего потока буферной и тампонажной жидкости в кольцевом пространстве 0,5-0,7м/с, с целью наилучшего вытеснения бурового раствора из кавернозных зон скважины и заполнения их цементным раствором;
•использование соответствующего вида и количества буферных жидкостей;
Помимо работы станции СКЦ-2М, в процессе цементирования обсадных колонн необходимо выполнять следующие контрольные операции:
осуществлять замеры плотности тампонажных растворов и отбор проб в каждой точке затворения; пробы хранить в течение времени ОЗЦ;
контролировать рабочее давление нагнетания жидкостей на цементировочных агрегатах и блок-манифольде манометрами высокого давления;
определять текущий и суммарный объем закачанной в скважину жидкости тарированными емкостями цементировочных агрегатов;
визуально контролировать характер циркуляции на устье скважины и, в случае возникновения признаков поглощения, корректировать режим процесса закачивания жидкостей
контролировать давление нагнетания жидкости затворения в смесительную камеру манометром с пределом измерения 0-6кгс/см2, установленным на нагнетательной линии водоподающего насоса.
Расчет количества потребного материала и цементной техники для цементирования эксплуатационной колонны.
В данном
районе на материалах которой выполнена
курсовая работа применяется прямое
одноступенчатое цементирование.
Плотность облегчённого цементного
раствора
=1,48г/см
Плотность
цементного раствора
=1,83г/см3
Давление поглощения в продуктивном пласте Р>погл>=41Мпа
Условие предупреждения поглощения
,
где Р>гст.оцр> – гидростатическое давление от столба облегчённого глиноцементного раствора
Р>гст.цр> – гидростатическое давление от столба цементного раствора

Определим объём тампонажного раствора необходимый для цементирования нижнего участка цементным раствором.

где К>цр> – козффициент, учитывающий потери тампонажного материала;
d>c> и d>н> – соответственно средний диаметр скважины и наружный диаметр колонны в пределах нижнего участка;
d>0> – внутренний диаметр колонны близ её башмака;
h>с> – высота цементного стакана.
Из [4] К>цр>=(1,03-1,05).

Определим объём тампонажного раствора необходимый для цементирования верхнего участка облегчённым цементным раствором.

Определим объём продавочной жидкости.

где К>с> =(1,02-1,05) коэффициент, учитывающий потери продавочной жидкости.

Определим объём буферной жидкости.

Определим количество тампонажного цемента для приготовления раствора с заданной плотностью.

где
-
водоцементное отношение.
Определим массу цемента:

Определим массу облегчённого цемента:

Определим необходимый объём воды.
- для цементного раствора.
- для облегчённого
цементного раствора.
Определим необходимое количество смесительных машин.
,
где
-
насыпная плотность цемента;
-
вместимость одного бункера смесительной
машины.
Количество
машин для цементного раствора:

Количество машин для облегчённого цемента:

Определим производительность одного смесителя.

где q>ж>=7л/с производительность водяного насоса агрегата ЦА-320 из [4].
,
для цементного раствора.
,
для цементного раствора.
,
для облегчённого цементного раствора.
,
для облегчённого цементного раствора.
Определим продолжительность закачки агрегатом ЦА-320.
,
где V – объём закачиваемой жидкости;
t – время закачки;
Q>мах> – максимальная подача агрегата.
Из [4] имеем, производительность ЦА-320:
на 1 скорости Q=1,7 л/с;
на 2 скорости Q=3,2 л/с;
на 3 скорости Q=6,0 л/с;
на 4 скорости Q=10,7 л/с.
Найдём время закачки буферной жидкости:
- на 4 скорости.
Найдём время закачки цементного раствора: Q>мах>=q>см>

Найдём время закачки облегчённого цементного раствора: Q>мах>=q>см>

Найдём время закачки продавочной жидкости:
-
время начала продавки.
-
продавка двумя агрегатами на 3 скорости.
-
продавка одним агрегатом на 1 скорости.
Построим график 6 работы агрегатов и цементо-смесительных машин.
Суммарное время закачки

Таблица 9
|
Время, % |
При расходе л/с |
|||||||||||||
|
Давление на устье, МПа |
Давление на забое, МПа |
|||||||||||||
|
Г.стат |
1,7 |
3,2 |
6 |
10,7 |
12 |
21,4 |
г.стат |
1,7 |
3,2 |
6 |
10,7 |
12 |
21,4 |
|
|
0 |
0 |
1,19 |
2,11 |
2,38 |
2,81 |
2,92 |
3,68 |
33,15 |
33,8 |
33,86 |
33,95 |
34,07 |
34,1 |
34,36 |
|
10 |
0,17 |
2,13 |
2,31 |
2,58 |
3,01 |
3,12 |
3,9 |
33,46 |
34,15 |
34,21 |
34,3 |
34,43 |
34,5 |
34,75 |
|
20 |
-0,23 |
1,718 |
1,96 |
2,24 |
2,67 |
2,78 |
3,57 |
33,77 |
34,5 |
34,56 |
34,66 |
34,8 |
34,84 |
35,13 |
|
30 |
-,063 |
1,421 |
1,6 |
1,89 |
2,32 |
2,441 |
3,23 |
34,09 |
34,84 |
34,91 |
35,01 |
35,16 |
35,2 |
35,51 |
|
40 |
-1,62 |
0,471 |
0,66 |
0,94 |
1,39 |
1,5 |
2,31 |
34,39 |
35,18 |
35,25 |
35,35 |
35,52 |
35,56 |
35,9 |
|
50 |
-0,56 |
0,61 |
0,72 |
0,87 |
1,17 |
1,25 |
2,03 |
35,06 |
35,89 |
35,96 |
36,07 |
36,25 |
36,29 |
36,64 |
|
60 |
2,29 |
3,44 |
3,55 |
3,71 |
4,02 |
4,11 |
4,91 |
35,89 |
36,85 |
36,93 |
37,04 |
37,23 |
37,28 |
38,66 |
|
70 |
5,19 |
6,31 |
6,43 |
6,59 |
6,91 |
7,0 |
7,82 |
36,9 |
37,81 |
37,9 |
38,01 |
38,22 |
38,27 |
38,66 |
|
80 |
8,22 |
9,33 |
9,45 |
9,62 |
9,95 |
10,05 |
10,88 |
37,92 |
38,89 |
38,99 |
39,11 |
39,32 |
39,38 |
39,78 |
|
90 |
11,18 |
12,28 |
12,4 |
12,57 |
12,92 |
13,02 |
13,85 |
38,88 |
39,89 |
39,99 |
40,12 |
40,34 |
40,4 |
40,82 |
|
100 |
14,01 |
15,06 |
15,18 |
15,35 |
15,71 |
15,81 |
16,66 |
39,68 |
40,71 |
40,82 |
40,95 |
41,18 |
41,24 |
41,66 |
По результатам таблицы 9 построим график 5.
График 5.

Необходимые для цементирования материалы, цемент (в бункерах смесительных машин) должны быть заблаговременно доставлены на буровую. До начала цементирования цементировочные агрегаты и смесительные машины, которые будут участвовать в операции, должны быть соединены с устьем скважины через цементировочную головку системой трубопроводов. Чтобы ускорить обвязку оборудования используют специальный гидравлический блок манифольда, на котором имеются два коллектора: напорный и раздаточный - для присоединения линии от цементировочных агрегатов, и комплект труб с быстросъемными соединениями. Перед началом цементирования руководитель работ указывает объемы, которые должны быть закачены, последовательность ввода агрегатов и смесительных машин в работу и т.д. На рисунке 2 указана схема обвязки оборудования при цементировании эксплуатационной колонны.

Рис. 2
Перед началом операции мерники цементировочных агрегатов 1,2,3,4, заполнены водой, а агрегата 5- продав очной жидкостью. Реагенты, которые требуются для обработки тампонажного раствора, предварительно растворяются в воде или уже перемешаны с сухим цементом.
На первом этапе цементирования насосы агрегатов 1 и 4 нагнетают воду в смесительные машины 7 и 8, куда одновременно поступает сухая смесь цемента из бункеров. Из смесителя тампонажный раствор поступает в напорный коллектор блока манифольдов (БМ), а потом и в цементировочную головку 6. Сразу же после закачки расчетного объема тампонажного раствора в эксплуатационную колонну краны на нижних боковых отводах цементировочной головки закрывают, а через верхний боковой отвод агрегатом 5 закачивают продавочную жидкость.
Одновременно промывают насосы, линии обвязки агрегатов и напорный коллектор от оставшегося тампонажного раствора, а мерники цементировочных агрегатов 1,2 заполняют продавочной жидкостью, которую подают насосы через раздаточный коллектор блока манифольдов. После промывки открывают краны на нижних отводах головки 6 и закачивают в колонну продавочную жидкость насосами агрегатов 1,2,3 через напорный коллектор блока манифольдов. Последние несколько м3 продавочной жидкости закачивают одним агрегатом, чтобы точно определить посадку продавочной пробки на кольцо-стоп.
За плотностью, объемом, давлением следят в станции контроля цементирования. После завершения всех работ скважину оставляют на ОЗЦ.
9 Освоение и испытание скважин
В 2001 году Мегионским укрупнённым управлением буровых работ было закончено строительством и передано заказчикам 103 скважины. Кроме того бригадами освоения было проведено 24 ремонта КРС и ПРС, из них по нефтяным скважинам 16 штук, по нагнетательным 8 штук. По способу эксплуатации скважины распределены следующим образом:
ЭЦН - 79 скважин (80,6 %),
ШГН - 10 скважин (10,2 %),
Фонтаном - 5 скважин (5%).
В последние годы на месторождениях Западной Сибири эффективное применение нашла технология освоения скважин, предусматривающая последовательное выполнение следующих видов операций: оборудование устья скважины фонтанной арматурой, спуск колонны НКТ в скважину, смена бурового раствора в скважине на техническую воду, опрессовка эксплуатационной колонны совместно с фонтанной арматурой, замена воды в скважине жидкостью глушения, спуск бурильного инструмента с винтовым забойным двигателем и шарошечным долотом, разбуривание остатков цемента, пробок и посадочного седла пакера для манжетного цементирования, раскрытие фильтров продолжением спуска бурильного инструмента до искусственного забоя скважины, спуск колонны НКТ, вызов притока методом свабирования, т.е. снижением уровня жидкости в скважине, дренирование пласта свабированием (при отсутствии фонтанного притока), гидродинамическое исследование пласта (снятие кривой восстановления давления КВД и КВУ) и оценка величины скин-эффекта, при наличии "загрязнения" глушение скважины, подъем колонны НКТ, спуск устройства УГИС (со струйным насосом) на колонне НКТ, обработка призабойной зоны пласта кислотным раствором, ПАВ или растворителем, дренирование пласта и ввод скважины в эксплуатацию (при получении фонтанного притока скважины может быть введена в эксплуатацию без подъема устройства УГИС на поверхность). При необходимости эксплуатации скважины с помощью погружного насоса ЭЦН, скважина вновь заполняется жидкостью глушения, а затем производится подъем УГИС на поверхность.
Как видно из вышеизложенного, на стадии освоения скважина несколько раз может быть заполнена жидкостью глушения. Поскольку в качестве жидкости глушения в Западной Сибири наиболее часто используется рассол NaCl, загрязненный механическими примесями (при поглощениях рассол загущают добавкой полиакриамида), вследствие чего существенно снижается продуктивность скважин, особое внимание должно быть уделено типу и составу предлагаемых к применению жидкостей глушения. Однако, наилучшим решением является использование клапанного устройства, с помощью которого ствол скважины в интервале залегания продуктивного пласта в период производства спускоподъемных операций отсекается от вышележащего столба жидкости в скважине. При отсутствии надежного в работе клапана-отсекателя следует стремиться к уменьшению количества операций по глушению скважины и применять при этом жидкость глушения, минимально вызывающую снижение нефтепроницаемости коллектора.
В целях исключения или уменьшения количества операций по глушению все работы по вызову притока, дренированию пласта, гидродинамическим исследованиям, обработке призабойной зоны и повторному дренированию пласта рекомендуется проводить через УГИС, спущенный в скважину сразу же после заканчивания строительства скважины. При этом работы по свабированию отпадают, так как вызов притока и дренирование пласта осуществляются с помощью струйного насоса.
По итогам работы МУУБР с поставленными задачами справился, средний дебит по сданным скважинам составил 59 м3 /сут при плановых показателях 45м3/сут.
10 Охрана труда
Охрана труда - это система правовых, санитарно-гигиенических и организационно- технических мероприятий целью которых является создание комфортных и безопасных условий труда.
Основные причины травм и несчастных случаев, встречающихся в УБР, можно подразделить на технические, организационные и санитарно-гигиенические.
К техническим причинам относят несовершенство или конструктивные недостатки оборудования, несовершенство технологического процесса, рабочего инструмента.
К организационным относят: неправильная организация рабочего места, его загроможденность посторонними предметами, нарушение инструкций, применение непригодного инструмента.
К санитарно-гигиеническим причинам относят: загрязненность производственной среды ядовитыми веществами, нерациональное освещение, шум, вибрация, метеорологические условия.
Наиболее трудоемкими и травмоопасными операциями в бурении являются СПО, ремонт оборудования и приготовление промывочной жидкости на буровой.
Основными причинами травм при СПО являются:
Несогласованное действие рабочих одной вахты, конструктивные недостатки оборудования и инструмента, нерациональное расположение и загромождение рабочей зоны, недостаточная степень механизации трудоемких процессов, сложная производственная среда. Исходя, из этого применяют мероприятия, устраняющие эти недостатки.
Спуск и цементирование обсадных колонн в цикле строительства скважины, травмоопасные и ответственные процессы.
Крепление скважины допускается только после проверки мастером и механиком основных узлов вышки, ее вертикальности, надежности талевой системы, лебедки, ротора, фундамента вышки и правильности показаний КИП. Крепление скважины недопустимо без утвержденного главным инженером плана проведения соответствующих работ, акта на опрессовку цементировочной головки и обратных клапанов. Трудоемкость крепления скважины связано с подготовкой обсадных труб к спуску, навинчиванием и цементированием труб, перемещением элеватора на столе ротора, закрытием крышки элеватора, при цементирование скважины трудоемок процесс загрузки цементосмесительной машины.
В процессе закачивания цемента в скважине создается очень высокое давление и по этому персонал не должен находиться в опасных зонах, так же запрещены ремонтные работы.
При вскрытии продуктивных пластов возможны нефтегазопроявления и одна из опасностей - это наличие сероводорода. При этом следует уделять особое внимание удельному весу промывочной жидкости и других ее параметров. На каждой буровой должны быть приборы - газоанализаторы, противогазы, а также комплект безискрового инструмента.
Так же пожароопасна работа с промывочными жидкостями. Необходимо уменьшать температуру промывочной жидкости, не допускать разлива раствора, следить за концентрацией взрывчатых газов.
11 Охрана окружающей среды
Строительство скважин, расположенных в водоохранной зоне Аганского месторождения предусматривается с использованием экологически малоопасных химреагентов и материалов и безамбарной технологии бурения.
Предусматривается использование замкнутого цикла водоснабжения буровой с регенерацией буровых сточных вод и отработанного бурового раствора для повторного использования в технологическом процессе, эффективной очистке бурового раствора и утилизации отходов бурения, исключающих попадание их на рельеф местности.
Окружающая среда Покомасовского месторождения предполагает повышенные требования к комплексу природоохранных мероприятий.
Основные потенциальные источники загрязнения окружающей среды при строительстве скважин:
Буровые растворы
Буровые сточные воды и буровой шлам
Тампонажные растворы
ГСМ
Пластовые минерализованные воды и продукты освоения скважины (нефть,минерализованные воды)
Продукты сгорания топлива
Хозяйственно-бытовые жидкие и твердые отходы. Влияние потенциальных загрязнителей на окружающую среду не одинаково и зависит от:
Типа БУ, способа монтажа и привода энергии
Конструкции скважины
Применяемого способа бурения.
Очистка отходов бурения.
С целью сокращения объемов наработки бурового раствора, а следовательно, и уменьшения объема ОБР, подлежащего обезвреживанию и утилизации, применяется 3-х ступенчатая система очистки, включающая центрифугу. После окончания бурения под кондуктор весь раствор подлежит осветлению для использования в системе оборотного водоснабжения. После окончания бурения под эксплуатационную колонну буровой раствор используется в дальнейшем для бурения под кондуктор следующей скважины куста, а избыток раствора (при наличие его) осветляется с последующей закачкой очищенной водной фазы в нефтесборный коллектор.
Определение объемов отработанных буровых растворов и шлама при строительстве скважин осуществляется в соответствии с методическими указаниями с учетом конкретных условий бурения.
12 Специальная часть
В данном разделе проводится анализ случаев недоподъёма цемента до заданного уровня..
В период с15,02,02 по 18,04,02 в МУУБР зафиксировано 7 случаев недоподъёма цемента. За указанный период времени случаи недоподъёма цемента имели место на следующих скважинах: Мега 37-966, Вата 38-330, Покамасы49-879, Ариголь 5-193, Вата 94-586, Северный Покур 57-1006, Мыхпай-Мега 49-334.
Это повлекло за собой значительный материальный ущерб. Помимо этого недоподъём цемента может вызвать снижение репрессии на продуктивный пласт и привести к нефтегазоводопроявлению.
По мнению многих авторов наличие в интервалу разобщения пластов надёжного цементного кольца уменьшает обводнённость скважины в 3 раза. В связи с этим вопрос качественного цементирования скважин на месторождениях осложнённых наличием водонефтяных зон, особенно актуален.
По данным М. О. Ашрафьяна (содержащим анализ качества крепления скважин в 26 нефтедобывающих предприятиях СССР) недоподъём тампонажного раствора зафиксирован в 4625 скважинах , что составляет 29% осложнений связанных с креплением скважин.
Кроме того автор проекта лично наблюдал недоподъём при установке цементного моста. Из-за этого пришлось дважды вызывать цементировочную технику. Время ОЗЦ также увеличилось в два раза. Пришлось выполнять дополнительные СПО.
Недоподъём цемента происходит из-за того что давление столба цементного раствора превышает давление гидроразрыва слабых пластов. Чаще всего причиной гидроразрыва являются : малая изученность разреза, несоблюдение режима цементирования, неправильный подбор плотности цементного раствора.
Ввиду того ,что район бурения хорошо изучен, значимыми остаются два последних фактора.
Контроль за режимом цементирования можно ужесточить, но только до определённого предела. Ввиду того , что цементировочные агрегаты всё равно будут работать каждый индивидуально, даже при идеально составленном плане работ будут небольшие погрешности.
Снижение плотности раствора может привести к желаемым результатам. Этого можно достичь:
Ввод облегчающих добавок
Увеличение водоцементного отношения.
Первый метод приводит к желаемому результату , но возникает вероятность всплытия наполнителей. В качестве наполнителей могут использоваться пласт-
массовые микробаллоны , микросферы ,опилки , резиновая крошка и др..
Использование второго метода влечёт за собой уменьшение прочности цементного камня. В случае присутствия в разрезе ММП , а также пород склонных к текучести использовать этот метод не рекомендуется. Поскольку почти на 40% территории России залегают многолетнемёрзлые породы применение этого метода считаю нецелесообразным.
Гидроразрыва пластов можно избежать применением ступенчатого цементирования. При этом используются МСЦ- муфты ступенчатого цементирования.
Существуют различные конструкции МСЦ , как отечественного , так и зарубежного производства.. хотя МУУБР успешно работает с МСЦ, все они имеют один существенный недостаток, а именно часть обсадной колонны имеет вырез , заполненный лишь цементом .Это крайне нежелательно при креплении газовых скважин. Помимо всего прочего существующие конструкции МСЦ часто работают ненадёжно.
По моему мнению заслуживает внимания ещё один малораспространённый метод. Метод применим лишь для установки цементных мостов. Для его осуществления необходима канатная техника. Цементный раствор помещается в желонку, которая спускается до забоя на тросе. Желонка имеет стеклянное дно, при ударе о забой стекло разбивается и цементный раствор попадает на забой.
Недостатком метода является то, что при работе в открытом стволе скважина остаётся без промывки на 2-3 часа. Также возможна посадка желонки при спуске, в результате чего раствор не доходит до забоя. Данный метод успешно применяется лишь в неглубоких скважинах ( до 3000 м).
Преимущество заключается в высокой точности установки моста (до 1 м). Лично мною проводились работы по установке моста высотой 6 метров ( при работе в КРС на УГКМ). Кроме того этот метод очень экономичен. Он не требует больших материальных, людских и технических затрат. Для его работы хватает трёх человек и лебёдки.
По мнению [6] гидроразрыв происходит в результате превышения удельного веса цементного раствора над глинистым и увеличения вязкости цементного раствора. Расчёты показывают , что при малых кольцевых зазорах и больших скоростях движения цементного раствора гидродинамическое давление может увеличиться до величины гидроразрыва , что подтверждается многочисленными примерами из практики.
Когда на пласты создаётся давление , близкое к давлению гидроразрыва, даже кратковременные остановки весьма опасны, так как последующее небольшоеувеличение давления при возобновлении прокачкираствора приводит к гиидроразрыву.
Создание больших скоростей восходящего потока цементного раствора в затрубном пространстве приводит к возрастанию давления на стенки скважины, в результате слабые пласты подвергаются гидроразрыву. повышение скорости потока может объясняться необходимостью скорейшего окончания процесса обеспечения возможно большей полноты вытеснения бурового раствора цементным. Первую задачу следует решать подбором рецептуры цементного раствора. Экспериментами установлено ,что при структурном , ламинарном и турбулентном режимах течения цементного раствора вытесняется соответственно 42, 90 и 98%. В связи с этим целесообразно достижение тубулентности потока. Обычно это решается увеличением скорости потока , однако предпочтительнее другие решения. К ним можно отнести:
Изменение реологических параметров.
Оснастка обсадной колонны.
По мнению многих исследователей [6], [9]и др. недопустимо смешивание цементного и бурового растворов. При некоторых условиях перемешивания этот слой может охватить значительную зону , а повышение вязкости вызовет рост давления при продувке тампонажного раствора.
Многие трудности и неудачи, особенно при цементировании скважин с малыми зазорами между обсадной колонной и стенками скважины, связаны с отфильтровыванием большого количества воды, в результате чего уменьшается подвижность раствора, он быстрее запустевает и изменяются другие свойства.
Усложненность условий разобщения пластов обусловлена комплексом природных и технико-технологических факторов , влияние которых во многих случаях оказывает негативное воздействие на качество разобщения пластов является причиной возникновения различных аварий и осложнений в скважине. К природным факторам относятся: температура, давление, тектонические нарушения, литологическая и физическая характеристики пород, природа пластового флюида, расстояние между продуктивным и водоносным горизонтами.
В целом влияние природных факторов изучено недостаточно вследствие сложности постановки экспериментов в скважинах, отсутствия разработанных методов и аппаратуры для проведения исследований. Анализ показывает, что наиболее хорошо изучено влияние технико-технологических факторов [9] , но ввиду сложности выделения меры воздействия каждого фактора в отдельности во многих случаях удаётся оценить лишь их совместное влияние. Особенно трудно оценить степень влияния технологической оснастки колонн, состояние ствола скважины, показателей свойств бурового и тампонажого растворов.
По мнению ряда авторов необходимо кольматировать слабые пласты во избежание их гидроразрыва.
Я считаю, что необходимо также прменять буферную жидкость для укрепления глинистой корки на стенках скважины.
Мнение многих авторов расходится в выборе буферной жидкости. В [9] имеется ссылка , что Говард и Кларк доказали эффективность применения воды в качестве буферной жидкости. При этом вытеснение бурового раствора повысилось с 60 до 90%. В курсе лекций профессора Агзамова указано , что вода является наихудшим вариантом буферной жидкости. В Мегионском УУБР в качестве буферной жидкости используется вода с добавлением 6% сульфанола.
Ашрафьян указывает ,что положительное влияние на качество крепления оказывает вращение и рассаживание колонны. Мне кажется, что при этом необходимо увеличивать коэффициент запаса прочности при расчёте обсадных колонн.
В заключении хотелось бы отметить, что по моему мнению процесс цементирования каждой скважины следует разрабатывать индивидуально, не жалеть времени и средств на подготовку ствола скважины так как качественное крепление окупается при её эксплуатации. Мне кажется негативным процесс строительства скважины при котором основной упор делается на её скорейший пуск в эксплуатацию.
Литература
1. Акбулатов Т.О. Методическое указание по дисциплине «Гидроаэромеханика в бурении».
2. К.В.Иогансен «Спутник буровика».
3. А.Г.Калинин Н.А.Григорян Б.З.Султанов Справочник «Бурение наклонных скважин».
4. Е.М.Соловьев «Задачник по заканчиванию скважин».
5. Материалы собранные при прохождении производственной и преддипломной практики.
6. А. И. Булатов , Н.А. Сидоров “Осложнения при креплении глубоких скважин” М. Недра, 1966.
7. И.А. Серенко, Н А. Сидоров, А.Т. Кошелев “Повторное цементирование при строительстве иэксплуатации скважин”- М. Недра, 1988.
8. А. Ф. Озеренко и другие “Предупреждение и ликвидация газонефтепроявлений при бурении скважин”. М. Недра , 1978.
9. М.О. Ашрафьян “ Технология разобщения пластов в осложнённых условиях”. М. Недра, 1989.


