Межевание объектов землеустройства
Министерство образования и науки Российской Федерации
Федеральное агентство по образованию
Грозненский государственный нефтяной институт
имени академика М. Д. Миллионщикова
Строительный факультет
Кафедра "Геодезия и земельный кадастр"
Курсовая работа
по дисциплине: Земельно-кадастровые геодезические работы
Грозный 2009
Содержание
Введение
1. Межевание объектов землеустройства
1.1 Содержание работ при межевании объектов землеустройства
1.2 Подготовительные работы
1.3 Составление технического проекта
1.4 Уведомление лиц, права которых могут быть затронуты при проведении межевании
1.5 Определение границ объекта землеустройства на местности, их согласование и закрепление межевыми знаками
1.6 Определение координат межевых знаков
1.7 Определение площади объекта землеустройства
1.8 Составление карты (плана) объекта землеустройства или карты (плана) границ объекта землеустройства
1.9 Формирование землеустроительного дела
1.10 Формирование межевого дела
1.11 Контроль над проведением межевания
2. Исходная геодезическая основа для выполнения земельно-кадастровых геодезических работ
2.1 Государственная геодезическая сеть
2.2 Опорная межевая сеть
2.3 Межевые съемочные сети
Заключение
Приложения
Список использованной литературы
Введение
Межевание представляет собой комплекс инженерно-геодезических работ по установлению, восстановлению и закреплению на местности границ землепользований, определению местоположения границ и площади участка, а также юридическому оформлению полученных материалов.
Первое межевание стало проводиться с появлением первых поместий. Поместная система - это вознаграждение за службу землей, отдаваемой в потомственное или пожизненное владение. Поместья появились на Руси при Иване III.
В 1779 в Москве была основана Межевая школа, которая в 1819 была преобразована в Землемерное училище, а в 1835 — в Межевой институт, превратившийся в крупное учебное заведение по подготовке геодезистов.
1. Межевание объектов землеустройства
1.1 Содержание работ при межевании объектов землеустройства
Межевание - комплекс градостроительных и землеустроительных работ по установлению, восстановлению, изменению и закреплению в проектах межевания и на местности границ существующих и вновь формируемых земельных участков как объектов недвижимости. Межевание земель включает:
подготовительные работы по сбору и изучению правоустанавливающих, геодезических, картографических и других исходных документов;
полевое обследование и оценку состояния пунктов государственной геодезической сети (ГГС) и опорной межевой сети (ОМС) - опорных межевых знаков (ОМЗ);
полевое обследование границ размежевываемого земельного участка с оценкой состояния межевых знаков; - составление технического проекта (задания) межевания земель;
уведомление собственников, владельцев и пользователей размежевываемых земельных участков о производстве межевых работ;
согласование и закрепление на местности межевыми знаками границ земельного участка с собственниками, владельцами и пользователями размежевываемых земельных участков;
сдачу пунктов ОМС на наблюдение за сохранностью;
определение координат пунктов ОМС и межевых знаков;
определение площади земельного участка;
составление чертежа границ земельного участка;
контроль и приемку результатов межевания земель производителем работ;
государственный контроль за установлением и сохранностью межевых знаков;
формирование межевого дела;
сдачу материалов в архив.
При восстановлении на местности границ объекта землеустройства из состава работ исключаются:
1) согласование границ объекта землеустройства на местности;
2)определение координат межевых знаков;
3)определение площади объекта землеустройства;
4) составление карты (плана) объекта землеустройства или карты (плана) границ объекта землеустройства;
Межевание земельного участка – процесс достаточно длительный.
В него входят работы:
по определению границ земельных участков на местности и их согласованию;
закреплению на местности местоположения границ земельного участка межевыми знаками и определению их координат или составлению иного описания местоположения границ;
изготовлению карты (плана) земельного участка.
Проведение межевания необходимо в таких случаях, как:
оформление сделки на земельный участок (купля-продажа, мена, дарение, аренда и др.);
оформление прав на земельный участок (подготавливается кадастровый план для дальнейшей регистрации права);
объединение или раздел земельного участка;
уточнение границ земельного участка (увеличение участка или уменьшение его площади и др.);
установление на местности границ участка (устанавливаются межевые знаки по границе участка при их отсутствии);
разрешение земельных споров по границе участка (экспертиза для суда);
Межевание ведется в рамках работ по землеустройству в соответствии с Земельным и Градостроительным кодексами РФ, Положением о проведении территориального землеустройства, положением о порядке установления границ землепользований в застройке городов и других поселений, инструкцией по межеванию земель и другими нормативно-техническими документами в сфере территориального землеустройства. Межевание земель выполняют проектно-изыскательные отделения Роснедвижимости, а также юридические и физические лица, получившие лицензии на право осуществления геодезической и картографической деятельности.
Межевание земельного участка проводится в соответствии с заданием на выполнение работ.
Межевание объектов землеустройства проводится как: 1. как технический этап реализации утвержденных проектных решений о местоположении границ объектов землеустройства при образовании новых или упорядочении существующих объектов землеустройства (далее - установление на местности проектных границ объекта землеустройства); 2. как мероприятие по уточнению местоположения на местности границ объектов землеустройства при отсутствии достоверных сведений об их местоположении путем согласования границ на местности (далее - упорядочение на местности границ объекта землеустройства); 3. как мероприятие по восстановлению на местности границ объектов землеустройства при наличии в государственном земельном кадастре сведений, позволяющих определить положение границ на местности с точностью межевания объектов землеустройства (далее – восстановление на местности границ объекта землеустройства).
1.2 Подготовительные работы
В процессе подготовительных работ осуществляют сбор и анализируют следующие исходные материалы:
- проект землеустройства, материалы инвентаризации земель;
- постановление районной, городской (поселковой) или сельской администрации о предоставлении гражданину или юридическому лицу земельного участка;
- договоры купли-продажи и сведения о других сделках с земельным участком;
- выписки из книги регистрации земельного участка;
- сведения о наличии межевых споров по данному земельному участку;
- чертеж границ или кадастровые карты (планы) с границами земельного участка;
- топографические карты и планы;
- фотопланы и фотоснимки, приведенные к заданному масштабу;
- схемы и списки координат пунктов ГГС;
- схемы и списки координат пунктов ОМС;
- списки координат межевых знаков, затрагиваемых проектом землеустройства, а также проектные координаты вновь образуемого или трансформируемого земельного участка;
- сведения об особом режиме использования земель.
При установлении на местности проектных границ объекта землеустройства дополнительно к вышеперечисленным документам добавляется проект территориального землеустройства, а при упорядочении на местности границ объекта землеустройства добавляется землеустроительная и градостроительная документация, связанная с перераспределением земель в кадастровом квартале. Полевое обследование территории объекта землеустройства при проведении подготовительных работ включает выявление состояния межевых знаков, пунктов опорной межевой сети и иной геодезической основы. Результаты обследования опорной межевой сети и иной геодезической основы отражаются в техническом проекте.
Полевое обследование пунктов геодезической опоры и межевых знаков.
Полевое обследование производят с целью проверки сохранности пунктов геодезической опоры, выбора наиболее выгодной технологии работ и размещения пунктов опорной межевой сети.
Результаты обследования отражаются на схемах ГГС, ОМС или ранее изготовленном чертеже границ земельного участка.
В результате полевого обследования выясняют возможности применения тех или иных методов и приборов для закрепления пунктов ОМС, межевых знаков и определения их координат.
Составляется акт проверки состояния ранее установленных граничных знаков земельного участка.
1.3 Составление технического проекта
Межевание земель выполняют в соответствии с техническим проектом, в котором обосновывают содержание, объемы, трудовые затраты, необходимые материалы, сметную стоимость, сроки выполнения и технику безопасности работ. Технический проект межевания земель составляют на каждый населенный пункт, дачный поселок, садоводческое товарищество, на крупные сельскохозяйственные и лесохозяйственные предприятия и т.д.
Межевание земельного участка, предоставленного для ведения личного подсобного и дачного хозяйства, садоводства и индивидуального строительства, выполняют в соответствии с техническим заданием, выданным на основе технического проекта. Технический проект межевания земель утверждает районный (городской) комитет по земельным ресурсам и землеустройству.
Технический проект включает:
- текстовую часть;
- графические материалы;
- смету затрат и расчеты необходимых материалов.
В текстовой части технического проекта отражают:
- основание и цель выполнения работ;
- сведения о геодезической основе;
- сведения о ранее выполненных межевых работах;
- технологию геодезических работ и закрепления новых или восстановления утраченных границ;
- организацию и сроки межевания земельного участка;
- рекомендации по технике безопасности и охране труда;
- перечень материалов, подлежащих сдаче в комитет по земельным ресурсам и землеустройству.
К техническому проекту прикладывают разбивочный чертеж, составленный в удобном для работы масштабе, на котором отображают существующие и проектируемые:
- пункты ГГС и ОМС (ОМЗ);
- межевые знаки;
- угловые и линейные данные для геодезических измерений;
- названия и номера размежевываемого и смежных с ним земельных участков.
На разбивочном чертеже проектируемые пункты ОМС и межевые знаки, и их названия показываются красным цветом.
Разбивочный чертеж может составляться на копии ранее изготовленного чертежа границ земельного участка или кадастровой карты (плана), приведенной к удобному для работы масштабу.
На разбивочном чертеже все проектные элементы показываются красным цветом. Технический проект межевания объекта землеустройства утверждается заказчиком. Подпись утверждающего лица ставится на титульный лист технического проекта. Подписи юридических лиц заверяются печатью.
1.4 Уведомление лиц, права которых могут быть затронуты при проведении межевании
Лица, права которых могут быть затронуты при проведении межевания (собственники земельных участков, землевладельцы, землепользователи и арендаторы земельных участков, соответствующие органы государственной власти и (или) органы местного самоуправления), не позднее, чем за 7 календарных дней до начала работ извещаются о времени и месте проведении я межевания. При составлении карты (плана) объекта землеустройства исполнителем работ дополнительно направляются письменные запросы о наличии на территории объекта землеустройства принадлежащих иным лицам инженерных коммуникаций и (или) их охранных, санитарно-защитных и иных зон с особыми условиями использования земель. Извещение (приложение 2) передается заинтересованным лицам под расписку (приложение 3) или иным способом, подтверждающим факт и дату его получения (например, регистрируемое почтовое отправление с отметкой "Вручить лично", с заказными уведомлениями о вручении непосредственноадресатам). Извещения и расписки составляют в двух экземплярах, один из которых приобщают к землеустроительному делу. Извещения, адресованные юридическим лицам, органам государственной власти и органам местного самоуправления, вручаются полномочным должностным лицам.
Собственники, владельцы и пользователи размежевываемого и смежных с ним земельных участков заблаговременно, не позднее, чем за 2 дня до начала работ, извещаются о времени проведения межевых работ.
Об извещении землеустроителями лиц, права которых могут быть затронуты при проведении землеустройства.
Извещения вручаются под расписку с указанием времени вручения. Извещения и расписки составляются в 2-х экземплярах, один экземпляр из которых подшивается в межевое дело.
Установление и согласование границ земельного участка на местности.
Установление границ земельного участка производит на местности в присутствии представителя районной, городской (поселковой) или сельской администрации, собственников, владельцев или пользователей размежевываемого и смежных с ним земельных участков или их представителей, полномочия которых удостоверяются доверенностями, выданными в установленном порядке.
После завершения процедуры установления и согласования границ земельного участка на местности производится закрепление его границ межевыми знаками установленного образца.
Результаты установления и согласования границ оформляются актом, который подписывается собственниками, владельцами, пользователями размежевываемого и смежных с ним земельных участков (или их представителями), городской (поселковой) или сельской администрацией и инженером-землеустроителем - производителем работ. Акт утверждается комитетом по земельным ресурсам и землеустройству района (города).
1.5 Определение границ объекта землеустройства на местности, их согласование и закрепление межевыми знаками
При определении границ объекта землеустройства на местности, их согласовании и закреплении межевыми знаками рекомендуется принимать во внимание, что:
Определение границ объекта землеустройства на местности и их согласование проводится в присутствии лиц, права которых могут быть затронуты при проведении межевания, или уполномоченных ими лиц (представителей) при наличии надлежащим образом оформленных доверенностей. Перед процедурой согласования границ объекта землеустройства они предварительно обозначаются на местности в соответствии с имеющимися сведениями государственного земельного кадастра, землеустроительной, градостроительной документацией и (или) иными сведениями. При неявке на процедуру согласования границ кого-либо из вышеуказанных лиц или отказе от участия в процедуре согласования границ (непредставление мотивированного отказа в согласовании границы) в акте согласования границ фиксируется их отсутствие или отказ от участия в процедуре согласования границ, а по границе объекта землеустройства проводится предварительное межевание. В течение тридцати календарных дней этим лицам направляются повторные уведомления с указанием срока явки для согласования или предоставления мотивированного отказа в согласовании границ по результатам предварительного межевания. В случае неявки в течение указанного срока или непредставления мотивированного отказа в согласовании границы, границы объекта землеустройства считаются установленными. Споры, возникшие при согласовании границ, рассматриваются в порядке, установленном законодательством Российской Федерации. Результаты согласования границ оформляются актом (актами) согласования границ объекта землеустройства, который подписывается всеми участниками процедуры согласования границ, (собственниками, владельцами, пользователями размежевываемого и смежных с ним земельных участков (или их представителями), городской (поселковой) или сельской администрацией) включая исполнителя работ. Форма акта согласования границ приложение 4. Акт утверждается комитетом по земельным ресурсам и землеустройству района (города). Процедура согласования границ (границы) не проводится при наличии в государственном земельном кадастре сведений (координат поворотных точек границ), позволяющих определить их положение на местности с точностью, которая соответствует техническим условиям и требованиям, установленным Росземкадастром. Согласованные границы объекта землеустройства закрепляются межевыми знаками, фиксирующими на местности местоположение поворотных точек границ объекта землеустройства. Допускается закрепление границы межевыми знаками в виде естественных или искусственных предметов, обеспечивающих закрепление поворотной точки границы на период проведения работ (временный межевой знак), или в виде искусственного предмета, закрепленного в земле или твердом покрытии и обеспечивающего постоянство местоположения на местности поворотной точки границы объекта землеустройства после проведения землеустройства долговременный межевой знак). Необходимость установления долговременных межевых знаков определяет заказчик межевания. Он же утверждает тип межевого знака из числа образцов, рекомендуемых исполнителем работ. На межевой знак (знаки), который принадлежит трем и более земельным участкам и при наличии в пределах 40 метров не менее трех четко опознаваемых предметов (элементы зданий, строений, сооружений, опор линий электропередачи и т.п.), составляется абрис.
1.6 Определение координат межевых знаков
При определении координат межевых знаков рекомендуется принимать во внимание, что: Плановое положение на местности границ объекта землеустройства характеризуется плоскими прямоугольными координатами центров межевых знаков, вычисленными в местной системе координат. Геодезической основой межевания объектов землеустройства являются пункты опорной межевой сети двух классов ОМС 1 и ОМС 2, создаваемой в соответствии с требованиями Росземкадастра. Межевание земельных участков различного целевого назначения земель проводиться с точностью не ниже точности приведенной в таблице 1.1
Нормативная точность межевания объектов землеустройства
Таблица 1.1
|
№№ п.п |
Градация земель |
Средняя квадратическая ошибка M>t>> >положения межевого знака относительно ближайшего пункта исходной геодезической основы не более, м |
Допустимые расхождения при контроле межевания, м |
|
|
S>ДОП> |
f >ДОП> |
|||
|
1 |
Земли поселений (города) |
0,10 |
0,2 |
0,3 |
|
2 |
Земли поселений (поселки, сельские населённые пункты); земли, предоставленные для ведения личного подсобного хозяйства, садоводства, огородничества, дачного и индивидуального жилищного строительства |
0,20 |
0,4 |
0,6 |
|
3 |
Земли промышленности и иного специального назначения |
0,50 |
1,0 |
1,5 |
|
4 |
Земли сельскохозяйственного назначения (кроме земель, указанных в п.2), земли особо охраняемых территорий и объектов |
2,50 |
5,0 |
7,5 |
|
5 |
Земли лесного фонда, земли водного фонда, земли запаса |
5,00 |
10,0 |
15,0 |
Примечание. Предельная ошибка положения межевого знака равна удвоенному значению M>t>.
Для определения плоских прямоугольных координат межевых знаков используются спутниковые, геодезические, фотограмметрические и картометрические методы, предусмотренные техническим проектом. Высоты межевых знаков определяются в соответствии с требованиями задания на выполнение работ. Положение межевых знаков при восстановлении на местности границ объекта землеустройства на основе сведений государственного земельного кадастра определяется с точностью, соответствующей данным, представленным в таблице 1. Координаты межевых знаков, вычисленные при ранее проводимых работах по межеванию данного объекта землеустройства или смежных с ним, не переопределяются, если точность их положения соответствует данным, представленным в таблице 1.
При межевании земельных участков, расположенных в труднодоступных районах и (или) целевое назначение которых не требует высокой точности определения местоположения границ при условии совмещения таких границ с естественными и (или) искусственными рубежами (реками, ручьями, каналами, лесополосами, дорогами, дорожными сооружениями, заборами, изгородями, фасадами зданий и другими природными и созданными трудом человека объектами), допускается для определения положения межевых знаков применять персональные GPS навигаторы и (или) способ описания местоположения границ путем ссылок на вышеуказанные объекты. К таким границам относятся границы земельных участков, предоставленных под оленьи пастбища, охотничьи угодья, сенокосы, пастбища, а также для иных целей, установленных Росземкадастром.
Для определения координат пунктов ОМС (ОМЗ) и межевых знаков используют:
спутниковые геодезические определения;
триангуляцию, полигонометрию, трилатерацию, прямые, обратные, комбинированные засечки, лучевые системы;
фотограмметрические методы.
В обоснованных случаях могут использоваться и методы картометрии.
Для производства измерений применяют:
спутниковые геодезические приемники;
электронные тахеометры;
светодальномеры;
теодолиты;
фотограмметрические приборы;
дигитайзеры, другие приборы и инструменты.
Конкретные рекомендации по использованию перечисленных методов и приборов для межевания земель излагают в соответствующих руководящих технических материалах (РТМ) и техническом проекте.
1.7 Определение площади объекта землеустройства
Площадь земельного участка вычисляют в основном аналитическими методами по координатам межевых знаков, полученным геодезическими и фотограмметрическими методами.
Вычисленную площадь земельного участка (Р>ВЫЧ>) сравнивают с площадью, указанной в правоустанавливающем документе (Р>ДОК>) (постановлении администрации, свидетельстве на право собственности, договоре купли-продажи, и т.д.), для чего вычисляют разность:
Р = Р>ВЫЧ >- Р>ДОК> , (1.1)
которую сравнивают с допустимой погрешностью определения площади
Р>ДОП,> вычисляемой по формуле:
Pдоп = 2mp, (1.2)
где mp - средняя квадратическая погрешность определения площади земельного участка.
При Р Р>ДОП> за окончательное значение площади принимается площадь, указанная в правоустанавливающем документе.
При Р > Р>ДОП >материалы межевания земель направляют для внесения изменений в правоустанавливающий документ (постановление администрации, свидетельство на право собственности, договор купли-продажи и т.д.). Площадь записывается в квадратных метрах с округлением до 1 кв. м и дополнительно может записываться в гектарах с округлением до 0.01 га. Площадь муниципального образования или другого административно - территориального образования вычисляется по координатам поворотных точек его границ в случае, если это предусмотрено заданием на выполнение работ. В соответствии с заданием выполняется и оценка точности определения этой площади. Площадь объекта землеустройства, границы которого описаны путем ссылок на географические объекты, вычисляется с точностью не ниже графической точности картографического материала, численный масштаб которого равен численному масштабу соответствующей кадастровой карты (плана) земельного участка (территории).
1.8 Составление карты (плана) объекта землеустройства или карты (плана) границ объекта землеустройства
При составление карты (плана) объекта землеустройства или карты (плана) границ объекта землеустройства рекомендуется принимать во внимание, что: - Карта (план) объекта землеустройства составляется, если это предусмотрено заданием на выполнение работ, в противном случае составляется карта (план) границ объекта землеустройства в виде карты (плана) границ земельного участка или карты (плана) границ муниципального образования или другого административно - территориального образования. - Карта (план) границ земельного участка (приложение 5) составляется в масштабе, удобном для его размещения на одном листе формата А4 или А3. - Карта (план) границ муниципального образования или другого административно - территориального образования может составляться на листе большего формата. В случае если карта (план) границ муниципального образования или другого административно - территориального образования не умещается на одном листе, то допускается размещать ее на нескольких листах. В этом случае на каждом листе указываются его номер и схема размещения листов. - На карте (плане) границ объекта землеустройства показываются:
1) кадастровый номер земельного участка или название муниципального образования или другого административно - территориального образования;
2) границы объекта землеустройства и номера межевых знаков;
3) размеры объекта землеустройства в виде площади, дирекционных углов и горизонтальных проложений;
4) описание границ смежных объектов землеустройства (описание смежеств);
5) выходы координатной сетки;
6) направление "Юг-Север";
7) численный масштаб.
Дирекционные углы и горизонтальные проложения линий представляются в табличной форме (приложение 5). Дирекционные углы записываются в формате градусы и минуты с округлением до 0,1 минуты. Горизонтальные проложения записываются с округлением до 0,01 м . Допускается размещение описания смежеств и таблицы геодезических данных на одном или нескольких листах. - При проведении межевания муниципального образования или другого административно - территориального образования не по всему периметру, а только его части, карта (план) составляется только на этот участок границ. В этом случае площадь объекта землеустройства не вычисляется и на карте (плане) не показывается.
Карта (план) объекта землеустройства дополнительно к сведениям, которые показываются на карте (плане) границ объекта землеустройства, содержит сведения:
1) о границах частей объекта землеустройства, ограниченных в использовании и обремененных сервитутами;
2) о границах частей объекта землеустройства, занятых объектами недвижимого имущества. - Сведения о границах частей объекта землеустройства, ограниченных в использовании и обремененных сервитутами отражаются на карте (плане) объекта землеустройства на основе имеющихся документов и обозначаются на местности только по желанию заинтересованного лица (лиц) и с согласия правообладателя земельного участка; - Сведения о границах частей объекта землеустройства, занятых объектами недвижимого имущества, отображаются на карте (плане) объекта землеустройства, если это предусмотрено заданием на выполнение работ. В противном случае, сведения о частях земельных участков, занятых объектами недвижимого имущества, отражаются в пояснительной записке в объеме, который удовлетворяет требованиям нормативных правовых актов по ведению государственного земельного кадастра. - Площади частей объекта землеустройства, занятых объектами недвижимости, ограниченных в использовании и обремененных сервитутами, вычисляются с точностью не ниже графической точности карты (плана) объекта землеустройства. - Подчистки, приписки, зачеркнутые слова, иные исправления на карте (плане) объекта землеустройства (карте (плане) границ объекта землеустройства) не допускаются. Карта (план) границ объекта землеустройства (карта (план) границ объекта землеустройства) не может быть исполнена карандашом.
Составление чертежа границ земельного участка
Чертеж границ земельного участка составляют в масштабе, равном или крупнее масштаба базовой кадастровой карты (плана), рекомендованном в таблице. Оригинал чертежа границ земельного участка составляют на плотной чертежной бумаге, лавсане или фотоплане. Чертеж границ земельного участка составляется инженером-землеустроителем, выполнившим межевые работы, и утверждается председателем (заместителем председателя) комитета по земельным ресурсам и землеустройству района (города).
1.9 Формирование землеустроительного дела
В землеустроительное дело включаются материалы межевания в следующей последовательности:
1) титульный лист;
2) оглавление;
3) пояснительная записка;
4) сведения государственного земельного кадастра о земельном участке (участках) в форме кадастровой карты (плана) земельного участка (территории);
5) задание на выполнение работ;
6) копия документа, удостоверяющего права на землю, или правоустанавливающего документа;
7) технический проект;
8) документы, подтверждающие факт извещения (вызова) лиц, права которых могут быть затронуты при проведении межевания;
9) доверенности уполномоченных лиц на участие в межевании;
10) акт (акты) согласования границ объекта землеустройства;
11) каталоги (списки) координат межевых знаков объекта землеустройства в местной системе координат;
12) абрисы на межевые знаки;
13) карта (план) границ объекта землеустройства.
При восстановлении на местности границ объекта землеустройства из состава материалов межевания могут исключаться:
1) документы, подтверждающие факт извещения (вызова) лиц, права которых могут быть затронуты при проведении межевания;
2) доверенности уполномоченных лиц на участие в межевании;
3) акт (акты) согласования границ объекта землеустройства;
4) каталоги (списки) координат межевых знаков объекта землеустройства в местной системе координат;
5) абрисы на межевые знаки;
6) карта (план) границ объекта землеустройства.
Если заданием на выполнение работ предусмотрено составление карты (плана) объекта землеустройства, то вместо карты (плана) границ объекта землеустройства в землеустроительное дело включается карта (план) объекта землеустройства, а землеустроительное дело дополняется:
1) ведомостью вычисления площадей частей объекта землеустройства, занятых объектами недвижимости, ограниченных в использовании и обремененных сервитутами;
2) запросами о наличии и местоположении объектов, принадлежащих иным лицам, и (или) зон с особыми условиями использования земель.
Допускается карту (план) объекта землеустройства или карту (план) границ объекта землеустройства включать в землеустроительное дело, не брошюруя ее с другими материалами межевания.
При разделе земельного участка карта (план) земельного участка (карта (план) границ земельного участка) составляется на каждый вновь образованный земельный участок. Включенные в землеустроительное дело материалы межевания и карта (план) объекта землеустройства (карта (план) границ объекта землеустройства) утверждаются Росземкадастром или его территориальными органами. Подпись и печать, утверждающие материалы межевания, ставятся на титульном листе землеустроительного дела. Подпись и печать, утверждающие карту (план) объекта землеустройства или карту (план) границ объекта землеустройства, ставятся на самом документе. Утверждению подлежат все представленные на утверждение экземпляры землеустроительных дел. Подлинный экземпляр землеустроительного дела (содержащий подлинные исходные и созданные в процессе землеустройства документы) после утверждения передается в установленном порядке в государственный фонд данных, полученных в результате проведения землеустройства. Остальные экземпляры землеустроительного дела, сформированные из копий, заверенных исполнителем работ, возвращаются исполнителю работ для передачи заказчику.
1.10 Формирование межевого дела
По завершению межевых работ производитель работ формирует и сдает в комитет по земельным ресурсам и землеустройству межевое дело, в которое включаются:
1) пояснительная записка;
2) копия или выписка из решений государственных, муниципальных и местных организаций о предоставлении земельного участка;
3) копии или выписки из документов, на основании которых установлен особый режим использования земель;
4) копия договора о купле-продаже, дарственной, завещания или другого документа (если такие действия осуществлялись);
5) справки о вкрапленных земельных участках;
6) списки координат пунктов ОМС;
7) списки координат межевых знаков;
8) акт проверки состояния ранее установленных границ земельного участка;
9) технический проект (задание) с рабочим (разбивочным) чертежом;
10) извещения о вызове собственников, владельцев и пользователей размежевываемого и смежных с ним земельных участков для участия в действиях по межеванию земель;
11) доверенности лицам, уполномоченным собственниками, владельцами, пользователями земельных участков, на участие в установлении, согласовании и закреплении на местности границ размежевываемого земельного участка;
12) акт установления и согласования границ земельного участка;
13) акт о сдаче пунктов ОМС на наблюдение за сохранностью;
14) акт контроля и приемки материалов межевания земель производителем работ;
15) чертеж границ земельного участка;
16) ведомость вычисления площади земельного участка;
17) акт государственного контроля за установлением и сохранностью межевых знаков
Межевое дело регистрируется и постоянно хранится в межевом архиве комитета по земельным ресурсам и землеустройству.
1.11 Контроль над проведением межевания
В процессе и по завершению межевания земельных участков производитель работ осуществляет текущий контроль и приемку законченной продукции. Контроль над проведением межевания объектов землеустройства проводится с целью установления его соответствия техническим условиям и требованиям.
При выполнении работ физическим лицом, имеющим лицензию на выполнение межевых работ, текущий контроль и приемку законченной продукции, осуществляет комитет по земельным ресурсам и землеустройству или уполномоченная им проектно-изыскательская организация по землеустройству.
Текущий контроль и приемку результатов межевания земель производитель работ выполняет с целью установления их соответствия требованиям настоящей Инструкции. Результаты контроля и приемки оформляют актами установленной формы.
В целях контроля производитель работ выполняет дополнительные контрольные измерения, осматривает в натуре межевые знаки. Количество дополнительных контрольных измерений основывается в техническом проекте.
При приемке завершенных работ проверяющий устанавливает:
наличие списков координат пунктов ГГС, ОМС (ОМЗ) и межевых знаков;
систему координат и схему привязки межевых знаков к опорным геодезическим пунктам;
правильность ведения журналов геодезических измерений;
правильность установления и закрепления границ земельного участка;
допустимость погрешностей геодезических определений и вычисление площади земельного участка;
соответствие вычисленной площади земельного участка площади, указанной в документе, удостоверяющем права собственника на земельный участок;
правильность оформления чертежа границ земельного участка;
результаты полевых и камеральных работ;
правильность оформления межевого дела и т.д.
Результаты контроля оформляют актом. Акты контроля над проведением межевания объектов землеустройства в качестве приложений включаются в землеустроительное дело.
2. Исходная геодезическая основа для выполнения земельно–кадастровых геодезических работ
2.1 Государственная геодезическая сеть
Межевание земель выполняют как в общегосударственной, так и в местных и условных системах координат. При этом должна быть обеспечена надежная связь местных и условных систем координат с общегосударственной системой.
Геодезической основой межевания земель служат:
- пункты ГГС (триангуляция и полигонометрия);
- пункты ОМС (опорные межевые знаки - ОМЗ).
Государственная геодезическая сеть (ГГС) представляет собой совокупность геодезических пунктов, расположенных равномерно по территории и закрепленных на местности специальными центрами, обеспечивающими их сохранность и устойчивость в плане и по высоте в течение длительного времени. В основном она предназначена для решения задач, имеющих хозяйственное, научное и оборонное значение:
- создания и распространения государственной геодезической референцной системы координат на всей территории страны, поддержание ее на уровне современности;
- геодезического обеспечения картографирования страны и акваторий окружающих ее морей;
- геодезическое обеспечение изучения земельных ресурсов и землепользования, строительства, разведки и освоения природных ресурсов;
- изучения геодинамических явлений, поверхности и гравитационного поля земли;
- обеспечения исходными геодезическими данными средств измерений, морской и аэрокосмической навигации, аэрокосмического мониторинга земель, природной и техногенной сред;
- метрологического обеспечения высокоточных технических средств определения месторасположения ориентирования.
ГГС включает в себя геодезические построения различных классов точности:
- фундаментальную астрономо-геодезическую сеть;
- высокоточную геодезическую сеть;
- спутниковую геодезическую сеть 1 класса;
- астрономо-геодезическую сеть и геодезические сети сгущения.
Строят ее по принципу от общего к частному.
Высший уровень в структуре ГГС — фундаментальная астрономо-геодезическая сеть (ФАГС). Она является исходной основой для распространения на территории страны общеземной геоцентрической системы координат. Для определения положения пунктов ФАГС в такой системе координат используют методы космической геодезии. Они обеспечивают высокую точность их взаимного положения. Например, положение пунктов ФАГС в общеземной системе координат характеризуется средней квадратической погрешностью не более 10...15 см, а средняя квадратическая погрешность взаимного положения пунктов ФАГС, удаленных один от другого на расстояние 650...1000 км, не должна превышать 1 см в плане и 3 см по высоте.
Пункты ФАГС должны иметь нормальные высоты, для определения которых используют геометрическое нивелирование не ниже II класса точности.
Высокоточная геодезическая сеть (ВГС) опирается на пункты ФАГС. Она представляет собой однородную по точности систему, пункты которой удалены один от другого на расстояние 150..300 км. С помощью пунктов ВГС распространяют на всю территорию страны общеземную систему координат, а также уточняют параметры взаимного ориентирования общеземной и референцной систем координат и решают некоторые другие задачи. Координаты пунктов ВГС относительно пунктов ФАГС определяют со средними квадратическими погрешностями, равными 1...2 см в плановом положении и 3 см по геодезической высоте.
Спутниковая геодезическая сеть 1 класса (СГС-1) — третий уровень в структуре современной ГГС. Она представляет собой геодезическое построение, создаваемое в целях эффективного использования спутниковых технологий при переводе геодезического обеспечения территории страны на спутниковые методы. Исходной основой для создания СГС-1 служат ближайшие пункты ФАГС и ВГС. СГС-1 в первую очередь создают в экономически развитых районах страны. Расстояние между пунктами СГС-1 в среднем составляет 25...35 км. С учетом требований отраслей народного хозяйства плотность пунктов на отдельных территориях может быть увеличена, что обеспечит широкому кругу производителей работ оптимальные условия по применению ГЛОНАСС и СР8 аппаратуры в производственной деятельности. Средние квадратические погрешности по каждой из плановых координат пунктов СГС-1 относительно ближайших пунктов ВГС не должны превышать 1см. Нормальные высоты этих же пунктов устанавливают, используя спутниковое, а также геометрическое нивелирование 1...П классов.
Астрономо-геодезическая сеть 1 и 2 классов (АГС) и геодезические сети сгущения 3 и 4 классов (ГСС) можно создавать как традиционными астрономо-геодезическими и геодезическими методами, так и с использованием спутниковых технологий. Средняя длина стороны в АГС обычно составляет 12км. Астрономо-геодезическая сеть задает на всей территории страны геодезическую референцную систему координат и распространяет с необходимой для практики плотностью пунктов общеземную систему координат.
Геодезические сети сгущения 3 и 4 классов — главная плановая основа топографических съемок всего масштабного ряда. Исходной основой для их создания служат пункты АГС и СГС-1. Средняя длина сторон в ГСС 3 класса составляет 6 км, а 4 класса — 3 км. Точность взаимного положения смежных пунктов АГС и ГСС характеризуется средней квадратической погрешностью, не превышающей 5 см. Положение пунктов ГГС определяют в двух системах геодезических координат: общеземной и референцией. Между ними установлена однозначная связь, обусловленная параметрами взаимного перехода — элементами ориентирования. Референцная система геодезических координат и элементы ее ориентирования относительно общеземной системы координат обязательны для использования на территории страны всеми ведомствами Российской Федерации.
2.2 Опорная межевая сеть
Для ведения государственного земельного и других кадастров можно создавать специальную геодезическую сеть, которую называют опорной межевой сетью (ОМС). Создают их во всех случаях, когда точность и плотность пунктов государственных или иных геодезических сетей не удовлетворяет нормативно-техническим требованиям ведения государственного земельного кадастра, кадастра объектов недвижимости и др.
Опорная межевая сеть является геодезической сетью специального назначения и предназначена:
- для установления единой координатной основы на территориях кадастровых округов с целью ведения кадастра объектов недвижимости, государственного реестра земель кадастрового округа (района); мониторинга земель: создания земельных информационных систем и др.;
- землеустройства с целью формирования рациональной системы землевладения и землепользования, межевания земельных участков;
- обеспечения государстве иного земельного кадастра данными о количестве, качестве и месторасположении земель для установления их цены, платы за пользование, экономического стимулирования рационального землепользования;
- разработки системы мероприятий по сохранению природных ландшафтов, восстановления и повышения плодородия почв, защиты земель от эрозии и др.;
- инвентаризации земель различного назначения;
- решения других вопросов государственного земельного кадастра, землеустройства и государственного мониторинга земель.
Пункты ОМС размещают равномерно по территории населенных пунктов, дачных поселков, участков садовых товариществ, сельскохозяйственных, лесохозяйственных и других предприятий с плотностью, указанной в таблице. Пункты ОМС могут не совпадать с межевыми знаками границ земельного участка. Их следует размещать на местности с учетом:
- доступности для геодезических определений при восстановлении положения утраченных межевых знаков;
- защищенности от разрушений в результате хозяйственной деятельности и природных явлений.
Пункты ОМС следует по возможности размещать на землях находящихся в государственной или муниципальной собственности.
Межевые знаки размещают на всех поворотных точках границы земельного участка, кроме границ, проходящих по "живым урочищам" и линейным сооружениям, совпадающим с границами земельного участка.
На пунктах ОМС в качестве знаков применяются:
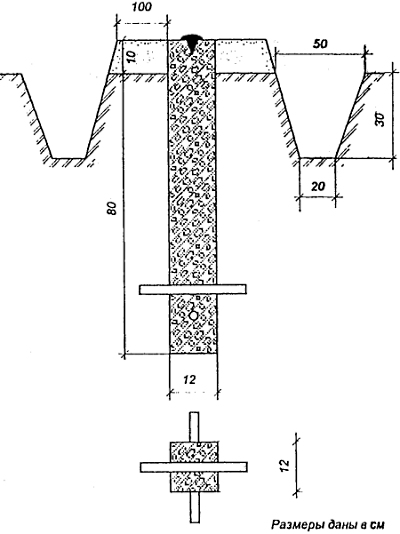
- бетонный пилон размером 12 х 12 х 90 см, в верхней конец которого заделывается кованый гвоздь, а в нижнюю часть для лучшего скрепления с
грунтом в цементируются два металлических штыря (якорь);
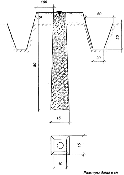
- бетонный монолит в виде усеченной четырехгранной пирамиды с нижним основанием 15 х 15 см, верхним 10 х 10 см и высотой 90 см с заделанным в него кованым гвоздем;
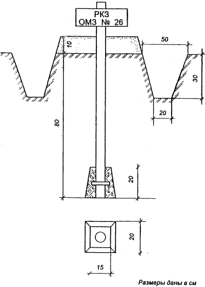
- железная труба диаметром 35-60 мм, отрезки рельса или уголкового железа 50 х 50 х 5 мм, 35 х 35 х 4 мм длиной 100 см с бетонным якорем в виде усеченной четырехгранной пирамиды с нижним основанием 20 х 20 см, верхним - 15 х 15 см и высотой 20 см. К верхней части трубы (рельса, уголка) приваривается металлическая пластинка для надписи, внизу
металлические стержни (крестовина);
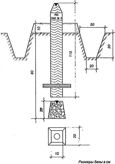
- деревянный столб диаметром не менее 15 см и высотой 115 см с крестовиной, установленный на бетонный монолит в виде усеченной
четырехгранной пирамиды с нижним основанием 20 х 20 см, верхним 15 х 15 см и высотой 20 см. На верхней грани монолиту делается крестообразная насечка или заделывается гвоздь. Верхнюю часть столба затесывают на конус, ниже затеса делают вырез для надписи;
- пень свежесрубленного хвойного дерева диаметром в верхней части не менее 25 см, обработанный в виде столба с вырезом для надписи, полочкой и забитым кованым гвоздем;
- марка, штырь, болт, закрепленные цементным раствором в основания различных сооружений, в т.ч. в бордюры, столбы, трубы или в скалы.
Бетонные пилоны и монолиты закладываются на глубину 80 см.
Пункты ОМС окапывают в виде круглых канав с внутренним диаметром
2,0 м, глубиной 0,3 м, шириной в нижней части 0,2 м и верхней части 0,5 м. Над центром насыпается курган высотой 0,1 м.
В качестве межевых знаков используют деревянные колья высотой 75
- 80 см, диаметром 5 - 7 см, железные штыри и трубы, забитые в грунт на 0,4 - 0,6 м.
Межевые знаки на поверхности без покрытия окапываются круглой канавой с внутренним диаметром 0,8 м, глубиной 0,2 м и шириной в нижней части 0,2 м.
Границы земельных участков, проходящие по живым урочищам, закрепляются межевыми знаками только на стыках с суходольными границами.
При установке межевой знак ориентируют таким образом, чтобы его лицевая сторона (с надписями) была обращена к следующему межевому знаку при движении по границе по ходу часовой стрелки.
На пунктах ОМС делается надпись: Роскомзем ОМЗ N________.
Пункты ОМС после закладки сдаются по акту на наблюдение за сохранностью:
- городской, поселковой или сельской администрации, если они построены на землях, находящихся в государственной или муниципальной собственности;
- собственнику, владельцу, пользователю земельного участка, если они находятся на его земельном участке.
Если пункт ОМС совмещен с межевым знаком, то он сдается на наблюдение за сохранностью всем собственникам, владельцам и пользователям размежевываемых земельных участков.

Рис.1 Бетонный пилон

Рис.2 Бетонный монолит

Рис.3 Железная труба

Рис.4 Деревянный столб

Рис.5 Штырь в пне

Рис.6 Марка (штырь, болт)
2.3 Межевые съемочные сети
Плотность пунктов опорной межевой сети, находящихся на территории проведения земельно-кадастровых геодезических работ обычно недостаточна для выполнения межевания земельных) участков, съемки объектов недвижимости, инвентаризации земель, и др. Поэтому ОМС необходимо сгустить, построив так называемую межевую съемочную сеть (МСС). Межевую съемочную сеть — геодезическую съемочную сеть создают с целью сгущения. ОМС для ее дальнейшего использования в качестве геодезической основы для определения плоских прямоугольных координат межевых знаков, а также других характерных точек объектов недвижимости.
При построении МСС используют различные способы производства геодезических работ: полигонометрические (теодолитные) ходы, прямые и обратные угловые засечки, линейную засечку и лучевой способ. Технология этих работ и математическая обработка результатов геодезических измерений были подробно рассмотрены при изучении курса геодезии.
Ниже приведены особенности производства геодезических работ при построении межевых съемочных сетей на землях поселений при закреплении месторасположения центров пунктов стенными знаками, а также геодезической привязки к пунктам ОМС на застроенных территориях.
Стенные знаки более долговечны, чем грунтовые, более экономичны и просты при закладке. По конструкции стенные знаки могут быть различными. Один из них показан на рисунке 2.2.

Рис. 7 Стенной знак
1 - надпись пункта ОМС; 2 - вид сверху; 3 - общий вид
Стенные знаки располагают на основных несущих элементах (стенах, надстройках и т. п.) кирпичных, каменных, бетонных и других зданий и сооружений, не имеющих видимых нарушений цокольной части. Стенной знак крепят на высоте 0,3...1,2м от поверхности земли. Носителем координат стенного знака является отверстие диаметром 2 мм, просверленное в головке знака. На диске знака должна быть размешена соответствующая надпись о принадлежности знака. Отметим, что стенные знаки можно закладывать в цокольную часть зданий и сооружений как в единственном числе (одинарный стенной знак), так и парами (парные стенные знаки) на расстоянии друг от друга 10...20м. В последнем случае между ними измеряют расстояние стальной рулеткой с погрешностью не более 1 мм.
Заключение
Для проведения любого мероприятия, связанного с использованием земли в промышленности, со строительством сооружений, требуются:
Изучение земной поверхности (форм рельефа, места расположения различных объектов), производство специальных измерений, их вычислительная обработка и составление карт, планов, профилей, которые служат основной продукцией геодезических работ и дают представление о форме и размере поверхности всей земли и ее отдельных частей.
В процессе строительства сооружений геодезическими методами наблюдают за вертикальностью стен, горизонтальностью балок, уклонами дорог, высотами плотин, глубиной и уклонами каналов, а в процессе их эксплуатации следят за деформацией и осадками.
Перенесение проектов на местность представляет собой процесс, обратный топографической съемке, при которой, как известно, определяется месторасположение физически существующих на местности объектов и предметов, а также создается цифровая модель рельефа. При выносе в натуру проектов границ земельных участков проектной точки на местности физически не существует, однако ее проектное месторасположение известно (задано) и, следовательно, в процессе геодезических разбивочных работ может быть закреплено (указано) на местности.
Исходными данными при геодезических разбивочных работах служат сведения государственного земельного кадастра, например в форме плоских прямоугольных координат ранее установленных межевых знаков, а также плоские прямоугольные координаты соответствующих проектных точек, полученные при проектировании границы земельного участка
Точность выноса на местность соответствующих проектных точек зависит как от точности исходных данных, так и точности геодезических измерений (построений).
От точности геодезических построений зависит точность положения проектной точки относительно ближайшего пункта межевой съемочной или иной геодезической сети, используемой при геодезических разбивочных работах.
Цель данной курсовой работы заключалась в ознакомлении с порядком проведения межевания объектов землеустройства.
В данной курсовой мною проведена работа по сбору, систематизации и архивации теоретических и практических данных по межеванию объектов землеустройства.
Список использованной литературы
1. Неумывакин Ю. К., Перский М. И. Земельно – кадастровые работы, 2005 г.
2. М. И. Буров, В. И. Нефедов, Ю. М. Трунин / Изв. Вузов. Геодезия и аэросъемка. 1998 № 6. С. 59-66
3. В. В. Баканова. Геодезия. Учебник для вузов. – М.: Недра, 1980.
4. Е.Б. Клюшин, И 62 М.И. Киселев, Д.Ш. Михелев, В.Д. Фельдман; Под ред. Д.Ш. Михелева Инженерная геодезия. Учебник для вузов , 2001г.
5. В.И. Радионов Руководство по учебно – геодезической практике М.: Недра, 1983
Приложение 1
Утверждаю:
Заказчик_________________
" __" __________20__ г.
Задание
на межевание земельного участка
1.Земельный участок __________________________
2.Местоположение земельного участка_____________________
3. Площадь______________
4.Наименование и адрес правообладателя земельного участка __________________________________________________________
5.Наименование и адрес исполнителя_________________________
6. Границы, требующие установления (упорядочения, восстановления) их местоположения на местности (кадастровые номера смежных земельных участков и номера точек)______________________________________
7. Особые и дополнительные требования к производству работ и отчетным материалам_______________________________________________
8. Сроки и порядок представления отчетных материалов_________________________________________________
9. Приложения_______________________________________
Исполнитель работ
Приложение 2
Извещение
____________________________________________________
(фамилия и инициалы правообладателя земельного участка или руководителя юридического лица)
Прошу Вас прибыть лично или направить Вашего представителя к ____часам "_____"______________200_ г.
для участия в установлении и согласовании в натуре границ земельного участка
(правообладатель земельного участка, кадастровый номер земельного участка)
(район, название республики в составе РФ, края, области, автономного образования)
Ваша явка или явка Вашего представителя с доверенностью, подтверждающей его полномочия участвовать в установлении границ земельного участка и подписывать соответствующие документы, необходима.
Ваше отсутствие или отсутствие Вашего представителя не является препятствием для проведения работ по межеванию.
Исполнитель работ:
_______________________ _________ _______________
(руководитель юридического (подпись) (фамилия, инициалы) лица, индивид. предприниматель)
"____"____________200_г.
Приложение 3
Расписка
Извещение ________________________________________
о вызове представителя к________ часам "___"_______200_г. для участия в установлении и согласовании в натуре границ земельного участка
(правообладатель земельного участка, кадастровый номер земельного участка)
(район, название республики в составе РФ, края, области, автономного образования)
Получил: "_____"________200_ г.
Извещение вручил: "___"________200_ г.
Приложение 4
Акт
согласования границ земельного участка
Границы земельного участка (схема земельного участка прилагается) согласованы правообладателями земельных участков или их представителями
|
Кадастровый номер земельного участка или наименование |
Фамилия и инициалы правообладателя |
Фамилия и инициалы представителя правообладателя |
Номер доверенности*) |
|
|
|
|
|
*) – номером доверенности является ее регистрационный номер или в случае его отсутствия порядковый номер, присваиваемый исполнителем работ в порядке их предъявления. Правообладателями земельных участков или их представителями заявлено: (отказ в согласовании, разногласия)_______________________________________________
Исполнитель работ:
Правообладатели или их представители:
Приложение 5
Приложение к Акту согласования границ земельного участка
Схема границ земельного участка

Описание смежеств:
Исполнитель работ:
Приложение 6
Карта (план) границ
земельного участка _______________________________
(кадастровый номер)
Площадь участка ___________________
Геодезические данные
|
Название (номер) межевого знака |
Дирекционные углы (градусы, минуты) |
Длина линии (м) |
|
|
|
|
|
|
|
|
Масштаб1:_________
Описание границ смежных земельных участков
От ___ до ___ с земельным участком ________________
От ___ до ___ с земельным участком ________________
От ___ до ___ с земельным участком _______________
