Тахеометрическая съёмка
МИНИСТЕРСТВО ОБРАЗОВАНИЯ РОССИЙСКОЙ ФЕДЕРАЦИИ
ЧЕРЕПОВЕЦКИЙ ГОСУДАРСТВЕННЫЙ УНИВЕРСИТЕТ
Инженерно-экономический институт
Кафедра строительных конструкций и архитектуры
Курсовая работа
ПО УЧЕБНОЙ ГЕОДЕЗИЧЕСКОЙ ПРАКТИКЕ
Выполнила: группа 5СП-11
Бригада № 5
Бригада: Чумичев М.
Калинин М.
Воробьев Ф.
Гарбузов М.
Проверил: Маконкова Н.С.
Череповец
2010
Журнал тахеометрической съёмки
Журнал угловых измерений
|
Точка стояния инструмента |
Точка визирования |
Отсчеты |
||
|
КЛ |
КП |
Средний |
||
|
2 |
3 |
215°26’ |
34°50’ |
305° 08’ |
|
1 |
156°53’ |
336°18’ |
246° 35,5’ |
|
|
Угол |
58°33’ |
58°32’ |
58°32,5’ |
|
|
2 |
3 |
58°33’ |
58°33’ |
58°33’ |
|
1 |
0°00’ |
0°00’ |
0°00’ |
|
|
Угол |
58°33’ |
58°33’ |
58°33’ |
Журнал измерения вертикальных углов
|
Точка стояния инструмента |
Точка визирования |
Место нуля, МО |
Отсчет по вертикальному кругу, КЛ |
Вертикальный угол,
|
|
3 |
1 |
-0°01’ |
-3°53’ |
-3°52” |
Журнал технического нивелирования
|
Номер стоянки |
Нивелируемые точки |
Отсчеты, мм |
Превышения, мм |
Горизонт
прибора Н |
Абсолютная высота точек Н,м |
||||
|
задний |
передний |
промежу-точный |
вычеслен-ное |
среднее |
исправлен-ное |
||||
|
1 |
Рп |
1290 1294 |
121,39 |
120,10 |
|||||
|
А |
1492 |
119,898 |
|||||||
|
B |
1142 1145 |
+0148 +0149 |
+0148,5 |
+0149 |
120,249 |
НИВЕЛИРОВАНИЕ ПО КВАДРАТАМ
Нивелирование по квадратам производится на участке местности, имеющем высотный перепад. Нивелируемая площадка привязывается к существующему реперу, положение и высота которого задаются преподавателем. Сторона квадрата – 10 м горизонтального проложения.
Разбивка площадки по квадратам производится с помощью теодолита и мерной ленты (рис. 11). Инструмент устанавливают над одной из угловых вершин (Д1), приводят в рабочее положение и задают вехой направление Д1 – Д5.
Измеряют вертикальный угол этого ската н=0є30’, вычисляют поправку за наклон линии к горизонту и откладывают расстояние Д> 1> = 10 + Д Д н>1 > (Д Д н=2Dsin2 н/2) в заданном створе, закрепляют колышками, забитыми вровень с землей, вершины Д 2, Д 3, Д 4 и Д 5.
Затем от направления Д1 – Д5 откладывают угол 90є и опять измеряют вертикальный угол ската Д1 – А1. Вычисляют поправку ДДн>2>, закрепляя колышками вершины Г1, В1, Б1 и А1. Теодолит переносят в вершину А1, приводят в рабочее положение и от направления А1 – Д1 откладывают угол 90є, закрепляют вехой створ А1 – А5, измеряют его вертикальный угол и откладывают расстояния Д>3> = 10 + ДДн>3>, закрепляя вершины А2, А3, А4 и А5.
Затем измеряют длину А5–Д5, она должна отличаться от проектного значения не более чем на расстояние, содержащееся в 0,5 мм плана (масштаб построения плана 1: 500).
Р>п>
А
Б
В
Г
Д
Рис. 11
Это условие выполняется, и поэтому разницу распределяют на четыре части и, откладывая расстояния, закрепляют вершины Г5, В5, Б5. Аналогично разбиваются внутренние вершины.
При разбивке квадратов одновременно измеряются расстояния до характерных точек ситуации (до границы луча, пашни, тропинки, дороги). Площадка нивелируется с одной или нескольких стоянок инструмента. При значительном перепаде высот, стоянок должно быть не меньше трех (рис. 12).
Р>п>
Рис. 12
Стоянка 1: Стоянка 2: Стоянка 3:
Д4: 1135(ч); 1135(к) Г3: 1200(ч); 1199(к) Г2: 1517(ч); 1517(к)
Д3: 1316(ч); 1316(к) В3: 1364(ч); 1364(к) В2: 1595(ч); 1596(к)
Г3: 1494(ч); 1495(к) В4: 1435(ч); 1434(к) Г1: 1601(ч); 1601(к)
Г4: 1544(ч); 1545(к) Б3: 1524(ч); 1523(к) В1: 1543(ч); 1543(к)
Д5: 1122(ч); 1123(к) Б4: 1541(ч); 1541(к) Б1: 1656(ч); 1656(к)
Г5: 1550(ч); 1550(к) А5: 1847(ч); 1848(к) А1: 2075(ч); 2075(к)
Д2: 1270(ч); 1269(к) А2: 1704(ч); 1704(к) Б2: 1793(ч); 1793(к)
На Рп: 1135(ч); 1135(к) А3: 1813(ч); 1812(к)
А4: 1848(ч); 1847(к) из Рп:
Б5: 1466(ч); 1467(к) в ст 1: 1893(ч); 1892(к)
Б2: 1534(ч); 1534(к) в ст 2: 1783(ч); 1782(к)
Между соседними стоянками должна быть связующая точка – точка, нивелируемая дважды с двух стоянок. В каждой вершине снимают черный и красный отсчеты и записывают на схеме квадратов у соответствующей точки. Затем определяют высоты связующих точек. Для этого рассматривается замкнутый нивелирный ход (рис. 13).
Б2(1534)
h>1>
h>2>
h>3>
Г4(1544.5)
Р>п >(1135)
Рис. 13
На каждой стороне хода определяется среднее между красным и черным превышение и вычисляется высотная невязка f>h>,, мм:
hч>1>=1135-1544=-409 h>1>=-0.4095 (+2.5)
hк>1>=1135-1545=-410 h>1>испр=-0,408
hч>2>=1200-1534=-334 h>2>=-0.3345 (+1.5)
hк>2>=1199-1534=-335 h>2>испр=-0,333
hч>3>=1793-1056=737 h>3>=0.7370 (+4)
hк>3>=1793-1056=737 h>3>испр=0,741
f>h> = ∑ср,
которая сравнивается с допустимой высотной невязкой f>h>>доп.>, мм,
f>h>>доп
>
= ± 10
,
где n – число сторон хода.
f>h>=∑h>ср>=-0,4095-0,3345+0,737=-0,007=7
f>h>>доп>=±10
=±10*1,7=17(мм)
f>h> = ∑ср,
которая сравнивается с допустимой высотной невязкой f>h>>доп.>, мм,
f>h>>доп
>
= ± 10
,
где n – число сторон хода.
Если
выполняется условие f>h>>
>f>h>>доп.>,
то невязку f>h>>
>распределяют>
>на
все средние превышения с обратным знаком
в виде поправки д, с учетом которой
находят уравненные превышения. Величину
поправки назначают пропорционально
абсолютному значению превышения:
h>1>испр = h>1>ср + д>1>=-0,408;
h>2>испр = h>1>ср + д>2>=-0,333;
h>3>испр = h>1>ср + д>3>=0,741
.
Через полученные исправленные превышения определяют абсолютные высоты всех вершин хода:
Н>ги >=> >Н>рп >+ h>1>испр =160,31-0,408=159,902,
Н>Б2 >=> >Н>Г4 >+ h>2>испр =159,902-0,333=159,569,
Н>Рп >=> >Н>Б2 >+ h>3>испр159,569+0,741=160,31 .
Зная высоты трех точек, можно определить горизонты инструментов на всех стоянках. Горизонты считают по черной и красной сторонам реек:
Н ч>ГИ >>I>> >=> >Н>рп >+ ач=160,31+1,135=161,445, где ач=1135,
Н к>ГИ >>I>> >=> >Н>рп >+ ак=160,31+1,135=161,445, где ач=1135,
где ач, ак - отсчеты по рейке, установленной в точке, являющейся репером, снятые с первой стоянки инструмента.
Аналогично определяют горизонт инструмента на второй и третьей стоянке. Высоты всех остальных точек находят через горизонт инструмента.
Так,
> >=>
>
–
d
ч=161,445-1,316=160,129
;
>
>=
–
d
к=161,445-1,316=160,129,
Н ч>ГИ >>II>=161.102
Н к>ГИ >>II>=161.101
Н ч>ГИ >>III>=160.958
Н к>ГИ >>III>=160.958
1стоянка: 2 стоянка: 3 стоянка:
H>д4>=160,310 H>г4>=159,902 H>г2>=159,441
H>д3>=160,129 H>в3>=159,738 H>в2>=159,363
H>г3>=159,951 H>в4>=159,667 H>г1>=159,357
H>г4>=159,901 H>б3>159,578 H>в1>=159,415
H>д5>=160,323 H>б4>=159,561 H>б1>=159,302
H>г5>=159,895 H>а5>=159,255 H>а1>=158,883
H>д2>=160,175 H>б2>=159,568 H>б2>=159,902
> >H>а3>=159,290
H>а4>159,254
Hб5=159,636
где d r, d к – отсчеты по рейке, установленной в точке Д3.
За окончательное значение высоты принимается среднее значение в том случае, если разница между полученными значениями не превышает ± 5 мм.
Вершины, входящие Вершины, входящие Вершины, входящие
в 4 квадрата: в 2 квадрата: в 1 квадрат:
H>г2> H>д2 >H>д1>
H>г3> H>д3 >H>а1>
H>г4> H>д4 >H>д5>
H>в2> H>г5 >H>а5>
H>в3> H>в5>
H>в4> H>б5>
H>б2> H>а2>
H>б3> H>а3>
H>б4> H>а4>
H>б1>
H>в1>
H>г1>
∑H>4>=1437,08 ∑H>2>=1278,06 ∑H>1>=638,76
H=4∑H>4>+3∑H>3>+2∑H>2>+∑H>1>/4n=159.66
После определения абсолютных высот всех вершин строится топографический план в масштабе 1:500.
На плане прорисовывается система квадратов, строится ситуация по результатам линейных измерений с использованием условных знаков, у каждой вершины проставляются абсолютные высоты и строятся горизонтали методом графического интерполирования.
После окончания полевых работ все используемые деревянные колышки собираются.
Поверки нивелира Н3
После осмотра нивелира, при котором определяем качество видимых в зрительную трубу изображений, плавность ее вращения на основной оси и работу подъемных и элевационного винтов, производим поверки нивелира в следующем порядке:
1. Ось круглого уровня должна быть параллельна оси вращения.
Пользуясь подъемными винтами, совмещаем пузырек круглого уровня с центром ампулы и поворачиваем верхнюю часть нивелира на 180°. Пузырек поверяемого уровня остается в центре ампулы. Условие выполнено.
2. Одна из нитей сетки должна быть перпендикулярна к оси вращения нивелира.
Приведя ось вращения нивелира в отвесное положение, наводим горизонтальную нить сетки на точку (на рейке). И, действуя наводящим винтом, перемещаем зрительную трубу в обе стороны. При этом нить сетки не сходит с точки. Условие выполнено.
3. Ось цилиндрического уровня и визирная ось зрительной трубы должны лежать в отвесных параллельных плоскостях, когда основная ось нивелира вертикальна.
Для поверки этого условия, выполнение которого должно гарантироваться заводом, приводим основную ось нивелира в отвесное положение по круглому уровню и ставим трубу в направлении одного из подъемных винтов.
Пользуясь элевационным винтом, совмещаем изображения концов пузырька цилиндрического уровня и производим отсчет по рейке, установленной в 50 м от инструмента. Затем вращением двух других подъемных винтов в разные стороны на 2 оборота наклоняем нивелир в одну сторону (при этом отсчет по рейке не изменяется) и следим за положением изображений цилиндрического уровня. После чего теми же подъемными винтами приводим нивелир в исходное положение, при этом отсчет по рейке также не изменился. То же делаем, наклоняя нивелир в другую сторону. При таких наклонах концы пузырька цилиндрического уровня смещаются в одну сторону. Условие выполнено.
4. Ось цилиндрического уровня должна быть параллельна визирной оси трубы.
При этой поверке производим двойное нивелирование одной и той же линии АВ. Для этого устанавливаем нивелир окулярным концом над точкой А и приводим его в рабочее положение. В точке В, примерно в 75 м от точки А, ставим рейку (рис. 3). Совместив концы изображений пузырька цилиндрического уровня, производим по средней нити отсчет а>1> по рейке и измеряем высоту инструмента i>1>.

Рис.3
Д
а)
алее, переставив нивелир в точку В, рейку – в точку А, а затем снова совместив концы изображений пузырька, производим по средней нити отсчета>2> по рейке и измеряем высоту инструмента i>2>.
Если визирная ось составляет с осью цилиндрического уровня некоторый угол, то оба отсчета по рейке (а>1> и а>2>) будут преувеличены на отрезок х (или преуменьшены). Из равенства противолежащих сторон прямоугольников получим:
i>1> = h + a>1> - x;
a>2> - x = h + i>2>.
Решая эту систему уравнений, находим:
X= (a>1>+a>2>)/2-(i>1>+i>2>)/2 .
Наши измерения:
i
=1520
мм
i
=1570
мм
a
=1496
a
=1598
X= (1496+1598)/2-(1520+1570)/2=1547-1545=2 (мм)
Если значение x не превышает 4 мм для расстояния в 75 м от нивелира до рейки, то поверяемое условие считают выполненным. Условие выполнено.
Производство угловых измерений
1. Измерение горизонтального угла способом приемов. На поверхности земли деревянными колышками закрепляем три точки, определяющие положение угла.
Теодолит устанавливаем над вершиной и приводим в рабочее положение, т.е. выполняем горизонтирование и центрирование инструмента. При закрепленном лимбе зрительная труба теодолита визируется за счет вращения алидады на обе стороны измеряемого угла и снимаем отсчеты по горизонтальному кругу. Визирование производим на нижнюю просматриваемую точку оси вехи, установленной над закрепленным пунктом. Угол определяем как разницу снятых отсчетов. При этом отсчет, снятый на расположенную правее точку, больше отсчета, снятого на точку расположенную левее, так как лимб горизонтального круга оцифрован по ходу часовой стрелки. Действия повторяем при другом положении вертикального круга теодолита. За окончательное значение угла принимаем среднее, так как разница между углами, полученными при круге право и круге лево, не превышает двойной точности теодолита, т.е. 1’.
Все полученные значения заносим в специальную таблицу – журнал угловых измерений.
2. Измерение горизонтального угла способом «от нуля». Измеряется тот же угол. При закрепленном лимбе горизонтального круга, за счет вращения алидады в отсчетном микроскопе, устанавливается отсчет 0є00ґ. Алидада закрепляется, освобождается лимб и производится визирование на левую сторону измеряемого угла. Закрепляется лимб горизонтального круга, алидада освобождается и производится визирование на правую сторону измеряемого угла. Снимается отсчет, равный величине угла. Действия повторяют при другом положении вертикального круга теодолита. За окончательное значение угла принимается среднее в том случае, если разница между полученными значениями не превышает двойной точности теодолита.
Все полученные результаты заносим в специальную таблицу – журнал угловых измерений.
3. Измерение вертикального угла. На поверхности земли выбираем наклонный участок и закрепляем точку начала ската и точку его конца. Над точкой начала ската устанавливаем теодолит и приводим в рабочее положение. Нивелирной рейкой измеряем высоту инструмента – расстояние от поверхности земли до центра окуляра при горизонтальном положении зрительной трубы. Над точкой конца ската устанавливаем рейку, на которой делаем метку на высоте инструмента. Зрительную трубу визируем на метку рейки и снимаем отсчет при положении вертикального круга слева и справа. Значение угла вычисляем по формулам:
V>1> = КЛ – МО;
V>2> = МО – КП;
V
>3
>
=

Все полученные результаты заносим в специальную таблицу – журнал измерения вертикальных углов.
4. Нивелирование «из середины». На поверхности земли деревянными колышками закрепляем две точки (А и В) на расстоянии примерно 20 м друг от друга. Точку А принимаем за репер высотой 120,10 м. Нивелир устанавливаем примерно на середине между закрепленными точками и приводим в рабочее положение. Над точками А и В устанавливаем рейки, на которые визируем зрительную трубу нивелира, выводим пузырек цилиндрического уровня в нуль-пункт и снимаем отсчеты – задний и передний. Затем определяем превышение как разницу заднего и переднего отсчетов:
h = a-b ,
где а и в – отсчеты по рейкам (рис. 4).
Н>ги>
Н>рп>
Н>В>
Р>п>
Д
а
Рис. 4
Задней является точка с известной высотой. Отсчеты снимаем по красной и черной сторонам рейки. Превышение вычисляем дважды, разница между красным и черным превышением не больше ± 5 мм. Вычисляем среднее превышение, через которое определяем абсолютную высоту точки В:
H>B>> >= H>p>>п >+ hcp.
На этой стоянке вычисляем также горизонт инструмента H>ги >= Н>p>>п >+ a и определяем высоту промежуточной точки Д:
Н>Д> = Н>ги > - d ,
где d – отсчет по рейке, установленной над точкой Д.
Все полученные результаты заносим в таблицу – журнал технического нивелирования.
5. Нивелирование «вперед». Выполняем между теми же точками А и В (рис. 5). Высота точки А, являющейся репером, равна 120,10 мм, над ней устанавливаем нивелир и приводим в рабочее положение. Измеряем высоту инструмента i – расстояние от поверхности земли до центра окуляра. Зрительную трубу нивелира визируем на рейку, установленную над точкой В, и снимаем отсчет. Превышение определяем как разницу h = i – b.
А
Н>ГИ>
Рис. 5
H
=120,10
м
i=1,54 м
b=2350
h = i – b=1,54-2,35=-0,81 (м)
Н
=
H
+
h=120,10-0,81
=119,29 (м)
Н
=
H
+
i=120,10+1,54
=121,64 (м)
6. Определение расстояния по нитяному дальномеру нивелира. Расстояние измеряем между теми же точками А и В. Нивелир, установленный над точкой А, визируем на рейку В и снимаем два отсчета по дальномерным штрихам (рис. 6). Затем вычисляем расстояние
Д = К n,
где К – коэффициент нитяного дальномера, равный 100; n – разница отсчетов, снятых по дальномерным штрихам сетки нитей инструмента.

Рис. 6
Наши расчёты:
В=2377
Н=2238 Д=100*(2377-2238)=13900(мм)=13,9(м)
Поверки теодолита
Чтобы обеспечить ожидаемую точность измерения углов, теодолит должен удовлетворять ряду физических, механических и геометрических условий. Наибольшее значение при измерении углов имеет соблюдение геометрических условий, потому что они быстрее всего подвержены изменениям в процессе работы и при транспортировке прибора. В связи с этим требуется систематически выполнять поверки теодолита.
Каждая поверка состоит из двух частей:
1) выявления нарушения или соблюдения данного геометрического условия;
2) исправления положения соответствующей части прибора для устранения нарушения поверяемого условия.
1. Ось цилиндрического уровня U - U>1 > должна быть перпендикулярна к вертикальной оси прибор I – I>1>. Поворотом верхней части теодолита устанавливаем ось уровня в направлении двух любых подъемных винтов подставки и, вращая их в противоположные стороны, приводим пузырек уровня в нуль-пункт. Затем поворачиваем верхнюю часть прибора на 90°, ориентируя ось уровня по направлению третьего подъемного винта, и вращением этого винта вновь приводим пузырек цилиндрического уровня в нуль-пункт. После этого поворачиваем верхнюю часть теодолита на 180°. Условие поверки выполняется, если пузырек уровня смещается от нуль-пункта не более чем на 1 деление ампулы. Выполнив последовательно все пункты, мы привели пузырек уровня в нуль-пункт. Затем поверку повторили. Отклонение пузырька оказалось допустимым.
2. Визирная ось зрительной трубы V-V>1> должна быть перпендикулярна к оси вращения трубы H - H>1> (рис. 2). Методика поверки зависит от особенностей отсчетной системы прибора. Теодолит с односторонним отсчетным устройством (мы используем теодолит ТЗО) устанавливаем по цилиндрическому уровню. Зрительную трубу переводим в положение КП (вертикальный круг справа от окуляра) и визируем на удаленную, четко видимую точку (угол дверного проёма), расположенную приблизительно в горизонтальном направлении. Наведя вертикальную нить на изображение точки, берем отсчет П>1> по горизонтальному кругу. Отпустив закрепительный винт, переводим трубу через зенит. Освободив алидаду, наводим трубу на ту же точку и при втором положении вертикального круга КЛ (круг слева) берем отсчет Л>1> по горизонтальному кругу. Отпустив закрепительный винт подставки теодолита, поворачиваем его верхнюю часть вместе с лимбом на 180°. После этого повторяем указанные наведения и берем новые отсчеты П>2> и Л>2>. Вычисляем угловую величину с неперпендикулярности осей. Угол с называют коллимационной погрешностью

Допустимое значение с равно 2' для теодолита ТЗО.

Рис. 2
Наши отсчёты:
П
=46°22’
Л
=46°34’
П
=226°23’
Л
=226°23’
=
-0,05
0°03’
3. Место нуля вертикального круга должно быть постоянным и равным или близким к нулю. В теодолите ТЗО сначала приводим в нуль-пункт пузырек цилиндрического уровня. Затем визируем зрительной трубой на удаленную четко видимую точку (угол дверного проёма), совмещаем с ее изображением среднюю горизонтальную нить сетки. Берем отсчет по вертикальному кругу. После этого переводим зрительную трубу через зенит, проверяем положение пузырька цилиндрического уровня, визируем на ту же точку и берем второй отсчет по вертикальному кругу. Место нуля вычисляем по формуле
МО =(П + Л )/2,
где П и Л - отсчеты по вертикальному кругу в положениях теодолита КП и КЛ соответственно.
Наши отсчёты:
Л=4°24,5’
П=-4°25’
МО=(-4°25’+4°24,5’)/2=-0°00’25”
4.
Ось вращения зрительной трубы H-H>1>
должна быть перпендикулярна к вертикальной
оси I-I>1
>
вращения теодолита. Для поверки теодолит
устанавливаем на расстоянии 10 м от стены
здания, приводим его в рабочее положение
по уровню и визируем зрительной трубой
на верхнюю часть стены под углом
40°,
наводим вертикальную нить на хорошо
видимую точку (угол дверного проёма).
Затем трубу переводим в горизонтальное
положение, и по сигналам наблюдателя
помощник отмечает на стене точку,
совпадающую с вертикальной нитью сетки.
После этого переводим трубу через зенит
и при втором положении вертикального
круга визируем на верхнюю точку. Снова
переводим зрительную трубу в горизонтальное
положение. Изображение отмеченной точки
совпало с вертикальной нитью.
5. Ось оптического визира должна быть параллельна визирной оси зрительной трубы V-> >V>1> . Для поверки зрительную трубу визируем на угол дверного проёма, находящийся примерно через 100 м от теодолита. Затем наблюдаем тот же предмет через перекрестие визира. Существенных отклонений от нормы обнаружено не было.
6. Один из штрихов сетки нитей должен быть перпендикулярен к горизонтальной оси теодолита H–H>1 >, а другой ей параллелен. Для поверки после приведения вертикальной оси теодолита в отвесное положение наводим зрительную трубу на отчетливо видимую удаленную точку так, чтобы ее изображение получилось у края поля зрения трубы на горизонтальном штрихе сетки нитей. За исходную точку мы приняли вывеску на двери. Затем плавным движением наводящего винта алидады горизонтального круга поворачиваем теодолит вокруг вертикальной оси и наблюдаем за положением штриха сетки относительно наблюдаемой точки. Изображение точки не сходит со штриха. Условие выполнено.
ПРОДОЛЬНОЕ НИВЕЛИРОВАНИЕ
Производим нивелирование вдоль оси линейного сооружения (длина хода 500 м). Точка начала и направление движения задаются руководителем практики. Трасса должна иметь угол поворота и поперечник, который разбиваем на участки, имеющие перепад высот слева и справа от разбиваемой оси.
Нулевой пикет трассы привязываем к существующему реперу, высоту которого задает преподаватель. Затем над ним устанавливаем теодолит, приводим в рабочее положение и задается створ с помощью вехи. Затем измеряем вертикальный угол полученного направления и вычисляем поправку за наклон линии к горизонту, определяем расстояние, соответствующее горизонтальному проложению 100 м, D = 100 + ДDн. Далее два мерщика и наблюдатель у инструмента откладывают в заданном створе полученное расстояние и закрепляют пикеты. Полотно мерной ленты при этом должно совпадать с вертикальным штрихом сетки нитей теодолита. На каждом пикете одновременно закрепляем по две плюсовых точки, это характерные точки ситуации и рельефа (самые высокие и самые низкие места, пересечения с существующими дорогами, тропинками и т.д.). При этом колышек высотой примерно 10 см забиваем вровень с землей и рядом устанавливаем сторожок высотой примерно 20 см, на боковой грани которого подписываем обозначение точки. Измерения выполняем до точки, являющейся вершиной угла и определяют ее пикетажное выражение.
Затем теодолит переносим в эту точку (ВУ) и измеряем угол поворота трассы ц, задав дальнейшее направление хода и закрепив ВУ его вехой (рис.7).
У
ц
Рис. 7
По величине угла ц и радиусу кривой R = 100 м определяем параметры круговой кривой:
тангенс T = R tg ц / 2;
кривую К =
=
;биссектрису Б = R (Sec
–
1);домер Д = 2Т – К.
ВУ
Рис. 8
Используя полученные значения, определяем положения главных точек круговой кривой (НК; СК; КК) и вычисляем их пикетажное значение. Только после этого производится дальнейшая разбивка трассы.
ВУ
Рис. 9
На каждом пикете должно быть не менее двух плюсовых точек, на одной из них разбиваем поперечник. При этом теодолит устанавливаем над точкой, в которой он разбивается, от направления трассы откладываем угол, равный 90°, и измеряем вертикальные углы двух направлений (слева и справа от оси трассы). Вычисляем поправку за наклон линии к горизонту и закрепляем по две точки слева и справа от оси трассы, затем определяем горизонтальное положение до них.
После закрепления пикетов, плюсовых точек, точек поперечника и главных точек круговой кривой составляем пикетажный журнал и производим нивелирование, все результаты которого заносим в журнал технического нивелирования (см. прил. 2).
В пикетажном журнале ось трассы изображаем в виде прямой линии, направление поворота показываем стрелкой. Все расстояния откладываем в масштабе 1: 2000, обозначаем ситуацию и на полях выполняем расчет и контроль главных точек горизонтальной круговой кривой.
Нивелирование производим дважды (в прямом и обратном направлениях) методом «из середины». В прямом ходе инструмент устанавливаем на каждом пикете примерно на середине. На предыдущий пикет снимаем задние отсчеты (черный и красный), на последующий – передние (черный и красный). Плюсовые точки поперечника и кривой нивелируем как промежуточные только по черной стороне рейки. Отсчеты записываем в соответствующие графы журнала технического нивелирования, соблюдая строки. В обратном ходе нивелируем только связующие точки (некоторые пикеты или плюсовые) методом «из середины». После окончания нивелирования трассы производим детальную разбивку горизонтальной круговой кривой способом прямоугольных координат. За ось Х принимаем направление тангенса, а за ось Y – перпендикулярное к нему направление (рис.9). Разбивка производится в двух направлениях: от начала кривой к вершине угла и от конца кривой к вершине угла. На кривой закрепляем точки через каждые 5 м (10 м) кривой. Координаты Х и Y каждой точки вычисляем по формулам:
Х = R sin б;
Y = 2R sin2 б/2;
Б
=
=
с,
где с – угол, равный 1 рад; К – длина криволинейного участка.
x>1>
у>1>
Рис. 10
Аналогично производим вынос пикета на кривую. Длину кривой в этом случае определяем следующим образом:
К = 100 – l,
где l – расстояние от предыдущего пикета до начала кривой.
После окончания полевых работ все используемые деревянные колышки собираем!
При выполнении расчетов определяем высотную невязку f>h> , мм:
f >h> = ∑h>пр> - ∑h>обр>
и сравниваем с допустимой f>h>> доп>, мм:
f>h>> доп>
= ± 50
,
где L – длина хода, км.
Если
выполняется условие f>h>>
>f>h>> доп>,
то полученная невязка f>h>>
>
распределяется с обратным знаком на
все средние превышения прямого хода,
пропорционально их величине, в виде
поправки, которую подписываем над каждым
средним превышением. С учетом поправки
вычисляем исправленные (уравненные)
превышения, через которые определяем
высоты всех передних точек. Абсолютные
отметки промежуточных точек находим
через горизонт инструмента.
После выполнения всех вычислений на миллиметровой бумаге строим продольный и поперечный профили трассы.
Продольный профиль строим в масштабах: горизонтальный – 1 : 1000; вертикальный – 1: 1000.
Поперечный профиль строим в одинаковых масштабах (1: 1000 или 1 : 200).
РЕШЕНИЕ ОСНОВНЫХ СТРОИТЕЛЬНЫХ ЗАДАЧ
1.Построение заданного горизонтального угла
От заданного преподавателем направления АВ требуется построить угол 27є44,5ґ.
Действия выполняют при двух положениях вертикального круга теодолита, вынесенные углы закрепляют деревянными колышками С>1> и С>2> (рис. 14). Затем расстояние между ними делится пополам, закрепляется положение точки С, которая и определит окончательное положение угла ВАС.

Рис. 14
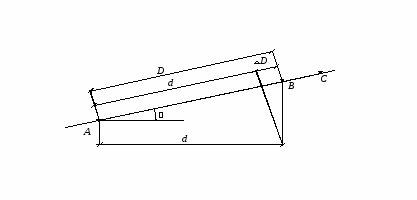
2.Построение линии заданного горизонтального проложения
Вдоль заданного направления АС, расположенного на поднимающемся скате (н > 3є), требуется построить линию, горизонтальное проложение которой d>АВ >= 34,75 м (рис. 15). Над точкой А устанавливается теодолит и приводится в рабочее положение, измеряется вертикальный угол наклона ската н и задается створ линии АС. В этом створе укладывают мерную ленту и закрепляют колышком расстояние, равное 34,75 м. Затем вычисляют поправку
ДD = ±ДD>К> ± ДD>Т> + ДD>У>
и в том же створе откладывают еще величину ДD. Полученная точка и будет искомой точкой В, которая определяет положение линии АВ, горизонтальное проложение которой составляет 34,75 м.

Рис. 15
b=1.36м (высота инструмента)
d=34.75м
±ДD>К>=0
± ДD>Т>=0
н =4є10.5’
ДD =2dsin2 н/2=2*34.75*sin22є5.25’=0.17м
D=d= ДD=34.75+0.17
3.Построение точки заданной высоты
Задача решается на ровном участке местности. Преподаватель задает положение репера, его высота равна 120,50 м. На расстоянии 10 м от репера требуется построить точку В, высота которой равна 120,77 м (рис. 16). В точке В, где должна быть построена высота, забивается деревянный колышек, верхняя часть которого устанавливается заведомо выше предполагаемого положения точки В.
Н>ги>
Р>п>
Рис. 16
a=1725
b=1470
Нивелированием «из середины» снимают отсчет а, вычисляют горизонт инструмента и отсчет по рейке b:
Н>ги> = Н>рп> + а=120.50+1.725=122.22 ;
b = Н>ги> – Н>в>=122.22-120.77=1.47.
Затем рейку ставят на колышек и снимают отсчет bґ. Он должен быть меньше вычисленного значения. Колышки забивают слабыми ударами до тех пор, пока отсчет bґ не будет равен вычисленному значению b.
4.Построение линии заданного уклона
Задача также решается на ровном участке местности. Направление построения задается преподавателем, он же определяет положение репера, высота которого равна 121,15 м. Требуется построить линию с уклоном i = 0,015 (15 ‰).

Рис. 17
a=1380
Направление створа задается теодолитом, с его помощью устанавливают колышки в точках 1, 2, 3, 4, 5, расстояние между которыми равно 7,0 м. Дальнейшее решение задачи сводится к построению ряда точек заданной высоты. Абсолютные высоты определяются через уклон:
Н>1> = Н>рп >+ id>1 >=121.15+0.015*7=121.25;
Н>2> = Н>рп >+ id>2 >=121.15+0.015*14=121.36;
Н>3> = Н>рп >+ id>3 >=121.15+0.015*21=121.46;
Н>4> = Н>рп >+ id>4 >=121.15+0.015*28=121.57;
Н>5> = Н>рп >+ id>5 >=121.15+0.015*35=121.67.
Горизонт инструмента определяется по формуле Н>ги> = Н>рп >+ а=121.15+2.38=123.53. Тогда отсчеты по рейкам будут равны:
в>1 >= Н>ги> – Н>1 >=2.27;
в>2 >= Н>ги> – Н>2 >=2.17;
в>3 >= Н>ги> – Н>3 >=2.06;
в>4 >= Н>ги> – Н>4 >=1.96;
в>5 >= Н>ги> – Н>5>=1.85.
Расчёты высот сошлись с эксперементальными.
ТАХЕОМЕТРИЧЕСКАЯ СЪЕМКА УЧАСТКА МЕСТНОСТИ
При выполнении измерений все результаты заносим в журнал тахеометрической съемки (см. прил. 1).
Работы выполняем> >на участке, имеющем перепад высот. Основой для съемочных работ являются точки I и II, закрепленные на участке на расстоянии 50 м друг от друга.
Теодолит-тахеометр устанавливаем над точкой I, приводим в рабочее положение и измеряем высоту инструмента i>1>. к корпусу теодолита прикручивают буссоль и измерям магнитный азимут линии I – II, через который вычисляем дирекционный угол направления:
б = А>м> + д – г,
где д – склонение магнитной стрелки, принимается д = 2˚15˚; г – сближение меридианов, принимается г = 6˚20ґ.
Затем на направление точки II устанавливаем отсчеты по горизонтальному кругу 0˚00ґ и, поворачивая зрительную трубу по часовой стрелке, снимаем плановое и высотное положение десяти характерных точек ситуации и рельефа. На каждую точку измеряем расстояние по нитяному дальномеру Д, снимаем отсчет по горизонтальному кругу и высоту визирования по рейке В.
Затем инструмент переносим в точку II и тоже измеряем его высоту i>2.>. На точке I устанавливаем нулевой отсчет по горизонтальному кругу и тоже визируем по ходу часовой стрелки на десять реечных точек (характерных точек ситуации и рельефа). Для каждой из них измеряем расстояние по нитяному дальномеру, снимаем отсчеты по горизонтальному и вертикальному кругам, определяем высоту визирования по рейке.
В журнале тахеометрической съемки выполняем все вычисления высот реечных точек.
Графические построения выполняем на листе чертежной бумаги формата А3.
Масштаб построения топографического плана 1:1000.
Ситуацию прорисовываем с использованием условных знаков, установленных нормами [ ]. На плане показываем пункты геодезической основы, все характерные точки с обозначением высот, ситуация и рельеф в виде горизонталей. Горизонтали строятся методом графического интерполирования с высотой сечения рельефа, равной 0,5 м (0,25 м).
=КЛ-МО