Розробка Штормового родовища
1
Зміст
Вступ
1. Геолого-промислова характеристика родовища
1.1 Історія розвідки і геологічного вивчення родовища
1.2 Тектоніка структури
1.3 нафтогазоводоносність родовища
1.4 Фільтраційні властивості порід-колекторів
1.5 клад і фізико – хімічні властивості пластових флюїдів
2. Аналіз експлуатації свердловин на родовищі
2.1 Характеристика глибинного та поверхневого обладнання
3. Проектування методу освоєння свердловини
3.1 Характеристика та аналіз методів дії на привибійну зону пласта
3.2 Проектування проведення ГРП
3.3 Методика розрахунку основних параметрів процесу
4.Забезпечення життєдіяльності і охорона навколишнього середовища
4.1 Основні проблеми забезпечення життєдіяльності і їх комплексна оцінка на даному родовищі
4.2 Екологічна оцінка основних забруднювачів моря і розробка заходів з їх профілактики
5. Техніко-економічне обґрунтування
5.1 Техніко-економічна ефективність освоєння родовища
Висновки
Перелік літературих джерел
Вступ
Газоконденсатне Штормове родовище розташоване в північно-західній частині шельфу Чорного моря. Відстань до мису Тарханкут, де виходить на берег газопровід Голіцинського родовища, складає 70 км, до морського Голіцинського родовища, що знаходиться в стадії розробки, - 50 км.
Основними великими промисловими центрами, які знаходяться у відносній близькості від родовища, є Херсон, Миколаїв, Одеса. Селище Чорноморське, де розміщена промбаза і порт виробничого об`єднання “Чорноморнафтогаз”, знаходиться на відстані 90 км.
Штормове газоконденсатне родовище знаходиться в помірно-континентальній зоні, яка характеризується м`якою вологою зимою і теплим літом. Середня температура січня 2.6-3°С, літом температура підвищується до 32°С. В січні-лютому температура повітря на протязі декількох діб може знижуватись до мінус 5-10°С. Середньорічна вологість складає приблизно 60 - 70 %.
За кліматичними особливостями північно-західна частина Чорного моря відноситься до помірно-континентальної зони. Кількість річних опадів складає 300 мм. Льодових покриттів в районі родовища, як правило, немає, але в дуже суворі зими можливі утворення льодових полів. Переважаючий напрямок вітрів зимою північний і північно-східний з середніми швидкостями 3-8 м/с. Влітку вітри за напрямком є непостійними, їх середні швидкості складають 2-5 м/с. Шторми спостерігаються переважно зимою (3-8 днів на місяць). Висота хвилі під час шторму 5-8 м.
Глибина акваторії на Штормовому родовищі становить 50-54 м. Разрахункова висота хвилі з 1% забезпеченності ( 1 раз в 100 років ) становить 12,5 м, при цьому довжина хвилі складає порядка 150 м. Густина морської води в середньому дорівнює 1026 кг/м3. Морські течії в районі родовища мають південне спрямування зі швидкістю 0.3-0.5 вузла. Соленість морської води в акваторії Штормового родовища 3-5 ‰ .
Штормове родовище відноситься до морського продовження південного борта Північно-Кримського крейдо-палеогенового прогину. Родовище являє собою за відкладами палеоцену і дату антиклінальну складку субширотного простягання. Продуктивними на родовищі є відклади нижнього палеоцену і дата, де при поінтервальному випробуванні в двох пробурених розвідувальних свердловинах №1 і №3 дебіти газоконденсатної суміші становили до 190 тис.м3/добу, в свердловині №2 отримані слабі припливи пластової води.
Абсолютна відмітка газо-водяного контакту (ГВК) прийнята на глибині мінус 1868 м. Розміри газового покладу складають 10.5 х 2.5 км, висота - 105 м. Поклад газу по всій площі підстилається підошвеною водою. При достатній вивченності на Штормовому родовищі запаси газу і конденсату пораховані у відкладах нижнього палеоцену. Ці запаси категорій С>1>+С>2> затверджені в об`ємі : газу - 11227 млн.м3; конденсату - 427.5 тис.т.
Будова покладу визначається структурно-тектонічними особливостями залягання продуктивного горизонту, будовою його проникної частини. На час складання проекту дослідно-промислової експлуатації (ДПЕ) отримані достатньо суперечливі результати випробовування продуктивного горизонту. Тому прийнята для підрахунку запасів геологічна модель покладу є в значній мірі умовною. Абсолютна відмітка ГВК прийнята мінус 1868 м. При такій відмітці розміри покладу в плані складають 10.5 х 2.5 км, висота - 105 м.
В тілі покладу запаси газу розміщені в 45-48 проникних інтервалах розрізу продуктивного горизонту, які не корелюються по площині і,можливо, зв`язані між собою по розрізу внаслідок розвитку тріщинуватості.Поклад газу по всій площині підстилається підошвеною водою.
1. Геолого-промислова характеристика родовища
1.1 Історія розвідки і геологічного вивчення родовища
Початок вивчення геологічної будови північно-західної частини акваторії Чорного моря відноситься до 1957р. з проведенням рекогносцірувальних гравіметричних і сейсмічних робіт. На основі цих робіт вперше отримані дані про будову осадового чохла і орієнтовні дані про рельєф фундаменту.
За період 1964-1970рр. вивчено структурний план неогенових і палеогенових відкладів значної частини акваторії моря і виявлений ряд локальних підняттів.
Підняття Штормового родовища виявлено детальними сейсморозвідувальними роботами. Пошуково-розвідувальне буріння на родовищі почате в травні 1981р. До нашого часу на родовищі пробурені свердловини №1, №2, №3 з фактичними вибоями 2052 м, 2340 м, 1975 м.
За результатами буріння і випробовувань цих свердловин виявлено наявність газоконденсатного покладу у відкладах палеоцену і датського яруса. Опис геологічного розрізу родовища дається за матеріалами буріння свердловин №1, №2, №3, які розкрили товщу осадових порід до маастрихтського яруса включно.
Крейдова система ( К ).
Верхня крейда ( К>2 >).
Маастрихтський ярус ( К>2 >m ). Відклади яруса на повну товщину розкриті свердловиною №1. Літологічні відклади представлені вапняками, глинистими вапняками, мергелями з уламками фауни. Карбонатність порід 33-35%. Товщина яруса 227 м.
Датський ярус ( К>2 >d ). Складений глинистими вапняками і мергелями масивної текстури. Породи тріщинуваті, є сутурні шви. Товщина яруса 144 м.
Палеогенова система ( Р ).
Утворення палеогену містять всі відділи: палеоцен, еоцен і олігоцен.
Палеоценовий відділ ( Р>1>1 ).
Інкерманський ярус ( Р>1>1 і ). Складений вапняками з підлеглими прошарками мергелів і вапнякових глин. Товщина яруса 70 м.
Качинський ярус ( Р>1>2 к ). Представлений мергелями сірими, щільними з незначними домішками мікрофауни. Товщина - 104 м.
Еоценовий відділ ( Р>2>1 ).
Бахчисарайський ярус ( P>2>1 b ). Складений глинами темно-сірими, ущільненими, алевролітистими. Товщина яруса 76 м.
Сімферопольський ярус ( Р>2>2 Sm ). Складений мергелями зеленувато-сірими, тріщинуватими з прошарками вапняків світло-сірих, глинистих з фауною.
Бодракський ярус ( Р>2>3 Bd ). Розріз яруса представлений мергелями з фауною. У верхній частині яруса вони переходять в глини зеленувато-сірі, є нерівномірно алевритисті, вапнякові прошарки. Товщина яруса 77 м. Альмінський ярус ( Р>2>3 al ). Представлений глинами і мергелями. Глини сірі з зеленуватим відтінком, алевритисті, вапрнякові.
Олігоценовий відділ ( Р>3> ) і нижньопалеоценовий ( N>1>1 ).
Майкопська серія ( Р>2 >mk+N>1>1 ).Відклади майкопської серії залягають з розмивом на підстилаючих відкладах верхнього еоцену. Представлені переважно глинистими утвореннями. Товщина яруса 533 м ( серії ).
Неогенова система ( N ).
На Штормовому родовищі неогенові відклади представлені міоценовими і пліоценовими відділами.
Міоценовий відділ ( N>1> ). Тортонський ярус ( N>1>2 t ).Залягає з розмивом на верхньомайкопських глинах. Складений переважно вапняками-черепашниками, сильно пористими, проникними з прошарками глин, галечників і пісковиків. Товщина - 37 м.
Сарматський ярус ( N>1>3 S ). Розріз яруса складений переважно вапняковими глинами. В розрізі зустрічаються проникні пачки, складені органогенно-уламковими вапняками. Товщина яруса 37 м.
Пліоценовий відділ ( N>2> ).
Понт-маотичний ярус ( N>1>3 m+N>2>1 P ). Представлений в нижній частині вапняками-черепашковими з лінзами пелітоморфного глинистого вапняку. В верхній частині складений зеленувато-чорними глинами з включеннями черепашникового детриту. Товщина 311 м.
Четвертична система ( Q ).
Відклади четверттичної системи представлені континентальними і прибережно-морськими фаціями. Складені глинами, пісковиками, алевритами, черепашниками. Товщина - 15 м.
Загальна товщина вивчених бурінням відкладів на Штормовому родовищі до маастрихта включно складає 2340 м.
1.2 Тектоніка структури
Штормове родовище відноситься до морського продовження борта Північно-Кримського крейдо-палеогенового прогину.
В осадовому чехлі прогину геофізичними дослідженнями виявлені локальні підняття субширотного простягання. Локальні підняття звичайним чином групуються в декілька лінійних тектонічних зон, які пов’язані з південною і центральною частиною прогину. Штормове родовище відноситься до південної зони піднять. Згідно самих останніх деталізованих сейсмічних робіт родовище являє собою по відкладах палеоцену і дата антиклінальну складку субширотного простягання.
Складка ускладнена двома склепіннями, розділеними малоамплітудною свердловиною. Амплітуда західного склепіння 170 м, східного - 87 м. Розмір складки по ізогіпсі мінус 1000 м, складає 12.5 х 2.8 км. Складка асиметрична і характеризується пологим північним крилом ( кути падіння 6 - 9° ) і більш крутим південним крилом ( до 10.5° ). Північне крило антикліналі по геофізичних даних ускладнене флексурно-розривним порушенням.
1.3 Нафтогазоводоносність родовища
Газоносність розрізу родовища за даними геолого-розвідувальних робіт виявлена тільки у відкладах інкерманського і датського ярусів, де при поінтервальному випробовуванні дебіти газоконденсатної суміші досягли
190 тис.м3. В останьому розкритому бурінням розрізі ознаки нафтогазоносності не виявлені.
В гідрогеологічному відношенні розріз родовища практично не вивчений. За анологією сусідніми родовищами можна стверджувати, що в розрізі родовища виділяються 10 водоносних комплексів. Найбільші дебіти води (до 20 м3/добу) отримані на родовищі з нижньопалеоценового комплексу. За даними випробування свердловин Голіцинського родовища найбільщі фонтанні притоки води відмічені з піско-алевритових горизонтів майкопської серії: до 66 м3/добу. Ці води є низькомінералізовані ( 18-41 г/л ). Лише у відкладах сеноману і майкопу можна зустріти води з мінераліцією 76-96.9 г/л. Типи вод за класифікацією є сульфідно-хлоркальцієвими і гідрокарбонатно-натрієвими.
Водоносні комплекси від протерозойського до верхньопалеоценового включно мають аномально високі пластові тиски ( АВПТ ). Коефіцієнти аномальності складають 1.36-1.45. Більш молоді комплекси мають гідростатичний пластовий тиск.
1.4 Фільтраційні властивості порід-колекторів
Продуктивними на Штормовому родовищі є відклади нижнього палеоцену і дата. Середня товщина палеоценових відкладів складає 85 м із зміною до 102 м в свердловині № 2 на східній перекліналі, від 63 м в склепінні складки. За даними геофізичних досліджень виділені проникні інтервали групуються по розрізу в окремі пачки, які при фактичній відстані між розвідувальними свердловинами не корелюються по площі. Число проникних розділів по свердловинах коливається від 45 до 48. На їх долю приходиться близько 40 % загальної товщини нижнього палеоцену. Товщина непроникних розділів в складі горизонту змінюється від 0.5 до 20 м, складаючи в середньому 1.1 м.
Проникний комплекс нижньопалеоценових порід перекривається товщею непроникних глинисто-карбонатних порід качинського яруса ( 104 м) і товщею глин бахчисарайського яруса ( 76 м ). Видимий розділ між відкладами палеоцену і датським ярусом відсутній. Імовірно між ними є гідродинамічний зв`язок, обумовлений відсутністю витриманого розділу і широким розвитком тріщинуватості порід. За даними геофізичних досліджень будова проникної частини датських відкладів дуже схожа з будовою відкладів нижнього палеоцену. На даній стадії вивченності можна стверджувати, що відклади нижнього палеоцену і верхньої частини датського ярусу являють собою єдиний продуктивний горизонт. Згідно лабораторних аналізів карбонатність порід продуктивного горизонту в родовищі змінюється від 55 до 90 %, складаючи в середньому 80 %.
По польовому опису керну породи продуктивного горизонту представлені переважно вапняками. В підлеглій кількості зустріті мергелі, пісковидні вапняки і глини. Як правило, вапняки щільні, міцні з рідкою сіткою різноорієнтованих тріщин. Іноді в складі вапняків зустрічаються лінзовидні включення пісковидних вапняків. Породи продуктивного горизонту характеризуються порівняно високою однорідністю та пористістю. Коефіцієнт пористості змінюється від 10 до 24 %. Найбільш часто зустрічаються породи з пористістю 14 - 16 %. Найнижчу пористість мають мергелі, найбільшу - чисті вапняки.
Проникність порід за даними лабораторних аналізів керну змінюється від 0.01 до 10.2 мД. Середня проникність порід по керну дорівнює 2.3 мД. Найбільш низьку проникність мають мергелі, найбільш високу - вапняки. Породами-колекторами в продуктивному горизонті є чисті і глинисті вапняки і найбільш чисті різновиди мергелів. Судячи з лабораторних аналізів, фільтрація газу можлива як по матриці порід, так і по тріщинах.
1.5 Склад і фізико – хімічні властивості пластових флюїдів
На Штормовому родовищі гирлові проби газу на хімічні аналізи відібрані в свердловині №1 з палеоцен-датських відкладів (інтервали 1834-1854; 1860-1874м).
Гази цих відкладів більш важкі ніж на Голіцинському родовищі. В них відмічено значний вміст важких фракцій і конденсату. На відміну від Голіцинського родовища гази Штормового характеризуються меншим вмістом метану ( 83-89 % ) і більшим вмістом метанових вуглеводнів.
З невуглеводневих компонентів в незначній кількості присутні вуглекислий газ і азот. Вміст СО>2> з глибиною зростає. Сірководень відсутній. Відмічено невелику кількість інертного газу - гелію ( 0.007 % ). Аргон відсутній.
Треба відмітити також, що в палеоцен-датських відкладах Штормового родовища, як і на багатьох інших родовищах Криму, відмічено аномально високий пластовий тиск, який на 80 кгс/см2 вищий за гідростатичний. Коефіцієнт аномальності 1.45. Фізико-хімічна характеристика приведена в таблиці 2.5
Промислові газоконденсатні дослідження проводились по свердловинах №1 і №3, а визначення параметрів газоконденсатної системи проводились в УкрНДІгаз, причому всі відомості базуються на результатах, отриманих в свердловині №1. Вихід стабільного конденсату по промислових дослідженнях змінюється від 89.2 см3/м3 до 227 см3/м3 при тисках сепарації 2.55-3.65 МПа і температурах 3-36°С.
Тиск початку конденсації змінюється від 20.2 до 24.4 МПа, а тиск максимальної конденсації від 5.7 до 6.4 МПа. Фізико-хімічні властивості, фракційний і груповий склад конденсату приведені в таблицях 2.6, а компонентний склад і фізико-хімічні властивості газоконденсатних систем, приведені - в таблиці 2.7
Конденсат має полегшений фракційний склад, густина його в середньому дорівнює 730 кг/м3; кінець кипіння дорівнює 280°С. Конденсат на 90 % складається з бензинової фракції, яка закипає до 200°С.
Сірчані сполуки складають 0.04 %. По груповому хімічному складу він складається з 11 % ароматичних, 34 % нафтенових і 55 % парафінових вуглеводнів.
Зміна вмісту вуглеводнів С>5>+віщі в пластовому газі в процесі розробки прийнята на основі досліджень, проведених в УкрНДІгазі, по диференціальній конденсації пластової суміші на установці фазової рівноваги при початковому його вмісті 160 г/ст.м3. Тому вміст конденсату в пластовому газі в процесі розробки був перерахований при новому початковому значенні. Вміст конденсату в відсепарованому газі в процесі розробки був прийнятий по аналогії з Голіцінським ГКР. Ці данні в подальшому будуть використані для підрахунку видобутку конденсату. В зв`язку з прийняттям ряду припущень, ці розрахунки є орієнтовні і в подальшому їх необхідно уточнити по результатах додаткових досліджень газоконденсатних систем.
При досягненій вивченності на Штормовому родовищі запаси газу і конденсату враховані лише у відкладах нижнього палеоцену. Запаси газу в датських відкладах, не зважаючи на отримання тут промислових припливів газу в свердловині №3, не враховувались при підрахунку запасів через суперечливі результати випробовувань по площі покладу.
В об`ємі покладу включенні тільки запаси вуглеводнів нижньопалеоценових відкладів, обмежені покрівлею, підошвою цих відкладів і поверхнею умовно прийнятого ГВК на відмітці мінус 1868 м. Запаси в цьому об`ємі віднесені до категорії С>1>+С>2>. До категорії С>1> віднесені запаси на площі, де пробурені свердловини №1, №3. Площа категорії С>1> обмежена зовнішним контуром газоносності і двома прямими лініями. Одна з них проведена посередені між свердловинами №1, №2; інша на відстані 1 км на захід від свердловини №3. Проект Штормового родовища слід складати на всі запаси категорій С>1>+С>2>; газу - 11227 млн.м2; конденсату - 427.524 тис.т.
Для дорозвідки покладу в дат-палеоценових відкладах необхідно в зонах розміщення запасів категорії С>2> пробурити дві розвідувальні свердловини. Випробовування розрізу покладу провести в обсадженному стовбурі свердловини поінтервально.
Таблиця .1 - Характеристика Голден Майквільного газу (по свердловині №1)
|
Характеристика газу |
Інтервал випробування 1834-1854 м |
Інтервал випробуван-ня 1860-1874 м |
Серед-нє значен-ня |
|
Умови відбору проб |
гирло |
||
|
Абсолютна питома вага, кг/м3 |
902 - 859 |
— |
871 |
|
Відноснана питома вага по повітрю |
0.696 - 0.665 |
0.686 |
0.680 |
|
Пластовий тиск, МПа |
25.1 |
||
|
Пластова температура, К |
350 |
||
|
Критична температура, К |
208.9 |
||
|
Критичний тиск, МПа |
4.64 |
||
|
Приведений тиск |
5.41 |
||
|
Приведена температура |
1.68 |
||
|
Коефіцієнт надстисливості |
0.89 |
||
|
Поправки: -відхілення від закону Бойля- Маріота -на температуру |
1.12 0.84 |
||
|
Теплоутворююча здатність, ккал/м3 |
9209 |
||
|
Об`ємний коефіцієнт пластового газу |
0.001 |
||
|
Вміст, % об`ємних метан етан пропан бутан ізобутан пентан+вищі гелій вуглекислий газ азот |
83.94 - 86.37 6.15 - 6.98 2.78 - 3.65 0.83 - 1.26 0.73 - 1.05 0.63 - 2.23 0.006 0.56 - 2.32 1.20 - 2.65 |
85.49 - 85.67 5.83 - 6.91 2.51 - 3.08 0.74 - 0.82 0.65 - 0.74 0.53 - 1.62 0.007 2.25 - 2.36 1.72 - 2.13 |
85.7 6.49 2.30 0.88 0.77 1.24 0.006 1.39 1.70 |
Таблиця 1.2-Фізико-хімічні властивості і фракційний склад конденсату
|
Інтервал перфорації, м |
||||
|
Показники |
1902-1970, Р>с>=4.4 МПа |
1834-1854, Р>с>=3.2 МПа |
1834-1854, Р>с>=4.0 МПа |
1860-1874, Р>с>=3.0 МПа |
|
Густина конденсату, кг/м3 |
736 |
723 |
737 |
737 |
|
Молекулярна масса, г/моль |
104 |
99 |
108 |
107 |
|
В`язкість кінематична при 20°С; м2/с |
0.756 |
0.682 |
0.743 |
0.782 |
|
Вміст сірки, % |
0.047 |
0.036 |
— |
0.049 |
|
Фракційний склад,°С початок кипіння 5 % 10 % 15 % 20 % 25 % 30 % 35 % 40 % 50 % 60 % 70 % 80 % 90 % кінець кипіння |
39 62 74 82 90 96 102 106 112 122 138 153 190 252 293 |
39 54 66 79 86 92 98 102 108 113 129 146 170 220 240 |
41 60 72 80 87 93 98 103 108 118 130 148 176 235 300 |
36 53 70 83 90 96 102 106 112 122 137 176 186 240 263 |
|
Вихід фракцій, % мольн. п.к. - 150°С 150 - 200°С 200 - 300°С вище 300°С |
69.1 16.8 14.1 0.0 |
76.6 16.0 7.4 0.0 |
75.6 14.8 9.6 0.0 |
69.8 16.7 13.5 0.0 |
Таблиця 1.3 - Компонентний склад і фізико-хімічні властивості газоконденсатних систем ( по свердловині №1 )
|
Назва компоненту, показника |
% мольн. |
г/м3 |
% мольн. |
г/м3 |
|
Інтервал перфорації, м |
1834 - 1854 |
1860 - 1874 |
||
|
Компонентний склад: метан етан пропан ізо-бутан н-бутан пентан+вищі азот вуглекислий газ всього |
83.85 5.68 2.29 0.76 0.86 3.72 1.50 0.25 100 |
560.03 71.77 61.98 18.80 21.65 154.05 18.53 4.60 911.44 |
84.41 6.42 2.61 0.86 0.83 4.26 1.37 0.21 100 |
563.77 68.49 49.10 21.32 21.66 191.15 15.96 3.87 935.39 |
|
Фізико-хімічні властивості: густина, кг/м3 густина по повітрю молекулярна маса |
0.9114 0.7553 21.9108 |
0.9354 0.7763 22.4998 |
2. Аналіз експлуатації свердловин на родовищі
2.1 Характеристика глибинного та поверхневого обладнання
геологічний газоконденсатний родовище свердловина
Штормове газоконденсатне родовище розробляється як похилоскерованими так і вертикальними експлуатаційними свердловинами, 3 метою ізоляції водоносних пластів, а також для запобігання від обвалів стінок свердловин і запобігання прориву газу в інші пласти, свердловини обсаджено наступними колонами:
- водоізолююча Ø 630 мм;
- кондуктор Ø 324 мм;
- технічна Ø 245 мм;
- експлуатаційна Ø 146 ( або 168) мм.
Для устаткування
експлуатаційних свердловин використовують
фонтанну арматуру на робочий тиск до
35 МПа - АФК -80/65
35,
або Foster
3118 – 2/16
5
(АФК 2-80/65
35.
За результатами розрахунків втрат тиску в стовбурі і швидкості газу біля башмака НКТ фонтанні труби пропонується використовують з умовним діаметром 89х6,5 мм та 60,3х5 мм.
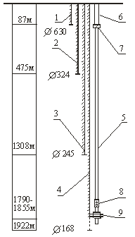
Свердловини, які розташовані на шельфі, повинні бути обладнані спеціальним внутрісвердловинним устаткуванням. Схема компонування підземного устаткування представлена на рисунку 2.1 для свердловини №4.

Рисунок 2.1 – Конструкція свердловини №4
1 – водоізолююча колона; 2 –
кондуктор; 3 – технічна; 4 – експлуатаційна
колона; 5 – колона насосно-компресорних
труб Ø 60,3
5
мм, марки Е; 6 – колона насосно-компресорних
труб Ø 88,9
5.5
мм, марки М; 7 – клапан-відсікач типу
хлопавки, самозрівнювальний, що
витягається на тросі, моделі „BFVE-10”; 8
– циркуляційний клапан моделі "L";
9 – розмежувач трубного і затрубного
простору (витягаємий пакер з подвійним
захопленням моделі „FH").
2.2 Характеристика методів дослідження свердловин. Обробка
результатів дослідження
Метою гідродинамічних досліджень свердловин є визначення фільтраційних характеристик пласта при відомих змінах тиску і швидкості фільтрації газу (рідини) в деяких точках пласта або його досліджуваної ділянки.
Гідродинамічні методи досліджень, які застосовуються для визначення фільтраційних параметрів пласта, можна розділити на дві основні групи:
методи, що базуються на вивченні усталеної фільтрації рідин і газорідинних сумішей;
методи, що базуються на вивченні неусталеної фільтрації рідин, газів і газорідних сумішей в пласті.
До першої групи відносятся:
метод визначення параметрів пласта за даними відновлення тиску (рівня) в самій свердловині;
метод визначення параметрів пласта за даними простеження впливузміни режиму роботи даної сердловини на режими роботи віддалених від неї реагуюючих свердловин.
Методи другої групи досліджень мають деякі преваги перед перше групою. При проведенні таких досліджень визначається більша кількість параметрів пласта. До них відноситься визначення середіх фільтраційних характеристик в деякій області пласта та їх зміна певній віддалі від свердловини.
Це дозволяє уточнити границі поширення пласта, положення ниць різкої зміни фільтраційних параметрів пласта, положення границь фазової зміни насичуючих колектор рідин, місць перетоку із одного пласта в інший. Методи другої групи менш трудомісткі і дозволяють провести дослідження з меншими затратами часу і засобів.
Усталений режим фільтрації
Усталеного припливу рідини у свердловину q(t)=const в реальних пластах не існує, оскільки такий приплив можливий тільки при постійному живленні пласта, рівному установленому відбору рідини і свердловини на протязі необмеженого часу. Однак при довготривалій роботі свердловини в обмеженому часі спостережень зміни припливу стають непомітними в межах точності вимірювальних приладів і приплив рідини в цьому випадку приймається практично стаціонарними, підлеглим законам усталеної фільтрації.
Таким чином, при дослідженні свердловин використовується метод послідовної зміни стаціонарного стану.
Дослідження свердловин при усталених режимах фільтрації полягає в одержанні залежності дебіту від величини депресії (індикаторної діаграми) Q=f(P>пл>-P>виб>).
Індикаторна діаграма характеризує продуктивність свердловини і може бути використана для визначення проникності пласта. Отримана залежність дебіту від депресії виражається прямою, випуклою чи вгнутою до осі дебіту індикаторною діаграмою. Якщо пряма і зворотна індикаторні криві співпадають або відрізняються між собою не більше ніж на 2-3 %, то результати досліджень обробляють за формулами стаціонарного припливу, а якщо вони істотно розходяться, то обробці не підлягають (рисунок 2.1).

Рисунок 2.1 – Приклади співпадання і розходження індикаторних кривих при збільшенні і зменшенні депресії: а) співпадання кривих; в) розходження кривих
а) якщо на всьому інтервалі дослідження діаграма має форму прямої, то справедлива прямолінійна залежність дебіту від депресії, яка виражається рівнянням Дарсі:
(2.8)
де
- дебіт і газу, м3/с;
- коефіцієнт продуктивності, м3/(Па*с);
∆Р – депресія, Па; Р>0>
- атмосферний тиск, Па.
б) для обробки випуклої (по відношенню Р>0> до осі дебітів індикаторної діаграми служать двочленні формули
(2.9)
Коефіцієнт А – це гідравлічний опір пласта
(2.10)
Якщо вказану залежність
виразити через
,
тоді вгнута індикаторна діаграма стане
прямою, що відсіче на осі ординат відрізок
А, а тангенс кута її нахилу буде рівний
В.
Значення коефіцієнта А можна визначити за формулою
(2.11)
де μ – в’язкість газу, Па*с; k – проникність, м2; h – потужність пласта, м; R>к> – радіус контуру живлення свердловини, м;r>с> – радіус свердловини, м; С – коефіцієнт недосконалості свердловини.
Для визначення параметрів пласта будують залежність
(2.12)
де
пластовий тиск, Па;
- вибійний тиск, Па.
За відрізком А, який
відсікається на осі ординат, визначають
коефіцієнт
продуктивності
(м3/Па.с)
і вираховують гідропровідність пласта
за формулою:
(2.13)
Вгнуті форми індикаторних кривих можуть бути отримані при дослідженні покладів, складених пластами різної проникності і зв'язані з
під'єднанням або від'єднанням окремих пластів при зміні депресії у свердловині. При збільшенні і наступному зменшенні депресії (прямий і зворотний хід зміни режиму фільтрації) спостерігається різний характер зміни таких діаграм, так як при зворотному ході точки в координатах Q=f(P>в>) можуть накладатися або не накладатися на індикаторну діаграму прямого ходу
Зворотна індикаторна діаграма (якщо при зворотному ході спостерігається накладання точок) викликається більш складними процесами,, залежними від фізичних властивостей пластів і наповнюючих їх рідин. Методика обробки таких діаграм, запропонована В.Є.Колбіковим, з деякими змінами, введеними в УкрНДГРІ, викладена нижче:
а) будується індикаторна крива в координатах Q=f(P>в>), початок координат відповідає нульовому дебіту (вісь абсцис) і пластовому тиску (вісь ординат) (рис. 2.2);
б) всі точки індикаторної кривої, отримані в результаті досліджень, з'єднуються ламаною лінією, при цьому перший відрізок (0 - 1) характерезує продуктивність першого пласта (або групи пластів) з працюючого інтервалу; наступний відрізок (1-2) характерезує продуктивність першого і другого під'єднаних пластів; відрізок (2 - 3) характеризує продуктивність перших двох і третього під'єднаного пласта і т.д.

Рисунок 2.2 – Вгнута індикаторна крива
Ці сумарні коефіцієнти визначаються таким чином:
(2.14)
(2.15)
Дебіти під’єднаних пластів визначають наступним чином
q>2>=Q>2 >- (Q>1>+η>1 >(P>виб1> - P>виб2>));
q>3>=Q>3 >- (Q>2>+η>1+2 >(P>виб2> - P>виб3>)); (2.16)
q>n>=Q>n>> >- (Q>n>>-1>+η>1+2+3+…(>>n>>-1) >(P>виб >>n>>-1> - P>виб >>n>))
де q>n> – дебіт під’єднаного пласта; Q>n> – сумарний дебіт пластів; η>1+2+3+…(>>n>>-1) >- сумарний коефіцієнт продуктивності.
При збільшенні депресії загальне збільшення дебіту відбувається не тільки за рахунок під’єднання нового пласта, але і за рахунок збільшення дебіту уже працюючих пластів
(2.17)
де
=

(P>виб1>
- P>виб.>>n>)
=

(P>виб2>
- P>виб.>>n>)(2.18)
=

(P>виб.>>n>>-1>
- P>виб.>>n>)
Коефіцієнт продуктивності кожного під’єднаного пласта
(2.19)
Визначаємо коефіцієнти продуктивності кожного під’єднаного пласта і за формулою Дюпюї знайдемо їх гідропровідність
(2.20)
Неусталений режим фільтрації
Обробка даних дослідження свердловин при неусталеному режимі фільтрації базується на теорії пружності пластової системи. Закономірності кривих відновлення тиску після зупинки свердловин, виведені з основних теоретичних положень пружного режиму знайшли універсальне застосування в промислових дослідженнях свердловин.
Усі методи досліджень виходять з наступних: приймається, що перед зупинкою дебіт свердловини усталений, тиск довкола неї розподілився за стаціонарним законом, пласт характеризується постійною потужністю і однорідною проникністю; приплив однофазний.
Найбільш простий аналітичний вираз кривої відновлення вибійного тиску отримано для свердловини в необмеженому однорідному пласті зупиненої після роботи на стаціонарному режимі радіальної фільтрації при повній відсутності припливу після зупинки (формула запропонована М.Маскетом для точкового джерела в необмеженому пласті):
(2.21)
де
— біжучий дебіт
свердловини перед зупинкою;
(-х)
– інтегральна
експоненційна функція; Т - час припливу
рідини (або газу) до свердловини; t
– час відновлення пластового тиску; χ
– п'єзопровідність.
Приплив рідини з пласта після закриття свердловини поступово припиняється і пісдя деякого часу крива відновлення вибійного тиску наближається до кривої підвищення тиску у свердловині після її раптової зупинки.
Обробка при даному припущенні проводиться за методом Хорнера, методом дотичної.
Практика визначення
параметрів пласта і свердловини показала,
що не завжди за 2-3 години не вдається
отримати криву відновлення тиску, тобто
не встигає сформуватись прямолінійна
ділянка лінії
.
Крім того форма кривих відновлення
тиску при наявності притоку в свердловину
така, що практично завжди можна виділити
прямолінійний відрізок і прийняти
помилково його за асимптотичну пряму,
яка відповідає фільтраційним властивостям
пласта. Щоб цого уникнути, запропоновані
методи для обробки кривих, які
використовують початкову ділянку (метод
Ю.П. Борисова, метод Чарного-Умрихіна,
метод Е.Б. Чекалюка, метод детермінованих
моментів).
В основу методу Хорнера взято рівняння (2.21), яке перетворене таким чином
(2.22)
В системі координат
,
рівняння (2.22)має вид прямої лінії за
нахилом якої
(2.23)
визначають гідропровідність
(2.24)
При нескінчено тривалій зупинці
у свердловині відновиться тиск до
пластового, бо при t
величина

.
В цій точці знаходиться максимальне
значення депресії, а повністю відновлений
пластовий тиск буде рівний
Р>пл>=Р>в>+∆Р>max>
де Р>в> – усталений тиск на вибої перед зупинкою свердловини.
Розглянемо метод детермінованих моментів (МДМ). Детерміновані моменти являють собою інтегральні характеристики КВТ:
(2.25)
де n = 0; 1; 2.
Нульовий Мо, перший
М>1>,
другий М>2>
моменти визначають як інтеграл за часом
t
від поточної депресії тиску
з вагою t
°, t
1, і t
2 відповідно.
Інтеграл (2.25) можна
представити у вигляді суми двох
інтегралів: від 0 до t>мах>
і від t>мах>
до
де t>мах>
– повний час заміру КВТ
(2.26)
де
,
А – коефіцієнт ідентифікованого рівняння
першого порядку
(2.27)
При цьому похідна
(
)
обчислюється методом кінцевих різниць,
після чого для тих самих діюх часових
точок виписується система лінійних
алгебраїчних рівнянь, яка розв'язується
відносної А і Р>пл>.
Таким чином, у значній мірі враховується
частка детермінованих моментів, яка
припадає на недовідновлену частину КВТ
і зменшується викривляючий вплив від
обмежності часу проведення гідродинимічних
досліджень в реальних промислових
умовах.
Що стосується перших інтегралів рівнянь М>0>, М>1>, то вони обчислюються методом трапецій:
(2.28)
Зокрема, перший
інтеграл нульового моменту дорівнює
площі фігури, розташованої між прямою
і графіком КВТ в арифметичних координатах
тиск – час.
МДМ базується на аналізі діагностичного критерію
(2.29)
який за результатами аналітичних і промислових досліджень для| однорідного пласта дорівнює постійній величині 2,18 і не залежить від фільтраційних властивостей колектора, в'язкості нафти, товщини продуктивного пласта, радіусів свердловин і контурів живлення. При наявності забрудненості ПЗП параметр d >2,18 і суттєво залежить від t>мах>, відносних розмірів ПЗП, коефіцієнта неоднорідності, який приймається рівним зворотній величині коефіцієнта гідродинамічної досконалості К>д>.
Як з’ясувалось в процесі удосконалення МДМ, аналіз одного розрахованого значення діагностичного параметра d не дає задовільних результатів через недостатньо високу точність і обмеженість часу замірів P>t> і можливе перекручення КВТ, а також внаслідок неврахованого додаткового припливу флюїдів у стовбур свердловини після її припинення.
В цілому геологічні, фізичні і гідродинамічні особливості обумовлюють певний розкид значень d. Тому врешті-решт, від аналізу одного числа d перейшли до аналізу функції d(t), що значно підвищило надійність діагностики зональної неоднорідності пласта і точність розрахунку гідродинамічних параметрів.
3. Проектування методу освоєння свердловини
3.1 Характеристика та аналіз методів дії на привибійну зону пласта
В міцних слабопроникних колекторах приплив газу до свердловини дуже малий не дивлячись на велику депресію на пласт. В таких випадках застосовують вплив на привибійну зону з метою штучного збільшення проникності привибійної зони пласта і це часто дає хороші результати, тому-то найбільші втрати тиску мають місце в привибійній зоні пласта.
Збільшення проникності пласта відбувається за рахунок збільшення діаметрів порових каналів, а також за рахунок очищення порових каналів від забруднення, крім того за рахунок збільшення розмірів дренажних каналів і тому подібного.
До методів збільшення проникності пласта відносяться такі методи:
Гідравлічний розрив пласта.
Соляно-кислотна обробка.
Термо- кислотна обробка.
Гідропіскоструминна перфорація.
Гідрогазопіскоструминна перфорація
Торпедування свердловини.
Застосування кавітаційно– пульсаційного методу.
Нафтові та газоконденсатні ванни.
Осушення привибійної зони пласта (шляхом нагнітання в пласт сухого газу).
Глино-кислотна обробка свердловини.
Застосування ядерних вибухів та ін.
Вибір метода впливу на привибійну зону пласта визначається пластовими умовами, а також причинами, які призвели до зменшення припливу газу до свердловини.
Суть гідророзриву пласта заключається в тому, що при закачці в пласт рідини на великій швидкості (швидкість, що перевищує швидкість поглинання рідини пластом), при цьому тиск на вибої свердловини почне наростати і при досягненні певної величини у пласті розширюються існуючі тріщини ті утворюються нові. Для того, щоб ці тріщини не зімкнулись після зменшення тиску нагнітання, їх заповнюють крупнозернистим піском, частіше всього це кварцовий пісок фракції від 0.5 мм до 2 мм. А також в глибоких свердловинах в якості розклинюючого агенту використовують більш тверді матеріали: скляні, пластмасові шари, корунд та інші. Ефективність проведення ГРП залежить від:
фізико-механічних властивостей пласта;
умов залягання пласта;
якості проведення ГРП.
Суть гідропіскоструминної перфорації (ГПП) полягає в тому, що за рахунок потоку рідини, в якому знаходяться абразивний матеріал відбувається руйнування металу труб, цементного кільця та породи продуктивного пласта. В якості абразивного матеріалу використовують кварцовий пісок, барит, гематит. При виборі рідини для проведення ГПП необхідно звертати увагу на те, щоб рідина не зменшувала продуктивність і проникність пласта, вона повинна сприяти та покращувати фільтраційні властивості привибійної зони і сприяти виносу перфораційного матеріалу. В основному використовують прісну, технічну воду з домішками поверхнево активних речовин (ПАР). Також використовують ГПП на глинистих розчинах, але їх застосовують лише при наявності в пласті великої кількості глинистих прошарків та у тому випадку, коли в пласті присутній високий пластовий тиск. Гідрогазопіскоструминна перфорація від попередньої відрізняється тим, що робоча рідина є газованою.
Перевага ГПП над іншими способами перфорації (кульової, торпедної, кумулятивної) полягає:
можна регулювати довжину і кут нахилу перфораційного отвору;
цементне кільце не руйнується і зберігає свою міцність;
краї утворених отворів в колоні рівні та гладкі;
прилади, які використовуються при ГПП прості та надійні в роботі; їх можна використовувати в свердловинах практично любого діаметра;
після ГПП можна проводити будь-які методи інтенсифікації не піднімаючи інструменту на поверхню;
довжина перфораційних каналів значно більша ніж при інших видах перфорації і може досягати до 500-700 мм при площі фільтрації каналів більшій у 20-30 разів;
при ГПП не має місце ущільнення породи в кінці перфораційного каналу.
Основним призначенням теплової дії на привибійну зону свердловини є збільшення проникності привибійної зони за рахунок розчинення на стінках пор відкладів парафіну й абсорбційно-сульфатних шарів активних компонентів нафти, таких як смоли, асфальтени, органічні кислоти. Продуктивний пласт біля свердловини нагрівається двома способами:
за допомогою нагрівача, який розташовується на вибої свердловини (елктронагрівач, газова горілка або термоакустичний нагрівач);
закачка теплоносія в пласт (насичений або перегрітий пар, гаряча вода, нафта або розчинник).
Найбільше застосування в промисловості знайшли циклічний та стаціонарний електронагрів, термоакустична та пароциклічна дія на привибійну зону. Кожний з цих методів має свою специфіку та область використання, а також має свої переваги і недоліки.
Використання кавітаційно – пульсацій них технологій очищує ПЗП за рахунок створення значних імпульсів тиску в перфораційних каналах.Соляно-кислотна обробка пласта дає хороший результат, якщо її провести в слабопроникних карбонатних колекторах; в глинистих пісковиках дає результат застосування глино-кислотної обробки (суміш соляної та плавикової кислот HCl+HF). В щільних слабопроникних колекторах при відсутності карбонатів можна отримати хороший результат зробивши гідравлічний розрив пласта. Якщо продуктивний пласт високо проникний, то в процесі буріння свердловини в нього проникає значна кількість бурового розчину і його фільтрату: чим більша проникність, тим більше засмічування. В таких випадках може дати хороший результат глинокислотна обробка, а при відсутності суміші кислот HCl+HF, можна отримати результат застосувавши нафтову або газоконденсатну ванну.
3.2 Проектування проведення ГРП
Гідралічне щілинування (розрив) пласта (ГРП) – це метод утворення нових тріщин або розширення деяких існуючих у пласті внаслідок нагнітання у свердловину рідини або піни з високим тиском. Щоб забезпечити високу проникність, тріщини заповнюють закріплюючим агентом, наприклад кварцовим піском. Під дією гірничого тиску закріплені тріщини змикаються неповністю, в результаті чого значно збільшується фільтраційна поверхня свердловини, а іноді включаються в роботу й зони пласта з кращою проникністю.
Утворення нових тріщин або розкриття існуючих можливе, якщо тиск, створений в пласті при нагнітання рідини з поверхні, стає більшим від місцевого гірничого тиску. Зауважимо, що утворення нових тріщин характеризується різким зниженням тиску на гирлі свердловини на 3….7 МПа. Розкриття існуючих тріщин відбувається при незмінному тиску або його незначному збільшенні. В обох випадках зростає коефіцієнт приймальності свердловини, який після ГРП повинен збільшитись щонайменше у три-чотири рази, що вважають критерієм можливого закріплення тріщин піском.
Тріщини ГРП у неглибоких (до 900 м) свердловинах мають горизонтальну орієнтацію, а в глибоких – вертикальну, або похилу, близьку до вертикальної. Тріщини розвиваються у тій площині, де найменші сили опору, тобто найменший гірничий тиск. Наприклад, напрямок розвитку тріщин на деформованих антиклінальних складках Передкарпаття переважно збігається з напрямком короткої їх осі.
ГРП застосовують у будь-яких породах за винятком пластичних сланців і глин. Це метод не тільки відновлення природної продуктивності свердловин, але й значного їх збільшення.
Застосовувані технології звичайних ГРП передбачають неглибоке закріплення тріщин ( близько 10 т піску ) і забезпечують дво, трикратне збільшення поточного дебіту нафтових, газових або приймальності нагнітальних свердловин у низькопроникних (до 0,05 мкм2 ) пластах, товщиною не менше п’яти метрів, які залягають на глибинах до 3500 м, а також у пластах з дещо більшою проникністю (до 0,15 мкм2 ), але дуже забрудненою привибійною зоною.
Зі збільшенням кількості піску до 20 т здійснюють глибокопроникний ГРП, який сприяє значному збільшенню фільтраційної поверхні, зміцьнює характер припливу рідини від радіального до лінійного з підключенням нових зон пласта, ізольованих внаслідок макронеоднорідності. Тріщини такого ГРП сягають 100….150 м довжини при ширині 10…20 мм.
У газоносних пластах проникністю до 0,001 мкм2 застосовують масивний ГРП, під час якого розвиваються тріщини довжиною до 1000 м, закріплені до 300 т піску. Масивний ГРП дуже дорогий, тому він передбачений у кошторисі будівництва свердловини й збільшує її вартість на 50 %.
Для проведення ГРП у свердловину на НКТ спускають пакер, що ділить її стовбур на дві частини і захищає верхню частину експлуатаційної колони від високого тиску. Гирло свердловини обладнують арматурою, наприклад 2АУ-700, на робочий тиск до 70 Мпа. Усі насосні агрегати (до 10 шт.) для нагнітання рідини ГРП, наприклад 4АН-700, обв’язують з арматурою гирла свердловини через блок маніфольда (1БМ-700). Рідини для ГРП транспортують автоцистернами по 20 м3, або ж складають у стаціонарних резервуарах по 50 м3, загальною місткістю 100…300 м3. Допоміжні насосні агрегати (ЦА-320М) помпують рідину в піскозмішувач (4ПА), з якого відцентровим насосом спочатку тільки рідина, а потім рідина з піском спрямовуються на вхід насосних агрегатів (4АН-700) для нагнітання в свердловину.
Щоб провести ГРП зі свердловини, піднімають НКТ та інше глибинне устаткування ( насосне, газліфтне), шаблонують експлуатаційну колону, спускають пакер на НКТ і обпресовують хї. Процес ГРП починається з перевірки приймальності свердловини з найменшої витрати рідини розриву, яку поступово збільшують, наприклад, від 250 до 450, 900, 1500 м3/добу і аж до значення, за якого забезпечується закріплення тріщин (2000…5000 м3/добу). Далі нагнітають рідину-пісконосій, звичайно з концентрацією К>пск> піску 40…500 кг/ м3 . концентація залежить від в’язкості рідини. На завершення процесу потрібно витіснити суміш рідини з піском зі стовбура свердловини в пласт протискуючою рідиною і закрити НКТ, аж доки тиск у свердловині не знизиться до атмосферного. Опісля піднімають НКТ з пакером і спускають глибинне устаткування для екпслуатації свердловини.
Звичайні ГРП проводять ньютонівськими рідинами. Для проведення звичайних ГРП потрібні закріплюючий агент (кварцовий пісок) G>пс>=10…20 т, фракції 0,6…1 мм або 1,0…1,6 мм, рідина розриву пласта (V>р>=10…30 м3 ), рідина пісконосій (V>пс>=100…3000 м3), рідина для протискування в пласт (Vпр) пісконосія в об’ємі тієї частини порожнини свердловини, по якій надходять рідини. Невелику частину рідини-пісконосія без закріплювача, яка нагнітається після рідини розриву для попереднього розкриття тріщин, називають буферною рідиною.
Рідина розриву пласта повинна бути сумісною з пластовими флюїдами, добре фільтруватися в низькопроникну породу, не зменшувати її проникність, не горіти, бути доступною, недорогою, тому найчастіше застосовують водні розчини ПАР.
Рідина-пісконосій повинна бути сумісною з пластовими флюїдами, мати здатність утримувати пісок, погано фільтруватися через поверхню тріщин, не горіти, бути доступною й недорогою. Для звичайних ГРП застосовують водні розчини 0,1…0,3% ПАР і полімерів (ПАА, КМЦ, ССБ). Наприклад, на Прикарпатті застосування 0,4% водного розчину ПАА забезпечує розвиток і закріплення тріщин піском кількістю до 10 т при концентрації Кпск=100 кг/м3, об’ємі рідини 100 м3 і витратах близько 3000 м3/добу зі застосуванням розчину 0,4% ПАА. Можливе також закріплення тріщин 20…30 т піску.
Для глибокопроникного ГРП застосовують неньютонівські рідини з динамічною в’язкістю 50…200 мПа.с при швидкості зсуву 650…1100 с-1 (q=2100…3500 м3/добу) і температурі 20 0С, що утримують пысок з Кпск<500 кг/м3, і і температурі 20 0С не менше 8 год, стабільні (2 год) при пластовій температурі. Наприклад, ВНДІКРнафта запропоновано рецептуру на водній основі, яка містить 1…2,5% КМЦ, 1…3% хроматів, 0,2…0,7% лігносульфонату, 0,75…2,1% солі хлорнуватої кислоти й може застосовуватись для пластових температур 60…150 0С. Нові типи пісконосіїв розроблено в Україні.
Для закріплення тріщин в свердловинах глибиною до 3000 м придатний кварцовий пісок. У свердловинах більшої глибини, де бічний гірничий тиск перевищує 50…70 МПа, слід використовувати міцніші закріплювачі.
3.3 Методика розрахунку основних параметрів процесу
Тиск розриву пласта Рр є найважливішим параметром ГРП. Встановлено, що можна оцінити тиск розриву пласта за значенням гірничого тиску Ргрн
Р>р >= 0,8 Ргрн (3.2.1)
Оскільки Рр залежить від напруженого стану порід, який визначається не тільки глибиною їх залягання, така оцінка є дуже ненадійною.
Надійніше можна прогнозувати Рр методом, що грунтується на поєднанні промислового досвіду ГРП у свердловинах даного регіону з дослідженням приймальності тієї свердловини, в якій передбачається розрив.
Для аналізу процесу корисно використовувати індикаторні криві ГРП (рис. 3.2.1)
точка, одержана побудовою; 2 – режими ГРП; 3-дослідження свердловини на приймальність; 4 – режими ГРП при закріпленні тріщин; 5 – гіпотетична зміна приймальності.

Рис.3.2.1. Індикаторна крива ГРП, характерна для свердловин Чорного моря.
Розглядаючи типову картину на прикладі ГРП свердловин Чорного моря, бачимо, що в межах діапазону витрати ОА швидко зростає тиск до значення, достатнього для розкриття природних тріщин. Якщо бути точним, зміна тиску відбувається не лінійно, а по кривій (див. рис.6.2.1, поз.5). однак такі дані для побудови кривої звичайно відсутні, бо дослідження при витратах q>0><200 м3/добу здійснюються лише в нагнітальних свердловинах, тому в діапазоні ОА зміну тиску вважають лінійною. В діапазоні витрати АВ тиск змінюється пропорційно витраті рідини. Можна вважати, що тут не відбувається розкриття нових тріщин, тільки розвивається вже існуючі. Тому при тиску в точці А закінчується процес розкриття природних тріщин у пласті.
При деяких ГРП (~ 35% усіх процесів) після досягшнення найбільшого тиску в точці В і тривалого (15…60 хв) нагнітання рідини з піском спостерігається повільне зниження тиску, а часом його різкий стрибок на 3…7 МПа. Перше можливе при очищенні стінок тріщин від забруднення або подальшого їх розвитку, друге – при утворенні нових тріщин. Після зниження тиску звичайно збільшують витрату рідини ( лінія СД ), аднак тиск уже не збільшується й значенння його в точці Д менше, ніж в точці В.
Для кожної свердловини, де проводиться ГРП, потрібно визначити: тиск на вибої Р>0> з найменшою витратою рідини насосного агрегату q>0>, яка дорівнює 200…250 м3/добу, тиск на вибої Р>Р4>, що відповіда. Чотирикратному збільшенню коєфіцієнта приймальності свердловини, а також максимальний тиск на вибої Р>Р>>m>, досягнений при ГРП.
Для морського регіону
Р>Р4 >= 1,15 Р>0 >(3.2.2)
Р>Р>>m> = 1,22 Р>0 >(3.2.3)
звідки
Р>Р>>m> = 1,06 Р>0 >(3.2.4)
Для визначення очікуваного тиску ГРП використовують також поняття вертикального градієнта тиску grad P, який є відношенням тиску Р>0>, Р>Р4>, Р>Р>>m> до глибини Н залягання пласта в даній свердловині у вигляді
grad P = Р/Н (3.2.5)
Очікуваний тиск розриву в даній свердловині визначають шляхом нагнітання в пласти даної свердловини рідини з витратою близько 200…250 м3/добу, заміряють тиск Р0 і, використовуючи залежність (3.2.2) і (3.2.3), вираховують тиск при розриві. В
(3.2.6)
ідомий точніший, але трудомісткіший спосіб визначення Р>Р4>, з урахуванням початкового коефіцієнта приймальності
і
тангенсна кута tg
= К>пр>/Р,
кривих зміни коефіцієнта приймальності
до осі тисків К>пр>=f(Р),
за умовноъ лінеаризації цієї залежності.
Типову картину зміни коефіцієнта приймальності від тиску наведено на рис.3.2.2.
точка А відповідає приймальності К>пр.0> при витраті q>0> і тиску Р>0>;
точка В – при Р=Р>Р>>max>;
точка D – при К>пр>=К>пр.>>max>

Рис.3.2.2 Зміна коефіцієнта приймальності свердловин під час ГРП.
Розрахункова формула має вигляд
п
(3.2.7)

ри чому для умов Чорного моря за
tg = 13650 (10Р>0>)-1,235 (3.2.8)
Оріентація тріщин. З теорії ГРП відомо, що про вертикальність тріщин свідчать такі особливості перебігу процесу:
тиск розриву пласта менший від гірничого;
збільшення об’єму рідини, що нагнітається в пласт, супроводжується зниженням тиску;
пластовий тиск впливає на тиск розриву пласта.
Виявлено, що в свердловинах родовищ на Чорному морі під час ГРП звичайно тиск розриву дорівнює 0,7…0,8 від гірничого; тиск на гирлі свердловини після досягнення його максимального значення і при постійній найбільшій витраті рідини дуже часто знижується на 3…7 МПа; вплив пластового тиску на тиск ГРП оцінюється такими експерементальними залежностями:
gradP>0>=0,107+qradР>пл>, 3.2.9)
gradP>Р4>=0,122+qradР>пл>, (3.2.10)
Таким чином, тріщини, що розкриваються під час ГРП у свердловинах Чорного моря, мають орієнтацію близьку до вертикальної.
Витрата рідини. Усі методи розрахунку потрібної витрати рідини під час ГРП базуються на лабораторних чи промислових експерементальних даних.
За G-D Ю.П.Желтова використовують аналітичні рішення, наведені для розрахунку розмірів тріщини. Водночас, додатково, за формулами Гірстма і Де Клерка, враховують витрати рідини в стінки тріщини. Це аналітично складний метод, який потребує застосування ПЕОМ.
Інший підхід полягає в окремому розрахунку витрати рідини, необхідної для перенесення піску по тріщині q>тр>, і витрати рідини для компенсації фільтраційних витрат рідини через її стінки. Отже, потрібна витрата рідини
q>mіn> = q>тр> + q>ф> (3.2.11)
З
(3.2.12)

відси
де q>тр> – витрата по тріщині, л/с; h i - висота вертикальної тріщини та її ширина, см; - в’язкість рідини-пісконосія, мПа с.
Витрату рідини для компенсації кількості відфільтрованої рідини розраховують, використовуючи дані лабораторного експеременту. Визначають фільтрацію даної рідини через одиницю поверхні натурального зразка породи, що підлягає ГРП, а потім розраховують:
q>ф> = 4 hL q>ф1> (3.2.13)
де q>ф> – витрата рідини для компенсації фільтраційних витрат, л/с; q>ф1> – фільтраційні витрати на одиницю поверхні з двох сторін тріщини, л/(с см2); h i L- висота та довжина півтріщини, см.
Відомий також простий і надійний підхід для планування витрат рідини під час ГРП з достатньою точністю. Для цього використовують вже описаний спосіб дослідження окремої свердловини на приймальність.
Очікувану найменшу й найбільшу витрату рідини під час ГРП визначають з точністю до 20% за такими залежностями:
q>Р4> = 4 К>пр>(Р>р4 >-Р>пл>), (3.2.14)
q>m> = A>q> К>пр>(1,06Р>р4 >-Р>пл>), (3.2.15)
де Аq=4…8. Зазначимо, що Аq=8 застосовують для рідин з в’язкістю, близькою до в’язкості пластової рідини, а Аq=4 для рідин з в’язкістю на два порядки більшою.
Тиск на гирлі свердловини визначають для заданих діаметра НКТ, глибини спуску, густини рідини і піску, концентрації піску в рідині, в’язкості рідини та її витрат.
Тиск на гирлі свердловини під час ГРП
Р>р.г>=Р>Р>>m>-P>гс.т>+Р>втр>, (3.2.16)
де Р>втр> – втрати тиску під час нагнітання рідини; P>гс.т> - тиск гідростатичного стовпа рідини, який визначають з урахуванням густини рідини.
Маса закріплювача тріщин. Для свердловин глибиною до 3000 м, закріплювачем тріщин може бути кварцовий пісок, що відповідає ТУ 39-982-84. Звичайно застосовують пісок фракції 0,4…1,6 мм.
Розрахунок маси закріплювача (піску) доцільно здійснювати з урахуванням потрібної поверхні тріщини ГРП та питомого розподілу його на одиницю поверхні. Відомо, що прийнятні значення провідності тріщини ГРП спостерігається при питомій концентрації закріплювача m>пс>=0,5 кг/м2, яка відповідає розрідженому моношару. Концентрації більші від m>пс>=2,4 кг/м2 відповідають багатошаровому розміщенню закріплювача. На практиці ГРП рекомендується застосовувати до m>пс>=5…20 кг/м2.
Оптимальну півдовжину вертикальної тріщини визначають за залежністю, одержаною з обробки даних
L=143 k-0,27, (3.2.17)
де L – півдовжина (одного крила) двобічної вертикальної тріщини, м;
k- проникність породи, фм2 (1фм2=10-3 мкм2).
Поверхня двох півдовжин тріщини
S>тр> = 2 Lh, (3.2.18)
де L – визначається за формулою (3.2.17); h – звичайно дорівнює товщині пласта, що підлягає ГРП, м.
Питомий розподіл закріплювача (кг/м2) в тріщині можна розрахувати за емпіричними залежностями
m>пс>= 4+40 (m-0,09) для m <= 0,11, (3.2.19)
де m = 0,070,20 – пористість породи, частки одиниці.
Масу закріплювача (піску) (т), потрібну для закріплення тріщин, розрахуємо так:
M>пс> = S>тр>m>пс>/1000. (3.2.20)
Як випливає з рівнянь (3.2.19) і (3.2.20), у міцних породах малої пористості кількість закріплювача (піску), необхідна для закріплення тріщин, значно менша, ніж у м’яких породах з великою пористістю.
Об’єм рідини для ГРП і концентація піску. Під час ГРП у свердловину послідовно нагнітають ньютонівську малов’язку рідину розриву пласта, буферну та рідину-пісконосій, що характеризується однаковими властивостями, які звичайно мають не тільки більшу в’язкість, але й часто неньютонівські властивості. Наприкінці запомповують малов’язку протискуючу рідину.
Об’єм малов’язкої рідини розриву звичайно V>р.р>=20…30 м3.
Об’єм буферної рідини, яка знаходиться перед рідиною-пісконосієм, повинен забезпечити розкриття тріщин на ширину в 3…5 разів більшу, ніж діаметр закріплювача, а це 3…5 мм.
Наближено об’єм буферної рідини можна визначити так:
V>б.р.>=(0,1…0,3) V>р.п.>, (3.2.21)
Об’єм рідини пісконосія
V>р.п.>=103М>пс> /К>пс>, (3.2.22)
де К>пс> – концентація піску в рідині-пісконосію, кг/м3.
Оптимальна концентрація піску в рідині-пісконосію залежить від швидкості падіння зернинок закріплювача u.
Залежність швидкості падіння піщинок діаметром 0,8 мм від в’язкості рідини за даними запишемо у вигляді
u= 638-0,73, (3.2.23)
де u – швидкість падіння, м/год; - в’язкість мПа . с.
Концентацію піску (кг/м3) визначають за формулою
К>пс> =4000/u (3.2.24)
Об’єм протискуючої рідини (м3)
V>п.р.>=0,785 (H>т>d2>в.т>+(H-H>т>)D2>в.к>), (3.2.25)
де H>т >– глибина спуску НКТ з пакером, м; H – глибина залягання пласта, що підлягає ГРП, м; d>в.т> і D>в.к> – внутрішні діаметри НКТ і експлуатаційної колони, м.
Р
(3.2.26)

озміри тріщини ГРП. Залежність для розрахунку півдовжини одного
крила вертикальної двосторонньої тріщини рідиною, яка фільтрується, має такий вигляд
де L – півдовжина тріщини, см; V>р.п> - об’єм рідини-пісконосія, см3; q>m> – витрата рідини під час закріплення тріщин (q>Р4 >, q>m>), см3/с; - в’язкість рідини мПа . с; h- товщина пласта, см; m- пористість породи, частка одиниці; k- проникність породи, см2.
р>б>=( Р>с>+Р>0>)/2 (3.2.27)
де р>б> – бічний гірничий тиск, Па; Р>с> =Р>pm>-P>пл>. і Р>0> =Р>0 >-P>пл> .
Б
(3.2.28)
ічний гірничий тиск оцінюють також за формулою

де р>б> – теоретичний бічний гірничий тиск, МПа; - коефіцієнт Пуассона, звичайно =0,25; H- глибина пласта в свердловині, м; >п> – густина породи, кг/м3; g=9,8 м/с2.
Вважають, що утворення тріщини можливе, якщо перепад між тиском у свердловині та пластовим тиском був більшим, ніж бічний гірничий тиск Р>с>> р>б>.
Якщо в’язкість рідини-пісконосія близька до в’язкості пластової рідини, то для одержання прийнятних розмірів тріщини у чисельник формули (3.2.26) вводимо коефіцієнт умовного збільшення в’язкості, прийнявши
= 4. (3.2.29)
Ш
(3.2.30)

ирину тріщини розраховують за формулою
де – коефіцієнт Пуасона для гірських порід (=0,25); - ширина тріщини, см; Е – модуль Юнга для гірських порід (Е 104 Мпа).
К
(3.2.31)

ількість насосних агрегатів для ГРП визначають, виходячи з відомих Р>р.г>, q>m>, характеристики одного агрегата Р>а1>, q>а1> і технічного стану агрегатів Ка1 0,5…0,9:
Тривалість проведення ГРП наближено оцінюють за такою залежністю:
t=1440(V>p>>.>>p>+V>б.р.>+V>р.п>+V>пр>)/q>m> (3.2.32)
Т
(3.2.33)
ехнологічну ефективність ГРП з вертикальною тріщиною у вигляді кратності росту дебіту після ГРП оцінюють за І.В.Кривоносовим з умови припливу до свердловини з радіусом горизонтальної тріщини, еквівалентним частині її півдовжини L, R>тр>=0,25L:

де Q>гр> і Q>0> – відповідно дебіти після і до ГРП; R>к >– радіус контура живлення, r>с>- радіус свердловини.
Якщо свердловина має забруднену привибійну зону, приймаємо за r>с> приведений радіус свердловини r>с >= r>пр>.
3.3 Розрахунок ГРП
Таблиця 3.3.1. Вихідні дані для розрахунку ГРП
Параметр |
Значення |
|
Діаметр експлуатаційної колони, мм |
168 |
|
Товщина стінки, мм |
9 |
|
Тиск обпресування, Мпа |
18 |
|
Верхні і нижні отвори перфорації, м Нв.п Нн.п |
1840 1900 |
|
Товщина пласта, що підлягає ГРП,м |
14 |
|
Пластовий тиск, Мпа |
25,1 |
|
Пластова температура, 0С |
77 |
|
Пористість порід,% |
16 |
|
Середня проникність,мкм2 |
0,003 |
|
Поточна обводненість,% |
0 |
|
Характеристика НКТ Марка Зовнішній діаметр,мм Товщина стінки,мм Глибина спуску,м |
Е 89 6,5 1870 |
|
Тип насосного агрегата |
УН1-630х700А(4АН-700) |
|
Максимальний робочий тиск,МПа |
70 |
|
Приймальність агрегата, при Р=70 МПа, м3/добу |
552,96 |
|
Приймальність агрегата, при Ро=20 МПа, м3/добу |
250 |
|
Дебіт свердловини, тис. м3/добу |
20 |
При ГРП застосовують такі рідини: рідина розриву та протискуюча рідина – водний розчин 0,2% неонолу густиною >р.р.>=1000 кг/м3; буферна рідина і пісконосій – водний 0,4% розчин ПАА в’язкістю >р.п.>=40 мПа с, густиною >р.п.>=1000 кг/м3.
I.Розрахуєм тиск та витрату рідини під час ГРП.
В

изначимо середню глибину інтервалу перфорації:
Р


озрахуємо тиск на вибої Ро під час випробування свердловини на приймальність з тиском на гирлі Рог. Оскільки для цього застосовують малов’язку рідину з невеликою витратою q>o>=250 м3/добу то гідравлічні витрати незначні приблизно в 89 мм НКТ.
Отже витрати приблизно дорівнюють 0,006+0,00023=0,01 Мпа/100м.
Отже тиск на вибої:
3
.Знайдемо
початковий коефіцієнт приймальності
свердловини для відомих значень q>о>
і Р>о>.

4. Розрахуємо очікуваний тиск на вибої під час ГРП при чотирикратному рості приймальності за формулою (3.2.7). Для цього спочатку розрахуємо tg за формулою (3.2.8) значення
О

чікуваний
максимальний тиск під час ГРП
Р>рм >=1,06 . Р>р4> = 1,06 . 47,034 = 49,86 МПа
5
.
Визначимо очікувану максимальну витрату
рідини для ГРП за формулою (3.2.15), прийнявши
Аq=6,7
для рідини в’язкістю >р.п>
= 40 мПа . с
6.Розрахуємо тиск на гирлі свердловини (на насосних агрегатах) під час нагнітання в пласт рідини розриву за рівнянням (3.2.16)
Р>р.г.> = Р>р.>>m> + Р>гс.т.> + Р>втр>.
7
.Гідравлічні
втрати складаються з втрат у 89 міліметрових
трубах і втрат у 168 міліметровій колоні.
Розрахуємо їх для турболентного режиму
в трубах
і в обсадній колоні:
О
тже
гідравлічні витрати:
Р>втр>.=Р>втр.т.>+Р>втр.к>=8,92+0 = 8,92 Мпа
Таким чином, за формулою (3.2.16)
Р>р.р.г> = 49,86 – 18,34 + 8,92 = 40,44 МПа
9. Визначимо тиск під час нагнітання в пласт буферної рідини. Для цього спочатку розрахуємо гідравлічні втрати в НКТ і в колоні за такими ж формулами, що й під час нагнітання рідини розриву. Аналізуючи розрахунки п.7 бачимо, що гідровитрати під час нагнітання в’язкої рідини з >б.р> = 40 мПа с і >б.р> = 1000 кг/м3 будуть більші ніж при нагнітанні води:
(>б.р>)0,25 = 400,25 =2,515.
Отже, витрати в НКТ будуть збільшені в 2,515 разів, а саме:
Р>втр.т> = 0,477 . 18,7 . 2,515 = 22,43 МПа;
Р>втр.к> = 0 . 2,515 = 0 МПа;
Р>втр> = 22,43 +0=22,43 МПа.
Очікуваний тиск на гирлі під час нагнітання буферної рідини
Р>б.р.г> = 49,86 – 18,34 + 22,43 = 53,95 МПа.
10. Тиск під час нагнітання рідини-пісконосія визначаємо з урахуванням впливу піску на гідравлічні витрати.
Для цього вирахуємо густину та умовну в’язкість суміші рідини з піском.
Густина суміші

де С>пс> =90 кг/м3 – концентрація піску в рідині;
>б.р.> – густина буферної рідини і рідини пісконосія, кг/м3.
О
тже,
Умовна в’язкість суміші
>см>.= >б.р> е (3,18 . 0,034) = 40 е (3,18 . 0,034)=44,6 мПа . с.
Визначимо множник збільшення гідровитрат
(>см>)0,25 = (44,6)0,25=2,584.
Отже, втрати тиску в трубах і колоні
Р>втр.>=0,477. 18,7 . 2,584 + 0 . 2,584=23,05 МПа.
Очікуваний тиск на агрегатах під час закріплення тріщин піском:
Р>р.н.г> = 49,86 – 18,34 + 23,05 = 54,57 МПа.
Таким чином, порівнюючи максимальні очікувані тиски на всіх етапах ГРП, бачимо, що вони менші від практично можливих для застосовуваних насосних агрегатів УН1-630х70А (4АН-700) тисків на 60 МПа. Тому ГРП у свердловині наявними технічними засобами – можливий.
II. Розрахуєм об’єм рідини для ГРП і масу закріплювача тріщин (піску).
1.Визначимо потрібну півдовжину вертикальної тріщини, яка має забезпечити оптимальний приріст дебіту за формулою (3.2.17)
L=143 k-0,27 = 143 . 3-0,27 = 106 м.
2.Поверхня фільтрації двох півдовжин тріщини за (3.2.18)
S>тр> = 2 Lh=2 .106 .14 = 2968 м2.
3.Потрібний питомий розподіл закріплювача в тріщині за (3.2.19)
m>пс>= 10+100 (0,16-0,11)=15 кг/м3 >.>
4.Маса піску, необхідна для закріплення тріщини, згідно з (3.2.20)
M>пс> = 2968 . 15/1000 = 44,52 т.
5.Об’єм рідини розриву розраховуємо відповідно до потреби дослідження на приймальність зі зростаючою витратою рідини і початковим розкриттям тріщин. Звичайно V>р.р> = 20…30 м3 малов’язкої рідини.
6. Об’єм рідини-пісконосія визначаємо, виходячи з потрібної маси піску і допустимої його концентрації.
За рівнянням (3.2.23) і (3.2.24) рекомендована концентрація піску
К>пс> =4000/638-0,73= 6,27 >р.н.>-0,73
Для >р.н >= >б.р.>= 40 мПа . с знайдемо
К>пс> =6,27 .14,77=92,6 кг/м3
Приймемо допустиму концентрацію піску К>пс> =90 кг/м3.
Об’єм рідини-пісконосія визначаємо за залежністю (3.2.22)
V>р.п.>=103.44,52 /92,6=480,78 м3
7. Об’єм буферної рідини знаходимо за умовою
V>б.р.>=0,3 V>р.п.>=0,3. 480,78 = 144,23 м3
8. Об’єм протискуючої рідини розрахуємо за формулою (3.2.25)
V>п.р.>=0,785 (1870 . 0,0762+(1840-1870)0,1682)=0,785 . 9,95=7,814м3
Таким чином, під час ГРП у свердловину буде запомповано послідовно рідини розриву – 30м3, буферної рідини – 144,23 м3 , рідини-пісконосія 480,78 м3, протискуючої рідини – 7,814 м3, піску – 44,52 т.
III. Розрахуємо розміри тріщини які утворюються під час ГРП.
Додаткові дані: коефіцієнт Пуассона для порід =0,25, а молуль Юнга Е=104МПа. Густина порід >п>=2600 кг/м3.
Попередньо обчислюємо бічний гірничий тиск за залежністю (3.2.27):
р>б>=( Р>с>+Р>0>)/2
Знайдемо Р>0> – перепад тиску між свердловиною і пластом, напочатку розкриття тріщин, який дорівнює репресії на пласт на вісрі тріщини в глибині пласта
Р>0>=Р>0 >-Р>пл>=38,513-25,1=13,413 МПа.
Перепад тиску між Р>с >вибоєм свердловини і пластом під час ГРП
Р>с>=Р>Р>>m>> >-Р>пл>=49,86-25,1=24,76 МПа.

Отже,
Р>б>=(24,76+13,413)/2=19,09 МПа.
Д
ля
ідеально пружних порід з теоретичних
міркувань бічний гірничий тиск можна
вирахувати за формулою (3.2.28)
З визначених двох значень беремо більше, або Р>б>=19,09 МПа
Розрахуємо півдовжину тріщини,
що утворюється під час нагнітання рідини
розриву за таких умов: V>р.р>=30
м3=30 .
106 см3,
q=3100
м3/добу=35879,6
см3/с,
>p>>.>>p>=1мПа
. с=0,001 Па .
с, h=14
м = 1400 см, h2=1,96
. 106
см2,
m=0,16,
k=0,003
.108
см2, >ум
>= 4
= 0,004 мПа . с.
П
ідставивши
у формулу(3.2.26), знайдемо
Ширина такої тріщини за (3.2.30) становить
Очевидно, тріщини такої ширини практично неможливо закріпити піском. Для збільшення розмірів тріщини нагнітаємо в’язку буферну рідину без піску за умовами і розрахунками попередніх розрахунків, тобто Vб.р.=144,23 м3=144,23 . 106 см3.
Півдовжина тріщини, що утвороюється під час нагнітання в’язкої буферної рідини,
Ширина тріщини

Таким чином, після нагнітання буферної рідини тріщина розкрита достатньо широко і розвинута глибоко.
Розрахуємо розміри тріщини, яка утвориться після надходження в пласт вслід за буферною рідиною рідини-пісконосія.
Додаткові вхідні дані:
V=V>б.р>+V>р.п >=144,23 + 480,78 = 625,01 м3=625,01 . 106 см3.
П
івдовжина
тріщини
Ширина тріщини

Ширина тріщини, очевидно, в декілька разів завищена. Оцінимо об’єм тріщини та порівняємо його з об’ємом закріплювача в кількості 44,52 т. Врахуємо, що питомий об’єм піску в тріщині дорівнює 1,6 м3/т. Об’єм піску, використаного під час ГРП,
V>пс> = М>пс> /1,6 = 44,52/1,6 = 27,825 м3.
Oб’єм тріщини
V>тр> = S>тр>. >р.н.>= 2L>р.п>h>р.п >= 2 . 50,62 . 14 . 0,024=34,02 м3
Таким чином, об’єм тріщин, що розкриваються, може вмістити значно більше піску, ніж запомповано з рідиною-пісконосієм.
Щоб заповнити утворений об’єм тріщини нам потрібно збільшити масу піску. Необхідна маса піску буде:
М>пс>= V>тр >. 1,6=34,02 .1,6 54,43 т.
Визначим тривалість проведення ГРП без підготовчо-завершальних робіт за формулою (3.2.32)
t=1440 (30+144,23+480,78+10,42 )/3100 = 309 хв = 5,15 год.
Т
ехнологічну
ефективність ГРП оцінимо за І.В.
Кривоносовим за формулою (3.2.33)
Отже, дебіт після ГРП зросте на 1,74 і буде становити
Q>грп> = Q>o> . 1,74 = 20 . 1,74 = 34,8 тис. м3/ добу.
К
ількість
насосних агрегатів розрахуємо за
формулою (3.2.31)
Отже нам потрібно 5 насосних агрегатів УН-630х700А (4АН-700).
Для проведення процесу ГРП потрібно забезпечити на свердловині наявність слідуючої спецтехніки (Табл.3.3.2)
Таблиця 3.3.2
|
Вид спецтехніки і транспорту |
Тип спецтехніки |
Кількість |
|
Агрегат насосний |
4АН-700 |
5 |
|
Цементний агрегат |
ЦА-320 |
6 |
|
Автоцистерни |
АЦ-10(рейсів) |
|
Піскозмішувальний агрегат |
УСП-50 |
1 |
|
Резервуари |
Резервуар, 100м3 |
7 |
|
Блок маніфольда насосного агрегату |
1БМ-700 |
1 |
|
Станція контролю |
СКЦ-2М |
1 |
|
Вантажні автомобілі |
ГАЗ-66, МАЗ, Урал |
|
|
Паливозаправник |
АТЗ-3,8 |
1 |
4. Забезпечення життєдіяльності і охорона навколишнього середовища
4.1 Основні проблеми забезпечення життєдіяльності і їх комплексна
оцінка на даному родовищі
Охорона праці на морській стаціонарній платформі включає в себе такі положення:
- загальні вимоги;
- евакуація персоналу;
- індивідуальні і колективні рятувальні засоби;
- протипожежний захист.
Загальні вимоги:
- на МСП в виробничих приміщеннях на видимих місцях розміщені схеми розташування трубопроводів і запірного обладнання на експлуатаційних комунікаціях;
- після шторму обслуговуючий персонал, який назначений начальником, майстром МСП, обстежує стан обладнання, стояків, посадочних площадок тощо. Результати огляду зафіксовують в журналі технічного стану обладнання і приймають міри по усуненню виявлених порушень;
- для паління на МСП відведені спеціально облаштовані для цього місця в житловому блоці;
- у випадку газопрояву або відкритого фонтанування на любій свердловині МСП всі вогненебезпечні роботи повинні бути припинені;
- у нічний час при сильному штормі і тумані на МСП необхідно включити сигнальні вогні безпеки навігації;
- кожний робітник МСП в обов’язковому порядку має получити від керівництва книжку і службовий номер, в якій вказані сигнали тревог і його обов’язки при тревозі;
- всі робітники МСП повинні бути навчені:
а) плаванню;
б) вмінням надавати першу допомогу;
в) правилам поводження з рятувальними засобами;
г) практичним діям по сигналам тревог;
- персонал МСП повинен знати місце і дії по сигналам тревоги, а також місця розташування рятувальних засобів, вміти користуватися колективними та індивідуальними рятувальними засобами.
Евакуація персоналу МСП включає:
- робочі площадки і приміщення на МСП мають не менше двох евакуаційних виходів (основний і аварійний);
- двері на шляхах евакуації не повинні мати заторів і повинні відкриватися в сторону руху по шляху евакуації;
- шляхи евакуації, місця розміщення колективних рятувальних засобів, включаючи обладнання для спуску на воду, а також поверхня моря в місці спуску в нічний час мають бути забезпечені освітленням;
- шляхи евакуації вказані стрілками. Персонал МСП розписаний по рятувальним шлюпкам і плотам;
- персонал МСП необхідно попередньо проінструктувати і практично навчити заходам, які необхідні при евакуації з платформи. Команду “евакуація” подає начальник МСП або людина, що його замінює. Він же попереджує чергові кораблі і вертольоти, а при необхідності посилає “Міжнародний сигнал біди” (S.O.S). Начальник платформи, майстер, радіст залишають МСП останніми.
Індивідуальні і колективні засоби включають:
- рятувальні круги, встановлені по одному кругу через 20 м по периметру огородження;
- рятувальні жилети для кожного з робітників;
- рятувальні плоти і мотобот.
Протипожежний захист включає:
- автоматична і ручна пожежна сигналізація;
- первинні знаряддя пожежотушіння (які повинні бути в справному стані), що розміщені в легкодоступних місцях;
- приміщення для зберігання засобів пожежотушіння;
три комплекта тепловідбиваючих костюмів, які зберігаються в спеціально відведених місцях.
Забезпечення безпеки технологічних процесів при проведенні ГРП Гідравлічний розрив пласта (ГРП) являє собою один з найбільш ефективних способів дії на привибійну зону сердловин. Специфічною особливістю ГРП є застосування обладнання, працюючого під високим тиском.
Для закачування в свердловину рідини під високим тиском використовують насосні агрегати (4АН-700, 5АН-700, АзИНМАШ-30А та ін.).
Важливою умовою безпеки при використанні насосних агрегатів є встановлення на насосах заводських тарированих запобігаючих пристроїв і манометрів.
При обслуговуванні піскозмішувальних агрегатів виникає небезпека падіння в бункер при відсутності сіток на них, а також падіння з висоти при поломці майданчиків і дробин з перилами для підйому на бункер. Гирло свердловини при ГРП обладнують спеціальною арматурою.
Для заміру і регістрації тиску при ГРП до арматури мають бути приєднані показуючий і реєструючий манометри, винесені за допомогою імпульсних трубок на безпечну відстань.
Велике значення мають також підготовчі міроприємства. Територія біля свердловини має бути очищена і по можливості вирівнена. Всі предмети, які заважають розміщенню обладнання і прокладці трубопроводів, мають бути забрані, а під’їздні шляхи до свердловини приведені до порядку.
Перед проведенням роботи необхідно перевірити справність обладнання, запобіаючих пристроїв та всіх пристроїв за технікою безпеки.
Обладнання і нагнітальні лінії після їх монтажа на свердловині опресовують на півторакратний тиск від очікуваємого максимального при гідророзриві пласта.
Перед початком робіт по ГРП, так як і перед опресовкою обладнання, всі люди мають бути видалені від гирла свердловини на небезпечну відстань.
Для забезпечення безпеки робіт, установки для ГРП повинні бути розміщені на відстані не менше 10м від гирла свердловини с таким розрахунком щоби кабіни установок не були звернені до гирла свердловини. Відстань між установками повинна бути не менше 1м.
Для захисту людей від шуму застосовують антифони і заглушки
Пожежна безпека
При проведенні гідророзриву пласта виникає пожежна небезпека, пов’язана з застосуванням в якості рідини розриву в’язкої нафти, мазутних сумішей та ін. В зв’язку з цим особливу увагу потрібно звернути на те, щоби над місцем встановлення насосних і піскозмішуючих установок, автоцистерн і ємностей для нафти, а також напірних ліній не проходили силові або освітлюючі повітряні електролінії. Вихлопні труби установок та решта машин, які застосовуються при ГРП, повинні бути обладнані глушником з іскрогасником. На кожній установці і автоцистерні повинні бути вогнегасники.
Для запобігання вибухів і пожеж, підігрівати напірні лінії і пристрої потрібно паром або гарячою водою.
Пожежонебезпечні властивості речовин, які застосовуються при бурінні.
Таблиця 4.1 Пожежонебезпечні властивості речовин
|
Назва речовин та матеріалу |
Температура, С |
||
|
спалаху |
самовозгорання |
загорання |
|
|
Дизельне пальне |
65 |
280 |
– |
|
Мастило для дизельних двигунів |
200 |
300-380 |
230-250 |
|
Бітум нафтовий |
– |
– |
285-354 |
|
Нафта |
20 |
380-531 |
– |
При гасінні пожежі велике значення має правидбне водопостачання, якє треба здійснювати одночасно з будівництвом та підготовкою площадки бурової установки для проведення бурових робіт.
Джерелами спалаху можуть бути механічні та електричні іскри, нагріті поверхні, а також причинами пожежі можуть бути:
порушення технологічних процесів;
порушення протипожежного режиму;
відхід від вимог нормативних документів.
Таблиця 4.2 Первинні засоби пожежогасіння
|
Назва |
ДОСТ, ТУ |
Кількість, шт. |
|
Вогнегасники пінні ОХП-10 |
ДОСТ 16005-701 |
6 |
|
Ящики з піском |
||
|
- 0,5 м3 |
– |
4 |
|
- 1 м3 |
– |
1 |
|
Лопати |
ДОСТ 3620-76 |
6 |
|
Лом пожежний |
ДОСТ 16714-71 |
4 |
|
Сокира пожежна |
ДОСТ 16714-71 |
4 |
|
Багор пожежний |
ДОСТ 16714-71 |
4 |
|
Відро пожежне |
ТУ-220 |
6 |
|
Щит пожежний дерев’яний |
ТУ-220 |
4 |
Для гасіння пожеж в якості вогнегасних засобів використовують воду у вигляді компактних струменів пари, або в розпиленому вигляді, інертні гази (азот, піни), порошки, пісок та інші.
4.2 Екологічна оцінка основних забруднювачів моря і розробка заходів
з їх профілактики
Проектуючи МСП та інші об’єкти родовища, належить розробляти цілий комплекс заходів для уникнення нанесення шкоди навколишньому середовищу при їх будівництві та експлуатації.
Маючи це на меті, треба забезпечити:
- природну екологічну рівновагу;
- охорону рибних запасів;
- герметизацію систем збору, підготовки і транспортування продукції свердловин;
- нейтралізування небезпечних властивостей газових викидів;
Технологічні комплекси мають бути спроектовані так, щоб обладнання, встановлене на МСП для захисту навколишнього середовища, забезпечувало:
- збирання, очищення і спалювання продукції свердловин, що отримується в процесі освоєння;
- очищення господарсько-фекальних стоків;
- збирання і вивезення на берегові очисні споруди господарсько-побутових стічних вод;
- збирання і відкачка на очисні споруди виробничо-дощових і стічних вод;
- збирання у контейнери сміття, хімічно відпрацьованого глинистого розчину, шламу;
- спалювання газу, збирання і відкачування рідини при операціях, що мають за мету відновлення пропускної здатності підводних трубопроводів при розрядженнях свердловин і обладнання та при аварійних викідах газу.
В процесі облаштування, розбурення і експлуатації родовищ необхідно здійснювати комплекс заходів з охорони надр і довкілля.
Охорона повітряного басейну включає в себе забезпечення герметизованої системи збору, підготовки і транспортування газу і газового конденсату, що досягається за допомогою герметизованого блочно-комплексного обладнання і регулюючої апаратури для попередження неконтрольованих викидів в атмосферу.
Охорона водних ресурсів, а також раціональне їх використання передбачає такі заходи:
- забезпечення збору, переробки і захоронення технологічних відходів процесу буріння свердловин шляхом використання закритих систем циркуляції бурового розчину;
- забезпечення збору, утилізації або захоронення робочих рідин, які використовувались в процесах поточного і капітального ремонту свердловин;
- забезпечення високої надійності морських і наземних трубопроводів для збору, транспорту газконденсату і газу;
- забезпечення надійного захоронення стічних вод в поглинаючі горизонти по закритій системі.
Охорона надр при розбурюванні і розробці родовища включає:
- недопущення відкритого фонтанування і викиду, обвалу стовбура свердловини;
- забезпечення якісного розкриття продуктивного горизонту і подальшого освоєння свердловин;
- проведення необхідного комплексу геофізичних та інших методів дослідження;
- забезпечення якісного розмежування пластів, герметичності колон, захищених від корозії;
- дотримання режимів роботи експлуатаційних і нагнітальних свердловин;
- проведення передбачуваних комплексів досліджень свердловин для контролю за розробкою родовища і станом свердловин;
- забезпеченя своєчасного проведення ремонтно-ізоляційних робіт.
Разом з газом на поверхню піднімається значна кількість мінералізованої пластової води, яка в подальшому відокремлюється і становить основну частку стічних вод.
Стічні води характеризуються високою мінералізацією, лужністю, наявністю механічних та органічних домішок. Тому їх надмірне нагромадження на промислах та скидання у природні водоймища загрожує значним порушенням екологічної рівноваги, викликає необхідність утилізації. Водночас розробка більшості родовищ вимагає підтримання пластового тиску, а саме як робочий агент для цього доцільно використовувати стічні води. При закачуванні їх зберігається проникність продуктивних колекторів, які вміщують глинисті частинки та алевроліти.
В зв`язку з великим об`ємом сильно мінералізованої води для запобігання забруднення поверхневого шару вода по системі трубопроводів подається в водоприймальні свердловини Штормового родовища.
В результаті проведення інтенсифікаційних робіт рідини, що залишились також утилізуються шляхом закачки їх в приймальну свердловину.
5. Техніко-економічне обгрунтування
5.1 Техніко-економічна ефективність освоєння родовища
Організація робіт при проведенні ГРП
Гідравлічний розрив пласта (ГРП) – один з основних методів дії на привибійну зону.
Суть ГРП полягає у створенні нових або розширенні існуючих тріщин у пласті шляхом закачки рідини в свердловину під високим тиском і подальшому закріпленні їх розклинюючим високопроникним матеріалом (піском).
Підготовчі роботи і сам процес ГРП містить такі операції:
промивають свердловину;
спускають у свердловину високоміцні НКТ з пакером і якорем на нижньому кінці;
об’язку виконують за схемою (див.графічний матеріал);
проводиться опресовка всього обладнання, що працює під тиском на півторакратний очикуваємий тиск;
визначають приймальність свердловини закачуванням рідини;
закачують по НКТ у пласт рідину-розриву, рідину-пісконосій і протискуючу рідину (властиво гідророзрив);
демонтують обладнання;
пускають свердловину в роботу.
Кошторис проведення робіт. Згідно з планом на проведення гідророзриву пласта на родовищі Штормове складаємо наступний кошторис (табл. 5.2.1), за допомогою якого визначаємо вартість проведення процесу.
З досвіду проведення гідророзриву пласта на родовищах континентального шельфу Чорного і Азовського морів, які розробляються “Чорноморнафтогазом”, тривалість проведення процесу разом з підготовчими роботами складає 3 доби.
Тривалість використання вертольоту МІ-8 - 0.7 години. Послуги флоту не залежать від об’єму вантажу, що перевозиться - оплачується в цьому випадку рейс обслуговуючого судна і його рейд на час проведення робіт для своєчасної евакуації робітників при виникненні аварійної ситуації.
Таблиця 5.1 Вартість проведення робіт
|
Назва |
Питома |
Величина |
|
витрат |
вартість |
витрати, грн. |
|
Зарплата робітникам |
0,77 тис.грн/доб |
2 310 |
|
Вартість процесу ГРП |
–– |
40 000 |
|
Енерговитрати |
1800 грн/міс. |
180 |
|
ВСЬОГО ( прямі витрати ) |
— |
42 490 |
|
Накладні витрати |
10.3% |
3361,8 |
|
планові накопичення |
15% |
4895,8 |
|
послуги флоту |
— |
5400 |
|
використання МІ-8, |
1077.5 грн/год |
754.6 |
|
В С Ь О Г О, тис.грн |
тис.грн |
56,9 |
Розрахунок річної економічної ефективності
Розрахунок економічної ефективності процесу ГРП проводимо з умови збільшення дебіту свердловини. Знаходимо дебіт газу після проведення ГРП

де Q>0> – дебіт до проведення ГРП;
- коефіцієнт технологічної ефективності.
Т
оді
Виходячи з цього визначимо дебіт свердловини після ГРП
Q>ГРП> = 1,74 . 20,17 = 35,0958 тис. м3/добу
Розрахуємо додатково видобутий об’єм газу:

де k>п> – коефіцієнт, що враховує падіння дебіту, k>п> = 0,5.

Визначимо економічну ефективність від проведення ГРП:

де Ц, С>Г> – відповідно ціна і собівартість газу, грн;
Z – вартість проведення ГРП, грн. (згідно кошториса).
Ціна газу і собівартість видобутку газу взяті за даними по ДАТ “Чорноморнафтогаз” на 15.03.2000 року і складають:
Ц = 81 $/тис.м3 - ціна газу;
С>г> = 51 % від ціни газу, тобто С>г >= 41,31 $/тис.м3
Таке велике значення собівартості видобутку газу (в десятки разів більше ніж на суші) пов`язане з тим, що в собівартість входять витрати підприемства на розвідку нових структур сейсмічними дослідженнями і розвідувальним бурінням, придбання нових СПБУ, облаштування родовищ в період дослідно-промислової експлуатації ( встановлення МСП або БК, будівництво підводних трубопроводів, регламентовані і поточні ремонти гідротехнічних споруд і свердловинного обладнання ), зарплата робітників тощо.
При курсі долара 1$ = 5,42 грн, ціна газу Ц = 439,02 грн/тис.м3, а собівартість С>г> = 223,9 грн/тис.м3.
Тоді річний економічний ефект складае:
тис.грн.
З приведених вище розрахунків видно, що прибуток від реалізації додаткового видобутого об`єму газу перевищуе витрати на проведення процесу. Отримане значення економічного ефекту говорить про доцільність проведення інтенсифікації припливу газу шляхом гідророзриву пласта на пізній стадії розробки родовищ.
Висновки
В курсовому проекті розглянуто питання проектування технології експлуатації свердловин на родовищі Штормове.
З кожним роком іде поступове зменшення темпів відбору газу і конденсату. Це пов`язано з погіршеним станом привибійних зон свердловин, які забруднені як породою і конденсатом, так і фільтратом рідин, що застосовуються при проведенні підземних ремонтів; на вибоях свердловин спостерігаються скупчення пластової води і конденсату. Дуже часто трапляються прихоплення колони ліфтових труб піщаними пробками, тобто режим експлуатації свердловин обраний не завжди вірно, значення депресії на пласт перевищуе межу руйнування порід, а недостатньо велика швидкість підйому флюїду на поверхню сприяє осіданню піска на вибої.
Свердловини потребують проведення процесів інтенсифікації припливу (СКО, ГРП, водоізоляційні роботи, роботи по вилученню рідинних пробок) для збільшення коефіцієнту кінцевого газовилучення, так як розробка морських родовищ обмежена строком служби платформи, тому для умов Штормового родовища запроектовано гідророзрив пласта (ГРП).
При розрахунку річного економічного ефекту прораховані вартість процесу і прибуток від реалізації додатково видобутих об’ємів газу. Середня вартість процесу складає 40 тис.грн, що набагато перевищує вартість проведення цих робіт на суші, позаяк розташування родовища на морі накладає багато додаткових витрат: витрати на гелікоптер, витрати на флот для перевезення реагентів і інш. Як видно з розрахунків додаткового дебіту, річна економічна ефективність складає 545,97 тис.грн.
Видно, що прибуток від реалізації додаткового видобутого об`єму газу перевищуе витрати на проведення процесу ГРП. Отримане значення економічного ефекту говорить про доцільність проведення інтенсифікації припливу газу за допомогою процесу ГРП.
В роботі приведені розрахунки опорного блоку морської стаціонарної платформи при дії навантажень від вітру і хвилі. Розглянуті дві схеми збору, підготовки і транспортування газу і конденсату до Глібовськоко СПСГ і вибрана друга схема ( попередня підготовка проводиться на МСП, по одному трубопроводу газоконденсатна суміш поступає на Глібовку де проходить комплексна підготовка газу і конденсату ). Розглянуті заходи по охороні праці і довкілля при проведенні ГРП, розрахований запобіжний клапан сепаратору для попередження підвищення тиску в нагнітальній лінії.
Перелік використаної літератури
1. Яремійчук Р.С., Возний В.Р. Освоєння та дослідження сведловин.- Львів: Оріяна-Нова, 1994
2. Довідник з нафтогазової справи./ За заг. ред. В.С. Бойка, Р.М. Кондрата, Р.С. Яремійчука. - К.: Львів, 1996.
3. Бойко В.С. Розробка нафтових і газових родовищ. Львів, 1999р.
4. Амиян В.А., Васильева Н.П. Добыча газа. М., Недра, 1974г.
