Использование компенсаторов в геодезии
Содержание
Введение
1. Что это такое компенсатор, и какая роль в приборах
1.1 Уровни и компенсаторы наклона
2. История. Современное применение компенсаторов в приборах
3. Назначение и принцип работы компенсатора
4. Исследование компенсаторов
4.1 Поверки и исследования нивелиров с компенсаторами
4.2 Определение степени компенсации углов наклона визирной оси
Заключение
Список использованной литературы
геодезический компенсатор уровень нивелир
Введение
В данной курсовой работе мы изучили причины создания и применения такой части геодезических приборов как компенсаторы. Необходимость применения компенсаторов угла наклона возникла из за необходимости точности геодезических работ.
Перед внедрением компенсаторов угла наклона использовались цилиндрические уровни, которые и до сих пор применяются в геодезических приборах для установки частей прибора в горизонтальное или вертикальное положение или для измерения малых углов отклонения элементов прибора от горизонтального или вертикального положения. И у компенсаторов угла наклона и у цилиндрических уровней имеются и достоинства и недостатки, однако, компенсаторы имеют большие преимущества перед цилиндрическими уровнями. При использовании автоматических компенсаторов угла наклона исчезает необходимость постоянного контроля, как для цилиндрического уровня, за пузырьком уровня отклонения прибора от горизонтального или вертикального положения, что делает работу за прибором медленной и менее стабильной. Поэтому использование компенсаторов угла наклона значительно увеличивает точность, скорость и стабильность геодезических работ. Но, как и любой прибор, компенсатор может давать сбой в своих рабочих функциях, и устранить поломку на месте будет невозможно.
1. Что это такое компенсатор, и какая роль в приборах
1.1 Уровни и компенсаторы наклона
Уровни в геодезических приборах служат для установки частей прибора в горизонтальное или вертикальное положение или для измерения малых углов отклонения элементов прибора от горизонтального или вертикального положения. Уровни могут быть съемными (например, накладные или подвесные уровни на горизонтальной оси теодолита) или жестко связанными с прибором. В зависимости от принципа действия уровни подразделяют на жидкостные, электромеханические, маятниковые, «упругие» и т. п.

Основными элементами жидкостного уровня являются его чувствительный элемент (ампула с жидкостью) и оправа для крепления. Жидкостные уровни бывают круглые и цилиндрические. В круглом уровне (рис. 1, а) в качестве ампулы используется стеклянный сосуд 1, верхняя часть которого отшлифована по сферической поверхности. Сосуд заполнен легкоподвижной жидкостью и содержит свободное пространство (пузырек уровня). В цилиндрическом уровне (рис.1, б) ампула представляет собой стеклянную трубку 1, внутренняя поверхность которой отшлифована в виде бочкообразного тела вращения и заполнена жидкостью.
Свободное пространство с парами жидкости (пузырек уровня) обычно составляет 0,3— 0,4 длины ампулы при t = 20 °С. Ампулы 1 уровней заключены в оправы 2, имеющие регулировочные винты 3. Цилиндрические ампулы подразделяют на простые (АЦП), компенсированные (АЦК) и регулируемые (АЦР). При симметричном расположении пузырька относительно нуль - пункта ось цилиндрического уровня занимает горизонтальное положение (осью уровня является касательная к внутренней поверхности ампулы в нуль - пункте).
Угол, на который надо
наклонить ампулу, чтобы пузырек уровня
переместился на одно деление (обычно 2
мм) - называется ценой деления
уровня.
По использованию и назначению различают цилиндрические обычные (односторонние) уровни; реверсивные уровни (со шкалами на двух противоположных сторонах ампулы); контактные (цилиндрический уровень с системой призм и микрообъективов для получения совмещенного изображения концов его пузырька); накладные и подвесные уровни; уровень Талькотта — цилиндрический уровень с элевационным винтом.
Ошибка установки визирной оси в горизонтальное положение с помощью контактного уровня, рассматриваемого без увеличения, вычисляется по формуле профессора А.С. Чеботарева:
.
Если концы пузырька
уровня рассматриваются под увеличением
(например в нивелирах),
.
Величина
.
Цену деления уровня технического нивелира можно рассчитать по формуле:
,
где
—
ошибка взгляда (средняя квадратическая
ошибка превышения на станции); S
— расстояние визирования.
Цена деления высокоточного уровня определяется по формуле:
,
где
—
ошибка установки уровня (для высокоточных
нивелиров принимают
).
Цену деления
высокоточного нивелира можно рассчитать
и по формуле для технического нивелира.
Так, если положить
= 0,2 мм, в соответствии
с ГОСТ 2386—73; S
= 50 м,
,
то получим
(значение
по ГОСТ
).
Цена деления накладного уровня находится из зависимости:

где
—
пренебрегаемо малая ошибка в направлении
из-за неточного отсчета по уровню;
— расчетное максимальное значение угла
наклона визирной линии. Так, для теодолита
типа Т2 при
и
=15°
(по ГОСТ 2386 — 73
).
Основной недостаток применения уровней заключается в том, что при пользовании ими приходиться всякий раз, действуя подъемным или элевационным винтом, устанавливать пузырек на нуль-пункт и следить за неизменностью его положения. От такого недостатка свободны компенсаторы, автоматически устанавливающие линию визирования в требуемое положение с некоторой точностью.
Что такое компенсатор? В общем случае, это устройство, позволяющее воспринимать и гасить движения, температурные деформации, вибрации, смещения, компенсировать недостаток или избыток веса.
Компенсатор – 1. Приспособление в самоустанавливающихся нивелирах для автоматического удержания линии визирования в горизонтальном положении. При наклоне зрительной трубы нивелира на некоторый малый угол (от единиц до десятков минут). Компенсатор возвращает линию визирования в горизонтальное положение. Если угол наклона превосходит допустимую величину угла компенсации, то компенсатор работать не может. Аналогичные приспособления, но с целью автоматического удержания линии визирования в отвесном положении, имеют самоустанавливающиеся отвесы оптические.
Существуют различные устройства компенсаторы, но всякий компенсатор представляет собой механический или гидромеханический маятник, расположенный в зрительной трубе между объективом и окуляром или перед объективом. Кроме маятника в компенсаторе имеется еще демпфер (гаситель колебаний ) – приспособление для успокоения колебаний маятника.
2. Оптическое приспособление в дальномерных насадках (например, Дальномеры оптические, дальномер ДНТ – 2).
3. Оптическое приспособление, заменяющее собой уровень при алидаде вертикального круга теодолита и автоматически сохраняющее значение «места нуля» при малых наклонах вертикальной оси теодолита (например, Теодолит, инструменты ОТШ и Т5).
И призма, и зеркало (Рис. 2. а, б. )подвешиваются внутри компенсатора с одной-единственной целью - чтобы постоянно сохранять горизонтальное положение при любом наклоне нивелира в пределах определенного диапазона. Будет обеспечено строго горизонтальное положение свободно подвешенного кусочка оптического стекла - значит, будет обеспечено и качество строительных или геодезических работ. Из-за неверно определенной высоты не придется заливать лишние кубометры бетона или переделывать трассу ливневой канализации.


Призма подвешена к верхней части корпуса нивелира на двух парах скрещивающихся стальных нитей. Система подвески умножительная: отношение верхней и нижней сторон трапеции, образованной нитями подвески, равно 1/3. Компенсатор снабжен ограничителем, предохраняющим нити подвески от обрывов. Колебания компенсатора гасятся успокоителем (демпфером) поршневого типа. Особенностью компенсатора является то, что в нем мгновенный полюс вращения призмы совмещен с серединой её отражающей грани и с центром тяжести подвески, находящимся на пересечении нитей. Такое устройство обеспечивает постоянство фокусировки и повышение точности работы компенсатора, так как в этом случае сохраняется постоянство расстояния от отражающей грани призмы до сетки нитей при наклонах трубы нивелира.
Возникают вредные для нивелира колебания при работе вблизи автомобильных и железных дорог, при работе на строительных площадках или на верхних этажах зданий, колебания могут быть вызваны резкими порывами ветра и т.д. и т.п. Наклон нивелира также может меняться совершенно произвольно - нивелир крепится на штативе, а ножки штатива легко могут уходить в рыхлый грунт или в размягченный солнцем асфальт. Во всех этих случаях начинает выполнять свою работу устройство под названием компенсатор, одним из узлов которого является демпфер.
Демпфер - слово нерусское, произошло оно от немецкого слова Dampfer, что переводится на русский язык как гаситель колебаний, амортизатор или успокоитель. Возможно, что пришло это слово в русский язык еще в Петровские времена, когда строили славный город на Неве немцы да голландцы. А может, и значительно позже, когда возвращались домой в Россию обученные в Германии да в Голландии молодые русские инженеры.
Сказать наверняка тут можно только одно демпфер - это устройство, предназначенное для гашения колебаний различного типа, в том числе и механических. В применении к нивелирам этот технический термин стал использоваться сравнительно недавно - вместе с появлением оптико-механических компенсаторов, получивших наибольшее распространение.
В настоящее время наибольшее распространение получили оптические нивелиры с магнитным и с воздушным демпфером маятниковой системы компенсатора.
При работе с нивелиром, так же как и с другими оптическими приборами, изображение объекта передается на сетчатку глаза человека через оптическую систему прибора. Пройдя через объектив, луч попадает на приемную призму. Затем луч преломляется приемной призмой и попадает на горизонтально расположенное зеркало. Отражаясь от зеркала, луч попадает на передающую призму, а затем на окуляр (рис. 2. б).
И приемная, и передающая призмы жестко закреплены в корпусе компенсатора, следовательно, жестко соединены с корпусом нивелира. Если нивелир наклоняется - наклоняются и объектив, и окуляр, и призмы. Зеркало, наоборот - свободно подвешено в компенсаторе на четырех торсионах-ленточках и при наклонах прибора каждый раз стремится занять горизонтальное положение, корректируя оптические лучи. Представьте себе обычный отвес, подвешенный на ниточке Если его случайно задеть, то раскачиваться он будет довольно долго. Если придержать его рукой - остановится отвес значительно быстрее. Рука в этом случае выполняет роль демпфера. Так же раскачивается и зеркало, свободно подвешенное внутри компенсатора. Поэтому корпус зеркала конструктивно выполнен в виде маятника, который совершает колебания при наклонах и перемещениях прибора. Верхняя часть маятника изготавливается из магнитных материалов, например, из стального сплава. На определенном расстоянии от верхней части маятника в корпусе компенсатора жестко закреплен постоянный магнит, который и гасит колебания качающегося рядом с ним маятника, следовательно - зеркала.

Конструктивно компенсаторы с магнитным демпфером могут быть изготовлены по-разному, но принцип их работы один - гашение колебаний происходит с помощью магнитного поля. Каждый раз, когда маятник проходит мимо кусочка магнита, магнитное поле тормозит его движение - и так несколько раз до полной остановки маятника. Таким образом, под действием магнитного поля происходят быстрое гашение колебаний зеркала и соответствующая стабилизация изображения в поле зрения нивелира. Характерным представителем автоматических нивелиров с магнитным демпфированием является серия нивелиров С300 фирмы Sokkia (рис. 3).
Принцип работы компенсатора с воздушным демпфером тот же - есть призма или зеркало, которые в подвешенном состоянии всегда стремятся занять горизонтальное положение. Точно так же корпус призмы или корпус зеркала конструктивно изготавливается в виде маятника, совершающего колебания при наклонах нивелира. Только в этом случае магнитное поле в работу компенсатора не вмешивается. Гашение колебаний происходит с помощью груза, расположенного в нижней части маятника. Чем больше масса груза - тем большей инерцией обладает маятник, тем сложнее его раскачать. Конечно же, все маятниковые системы оптико-механических компенсаторов очень тщательно рассчитываются - иначе такая система просто не будет работать. Типичный нивелир с воздушным демпфером - это нивелир Vega L30 производства фирмы SETL (рис.4).

Какой именно нивелир пред- почтительнее использовать - с магнитным или воздушным демпфером - правильнее всего будет решить непосредственно исполнителю в зависимости от типа выполняемых работ, требуемой точности, места проведения работ и многих других факторов. Например, при проведении работ, требующих технической точности, очень хорошо зарекомендовали себя нивелиры с магнитным демпфером. При проведении работ, требующих использования точных нивелиров, часто отдают предпочтение приборам с воздушным демпфером.Не стоит забывать, что конструктивно демпфирующие устройства - как воздушные, так и магнитные, могут быть выполнены по-разному. Качество изготовления компенсаторов также может быть совершенно разным. Зачастую отличная конструктивная идея сводится на нет отвратительным качеством изготовления в условиях коленной сборки или неграмотно, на скорую руку организованного производства. Поэтому при выборе нивелира большое значение имеют не только конструктивные особенности компенсатора, но и качество изготовления предлагаемых заводом-производителем приборов.
2. История. Современное применение компенсаторов в приборах
Нивелир с компенсатором нельзя назвать последней разработкой – первый образец подобного геодезического оборудования был построен еще в 40-х годах прошлого века. Однако, в последующие годы данное оборудование прошло ни одну модификацию прежде чем превратиться в современный нивелир. При использовании механических нивелиров не возникает необходимости быстрого гашения колебаний, при использовании же автоматических нивелиров все происходит с точностью до наоборот. И справляться с этим помогает именно система гашения колебаний. В исправном нивелире зеркало и призма постоянно сохраняют горизонтальное положение, позволяющее обеспечивать высокое качество нивелирной съемки. При этом на прибор действует внешнее окружение: произвольные наклонения прибора (просевшие ножки, неаккуратно задетый штатив и т.д.), колебания почвы (если съемка проводится вблизи железных дорог, метро и др.), сильные порывы ветра и прочее. В каждом из этих случаев включается система гашения колебаний. Это позволяет не только обеспечить высокое качество измерения, но и ускорить процесс съемки – свободно подвешенное внутри аппарата зеркало при воздействии извне будет довольно долго колебаться до момента полной остановки, если не использовать компенсацию. Демпфер в данном случае может быть магнитным или воздушным, и выбор нивелира в первую очередь зависит от требований к съемке.
Появились автоматические нивелиры - появилась и потребность быстро гасить колебания маятниковой подвесной системы компенсатора. Колебания, которые необходимо гасить - это механические колебания призмы или зеркала между призмами - в зависимости от конструкции компенсатора.


Например, призма подвешивается в нивелирах 3Н3КЛ (рис. 5) производства УОМЗ, а зеркало - в нивелирах C410 производства фирмы SOKKIA (рис. 6).
Первый в мире нивелир с компенсатором был изготовлен в СССР в 1946 году.
К высокоточным нивелирам с компенсатором относятся такие нивелиры как Ni002, Ni007, HC2. Это удобные нивелиры. Они повышают производительность труда на 10-15% по равнению с нивелирами с уровнем и облегчают труд нивелировщика. Главная особенность нивелиров с компенсаторами заключается в том, что приведение визирной оси нивелира в горизонтальное положение производится не с помощью контактного уровня, а с помощью специального компенсатора. Этот компенсатор по существу работает в автоматическом режиме т. е. линия визирования на каждой станции как бы самоустанавливается в горизонтальное положение.
В наше время выпускается около 50 типов нивелиров с компенсаторами разных классов точности.
Нивелировщики – практики предпочтение отдают нивелирам с компенсаторами. Очень им нравится нивелир Ni002.

1 — клинообразное защитное стекло; 2 — сетка нитей;
3 — объектив нивелира с компенсатором; 4 — зеркало компенсатора;
5 — переключатель компенсатора; 6 — призма подсветки;
7 — жесткий индекс микрометра; 8 — объектив нивелира;
9 — шкала оптического микрометра; 10 — зеркало;
11 — зеркало установочного уровня; 12 —установочный уровень.

Чувствительным элементом нивелира с компенсатором Ni002 (рис. 8) является специальное двустороннее плоское зеркало, которое находится в подвешенном состоянии в виде маятника в сходящемся пучке лучей, демпфер — воздушный. Благодаря возможности вращения зеркала на 180° вокруг своей вертикальной оси исключаются влияние ошибки за недокомпенсацию в отсчетах по рейке при нескольких положениях зеркала. Кроме компенсатора этот нивелир имеет еще одно дополнительное удобство. Окуляр Ni002 выведен на верхнюю стенку инструмента и может вращаться по азимуту на 240°. Поэтому нивелировщик при наблюдении на переднюю и заднюю рейку остается на одном месте, а не топчется вокруг нивелира.
3. Назначение и принцип работы компенсатора
Вместо уровня в некоторых геодезических измерительных приборах применяется компенсатор небольших углов наклона осей прибора.
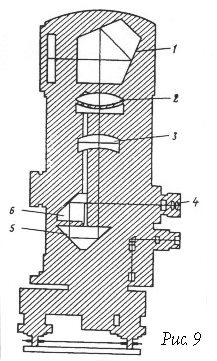
Существуют жидкостные, механические и оптико-механические компенсаторы; наиболее часто применяются оптико-механические компенсаторы, в которых главным узлом является подвесное маятниковое устройство. На этом устройстве укреплены оптические детали или системы, предназначенные либо для изменения направления оси прибора либо для параллельного смещения этой оси. Непременной составной частью оптико-механического компенсатора является демпфер, предназначенный для гашения и ограничения собственных колебаний маятниковой подвесной системы. Приведем схему оптико-механического компенсатора, предназначенного для удержания в горизонтальном положении визирной оси трубы нивелира Ni007 (рис.9).

1. пентапризма для изменения направления горизонтального луча,
2. линза телеобъектива,
3. линза телеобъектива,
4. окуляр,
5. призма, подвешенная на простом физическом маятнике,
6. призма для направления лучей в окуляр 4.
В нивелире русского производства Н3К компенсатор состоит из двух прямоугольных стеклянных призм, одна из которых подвешена к верхней части корпуса трубы на двух парах стальных нитей (рис. 10).

1. корпус трубы,
2. призма, жестко соединенная с корпусом трубы,
3. призма, подвешенная на нитях,
4. нити подвеса призмы,
5. центр тяжести системы,
6. демпфер.
С помощью этих призм изображение рейки передается в плоскость сетки нитей по горизонтальному направлению (S - S) при небольшом наклоне трубы; диапазон компенсируемых углов наклона 7+15', ошибка горизонтальности визирной линии трубы - не больше 0.5"; систематическая ошибка недокомпенсации - не более 0.3" на 1' наклона трубы; время затухания колебаний - не более 2 секунд.
Широкое применение находят геодезические приборы, в которых уровень заменен автоматическим устройством — компенсатором наклона. В теодолитах это компенсатор наклона индекса вертикального лимба, в нивелирах — компенсатор наклона визирной линии. Начальная установка прибора может проводиться грубо, поэтому компенсаторы наклона позволяют повысить производительность работ и в диапазоне ± 10' и более обеспечить необходимую точность установки (чувствительность компенсаторов доходит до 0,2").

Наибольшее распространение получили маятниковые компенсаторы. Компенсировать угол наклона ε зрительной трубы можно различными способами:
1) переместить сетку
нитей из положения Z
в положение
;
соответствующее горизонтальному
направлению визирной линии;
2) изменить направление горизонтального луча визирования таким образом, чтобы он прошел через горизонтальную нить Z смещенной сетки;
3) осуществить
параллельное смещение горизонтального
луча визирования на величину
,
при котором луч пройдет через горизонтальную
нить смещенной сетки.
Компенсацию угла
наклона зрительной трубы можно осуществить
механическим, оптическим или
оптико-механическим способами. Примером
механического компенсатора является
подвешенный на трех стальных нитях диск
с сеткой нитей, представляющий собой
физический маятник. Основное уравнение
компенсации имеет вид:
,
f
- эквивалентное фокусное расстояние
объектива зрительной трубы; S
- длина рычага маятника, несущего сетку
нитей (длина нитей подвески маятника).
Отношение
называется угловым увеличением
компенсатора. В приведенном примере S
= f
и п=1.
Широкое распространение в нивелирах получили оптико-механические компенсаторы. Чувствительный элемент компенсатора представляет собой оптическую деталь (или систему оптических деталей), подвешенную с помощью какой-либо системы подвески. Такими компенсаторами являются компенсаторы с поворотом визирного луча и компенсаторы с параллельным смещением визирного луча.
Оптико-механические
компенсаторы характеризуются
коэффициентами механической
и оптической
компенсации.
Наклон основания маятника, жестко соединенного со зрительной трубой, на угол ε вызывает отклонение его чувствительного элемента от первоначального положения на угол ε ``, величина которого зависит только от механических связей основания маятника с подвижной частью подвески и от свойств материала подвески. Отношение ε``: ε называется коэффициентом механической компенсации KM. Величина KM зависит от выбранного типа подвески и определяется ее параметрами.
Отклонение
чувствительного элемента маятника на
угол
приводит к изменению ориентации
оптической детали относительно
направления визирования, при этом
оптическая деталь изменяет первоначальное
направление линии визирования на угол
,
величина
которого зависит от оптических свойств
подвешенной детали. Коэффициент
компенсации, обусловленный действием
оптических свойств подвешенной детали,
называется оптическим коэффициентом
компенсации
.
Величина
,
зависит от вида и параметров оптической
детали.
Общий коэффициент компенсации К обусловлен действием механических связей и оптических свойств деталей.
В компенсаторах с
поворотом визирного луча в качестве
чувствительных элементов широко
используются подвешенные отражающие
поверхности. В случае одного подвешенного
зеркала
.
Общий коэффициент
компенсации К для системы компенсации,
состоящей из п подвижных и т неподвижных
зеркал при нечетном числе отражений,
определяют по формуле:
.При
наличии точек системы с четным числом
отражений от неподвижных и подвижных
зеркал формула для К имеет вид:
.
Для поворота визирного луча в компенсаторах применяют также подвешенные линзы.
При наклоне компенсатора
на угол линза наклоняется на угол
,
при этом угол падения φ визирного луча
на линзу составит
,
а угол
,
на который отклонится луч линзой
.
Полный коэффициент компенсации
определяется формулой:
.
Угол ε`отклонение луча линзой при угле падения φ луча на линзу зависит от типа и параметров линзы. Для линзы типа менаска толщиной d, обращенного к падающему лучу выпуклой стороной, имеющему радиусы кривизны r1 и r2 и показатель преломления n:

В практике применяют большое разнообразие подвесок маятниковых компенсаторов. Наиболее простым видом подвески является физический маятник, положение которого не меняется при наклоне базы. На точность установки такого маятника в отвесное положение влияют силы трения в опорах оси вращения маятника, которые должны быть минимальными. Лучшие результаты дают подвески с опорами на центрах, на кернах, на ножевой опоре, а также магнитная подвеска. Применяют упругие подвески на эластичной пружине, торсионные подвески на упругой закрученной нити или ленточке, но наиболее распространенным видом подвесок является подвеска на тонких металлических нитях. Существуют несколько схем подвесок оптической детали компенсатора на нитях – подвеска на параллельных нитях, на скрещивающихся нитях, на нитях в форме трапеции.
Для успокоения собственных свободных колебаний чувствительного элемента компенсаторов применяются устройства, которые называются успокоителями или демпферами. В качестве успокоителей колебаний обычно применяют воздушные или электромагнитные демпферы.
При расчете демпфера
исходными параметрами являются: диапазон
работы компенсатора
;
порог чувствительности маятника δ;
время успокоения
маятника (время успокоения регламентируется
по ГОСТ 10528-76 и не должно превышать 2 с.).
4. Исследование компенсаторов
4.1 Поверки и исследования нивелиров с компенсаторами
Программа поверок и исследований нивелиров с компенсаторами отличается от программы для уровенных нивелиров лишь тем, что в ней вместо пунктов г), е), и), и м), связанных с использованием цилиндрического уровня и элевационного винта, включены следующие поверки и исследования, связанные с наличием компенсатора:
а) определение диапазона действия компенсатора;
б) определение времени затухания колебаний маятника компенсатора;
в) определение степени компенсации углов наклона визирной оси;
г) поверка горизонтальности линии визирования;
д) исследование параллельности хода фокусирующей линзы.
Диапазон действия компенсатора определяют при помощи рейки или коллиматора. Определение производят как для продольных, так и для боковых наклонов нивелира.

При помощи экзаменатора производят продольный или боковой наклон нивелира в обе стороны от нульпункта до момента зависания маятника компенсатора. Зависание маятника фиксируют в момент резких изменений отсчетов по рейке или по коллиматору (сетка нитей нивелира начинает перемещаться вместе с наклоном нивелира). Величину угла наклона нивелира определяют по показаниям шкалы винта экзаменатора.
4.2 Определение степени компенсации углов наклона визирной оси
Компенсатор не должен иметь перекомпенсации или недокомпенсации. Степень компенсации углов наклона визирной оси определяют по превышениям, измеренным на станции, при длине визирного луча 10, 20, 30, …, 100м и при различных углах продольного и поперечного наклона нивелира. Для этого нивелир устанавливают в створе между рейками на равных расстояниях от них; рейки закрепляют отвесно.
Превышения определяют по двум шкалам реек при следующих вложениях оси вращения нивелира:
а) при положении пузырька установленного уровня на нуль пункте (α=0);
б) при продольном положительном угле + α и + α/2 наклона трубы;
в) при продольном отрицательном угле –α и –α/2 наклона трубы;
г) при боковом положительном (например вправо) угле +β и +β/2 наклона трубы;
д) при боковомотрицательном (например влево) угле -β и -β/2 наклона трубы нивелира.
Углы ± α и ± β устанавливают при
помощи подъемного винта, цена оборота
которого определена в угловой мере на
экзаменаторе. Перечисленная программа
измерений составляет один прием. Для
каждой длины визирного луча должно быть
выполнено не менее 5 приемов. По вычисленным
средним из пяти приемов превышениям
,
и др. определяют степень компенсации
углов наклона, отнесенную к одной минуте
наклона, по формуле:
,
где
— эталонное превышение; D
— длина визирного луча;
- наклон трубы в минутах.
Полученная величина
для всех расстояний
не должна превышать ± 0,05" у высокоточных
нивелиров, ± 0,15" - у нивелиров средней
точности и ±0,30" — у нивелиров
технических. В противном
случае
устранить причины большой перекомпенсации
или недокомпенсации можно только в
мастерских. Способы юстировки компенсатора
различны и зависят от типа компенсатора
и его конструкции.
Поверка горизонтальности линии визирования. Линия визирования в пределах диапазона действия компенсатора должна быть горизонтальной.
Эта поверка выполняется
двойным нивелированием так же, как и
поверка второй части главного условии
глухих уровненных нивелиров. Если
,
то условие считается выполненным. В
противном случае перемещением сетки
нитей исправляют отсчет по дальней
рейке.
Исследование правильности хода фокусирующей линзы у труб нивелиров с компенсаторами выполняется так же, как и у труб уровенных нивелиров.
Для нивелиров с компенсатором поверки и юстировки 1 и 2 (круглого уровня и сетки нитей) выполняются так же, как и для нивелиров с цилиндрическим уровнем. Рассмотрим особенности юстировки главного условия.
Визирный луч зрительной трубы должен быть горизонтален в диапазоне работы компенсатора. При выполнении проверки нивелир устанавливают в рабочее состояние по круглому уровню. На второй станции, при нивелировании способом "вперед", наклон визирного луча устраняют перемещением диафрагмы с сеткой ее вертикальным юстировочным винтом, устанавливают среднюю нить на отсчет по рейке, который соответствует горизонтальному положению визирного луча.
Проверяя работу компенсатора, пузырек уровня приводят в нуль-пункт и берут отсчет по рейке, удаленной на 70-80 м от нивелира. Затем подъемными винтами нивелир наклоняют вперед, назад, влево, и вправо на углы, равные отклонению пузырька круглого уровня от нуль-пункта на одно кольцевое деление. Отсчеты не должны изменяться более чем на 1-2 мм. Нивелир исправляют в заводских условиях.
Максимальный диапазон компенсации
современных компенсаторов достигает:
.
Время компенсации доходит до:
.
Заключение
Использование компенсаторов угла наклона существенно повлияло на ход геодезических работ. C применением компенсаторов точность, скорость и стабильность геодезических работ возросла. Компенсатор надежен и именно поэтому это изобретение на сегодняшний день находит применение в практически всех новых геодезических оборудованиях в отличие от цилиндрического уровня.
Компенсаторы существуют в различном многообразии, и виды и конструкции этого изобретения так же применяются в зависимости от рода выполняемых геодезических работ.
Причиной возникновения компенсаторов угла наклона является точность и скорость измерений, и поскольку геодезические приборы стоят не на незыблемой поверхности, а на строительных площадках, вблизи дорог или других поверхностях, что создает вибрации транспорта и различные движения поверхности земли вблизи геодезического прибора, необходимость точных геодезических работ возрастает, и как то компенсировать не идеальность среды удается компенсатору.
Преимущества и недостатки
Преимущества:
- Компенсатор более надежен и легок в эксплуатации по сравнению с уровнем.
- Нарушение работы компенсатора можно исправить или заменить, и работать с прибором дальше.
- Компенсатор дает возможность выполнять геодезические работы с высокой точностью и скоростью.
Недостатки:
- Компенсаторы рассчитаны на работу только в определенных диапазонах наклона. При наклоне, превышающем диапазон работы компенсатора – он работать не будет.
- При переноске и хранении маятниковый компенсатор может «залипать».
- Температура, особенно неравномерный нагрев от солнечных лучей влияет на любые элементы нивелира – в том числе на работу компенсатора. Помимо этого, компенсатор, хотя может исправить незначительные отклонения оптической оси нивелира от горизонтального положения, но с внешними атмосферными влияниями справиться не в силах.
- Для долгой и бесперебойной службы геодезического инструмента важен регулярный и доброствестный уход за ним. Осуществление регулярных своевременных поверок является его частью.
Список использованной литературы
1. Справочное руководство. Под общей редакцией М.Д. Бонч–Бруевича;
2. Геодезия. П.Н. Бруевич, Е.М. Самошких;
3. Основы геодезии и маркшейдерского дела. В.И. Борщ – Компониец;
4. Геодезия. Н.В. Федоров, Ф.А. Коршак;
5. Справочник геодезиста: под редакцией В.Д. Большакова и Г.П. Левчука. 3-е издательство, переработано и дополнено – М.: Недра;
6. Нивелиры с компенсаторами. Кочетов, Ф.Г. Издательство: М.: Недра; Издание 2-е, перераб. и доп.;
7. http://www.gsi.ru/art.php?id=188
8. http://tool1.ru/page/page64.html
9. http://www.mybntu.com/stroika/geodezia.html?start=40
10. http://ru.wikipedia.org/wiki/Нивелир
11. http://www.nivelir.kz/index.php/materialy/131-osobennosty-ekspluatacii-nivelirov-s-kompensatoramy
12. http://www.synergy-gis.com/lib/malkov/3_3.html
1