Ремонт и обслуживание скважин и оборудования для бурения
Содержание
Оборудование фонтанной скважины
Глушение скважин
Виды скважин, способы добычи нефти и газа
Вскрытие пласта в процессе бурения
Практические действия бригады КРС при возникновении
газонефтепроявлений и открытых фонтанов
Причины возникновения газонефтепроявлений
Основные признаки газонефтепроявлений
Категории скважин по опасности возникновении газонефтепроявлений
Причины перехода газонефтепроявлений в открытые фонтаны
Доливная емкость и проведение СПО насосно-компрессорных труб
Спуск и подъем насосных штанг
Общий характер работ текущего ремонта скважин
Ремонт скважин, оборудованных штанговыми
скважинными насосами
Устьевое оборудование скважин, эксплуатируемых штанговыми насосными установками
Борьба с осложнениями при эксплуатации скважин штанговыми насосными установками
Смена ЭЦН
Подготовка к спуску и спуск ЭЦН
Способы ликвидации песчаных пробок в скважинах
Меры по предотвращению осложнений при промывке скважин от песчаных пробок
Талевая система
Вертлюги
Элеваторы
Спайдер
Штропы
Ключи
Механизация процессов СПО
Обсадные трубы. Элементы низа обсадной колонны
Насосно-компрессорные трубы, их назначение и маркировка. Эксплуатация
Насосные штанги. Эксплуатация
Инструменты для ловли и извлечения из скважин НКТ
Инструменты для ловли и извлечения из скважин
насосных штанг, тартального каната, желонки и мелких предметов
Фрезеры и райберы
Пакеры
Якоря
Капитальный ремонт скважин
Исследование скважин
Обследование и подготовка ствола скважины
Исправления дефектов в колонне
Разбуривание цементных пробок, очистка колонны от цементной корки
Ремонтно-изоляционные работы
Тампонирование под давлением через обсадную колонну
Установка цементного моста
Классификация пластовых вод
Изоляция отдельных обводненных интервалов пласта
Исправление негерметичности цементного кольца
Наращивание цементного кольца за колонной
Устранение негерметичности обсадных колонн
Тампонирование под давлением с остановками
Тампонирование под давлением с применением пакера
Установка стальных пластырей
Устранение негерметичности спуском дополнительной обсадной колонны меньшего диаметра
Замена поврежденной части колонны
Устранение негерметичности эксплуатационной колонны доворотом
Аварии, допущенные в процессе эксплуатации и ремонта скважин
Извлечение прихваченных труб
Извлечение труб прихваченных цементом
Ловильные работы с труболовками ТВМ – 1 и ТВМ – 2
Ловильные работы труболовками ТВ
Извлечение упавших труб
Извлечение погружного ЭЦН
Извлечение тартального каната, кабеля и проволоки
Чистка ствола скважины от посторонних предметов
Зарезка второго ствола
Режимы бурения
Промывочные жидкости и борьба с осложнениями
Контроль параметров промывочной жидкости
Борьба с поглощением промывочной жидкости
Борьба с обвалами
Борьба с прихватами инструмента
Цементирование колонны
Методы увеличения производительности скважин
Соляно - кислотные обработки скважин
Гидравлический разрыв пласта
Виброобработка призабойной зоны скважины
Тепловая обработка призабойной зоны скважины
Обработка призабойной зоны скважин поверхностно-активными веществами
Воздействие давлением пороховых газов
Крепление слабосцементированных пород в ПЗП
Освоение скважин
Регулирование работы фонтанирующей скважины
Методы перфорации и торпедирования скважин
Гидродинамические исследования
Геофизические исследования
Геофизические исследования в интервале объекта разработки
Контроль технического состояния добывающих скважин
Геофизические исследования при ремонте нагнетательных скважин
Оценка результатов проведенных работ
Консервация и расконсервация скважин
Ликвидация скважин
Ликвидация скважин без эксплуатационной колонны
Ликвидации скважин со спущенной эксплуатационной колонной
Список литературы
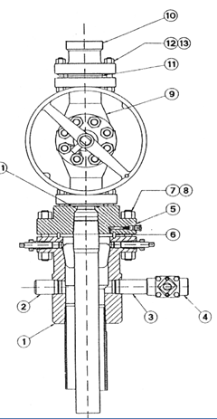
Оборудование фонтанной скважины
Оборудование фонтанной скважины должно обеспечивать герметизацию и разобщение межтрубного пространства, спуск НКТ, направление продукции скважины замерные установки и полное закрытие скважины. Это оборудование состоит из колонной головки и фонтанной арматуры с манифольдом.
Колонную головку устанавливают при бурении скважины. С ее помощью укрепляют устье бурящейся скважины и подвешивают спущенные в нее обсадные колонны. При бурении, проведении ремонтных работ на колонной головке устанавливают противовыбросовое оборудование (ПВО), при эксплуатации скважины – фонтанную арматуру (ФА). По ГОСТу ФА изготавливают на рабочее давление 7; 14; 21; 35; 70 и 105мПА. Ее изготавливают по семи схемам: четыре – тройникового типа, три – крестового. Арматура тройникового типа применяется на скважинах с невысокими устьевыми давлениями, в продукции которых имеется песок и другие механические примеси.
Фонтанная арматура состоит из трубной головки и фонтанной елки. Трубная головка служит для подвешивания лифта НКТ и проведения работ при освоении, эксплуатации и ремонте скважины. Фонтанная елка служит для направления потока жидкости, в выкидную линию на замерную установку, регулирование режима эксплуатации и контроля за работой скважины путем спуска глубинных приборов.
Рабочие струны арматуры к нефте- или газопроводу подключают с помощью манифольда, состоящего из трех – четырех задвижек, крестовин, тройников.
Глушение скважин
В целях предупреждения открытого фонтанирования перед производством текущего, капитального ремонта или освоения скважин следует создать противодавление на забой скважины (эксплуатируемый или вскрываемый пласт) с помощью задавочной жидкости. Задавочная жидкость должна обладать следующими свойствами:
Иметь достаточный удельный вес для создания необходимого давления на забой;
В случае эксплуатации скважины механизированным способом иметь содержание механических примесей не более 0,1 г/л, для насосов в износостойком исполнении - не более 0,5 г/л;
Не иметь в своем составе растворенного газа.
Удельный вес задавочной жидкости
рассчитывается по формуле: У = (Рпл +
0,1Рпл)
10/Н,
где Рпл – пластовое давление, кгс/см2,
Н – расстояние от устья скважины до
эксплуатационного пласта.
В качестве задавочной жидкости используют растворы технического хлористого натрия, хлористого кальция, хлористого магния и других солей, а так же инвертноэмульсионные, гидрофобные растворы (ИЭР, ГФР). Удельный вес и объем задавочной жидкости определяется конкретно для каждой скважины геологической службой.
Технология глушения скважин зависит от способа ее эксплуатации. Общие требования при закачке жидкости в скважину по техническим условиям давления на экс.колонну:
D – 168мм допускается не более 10мПа;
D – 146мм – не более 12мПа;
D – 140мм – не более 15мПа.
Пред началом глушения нагнетательная линия должна быть опрессована на полуторакратное давление от ожидаемого рабочего. Башмак НКТ находится в непосредственной близости от интервала перфорации, поэтому жидкость замещается в скважине на глубину спуска НКТ. В случае, если лифт НКТ запарафинен или загидрачен и восстановить циркуляцию не удается, жидкость закачивается в затрубное пространство скважины на максимальной скорости ЦА – 320 по возможности непрерывно. При этом давление закачки не должно превышать максимально допустимого на экс.колонну.
Если приемистость скважины недостаточна и давление поднимается выше допустимого, для колонны следует производить порционную закачку жидкости с перерывами между циклами 15 – 30мин и стравливанием газа на факел перед закачкой очередной порции. В связи в выбросом части задавочной жидкости на факел при разрядке, объем ее берется 1,5-кратном объеме скважины. При интенсивном поглощении задавочной жидкости пластом первую порцию солевого раствора объемом 8 – 10-м3 добавляется 5% КНЦ.
Скважина считается заглушенной и подготовленной к ремонту, если при сообщении трубного и затрубного пространства с атмосферой не наблюдается перелива жидкости.
При проведении глушения в зимнее время для предотвращения замерзания выкидных линий, их после глушения, от скважины до замерной установки промывают дизтопливом или продувают воздухом.
Виды скважин, способы добычи нефти и газа
Скважина – вертикально или наклонная горная выработка круглого сечения небольшого диаметра (75 – 350мм) глубиной от 100 – 150 до 5000 – 8000м и более. Элементы скважины:
Забой – дно;
Устье – выход на поверхность;
Ствол (стенки) – боковая поверхность.
Скважины могут быть вертикальными или наклонно-направленными. Скважины, бурящиеся с целью извлечения нефти, газа или воды из недр, а так же с целью поиска, разведки, выявления нефтегазоносных структур и т.д. делят на следующие категории: добывающие, нагнетательные, разведочные, наблюдательные и пьезометрические.
Скважины, предусмотренные для добычи нефти, газа или конденсата, называют добывающими, а предназначенные для закачки (нагнетания) в пласты воды (сжатого газа, воздуха) называют нагнетательными;
Разведочные скважины бурят на новых площадях для определения нефте-газоносности того или иного месторождения или установления границы (контура) его распространения.
Скважины наблюдательные и пьезометрические предусмотрены для проведения наблюдений и исследовательских работ по определению состояния пласта и пластовых жидкостей, по контролю за ведением процессов поддержания пластовых давлений и других методов воздействия на залежи.
Различают три основных способа добычи нефти:
Насосная добыча – наиболее распространенный способ добычи нефти с помощью штанговых скважинных насосов и погружных центробежных электронасосов.
Фонтанная добыча – способ, при котором подъем жидкости или газа на поверхность происходит под действием пластовой энергии.
Газлифтная добыча – способ, при котором подъем жидкости на поверхность происходит за счет пластовой энергии и энергии сжатого газа, подаваемого в скважину с поверхности.
Вскрытие
пласта в процессе бурения
Для обеспечения быстрого и качественного освоения скважины необходимо при вскрытии пласта в процессе бурения не допускать проникновения в пласт бурового раствора, так как при этом из него выпадают утяжелители (барит, гематит, глинистые частицы и т.д.). Это затрудняет процесс цементирования и вносит неточность в расчетную высоту подъема цементного раствора за колонной. Плотность бурового раствора должна обеспечивать необходимое противодавление на пласт, предотвращение выбросов, открытого фонтанирования и других осложнений.
Спуск эксплуатационной колонны. После вскрытия продуктивного пласта и проведения каротажных работ в скважину спускают экс.колонну, строго центрированную. Для этой цели используют специальные резиновые кольца, пружинные фонари и другие приспособления. Строгое центрирование колонны обеспечивает равномерное распределение цементного раствора, исключает прорыв посторонних вод в продуктивный пласт, заколонную циркуляцию воды и газа и т.д.
Применяют различные конструкции скважин – одно-, двух- и трехколонные, со спуском заранее перфорированного хвостовика, с применением различных забойных фильтров и конструкции с открытыми забоями, не закрепленными в пределах продуктивного пласта обсадными колоннами. Пласты, выраженные плотными породами (известняк, песчаник) обычно не перекрывают колонной, а эксплуатируют скважинами с открытым забоем. В этом случае башмак обсадной колонны цементируется перед кровлей продуктивного пласта. Затем пласт вскрывают долотом меньшего диаметра, и ствол скважины против продуктивного пласта оставляют открытым. Скважину бурят до подошвы пласта, и в нее спускают обсадную колонну. Затем выше кровли пласта клону цементируют по способу манжетной заливки. Пространство между нижней частью колонны и вскрытой поверхностью пласта остается открытым. Достоинство открытого забоя – его гидродинамическая совершенность.
Если продуктивный пласт выражен рыхлыми слабоцементированными породами (песками), то забой скважины оборудуют фильтром. Башмак обсадной колонны спускают до кровли пласта и цементируют. Затем в скважину спускают фильтр – хвостовик с мелкими круглыми или щелевидными отверстиями, верхний конец которого закрепляют в башмаке обсадной колонны сальниками.
Наиболее распространены скважины с перфорированным забоем. В этом случае ствол бурят до проектной глубины. Перед спуском обсадной колонны ствол исследуют геофизическими методами для установления нефте-, водо- и газонасыщенных интервалов. После этого спускают экс.колонну, которую цементируют от забоя до необходимой высоты, а затем перфорируют в намеченных интервалах.
После спуска обсадных колонн устье скважины оборудуют специальной колонной головкой, предназначенной для обвязки спущенных обсадных колонн и герметизации межтрубного пространства. На колонной головке устанавливают фонтанную арматуру или планшайбу с подвешенными насосными трубами. Существуют одно-, двух-, трех-, четырех- и пятиколонные головки, рассчитанные на рабочее давление, равное 14, 21, 35, 50 и 70 мПа. В некоторых случаях (на газовых скважинах) применяют колонные головки, рассчитанные на давление до 150 мПа.
Практические действия бригады КРС при возникновении газонефтепроявлений и открытых фонтанов
Газонефтепроявление при СПО с установленным на устье скважины превентором.
Прекращает СПО
Наворачивает на последнюю трубу обратный клапан
Приподнимает колонну НКТ, демонтирует спайдер и закрепляет тормоз лебедки.
Закрывает превентор трубный.
Закрывает концевые задвижки на крестовине ФА.
Сообщает о случившемся мастеру.
Ведет контроль за давлением на устье скважине.
2. Газонефтепроявление при отсутствии в скважине НКТ с установленным на устье превентором.
Наблюдая за состоянием скважины, попытаться спустить наибольшее количество НКТ.
В случае невозможности спуска НКТ в скважину, закрывает глухие плашки превентора.
Закрывает концевые задвижки на крестовине ФА.
Сообщает о случившемся мастеру.
Ведет контроль за давлением на устье скважине.
3. Газонефтепроявление во время перфорации скважины.
Прекращает работы по перфорации, извлекает перфоратор. Спускает максимальное возможное количество НКТ (если позволяет состояние скважины).
Закрывает трубные плашки превентора.
Если нет возможности поднять перфоратор, отрубает кабель с помощью обмедненного инструмента.
Закрывает глухие плашки превентора.
Закрывает концевые задвижки на крестовине ФА.
Сообщает о случившемся мастеру.
Ведет контроль за давлением на устье скважине.
4. Газонефтепроявление при производстве геофизических работ.
Немедленно прекращает геофизические работы. Попытаться на повышенной скорости поднять прибор из скважины.
Если нет возможности поднять прибор, отрубает кабель с помощью обмедненного инструмента.
Закрывает глухие плашки превентора.
Закрывает концевые задвижки на крестовине ФА.
Сообщает о случившемся мастеру.
Ведет контроль за давлением на устье скважине.
5. Газонефтепроявление при прихвате инструмента.
Интенсивным расхаживанием попытаться освободить инструмент от прихвата.
В отрицательном случае инструмент отвернуть как можно ближе к месту прихвата.
Выбросить верхнюю трубу НКТ на мостки .
Навернуть на НКТ обратный клапан, квадрат, поднимает инструмент на вес, закрепляет тормоз лебедки.
Закрывает трубные плашки превентора.
Закрывает концевые задвижки на крестовине ФА.
Сообщает о случившемся мастеру.
Ведет контроль за давлением на устье скважине.
6. Газонефтепроявление при СПО с ЭЦН.
Прекращает СПО.
Производит рубку КРБК (кабель ЭЦН) с помощью обмедненного инструмента и закрепляет отрубленный конец кабеля на последней НКТ при помощи клямс.
Приподнимает подвеску НКТ, и демонтирует спайдер.
Наворачивает на последнюю трубу обратный клапан.
Закрывает трубные плашки превентора.
Закрывает концевые задвижки на крестовине ФА.
Сообщает о случившемся мастеру.
Ведет контроль за давлением на устье скважине.
7. Открытый фонтан.
Выводит людей и спецтехнику из опасной зоны.
Отключает электроэнергию, останавливает двигатели внутреннего сгорания, тушит все бытовые и технические топки.
Расставляет посты на прилегающей к скважине территории.
Оповещает все соседние производственные объекты, которые могут оказаться загазированной зоне.
Прекращает движение на прилегающих к скважине подъездных дорогах.
Сообщает руководству предприятия, противофонтанной службе и пожарной охране о возникновении открытого фонтана.
Принимает меры к недопущению растекания нефти.
Причины возникновения газонефтепроявлений
1. Главным условием возникновения газонефтепроявлений является превышение пластового давления над давлением, создаваемым столбом промывочной жидкости в интервале пласта, содержащего флюид.
2. Недостаточная плотность раствора вследствие ошибки при составлении плана работ или несоблюдения рекомендуемых параметров раствора бригадой КРС.
3. Недолив скважины при СПО.
4. Поглощение жидкости, находящейся в скважине.
5. Глушение скважины перед началом работ неполным объемом или отдельными порциями (пачками).
6. Уменьшение плотности жидкости в скважине при длительных остановках за счет поступлении газа из пласта.
7. Нарушение технологии эксплуатации, освоения и ремонта скважины.
8. Длительные простои скважины без промывки при перерывах в процессе работы СПО.
9. Снижение гидростатического давления на продуктивный горизонт в следствии:
Подъема инструмента при наличии «сальников» - поршневание.
Снижение уровня промывочной жидкости по мере извлечения из скважины подземного оборудования.
10. Способность газа проникать в интервале перфорации в скважину и образовывать газовые пачки.
11. Способность газовой пачки к всплытию в столбе жидкости с одновременным расширением и вытеснением ее из скважины.
Основные признаки газонефтепроявлений
1. Перелив жидкости из скважины при отсутствии циркуляции.
2. Увеличение объема промывочной жидкости в приемных емкостях при промывке скважины.
3. Увеличение скорости потока промывочной жидкости из скважины при неизменной подаче насоса.
4. Уменьшение, по сравнению с расчетным, объема доливаемой жидкости при СПО.
5. Увеличение объема вытесняемой из скважины жидкости при спуске труб по сравнению с расчетным.
6. Снижение плотности жидкости при промывке скважины.
7. Повышенное газосодержание в жидкости глушения.
Категории скважин по опасности возникновении газонефтепроявлений
Первая категория:
Газовые скважины, независимо от величины пластового давления.
Нефтяные скважины, в которых газовый фактор более 200 м3/м3.
Нефтяные скважины, в которых выявлено поступление газа в скважину через нарушения колонны или в результате заколонных перетоков.
Нефтяные скважины с внутрискважинным газлифтом.
Нефтяные и нагнетательные скважины, в которых пластовое давление выше гидростатического более чем на 10%.
Нагнетательные и наблюдательные скважины, перфорированные в зоне газоносности.
Нефтяные скважины, имеющие в разрезе близко расположенные между собой газовые и продуктивные нефтяные горизонты с мощностью, разделяющей перемычки менее 3 метров, а также находящиеся от внешнего контура ГНК на расстоянии 500 метров и ближе.
Вторая категория:
Нефтяные скважины, в которых пластовое давление превышает гидростатическое не более чем на 10% и газовый фактор менее 200 м3/м3.
Нагнетательные скважины с пластовым давлением, превышающим гидростатическое не более чем на 10%.
Третья категория:
Нефтяные скважины, в которых давление равно или ниже гидростатического.
Нагнетающие скважины, расположенные вне контура газоносности, пластовое давление которых в зоне закачки равно или ниже гидростатического.
Причины перехода газонефтепроявлений в открытые фонтаны.
Недостаточная обученность персонала бригады по ремонту скважин и ИТР предприятия по методам предупреждения и ликвидации газонефтепроявлений.
Несоответствие конструкции скважины горно-геологическим условиям вскрытия пласта.
Не качественное цементирование обсадных колонн.
Отсутствие, неисправность, низкое качество монтажа противовыбросового оборудования на устье скважины.
Неправильная эксплуатация противовыбросового оборудования.
Отсутствие устройств для перекрытия канала насосно-компрессорных или бурильных труб.
Недостаточная дегазация раствора при возникновении газонефтепроявлений.
Несвоевременность обнаружения возникновения газонефтепроявлений.
Снижение прочности обсадной, эксплутационной колонны в результате ее износа.
Доливная емкость и проведение СПО насосно-компрессорных труб.
Доливная емкость – это емкость для долива скважины при проведении подъеме инструмента, когда необходимо поддерживать уровень раствора на устье. Предназначена для быстрого заполнения скважины и точного определения долитого объема раствора.
Доливные емкости при КРС должны быть не менее 4м3, иметь градуировку объема с ценой деления не более 0,5 м3 и размером деления не менее 20 см, оборудованы уровнемерами. Доливная емкость устанавливается таким образом, чтобы обеспечить самодолив скважины или принудительный долив при помощи насоса (ЦА-320). Долив скважины, производится промывочной жидкостью, параметры которой соответствуют параметрам жидкости в скважине.
Производство долива при доливе инструмента осуществляется двумя видами:
Непрерывный долив.
Долив через определенное количество поднятых НКТ.
При непрерывном доливе должен быть постоянным контроль за соответствием объема долива и скорости поднимаемых труб и прекращение его при остановках. Во втором случае необходимо рассчитать возможное количество поднимаемых труб без долива. Эта величина зависит от диаметра скважины, поперечного сечения труб и допустимой депрессии на пласт.
Таблица № 1. Объем доливаемой (вытесняемой) жидкости.
|
L |
D |
δ |
v |
V |
|
100 |
73 |
5,5 |
0,12 |
0,12 |
|
200 |
73 |
5,5 |
0,12 |
0,24 |
|
300 |
60,3 |
5 |
0,11 |
0,35 |
|
400 |
60,3 |
5 |
0,11 |
0,46 |
|
500 |
60,3 |
5 |
0,11 |
0,57 |
|
600 |
60,3 |
5 |
0,11 |
0,68 |

где: L – длина поднятых (спущенных) труб, м
D – диаметр труб, мм
-
толщина стенки труб, мм
v – объем поднятых (спущенных) труб, м3
V- нарастающий объем доливаемой (вытесняемой) жидкости, м3
После проведения подъема (спуска) труб в вахтовом журнале записывается мера поднятых (спущенных) труб и объем промывочной жидкости, израсходованной или вытесненной при проведении работ.
Спуско-подъемные операции (СПО) трудоемки и в зависимости от характера работ от 50 до 80% всего времени, затрачиваемого на ремонт, т.е. фактически эти работы определяют общую продолжительность ремонта скважины. По этому, механизация и автоматизация обязательны для ускорения ремонта. Свинчивание и развинчивание НКТ при СПО выполняют с помощью автоматов АПР – 2 ВБ с приводом для электродвигателя. АПР – ГП с гидроприводом, механических ключей КМУ – 32 - 50, КМУ – ГП с гидроприводом.
,Подъем НКТ
Прежде чем начать подъем колонны НКТ, необходимо убедиться в том, что они не прихвачены. Прихват труб определяют по индикатору веса.
При подъеме колонны труб из скважины следует соблюдать следующие правила:
Первую трубу колонны следует поднимать при помощи специального подъемного патрубка; во время ремонта глубоких скважин необходимо применять подъемный патрубок с термообработанным резьбовым концом;
Нельзя допускать резких переходов с одной скорости подъема на другую и превышение нагрузки более 20% собственной массы колонны труб.
Поднимать отвинченную трубу можно тогда, когда она полностью вышла из резьбы муфты.
Не рекомендуется удалять ручниками по муфте для ослабления резьбового соединения.
Перед подачей поднятой трубы на мостки следует на ее резьбу навинтить предохранительный колпачок.
Подъем НКТ из скважины начинают с ввинчивания подъемного патрубка в муфту посадочной планшайбы, на которую надевают элеватор. Затем планшайбу приподнимают до выхода из скважины первой муфты спущенных в скважину труб, под которую подводят элеватор. Закрыв элеватор, сажают на него подвеску НКТ, отвинчивают планшайбу и, оттащив ее в сторону, приступают к подъему труб.
Спуск НКТ. При спуске колонны НКТ в ремонтируемую скважину рекомендуется соблюдать следующее:
При подъеме с мостков не допускать раскачивания трубы и ее ударов о детали вышки.
Посадку навинчиваемой трубы в муфту предыдущей трубы следует производить плавно, соблюдая строгую вертикальность трубы.
При свинчивании труб автоматами АПР – 2, механическими или гидравлическими ключами КМУ необходимо добиваться полного их завинчивания на всю длину резьбы.
Не допускать вращения подвески НКТ при их свинчивании; во избежание этого устанавливают контрключ.
При спуске колонны НКТ, составленной из труб разных марок сталей, следует замерять их длины по типоразмерам; нельзя допускать смешивания труб различных типов, марок и размеров; при переходе от труб меньшего диаметра к большему следует применять соответствующие переводники.
Отбракованные трубы убирают со стеллажа с отметкой «брак».
На верхний конец спущенной подвески НКТ в планшайбу следует навинчивать подвесной патрубок.
Спуск и подъем насосных штанг
Процесс спуска и подъема насосных штанг такой же, что и для труб. Так как масса поднимаемых штанг значительно меньше массы труб той же длины, СПО производит на больших скоростях, чем труб. Поднятые штанги укладывают на стеллаже рядами, прокладываем между ними деревянные рейки. Во избежание изгиба запрещается поднимать сдвоенные штанги. Перед свинчиванием резьбу их очищают и смазывают, а затем крепят до отказа. Стучать, ударять по муфте и телу штанг металлическими предметами и инструментами запрещается. Укладываемые насосные штанги должны иметь не менее 6-ти опорных точек, равномерно-распределенных по всей их длине. Не допускается смешивание штанг разных марок стали.
Общий характер работ
Текущий ремонт скважин (ТРС) – комплекс работ по проверке, частичной или полной замены подземного оборудования, очистка стенок скважины и забоя от различных отложений (парафина, песка, солей, продуктов коррозии), а так же осуществляет в скважинах геолого-технических и других мероприятий по восстановлению и повышению их нефтеотдачи.
Цель текущего ремонта – устранение различных неполадок и нарушений в режиме эксплуатации скважин и подземного оборудования, подготовка к освоению новых скважин после бурения и капитального ремонта. К основным работам при текущих ремонтах скважин относятся спуско-подъемные операции, монтаж и демонтаж устьевого оборудования.
Все текущие ремонты скважин подразделяют на планово – предупредительные (профилактические) и восстановительные.

Рис.1
Планово – предупредительный – текущий ремонт скважин, запланированный заблаговременно, предусмотренный соответствующими графиками. В результате профилактического ремонта предупреждаются различные отклонения от установленного технологического режима эксплуатации скважин – снижение их дебетов и полное прекращение подачи жидкости, вызываемые отложением парафина, солей, пескопроявлением, износом.
Восстановительный – текущий ремонт скважин, вызванный непредвиденным резким ухудшением установленного режима их работы или внезапной их остановкой по разным причинам (пробкообразование, забивание труб парафином, солями, обрыв штанг, труб, пропуск клапана при газлифтной добыче и др.)
Межремонтным периодом работы скважины (МРП) называют продолжительность ее эксплуатации на установленном режиме (в сутках) от предыдущего до следующего ремонта.
Различают плановый и фактический межремонтные периоды.
Плановый межремонтный период каждой скважины проектируют, исходя из запланированного числа планово-предупредительных ремонтов, с учетом средней продолжительности (в часах) каждого вида ремонта.
Фактический межремонтный период исчисляется исходя из фактических ремонтов данной скважины. Отношения фактически отработанного скважиной времени календарному называется коэффициентом эксплуатации.
Таблица №2 Виды текущего ремонта скважины.
|
Виды работ |
Технико-технологические требования |
|
Ремонт скважин, оборудованных штанговыми скважинными насосами |
Выполнение заданного объема работ |
|
Смена насоса |
Нормальная работа насоса по динамограмме или подаче |
|
Устранение обрыва или отвинчивание штанг |
Устранение дефекта |
|
Смена ЭЦН |
Нормальная подача и напор |
|
Ремонт скважин по очистке забоя и эксплуатационной колонны от парафина, гидратных отложений, солей и песчаных пробок. |
Выполнение запланированного объема работ, прохождение шаблона до необходимой глубины. Увеличение дебита нефти. |
|
Консервация и расконсервация скважин. Ремонт газлифтных, фонтанных и газовых скважин. |
Выполнение заданного объема работ, подтвержденных геофизическими исследованиями. Технологический эффект прямо не определяется. |
|
Ремонт скважин, связанных с негерметичностью НКТ. |
Увеличение дебета нефти, уменьшение обводненности продукции. |
|
Опытные работы по испытанию новых видов НКТ, штанг, скважинных насосов, ЭЦН и др. |
Выполнение запланированного объема работ. |
Устьевое оборудование скважин эксплуатируемых штанговой насосной установкой
Для подвески насосных труб, направление продукции скважины в выкидные линии, герметизации устья, а так же для обеспечения отбора газа из затрубного пространства на устье скважины устанавливают специальное устьевое оборудование, которое состоит из планшайбы и тройника. Планшайбу с подвешенными на нее трубами устанавливают на колонный фланец ФА. В планшайбе есть отверстие для отвода газа из затруба и для замера уровня жидкости в скважине эхолотом. В верхнюю муфту труб ввинчивают тройник для отвода нефти. Выше тройника, для его герметизации и пропуска сальникового штока, устанавливают сальник с крышкой и пружиной. Жидкость, подаваемая насосом, направляется через боковой отвод тройника в выкидную линию. Для спуска в скважину манометра или пробоотборника через затрубное пространство применяют эксцентричную планшайбу, где отверстие для спуска скважинных приборов смещено от центра на некоторое расстояние.
Конструкция самоуплотняющегося устьевого сальника позволяет поднимать на поверхность плунжер или вставной насос без разъединения линий и снятия тройника.
Сальниковый шток подвешивают к головке балансира станка-качалки с помощью канатной подвески ПКН (подвеска канатная нормального ряда). Основными приводными механизмами штанговых насосов являются станки-качалки типа СКН или СК, которые устанавливаются на приустьевой площадке скважины.
Ремонт скважин, оборудованных штанговыми скважинными насосами.
Ремонт штанговых насосных скважин заключается в подъеме и спуске насосных штанг или НКТ; ликвидация обрыва и отвинчивание штанг; проверке и замене клапанов, посадочного конуса; смене насосов; расхаживании заклинившегося плунжера в цилиндре насоса.
Проверка и смена трубного насоса. После разборки и демонтажа станка-качалки и устьевого оборудования из скважины извлекают насосные штанги с плунжером и укладывают рядами на стеллаж. Затем вместе с цилиндром насоса и защитным приспособлением, присоединенным к его приему, извлекают насосные трубы.
После окончания подъема насоса определяют глубину уровня и забоя в скважине. Если фильтр открыт, то приступают к спуску нового насоса. Если после проверки насоса на поверхности устанавливают, что цилиндр и плунжер сильно сработаны, то их заменяют. Если же они еще пригодны для дальнейшей эксплуатации, то их промывают керосином и вновь спускают в скважину.
Вначале спускают защитное приспособление (газовый, песочный или газопесочный якорь, сепаратор, фильтр, защитную сетку), затем спускают на трубах насос на заранее намеченную глубину. После этого сажают трубы планшайбу, спускают плунжер на насосных штангах и, не допуская их на 5 – 6 метров до цилиндра насоса, заливают водой, спущенные в скважину насосные трубы. Заполнив насосные трубы водой до устья, определяют нижнее положение плунжера при максимальном наклоне головки балансира станка- качалки.
После сборки устьевого оборудования скважины и станка качалки, присоединение сальникового штока к головке балансира при помощи канатной подвески скважину запускают в работу. Так как насосные трубы до ее пуска были заполнены водой, то при первых же качаниях балансира начинается подача жидкости насосом.
Замена клапанов. Для замены клапанов штанги вместе с плунжером насоса поднимают из скважины. После смены отработанных клапанов плунжер спускают в трубы на насосных штангах. Установив плунжер в цилиндр и отсоединив приемный клапан от нижнего его конца, штанги обмывают водой. Затем спущенные в скважину трубы заполняют водой, устанавливают устьевое оборудование, монтируют станок-качалку, сальниковый шток присоединяют к канатной подвеске и пускают станок-качалку в работу.
Перед разборкой устьевой арматуры ремонтируемой скважины следует убедиться, что давление в скважине снижено до атмосферного, затем снять шпильки, соединяющие ФА с трубной головкой, кроме двух шпилек, расположенных диаметрально противоположно. После этого снять оставшиеся шпильки, поддерживая ФА в вертикальном положении, поднять ее и установить в угол рабочей площадки, прикрепив к ноге вышки или мачты.
Запрещается:
Производства ремонта скважины при переливе жидкости из нее;
Изменять положение балансира путем проворачивания клиноременной передачи вручную;
Расхаживать заклиненный плунжер глубинного насоса;
Применять клиновую подвеску при свинчивании и развинчивании штанг механическими ключами.
Борьба с осложнениями при эксплуатации скважин штанговыми насосными установками
При эксплуатации скважин ШНУ могут происходить следующие осложнения:
Износ штанг и истирание НКТ
Поступление из пласта в скважину вместе с нефтью пластовой воды
Поступление из пласта в скважину газа и песка
Отложение парафина на клапанах насоса, стенках и поверхностях труб и штанг.
Для предупреждения обрыва штанг и истирания труб применяют закаленные поверхности муфты с овальными кромками и обработанные токами высокой частоты. Для борьбы с коррозией применяют ингибиторы коррозии, которые периодически в нужной дозе подаются в затрубное пространство скважины. Борьбу с отложениями парафина проводят механическим путем с помощью торцевых укороченных пластинчатых скребков, закрепленных к штангам. Эти скребки автоматически поворачиваются на определенный угол при каждом ходе колонны штанг вниз. Для борьбы с отложениями парафина так же проводят периодические термические обработки скважин без их остановки закачкой в затрубное пространство горячей нефти, которая проходя через клапаны и НКТ, расплавляет отложения парафина и вносит их на поверхность. Так же применяют остеклованные или покрытые специальным лаком НКТ, на которых парафин не оседает.
Большие осложнения обусловлены попаданием свободного газа в цилиндры штанговых насосов. Борьбу с этими осложнениями проводят следующими методами:
Используют насосы с уменьшенным вредным пространством
Увеличивают длину хода плунжера
Увеличивают глубину погружения насоса под уровень жидкости в скважине
Откачивают газ из затрубного пространства
Песок, поступающий из пласта может образовывать на забое песчаную пробку, в результате чего уменьшается или полностью прекращается приток нефти в скважину. Так же, попадая в насос, песок преждевременно истирает его детали, часто заклинивает плунжер в цилиндре. Основные мероприятия по борьбе с песком на приеме насоса:
Установка на приеме насоса песочного якоря
Регулирование отбора жидкости из скважины;
Применение трубчатых штанг.
Подготовка к спуску и спуск ЭЦН
Подготовка скважины к спуску в них погружного агрегата заключается в проверке состояния экс.колонны шаблоном, диаметр которого должен быть на 4 мм. Больше максимального наружного диаметра ЭЦН и длиной не менее 9 м. Перед спуском ЭЦН устанавливают мостки для укладки на них деталей погружной установки, монтируют подвесной ролик ко второму поясу мышки. Подвесной ролик служит для направления кабеля, сбегаемого с верхней части барабана к устью скважины. Кабеленаматыватель устанавливают в 15 – 17 м. от устья скважины.
Спуск погружного центробежного электронасоса выполняют в следующем порядке:
На устье скважины двигатель соединяют с гидрозащитой и насосом.
Надевают монтажный хомут на компенсатор, поднимают его с мостков и спускают в скважину до посадки на фланец экс.колонны.
Опускают транспортировочную крышку компенсатора, надевают хомут на двигатель, приподнимают его над устьем скважины и снимают нижнюю транспортировочную крышку.
Соединяют двигатели с компенсатором, вывинчивают пробку и открывают перепускной клапан, отвинтив его на 3 – 4 оборота.
Вновь завинчивают пробку и снимают хомут с компенсатора, спускают двигатель в скважину до установки хомута на фланец экс.колонны.
Снимают крышку кабельного ввода двигателя, промывают контакты и замеряют сопротивление изоляции двигателя и кабеля. Оно должно быть не менее 10 кОм.
Далее с двигателя снимают верхнюю транспортировочную книжку, проверяют вращение вала шлицевым ключом, надевают хомут на протектор и поднимают над устьем скважины. Затем снимают верхнюю крышку протектора и проверяют вращение его вала, проверяют посадку шлицевой муфты на валы двигателя и протектора и соединяют двигатель с протектором.
ЭЦН приподнимают над устьем, вывинчивают пробку с компенсатором, открывают его перепускной клапан и вновь ввинчивают пробку. Затем кратковременно включают двигатели для определения правильности направления вращения вала (против часовой стрелки при наблюдении за валом сверху). После этого погружной агрегат соединяют с первой НКТ, под которой монтируют спускной клапан. Скорость спуска ЭЦН не должна превышать 0,25 м/сек.
Смена ЭЦН
Прежде чем приступить к работам по подъему ЭЦН из скважины, необходимо выключить установку и блок рубильник-предохранитель. Затем отсоединяют кабель, питающий двигатель, от станции управления и проверяют сопротивление изоляции. Далее демонтируют устьевую арматуру через сбивной клапан, установленный над насосом, спускают жидкость из колонны НКТ при помощи спецгруза. В результате жидкость из труб перетекает в экс.колонну. Затем в муфту верхней НКТ, подвешенной на планшайбе, ввинчивают подъемный патрубок для захвата элеватором. Разбирают сальник кабельного ввода в планшайбе и извлекают НКТ с кабелем. Скорость подъема ЭЦН не более 0,25 м/сек.
По мере подъема труб кабель освобождают от клямсев, недопуская падения их в скважину и навивают КРБК на барабан кабеленаматывателя.
После подъема ЭЦН снимают защитные кожухи плоского кабеля. Под головкой нижней секции насоса устанавливают хомут, агрегат спускают до посадки хомута на фланец экс. колонны и верхнюю секцию насоса отсоединяют от нижней. После проверки вращения вала верхнюю секцию закрывают защитной крышкой и укладывают на стеллаж.
Необходимые требования по монтажу и спуску ЭЦН:
ЭЦН на устье скважины следует собирать с применением специальных хомутов-элеваторов. Проушины хомутов должны быть снабжены предохранительными шпильками.
Намотка и размотка кабеля с барабана должна быть механизирована. Витки кабеля должны укладываться на барабан правильными рядами.
Скорость спуска ЭЦН в скважину не должна превышать 0,25м/с.
При СПО не следует допускать изгибов, перегибов, перекосов и ударов кабеля, а так же его загрязнения.
Остановка барабана должна производиться только отключением электропривода. Запрещается тормозить барабан руками, досками и трубами.
После спуска центробежного электронасоса оставшийся кабель должен подвешиваться на специальном устройстве или укладываться на площадке у станции управления и ограждаться.
Запрещается прикасаться к кабелю при опробовании установки ЭЦН на устье скважины.
Способы ликвидации песчаных пробок в скважинах
При разработке пластов, сложенных рыхлыми породами в призабойной зоне разрушается скелет пласта. В этом случае жидкость и газ во время движения по пласту увлекают в скважину значительное количество песка. Если скорость недостаточна для подъема песчинок, то они осаждаются на забое, образуя пробку, прекращая доступ флюида из пласта. Поэтому для возобновления нормальной эксплуатации скважины необходимо очистить забой от песка. Разберем наиболее используемые способы.
Прямая промывка скважины от песчаной пробки – процесс удаления из нее песка путем нагнетания промывочной жидкости внутрь спущенных НКТ и выноса размытой породы жидкостью через затрубное пространство скважины (затруб). Конец подвески труб оборудуют пером, фрезером, фрезером-карандашом.
Скоростная прямая промывка – при наращивании промывочных труб процесс промывки не прекращается, это исключает оседание размытого песка и прихват колонны НКТ.
Обратная промывка скважины – процесс удаления песка из скважины путем нагнетания промывочной жидкости в затрубное пространство и направлением восходящего потока жидкости через промывочные трубы. Благодаря меньшему сечению в них создаются большие скорости восходящего потока, что обеспечивает лучший вынос песка.
Промывка скважин струйными аппаратами применяется в тех случаях, когда экс. колонна имеет дефекты. Установка для промывки состоит из струйного насоса, концентрично расположенных труб и поверхностного оборудования (шланга, вертлюга, приспособления для подлива воды)
Очистка скважин от песчаных пробок аэрированной жидкостью, пенами и сжатым воздухом. Применяют в скважинах с небольшим столбом жидкости и при наличии на забоях рыхлых пробок. Для герметизации устья используют сальник. В качестве рабочего агента применяют аэрированную жидкость, пену, сжатый воздух. Преимущества такого способа – исключение поглощения промывочной жидкости пластом; ускорение процесса ввода скважины в эксплуатацию после очистки от пробки; возможность очистки части колонны ниже отверстий фильтра (зумпфа).
Промывка аэрированной жидкостью с добавлением ПАВ. Применяют в скважинах с низким пластовым давлением, эксплуатация которых осложнена частыми пробкообразованиями, а ликвидация пробок связана с поглощением пластом промывочной жидкости.
Промывка скважин с поверхностно-активными веществами (ПАВ). Применяют для снижения поверхностного натяжения на границе нефть – вода. Добавка ПАВ к жесткой воде способствует снижению ее поверхностного натяжения и быстрому, почти полному удалению этой воды из призабойной зоны при освоении скважины. В качестве ПАВ используют сульфанол, сульфонатриевые соли, деэмульгаторы и др.
Промывка скважин пенами. При определенной концентрации раствора ПАВ в воде образуется стабильная пена, которую используют для промывки скважин.
Очистка скважин от пробок желонками. Метод заключается в последовательном спуске на забой желонки, заполнении ее и подъеме. Различают простые, поршневые и автоматические желонки. Несмотря на простоту, этот метод обладает рядом существенных недостатков – длительность процесса; возможность протирания экс.колонны; возможность обрыва тартального каната или проволоки; загрязнения рабочего места. При очистке скважины от рыхлых пробок и небольшой высоте столба жидкости рекомендуется использовать простые желонки, при плотных пробках – поршневые, во всех остальных случаях – автоматические.
Очистка скважин от песчаных пробок гидробурами. Песчаные пробки из скважины можно удалять и без спуска промывочных труб. Для этой цели применяют гидробур, спускаемый на канате. После удара о пробку гидробур приподнимают на 2 – 3 метра и вновь ударяют долотом о поверхность. Во время очередного подъема плунжер засасывает жидкость с песком из-под долота, затем песок попадает в желонку, а жидкость – в поршневой насос. При таких ударах в несколько приемов в гидробур засасывается осевшая на забое песчаная пробка. Во избежание образования петель каната или большого его натяга и обрыва рекомендуется проводить работы на пониженной скорости подъемника.
Меры по предотвращению осложнений при промывке скважин от песчаных пробок
Перед промывкой необходимо провести подготовительные работы: проверка наземных сооружений, оборудования и инструмента; выбор и проверка промывочных труб, промывочного насоса; выбор способа помывки, промывочной жидкости; замер глубины забоя.
При промывке наклонных и глубоких скважин рекомендуется пользоваться гидравлическим индикатором веса (ГИВ).
Промывать фонтанные скважины следует при установленной под вертлюгом центральной (коренной) задвижке ФА и переводной катушке.
При использовании бурового раствора или нефти в качестве промывочной жидкости необходима специальная система желобов для циркуляции жидкости, чтобы не допускать ее потери.
Перед промывкой скважины всю систему необходимо промыть водой и опрессовать на давление, не менее чем полуторакратное ожидаемое.
При промывке скважины водой для большей надежности подавать ее следует из двух самостоятельных источников.
Спуск промывочных труб без восстановления циркуляции следует прекратить, не доводя их конец на 50 – 100 метров до пробки.
После спуска промывочных труб до установленной глубины следует путем наращивания нескольких труб восстанавливать циркуляцию после каждого наращивания, достичь пробки и приступить к промывке.
Талевая система
Талевая система, предназначенная для уменьшения натяжения на подвижной ветви каната, навиваемого на барабан лебедки, состоит из кронблока, талевого блока, крюка, талевого каната и направляющего ролика.
Талевый канат попеременно огибает шкивы кронблока и талевого блока; при этом подвижный его конец, проходящий через оттяжной ролик, закрепляют на барабане подъемной лебедки, а неподвижный – к специальной проушине на станине подъемного агрегата.
Кронблок находится на верхней площадке вышки (мачты). Талевый блок в талевой системе монтируют между кронблоком и крюком, так, чтобы он мог перемещаться во время СПО.
Подъемный крюк служит для подвешивания элеваторов с помощью штропов, вертлюгов и другого оборудования при СПО.
Талевый канат связывает талевый блок и кронблок. Изготавливают из стальной проволоки, которую свивают в пряди. Канаты свивают из прядей, навиваемых на пеньковый сердечник, что придает канату круглую форму и гибкость, улучшает смазку каната за счет лучшей пропитки пенькового сердечника смазывающим веществом. Диаметр каната должен быть в 20-25 раз меньше диаметра шкива блоков талевой системы.
Талевый канат должен быть заменен, если при его осмотре обнаружился один из следующих дефектов:
Оборвана одна прядь каната.
На шаге свивки каната диаметром до 20 мм число оборванных проволок составляет более 5%, а диаметром свыше 20 мм – более 10% от всего числа проволок в канате.
Одна из прядей вдавлена вследствие разрыва сердечника каната.
Канат вытянут или сплюснут и его наименьший диаметр составляет 75% и менее от первоначального.
На канате имеется скрутка ( жучок).
Износ или коррозия 40% и более первоначального диаметра проволок.
Направляющий ролик предназначен для изменения направления талевого каната от барабана лебедки к кронблоку и предохранения вышек и мачт от опрокидывания. Он состоит из опорной плиты, ролика, оси, роликоподшипников и предохранительного кожуха.
Вертлюги
Вертлюг – соединительное звено между талевой системой и буровым инструментом (подвеской НКТ), обеспечивающий свободное вращение инструмента и подачу промывочной жидкости через колонну труб к забою скважины.
Различают два типа вертлюгов: промывочные (ВП) и эксплутационные (ВЭ).
Промывочные вертлюги изготавливают с фланцевыми или резьбовыми отводами. Наиболее широко применяется при капремонте скважин вертлюги ВП – 50/100 и ВП – 80/200. вертлюг ВП – 50/100 состоит из ствола 1 и корпуса 2 с отводом 3 под промывочный шланг. В корпусе установлены два радиальных подшипника 4, обеспечивающие свободное вращение ствола. Внутренняя полость корпуса в верхней и нижней частях герметизируются манжетами 5, а от пыли и грязи – войлочными уплотнениями 6. Промывочные трубы присоединяют к нижнему концу ствола.
ВП – 80/200 конструктивно сходен с ВП – 50/100 и отличается от него размерами, грузоподъемностью и быстросборными соединениями шланга с отводом.
Эксплуатационный вертлюг ВЭ 50 состоит из неподвижной и вращающей частей. Неподвижную часть составляют корпус, крышка, серьга и отвод для буровой трубы. К вращающейся части относится стол, установленный на трех подшипниках, которые обеспечивают надежное центрирование его относительно корпуса.
Перед началом эксплуатации необходимо проверить следующее:
Плавность вращение ствола. Ствол должен вращаться от усилия, приложенного одним рабочим к рукоятке ключа. Если ствол не вращается, то необходимо ослабить уплотнение внутренней трубы.
Состояние ствола и переводника (визуальный осмотр).
Надежность крепления горловины, крышки вертлюга и нижнего фланца.
Уровень и качество масла в вертикальном положении вертлюга. При необходимости доливают.
Состояние нижнего уплотнения. При утечке масла через уплотнение заменяют манжеты.
Состояние штропа (визуальный осмотр).
В процессе эксплуатации необходимо проверять: надежность крепления всех узлов вертлюга, состояние масла, его уровень, состояние подшипников, уплотнение и переводники.
Промывочный шланг – гибкое соединительное звено между вертлюгом и манифольдом, через который прокачивают промывочную жидкость. Внутренний диаметр его составляет 38, 63, 76, 90 мм, длина – 18 м. шланг рассчитан на рабочее давление 10, 15 и 20 мПа. Внутренний и наружный слои выполнены из маслонефтестойкой резины, а концевые участки имеют дополнительную арматуру, создающую переходную жесткость от шланга к штуцеру.
Элеваторы
Элеватор предназначен для захвата колонны труб и удержания их на весу в процессе спускоподъемных операций. Выпускают трубные элеваторы для обсадных, бурильных труб, НКТ и штанговые элеваторы для штанг. По конструкции делятся на одноштропные и двухштропные. Основные детали – корпус, захват, замок и предохранитель.
Элеваторы ЭТА (одноштропный) предназначены для захвата насосно-компрессорных и бурильных труб под муфту, выпускают грузоподъемностью 32 и 50 т для труб диаметром от 48 – 89 мм. Эксплуатационные особенности: простота и удобство обращения во время работы, автоматичность процесса захвата труб, наличие сменных захватов.
Элеваторы с захватным приспособлением ЭЗН, выпускают грузоподъемностью от 15 до 50 т. В комплект входит: 2 элеватора, захватное приспособление и штроп. Захватное приспособление состоит из захвата, затвора и серьги, в которую предварительно вдевают штроп. Затвор запирает открытый захват, винт которого ограничивает движения затвора. Чтобы открыть затвор, его рукоятку необходимо повернуть и вытянуть до отказа, а чтобы закрыть – повернуть ее до попадания в выемку в корпусе захвата.
Элеваторы ЭГ грузоподъемностью от 16 до 80 т предназначены для работы с автоматом АПР – 2 ВБ. Состоят из корпуса, створки, защелки и серьги.
Элеваторы ЭТАР предназначены для производства СПО в неглубоких скважинах при свинчивании и развинчивании НКТ вручную. Эффективны при работе с трубами малого диаметра и полыми штангами. Благодаря сменным захватам, два размера элеваторов обеспечивают захват шести размеров труб.
Элеватор ЭТАД грузоподъемностью 50 и 80 т с захватным устройством автоматического действия состоит из корпуса, шарнирного выдвижного захвата, упоров, рукоятки и пружинных защелок штропов. Крепления рукоятки с корпусом выполнено таким образом, что рукоятка выполняет функцию запорного устройства. Благодаря сменным захватам, можно производить СПО с несколькими типоразмерами труб.
Элеватор ЭХЛ грузоподъемностью в зависимости от типоразмера, равной 10 – 40 т, состоит из кованого корпуса, затвора с рукояткой и предохранительного устройства. В верхней части корпуса предусмотрена кольцевая вытачка, куда вкладывается затвор, на который навинчивается поворотная рукоятка, в закрытом положении фиксируемая предохранителем.
Для надевания элеватора на трубу при подаче с мостков работник левой рукой берется за серьгу, правой рукой отжимает пружину фиксатора и отводит рукоятку в лево до упора, корпус элеватора наклоняется и направляется на трубу. Раскрытые челюсти обхватывают тело трубы и заходят обратно в гнездо корпуса элеватора, после чего рукоятку с фиксатором отводят вправо до упора.
Для снятия элеватора с трубы надо правой рукой отжать пружину фиксатора, отвести рукоятку влево до упора. Челюсти захвата выходят из гнезда корпуса и освобождают трубу.
При эксплуатации элеваторов пружинные узлы часто забиваются парафином, грязью. Поэтому каждый раз после окончания работ требуется промыть элеватор соляркой или керосином, а перед началом работ убедиться в исправности всех его узлов.
Спайдер
Спайдеры предназначены для автоматизации операций по захвату, удержания на весу, освобождения и центрирования колонны насосно-компрессорных или бурильных труб в процессе спуска их в скважину. Спайдеры состоят из корпуса, клиньевой подвески, сменных центраторов и механизмов подъема клиньев.
Штропы
Штропы служат для подвески элеватора на крюк. Конструктивно это замкнутая стальная петля, сильно вытянутая по одной оси. Изготавливают их цельнокатаными или сварными. Штропы различают по назначению: буровые нормальные – ШБН; буровые укороченные – ШБУ и эксплуатационные – ШЭ. Для текущего и капитального ремонта скважин выпускают штропы ШЭ – 28 и ШЭ -50 грузоподъемностью соответственно 28 и 50 т.
Ключи
Ключи различных конструкций и типоразмеров применяют для свинчивания и развинчивания бурильных обсадных и насосно-компрессорных труб и штанг. Используют ключи двух типов: шарнирные и цепные. Так же ключи делятся на трубные и стопорные. Трубные ключи служат для захвата трубы за тело, а стопорные – за муфту. Шарнирные ключи, подразделяемые на машинные и ручные, легче цепных, удобны и просты в работе. При работе с ними поверхность труб менее подвержена различным повреждениям.
Машинные ключи УМК применяют для докрепления или раскрепления бурильных труб или соединения труб обсадной колонны с помощью механической тяги.
Ключи трубные двухширнирные КТД предназначены для свинчивания и развинчивания НКТ как в ручную, так и с помощью автомата АПР-2 или КМУ-59. Состоит из большой и малой челюстей и рукоятки, шарнирно-соединенных между собой. На малой челюсти расположен самоустанавливающийся сухарь с зубчатой поверхностью, благодаря которой сухарь всей поверхностью контактирует с трубой. Это обеспечивает более надежный захват трубы.
Трубный ключ КТНД состоит из шарнирно соединенных челюсти и рукоятки. В челюсть плоская плашка, а в рукоятку – дугообразная с выпуклой рабочей поверхностью. На оси шарнира установлена пружина, обеспечивающая удержание ключа на вертикальной трубе.
Трубный ключ КТГУ используют в совокупности при механизированном свинчивании и развинчивании труб с помощью АПР-2 и КМУ-50, имеющих водило. Ключ состоит из рукоятки и створки, шарнирно соединенных с челюстью при помощи пальца. При надевании ключа на трубу створка поворачивается вокруг пальца и под действием пружины плотно прижимается сухарем к трубе
Штанговый ключ КШН предназначен для ручного свинчивания и развинчивания насосных штанг и муфт для захвата штанг за квадрат. Состоит из кованой заготовки с зевом под размер квадрата штанги и рукоятки
Стопорный ключ КСМ предназначен для стопорения колонны НКТ от проворачивания при их механизированном свинчивании и развинчивании. Ключ состоит из челюстей, соединенных шарнирно с помощью пальца, двух защелок и сухаря. При надевании ключа на трубу под воздействием пружины одна защелка замыкает его, а вторая – предотвращает от самооткрывания
Цепные ключи предназначены для ручного свинчивания и развинчивания НКТ и муфт при разовых вспомогательных работах. Выпускают цепные ключи КЦН (ключ цепной нормальный) и КЦО (ключ цепной облегченный).
Ключ цепной состоит из рукоятки, двух щек, шарнирно соединенных с рукояткой и цепи с плоскими шарнирными звеньями. Недостаток – большая масса, неудобство установки на трубе и освобождении цепи при заклинивании ее в щеках, разрушение наружной поверхности трубы зубцами щек.
Механизация процессов СПО
Текущий и капитальный ремонт скважин – наиболее трудоемкие операции. Для механического свинчивания и развинчивания НКТ применяют автомат АПР-2 .
Автомат АПР -2 предназначен для механизации операции по свинчиванию и развинчиванию и автоматизации операции по захвату, удержания на весу, освобождению и центрированию колонны НКТ при ремонте скважины. Состоит из блока вращателя, электрического привода и клиньевых подвесок для труб.
Блок вращателя представляет собой корпус спайдера с червячным редуктором и водилом, передающим вращающее усилие трубному ключу. Редуктор защищен кожухом, образующим масляную ванну. Корпус автомата, в который вставляют клиновую подвеску, состоящую из направляющей с кольцевым основанием с шарнирно подвешенными тремя клиньями, крепится к пьедесталу центратора болтами. Центратор удобен в работе и позволяет ускорить переход на трубы другого диаметра. Состоит он из пьедестала, фиксатора и сменных вкладышей под каждый размер трубы. Клиньевую подвеску соответствующего трубе размера на время работы вставляют в корпус АПР-2. инерционное устройство, оборудованное манометром, позволяет регулировать крутящий момент на водиле автомата. АПР-2 работает в комплекте с элеваторами ЭТА, трубными ключами КТГУ и стопорными ключами.
Гидравлический подвесной трубный. Автоматический штанговый ключ «Oil-Cantri» ключ АШК-Т
Механический универсальный ключ КМУ-50 предназначен для механизации операций по свинчиванию и развинчиванию и удержанию подвески НКТ, эксплуатируемых всеми видами оборудования, включая ЭЦН. Состоит из блока вращателя с электроприводом, спайдера с блоком клиньев и блока управления электроприводом. При СПО колонна НКТ заклинивается в спайдере. Ключ надвигается на колонну вращением вокруг оси. Включением привода осуществляется вращение водила в нужную сторону, при этом трубы свинчиваются и развинчиваются.
Применяется в комплекте с элеваторами ЭТА, трубными ключами КТГУ и стопорными ключами. Выполнен в виде блоков, что создает удобство при монтаже и транспортировке, прост в эксплуатации, обеспечивает высокие темпы работы.
Механический подвесной трубный ключ КМПТ замкнутого типа с гидравлическим приводом, предназначен для свинчивания и развинчивания НКТ диаметром 48 -114 мм, состоит из вращателя со сменными вкладышами, приводного гидравлического двигателя и подвесного кронштейна. Достоинство ключа – приложение усилия отвинчивания в трех равномерно расположенных по окружности точках, что значительно повышает эффективность.
Автоматический штанговый ключ АШК-Т, комплектуемый штанговыми элеваторами, предназначен для механизации свинчивания и развинчивания насосных штанг в процессе СПО. Состоит из следующих блоков: редуктора, включающего захватную часть со сменными верхними ключами, электропривод, сменные маховики, стопорную часть со сменными нижними ключами; управление приводом с магнитным пускателем; стойки ключа, включающего в себя кронштейн с замковым устройством, основание и комплект сменных переводных патрубков.
Комплекс инструмента штанговый КОИШ - служит для захвата и удерживания колонны насосных штанг на талевом блоке во время спуска и подъема; удерживания колонны штанг на устье, во время свинчивания-развинчивания резьбовых соединений; выкладки штанг на мостки и подъема с мостков; свинчивание-развинчивание резьбовых соединений насосных штанг с закреплением и раскреплением; стопорения колонны штанг во время свинчивания- развинчивания; обеспечение вращения штанги со штанговым элеватором “под квадрат” относительно талевого блока во время свинчивания-развинчивания; обеспечение гибкой связи между талевым блоком и штанговым элеватором для спуска-подъема штанг с выкладкой на мостки; герметичное перекрытие на устье скважины при ГНВП.
ОСОБЕННОСТИ:
1. Позволяет осуществлять спуско-подъемные операции с использованием одного, постоянно подвешенного к талевому блоку, штангового элеватора.
2. Имеет удобные стопорные ключи для штанг, устанавливаемые с упором на корпус подставки, благодаря чему повышается эффективность развинчивания последних и свинчивания первых резьб в соединениях колонны штанг - так как усилия работающих прикладываются лишь к одному ведущему (рабочему) - штанговому ключу.
3. Обеспечивает наилучшее качество и производительность свинчивания - развинчивания при производстве этих работ вручную.
4. Быстрый монтаж - демонтаж, обусловленный подвешиванием штангового элеватора к талевому блоку через элеватор типа ЭТА посредством специальной вкладной серьги.
5. Надежное и гибкое постоянное подвешивание штангового элеватора к талевому блоку без промежуточного штропа путем применения для этой цели вкладной серьги и элеватора ЭТА с блокируемым замком.
6. Использованы узлы и инструменты из серийного комплекса штангового ключа КШЭ
Обсадные трубы. Элементы низа обсадной колонны
Обсадными трубами называют высокопрочные трубы большого диаметра от 114 до 508 мм, предназначенные для крепления стенок скважины после бурения, перекрытия и изоляции друг от друга нефтеносных, газоносных, водоносных пластов и пропластков.
Обсадные трубы и муфты к ним изготавливают из марок сталей группы прочности С, Д, К, Е, М, Р с нормальной удлиненной резьбой. Трубы поставляются длиной от 9,5 до 13 м. Каждый поставляемый комплект труб снабжают сертификатом, удостоверяющим качество труб и стандарта. На каждой трубе на расстоянии 0,4 – 0,6 м от ее конца, свободного от муфты выбивают клеймо, на котором указаны:
Условный диаметр, мм
Группа прочности стали
Длина резьбы
Толщина стенки, мм
Товарный знак завода изготовителя
Месяц и год выпуска
Трубы групп прочности сталей К, Е, Л, М, Р подвергаются термообработке. Резьба муфт должна быть оцинкована. Герметичность соединений труб обеспечивается коническими уплотнительными поверхностями, расположенными со стороны торца трубы. В соединении предусмотрен контакт по внутренним упорным торцам, фиксирующий заданный натяг при закреплении соединения.
Элементы низа обсадной колонны:
Переводники для перехода с замковой резьбы на резьбу обсадных труб предназначены для соединения колонны бурильных и обсадных труб. Представляют собой сочетание муфтового замка с ниппельным концом обсадной трубы.
Направляющие пробки, предназначенные для правильного направления спускаемой обсадной колонны по стволу скважины, изготавливают из серого чугуна. Применяют бетонную направляющую пробку ПБН, состоящую из металлического корпуса и бетонного наконечника.
Башмак, предназначен для придания жесткости низу обсадной колонны, представляет собой толстостенный стальной патрубок. Существует два типа башмака:
БП - с направляющей чугунной пробкой, поставляемый свинченным с направляющей пробкой.
Б – с фаской без направляющей пробки.
На башмаках клеймением наносят маркировку с указанием товарного знака завода – изготовителя, условного обозначения башмака, порядкового номера и даты выпуска.
Обратный клапан применяют для облегчения спуска колонны обсадных труб, а так же в целях предотвращения выброса или обратного движения раствора. Кроме того, его использование способствует частичной промывке и очищению заколонного пространства скважины. По конструкции различают корпусные и безкорпусные, а по виду запорного элемента – тарельчатые, шаровые и с шарнирной заслонкой.
Упорное кольцо (кольцо «стоп»), изготовляемое из серого чугуна, предназначено для установки цементировочной пробки на заданной глубине и получения четкого сигнала об окончании продавки цементного раствора.
Насосно-компрессорные трубы, их назначение и маркировка. Эксплуатация
Насосно-компрессорные трубы (НКТ) служат для извлечения жидкости и газа из скважин, нагнетания воды, сжатого воздуха (газа) и производства различных видов работ по текущему и капитальному ремонту скважин. Изготавливают их двух типов: с гладкими и с высаженными наружу концами, на которых нарезают наружную резьбу, а на один конец навинчивают соединительную муфту. На расстоянии 0,4 - 0,6 м от конца труб, со стороны муфт, выбивают клеймо – маркировку. Она указывает на: условный диаметр трубы, мм; группу прочности стали; толщину стенки, мм; товарный знак; месяц и год выпуска. Трубы гладкие и муфты к ним изготавливают из стали групп прочности К, Е, Л, М, а трубы с высаженными концами – из стали групп прочности Д, К, Е, Л, М. поверхность их резьбы покрывают смазкой, обеспечивающей герметичность соединения и предохраняющей от задиров и коррозии.
Безмуфтовые насосно-компрессорные трубы (НКБ) обеспечивают герметичность соединений при давлении до 50 мПа. Концы их имеют высадку наружу; соединение обладает большой прочностью. Герметичность соединений обеспечивается коническими уплотнительными поверхностями, расположенными за резьбой со стороны меньших диаметров. В соединении труб применена трапецеидальная резьба.
Муфтовые насосно-компрессорные трубы (НКМ) обеспечивают герметичность соединений при давлении до 50 мПа. Прочность соединений составляет до 90% прочности тела трубы. В соединении труб применена трапецеидальная резьба.
Насосно-компрессорные трубы из алюминиевых сплавов. Устойчивы к воздействию сероводородной коррозии, что исключает применение ингибиторов коррозии. Благодаря небольшой массе, удельная прочность алюминиевых труб в 2,5 раза выше, чем стальных. Это позволяет составлять колонну в 2,5 раза длиннее, по сравнению с колонной из стальных труб.
Насосно-компрессорные трубы с защитными покрытиями применяют для предотвращения отложений в них парафина, солей и гипса, а также для защиты от коррозии. При использовании этих труб уменьшается число потребных текущих ремонтов скважин, увеличивается срок их службы. Внутреннюю поверхность НКТ покрывают жидким стеклом, эмалями, эпоксидными смолами или лаками. Наиболее распространено остекловывание труб.

Эксплуатация НКТ. В процессе эксплуатации следует соблюдать следующие правила.
Для погрузки, перевозки и разгрузки труб следует применять механизированные трубовозки. Запрещается перевозить трубы волоком, нельзя допускать, чтобы при перевозке они провисали и изгибались. Также нельзя сбрасывать их на землю, необходимо пользоваться краном.
Трубы следует укладывать на площадке, подложив под них деревянные бруски для предохранения от провисания и загрязнения. Нельзя укладывать НКТ на землю. На резьбовую часть каждой трубы должно быть навинчено предохранительное кольцо.
С целью проверки состояния труб перед подъемом с мостков через трубу необходимо пропустить шаблон длиной 0,5 – 1,0 м и диаметром на 2 - 3 мм меньше внутреннего ее диаметра. Нижний конец трубы нужно поддерживать, следя за выходом шаблона.
Перед свинчиванием трубы необходимо металлической щеткой тщательно очистить от грязи резьбу, как муфты, так и ниппеля и смазать резьбы специальной смазкой.
Ударять ручником (кувалдой) по муфте в целях облегчения свинчивания или отвинчивания труб не разрешается.
При подъеме из скважины трубы следует укладывать на мостки с деревянными подкладками между рядами.
Насосные штанги. Эксплуатация насосных штанг.
Насосные штанги – стальные стержни круглого сечения, соединяемые между собой муфтами. Предназначены, для передачи возвратно-поступательного движения от станка-качалки к плунжеру скважинных насосов. С их помощью осуществляется спуск и подъем вставных скважинных насосов.
Штанга имеет резьбу и участок с квадратным сечением для захвата ее ключом при свинчивании развинчивании резьбового соединения. Для повышения износоустойчивости и снижения воздействия коррозионной среды штанги подвергают термообработке.
Сальниковый (полированный) шток – самая верхняя штанга в колонне, предназначенная для обеспечения герметичности устья скважины при возвратно-поступательных перемещений колонны насосных штанг внутри устьевого сальника. Их изготавливают из термически обработанного круглого стального проката. Подвешивают их к головке балансира станка-качалки на канатных подвесках, а с колонной насосных штанг соединяют с помощью муфты.
Для предотвращения износа насосных штанг и муфт применяют протекторные муфты.
С целью устранения продольного изгиба нижней части колонны штанг, применяют утяжеленный низ. Собирается он из сплошных трубчатых штанг большого сечения и состоит из секций длиной 4 – 5 м.
Эксплуатация насосных штанг. Работоспособность насосных штанг зависит от правильного обращения с ними при транспортировке, хранении и эксплуатации. Следует соблюдать следующие правила.
Не допускать составления одноступенчатых колонн или отдельных ступеней многоступенчатых колонн из штанг различных марок.
При спуске в скважину новых штанг необходимо оставлять на мостках три – четыре запасные той же марки для замены в случае необходимости.
При развинчивании колонны во время запрещается обстукивать штаги ключом, муфты должны навинчиваться от руки до соприкосновения их торца с буртом.
Резьбовые соединения перед свинчиванием штанг необходимо тщательно очистить от грязи, смазать, а затем свинтить при необходимом крутящем моменте.
Необходимо внимательно следить за правильной установкой штанг в элеватор, во избежание их изгиба. Выпрямлять искривленные штанги запрещено, их следует отбраковывать.
Для предохранения их от повреждений, скопления грязи и влаги при хранении и транспортировке на открытую резьбу штанги навинчивают предохранительный колпачок, а на открытый конец муфты – предохранительную пробку.
Инструменты для ловли и извлечения из скважин НКТ
Инструменты, предназначенные для ловли (захвата) и извлечения из скважины бурильных, насосно-компрессорных труб, штанг, тартального каната, каротажного кабеля, кабеля УЭЦН и других предметов, называют ловильными.
Универсальный эксплуатационный метчик МЭУ предназначен для ловли НКТ за внутреннюю поверхность врезанием в последнюю. Представляет собой единый массивный стержень, в котором совмещены удлиненный конус и цилиндр. В цилиндре нарезана внутренняя замковая резьба для соединения с бурильными трубами, а на поверхности удлиненного корпуса – резьба специального профиля для врезания в тело аварийной НКТ и 4 -5 канавки для выхода стружки при врезании. Метчик имеет сквозное отверстие для прохода промывочной жидкости.
Специальный эксплуатационный метчик МЭС (метчик-калибр) предназначен для захвата НКТ за резьбу муфты и извлечения аварийных труб. Конструкция МЭС аналогична конструкции МЭУ, отличие лишь в том, что на нижнем конце метчика нарезана ловильная резьба по профилю резьбы соответствующего размера НКТ, но с увеличенным натягом.
Универсальный бурильный метчик МБУ предназначен для ловли колонны бурильных труб.
Специальный замковый метчик МСЗ предназначен для ловли аварийных бурильных труб за внутреннюю замковую резьбу.
Колокола К и КС (КСБ) предназначены для ловли НКТ с нарезанием резьбы на их наружной поверхности. Конусность ловильной резьбы 1:16.сквозные колокола применяются для ловли НКТ за наружную поверхность верхней муфты, когда из нее выступает концы меньшего диаметра или других предметов.
Овершот ОЭ предназначен для извлечения из скважины неприхваченных НКТ. Состоит из цилиндрического корпуса, внутри которого находится кольцо с тремя пружинами.
Труболовки внутренние освобождающиеся ТВМ-1, ТВМ 60-1, ТВМ 73-1, ТВМ 89-1, ТВМ 114-1 (1 – исполнение) предназначены для захвата за внутреннюю поверхность НКТ, состоят из механизмов захвата и фиксации плашек в освобожденном положении. В них предусмотрен сквозной продольный канал для промывочной жидкости.
Труболовки внутренние неосвобождающиеся ТВ состоят только из механизма захвата, который изготавливают в двух исполнениях: одноплашечный и шестиплашечный.
Труболовки наружные освобождающиеся ТНО 116-76 и ТНО 136-89 предназначены для захвата за наружную поверхность аварийных НКТ (или муфт) и извлечения колонны целиком или по частям путем отвинчивания труб. При необходимости труболовку освобождают от захвата и извлекают из скважины.
Инструменты для ловли и извлечения из скважин насосных штанг, тартального каната желонки и мелких предметов
Нешарнирные удочки УО 1-168, УК 1-168, УООП 1-168, УОП 1-168, применяемые для ловли и извлечения из скважин тартальных канатов диаметром не более 19 мм, а также каротажных кабелей диаметрами не более 22 мм. Представляют собой стержни круглого сечения с приваренными крючками специальной формы. На верхнем конце его нарезана резьба левого направления для ввинчивания переводной муфты, имеющей резьбу замка 89мм бурильных труб для присоединения удочки к СБТ. На нижний конец муфты бурильных труб навинчивают воронку, служащую направлением входа стержня в клубок спутанного каната или кабеля (сальник).
Комбинированный ловитель ЛКШТ-168 предназначен для ловли и извлечения из скважин насосных штанг всех диаметров как одиночных, так и расположенных в виде пучка (два – три ряда), а также 48, 60 и 73-мм НКТ в эксплуатационной колонне. Ловитель спускают в скважину на 2 – 3 метра ниже верхнего конца аварийного инструмента. Затем, медленно вращая, снова опускают вниз. При этом, верхний конец инструмента, проходит в ловитель, через нижний, средний и верхний корпуса входят в клапан, откидывают плашки и проникают внутрь ловильных труб. При подъеме ловителя трубы или штанги захватываются плашками в одном или нескольких корпусах ловителя.
Штанголовитель комбинированный ШК предназначен для ловли (за тело и муфты) и извлечения штанг из скважины всех размеров из колонны НКТ диаметрами 60, 73, 89мм. Состоит он из верхнего и нижнего корпусов, вилки, переводника, плашек, пружин верхней, нижней цанги и направляющих винтов.
Комбинированный ловитель ЛКШ-114 предназначен для ловли, отвинчивания и извлечения из скважины, диаметром 114мм, аварийных штанг. При этом ловля может осуществляться за тело или муфту штанг диаметрами 16, 19, 22мм, а также за верхний безмуфтовый конец недеформированных НКТ 48мм с гладкими концами.
Канаторезка 2Кр 19/146 используется в случае обрыва и оставления в скважине тартального каната или каротажного кабеля диаметром не более 19мм в эксплуатационной колонне 146мм для их резки.
Фрезеры и райберы
При ликвидации аварий в скважинах значительный объем работ занимает фрезерование аварийных металлических предметов и разбуривание цемента. Фрезерование – наиболее распространенный и повсеместно применяемый в практике восстановления аварийных скважин способ, основанный на резании металлов с помощью различных устройств.
Забойный истирающий фрезер ФЗ предназначен для фрезерования металлических предметов и цемента в закрепленных и незакрепленных обсадной колонной эксплуатационных и бурящихся скважинах диаметром от 90 до 480мм. Отличается он более высокими показателями фрезерования по металлу (до 20 м). выполнен в термоизносостойком исполнении. Высота армированного слоя режущей части составляет 25-30мм.
Фрезер ФЗ-1 состоит из цилиндрического корпуса, нижний конец которого армирован композиционным материалом, а верхний снабжен замковой резьбой для свинчивания с колонной СБТ. В армированном слое предусмотрены промывочные каналы, по которым промывочная жидкость поступает непосредственно в зону резания.
Фрезер забойный ФЗЭ предназначен для фрезерования аварийных легкосплавных металлических предметов и очистке ствола скважины. На режущем его торце предусмотрены зубья и отверстия для подачи промывочной жидкости в зону фрезерования, в верхней части – замковая резьба для присоединения фрезера к бурильной колонне.
Фрезер истирающе-режущий кольцевой ФК, предназначенный для фрезерования прихваченных бурильных и НКТ в закрепленных обсадной колонной скважинах. Состоит из корпуса, резьбовой головки и режущей кромки. На внутренней поверхности корпуса этих фрезеров нарезаны винтовые пазы, пересекающие вертикальные каналы, расположенные в теле. Направление пазов противоположно вращению фрезера.
Фрезеры-ловители магнитные ФМ предназначены для ликвидаций аварий путем фрезерования и извлечения мелких металлических предметов. Фрезер спускают в скважину и не доходя до забоя на 5 – 6 метров начинают промывку с одновременным вращением колонны бурильных труб, а затем медленно доводят до забоя, фрезеруют и накрывают аварийный объект. Затем, прекратив промывку, поднимают инструмент на поверхность. При этом нельзя допускать резких посадок колонны на ротор и резких торможений.
Фрезер забойный комбинированный ФЗК предназначен для кольцевого фрезерования по наружному диаметру и последующего фрезерования по всему сечению незакрепленных предметов в колонне. Состоит из переводника, торцевого и кольцевого фрезеров. Торцевой фрезер имеет промывочные каналы и присоединительную резьбу для хвостовика.
Фрезер истирающе-режущий пилотный ФП предназначен для фрезерования в обсаженной колонне НКТ и бурильных прихваченных труб, пакеров, сплошного дна, муфт, хвостовиков, замков, элементов ЭЦН и т. д. также его применяют для подготовки фрезеруемых объектов к захвату ловильным инструментом.
Фрезер колонный конусный ФКК предназначен для фрезерования поврежденных мест (смятий, сломов) эксплуатационных колонн скважин под шаблон соответствующего размера, а также очистке стенок ствола скважины от цементной корки.
Конусные райбера РК 1 предназначены для фрезерования верхнего поврежденного конца оставшихся в скважине НКТ. На конической поверхности райбера имеются зубья; для прохода промывочной жидкости предназначено сквозное отверстие. Фрезерование поврежденной трубы позволяет спускать внутреннюю труболовку на глубину не менее 0,5 метров. Райберы выпускают с правым и левым направлением резьбы из стали марки 20Х, подвергают термообработке – цементации зубьев с последующей закалкой и отпуском.
Пакеры
Пакер предназначен для разобщения отдельных участков ствола скважины с целью:
Подачи изоляционного реагента, кислоты в заранее выбранный интервал
Проведение гидроразрыва пласта (ГРП) для предотвращения повреждений эксплуатационной колонны
Изоляции негерметичности (дефекта) эксплуатационной колонны
Одновременно-раздельного закачивания жидкости и одновременно-раздельной добычи нефти или газа
Поиска интервала (глубины) негерметичности эксплуатационной колонны, путем ее поинтервальной опрессовки.
По способу установки в скважине пакеры подразделяются на пакеры с опорой на забой и без опоры. К низу пакеров с опорой на забой присоединяют трубы (хвостовик), от длины которого зависит глубина установки пакера. Пакеры без опоры на забой можно устанавливать на любой глубине скважины.
В зависимости от направления действующих усилий различают пакеры следующих типов:
ПВ – перепад давлений направлен вверх
ПН – перепад давлений направлен вниз
ПД – перепад давлений направлен как вниз, так и вверх.
По способу создания сил, деформирующих уплотнительный элемент, пакеры делятся на:
механические - уплотнение происходит под действием веса колонны труб.
гидравлические – уплотнение происходит за счет перепада давления сверху и снизу пакера.
Механические пакеры более простые по конструкции, однако, веса трубы не всегда хватает для уплотнения. Гидравлические пакеры способны воспринимать большие перепады давления (до 50 мПа), но сложны по конструкции.
Шифр пакеров означает: буквенная часть – тип пакера (ПВ, ПН, ПД), способ посадки и освобождения (Г – гидравлический, М – механический, ГМ – гидромеханический) и наличие якорного устройства (буква – Я); цифра перед буквами – номер модели; первое число после букв – наружный диаметр, мм; второе число – максимальное рабочее давление; последняя буква и цифра – сероводородостойкое исполнение (К2).
Пакер ПВ-М (уплотнительные элементы резиновые) применяют при проведении ремонтных работ и при обработках призабойной зоны пласта. При спуске пакера в скважину шлипсы фиксируются в нижнем положении, для их освобождения необходимо вращение подвески НКТ по часовой стрелке на ¼ оборота. При дальнейшем спуске труб шлипсы упираются в экс.колонну, и происходит уплотнение резинового элемента пакера. Для освобождения пакера создают растягивающую нагрузку.
Шлипсовый пакер ПНМШ состоит из головки, штока, фонаря, двух резиновых манжет, ограничителя и опорного кольца. Уплотнение манжет осуществляется под действием веса НКТ при опоре конуса на шлипсы пакера. Для установки пакера его приподнимают на 0,3 -0,5 м с последующим поворотом труб вправо на 1 – 1,5 оборота. Пакер поднимают на поверхность через 2 часа после снижения давления под ним.
Пакер гидравлический самоуплотняющийся ПНГС состоит головки, штока, фонаря, двух резиновых манжет, ограничителя и опорного кольца. Уплотнение резиновых манжет осуществляется за счет давления жидкости.
Пакер гидравлический ПНГК состоит из головки, опорного кольца, ограничителя, верхней ограничительной манжеты, гидравлической манжеты, фонаря и клапана. Уплотнение гидравлической манжеты осуществляется за счет давления жидкости при ГРП.
Промежуточный гидромеханический пакер ППГМ – 1 предназначен для разобщения двух участков экс.колонну при обычной или раздельной эксплуатации скважин. Он состоит из уплотнительного, заякоривающего, клапанного устройств и гидропривода. После спуска пакера в скважину для сжатия уплотнительных манжет, проходное отверстие пакера перекрывается сбрасываемым шариком. В колонне НКТ создается давление, винты (пины) срезаются, поршень передвигает плашки по конусу и пакер с помощью якоря укрепляется в экс.колонне. Отсутствие необходимости вращения колонны НКТ позволяет применять этот пакер в глубоких и наклонных скважинах.
Пакер КПИ 5 – 500 предназначен для многократных операций по обработке ПЗП без подъема оборудования, а так же для одновременно-раздельного закачивания воды в пласт. После спуска пакера в скважину на НКТ в них создаются избыточное давление и шлипсы якоря входят в зацепление со стенками экс.колонны. Под действием веса колонны НКТ уплотнительные манжеты герметизируют интервал обработки, удерживаясь фиксатором в рабочем положении.
Прежде чем спустить пакер в скважину, необходимо обследовать колонну конусной печатью и установить проходимость шаблоном с устья до верхних отверстий фильтра. Длина размер шаблона должна быть несколько больше существующего размера пакера.
Якори
Якори – устройства, предназначенные для закрепления колонны подъемных труб за стенку эксплуатационной колонны с целью предотвращения перемещения скважинного оборудования под воздействием нагрузки. Якори применяют преимущественно с пакерами типа ПВ и ПН. Перед каждым спуском якоря проверяют надежность крепления резьбовых соединений корпуса с головкой и хвостовиком; герметичность уплотнения и выдвижение плашек при избыточном внутреннем давлении. После подъема этих устройств их тщательно промывают и очищают от грязи, песка и парафина, тщательно очищают от нефти резиновые манжеты. Якори ЯГ и ЯГ-1 предназначены для предотвращения скольжения скважинного оборудования внутри эксплуатационной колонны.
Якорь ЯГ. На стволе его установлен конус, имеющий направляющие для плашек, вставленные в Т-образные пазы плашкодержателя. Якорь, спускаемый в скважину на колонне НКТ, закрепляется при помощи жидкости под давлением. Жидкость, попадая под поршень, срезает винты, перемещает плашкодержатель и плашки вверх, которые расходятся в радиальном направлении и заякориваются на внутренней стенке экс.колонны. якорь освобождается при подъеме колонны труб.
Якорь ЯГ-1 состоит из корпуса, в окна которого вставлены плашки, удерживаемые пружиной в утопленном состоянии. Планки крепятся на корпусе при помощи винтов. Закрепление якоря в колонне происходит при выдвижении плашек наружу в радиальном направлении и внедрении в стенку колонны. После прекращения нагнетания жидкости в скважину плашки, под действием пружин, возвращаются в исходное положение, в результате чего освобождается якорь.
Капитальный ремонт скважин
Капитальный ремонт скважин – комплекс работ, связанный с восстановлением работоспособности эксплутационных колонн, цементного кольца, призабойной зоны пласта, ликвидация аварий, спуск и подъем оборудования для раздельной эксплуатации и закачки.
В зависимости от объема работ, их характера и степени сложности капитальные ремонты подразделяются на две категории сложности:
Ремонты при глубине скважины до 1500 метров
Ремонты в скважинах свыше 1500 метров
Ко второй категории также относят независимо от глубины скважины, все виды наиболее сложных и трудоемких работ, связанных с ликвидацией аварий и осложнений, исправлением смятий или заменой участков поврежденных обсадных колонн, проведением гидроразрыва пласта; работы в скважинах с сильными нефтегазопрявлениями; ремонты в наклонно-направленных скважинах; все виды ремонтно-изоляционных работ; все необходимые технологические неоднократные цементные заливки.
Таблица № 3. Виды работ по КРС.
|
Виды работ по капитальному ремонту скважин |
Технико-технологические требования к сдаче |
|
Ремонтно-изоляционные работы. Отключение отдельных обводненных интервалов пласта. |
Выполнение запланированного объема работ, снижение обводненности продукции. |
|
Отключение отдельных пластов. |
Герметичность колонны, цементного кольца в интервале отключаемого пласта или герметичность пакерующего устройства. |
|
Исправление негерметичности цементного кольца. |
Выполнение запланированного объема работ, снижение обводненности продукции, увеличение дебета. |
|
Наращивание цементного кольца за эксплуатационной колонной.з стальной проволоки, которую свивают в пряди. ропов. ом, так, чтобы он мог перемещаться во время СПО.тяжной ролик, закрепляют |
Отсутствие поверхностных выходов жидкости и газа и перетоков за колонной. |
|
Устранение негерметичности эксплутационной колонны |
Герметичность колонны при опрессовке. |
|
Крепление слабосцементированных пород. |
Отсутствие выноса песка при эксплуатации скважины. |
|
Устранение аварий, допущенных в процессе эксплуатации и ремонте скважины. |
Выполнение запланированных работ, прохождение шаблона до необходимой глубины. |
|
Переход на другие горизонты и приобщение пластов. |
Уменьшение потерь нефти. |
|
Ремонты скважин, оборудованных пакерами. |
Герметичность пакера, увеличение дебета нефти. Увеличение, сокращение объемов закачки воды. |
|
Зарезка и бурение второго ствола. |
Выполнение запланированного объема работ. |
|
Ремонт нагнетательных скважин. |
Герметичность колонны и кондуктора, увеличение, сокращение приемистости скважины. |
|
Проведение СКО, ГРП. |
Увеличение продуктивности нефтяных скважин и приемистости нагнетающих скважин. |
|
Обработка суспензиями, коагулянтами, полимерами, смолами, растворами ПАВ. |
Уменьшение степени неравномерности закачки воды по мощности пласта. |
Единицей ремонтных работ является скважино-ремонт. Это комплекс подготовительных, основных и заключительных работ, выполняемых на скважине от ее приема в ремонт до ввода в эксплуатацию.
Необходимость проведения работ по КРС основывается факторами:
Требованиями технологии рациональной разработки месторождения, залежи, пласта.
Возможностью получения дополнительной нефти при улучшении технико-экономических показателей.
Несоответствием конструкции скважины условиям эксплуатации и разработки месторождения.
Несоответствием дебета нефти, содержанием воды в продукции скважины и их изменений параметрам продуктивного пласта в нефтяных добывающих скважинах; приемистости, давления нагнетания в водонагнетаемых скважинах.
Возможностью повышения продуктивности скважин за счет увеличения проницаемости пласта в призабойной зоне.
Возникновением аварийных ситуаций, связанных со скважинным оборудованием, исследовательской аппаратурой и приборами.
Исследование скважин
скважина бурение ствол насос пласт
Исследование скважин проводят с целью установления интенсивности притока жидкости из пласта через фильтр в зависимости от забойного давления, определения характера притока жидкости и газа через нарушения в эксплуатационной колонне, а также контроля технического состояния обсадной колонны и цементного кольца в заколонном и межколонном пространствах.
Скважины исследуют для:
Выявления и выделения интервалов негерметичности обсадных колонн и цементного кольца за ними.
Изучения гидродинамических и температурных условий ремонтируемого участка ствола.
Контроля положения муфт обсадной колонны, интервалов перфораций, искусственного забоя, инструмента, вспомогательных мостов, изолирующих патрубков.
Оценки качества промежуточных операций и ремонта в целом.
Перед началом ремонта необходимо остановить скважину, замерить затрубное и межколонное давление на устье. Затем открыть выкидную линию из межколонного пространства, уменьшить давление до атмосферного, закрыть выкидную линию межколонья и определить время восстановления давления в этом пространстве от атмосферного. После этого следует заглушить скважину промывочной жидкостью, необходимой плотности и следить за изменением межколонного давления. Продолжение межколонных газопроявлений укажет на наличие перетоков газа по негерметичному заколонному пространству. Если проявления прекратятся, то герметичность колонны подтверждается.
Местоположение каналов утечки флюидов определяют геофизическими и гидродинамическими методами.
Обследование и подготовка ствола скважины
Обследование скважины проводят после установления герметичности колонной головки с целью определения глубины забоя и уровня жидкости, проверки состояния экс.колонны и ствола скважины, чтобы установить наличие в нем дефектов, аварийного подземного оборудования и посторонних дефектов. Эти работы производят печатями.
Печать – специальное устройство, корпус которого снизу и с боков покрыт свинцовой оболочкой толщиной 8 – 10 мм. По оси корпуса предусмотрено сквозное отверстие, через которое прокачивается жидкость. В верхней части имеется резьба для присоединения к бурильным трубам и НКТ, на которых печать спускают в скважину. Применяют плоские, конусные, универсальные и гидравлические печати.
Плоская печать предназначена для определения глубины находящегося в скважине аварийного подземного оборудования, состояния его концов и переходных воронок обсадных колонн. Диаметр цилиндрической части свинцовой оболочки печати должен быть меньше внутреннего диаметра обследуемой колонны на 10 – 12 мм.
Конусная печать предназначена для получения отпечатков стенки экс.колонны, фильтровой части, участков сложных нарушений, смятий, трещин. Свинцовую оболочку этой печати изготавливают так, чтобы диаметр широкой части был на 6 - 10 мм меньше внутреннего диаметра обследуемой колонны, а нижняя часть конуса была бы на 50 – 55 мм меньше широкой части.
Универсальная печать ПУ – 2 имеет алюминиевую оболочку и состоит из корпуса, зажимного устройства и переводника. Корпус представляет собой цилиндрическое тело, на верхнем конце которого имеется конусная резьба под переводник. На утолщенную часть корпуса снизу надевают сменные резиновый стакан и алюминиевую оболочку. Печать в собранном виде спускают в скважину на бурильных трубах или НКТ. Не доводя до головы обследуемого объекта спуск печати, замедляют, и дальнейший спуск и посадку ее производят с проводкой скважины. Сжимающая нагрузка, передаваемая на печать 1500 – 2000 т, что вполне достаточно для получения отчетливого оттиска на алюминиевом торце. Под действием сжимающей нагрузки алюминиевая оболочка и резиновая подушка деформируются.
Гидравлическая печать ПГ-1 предназначена для обследования эксплуатационных колонн. Позволяет получить более четкое представление о характере и строении поврежденной колонны на всей площади соприкасающихся поверхностей резинового элемента и экс.колонны (длинна резинового элемента 4 м). В трубы, на которых спускают печать в скважину, нагнетают жидкость. Проходя через отверстие, просверленное во внутренней трубе печати, жидкость попадает под резиновый элемент, который плотно прижимается к внутренней стенке колонны. Давление доводят до 100 Атм, выдерживают в течении 5 мин, затем уменьшают до атмосферного (стравливают). После этого печать поднимают на поверхность. Посадка печати дважды не допускается, так как это дает искаженный отпечаток.
Иногда наличие в колонне дефектов (продольных трещин, протертостей в колонне, пропусков в резьбовых соединениях), через в которые в скважину поступают посторонние воды, не удается обнаружить с помощью печати. В таких случаях обследование скважины осуществляется другими способами. Один из таких способов – перекрытие фильтровой части песком, глиной или установка пакера с последующим испытанием верхней части колонны на герметичность. Фильтр перекрывать можно также установкой мостов из различных материалов.
Исправления дефектов в колонне
К дефектам, которые можно исправить, относят смятие и слом экс.колонны. смятие колонны оценивают по изменению внутреннего диаметра колонны. Смятие колонны оценивают по изменению внутреннего диаметра колонны. Если смятие по длине равно одному – двум наружным диаметрам обсадной колонны, в результате чего внутренний диаметр сузился до 0,85 номинального значения, то его считают незначительным.
Если смятие по длине равны трем и более диаметра экс.колонны, в результате чего сузился ее внутренний до 0,8 номинального значения, то смятие считают значительным.
Места смятия исправляют оправочными долотами, конусными и грушевидными фрезерами. Эти работы проводят инструментом диаметром на 4 – 5 мм больше минимального диаметра в смятой части, спускаемым до необходимой глубины. Затем с помощью ротора начинают вращать с частотой 40 – 80 об/мин. Обработав смятый участок колонны первым оправочным долотом, инструмент поднимают, заменяют долото на другое диаметром на 5 мм больше предыдущего. По мере расширения места смятия используют несколько долот так, чтобы образовался свободный проход для пропуска шаблонов. Образовавшийся дефект изолируют от возможного проникновения вод и осыпания породы.
Разбуривание цементных пробок, очистка колонны от цементной корки
Цементные пробки разбуривают роторным способом, турбобуром или винтовым забойным двигателем.
При разбуривании их роторным способом применяют пикообразные долота, а в интервале фильтра в комбинации с райбером: долото разбуривает цементную корку, а райбер центрирует долото и оправляет колонну.
При разбуривании цементных мостов используют также секционные турбобуры и забойные винтовые двигатели в сочетании с долотами соответствующих диаметров. Для промывки применяют техническую воду или буровой раствор.
Цементную корку со стенок экс.колонны очищают пикообразным или трехшарошечным долотом, грушевидными фрезерами, ступенчатыми фрезерами и скребками с режущими лезвиями, роторным или турбинным способом.
Ремонтно – изоляционные работы
Ремонтно-изоляционные работы (РИР) – работы по перекрытию путей проникновения вод в эксплуатационный объект скважины и отключение от нее отдельных пластов и обводненных интервалов. Эти работы – одно из основных средств по увеличению степени извлечения нефти из пласта.
РИР скважин проводят в случаях, когда необходимо:
Обеспечить изоляцию продуктивных объектов от вод.
Создать цементный стакан на забое скважины или цементный мост в колонне.
Перекрыть фильтр при переводе скважины на выше – или нижезалегающий горизонт.
Создать цементный пояс в призабойной зоне скважины для надежной изоляции.
Перекрыть дефекты в экс.колонне.
Изолировать продуктивные горизонты друг от друга в интервале спуска экс.колонны или хвостовика при зарезке и бурении второго ствола.
Закрепить призабойную зону скважины с целью уменьшения пробкообразования.
Основное требование к технологии – обеспечение закачки рабочих растворов изоляционного агента в скважину и продавливание в изолируемый интервал. Это достигается за счет исключения из технологии условий и операций, способствующих разбавлению рабочих растворов, а так же в результате заполнения скважины однородной по плотности жидкости; применение рабочих растворов плотностью большей, чем плотность жидкости, заполняющей скважину; использования разбуриваемых пакеров.
Тампонирование под давлением через обсадную колонну
Применяют для изоляции сквозных дефектов обсадных колонн и наращивание цементного кольца за ними, а так же для тампонирования каналов межпластовых перетоков между непродуктивными горизонтами.
На колонный фланец герметично крепят устьевую арматуру, через которую цементный раствор закачивают в колонну и затем продавливают в изолируемую зону под давлением. Скважину оставляют в покое на период ожидания затвердевания цемента (ОЗЦ) под воздействием достигнутого давления или предварительно снизив его (не более 50 Атм./мин) до планируемого.
Для устранения негерметичности обсадных колонн, когда местоположение дефекта не установлено, применяют тампонирование под давлением с непрерывной прокачкой тампонирующей смеси по затрубному пространству скважины. Для этого, нижний конец НКТ устанавливают на 5 -10 м выше искусственного забоя. В качестве материала используют гелеобразующие отверждающиеся полимерные тампонажные материалы. Приготовленную смесь закачивают в затрубное пространство, не превышая допустимого давления в колонне. По мере перехода раствора из затрубного пространства НКТ постепенно уменьшают подачу насосов, снижают давление прокачки на 20 – 30% ниже первоначального и вымывают излишки смеси на поверхность. Поднимают НКТ, и скважину оставляют на ОЗЦ.
Установка цементного моста
При установке цементных мостов в непоглощающих скважинах, прежде всего их промывают в течении 1,5 – 2 циклов для выравнивания плотностей промывочной жидкости в НКТ и в затрубном пространстве. Приготовленный объем цементного раствора закачивают в НКТ и продавливают промывочным раствором до равновесия столбов жидкости в НКТ и затрубном пространстве. Объем продавочной жидкости определяется следующим образом: путем деления объема закачанного в НКТ цементного раствора (в литрах) на объем одного метра экс.колонны (в литрах) определяют высоту столба, которую займет цементный раствор в колонне. Затем эту величину вычитают из общей длины спущенной в скважину НКТ. Полученную величину умножают на объем 1 м НКТ и определяют объем продавочной жидкости.
Башмак НКТ поднимают до верхней границы устанавливаемого моста и излишки цементного раствора вымывают. Затем НКТ поднимают на 20 -30 м, скважину заполняют и ожидают затвердевание цемента. По истечении времени ОЗЦ проверяют глубину расположения моста и его прочность посадкой НКТ, а герметичность моста – опрессовкой.
Перед установкой цементных
мостов в поглощающих скважинах
(приемистость более 7 м3/(ч
МПа))
должны быть приняты меры по ограничению
поглотительной способности пластов.
Для этого используют измельченные,
закупоривающие материалы с размерами
частиц 5 – 10 мм (древесные опилки, волокно
и т.д.). В качестве жидкости-носителя
применяют глинистый раствор, водоцементная
суспензия и водоглинистая суспензия.
Закачивание закупоривающего материала
продолжают до восстановления полной
циркуляции. После этого сразу устанавливают
цементный мост.
Классификация пластовых вод
По отношению к продуктивным нефтегазоносным горизонтам пластовые воды подразделяются:
Верхняя и нижняя воды залегают в пластах выше и ниже нефтяного пласта
Контурная (краевая и крыльевая) вода залегает в пониженной части нефтяного пласта.
Подошвенная вода в отличие от контурной располагается по всему пласту, занимая нижнюю часть его непосредственно под нефтью. Иногда эта вода залегает в отдельных пропластках, отделяясь от нефти небольшими по толщине глинистыми перемычками.
Промежуточная вода залегает в отдельных пропластках продуктивного нефтяного пласта. При этом контуры нефтеносности пропластков часто не совпадают.
Тектоническая вода – вода, проникшая в продуктивные горизонты, в скрытые скважиной, по тектоническим нарушениям.
Смешанная вода – вода нескольких нефтяных горизонтов, эксплуатируемых одной скважиной и общим фильтром.
Причины поступления чуждых вод в скважину – недоброкачественное цементирование экс.колонны, вследствие чего не достигается полное разобщение нефтеносных горизонтов от водоносных; нарушение цементного кольца в заколонном пространстве или цементного стакана на забое скважины; обводнение через соседнюю скважину, эксплуатирующую тот же горизонт; нарушение колонны в процессе эксплуатации и освоении скважины; повреждение колонны при текущем и капитальном ремонте.
Изоляция отдельных обводненных интервалов пласта
При эксплуатации одной скважины в нескольких горизонтах возможно частичное или полное обводнение продукции водами одного из горизонтов. В таких случаях должны быть проведены работы по разобщению горизонтов. Если вода проникает в скважину через нижнюю часть фильтра, то в колонне создают цементный стакан для перекрытия водоносного пропластка. В этих целях в скважину спускают НКТ до забоя, промывают ее водой, а затем цементируют без воздействия давления.
Если вода проникает в скважину через верхнюю часть фильтра, то ее изолируют цементированием с закачиванием цементного раствора под давлением через трубы. Для этого в нижнюю часть фильтра насыпают песок во избежание попадания в такую зону цементного раствора. Конец спущенных труб устанавливают выше водоносного пропластка, цементируют под давлением с последующим разбуриванием или вымывом излишка раствора. По окончании работы испытывают колонну опрессовкой.
Исправление негерметичности цементного кольца
Работы по изоляции скважины от проникновения чуждой верхней воды через дефект в экс.колонне осуществляют следующими способами:
Заливкой водоцементным раствором через дефект в колонне с последующим разбуриванием цементного стакана.
Заливкой нефтецементным раствором с последующим вымывом излишка раствора.
Спуском дополнительной предохранительной колонны с последующим ее цементированием.
Спуском пакеров.
Работы по изоляции верхней воды, поступающей по заколонному пространству через отверстия фильтра, осуществляют:
Заливкой цементным раствором через отверстия фильтра с последующим разбуриванием цементного стакана или промывкой излишка раствора.
Заливкой нефтецементным раствором через отверстия фильтра с последующим вымывом излишка раствора.
Для этих работ используют цементные растворы на водной основе с добавками понизителей водоотдачи и стабилизаторов. Место притока чуждой верхней воды определяют при помощи резистивиметра, дифманометра, электротермометра и гидроакустическими методами. Во избежание попадания цементного раствора в эксплуатационный пласт фильтр скважины засыпают песком или устанавливают цементный мост над насыпной пробкой ниже дефекта в колонне.
Наращивание цементного кольца за колонной
Цементное кольцо за незацемннтированной обсадной колонной наращивают для:
Защиты обсадных колонн от коррозии агрессивными пластовыми флюидами.
Ликвидации перетока пластовых флюидов по незацементированному заколонному пространству.
Заполнения заколонного пространства тампонажным материалам в зоне дефекта обсадной колонны.
Изолирующий состав в заколонное пространство закачивают через специальные отверстия в колонне (прямая закачка) или непосредственно в заколонное пространство с устья скважины (обратная закачка).
Устранение негерметичности обсадных колонн
Эти работы заключаются в изоляции сквозных дефектов обсадных труб и повторной герметизации их соединительных узлов (резьбовых соединений, стыковочных устройств, муфт ступенчатого цементирования МСЦ).
Повторная герметизация соединительных узлов обсадных колонн состоит в том, что ликвидирует каналы негерметичности в этих узлах тампонированием под давлением. Так же применяют метод довинчивания обсадных труб с устья скважины.
Тампонирование негерметичных резьбовых соединений обсадных колонн производят для ликвидации утечки жидких или газообразных флюидов из колонны через резьбовые соединения во время эксплуатации скважины. В качестве материалов используют фильтрующиеся полимерные составы или гель. Применение раствора в данном случае запрещается.
Докрепление негерметичных резьбовых соединений экс.колонны методом доворота обсадных труб с устья в вертикальных и наклонных скважинах с незацементированной и неприхваченной части обсадной колонны.
Для изоляции сквозных дефектов в обсадных трубах используют способы замены поврежденной части колонны, тампонирования под давлением или установку труб меньшего диаметра против дефекта.
Дополнительную колонну спускают во внутрь основной колонны, устанавливая башмак ее ниже дефекта и выше продуктивного горизонта или на забое. Иногда спускают «летучку», которая перекрывает только интервал дефектов, при этом нижняя и верхняя части экс.колонны остаются прежними. Дополнительную колонну спускают в скважину с последующим цементированием или же с установкой пакера. Длину этой колонны выбирают из расчета создания цементного кольца в затрубе на 30 – 50 метров выше верхнего дефекта в колонне. Также дополнительную колонну спускают с пакером различных конструкций. Наиболее целесообразно применение пакеров механического и гидравлического действия.
Тампонирование под давлением прокачкой смеси по затрубному пространству с остановками
При этом способе допускаются периодические остановки при прокачке тампонирующей смеси по затрубному пространству для наблюдения за динамикой изменения избыточного давления, что позволяет установить местоположение негерметичного интервала колонны. В качестве тампонирующего материала используют только гелеобразующие полимерные тампонажные материалы (ПТМ).
Для проведения работ необходимо приготовить не менее 1 м3 тампонирующей смеси вязкостью не менее 10-1 Па-с. Затем опрессовывают колонну на герметичность водой и фиксируют снижение давления в течение контрольного времени. При открытом выкиде затрубного пространства закачивают тампонирующий раствор в НКТ, вытесняя воду из них. Закрыв кран на арматуре из затрубного пространства и продолжая закачку промывочной жидкости, доводят давление в затрубном пространстве до допустимого при опрессовке колонны.
Выдержав колонну под воздействием давления в течение контрольного времени, фиксируют его снижение. Если результат опрессовки не отличается от ранее полученных данных, то, уменьшая давление в затрубном пространстве до атмосферного и продолжая закачивать промывочную жидкость в НКТ, перемещают тампонажную смесь по затрубному пространству для опрессовки следующего, расположенного выше, интервала колонны. Поинтервальную опрессовку продолжают до тех пор, пока резкое уменьшение давления не укажет на перекрытие тампонирующим составом негерметичного интервала колонны.
Количество продавочной жидкости для очередного перемещения тампонирующего состава должно составлять не более 80% от его объема. Затем вымывают излишки состава из скважины на поверхность и выдерживают скважину под давлением до истечения срока ОЗЦ.
Тампонирование под давлением с применением пакера
Этот способ применяют для:
защиты обсадных колонн при давлениях нагнетания, превышающих допустимые для опрессовки;
защиты продуктивных пластов от загрязнения при нагнетании тампонирующей смеси в изолируемый интервал, расположенный ниже зоны перфорации;
направленной подачи тампонирующей смеси под давлением в изолируемый объект, выше которого имеются негерметичные отверстия в колонне.
Цементирование без давления осуществляют в случаях, когда необходимо создать новый цементный забой (цементный стакан) в стволе скважины или перекрыть нижнюю часть фильтра цементным камнем. Этот способ в основном используют при переводе скважины на вышезалегающий горизонт, когда нет опасности прорыва чуждых вод. Этот процесс протекает успешно при условии, если скважина хорошо промыта и не поглощает жидкость. При полном или частичном поглощении жидкости забой следует засыпать песком или глиной для перекрытия отверстий фильтра.
Установка стальных пластырей
Пластырь из тонкостенной трубы ст. 10 с толщиной стенки 3 мм позволяет обеспечить герметичность эксплуатационной обсадной колонны при избыточном внутреннем давлении до 20 МПа и депрессии до 7—8 МПа. Стандартная длина пластыря 9 м. Может быть применен пластырь длиной до 15м, сваренный на производственной базе, а также секционный сварной пластырь большей длины, свариваемый над устьем скважины.
Работы по установке пластыря выполняются в следующей последовательности:
При необходимости доставляют на скважину комплект НКТ или бурильных труб грузоподъемностью на 250 кН выше усилия, создаваемого весом колонны труб, спущенных до ремонтируемого интервала.
Производят гидроиспытание труб на избыточное давление не менее 15 МПа с одновременным шаблонированием их шаблоном диаметром не менее 36 мм.
Определяют глубину, размеры и характер нарушения обсадной колонны:
геофизическими методами — интервал нарушения;
боковой гидравлической печатью ПГ-2 (ТУ 39-1106-86) уточняют размеры и определяют характер нарушения.
Очищают внутреннюю поверхность обсадной колонны в интервале ремонта от загрязнений гидравлическим скребком типа СГМ-1 (ТУ 39-1105-86).
Производят шаблонирование обсадной колонны:
в колонне диаметром 146 мм используют шаблон диаметром 121 мм и длиной 400 мм;
в колонне диаметром 168 мм используют шаблон диаметром 140 мм и длиной 400 мм;
для шаблонирования участка колонны, расположенного ниже ранее установленного пластыря, муфты МСУ или другого сужения ствола скважины, может быть использован гидромеханический шаблон ШГ-1 соответствующего диаметра.
Замеряют внутренний периметр обсадных труб в интервале установки пластыря с помощью измерителей периметра ИП-1, опускаемых на НКТ или бурильных трубах.
Сборку и подготовку устройства для запрессовки пластыря («Дорн») и продольно гофрированных труб производят на базе производственного обслуживания.
Транспортирование «Дорна» производят в собранном виде. Запрещается сбрасывать дорны и пластыри при их разгрузке с автомашины.
«Дорн» должен быть оборудован клапанами для долива и слива жидкости.
При работе на загрязненных жидкостях целесообразно над «Дорном» устанавливать пескосборник.
Длина пластыря выбирается, исходя из размеров поврежденного участка обсадной колонны. Длина пластыря должна быть не менее чем на 3 м больше длины повреждения. В большинстве случаев используются пластыри стандартной длины (9 м), при необходимости — удлиненные сварные.
Наружный периметр продольно-гофрированных заготовок пластыря выбирают, исходя из результатов замеров внутреннего периметра обсадной колонны и толщины стенки ее в интервале ремонта.
На производственной базе и перед спуском в скважину на наружную поверхность продольногофрированных заготовок пластыря наносится слой герметика.
Технология установки стального пластыря в обсадной колонне в общем виде следующая
на устье скважины собирают дорн с продольногофрированной трубой;
дорн с заготовкой пластыря спускают на НКТ или бурильных трубах и устанавливают в интервале нарушения обсадной колонны;
соединяют нагнетательную линию со спущенной колонной труб, с помощью насоса цементировочного агрегата создают давление и производят запрессовку пластыря;
приглаживают пластырь дорнирующей головкой при избыточном давлении 12 МПа не менее 4—5 раз,
не извлекая «Дорн» из скважины, опрессовывают колонну, при необходимости приглаживание повторяют;
поднимают колонну труб с «Дорном», осваивают и вводят скважину в эксплуатацию
Устранение негерметичности спуском дополнительной обсадной колонны меньшего диаметра
Перекрытие дефекта обсадной колонны трубами меньшего диаметра производят в случаях, если:
замена дефектной части обсадной колонны технически невозможна;
метод тампонирования не обеспечивает необходимой герметичности обсадной колонны;
обсадная колонна имеет несколько дефектов, устранение которых технически невозможно или экономически нецелесообразно;
по условиям эксплуатации скважины допускается уменьшение проходного сечения колонны.
Оценка качества работы:
при испытании отремонтированного интервала газом межколонные проявления должны отсутствовать;
качество РИР без отключения перфорированной зоны оценивают по результатам изменения межколонного давления при освоении и эксплуатации скважины;
при определении показателя долговечности (среднего срока службы изолирующего тампона) устанавливают ежемесячный контроль за эксплуатацией скважин.
Дополнительные колонны спускают внутрь дефектных эксплуатационных колонн, устанавливая башмак ее ниже дефекта, или выше эксплуатационного горизонта, или на забое.
В отдельных случаях с целью экономии обсадных труб спускают «летучку», которая перекрывает только интервал дефектов, при этом нижняя и верхняя части эксплуатационной колонны остаются прежними. Верхний конец «летучки», находящийся на некотором расстоянии от устья скважины, оборудуют специальной направляющей воронкой, а нижний — башмаком с фаской.
Дополнительные колонны спускают в скважину с последующим цементированием их или же с установкой пакера. При цементировании дополнительной колонны обеспечивается надежная изоляция притока посторонних вод к фильтру скважины. Длина «летучки» принимается из расчета создания цементного кольца в затрубном пространстве на 30—50 м выше верхнего дефекта в эксплуатационной скважине.
Перед спуском в скважину резьбу «летучки» тщательно протирают и смазывают. Нижний конец ее оборудуют башмаком, а в соответствующих местах устанавливают пружинные фонари. На верхнем конце «летучки» 9 устанавливают воронку 8 с левой резьбой.
«Летучку» соединяют с колонной бурильных труб 1 посредством переводника — обратного клапана, который состоит из корпуса 2, муфты 6 с левой резьбой. Внутри муфты установлены шариковый клапан 4 с пружиной 3 и тарельчатый клапан 7. Каналы 5 соединяют полость бурильных труб через клапан 4 с кольцевым пространством скважины.
После установки песчаной или глинопесчаной пробки выше фильтра и шаблонирования колонны на бурильных трубах спускают «летучку» и цементируют ее. Затем закачивают расчетный объем цементного раствора и продавочной жидкости и после этого способом обратной промывки вымывают излишний цементный раствор через шариковый клапан переводника. Близкое расположение каналов к воронке обеспечивает удаление цементного раствора из пространства выше воронки, благодаря чему исключается прихват цементом переводника и бурильных труб.
После затвердения цемента отвинчивают колонну бурильных труб, извлекают ее из скважины, определяют высоту подъема цемента за «летучкой» и испытывают ее на герметичность. Затем разбуривают цементную пробку, промывают скважину для удаления пробки, перекрывающей отверстия фильтра. На этом ремонт заканчивается.
Дополнительные обсадные колонны можно спускать с пакерами различных конструкций. Наиболее целесообразно применять пакеры механического и гидравлического действия, предназначенные для разобщения пластов при раздельной эксплуатации нескольких пластов одной скважиной.
Дополнительную колонну с пакером «висячего» типа спускают следующим образом. В интервале существующего фильтра создают песчаную или глинопесчаную пробку, которая перекрывает отверстия фильтра. В скважину спускают шаблон и если последний беспрепятственно проходит по всему стволу, спускают дополнительную колонну с пакером до песчаной пробки. Воду в скважине заменяют глинистым раствором.
При использовании пакера механического действия уплотняют резиновые элементы весом дополнительной колонны. В случае применения пакера гидравлического действия, путем закачки жидкости в трубы освобождают чашеобразные резиновые манжеты пакера от предохранительных кожухов. Верхнюю часть колонны укрепляют на устье скважины. Испытывают пакер и дополнительную колонну на герметичность. Для этого в затрубное пространство закачивают глинистый раствор под давлением 40—80 кгс/см2 (в зависимости от диаметра дефектной эксплуатационной колонны).
Если не наблюдается перелива глинистого раствора из труб дополнительной колонны, то это означает, что пакер уплотнен, а дополнительная колонна — герметична. В скважину спускают промывочные трубы, заменяют глинистый раствор водой и промывают ее от пробки.
Для спуска дополнительных колонн на небольшую глубину нельзя применять пакеры, уплотняемые весом колонны труб, так как вес колонны небольшой. В этих случаях применяют пакеры, уплотнение которых достигается при натяжке колонны труб вверх и установке верхнего конца колонны на клинья колонного фланца.
Дополнительную колонну («летучку») спускают в скважину с верхним и нижним самоуплотняющимся пакерами, чашеобразные манжеты которых препятствуют движению жидкости в кольцевом пространстве между дефектной и дополнительной колоннами.
Если дефект в эксплуатационной колонне находится на небольшой глубине от устья скважины, его трудно устранить заливками под давлением. Цементирование в этом случае не обеспечивает прочных цементных пробок, так как схватывание цементного раствора происходит при низкой температуре, небольшом давлении и значительном поглощении жидкости через дефект в колонне. Изоляционные работы при таких условиях можно проводить путем спуска дополнительной колонны в кольцевое пространство между эксплуатационной и технической колоннами или кондуктором.
При наличии на устье скважины колонной головки пьедестальный патрубок эксплуатационной колонны заменяют патрубком с заглушкой. Если же эксплуатационная колонна закреплена на хомуте, в ее верхнюю муфту ввинчивают заглушку, снимают колонну с хомута и осторожно разгружают.
На устье скважины устанавливают ротор, затем на нижний конец дополнительной обсадной трубы навинчивают торцевой фрезер длиной 0,3—0,5 м. Наружный диаметр фрезера должен быть на 10—12 мм больше наружного диаметра муфты дополнительной обсадной колонны, а внутренний диаметр — на 8—10 мм меньше внутреннего диаметра этой колонны. Фрезеры применяют с зубьями высотой 22— 25 мм, нарезанными на торцовой части инструмента и армированными твердым сплавом.
К верхнему концу обсадной колонны через специальный переводник присоединяют вертлюг, обсадную колонну пропускают в отверстие стола ротора и накрывают фрезером верхний конец эксплуатационной колонны. В стол ротора вставляют набор вкладышей соответствующего размера и, вращая обсадную трубу с фрезером при одновременной промывке скважины глинистым раствором, обуривают эксплуатационную колонну на длину первой обсадной трубы. Обычным методом наращивают очередную обсадную трубу и продолжают обуривание до тех пор, пока дополнительная колонна не окажется на необходимой глубине. Затем на верхней муфте дополнительной колонны отвинчивают специальный переводник с вертлюгом, устанавливают цементировочную головку и цементируют дополнительную колонну.
Сразу же после закачки цементного раствора снимают цементировочную головку и монтируют колонную головку. Для этого в дополнительную и эксплуатационную колонны ввинчивают патрубки с фланцами и пьедесталом. Дополнительную колонну устанавливают на фланец технической колонны (кондуктора), а основную колонну — на пьедестал дополнительной колонны. После монтажа колонной головки скважину оставляют в покое на срок, необходимый для затвердения цемента.
Если эксплуатационная колонна была установлена на хомуте, сразу же после закачки цементного раствора снимают цементировочную головку и при помощи подъемного патрубка колонну устанавливают в то же положение, в каком она была до снятия с хомута. После затвердения цемента дополнительную колонну обвязывают с устьем, а эксплуатационную колонну сажают на хомут и вывинчивают из верхней муфты подъемный патрубок.
По окончании работ по цементированию дополнительной колонны, эксплуатационную колонну проверяют шаблоном и испытывают на герметичность.
Замена поврежденной части колонны
Поврежденную часть колонны можно заменить в случае, когда место дефекта находится выше башмака технической колонны и выше уровня цементного кольца межколонного пространства. Для этого труборезкой вырезают верхнюю часть эксплуатационной колонны на 5—6 м выше места дефекта и извлекают ее из скважины или производят отворот по нижней не прихваченной трубе. Производят спуск новой колонны. При этом соединительное звено оборудуют специальным направлением, диаметр которого на 10—12 мм меньше диаметра технической колонны. Направление имеет козырек для того, чтобы завести и направить колонну при свинчивании.
В нижней трубе для направления и центрирования спускаемой части колонны с оставшейся в скважине частью устанавливают конусную пробку, которую после соединения труб извлекают или разбуривают. После свинчивания колонну проверяют под растягивающей нагрузкой, равной 60—70% ее веса. Определяют герметичность места нового соединения колонны и при необходимости создают цементное кольцо в межколонном пространстве.
Устранение негерметичности эксплуатационной колонны доворотом
Для устранения негерметичности эксплуатационной колонны в скважину спускается пакер, демонтируется арматура, устанавливается катушка на доворот колонны. Пакер садится на нижнюю трубу эксплуатационной колонны не прихваченную цементом или обвалом горной породы. На катушку наматывается трос, с помощью бульдозера производят доворот колонны до появления реактивного момента. Вращение насосно-компрессорных труб с пакером свидетельствует о довороте нижней не прихваченной трубы эксплуатационной колонны.
Аварии, допущенные в процессе эксплуатации и ремонта скважин
В эксплуатационных и нагнетательных скважинах чаще всего происходят следующие виды аварий:
Прихват двух рядов НКТ металлическим сальником или песчаной пробкой.
Прихват одного ряда НКТ песчаной пробкой в процессе эксплуатации или промывки скважины.
Прихват НКТ со скважинным насосом и защитным приспособлением песчаной пробкой.
Обрыв одного или двух рядов НКТ.
Обрыв НКТ со штанговым насосом, штангами (или без штанг) и защитным приспособлением.
Оставление в скважине погружного ЭЦН с кабелем и без кабеля.
Обрыв насосных штанг.
Оставление тартального каната вследствие обрыва или прихвата во время чистки скважины от песчаной пробки или свабирования.
Обрыв каротажного кабеля при геофизических и электрометрических работах.
Оставление в скважине или падение в нее отдельных предметов.
Забитость экс.колонны различными посторонними предметами.
Перед началом работ по ликвидации аварии должны быть точные данные о схеме спущенного лифта, марке, числе и размерах труб и штанг по диаметрам и глубинам их спуска, а также об оставшихся в скважинах штанговых насосов или электронасосах, защитных приспособлениях и т. д.
Извлечение прихваченных труб
Обычно трубы оказываются прихваченными пробкой в нижней части, за исключением случаев, когда этот вид аварии произошел вследствие слома верхней части экс.колонны.
Существует несколько способов освобождения НКТ.
Один из них – расхаживание, т.е. попеременная натяжка и посадка колонны труб. Во избежание обрыва НКТ нагрузка при натяжке колонны должна быть на 60 – 70% меньше разрывных усилий для данного диаметра и марки труб. Расхаживать ее следует равномерно при натяжке не более 0,3 – 0,5 м за один прием, при этом периодически оставляют трубы в натянутом положении (на вытяжке). Продолжительность натяжек зависит от схемы лифта и диаметра спущенных НКТ, глубины скважины, характера и места прихвата. Если после первых двух – трех натяжек при одной и той же нагрузке удается поднять трубы за каждый прием на 0,3 – 0,5 м, то это указывает на то , что есть возможность полностью освободить прихваченные НКТ путем расхаживания. В противном случае расхаживание следует прекратить.
Иногда путем длительного расхаживания удается поднять трубы только на 5 – 10 м. Это объясняется тем, что расхаживании и подъеме труб пробка в затрубе уплотнилась до такой степени, что дальнейшее расхаживание уже нерационально. В таких случаях для освобождения от прихвата НКТ внутри них размывают пробку с помощью труб меньшего диаметра с таким расчетом, чтобы, не вскрывая башмака, полностью вымыть песок из них до чистой воды, а затем продолжить промывку ниже башмака. Длительной промывкой ниже башмака удается размыть песчаную пробку за трубами, и полностью освободить их от прихвата.
Извлечение труб, прихваченных цементом
Для извлечения зацементированных труб необходимо освободить их от цементного камня между трубами и стенками колонны. Для этого вначале отвинчивают трубы до места прихвата цементом и извлекают их. Затем трубным или кольцевым фрезом офрезеровывают зацементированные трубы. С этой целью используют Ловильный инструмент освобождающегося типа и за один рейс фрезеруют, захватывают, отвинчивают и поднимают трубы. Длина фрезера с направлением может быть различна, но не менее 10 метров. Непосредственно над направлением устанавливают Ловильный инструмент. Фрезерование и отвинчивание производят с таким расчетом, чтобы конец оставшихся в скважине труб был фрезерован от цементного камня. Во время фрезерования нагрузка на фрез не должна превышать 1 – 2 тн. Чрезмерные нагрузки могут привести к поломке и оставлению в скважине части или фрезера с направлением. Во время обработки колонны рекомендуется интенсивно промывать скважину жидкостью глушения, чтобы обеспечить вынос разбуренного цемента.
После подъема фрезер с направлением осматривают – нет ли трещин, слома зубьев.
Ловильные работы с труболовками ТВМ – 1 и ТВМ – 2
Перед спуском этих труболовок в скважину, проверяют работу механизмов захвата и освобождения. Для этого труболовку устанавливают в вертикальном положении и плавно перемещают плашкодержатель от руки возвратно-поступательно. В верхнем положении плашкодержателя плашки должны утопать в его окнах. Затем его корпус вращают, по часовой стрелке – для левой труболовки, против часовой – для правой) до тех пор, пока фиксатор не выйдет из зацепления с корпусом. При этом плашкодержатель переместится в крайнее верхнее положение и зафиксирует плашки в освобожденном состоянии. Вращением корпуса против часовой стрелки фиксатор упирается в нижний торец крышки, труболовка приводится в рабочее положение.
Ловильные работы проводят в следующей последовательности.
Труболовку присоединяют к нижнему концу колонны бурильных труб и спускают в скважину без вращения, во избежание срабатывания механизма фиксации плашек. За 30 м до головы аварийных труб восстанавливают циркуляцию и при прокачке жидкости спускают труболовку до верхнего конца аварийных труб. Строго следя за показаниями ГИВ, медленно вводят инструмент внутрь ловимых труб и фиксируют момент посадки инструмента. В это время во избежание осложнений не следует передавать полный вес бурильной колонны на аварийный инструмент. После ввода труболовки в аварийные трубы, осторожно приподнимают инструмент для захвата ловимой колонны труб. Расхаживанием в пределах грузоподъемности труболовки поднимают захваченные трубы. При невозможности подъема колонны захваченных труб, приступают к ее отвинчиванию вращением ротора против часовой стрелки для левой труболовки и по часовой – для правой. Рекомендуемая растягивающая нагрузка должна составлять 5 – 7 тонн для труболовок ТВМ60 – 1, ТВМ73 – 1, ТВМ89 – 1 и 10 – 12 тонн для труболовок ТВМ114-1 и ТВМ114-2.

Ловильные работы труболовками ТВ
При ловильных работах скважину обследуют и определяют состояние головы аварийной НКТ. Для обследования труболовки ее устанавливают в вертикальное положение и плавно, без заеданий, перемещают плашкодержатель с плашками возвратно-поступательно. Труболовку присоединяют к нижнему концу колонны ловильных труб и спускают в скважину до головы аварийных труб, восстанавливают циркуляцию.
По достижении верхнего конца аварийных труб спуск труболовки замедляют и вводят ее в трубы, продолжают прокачку жидкости. Признак ввода труболовки – снижение веса по ГИВ и повышения давления на насосе.
Для захвата аварийных труб колонну ловильных труб с труболовкой приподнимают, расхаживают в пределах грузоподъемности труболовки и извлекают захваченные трубы. Прихваченные ловимые трубы поднимают по частям отвинчиванием. Рекомендуемая растягивающая нагрузка составляет для труболовок ТВ48 – 3 – 4 тонны; для ТВ60 – 5 - 6 тонн; для ТВ89 и ТВ114 – 8 – 10 тонн.
Извлечение упавших труб
С помощью печати определяют местонахождение и состояние головы аварийных труб. Нарушения бывают различными: разрыв, смятие, вогнутость краев во внутрь и т.д. Так как при этом невозможно захватить трубы ловильным инструментом как снаружи, так и изнутри, необходимо предварительно исправить конец трубы, если он разорван и разворочен наружу, исправляют торцевыми или кольцевыми фрезерами. Если фрезер с направлением свободно проходит вниз на 1 – 3 м, то трубу захватывают инструментом и при небольшой натяжке отвинчивают ее. Для исправления нарушенного конца трубы фрезером срезают ее разорванные концы, извлекают магнитным фрезером-пауком и приступают к работе по исправлению нарушенного конца. После извлечения дефектной трубы остальные извлекают в обычном порядке.
Если конец трубы не разорван, а вогнут внутрь и невозможно захватить его наружным ловильным инструментом, то конец исправляют конусным райбером.
Иногда во время падения трубы, врезаясь одна в другую, разрезаются на отдельные ленты, которые облегают внешней стороной стенки колонны. Их извлекают фрезерованием с помощью торцевых фрезеров, захватывая их колоколами.
Извлечение погружного ЭЦН
Аварии с этими насосами происходят большей частью при спуско-подъемных операциях. Сравнительно реже возможен прихват насоса песчаной пробкой.
В скважине могут остаться:
Насос с протектором, электродвигателем с гидрозащитой;
Насос с протектором, электродвигателем с гидрозащитой и кабелем;
Насосно-компрессорные трубы, насос с протектором, электродвигателем с гидрозащитой с кабелем или без кабеля;
Металлические хомуты (клямсы), которыми крепят кабель к трубам при спуске ЭЦН.
Трубы, кабель и клямсы поднимают поочередно. Кабель и хомуты извлекают магнитным фрезером, а насос с трубами – расхаживанием колонны после подъема кабеля и хомутов. Из-за малого зазора между наружным диаметром насоса и внутренним диаметром экс.колонны (например, 168 и 146 мм) не всегда возможен спуск ловильного инструмента в кольцевое пространство и захват за наружную поверхность ЭЦН. Для этого на бурильных трубах, с правым направлением резьбы, спускают наружную труболовку или колокол и захватывают за верхнюю часть ловильной головки насоса. Нельзя пользоваться трубами с левым направлением резьбы, так как при вращении возможно отвинчивание насоса от протектора и двигателя, что значительно осложнит последующие работы.
Извлечение тартального каната, кабеля и проволоки
В процессе чистки скважины, во время электрометрических, гидродинамических и других исследовательских работ возможны прихваты или обрывы тартального каната, каротажного кабеля и проволоки.
Во избежание обрыва каната и кабеля при прихвате инструмента или прибора не разрешается их расхаживать. Если верхний конец каната находится на устье, то спускают канаторезку, с помощью которой отрезается канат непосредственно у дужки прихваченного прибора. Если нельзя использовать канаторезку, то на бурильных трубах, мимо каната или кабеля, спускают воронку с окном. После спуска инструмента до прихваченного прибора бурильные трубы вращают на 10 – 15 оборотов, чтобы навить канат на воронку и трубы, а затем дают натяжку на трубы. Обрыв каната или кабеля обычно происходит в месте присоединения его к прибору, инструменту или перфоратору. Затем канат (кабель) с помощью удочки, крючка или вилки поднимают параллельно с трубами.
При обрыве каната или кабеля не рекомендуется обследование скважины печатью, поскольку она приминает его витки, вследствие чего в стволе образуется плотный сальник. Все ловильные инструменты должны иметь ограничители с наружным диаметром, равным диаметру шаблона для данной экс.колонны. Каждый спуск ловильного инструмента следует контролировать по индикатору веса (ГИВ, ИВЭ). По достижении в скважине каната или кабеля нагрузку на инструмент доводят до 1 – 3 т при одновременном его вращении для обеспечения навивки вокруг его ловимого каната или кабеля. После подъема ловильного инструмента с кабелем, последний захватывают и крепят специальными хомутами. Освободив канат (кабель) от ловильного инструмента, приступают к подъему оставшейся части каната (кабеля). Для этого на втором поясе мачты устанавливают ролик и через него навивают канат на барабан лебедки.
Если по ходу ловильных работ установлено, что в скважине образовались клубки из каната (кабеля), то извлечение его проводят однорогими или шарнирными удочками. При образовании в скважине слишком плотных клубков (сальник) каната, то спускают ерш, вращением которого при небольших нагрузках удается ослабить спрессованный клубок. Ерш захватывает и вносит куски (1 – 70 м) оборванного каната.
При извлечении тартального каната, каротажного кабеля и проволоки к фрезерованию прибегают как к крайней мере, так как в результате фрезерования вокруг бурильных труб может образоваться мелкие металлические частицы. Они вместе с кусками каната (кабеля) образуют плотную металлическую пробку – «железное дно».
Чистка ствола скважины от посторонних предметов.
Вначале, с помощью печати, определяют глубину нахождения посторонних предметов в скважине, для чего используют паук, ерш, сверла различных видов, пикообразные долота, магнитные, забойные и торцовые фрезеры.
Металлические предметы извлекают пауками или магнитными фрезерами, неметаллические (куски дерева, кирпича, бетона и т.п.) – дробят пикообразными долотами, фрезерами, сверлами с одновременной промывкой скважины. Раздробленные частицы восходящим потоком выносится на поверхность.
Если ствол забит плотной металлической пробкой или же она образовалась в процессе чистки скважины, то в таких случаях экс.колонну извлекают с расчетом поднять обсадные трубы, забитые посторонними предметами и очистить от них ствол. Это возможно при двух-трехколонной конструкции скважины.
Различные мелкие предметы (кувалды, цепи от ключей, сухари, плашки и т.п.) извлекают магнитным фрезером или фрезером-пауком. Магнитный фрезер спускают в бурильных трубах. С промывкой и медленным вращением инструмент доводят до забоя. Металлические предметы, омываясь струей жидкости, заходят внутрь фрезера и притягиваются магнитом. Фрезер вращают на забое в течение 5 – 10 мин, после чего прекращают промывку скважины и поднимают его.
Если не удается захватить отдельные предметы, их проталкивают до забоя, офрезеровывают или дробят на мелкие куски, а затем захватывают различными инструментами.
При наличии в скважине кармана (зумпфа) достаточной глубины и невозможности извлечь отдельные предметы, их проталкивают в зумпф и оставляют на забое.
Зарезка второго ствола
Зарезка второго ствола – это метод восстановления работоспособности скважин, который применяют в тех случаях, когда известными способами их нельзя отремонтировать, а бурение новых скважин нерентабельно.
Зарезка и бурение второго ствола состоят из следующих этапов:
Выбор места в колонне для вскрытия «окна».
Установки цементного моста и отклонителя.
Вскрытия «окна» в колонне.
Бурение второго ствола до заданной глубины.
Электрометрических работ.
Спуск новой экс.колонны.
Перфорация.
Рекомендуется вскрывать «окна» в интервалах, сложенных глинистыми породами, интервалах однорядной колонны и в интервалах с цементным кольцом хорошего качества. Перед спуском отклонителя колонну проверяют шаблоном, шаблонируют. Диаметр и длина шаблона должна быть больше на 3 – 4мм и на 2 -3м больше соответствующих размеров отклонителя. С помощью локатора муфт определяют местонахождение двух-трех муфт обсадной колонны, между которыми предполагается вскрывать «окно». Оклонитель – инструмент, предназначенный для обеспечения необходимого отклонения райбера при вскрытии окна в колонне и придающий начальное направление буровому инструменту при забуривании второго ствола. Он представляет собой плоский или желобообразный клин, спускаемый в скважину на бурильных трубах. Тип отклонителя выбирают с учетом диаметра колонны. Наиболее распространен отклонитель марки ОЗС.
Устанавливают цементный мост и спускают отклонитель на небольшой скорости с наблюдением за показаниями индикатора веса. При достижении отклонителем кровли цементного моста срабатывает телескопическое устройство, шпильки срезаются и отклонитель, перемещаясь вниз, закрепляется плашками в обсадной колонне. Затем резкой посадкой инструмента (8 – 10 т) срезаются болты, соединяющие отклонитель со спускным клином, и бурильные трубы поднимают с клином.
Для вскрытия окна в обсадной колонне применяют комплект трех фрезер-райберов типа ФРС, комбинированный райбер, универсальный райбер РУ, райбер-фрезер РПМ, универсальное вырезающее устройство УВУ.
Комбинированный райбер состоит из трех секций различных диаметров и длин, соединенных между собой. Нижняя секция имеет угол наклона к оси райбера (8ْ΄), а вторая секция - 1΄, третья секция – цилиндрической формы для обработки стенки окна. Этот райбер предназначен для работы в колонне диаметром 168мм за один рейс. При использовании комплекта из трех фрезеров-райберов работы начинаются райбером с наименьшим диаметром при нагрузке 2 -3 т и частоте вращения ротора 40 – 60 об/мин. По мере углубления райбера частота вращения увеличивается до 50 – 70 об/мин при той же нагрузке. После вскрытия окна длиной 1,4 – 1.6м от конца отклонителя, частоту вращения увеличивают до 80 – 90 об/мин, а нагрузка снижается до 1 – 1,5 т. Вторым райбером при нагрузке 1 – 1,5 т разрабатывают и расширяют интервал, пройденный первым райбером по всей длине отклонителя. Третьим райбером обрабатывают стенки окна и обеспечивают выход в породу при нагрузке до 1т и частоте вращения ротора 80 – 90 об/мин.
Значительные нагрузки на райбер приводят к преждевременному выходу его за колонну и укорачиванию длины окна, что может привести к поломке бурильных труб.
При использовании универсального вырезающего устройства УВУ нет необходимости в отклонителях и райберах. С помощью УВУ вырезают участок экс.колонны длиной 5 – 6м в намеченном интервале зарезки. Затем с помощью двухшарнирного турбинного отклонителя ОТ2Ш-127 и винтового забойного двигателя Д-127 забуривают второй ствол. Проверку внедрения резцов УВУ в обсадную колонну в начале прорезания окна проводится без нагрузки в течение 10 – 15мин. Затем, постепенно увеличивают нагрузку до 0,5 - 1т при расходе жидкости 10 – 12 л/сек. Торцевание обсадной колонны осуществляется увеличением нагрузки от минимальной до 5т при том же расходе по мере срабатывании резцов.
Режимы бурения
Режим бурения характеризуется следующими параметрами: осевой нагрузкой на долото; частотой вращения долота; расходом промывочной жидкости и ее качеством; временем пребывания долота на забое.
Различают оптимальный и специальный режимы бурения.
Оптимальным называют режим, установленный с учетом геологического разреза и максимального использования имеющихся технических средств для получения высоких количественных и качественных показателей при минимальной стоимости 1 м проходки.
Специальным называют режим, установленный для забуривания второго ствола и последующего бурения в осложненных условиях, при обвалах, высоком пластовом давлении, поглощениях жидкости, изменении направления оси скважины, отборе керна и др.
Передавать осевую нагрузку на долото за счет массы нижней секции колонны бурильных труб нерационально, так как в этом случае секция будет подвергаться напряжениям на сжатие, изгиб и кручение. Это приводит к поломкам бурильной колонны и искривлению ствола скважины. Поэтому в нижней части бурильной колонны устанавливают утяжеленный низ. В процессе бурения осевая нагрузка на долото не должна превышать 0,75 массы утяжеленного низа.
Заданная нагрузка на долото контролируется гидравлическим индикатором массы. Осевая нагрузка в процессе забуривания второго ствола должна быть равномерной при скорости проходки 3—4 м/ч.
Частота вращения долота должна быть в пределах 40— 60 об/мин. На таком режиме второй ствол следует забуривать не менее чем на 5—6 м. Если в этом интервале долото работало нормально, бурение можно вести на оптимальном режиме.
После спуска очередного долота при нагрузке 15—30 кН прорабатывают интервал 10—15 м от забоя. В течение нескольких минут поддерживают пониженную нагрузку для того, чтобы опоры долота приработались, а затем увеличивают ее до требуемого значения, согласно указаниям геолого-технического наряда, и поддерживают постоянной.
Окончательно осевую нагрузку бурильщик должен выбирать сам, добиваясь наибольшей механической скорости проходки.
Успешное бурение второго ствола до проектной глубины и последующие работы во многом зависят от качества и количества промывочной жидкости, подаваемой на забой, т. е. от скорости восходящего потока в затрубном пространстве.
Промывочные жидкости и борьба с осложнениями
В качестве промывочной жидкости при бурении второго ствола применяют: буровые растворы, растворы на нефтяной основе, аэрированные растворы, пены и техническую воду обработанную ПАВ.
Буровой раствор приготавливают на скважине размешиванием в механических глиномешалках комовой глины или глино-брикетов.
Быстрое и без осложнений углубление скважины возможно лишь при полном и своевременном удалении выбуренной породы с забоя. В противном случае она оказывает дополнительное сопротивление долоту.
Существуют три способа очистки промывочной жидкости от выбуренной породы:
осаждение твердых частиц выбуренной породы под влиянием собственной массы из раствора в желобах и отстойниках циркуляционной системы;
очистка раствора при помощи механических сит;
сепарация раствора в аппаратах, принцип действия которых основан на использовании центробежной силы вращающего потока бурового раствора.
Контроль параметров промывочной жидкости
При бурении второго ствола необходимо следить за параметрами промывочной жидкости и поддерживать их, согласно требованию геолого-технического наряда. Для этой цели предназначен буровой комплект раствора БКР, в состав которого входят: ареометр, вискозиметр, термометр и секундомер.
Для полного контроля всех параметров бурового раствора служит комплект лаборанта КЛР-1 — комплект средств информационной системы службы буровых растворов и предназначенный для проверки данных, полученных замерщиком или помощником бурильщика с помощью бурового комплекта БКР-1.
Значительная часть осложнений при бурении второго ствола происходит в результате несоответствия свойств промывочной жидкости геологическим условиям проводки скважин. Обычно на борьбу с осложнениями затрачивается больше средств и времени, чем на профилактические мероприятия по их предупреждению.
Борьба с поглощением промывочной жидкости
Поглощения промывочной жидкости обычно наблюдаются при бурении второго ствола в кавернозных, трещиноватых и пористых породах, а также в сильно дренированных продуктивных пластах. Борьба с поглощением промывочной жидкости ведется:
снижением перепада давления между скважиной и пластом, поглощающим жидкость, или изменением параметров промывочной жидкости;
изоляцией от скважины пласта, поглощающего жидкость, закупоркой каналов поглощений специальными материалами, цементными растворами и пастами;
бурением без циркуляции.
Поглощение промывочной жидкости предотвращают применением специальных буровых растворов с минимально возможной для данных условий плотностью, большой вязкостью, прочной структурой и минимальной водоотдачей.
Для получения буровых растворов, обладающих перечисленными свойствами, используют: жидкое стекло — до 5% от объема циркулирующего раствора; каустическую соду — до 4% от объема циркулирующего раствора (количество соды указано, исходя из твердого вещества); известь — в количестве, необходимом для требуемой вязкости бурового раствора (известковое молоко приготавливают на скважине в глиномешалке, для чего 3/4 ее объема заливают водой, а затем до полного объема загружают гашеной известью, после тщательного перемешивания эту смесь добавляют в раствор через желоб); бурый уголь и, каустическую соду, добавляемые в буровой раствор в виде УЩР, содержащего повышенное количество каустической соды; кератиновый клей, добавляемый для снижения плотности раствора и повышения вязкости; костный клей, добавляемый для повышения вязкости; различные инертные добавки, как, например, опилки и рисовая шелуха, мелкие обрезки резины и тканей, вводимые в буровой раствор через глиномешалку.
Если применение специальных растворов не дает положительных результатов, то необходимо перейти на бурение с промывкой аэрированной жидкостью и пенами.
Для борьбы с интенсивным поглощением промывочной жидкости применяют быстрогустеющие глиноцементные (БГС) и быстросхватывающиеся смеси (БСС), приготовленные на базе тампонажных цементов с введением в воду для затворения определенного количества ускорителей структурообразования (схватывания).
При использовании различных цементных смесей рецептуру их подбирают с учетом забойной температуры и давления, с ростом которых сроки схватывания раствора сокращаются.
Если в процессе бурения второго ствола при закачке тампонажного цемента или БСС не получают положительных результатов, то рекомендуется прокачивать песок с последующим креплением его в призабойной зоне тампонажным раствором или БСС.
Если перечисленными методами ликвидировать поглощение промывочной жидкости не удается, забуривают второй ствол без циркуляции. Однако это рекомендуется лишь в твердых породах (известняках, доломитах, песчаниках и т. д.).
В процессе бурения при поглощении бурового раствора в каналы поглощения вместе с промывочной жидкостью проникает также и разбуренная порода. Во избежание прихвата бурильной колонны необходимо внимательно следить за показаниями индикатора массы и работой насоса.
Борьба с обвалами
Обвалы чаще всего происходят в результате применения при бурении второго ствола некачественных буровых растворов. Признаки обвалов в скважине:
значительное повышение давления на выкиде буровых насосов;
резкое повышение вязкости бурового раствора;
вынос раствором на дневную поверхность большого количества частиц обваливающихся пород;
при спуске инструмент не доходит до забоя;
затяжки инструмента в процессе его подъема.
Основные мероприятия по борьбе с обвалами:
применение бурового раствора, исключающего обвалы;
сокращение до минимума непроизводительных простоев и поддержание необходимого в условиях ожидаемых обвалов режима бурения;
обеспечение необходимой скорости восходящего потока в затрубном пространстве.
Борьба с прихватами инструмента
В процессе бурения прихваты могут происходить по следующим причинам: длительное пребывание бурильной колонны в скважине в покое (без вращения); сужение ствола, обусловленное набуханием или сползанием пород; поглощение бурового раствора; низкое качество бурового раствора, вследствие чего на стенках скважины образуется толстая липкая корка; неудовлетворительная очистка бурового раствора в желобах от частиц выбуренной породы; недостаточная скорость восходящего потока в затрубном пространстве; выпадение утяжелителей из раствора; искривление ствола скважины.
Установлено, что наиболее распространенными видами прихватов являются прилипание бурильной колонны к глинистым коркам, отложившимся на стенках скважины, и затяжки вследствие образования сальников от сорвавшихся толстых корок со стенок скважины во время подъема бурильных труб.
Для предупреждения прихватов бурильной колонны необходимо:
применять высококачественные буровые растворы, создающие небольшие по толщине корки на стенках скважины;
обеспечивать полную очистку бурового раствора от частиц выбуренной породы.
Кроме того, снижение липкости корки обеспечивается добавлением к буровому раствору нефти в количестве 5—8% от объема бурового раствора. Но при этом следует учитывать, что нефть несколько повышает вязкость раствора. Для снижения липкости корки и борьбы с затяжками бурильных труб в буровой раствор обычно вводят серебристый графит от 0,8 — до 1,5% (по массе к объему).
Цементирование колонны
Цементирование обсадной колонны — одна из самых ответственных операций, от успешности которой зависит дальнейшая нормальная эксплуатация скважины.
Способ цементирования выбирают в зависимости от вида колонны, спущенной в пробуренный ствол (сплошной или хвостовика).
Одноступенчатое цементирование. После окончания спуска сплошной эксплуатационной колонны в процессе подготовки скважины к цементированию, колонну обсадных труб периодически расхаживают и непрерывно промывают скважину для предотвращения прихвата колонны, башмак ее устанавливают на 1—2 м выше забоя, устье оборудуют цементировочной головкой и закачивают расчетный объем цементного раствора.
Прокачав расчетное количество цементного раствора, отвинчивают стопорные болты на цементировочной головке и закачивают расчетное количество продавочного бурового раствора. Как только заливочная пробка дойдет до упорного кольца «стоп», наблюдается резкий подъем давления, так называемый удар. На этом процесс цементирования заканчивается. Краны на головке закрывают, и скважину оставляют в покое на срок, необходимый для твердения цементного раствора.
При цементировании неглубоких скважин с небольшим подъемом раствора за колонной в качестве продавочной жидкости применяют обычную воду.
Цементирование хвостовика. После промывки ствола скважины на устье ее устанавливают цементировочную головку, в которую вставляют верхнюю секцию разделительной заливочной пробки. Закачивают расчетное количество цементного раствора, который продавливают буровым раствором или водой. Когда раствор будет продавлен в объеме, равном внутреннему объему бурильных труб, верхняя секция пробки войдет в нижнюю и перекроет отверстия кольца. При этом давление в бурильных трубах резко возрастет. Шпильки, удерживающие нижнюю секцию в переводнике, срезаются, и обе секции, как одно целое, перемещаются вниз по хвостовику до резкого подъема давления. После этого колонну необходимо посадить на забой, и путем вращения инструмента по часовой стрелке освободить бурильные трубы с переводником от хвостовика и вымыть излишек цементного раствора. Через 16—20 часов следует определить высоту подъема цемента за колонной, оборудовать устье скважины, испытать колонну на герметичность и перфорировать в интервале продуктивного пласта.
Заключительный этап процесса восстановления скважины методом зарезки и бурения второго ствола — испытание эксплуатационной колонны на герметичность, перфорирование отверстий против продуктивного горизонта и освоение скважины (вызов притока нефти или газа из пласта).
Методы увеличения производительности скважин
Призабойной зоной скважины (ПЗС) называют область пласта в интервале фильтра, примыкающего к стволу. От состояния ПЗС существенно зависит текущая и суммарная добыча нефти, дебиты добывающих скважин и приемистость нагнетательных скважин. В процессе вскрытия пласта при бурении и последующих работах очень важно не ухудшить, а сохранить естественную проницаемость пород ПЗС. Часто в процессе работ по заканчиванию скважины проницаемость пород ухудшается по сравнению с первоначальной, естественной. В таких случаях необходимо искусственное воздействие на призабойную зону для повышения ее проницаемости и улучшения сообщаемости пласта со скважиной. Методы воздействия на ПЗС делятся на три группы:
Химические методы применяют в тех случаях, когда проницаемость призабойной зоны ухудшена вследствие отложения веществ, которые можно растворить в различных химических реагентах (известняк – соляная кислота). Пример такого воздействия соляно-кислотная обработка, СКО, пород призабойной зоны скважины.
Механические методы применяют в малопроницаемых твердых породах. К этому виду воздействия относится гидравлический разрыв пласта (ГРП).
Тепловые методы применяют в тех случаях, когда в ПЗС отложились вязкие углеводороды (парафин, смолы, асфальтены), а так же при фильтрации вязких нефтей. К этому виду воздействия относят различные методы прогрева ПЗС.
Кроме перечисленных, существуют методы, представляющие их сочетание. Например, гидрокислотный разрыв представляет собой сочетание ГРП и СКО, термокислотная обработка сочетает как тепловые, так и химические воздействия на призабойную зону скважины.
Методы воздействия на ПЗС осуществляют бригады ТКРС. Они проводят следующие работы:
Кислотные обработки скважин.
Гидравлический разрыв пласта.
Вибровоздействие на ПЗС.
Тепловое воздействие на ПЗС.
Обработка ПЗС поверхностно-активными веществами (ПАВ).
Соляно - кислотные обработки скважин
Кислотные обработки скважин предназначены для очистки забоев, призабойной зоны, НКТ от солевых, парафинисто-смолистых отложений и продуктов коррозии при освоении скважины с целью их запуска, а так же для увеличения проницаемости пород. Под воздействием соляной кислоты в породах ПЗС образуются пустоты, каверны, каналы разъедания, вследствие чего увеличивается проницаемость пород, а следовательно и производительность нефтяных (газовых) и приемистость нагнетательных скважин.

Различают следующие разновидности кислотных обработок:
Кислотные ванны предназначены для очистки поверхности открытого забоя и стенок скважины от цементной и глинистой корок, смолистых веществ, продуктов коррозии, кальциевых отложений от пластовых вод и освобождения прихваченного пробкой подземного оборудования. Объем рабочего раствора, при кислотной ванне, составляет не более объема ствола (колонны) в заданном интервале, закачивают его до забоя, не продавливая в пласт. Раствор кислоты выдерживают в интервале обработки 16 – 24 ч. Затем отреагировавшую кислоту вместе с продуктами реакции удаляют из скважины обратной промывкой. В качестве промывочной жидкости используют воду.
Простая кислотная обработка предназначена для воздействия на породы ПЗС с целью увеличения их проницаемости. Процесс ведется с обязательным задавливанием кислоты в пласт. Вначале закачивают нефть или воду, затем при открытом затрубном пространстве – расчетное количество приготовленного рабочего раствора соляной кислоты. При этом объем первой порции кислоты рассчитывают так, чтобы она заполнила трубы и кольцевое пространство от башмака до кровли пласта. После этого закрывают задвижку на затрубном пространстве скважины и под давлением закачивают в скважину остатки кислотного раствора. Кислота начинает проникать в пласт. Оставшуюся в трубах и в фильтровой части скважины кислоту продавливают в пласт нефтью или водой.
Кислотная обработка под давлением применяют с целью продавки кислоты в малопроницаемые интервалы продуктивного пласта. Проводят с применением пакера.
При открытой задвижке затрубного пространства скважины и непосаженом пакере в скважину закачивают кислотный состав в объеме труб и подпакерного пространства, после чего пакером герметизируют затрубное пространство и закачивают кислоту в объеме спущенных труб с максимальным повышением темпа закачки. Затем, не снижая давления, вслед за кислотой прокачивают расчетный объем продавочной жидкости и закрывают задвижку. Скважину оставляют в покое до полного спада или стабилизации давления.
Пенокислотные обработки применяют при значительной толщине пласта и низких пластовых давлениях. В призабойную зону скважины вводя аэрированный раствор кислоты и ПАВ в виде пены. При таких обработках используют кислотный агрегат, компрессор и аэратор. Пенокислотная обработка имеет следующие преимущества:
Кислотная пена медленнее растворяет карбонатный материал, что способствует более глубокому проникновению активной кислоты в пласт.
Кислотная пена обладает меньшей плотностью и повышенной вязкостью, что позволяет увеличить охват воздействием всей продуктивной толщины пласта.
Содержание в пене ПАВ снижает поверхностное натяжение кислоты на границе с нефтью, а сжатый воздух, находящийся в пене, расширяется во много раз при понижении давления после обработки; все это в совокупности способствует улучшению условий притока нефти в скважину и значительно облегчает ее освоение.
Многократные обработки заключаются в том, что ПЗС обрабатывают несколько раз с интервалами между обработками в 5 – 10 суток с целью вывода скважины на максимальную производительность за короткий срок.
Поинтервальные (ступенчатые) обработки нескольких интервалов пласта значительной толщины с целью полного охвата пласта или отдельных продуктивных пропластков. После обработки первого интервала и кратковременной его эксплуатации, принудительно-направленным способом воздействует интервал, пока полностью не будет охвачена вся толщина пласта. Проводить ступенчатые обработки целесообразно в скважинах после выхода их из бурения или в начальный период эксплуатации.
Термохимические обработки – обработки скважин горячей соляной кислотой, с магнием в специальном наконечнике, спущенном на НКТ в пределы интервала, намеченного под обработку. Применяют для очистки ПЗС от асфальто-смолистых, парафиновых и других материалов.
Термокислотные обработки – комбинированный процесс, в первой фазе которого осуществляется термохимическая обработка, во второй (без перерыва во времени) – обычная, простая СКУ. Наполненный магнием наконечник спускают на трубах в скважину и устанавливают в зоне обрабатываемого интервала пласта. Затем закачивают нефть и вслед за ней, без перерыва, 15% раствор соляной кислоты. Скорость прокачки кислоты должна быть такой, чтобы в течение всего процесса на выходе наконечника была одинаковая запланированная температура и постоянная кислотность раствора. Для загрузки наконечника используют магний в виде стружек или брусков квадратного или круглого сечения.
Гидравлический разрыв пласта
Гидравлический разрыв пласта (ГРП) предназначается для увеличения проницаемости призабойной зоны путем расчленения породы пласта или расширения естественных трещин. Сущность ГРП заключается в нагнетании в призабойную зону скважины жидкости под высоким давлением, в большинстве случаев превышающим гидростатическое в 1,5 – 2 раза. Существуют три основных вида ГРП: однократный, многократный и направленный (поинтервальный). Однократный предполагает создание одной трещины в продуктивном пласте; многократный ГРП обеспечивает образование нескольких трещин. При направленном ГРП места образования трещин регулируются по продуктивному разрезу скважины.
Процесс ГРП состоит из следующих последовательно проводимых операций:
Закачивание в пласт жидкости разрыва для образования трещин.
Закачивание жидкости-песконасителя с песком, предназначенным для закрепления трещин.
Закачивания продавочной жидкости для продавливания песка в трещины.
Рабочая жидкость, при закачивании которой в призабойную зону пласта создается давление, достаточное для нарушения целостности породы, называется жидкостью разрыва.
Рабочая жидкость, используемая для транспортировки песка с поверхности до трещин и их заполнения, называется жидкостью-песконосителем. Она должна быть слабофильтрующейся и иметь высокую пескоудерживающую способность. Повышение вязкости жидкостей достигается добавлением в них загустителей – соли органических кислот, нефтяной гудрон, нефтекислотные и водонефтяные эмульсии. В водонагнетательных скважинах для ГРП используют воду, загущенную сульфит-спиртовой бардой (ССБ).
Продавочная жидкость при всех условиях должна обладать минимальной вязкостью для уменьшения потерь напора.
Песок предназначается для заполнения образовавшихся при ГРП трещин с целью предупреждения их смыкания после уменьшения давления ниже величины давления разрыва. Поэтому песок должен иметь достаточную прочность и сохранять высокую проницаемость. Этим требованиям удовлетворяет хорошо откатанный однородный кварцевый песок (пропант). Гранулы имеют размер 0,4 – 1,2 мм.
Эффективность ГРП определяется раскрытостью и протяженностью созданных трещин: чем они больше, тем выше эффективность обработки. Для создания таких трещин в скважину закачивают от 4 до 20 т песка. Концентрация песка в жидкости-песконосителя зависит от фильтруемости и удерживающей способности жидкости и изменяется 100 – 600 кг/1м3 жидкости.
При выборе скважины для проведения в ней ГРП необходимо учитывать качество цементного кольца выше и ниже намеченного интервала разрыва. Также проводят исследования, т.е. определяют забойное и пластовое давления, содержание воды в добываемой продукции, определяют коэффициент приемистости.
Перед ГРП проводят мероприятия по очистке забоя и призабойной зоны – промывки растворителями, ПАВ, кислотные обработки. Иногда проводят гидропескоструйную перфорацию (ГПП) в узком интервале пласта, в котором планируют создать трещину.
В скважину спускают НКТ с пакером и нагнетают сначала жидкость разрыва в таких объемах, чтобы создать на забое давление, достаточное для разрыва пласта. При этом непрерывно наблюдают за давлением и расходом жидкости на устье. Момент разрыва на поверхности отмечается резким увеличением расхода жидкости при одном и том же давлении на устье или резким падением давления при одном и том же расходе. После разрыва пласта, не снижая давления, в скважину закачивают жидкость-песконоситель – вязкую жидкость, смешанную с песком, которая под воздействием продавочной жидкости проталкивается в НКТ и в пласт.
После завершения продавки скважину закрывают и оставляют в покое до момента снижения давления до нуля. Затем скважину промывают для удаления остатков песка и осваивают. Водонагнетательные скважины пдвергают поршневанию для вымывания из трещины закаченной вязкой жидкости.
Техническая часть

Рис.1
Обвязка устья скважины при ГРП
При гидроразрыве скважины используют устьевую головку фирмы Камерон, составные части которой изготовлены из высококачественных материалов.
♦ Рабочее давление 700 атм.
♦ Температурный режим от –50 до 50ºС
Составные части:
1 - корпус (210 атм.) с двумя боковыми отводами диаметром 50,8 мм.
Устьевая головка фирмы «КАМЕРОН»
2 - “заглушка”
3 - патрубок 50,8 мм, на который навёрнут шаровой кран (4), рассчитанный на 210 атм.
4 - шаровой кран
5 - штифтовой фланец
6,11 - кольцевая прокладка (сальник)
7 - резьбовая шпилька 26,85 х 215,9мм.
8 - гайка 26,8мм.
9 - задвижка
10 - фланцевое соединение
12 - резьбовая шпилька 22,23 х158,75мм.
13 - гайка 22,23мм.
Типовое оборудование для ГРП
Гидравлический разрыв пласта осуществляется с использованием комплекса оборудования, включающего в себя подземную и наземные части.
Наземное оборудование:
устьевая арматура,
комплекс спецтехники для производства ГРП.
Комплекс ГРП состоит из стандартных единиц:
Пескосмесительная установка – Блендер РОD-I.
Насос высокого давления SPF-343
Блок манифольда.
Ца-320.
Станция контроля – FRACCAT.
Емкости.
Песковоз
Практически все оборудование для ГРП смонтировано на шасси тяжелых грузовиков повышенной проходимости
Блендер:
Блендер - передвижной агрегат, предназначенный для предварительного приготовления технологических жидкостей в резервуарах и последующей их подачи через систему манифольда на прием насосных агрегатов. Благодаря тщательно продуманной системе компьютерного управления, агрегат способен обеспечить высокое качество смешивания жидкостей, проппанта и химикатов. Блок управления блендера обеспечивает соблюдение заданного уровня жидкости в смесителе, автоматический контроль подачи проппанта и автоматический контроль подачи сухих и жидких химикатов.
технические характеристики:
Скорость – 900 - 1300 об/мин
Производительность – 0 - 5,6 м3/мин.
Давление на выходе – 0 – 6,9 атм.
Скорость загрузки песка - 0-4 т/мин
Мах производительность – 3,8 м3/мин
Нормальная скорость вращения – 1100 об/мин
Станция контроля,
СКВАЖИНА
2.Автомобиль для
перевозки жиких ХР.
3.технологические
емкости
4.Блендер
5.Блок манифольдов
6.ЦА-320
7.Песковоз
8,9,10.Насосы высокого давления
11.площадка для перевоза блока манифольдов


Насосный агрегат
Передвижной насосный агрегат предназначен для закачки в скважину различных жидкостей и смесей с проппантом с высоким темпом и при большом давлении.
Силовая установка – двухтактный дизель, номинальная мощность – 2250 л.с. при 2050 об/мин. Водяное охлаждение, запуск от двигателя шасси.
Насосный агрегат – трехплунжерный, одностороннего действия, гидравлическая мощность – 2000 л.с., принудительная смазка плунжеров.
- Максимальное давление – 1365 атм.
- Максимальная подача – 4,5 м3/мин.
Полностью дистанционное управление из станции контроля или выносного пульта. Электронная система защиты от превышения установленного давления. Электронный контроль работы двигателя.
Для облегчения холодного пуска предусмотрены электроподогрев основных систем смазки, охлаждения и гидравлики, и эфирный запуск дизеля.
Большой манифольд
Линии низкого давления оборудованы 4-дюймовыми задвижками. Для соединения с блендером и насосными агрегатами используются резинометаллические шланги с БРС.
Маленький манифольд
Линии высокого давления оборудованы 3-дюймовыми пробковыми кранами с червячным редуктором, обратными клапанами и электронным преобразователем давления. Для соединения со скважиной имеется набор труб с БРС (длина от 1м до 4м) и вертлюги. Максимальная длина линии – до 60 метров.
Грузовик повышенной проходимости для перевозки блока манифольда оборудован платформой, лебедкой для погрузки-разгрузки с тяговым усилием 25 тн, гидравлическим краном 8 тн.
Станция контроля
Станция контроля – это компьютерный центр управления процессом ГРП и сбора информации. Станция выполнена в виде комфортабельного фургона, оборудована системами отопления и кондиционирования для поддержания нормального температурного режима при любых погодных условиях, дизельным генератором для автономного электроснабжения. Для управления насосными агрегатами в станции установлены шесть электронных панелей, которые позволяют одному оператору управлять всеми насосами. Имеется возможность одновременной остановки всех насосов в аварийных случаях. Для оперативной связи в процессе работ имеется комплект радиосвязи близкого радиуса действия. Для контроля процесса ГРП и сбора данных станция оснащена компьютерной системой преобразования сигналов и двумя персональными компьютерами.
Контролируемые параметры:
- давление НКТ;
- давление затрубного пространства скважины;
- расход смеси;
- расход проппанта;
- плотность смеси;
- расход химреагентов.
Компьютеры используются для проектирования ГРП, записи параметров процесса, обработки информации и распечатывания отчетов.
Песковоз предназначен для перевозки проппанта и контролируемой подаче его на блендер, и представляет собой гидравлический самосвал с полностью закрытым кузовом. Осуществляет замер расхода проппанта через «ворота» в задней части бункера. Проппант вводится непосредственно в воронку смесителя по специальному желобу. Имеет 4’’ соединения для получения сухих агентов из других агрегатов и контейнеров. Максимальная полезная нагрузка – до 30 тн. Короткая колесная база обеспечивает повышенную маневренность.
Емкости технологических жидкостей ГРП:
Для приготовления технологических жидкостей гидроразрыва (гелей на водной или углеводородной основе) используется парк передвижных емкостей. Емкости цилиндрические, горизонтальные, объемом от 45м3 до 75м3 смонтированы на трехосных колесных прицепах. Данное конструктивное решение позволяет в минимальные сроки производить передислокацию емкостей и их установку на скважине. Пенополиуретановое покрытие емкостей и электроподогрев задвижек позволяет круглогодичное производство ГРП на водном геле.
Выходная гребенка с задвижками Ду=100мм обеспечивает забор жидкости из емкости с темпом до 5м3/мин. Во время приготовления геля, за счет продуманной системы циркуляции происходит тщательное перемешивание жидкости по всему объему емкости. Для удобства обслуживания емкости оборудованы поплавковыми уровнемерами, площадками и лестницами.
Лаборатория жидкостей разрыва:
Для приготовления жидкостей разрыва мы используем высококачественные химреагенты, максимально адаптированные к нефтеносным породам и пластовым жидкостям. Для оперативного подбора оптимальных рецептур жидкостей разрыва имеется специально оборудованная лаборатория.
Основной прибор лаборатории – реометр, высокоточный, соосно-цилиндровый, ротационный вискозиметр с программным обеспечением. Реологические характеристики жидкостей записываются на персональный компьютер через последовательное соединение. При этом точно контролируются заданные программой теста значения скорости сдвига, температуры и давления. Реологические характеристики жидкостей записываются на персональный компьютер через последовательное соединение. При этом точно контролируются заданные программой теста значения скорости сдвига, температуры и давления. Кроме этого, лаборатория оснащена ротационным вискозиметром, магнитными и лопастными смесителями, электронными весами с точностью 0,01гр, термостатами и т.д.
Для контроля параметров геля непосредственно на блендере применяются переносные малогабаритные вискозиметры.
Подземное оборудование:
- пакер
- насосно-компрессорные трубы
Назначение пакера: разобщение призабойной зоны от верхней части с целью предотвращения порывов эксплуатационной колонны при гидроразрыве пласта. В соответствии с этим различаются пакера следующих типов. Насосно-компрессорные трубы служат для спуска пакера и для подачи жидкости разрыва с устья на забой скважины при проведении ГРП.
Жидкости, применяемые при ГРП
В качестве рабочего реагента при проведении гидроразрыва пласта применяются различные жидкости, обладающие разнообразными физическими данными. Для достижения успешной обработки жидкость гидроразрыва должна удовлетворять определенным физическим и химическим свойствам:
Она должна быть совместима с материалом пласта.
Она должна, обладать способностью, удерживать во взвешенном состоянии проппант и транспортировать его в глубь трещины.
Она должна обладать способностью за счет присущей ей вязкости развивать необходимую ширину трещины для приема проппанта.
Она должна легко удаляться из пласта после обработки.
Она должна иметь низкие потери на трение.
Приготовление жидкости должно быть простым и легко выполнимым в полевых условиях.
Она должна обладать такой стабильностью, чтобы сохранить вязкость в процессе всей обработки.
Жидкость должна быть эффективной с точки зрения стоимости.
Жидкости гидроразрыва делятся на три категории:
- жидкость разрыва,
- жидкость - песконоситель,
- жидкость продавочная.
Жидкость разрыва - является рабочим агентом, нагнетанием которого в призабойную зону пласта создается давление, обеспечивающее нарушение целостности пород пласта с образованием новых трещин или расширением уже существующих.
Жидкость-песконоситель - используется для транспортирования песка с поверхности до трещины и заполнения ее песком (проппантом). Она должна быть не фильтрующейся или обладать минимальной, быстро снижающейся фильтруемостью и иметь высокую пескоудерживающую способность.
Продавочная жидкость - применяется для продавки из насосно-компрессорных труб в обрабатываемый пласт жидкости разрыва и жидкости песконосителя.
Закупоривающий агент при ГРП
Для получения высокопроницаемой трещины к жидкости гидроразрыва должен быть добавлен гранулярный закупоривающий агент. Целью закупоривающего агента является удержание стенок трещины раздельно таким образом, чтобы после остановки насосов и снижения давления, ниже требуемого для удержания трещины в открытом состоянии, остаются проводимые пути к скважине. В практике закупоривающими агентами являются искусственные керамические пески с размером зерен 0,6-1,12 мм. Песок не должен быть загрязнен мелкими, пылевидными или глинистыми фракциями. Количества песка, подлежащего закачке в трещины, должно определяться главным образом практическими данными (специальными расчетами). При ГРП используется искусственный песок - проппант, имеющий типоразмер: 16/30. Типоразмеры определяются количеством размеров в сите на один квадратный дюйм. Применение различных типов проппанта зависит от данной проницаемости нефтенасыщенных пород.
Борьба с выносом проппанта
Серьезную проблему представляет собой вынос проппанта в скважину после проведения ГРП. Это явление может иметь место во время первичной очистки или иногда после полного освоения скважины. Результатом выноса проппанта может быть удорожание ремонтных операций, увеличение времени на их проведение, а также проблемы безопасности. В низко дебитных скважинах проппант может осаждаться в обсадной колонне, что требует периодических промывок. Результатом может быть потеря приствольной проводимости с полным прекращением добычи в случае полного перекрытия продуктивной зоны. Удаление вынесенного проппанта может быть связано со значительными затратами. Исследования в конце ХХ века помогли выявить механизм, лежащий в основе утраты прочности проппантной набивки, и найти не столько химическое, сколько физическое решение проблемы. Это нововведение, получившее название PropNET, использует волокна для удержания проппанта на места. Этот материал, закачиваемый одновременно с проппантом в составе рабочей жидкости, образует сетку, которая стабилизирует проппантно-волоконную набивку, обеспечивая высокие дебиты по нефти и по газу. Эта технология основана на принципе волоконного, нашедшем широкое промышленно-комерческое применение как метода укрепления. Например, натуральные и синтетические волокна используются для предохранения плотин и других бетонных и земляных сооружений от эрозии. В основу этих разработок легла присущая волокнам способность стабилизировать высокопористые, содержащие микрочастицы материалы.
Лабораторные опыты показывают, что способность набивки к сопротивлению выноса проппанта зависит от концентрации волокна. Устойчивость растет с увеличением содержания волокна, пока кривая не выходит на плато. В то время как лабораторные опыты показывают, что 1,5% волокон по весу снизит проницаемость до 30% по сравнению набивки без волокна, промысловые результаты дают меньшее снижение.
Виброобработка призабойной зоны скважины
Виброобработка – процесс воздействия на призабойную зону пласта с помощью специальных забойных механизмов (вибраторов), создающих колебания давления различной частоты и амплитуды. Этот процесс отличается от ГРП тем, что к спущенным в скважину НКТ присоединяют вибратор – генератор колебаний давления.
Вибратор – гидравлический механизм, состоит из двух цилиндров с короткими вертикальными прорезями. Наружный цилиндр может вращаться вокруг вертикальной оси. Истечение жидкости из него происходит под углом, вследствие чего создается реактивный момент, приводящий цилиндр во вращательное движение. При совпадении прорезей жидкость выходит из НКТ, при несовпадении – мгновенно останавливается. При этом возникают большие перепады давления, воздействующие на поверхностные свойства жидкостей и пород и вызывающие в них разрывы и микротрещины.
Вибровоздействие наиболее эффективно проводить в скважинах:
С проницаемостью призабойной зоны ниже средней проницаемости пласта или более удаленных от скважины зон пласта.
С ухудшенными коллекторскими свойствами призабойной зоны в процессе бурения или ремонтных работ.
С низкой проницаемостью пород, но с высокими пластовым давлением.
Эффективные результаты от вибровоздействия получают в скважинах, в которых пластовые давления близки к гидростатическому. В этом случае при вскрытии фильтра промывка скважины протекает с восстановлением циркуляции. При этом давление в трубах колеблется в пределах 10 – 22 мПа, затрубное 8,0 – 15 мПа, а приемистость оказывается 8 – 10 л/с, что вполне достаточно для создания сильных импульсов.
Хорошие результаты от виброобработки получают в тех скважинах, дебит которых подвержен резкому снижению, не связанному с уменьшением пластового давления и их обводнением посторонними водами. В таких случаях в результате виброобработки удается восстановить первоначальный дебит скважины.
До виброобработки скважину исследуют с целью выявления состояния призабойной зоны, параметров пласта и скважины.
До начала работ проводят следующее:
Определяют глубину спуска вибратора и диаметр НКТ;
Рассчитывают объем рабочей и продавочной жидкостей (нефти и воды) и ожидаемых давлений;
Определяют нужное количество агрегатов и их типы, разрабатывают схему их расстановки;
Намечают последовательность операции и темпы закачки рабочей и продавочной жидкостей.
В качестве рабочей жидкости применяют нефть, раствор соляной кислоты, керосин и смеси этих жидкостей из расчета 2 – 3м3 на 1м толщины пласта.
Тепловая обработка призабойной зоны скважины
Тепловое воздействие на разрабатываемые нефтяные пласты применяют в тех случаях, когда месторождение характеризуется высокой вязкостью и повышенной плотностью нефти в пластовых условиях или содержанием в нефти парафина, смол и асфальтенов. Оно предотвращает образование парафинистых и смолистых отложений в поровом пространстве пласта и способствует увеличению текущей и суммарной добычи нефти. Прогрев зоны удлиняет межремонтный период эксплуатации скважины, так как повышается температура нефти и снижается ее вязкость; так же уменьшается количество парафина, отлагающегося на стенках НКТ и в выкидных линиях.
Обработка паром и горячей водой. При этом способе теплоноситель – пар получают от стационарных котельных и передвижных котельных установок (ППУ). Устье оборудуют фонтанной запорной арматурой АП 60-150, лубрикатором ЛП 50-150 и колонной головкой ГКС. Для разобщения затрубного пространства в скважине от закачиваемого пара в пласт предназначен термостойкий пакер, использование которого исключает необходимость в спуске дополнительной изолирующей колонны.
Электротепловая обработка. Этот способ проще и дешевле чем предыдущий, однако электропрогревом, вследствие малой теплопроводности горных пород, неудается прогреть значительную зону (в радиусе до 1м).
Для электротепловой обработки призабойной зоны применяют самоходную установку СУЭПС – 1200. Состоит из трех электронагревателем с кабель-тросом, самоходного каротажного подъемного агрегата СКП с лебедкой и трех прицепов. На каждом прицепе монтируют станцию управления и автотрансформатор.
Электронагреватель поднимают и спускают вместе со штанговым скважинным насосом. В результате прогрев забоя происходит непрерывно и одновременно с процессом добычи нефти насосным способом. Температура на забое стабилизируется через 3 – 5сут непрерывного прогрева и нагретая зона распространяется примерно на 20 – 50м вверх и на 10 – 20м вниз от места установки нагревателя. Эффект прогрева действует 3 – 4мес.
Обработка призабойной зоны скважин поверхностно-активными веществами
Поверхностно – активные вещества (ПАВ) – вещества, снижающие поверхностное натяжение на жидкой и твердой поверхности раздела фаз вследствие адсорбции этих веществ. Их используют для обработки призабойной зоны с целью:
Ускорения освоения нефтяных и газовых скважин;
Предотвращения отрицательного влияния воды на свойства пород продуктивного пласта при ремонтных работах;
Повышения производительности нефтяных и газовых и приемистости нагнетательных скважин;
Повышения эффективности СКО;
Изоляции притоков пластовых вод.
Вследствие снижения поверхностного натяжения на границе раздела фаз размер капель воды в среде нефти уменьшается в несколько раз, при этом мелкие капли воды вытесняются из пласта в скважину значительно быстрее и с меньшей затратой внешней энергии, чем крупной. Следовательно, со снижением межфазного натяжения на границе нефть – вода увеличиваются скорость и полнота вытеснения воды нефтью из призабойной зоны. Так же некоторые ПАВ способствуют гидрофобизации поверхности поровых каналов в породе, то есть ухудшают их способность смачиваться водой. При этом нефть легко расплывается на поверхности поровых каналов, вытесняя их них пленочную воду. Отрываясь от твердой поверхности, пленочная вода превращается в мелкие капельки, уносимые в последующем фильтрационным потоком нефти из призабойной зоны в скважину.
В промышленности наиболее распространены следующие ПАВ:
Моющие средства «Новость», «Прогресс» и другие относящиеся к алкивсульфатам;
Моющий препарат сульфонат – смесь натриевых солей алкилсульфакислот с алкильными остатками, содержащими 12 – 18 атомов углерода;
Сульфанол НП-3, ДС-РАС (детергент советский – рафинированный алкиларилсульфонат), азоляты А и Б, относящиеся к алкиларисульфонатам; водные растворы этих реагентов обладают моющими и пенообразующими свойствами;
Нейтрализованный черный контакт (НЧК), представляющий собой соли водорастворимых сульфокислот, получаемых при сульфировании керосиногазойлевых дистиллятов серной кислоты с последующим отделением кислого гудрона, промывкой его водой и нейтрализацией щелочью.
Технология обработки призабойной зоны с помощью ПАВ аналогична технологии солянокислотной обработки. В скважину через трубы насосным агрегатом закачивают концентрированный раствор ПАВ, который продавливают слабоконцентрированным раствором в таком количестве, чтобы все поровое пространство намеченной зоны обработки было заполнено ПАВ. В качестве растворителя обычно используют нефть.
Радиус зоны обработки принимают от 0,5 до 2,0м в зависимости от толщины пласта и характеристики его пород и типа ПАВ. Исходя из этого, объем раствора исчисляют из расчета от 0,8 до 2м3 на 1м толщины обрабатываемого пласта. Концентрацию рабочего раствора ПАВ принимают от 0,5 до 5%.
После продавки раствора ПАВ через 2 – 3 сут возобновляют эксплуатацию скважины.
Воздействие давлением пороховых газов
Воздействие на ПЗП пороховыми газами осуществляется путем разрыва пласта без закрепления трещин в плотных низкопроницаемых коллекторах (песчаниках, известняках, доломитах с проницаемостью от 0,10 до 0,05 мкм2 и менее). Не допускается проведение разрыва пласта указанным методом в коллекторах, сложенных алевролитами, сильно заглинизированными песчаниками с прослоями глин, мергелей, алевролитов с солитовыми известняками, а так же песками и слабосцементированными песчаниками.
Технологический процесс осуществляют с использованием пороховых генераторов корпусных типа АСГ или герметичных бескорпусных типа ПДГ БК и негерметичных типа АДС.
Аппараты АСГ 105 К применяют в обсаженных скважинах с минимальным проходным диаметром 122 мм при температуре до 80 °С и гидростатическим давлением от 1,5 до 35 МПа.
Аппараты типа ПГД БК применяют в обсадных колоннах с проходным диаметром от 118 до 130 мм при температуре до 200о С и гидростатическимдавлением до 100 МПа, а типа АДС — до 100о С и 35 МПа, соответственно. Величина минимального гидростатического давления для ПГД БК составляет 10 МПа, для АДС — 3 МПа.
Спуск и подъем генераторов типа ПГД БК производят на бронированном каротажном кабеле со скоростью не более 1 м/с в жидкости и 0,5 м/с в газожидкостной среде.
При проведении технологического процесса устье скважины оборудуют перфорационной задвижкой или фонтанной арматурой, а в отдельных случаях— лубрикатором. Скважину шаблонируют. Производят замер длины кабеля, привязку по каротажу. Замеряют гидростатическое давление и забойную температуру. Устанавливают генератор давления против интервала, подлежащего воздействию, или в непосредственной близости к нему. Если интервал обработки вскрывают торпедированием, генератор давления устанавливают над зоной перфорации на расстоянии 1 м.
После спуска генератора на заданную глубину каротажный кабель закрепляют на устье скважины.
Сгорание порохового заряда фиксируют по рывку кабеля, выбросу жидкости или по звуковому эффекту.
При толщине пласта свыше 20 м производят многократное сжигание пороховых зарядов.
При воздействии на коллектор, состоящий из нескольких пропластков, производят поинтервальное и последовательное снизу вверх воздействие на
отдельные пропластки после предварительного их вскрытия.
Для регистрации максимального давления, создаваемого в скважине, используют кремерный прибор, который прикрепляют на кабеле около кабельной головки.
Крепление слабосцементированных пород в ПЗП
Креплению слабосцементированных пород в призабойной зоне подлежат скважины, эксплуатация которых осложнена выносом песка.
Для борьбы с выносом песка, в зависимости от конкретных геолого-технических условий, применяют следующие технические приспособления и материалы:
установка фильтров;
заполнение заколонного пространства гранулированными материалами или отсортированным песком;
термические и термохимические способы;
синтетические полимеры;
песчано-смолистые составы;
пеноцементы;
Крепление призабойной зоны с использованием вяжущих материалов осуществляют методом консолидации пластового песка, заполнением заколонного пространства (каверн) растворами, после отверждения которых образуется проницаемый пласт. При наличии в призабойной зоне скважины каверны (выработки) ее перед креплением заполняют отсортированным кварцевым песком.
Подготовительные работы.
Определяют температуру в зоне тампонирования.
Определяют содержание механических примесей в продукции.
Определяют дебит и содержание воды в продукции.
В зависимости от температуры в зоне тампонирования выбирают соответствующий материал.
Устанавливают на скважине емкость с перемешивающим устройством для приготовления и накопления тампонажного раствора, подъемные средства, цементировочный агрегат ЦА-320 М.
Останавливают и глушат скважину.
Спускают НКТ до забоя и промывают ствол скважины.
Если в процессе промывки скважины наблюдается поглощение в интервале продуктивного пласта, то в заколонную выработку (каверну) намывают песок до восстановления циркуляции. При обратной промывке удаляют с забоя скважины остатки песка.
Проверяют скважину на приемистость при закачивании в пласт нефти или пластовой воды. В случае необходимости проводят мероприятия по увеличению приемистости скважины.
Подготавливают в емкости с перемешивающим устройством тампонажный раствор. Проверяют показатели качества.
Закачивают приготовленный тампонажный раствор в пласт.
Устанавливают продолжительность эффекта по содержанию механических примесей в добываемой продукции сразу после проведения работ и периодически, не менее трех раз в месяц.
Освоение скважин
Освоение скважин — комплекс работ по вызову притока жидкости (газа) из пласта в скважину, обеспечивающего ее продуктивность в соответствии с локальными (местными) добывными возможностями пласта или с достижением необходимой приемистости (для нагнетательных скважин).
После бурения, вскрытия пласта и перфорации обсадной колонны призабойная зона скважины, особенно поверхность вскрытой части пласта, бывает загрязнена тонкой глинистой взвесью или глинистой коркой. Поэтому и в результате некоторых других физико-химических процессов образуется зона с пониженной проницаемостью, иногда сниженной до нуля. Цель освоения — восстановление естественной проницаемости пород призабойной зоны и достижение притока, соответствующего добывным возможностям скважины или нормальной приемистости нагнетательных скважин.
Сущность освоения скважины заключается в создании депрессии, т. е. перепада между пластовым и забойным давлениями, с превышением пластового давления над забойным. Достигается это двумя путями: либо уменьшением плотности жидкости в скважине, либо снижением уровня (столба) жидкости в скважине. В первом случае буровой раствор последовательно заменяют водой, затем — нефтью.
Во втором случае уровень в скважине снижают одним из следующих способов: оттартыванием желонкой или поршневанием; продавкой сжатым газом или воздухом (компрессорным способом); аэрацией (прокачкой газожидкостной смеси); откачкой жидкости штанговыми скважинными насосами или погружными центробежными электронасосами. Таким образом, можно выделить следующие шесть основных способов вызова притока: замена скважинной жидкости на более легкую, компрессионный метод, аэрация, откачка глубинными насосами, тартание, поршневание.
Перед освоением на устье скважины устанавливают арматуру в соответствии с применяемым методом и способом эксплуатации скважины. В любом случае на фланце обсадной колонны устанавливают задвижку высокого давления на случай необходимости перекрытия ствола.
Замену скважинной жидкости производят следующим образом. После перфорации эксплуатационной колонны в скважину до фильтра опускают насосно-компрессорные трубы. Затем в кольцевое пространство между эксплуатационной колонной и спущенными трубами нагнетают воду. Буровой раствор, находящийся в скважине, вытесняется из нее по трубам. Если после замены бурового раствора водой возбудить скважину (т. е. вызвать приток) не удается, то переходят на промывку скважины нефтью. После промывки скважины (прямой или обратной) водой или дегазированной нефтью можно достигнуть уменьшения забойного давления:
Продавка с помощью сжатого газа или воздуха (газлифтный способ освоения). Сущность метода заключается в нагнетании сжатого газа или воздуха в кольцевое пространство между подъемными трубами и обсадной колонной. Сжатый газ (воздух) вытесняет жидкость, заполняющую скважину, через спущенные в нее насосно-компрессорные трубы на дневную поверхность.
Аэрация — процесс смешения жидкости с пузырьками сжатого газа (воздуха). При аэрации за счет постепенного смешения сжатого газа (воздуха) и жидкости, заполняющей скважину (бурового раствора, воды, нефти), уменьшается плотность жидкости и тем самым плавно снижается давление на забой.
Для аэрации к скважине кроме водяной (нефтяной) линии от насоса подводят также газовую (воздушную) линию от компрессора. Жидкость и газ (воздух) смешиваются в специальном смесителе (эжекторе) или газопроводящей линии скважины, и аэрированная жидкость (газожидкостная смесь) нагнетается в ее затрубное пространство. При замене жидкости, находящейся в скважине, этой смесью давление на забой снижается, и, когда оно становится меньше пластового, нефть начинает поступать из пласта в скважину.
Освоение с помощью скважинных насосов применяют в скважинах, которые предполагается эксплуатировать глубинно-насосным способом. В некоторых случаях перед спуском насосных труб забой очищают с помощью желонки. Если ствол и забой чисты, то в скважину спускают насосно-компрессорные трубы, штанговый насос, устанавливают станок-качалку, и пускают скважину в эксплуатацию. Точно так же осваивают скважины, которые будут эксплуатироваться погружными электронасосами.
Освоение нагнетательных скважин не отличается от освоения добывающих. В них, как и в добывающих, после получения притока из пласта следует вести длительное дренирование (т. е. отбор жидкости) для очистки призабойной зоны и пор пласта от проникших в пласт при бурении глинистого раствора, взвешенных частиц (гематита, барита), продуктов коррозии и т. д. Отличие заключается в том, что, если добывающие скважины рекомендуется осваивать методом плавного запуска, т. е. постепенным увеличением отборов, то в нагнетательных в процессе освоения следует стремиться к отборам большого количества жидкостей и механических примесей (песка, ржавчины и др.). Это способствует открытию дренажных каналов и обеспечивает большую приемистость (поглотительную способность) скважин.
Дренируют пласт теми же способами, что и при вызове притока в нефтяных скважинах: поршневанием, применением сжатого воздуха, откачкой жидкости центробежными глубинными электронасосами, т. е. методами, допускающими откачку больших объемов жидкости.
Тартание — извлечение из скважины жидкости желонкой, спускаемой на тонком (16 мм) стальном канате с помощью лебедки. Желонку изготовляют из трубы длиной 8 м и диаметром не более 0,7 диаметра обсадной колонны. В нижней части желонка имеет клапан со штоком, открывающимся при упоре, в верхней части — скобу для прикрепления каната. За один рейс (спуск-подъем) выносится не более 0,06 м3 жидкости.
Тартание—малопроизводительный, трудоемкий способ снижения уровня жидкости в скважине с очень ограниченными возможностями применения (в скважинах, где не ожидается никаких фонтанных проявлений), так как устьевая задвижка при этом не может быть закрыта до извлечения из скважины желонки и каната. К недостаткам способа тартания относится загрязнение окружающей среды. Однако этот метод дает возможность извлечения осадка и глинистого раствора с забоя и контроля за положением уровня жидкости в скважине.
Поршневание (свабирование) заключается в постепенном снижении уровня жидкости в скважине при помощи поршня (сваба).
Поршень представляет собой трубу диаметром 25—37,5 мм с клапаном в нижней части, открывающимся вверх. На наружной поверхности поршня укреплены эластичные резиновые манжеты, армированные проволочной сеткой.
Для возбуждения скважины поршневанием в нее до фильтра спускают насосно-компрессорные трубы. Каждую трубу проверяют шаблоном. При спуске поршня под уровень (обычно на глубину 75—150 м) жидкость перетекает через клапан в пространство над поршнем. При подъеме его клапан закрывается, а манжеты, распираемые под действием давления столба жидкости, прижимаются к стенке труб и уплотняются. За один подъем выносится столб жидкости, находящейся над поршнем на глубине погружения под уровень жидкости. Поршневание в 10—15 раз производительнее тартания.
При непрерывном поршневании уровень жидкости в скважине понижается и соответственно снижается давление на забое скважины, что вызывает приток в нее жидкости из пласта.
Регулирование работы фонтанной скважины
После пуска фонтанной скважины в эксплуатацию принимают меры по обеспечению длительного и бесперебойного фонтанирования ее, и по наиболее рациональному расходованию пластовой энергии. Правильная эксплуатация фонтанной скважины заключается в обеспечении оптимального дебита при возможном меньшем газовым факторе, при минимальном поступлении песка из пласта в скважину и не допущении преждевременного прорыва в скважину контурных или подошвенных вод.
Работа фонтанной скважины в большинстве случаев регулируется созданием противодавления на выкидных линиях при помощи штуцеров, которые устанавливаются после задвижек. Штуцер – это цилиндрический диск или стержень со сквозным относительно небольшим отверстием. Диаметр отверстия зависит от заданного режима эксплуатации скважины и подбирается опытным путем. Для увеличения срока службы штуцеры изготавливают из износостойкой стали. Чем меньше отверстие в штуцере, тем больше сопротивление создается на пути движения жидкости, тем выше буферное давление скважины и тем меньше, соответственно, ее дебит.
Методы перфорации и торпедирования скважин
По окончании бурения нефтяной или газовой скважины стенки ее закрепляют обсадными трубами; в интервалах залегания продуктивных (нефтегазоносных) и водоносных пластов колонну цементируют. При этом нефтеносные и газоносные пласты оказываются перекрытыми обсадными трубами и цементным кольцом, и приток жидкости в такую скважину невозможен, пока не будут созданы условия для сообщения продуктивного пласта со скважиной. Для создания возможности притока нефти и газа из пласта в обсадной колонне и окружающем ее цементном кольце против нефтеносного (газоносного) пласта создают ряд каналов (отверстий), обеспечивающих сообщение между пластом и скважиной: по этим каналам нефть и газ поступают в скважину.
Как правило, отверстия в колонне и цементном кольце создают путем прострела. Этот процесс называют перфорацией колонны, а аппараты, при помощи которых производится прострел, перфораторами. Их спускают в скважину на каротажном кабеле.
Перфорацию применяют также для вскрытия заводняемых пластов в нагнетательных скважинах, для проведения изоляционных работ и после них: при переходе на другие горизонты т. д.
Существуют четыре способа перфорации:
пулевая,
торпедная,
кумулятивная,
пескоструйная.
Первые три способа осуществляются на промыслах геофизическими партиями с помощью оборудования, приборов и аппаратуры, имеющихся в их распоряжении. Пескоструйная перфорация осуществляется техническими средствами и службами нефтяных промыслов.
Пулевая перфорация. В этом случае в скважину на электрическом кабеле спускают стреляющий аппарат, состоящий из нескольких (8—10) камор-стволов, заряженных пулями диаметром 12,5 мм. Каморы заряжаются взрывчатым веществом (ВВ) и детонаторами. При подаче электрического импульса пули пробивают колонну, цемент и внедряются в породу, образуя канал для движения жидкости и газа из пласта в скважину.
Пулевые перфораторы разделены на два вида: 1) с горизонтальными стволами, когда длина стволов мала и ограничена радиальными габаритами перфоратора; 2) с вертикальными стволами с отклонителями пуль на концах для придания их полету направления, близкого к перпендикулярному по отношению к оси скважины.
Перфоратор с горизонтальными стволами собирается из нескольких секций, вдоль которых просверлены два или четыре вертикальных канала, каморы с ВВ. Стволы камор заряжены пулями и закрыты герметизирующими прокладками. Верхняя секция имеет два запальных устройства. При подаче по кабелю тока, срабатывает первое запальное устройство, и детонация распространяется по вертикальному каналу на все каморы, пересекаемые этим каналом. В результате почти мгновенного сгорания ВВ давление газов в каморе достигает 2000 МПа, после чего пуля выбрасывается. Происходит почти одновременный выстрел из половины всех стволов. При необходимости удвоить число прострелов по второй жиле кабеля подается второй импульс. В этом случае срабатывает вторая половина стволов от второго запального устройства. В перфораторе масса заряда ВВ одной каморы незначительна (равна 4—5 г), поэтому пробивная способность его невелика. Длина образующихся перфорационных каналов составляет 65—145 мм (в зависимости от свойств породы и типа перфоратора), диаметр канала— 12,5 мм.
На рисунке показан пулевой перфоратор с вертикально-криволинейными стволами ПВН-90. При вертикальном расположении стволов объем камор и длина стволов больше, чем при горизонтальном. В каждой секции два ствола направлены вверх и это компенсирует реактивные силы, действующие на перфоратор в момент выстрела. Одна камора отдает энергию взрыва сразу двум стволам. Масса ВВ в одной каморе достигает 90 г. Давление газов в каморах составляет 600—800 МПа. Действие газов более продолжительное, чем при горизонтальном расположении стволов. Это позволяет увеличить начальную скорость вылета пули и пробивную способность перфоратора. Длина перфорационных каналов в породе получается 145—350 мм при диаметре около 20 мм. В каждой секции перфоратора имеются четыре вертикальных ствола, на концах которых сделаны плавные желобки-отклонители. Пули, изготовленные из легированной стали, для уменьшения трения в отклонителях покрываются медью или свинцом. Выстрел из всех стволов происходит практически одновременно, так как все каморы с ВВ сообщаются огнепроводным каналом. Торпедная перфорация осуществляется аппаратами, спускаемыми на кабеле, и отличается от пулевой перфорации тем, что для выстрела используют разрывной снаряд, снабженный взрывателем замедленного действия. Масса внутреннего заряда ВВ одного снаряда равна 5 г. Аппарат состоит из секций, в каждой из которых имеется по два горизонтальных ствола. Снаряд снабжен детонатором накального типа. При остановке снаряда происходит взрыв внутреннего заряда, в результате чего происходит растрескивание окружающей породы. Масса ВВ одной камеры— 27 г. Глубина каналов по результатам испытаний составляет 100—160 мм, диаметр канала — 22 мм. На 1 м длины фильтра обычно пробивают не более четырех отверстий, так как при торпедной перфорации нередки случаи разрушения обсадных колонн.
Кумулятивная перфорация осуществляется стреляющими перфораторами, не имеющими пуль или снарядов. Прострел преграды достигается за счет сфокусированного взрыва. Такая фокусировка обусловлена конической формой поверхности заряда ВВ, облицованной тонким металлическим покрытием (листовой медью толщиной 0,6 мм). Энергия взрыва в виде тонкого пучка газов — продуктов облицовки пробивает канал. Кумулятивная струя приобретает скорость в головной части до 6—8 км/с и создает давление на преграду (0,15— 0,3) 106 МПа. При выстреле в преграде образуется узкий перфорационный канал глубиной до 350 мм и диаметром в средней части 8—14 мм. Размеры каналов зависят от прочности породы и типа перфоратора.
Кумулятивные перфораторы разделяются на корпусные и бескорпусные (ленточные). Корпусные перфораторы после их перезаряда используются многократно. Бескорпусные - одноразового действия. Перфораторы спускают на кабеле (имеются малогабаритные перфораторы, спускаемые через НКТ), а также на насосно-компрессорных трубах. В последнем случае инициирование взрыва производится не электрическим импульсом, а сбрасыванием в НКТ резинового шара, действующего как поршень на взрывное устройство. Масса ВВ одного кумулятивного заряда (в зависимости от типа перфоратора) 25—50 г.
Применение перфораторов различных типов и конструкций зависит от плотности вскрываемых пород. В твердых породах рекомендуется применять кумулятивную перфорацию, в менее плотных и малопроницаемых породах — снарядную, в рыхлых породах и слабо сцементированных песчаниках — пулевую.
Максимальная толщина вскрываемого интервала кумулятивным перфоратором достигает - 30 м, торпедным - 1 м, пулевым - до 2,5 м. Это — одна из причин широкого распространения кумулятивных перфораторов.
Ленточные перфораторы намного легче корпусных, однако, их применение ограничено давлением и температурой на забое скважины, так как их взрывной патрон и детонирующий шнур находятся в непосредственном контакте со скважинной жидкостью. В таких перфораторах заряды смонтированы в стеклянных (или из другого материала) герметичных чашках, которые размещены в отверстиях длинной стальной ленты с грузом па конце. Вся гирлянда спускается на кабеле. Обычно при залпе лента полностью не разрушается, но для повторного использования ее не применяют. Головку, груз, ленту после отстрела извлекают на поверхность вместе с кабелем. К недостаткам бескорпусных перфораторов относится невозможность контроля числа отказов, тогда как в корпусных такой контроль легко осуществим при осмотре извлеченного из скважины корпуса.
Кумулятивные перфораторы наиболее распространены. Подбирая необходимые ВВ, можно в широких диапазонах регулировать их термостойкость и чувствительность к давлению и этим самым расширить возможности перфорации в скважинах с аномально высокими температурами и давлениями.
Гидропескоструйная перфорация основана на использовании абразивного и гидромониторного действия струи жидкости (воды, нефти) со взвешенным в ней песком, выходящим под высоким давлением из узкого отверстия (сопла). Такая струя в течение нескольких минут создает в обсадной трубе, цементном кольце и породе глубокий канал, обеспечивающий надежное сообщение между скважиной и пластом.
Аппарат спускают в скважину на насосно-компрессорных трубах, по которым подается под высоким давлением жидкость с песком. Вытекая из сопел с большой скоростью, достигающей нескольких сот метров в секунду, жидкость с песком пробивает эксплуатационную колонну, цементное кольцо и внедряется в породу на глубину до 1 м.
В процессе перфорации под действием абразивной струи жидкости (вверх или вниз вдоль ствола скважины) может образоваться щелевой канал или (при круговом вращении струи) обрезаться колонна по кольцу, что необходимо, например, для извлечения части обсадной колонны.
Торпедирование в скважине – взрыв, производимый при помощи торпеды (заряда взрывчатого вещества). Торпеда кроме заряда взрывчатого вещества содержит средства для взрыва: взрыватель, состоящий из электрозапала и чувствительного к взрыву капсюля-детонатора, и шашку взрывчатого вещества, усиливающего начальный импульс детонации. Спускают ее в скважину на каротажном кабеле, жилу которого используют для приведения в действие взрывателя и всего заряда торпеды.
Торпедирование применяют для разрушения пород продуктивных пластов — образования в них трещин для лучшей отдачи нефти или газа, а также с целью обрыва или встряски прихваченных бурильных, обсадных и насосно-компрессорных труб, раздробления металлических предметов на забое скважины (шарошек, долот и т. д.). Иногда торпедирование применяют с целью удаления песчаных пробок, образовавшихся в стволе скважины, очистки призабойной зоны от глинистых осадков, очистки фильтра, пробивания окна в обсадной колонне для бурения нового ствола и т. д.
Гидродинамические исследования
Геофизические исследования выполняются геофизическими или другими специализированными организациями по договорам, заключаемым с нефтегазодобывающими предприятиями, и проводятся в присутствии заказчика.
Работы проводятся в соответствии с планом утвержденным главным инженером и главным геологом предприятия и согласованным с противофонтанной службой.
Работы по КРС должны начинаться с гидродинамических исследований в скважинах.
гидроиспытание колонны;
поинтервальное гидроиспытание колонны;
снижение и восстановление уровня жидкости;
определение пропускной способности нарушения или специальных отверстий в колонне;
прокачивание индикатора (красителя).
Выявление обводнившихся интервалов пласта или пропластков производят гидродинамическими методами в комплексе с геофизическими исследованиями при селективном испытании этих интервалов на приток с использованием двух пакеров (сверху и снизу).
Геофизические исследования
Комплекс исследований должен
включать все основные методы.
Целесообразность применения дополнительных
методов должна быть обоснована
промыслово-геофизическим предприятием.
Комплексы
методов исследований
уточняют в зависимости от конкретных
геолого-технических условий по взаимно
согласованному плану между геофизической
и промыслово-геологичсской службами.
Заключения об интервалах негерметичности обсадной колонны, глубине установки оборудования, НКТ, положения забоя, динамического и статического уровней, интервале прихвата труб и привязке замеряемых параметров к разрезу, герметичности забоя выдаются непосредственно на скважине после завершения исследований, а по исследованиям, которые проводятся для определения интервалов заколонной циркуляции, распределения и состояния цементного камня за колонной, размеров нарушений колонны, — передаются по оперативной связи в течение 24ч после завершения измерений и через 48 ч — в письменном виде. В заключении геофизического предприятия приводятся результаты ранее проведенных исследований (в том числе и не связанных с КРС), а в случае их противоречия с данными предыдущих исследований, указываются причины.
Геофизические исследования в интервале объекта разработки
Перед началом геофизических работ скважину заполняют жидкостью необходимой плотности до устья, а колонну шаблонируют до забоя.
Основная цель исследования — определение источников обводнения продукции скважины.
При выявлении источников
обводнения продукции в действующих
скважинах исследования включают
измерения высокочувствительным
термометром,
гидродинамическим и
термокондуктивным расходомерами,
влагомером, плотномером, резистивиметром,
импульсным генератором нейтронов.
Комплекс исследований зависит от дебита
жидкости и содержания воды в продукции.
Привязку замеряемых параметров по
глубине осуществляют с помощью локатора
муфт и ГК.
Для выделения обводнившегося пласта или пропластков, вскрытых перфорацией, и определения заводненной мощности коллектора при минерализации воды в продукции 100 г/л и более в качестве дополнительных работ проводят исследования импульсными нейтронными методами (ИНМ) как в эксплуатируемых, так и в остановленных скважинах. В случаях обводнения неминерализованной водой эти задачи решаются ИНМ по изменениям до и после закачки в скважину минерализованной воды с концентрацией соли более 100 г/л. Эти измерения проводятся в комплексе с исследованиями высокочувствительным термометром для определения интервалов поглощения закачанной воды и выделения интервалов заколонной циркуляции.
Измерения ИНМ входят в основной комплекс при исследовании пластов с подошвенной водой, частично вскрытых перфорацией, при минерализации воды в добываемой продукции более 100 г/л. По результатам измерений судят о путях поступления воды к интервалу перфорации — подтягиванию подошвенной воды по прискважинной зоне коллектора или по заколонному пространству из-за негерметичности цементного кольца.
Оценку состояния выработки запасов и величины коэффициента остаточной нефтенасыщенности в пласте, вскрытом перфорацией, проверяют исследованиями ИНМ в процессе поочередной закачки в пласт двух водных растворов, различных по минерализации. По результатам измерения параметра времени жизни тепловых нейтронов в пласте вычисляют значение коэффициента остаточной насыщенности. Технология работ предусматривает закачку 3—4 м3 раствора на 1 м толщины коллектора. Закачку раствора проводят отдельными порциями с замером параметра до стабилизации его величины.
Состояние насыщения коллекторов, представляющих объекты перехода на другие горизонты или приобщения пластов, оценивают по результатам геофизических исследований. При минерализации воды в продукции более 50 г/л проводят исследования ИНМ.
При переводе добывающей скважины под нагнетание обязательными являются исследования гидродинамическим расходомером и высокочувствительным термометром, которые позволяют выделить отдающие или принимающие интервалы и оценить степень герметичности заколонного пространства.
Контроль технического состояния добывающих скважин
Если объектом исследования является интервал ствола скважины выше разрабатываемых пластов, геофизические измерения проводят с целью выявления мест нарушения герметичности обсадной колонны, выделения интервала поступления воды к месту нарушения, интервалов заколонных межпластовых перетоков, определения высоты подъема и состояния цементного кольца за колонной, состояния забоя скважины, положения интервала перфорации, технологического оборудования, определения уровня жидкости в межтрубном пространстве, мест прихвата труб.
Если место негерметичности обсадной колонны определяют по измерениям в процессе работы или закачки в скважину воды (инертного газа) в интервале, не перекрытом НКТ, обязательный комплекс включает измерения расходомером и локатором муфт. В качестве дополнительных методов используют скважинный акустический телевизор (для определения линейных размеров и формы нарушения обсадной колонны), толщиномер (с целью уточнения компоновки обсадной колонны и степени ее коррозии).
Интервал возможных перетоков
жидкости или газа между пластами при
герметичной обсадной колонне устанавливают
по результатам исследований
высокочувствительным
термометром, закачкой радиоактивных
изотопов и методами нейтронного каротажа
для выделения зон вторичного газонакопления.
Контроль за РИР при наращивании цементного кольца за эксплуатационной колонной, кондуктором, креплением слабосцементированных пород в призабойной зоне пласта осуществляют акустическим или гамма-гамма-цементомером по методике сравнительных измерений до и после проведения изоляционных работ. Для контроля качества цементирования используется серийно выпускаемая аппаратура типа АКЦ.
Для контроля глубины спуска в скважину оборудования (НКТ, гидроперфоратора, различных пакерующих устройств), интервала и толщины отложения парафина, положения статического и динамического уровней жидкостей в колонне, состояния искусственного забоя обязательным является исследование одним из стационарных нейтронных методов (НГК, ННК) или методом рассеянного гамма-излучения (ГГК).
Геофизические исследования при ремонте нагнетательных скважин
Геофизические исследования при ремонте нагнетательных скважин в интервале объекта разработки проводят для оценки герметичности заколонного пространства, контроля за качеством отключения отдельных пластов. Эти задачи решают замером высокочувствительным термометром и гидродинамическим расходомером, закачкой радиоактивных изотопов. Факт поступления воды в пласты, расположенные за пределами интервала перфорации, может быть установлен по дополнительным исследованиям ИНМ при минерализации пластовой воды более 50 г/л.
Результаты ремонтных работ с целью увеличения и восстановления производительности и приемистости, выравнивания профиля приемистости, дополнительной перфорации оценивают по сопоставлению замеров высокочувствительным термометром и гидродинамическим расходомером, которые необходимо проводить до и после завершения ремонтных работ. Для определения интервалов перфорации и контроля за состоянием колонны применяют локатор муфт, акустический телевизор CAT, индукционный дефектоскоп ДСИ, аппаратуру контроля перфорации АКП, микрокаверномер. В случае закачки в пласт соединений и веществ, которые отличаются по нейтронным параметрам от скелета породы и насыщающей ее жидкости, дополнительно проводят исследования ИНМ до и после ремонта скважины с целью оценки эффективности проведенных работ.
Оценка результатов проведенных работ
Оценку результатов проведенных работ проводят в период дальнейшей эксплуатации скважины по характеру добываемой продукции и по результатам повторных исследований после ремонтных работ.
Признаками успешного проведения ремонтных работ следует считать:
в интервале объекта разработки - снижение или ликвидацию обводненности добываемой продукции, увеличение дебита скважины;
при исправлении негерметичности колонны - результаты испытания ее на герметичность гидроиспытанием или снижением уровня;
при изоляции верхних вод, поступающих в скважину через нарушения в колонне или выходящих на поверхность по затрубному пространству, — отсутствие в добываемой продукции верхних вод, отсутствие выхода пластовых вод на поверхность.
В случае отрицательного результата ремонтных работ проводят исследования по определению источника поступления воды в скважину.
Качество проведенных ремонтных работ устанавливают по результатам повторных исследовании геофизическими методами:
при наращивании цементного кольца за колонной или исправлении качества цементирования - путем повторных исследований методами цементометрии;
при ликвидации межпластовых перетоков — исследованиями методами термометрии. Признаком устранения негерметичности заколонного пространства является восстановление геотермического градиента на термограммах, полученных при исследовании в действующей скважине или при воздействии на нее.
Консервация и расконсервация скважин
Консервацию скважин производят с учетом возможности повторного ввода ее в эксплуатацию или проведения в ней ремонтных или других работ.
Работы по консервации и расконсервации скважин осуществляются по индивидуальным планам предприятия, которые согласуют с местными органами Госгортехнадзора и военизированным отрядом по ликвидации и предупреждению открытых фонтанов и утверждаются предприятием.
При наличии межколонных проявлений до начала работ по консервации проводят соответствующие ремонтно-восстановительные работы по специальным планам.
Консервация скважин:
Цементные мосты не устанавливают.
Устье консервированной скважины ограждают. На ограждении крепят табличку с указанием номера скважины, наименования месторождения (площади), организации и сроков консервации.
Во всех консервируемых скважинах для предохранения от замораживания верхнюю часть ствола на глубину 30 м заполняют незамерзающей жидкостью (соляровое масло, 30 %-ный раствор хлористого кальция, нефть и т.п.).
Устьевое оборудование всех консервируемых скважин должно быть защищено от коррозии.
Проверку состояния скважин, находящихся в консервации, проводят не реже одного раза в квартал с соответствующей записью в специальном журнале.
По окончании консервационных работ составляют акт по установленной форме.
Расконсервация скважин:
Прекращение консервации (расконсервацию) скважин производят по согласованию с органами Госгортехнадзора.
Расконсервацию скважины производят в следующем порядке:
устанавливают штурвалы на задвижки фонтанной арматуры;
разгерметизируют патрубки и устанавливают манометры;
снимают заглушки с фланцев задвижек;
подвергают фонтанную арматуру гидроиспытанию при давлении, соответствующем условиям эксплуатации;
промывают скважину, при необходимости производят допуск колонны НКТ до заданной глубины и после оборудования устья производят ее освоение и ввод в эксплуатацию;
Ликвидация скважин
Скважины, дальнейшее использование которых признано нецелесообразным, подлежат ликвидации. Причины ликвидации:
Сложная авария и доказанная техническая невозможность ее устранения, а так же невозможность использования скважины для других целей – в качестве наблюдательной, нагнетательной и пьезометрической.
Отсутствие нефтенасыщенных горизонтов, вскрытых этой скважиной, и невозможность использования скважины для других целей (углубление, переход и т.д.).
Полное обводнение законтурной водой и отсутствие в ее разрезе объектов для перехода.
Расположение скважины в застроенных и занятых зонах (предприятие, жилые массивы, водохранилища и т.д.) или в зонах стихийных бедствий – землетрясения, оползни и т.д.
Все работы по ликвидации скважин должны проводиться в соответствии с требованиями «Правил безопасности в нефтяной и газовой промышленности», «Правилами ремонтных работ в скважинах» и индивидуальным планом изоляционно-ликвидационных работ по каждой скважине, разработанным в соответствии с проектом на ликвидацию скважин для данной площади или месторождения.
Осложнения и аварии, возникшие в процессе проведения изоляционно-ликвидационных работ или в процессе исследования технического состояния скважин, ликвидируются по дополнительным к проектной документации к ликвидации, планам, согласованным с региональными органами Госгортехнадзора России.
Ликвидация скважин с межколонным давлением, заколонными перетоками, грифонами допускается только после их устранения по согласованному с территориальным органом Госгортехнадзора России плану с оформлением акта на проведенные работы и результатам исследований, по проверке надежности выполненных работ и выводов постоянно действующей комиссии о непригодности скважины к ее дальнейшей безопасной эксплуатации.
Ликвидация скважин без эксплуатационной колонны
Ликвидация скважины без эксплуатационной колонны в зависимости от горно-геологических условий вскрытого разреза производится путем установки цементных мостов в интервалах залегания высоконапорных минерализованных вод и слабопродуктивных, не имеющих промышленного значения залежей углеводородов.
Высота цементного моста должна быть на 20 м ниже подошвы и на столько же выше кровли каждого такого горизонта.
Над кровлей верхнего пласта с минерализованной водой, а также на границе залегания пластов с пресными и минерализованными водами (если они не перекрыты технической колонной) устанавливается цементный мост высотой 50 м.
В башмаке последней технической колонны устанавливается цементный мост с перекрытием башмака колонны не менее чем на 50 м.
Наличие мостов проверяется разгрузкой бурильного инструмента или насосно-компрессорных труб с усилием, не превышающим предельно допустимую удельную нагрузку на цементный камень. Установленный в башмаке последней технической колонны цементный мост, кроме того, испытывается методом гидравлической опрессовки. Результаты работ оформляются соответствующими актами.
Извлечение верхней части технической колонны с незацементированным затрубном пространством допускается при отсутствии в разрезе напорных и углеводородосодержащих горизонтов.
В этом случае в оставшейся части технической колонны устанавливается цементный мост высотой на 50 м выше и 20 м ниже места извлечения колонны
Оставшаяся часть технической колонны заполняется нейтральной жидкостью, кондуктор - нейтральной незамерзающей жидкостью.
При ликвидации скважин в результате аварии с бурильным инструментом: в необсаженной части ствола и невозможности его извлечения необходимо произвести торпедирование или отворот неприхваченной части инструмента. При нахождении верхней части оставшегося в скважине инструмента ниже башмака технической колонны необходимо произвести установку цементного моста под давлением с перекрытием головы оставшегося инструмента на 50 м. После ожидания затвердения цемента следует определить разгрузкой бурильного инструмента или насосно-компрессорных труб верхний уровень цементного моста. В башмаке технической колонны необходимо также установить цементный мост высотой 50 м и проверить его наличие разгрузкой бурильного инструмента или насосно-компрессорных труб и опрессовкой.
При аварии с бурильным инструментом, когда его верхняя часть осталась в интервале ствола, перекрытого технической колонной, необходимо произвести его торпедирование или отворот на уровне башмака колонны и цементирование под давлением с установкой цементного мости на уровне не менее 100 м над башмаком технической колонны.
Устье скважины необходимо оборудовать заглушкой (или глухим фланцем с вваренным патрубком и вентилем), установленной на кондукторе (технической колонне).
На устье скважины устанавливается бетонная тумба размером 1х1х1м с репером высотой не менее 0,5 м и металлической таблицей, на которой электросваркой указывается номер скважины, месторождение (площадь), предприятие - пользователь недр, дата ее ликвидации.
При расположении скважины на землях, используемых для сельскохозяйственных целей, устья скважины углубляются не менее чем на 2 м от поверхности, оборудуются заглушкой, установленной на кондукторе (технической колонне) и таблицей с указанием номера скважины, месторождения (площади), предприятия-пользователя недр и даты ее ликвидации.
Заглушка покрывается материалом, предотвращающим ее коррозию, и устье скважины засыпается землей.
Выкопировка плана местности с указанием местоположением устья ликвидированной скважины передается землепользователю, о чем делается соответствующая отметка в деле скважины и акте на рекультивацию земельного участка.
Ликвидации скважин со спущенной эксплуатационной колонной
Оборудование стволов при ликвидации скважин со спущенной эксплуатационной колонной производится следующим образом.
При подъеме цемента за эксплуатационной колонной выше башмака предыдущей колонны (технической колонны или кондуктора) устанавливаются цементные мосты против всех интервалов перфорации, интервалов негерметичности, установки муфт ступенчатого цементирования, в местах стыковки при секционном спуске эксплуатационной и технической колонн, интервала башмака кондуктора (технической колонны). Если по решению пользователя недр производится отворот незацементированной части эксплуатационной колонны, то устанавливается цементный мост высотой не менее 50 м на "голове" оставшейся части колонны. Оставшаяся часть скважины заполняется незамерзающей нейтральной жидкостью.
При отсутствии цементного камня за эксплуатационной колонной ниже башмака кондуктора или технической колонны, если в этот промежуток попадают пласты - коллекторы, содержащие минерализованную воду или углеводороды, то производится перфорация колонны и цементирование под давлением с установкой цементного моста в колонне, перекрывающего указанный интервал на 20 м ниже и выше с последующей опрессовкой, проведением исследований по определению высоты подъема цемента и качества схватывания.
При ликвидации скважин с нарушенной колонной из-за аварии или корродирования эксплуатационной колонны вследствие длительных сроков эксплуатации проводятся исследования по определению наличия и качества цемента за колонной, цементирование в интервалах его отсутствия и установка цементного моста в колонне с перекрытием всей прокорродировавшей части колонны на 20 м выше и ниже этого интервала, с последующей опрессовкой оставшейся части колонны.
Ликвидация скважин со смятой эксплуатационной колонной производится путем установки цементных мостов в интервалах перфорации и смятия колонн на 20 м ниже и на 100 м выше этих интервалов перфорации и смятия колонн.
По скважинам, вскрывшим малодебитные, низконапорные пласты, допускается принимать консервационные цементные мосты в качестве ликвидационных при условии, что мост перекрывает верхние отверстия перфорации не менее чем на 50 м.
На устье скважины устанавливается бетонная тумба размером 1х1х1м с репером высотой не менее 0,5 м и металлической таблицей, на которой электросваркой указывается номер скважины, месторождение (площадь), предприятие - пользователь недр, дата ее ликвидации.
При расположении скважины на землях, используемых для сельскохозяйственных целей, устья скважины углубляются не менее чем на 2 м от поверхности, оборудуются заглушкой, установленной на кондукторе (технической колонне) и таблицей с указанием номера скважины, месторождения (площади), предприятия-пользователя недр и даты ее ликвидации.
Заглушка покрывается материалом, предотвращающим ее коррозию, и устье скважины засыпается землей.
Выкопировка плана местности с указанием местоположением устья ликвидированной скважины передается землепользователю, о чем делается соответствующая отметка в деле скважины и акте на рекультивацию земельного участка.
Список использованной литературы
1. Амиров А.Д. Капитальный ремонт нефтяных и газовых скважин. - М.: Недра, 1975.
2. Сулейманов А.Б. Техника и технология капитального ремонта скважин. – М.: Недра, 1987.
3. Калинин А.Г. Бурение наклонных скважин. – М.: Недра, 1990.
4. Молчанов А.Г. Подземный ремонт скважин. – М.: Недра, 1986.
5. Подгорный М.И. Ловильный инструмент. – М.: Недра, 1984.
6. Бухаленко Е.И. Техника и технология промывки скважин. - М.: Недра, 1982.
7. Васильевский В.Н. Исследование нефтяных пластов и скважин. - М.: Недра, 1973.
8. Правила ведения ремонтных работ в скважине. РД 153-39-023-97
9. Инструкция о порядке ликвидации, консервации скважин и оборудовании их устьев и стволов. РД 03-34-00
10. Новоселов Н.И. Методы интенсификации добычи нефти, применяемые ЗАО «ПИТЦ «Геофизика».
11. Зиновьев Ю.С. Основы нефтегазового дела - АГТУ 2000.
