Методические указания к лабораторной работе «Огнетушители»
Методические указания к лабораторной работе «Огнетушители»
В. М. Воронова, Е. Л. Янчук
Оренбургский государственный университет
Кафедра безопасности жизнедеятельности
Оренбург 2001
1 Цель работы
Ознакомление с областью применения, конструкцией и принципом действия огнетушителей.
2 Общие сведения
Огонь безжалостен, но люди, подготовленные к этому стихийному бедствию, имеющие под руками даже элементарные средства пожаротушения выходят победителями в борьбе с огнем.
Средства пожаротушения подразделяют на :
- подручные (песок, вода, одеяло, кошма и т.п.),
- табельные (огнетушитель, топор, багор, ведро).
Эффективность тушения пожара и затраты на его ликвидацию зависят от своевременного обнаружения загорании и умения людей пользоваться первичными средствами пожаротушения.
Наиболее распространенными из первичных средств пожаротушения являются огнетушители. В качестве огнегасительного вещества в них используются пенообразующие составы, инертные газы и порошковые составы.
3 Основные типы огнетушителей
3.1 Назначение и классификация огнетушителей
Огнетушители - технические устройства, предназначенные для тушения пожаров в начальной стадии их возникновения.
Огнетушители классифицируются по виду используемого огнетушащего вещества, объему корпуса и способу подачи огнетушащего состава.
По виду огнетушащего вещества:
- пенные;
- газовые;
порошковые,
комбинированные.
По объему корпуса:
ручные малолитражные с объемом корпуса до 5 л;
промышленные ручные с объемом корпуса от 5 до 10 л;
стационарные и передвижные с объемом корпуса свыше 10 л.
По способу подачи огнетушащего состава:
под давлением газов, образующихся в результате химической реакции компонентов заряда;
под давлением газов, подаваемых из специального баллончика, размещенного в корпусе огнетушителя;
под давлением газов, закаченных в корпус огнетушителя;
под собственным давлением огнетушащего средства.
По виду пусковых устройств:
с вентильным затвором;
с запорно-пусковым устройством пистолетного типа;
с пуском от постоянного источника давления.
Этой классификацией не исчерпываются все показатели многочисленной группы огнетушителей. Постоянное совершенствование конструкции, повышение таких показателей как надежность, технологичность, унификация и др. ведет к созданию новых, более совершенных огнетушителей.
Огнетушители маркируются буквами, характеризующими вид огнетушителя, и цифрами, обозначающими его вместимость.
3.2 Огнетушители пенные
Предназначены для тушения пожаров огнетушащими пенами: химической (огнетушители ОХП) иди воздушно-механической (огнетушитель ОВП).
Химическую пену получают из водных растворов кислот и щелочей, воздушно-механическую образуют из водных растворов и пенообразователей потоками рабочего газа: воздуха, азота иди углекислого газа. Химическая пена состоит из 80 % углекислого газа, 19,7 % воды и 0,3 % пенообразующего вещества, воздушно-механическая примерно из 90 % воздуха, 9,8 % воды и 0,2 % пенообразователя.
Пенные огнетушители применяют для тушения пеной начинающихся загораний почти всех твердых веществ, а также горючих и некоторых легковоспламеняющихся жидкостей на площади не более 1 м2. Тушить пеной загоревшиеся электрические установки и электросети, находящиеся под напряжением, нельзя, так как она является проводником электрического тока. Кроме того, пенные огнетушители нельзя применять при тушении щелочных металлов натрия и кадия, потому что они, взаимодействуя с водой, находящейся в пене, выделяют водород, который усиливает горение, а также при тушении спиртов, так как они поглощают воду, растворяясь в ней, и при попадании на них пена быстро разрушается.
К недостаткам пенных огнетушителей относится узкий температурный диапазон применения (+5 °С - +45 °С), высокая коррозийная активность заряда, возможность повреждения объекта тушения, необходимость ежегодной перезарядки.
Из химических пенных огнетушителей наибольшее применение получили огнетушители: ОХП-10, ОП-М и ОП-9ММ (густопенные химические), ОХВП-10 (воздушно-пенный химический).
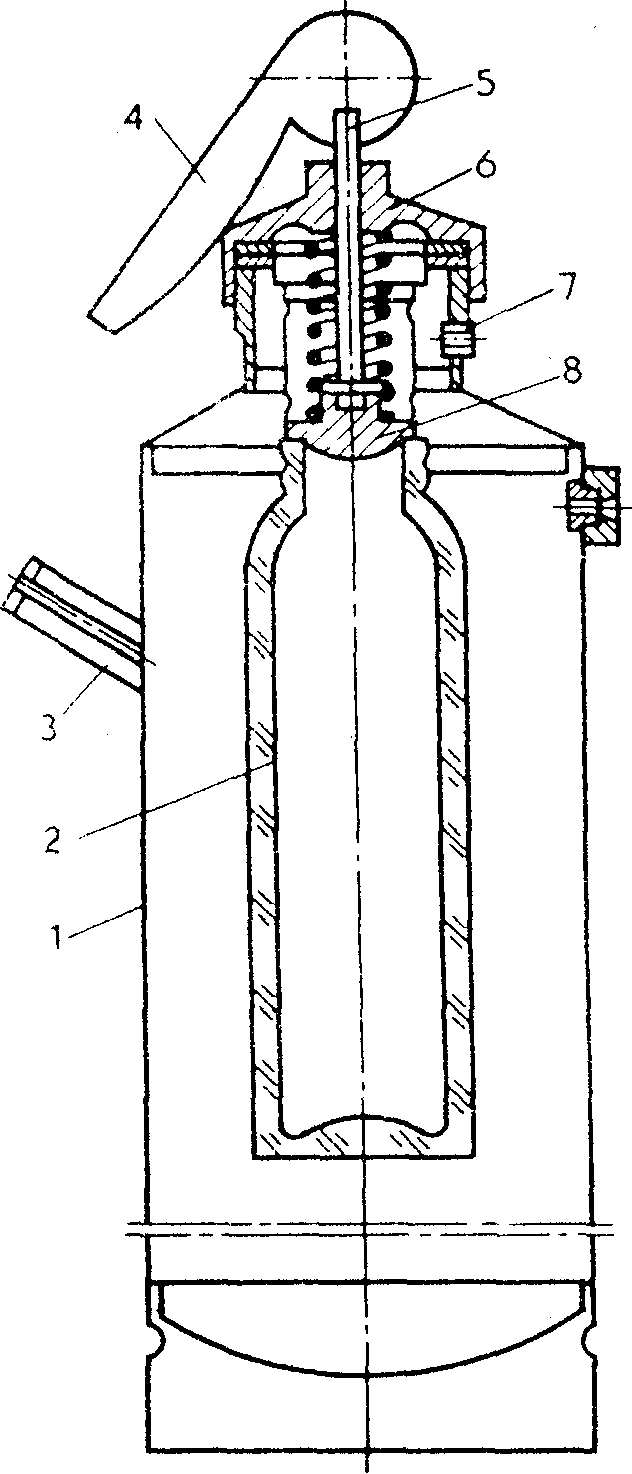
Химический пенный огнетушитель типа ОХП-10 (рисунок 1) представляет собой стальной сварной корпус с горловиной, закрытой крышкой с запорным устройством. Запорное устройство, имеющее шток, пружину и резиновый клапан, предназначено для того, чтобы закрывать вставленный внутрь огнетушителя полиэтиленовый стакан для кислотной части заряда огнетушителя. Кислотная часть является водной смесью серной кислоты с сернокислым окисным железом. Щелочная часть заряда (водный раствор двууглекислого натрия с солодковым экстрактом) залита в корпус огнетушителя. На горловине корпуса имеется насадка с отверстием (спрыск). Отверстие закрыто мембраной, которая предотвращает вытекание жидкости из огнетушителя. Мембрана разрывается (вскрывается) при давлении 0,08 - 0,14 МПа.
Для приведения огнетушителя в действие поворачивают рукоятку запорного устройства на 180°, переворачивают огнетушитель вверх дном и направляют спрыск в очаг загорания. При повороте рукоятки клапан закрывающий горловину кислотного стакана поднимается, кислотный раствор свободно выливается из стакана, смешивается с раствором щелочной части заряда. Образовавшийся в результате реакции углекислый газ интенсивно перемешивает жидкость, обволакивается пленкой из водного раствора, образуя пузырьки пены.
Образование пены идет по следующим реакциям:
H>2>SO>4 >+ 2NaHCO>3> → Na>2>SO>4> + 2H>2>O + 2CO>2>
Fe(SO>4>)>3> + 6H>2>O → 2Fe(OH)>3> + 3H>2>SO>4>
3H>2>SO>4 >+ 6NaHCO>3> → 3Na>2>SO>4> + 6H>2>O + 6CO>2>
Давление в корпусе огнетушителя резко повышается и пена выбрасывается через спрыск наружу.
При тушении твердых материалов струю направляют непосредственно на горящий предмет под пламя, в места наиболее активного горения. Тушение горящих жидкостей, разлитых на открытой поверхности, начинают с краев, постепенно покрывая пеной всю горящую поверхность, во избежании разбрызгивания.
Огнетушитель химический воздушно-пенный ОХВП-10 аналогичен по конструкции, но дополнительно имеет специальную пенную насадку, навинчиваемую на спрыск огнетушителя и обеспечивающую подсасывание воздуха. За счет этого при истечении химической пены образуется и воздушно-механическая пена. Кроме того, в этом огнетушителе щелочная часть заряда обогащена небольшой добавкой пенообразователя типа ПО-1.

1- корпус; 2- стакан с кислотной частью заряда; 3-ручка; 4- рукоятка; 5- шток; 6- крышка; 7- спрыск; 8- клапан.
Рисунок 1 — Химический пенный огнетушитель ОХП -10
Таблица 1 - Технические характеристики химических пенных огнетушителей
|
Тип огнетушителя |
ОХП-10 |
ОХВП-10 |
|
Полезная вместимость корпуса, л |
8,7 |
8,7 |
|
Кратность выхода пены, не менее |
5 |
5 |
|
Длина струн пены, м |
6 |
4 |
|
Продолжительность действия, с |
60±5 |
50±10 |
|
Масса огнетушителя, кг без заряда с зарядом |
4 14 |
4 14,1 |
|
Щелочная часть: двууглекислый натрий, г солодковый экстракт, г вода, л пенообразователь типа ПО-1, см3 |
400 50 8,5 - |
400 50 8 500 |
|
Кислотная часть: сернокислое окисное железо, г серная кислота, г вода, см3 водный раствор серной кислоты плотностью 1,51 см3 |
150 120 200 - |
250 200 |
Воздушно-пенные огнетушители бывают ручные (ОВП-5 и ОВП-10) и стационарные (ОВП-100, ОВПУ-250).
Воздушно-пенный огнетушитель ОВП-10 (рисунок 2) состоит из стального корпуса, в котором находится 4-6 % водный раствор пенообразователя ПО-1, баллончика высокого давления с углекислотой, для выталкивания заряда, крышки с запорно-пусковым устройством, сифонной трубки и раструба-насадки для получения высокократной воздушно-механической пены.
Огнетушитель приводится в действие нажатием руки на пусковой рычаг, в результате чего разрывается пломба и шток прокалывает мембрану баллона с углекислотой. Последняя, выходя из баллона через дозирующее отверстие, создает давление в корпусе огнетушителя, под действием которого раствор по сифонной трубке поступает через распылитель в раструб, где в результате перемешивания водного раствора пенообразователя с воздухом образуется воздушно-механическая пена.
Кратность получаемой пены (отношение ее объема к объему продуктов, из которых она получена составляет в среднем 5, а стойкость (время с момента ее образования до полного распада) -20 минут. Стойкость химической пены 40 минут.

1 - корпус; 2 - сифонная трубка; 3 - баллон; 4 - рукоятка; 5 - распылитель; 6 - раструб с сеткой.
Рисунок 2 - Воздушно-пенный огнетушитель ОВП-10
Таблица 2 - Основные технические данные воздушно-пенных огнетушителей
|
Тип огнетушителя |
ОВП-5 |
ОВП-10 |
|
Производительность по пене, л |
270 |
570 |
|
Дальность струи пены, м |
4,5 |
4,5 |
|
Продолжительность действия, с |
20 |
45 |
|
Масса огнетушителя с зарядом, кг |
7,5 |
14 |
3.3 Огнетушители газовые
К их числу относятся углекислотные, в которых в качестве огнетушащего вещества применяют сжиженный диоксид углерода (углекислоту), а также аэрозольные и углекислотно-бромэтиловые, в качестве заряда в которых применяют галоидированные углеводороды, при подаче которых в зону горения тушение наступает при относительно высокой концентрации кислорода (14-18 %).
Углекислотные огнетушители выпускаются как ручные (ОУ-2, ОУ-5, ОУ-8), так и передвижные (ОУ-25, ОУ-80). Ручные огнетушители (рисунок 3) одинаковы по устройству и состоят из стального высокопрочного баллона, в горловину которого ввернуто запорно-пусковое устройство вентильного или пистолетного типа, сифонной трубки, которая служит для подачи углекислоты из баллона к запорно-пусковому устройству, и раструба-снегообразователя. В огнетушителе ОУ-8 раструб присоединяется к запорной головке через бронированный шланг длиной 0,8 м. Баллоны огнетушителей заполнены жидкой углекислотой под давлением 6-7 МПа.
Для приведения в действие углекислотного огнетушителя необходимо направить раструб-снегообразователъ на очаг пожара и отвернуть до отказа маховичок или нажать на рычаг запорно-пускового устройства. Переход жидкой углекислоты в углекислый газ сопровождается резким охлаждением и часть ее превращается в «снег» в виде мельчайших кристаллических частиц (t>сн> = - 72 °С). Во избежании обморожения рук нельзя дотрагиваться до металлического раструба. При переходе углекислоты из жидкого состояния в газообразное происходит увеличение объема в 400-500 раз.

1- баллон; 2- предохранитель; 3- маховичок вентиля-заопра; 4- металлическая пломба; 5- вентиль; 6- поворотный механизм с раструбом; 7- сифонная трубка.
Рисунок 3 - Углекислотный огнетушитель ОУ – 5
Углекислотные огнетушители (ОУ-2, ОУ-5, ОУ-8) предназначены для тушения загораний различных веществ и материалов, за исключением веществ, которые могут гореть без доступа воздуха, загораний на электрофицированном железнодорожном и городском транспорте, электроустановок под напряжением до 380 В. Температурный режим хранения и применения углекислотных огнетушителей от минус 40 °С до плюс 50 °С.
Углекислотно-бромэтиловые огнетушители ОУБ-3А и ОУБ-7А представляют собой стальные тонкостенные баллоны (толщина стенки 1,5-2 мм) сварной конструкции. В горловину баллона ввернута запорная головка рычажного типа с распыляющей насадкой и сифонной трубкой. Емкость баллонов соответственно 3,2 и 7,4 л.
Огнетушащим зарядом является состав 4НД (97 % бромэтила и 3 % углекислого газа). Огнегасительное действие бромистого этила основано на торможении химических реакций горения, поэтому его часто называют антикатализатором или ингибитором. Для выброса заряда в огнетушитель закачивают воздух под давлением 0,9 МПа.
Время действия огнетушителей 20-30 с при длине струи 3-4 м.
Огнетушители этого типа предназначены для тушения небольших загораний различных горючих веществ, тлеющих материалов, а также электроустановок, находящихся под напряжением до 380 В. Их используют в складских помещениях, на грузовых и специализированных автомобилях, на бензораздаточных колонках и т.д. Огнетушители могут быть применены при температуре окружающего воздуха от минус 60 °С до плюс 60 °С. Огнегасительный эффект этих огнетушителей в 14 раз выше, чем углекислотных.
Огнетушители аэрозольные (хладоновые) используют в тех же случаях, что и угдекислотно-бромэтиловые. Огнетушащий состав хладон (фреон), 114В2, 13В1 в процессе пожаротушения не оказывает воздействия на защищаемые материалы и оборудование, что позволяет использовать данные огнетушители при тушении пожаров электронного оборудования, картин и музейных экспонатов. Наша промышленность выпускает огнетушители марок ОАХ, ОХ-3 и др.
3.4 Огнетушители порошковые
Для тушения небольших очагов загораний горючих жидкостей, газов, электроустановок напряжением до 1000 В, металлов и их сплавов используются порошковые огнетушители ОП-1, ОП-25, ОП-10.
Порошковый огнетушитель ОП-1 «Спутник» емкостью 1 л используется при тушении небольших загораний на автомобилях и сельскохозяйственных машинах. Состоит из корпуса, сетки и крышки, изготовленных из полиэтилена. Заполнен составом ПСБ (порошок сухой бикарбонатный), состоящий из 88 % бикарбоната натрия с добавлением 10 % талька марки ТКВ, стеаратов металлов (железа, алюминия, магния кальция, цинка) – 9 %.
Во время пользования снимают крышку огнетушителя и через сетку порошок ПСБ вручную распыливают на очаг горения. Образующееся устойчивое порошковое облако изолирует кислород воздуха и ингибирует горение.
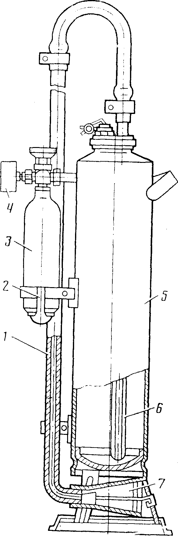
Порошковый огнетушитель ОП-10 (рисунок 4) содержит в тонкостенном десятилитровом баллоне порошок ПС-1 (углекислый натрий с добавками). Подается с помощью сжатого газа (азот, диоксид углерода, воздух), хранящегося в дополнительном баллончике емкостью 0,7 л под давлением 15 МПа. Применяется для тушения загораний щелочных металлов (лития, кадия, натрия) и магниевых сплавов.
В других огнетушителях этого типа используются порошковые составы: ПСБ (бикарбонат натрия с добавками), ПФ (фосфорно-аммонийные соли с добавками), предназначенные для тушения древесины, горючих жидкостей и электрооборудования, СИ-2 (сидикагель с наполнителем) - для тушения нефтепродуктов и пирофорных соединений.
Огнетушитель самосрабатывающий порошковый (ОСП) - это новое поколение средств пожаротушения. Он позволяет с высокой эффективностью тушить очаги загорания без участия человека.
Огнетушитель представляет собой герметичный стеклянный сосуд диаметром 50 мм и длиной 440 мм, заполненный огнетушащим порошком массой 1 кг. Устанавливается над местом возможного загорания с помощью металлического держателя (рисунок 5). Срабатывает при нагреве до 100 °С (ОСП-1) и до 200 °С (ОСП-2). Защищаемый объем до 9 м3.
Огнетушители ОСП предназначены для тушения очагов пожаров твердых материалов органического происхождения, горючих жидкостей или плавящихся твердых тел, электроустановок, находящихся под напряжением до 1000 В.
Достоинства ОСП: тушение пожара без участия человека, простота монтажа, отсутствие затрат при эксплуатации, экологически чист, нетоксичен, при срабатывании не портит защищаемое оборудование, может устанавливаться в закрытых объемах с температурным режимом от минус 50 °С до плюс 50 °С.
Генераторы объемного аэрозольного тушения пожаров (СОТ) - являются наиболее современными средствами пожаротушения.
Они предназначены для тушения пожаров ЛВЖ и ГЖ (бензин и другие нефтепродукты, органические растворители и т.п.) и твердых материалов (древесина, изоляционные материалы, пластмассы и др.), а также электрооборудования (силовые и высоковольтные установки, бытовая и промышленная электроника и т.п.)

1- удлинитель; 2- кронштейн; 3-баллон с рабочим газом; 4- манометр; 5- корпус; 6- сифонная трубка; 7- насадок.
Рисунок 4 - Огнетушитель порошковый ОП -10
СОТ непригодны для тушения щелочных и щелочноземельных металлов, а также веществ, горение которых происходит без доступа воздуха.
В генераторах СОТ огнетушащим средством является твердый аэрозоль окислов щелочных и щелочноземельных металлов переходной группы, образующийся при сгорании зарядов и способный находиться в замкнутом объеме во взвешенном состоянии в течение длительного (до 40-50 минут) времени.
Выделяющаяся при горении заряда генератора аэрозольно-газовая смесь не портит защищаемое имущество и даже бумагу, а сами частицы аэрозоля можно убрать пылесосом или смыть водой.
Генераторы СОТ делятся на ручные (СОТ-5М) н стационарные (СОТ-1). Защищаемый объем генератором СОТ-5М до 40 м3 генератором СОТ-1 до 60 м3.
Для приведения в действие генератора СОТ-5М (рисунок 6) необходимо снять колпачок с узла запуска, резко дернуть за шнур и бросить в горящее помещение.
Для запуска генератора Сот-1 (рисунок 7) используются специальные узлы запуска термохимические иди электрические.
Применение термохимических узлов запуска, срабатывающих при достижении в защищаемом объеме температура 90 °С, позволяет каждому генератору, если их установлено несколько, работать полностью автономно. Генераторы, оснащенные термохимическими узлами запуска, устанавливаются под потолком помещения, в зоне наиболее вероятного загорания.
Применение электрических узлов запуска позволяет использовать генераторы СОТ-1 на объектах, имеющих пожарную сигнализацию. Установка генератора СОТ-1 в защищаемом помещении производится с помощью специального кронштейна. Рабочее положение генератора горизонтальное или вертикальное инжектором вниз. Размещение генераторов с электрическим узлом запуска производится произвольно.
Генераторы СОТ-1 работают в интервале температур от минус 55 °С до плюс 55 °С и влажности до 100 %.
При возникновении пожара и срабатывании генераторов, лица, находящиеся в этот момент в защищаемом помещении должны быстро покинуть его, плотно закрыв за собой двери и не предпринимать никаких действий по тушению пожара, кроме вызова пожарной охраны.
Генераторами СОТ рекомендуется оборудовать следующие объекты: промышленные предприятия, силовые энергетические установки, коммунально-бытовые предприятия, общественные здания, учебные заведения, научно-исследовательские институты и учреждения, банки и офисы, торговые базы и склады, зрелищные предприятия, административные и жилые здания, транспортные средства.
4 Порядок выполнения работы и составление отчета
Используя лабораторные стенды и наглядные пособия ознакомиться с устройством пенных, газовых и порошковых огнетушителей, произведя их разборку и сборку. В отчете привести эскизные рисунки и краткое описание принципа действия, технических характеристик и областей применения основных типов огнетушителей.
5 Вопросы для самоконтроля
5.1 Какие первичные средства применяют для тушения загораний?
5.2 По каким признакам классифицируются огнетушители?
5.3 Как устроены, каков принцип действия пенных огнетушителей и каковы правила приведения их в действие?
5.4 Каково устройство и правила пользования ручным углекислотным огнетушителем?
5.5 Как устроены и каковы правила приведения в действие порошкового огнетушителя?
5.6 Из чего состоит химическая и воздушно-механическая пена?
5.7 Что такое кратность, стойкость пены?
5.8 При какой температуре срабатывает огнетушитель ОСП?
5.9 Где применяется и что из себя представляет огнетушитель ОСП?
Список литературы
Кузьмин В. И. Охрана труда и противопожарная защита. - М.: Легпроыбытиздат, 1991. - 224с.
Безопасность жизнедеятельности / Под ред. С. В. Белова.- М.: Высшая школа, 1999. - 448с.
Справочная книга по охране труда в машиностроении / Под ред. О. Н. Русака.- Л.: Машиностроение, 1989. - 541 с.