Складання патенто-правових документів на "Машину для виймання анодних штирів алюмінієвого електролізера"
ВСТУП
Одним з основних показників цивілізованості суспільства в усі часи була і залишається увага, яка приділяється в ньому розвитку науки, культури і техніки. Від того наскільки значним є інтелектуальний потенціал суспільства і рівень його культурного розвитку, залежить успіх розв’язання посталих перед ним економічних проблем.
Технологічно провідні країни світу останніми роками в основу своєї економічної ( а в ряді випадків і політичної) стратегії на перші позиції поставили науку та її результати як основу основ базису високих технологій.
Розвиток інтелектуальної діяльності та її результатів – інтелектуальної власності в цілому світі засвідчив їх, безперечно, чи не найвагоміше значення для соціально-економічного зростання будь-якої країни, в тому числі і для України. Проте пріоритетне значення цих факторів має бути визнано не на словах, а на ділі.
Пріоритетність інтелектуальної діяльності та її результатів – інтелектуальної власності має бути офіційно визнаною на вищому державному рівні з відповідним матеріально-фінансовим забезпеченням. Інтелектуальна діяльність за сучасних умов є суб’єктивно необхідним процесом, і будь-яка держава, суспільство обминути його не зможе. Світовий досвід показує, що там, де вищий рівень інтелектуальної діяльності, там більш успішно розвивається виробництво та інші види соціально-економічної діяльності.
Високий рівень інтелектуальної діяльності – це суверенітет держави, її політична, економічна, територіальна та будь-яка інша незалежність. Це авторитет держави в міжнародних відносинах, її престиж. Нарешті, високий рівень інтелектуальної діяльності – це високий рівень добробуту народу, заради чого кажучи, здійснюється ця діяльність.
Тема дипломної роботи є актуальною, як в галузі промисловості щодо обладнання для виробництва первинного алюмінію, так і значенням патентних досліджень в визначенні охороноздатності об’єктів промислової власності в процесі проведення дослідно – конструкторських робіт. Правова охорона технічних рішень, а також художньо – конструкторських рішень, що використані в розроблених ОГД сприяє підвищеню їх конкурентоспроможності, а також відкриває можливості реалізації виключних прав шляхом ліцензування, що дуже важливо в умовах формування в Україні ринку ІВ.
Метою дипломної роботи є розробка патентно-правових документів, які пов’язані з виявленням охороноздатних об’єктів права ІВ, врегулюванням відносин суб’єктів права щодо майнових прав на службовий твір, а також документів щодо набуття прав, а саме: Звіт про патентні дослідження, заявка на промисловий зразок, заявка на корисну модель, повідомлення авторами роботодавця про створення корисної моделі, договор про передачу права на одержання патенту на корисну модель, договор між співавторами про вклад у створення та розподіл винагороди, що використаний в об’єкті господарської діяльності – “Машина для виймання анодних штирів алюмінієвого електролізера”
1. ХАРАКТЕРИСТИКА ОБ’ЄКТА ГОСПОДАРСЬКОЇ ДІЯЛЬНОСТІ "МАШИНА ДЛЯ ВИЙМАННЯ АНОДНИХ ШТИРІВ АЛЮМІНІЄВОГО ЕЛЕКТРОЛІЗЕРА" ЯК ОБ’ЄКТА ДОСЛІДЖЕННЯ”
1.1 Призначення машини
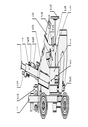
Машина для виймання анодних штирів алюмінієвого електролізера призначена для витягу штирів з анода алюмінієвих электролізерів з бічним підведенням струму.
Машина являє собою пневмогідравличну машину ненаголошеної дії (рис. 1).
Технічні дані:
Робочий тиск, мПа(кГс/див2) 0,4-0,63 (4-6,3)
Витрата повітря, м3/хв 5
Тиск масла в робітнику
циліндрі, мПа(кГс/див2), не менш 15 (150)
Діаметр робочого циліндра, мм 160
Хід упору робочого органа, мм 2742
Зусилля що розвиває
на упорі, кН (кГс), не менш 300 (30000)
Маса машини, кг 1400
Габаритні розміри, мм:
довжина 2410
ширина 650
висота 1635
Швидкість пересування, км/год не більше 5
Припустимий кут повороту робочого органа
у горизонтальній площині від поздовжньої
осі, градус 120
Склад машини
Машина складається з наступних складових частин: самохідного шасі, поворотної стовпчика, пневмогідроприводу, органів керування й сидіння.
1.1.1 Пристрій і робота машини і її складових частин
1.1.1.1 Пристрій і робота машини
По конструктивному компонуванню (рис. 1) машина являє собою чотиреколесну самохідний візок - шасі, на рамі 21 якої встановлені передній - керований міст 20, задній - ведучий міст 18 і поворотний стовпчик 10. На колонку у свою чергу змонтований робочий орган 5, сидіння 12, пневмоциліндри підйому й подачі робочого органа, пневмодвигуна повороту стовпчика, органи керування.
Машина працює за рахунок енергії стисненого повітря, преутвореної пневмопривідом у поступальний рух машини й технологічні рухи поворотного стовпчика, робочого органа, витяг штирів з анода здійснюється ізвлікачем.

Рисунок 1.1 – “Конструктивне компонування машини для виймання анодних штирів алюмінієвого електролізера”
1-автоматичне захоплення; 2-пнемоцилиндр автоматичного захоплення; 3-робочий орган; 4-педальний золотник; 5-пневмоцилиндр підйому напрямних; 6-кран керування автоматичним захопленням; 7-кермове колесо; 8-кран керування роботою ізвлекателя; 9-золотник подачі робочого органа; 10-поворотний стовпчик; 11-стійка; 12-сидіння; 13-черв'ячне колесо; 14-теплообмінник; 15-керований міст; 16-провідний міст; 17-пневмодвигатель; 18-рама; 19-напрямна; 20-золотник підйому напрямної; 21-маслюка.
Схема пневмогідросистеми наведена на рис. 2.
Пневмогідросистема дозволяє здійснювати наступні операції:
-рух машини вперед, назад;
-повороти стовпчика вправо, уліво;
-підняття, опускання робочого органа;
-робота ізвлікачем.
Стиснене повітря з магістралі надходить у теплообмінник, з якого розподіляється в агрегати пневмогідропривода. При необхідності руху вперед або назад натискається права або ліва педаль лівого золотника ЗР1. При русі педалі спочатку відкривається випускний клапан золотника, що з'єднує магістраль, що відводить, пневмодвигуна Д1 з атмосферою, потім відкривається впускний клапан золотника з'єднуючу магістраль, що підводить, пневмодвигуна Д1 з теплообмінником.
При необхідності повороту стовпчика вправо або вліво натискається права або ліва педаль правого золотника ЗР2 при цьому стиснене повітря підводить до однієї з магістралей пневмодвигуна Д2. Плавність повороту стовпчика досягається за допомогою регулювання дроселя ДР3.
Для опускання або підняття напрямної впливають на рукоятку золотника З1, при цьому стиснене повітря підводить до верхньої або нижньої порожнини пневмоциліндра Ц1.
Для висування вперед або назад робітника органа впливають на рукоятку золотника З2, при цьому стиснене повітря підводить у штокову або поршневу порожнину пневмоциліндра подачі робочого органа Ц2. Плавність висування робочого органа досягається за допомогою регулювання дроселя ДР1 і дроселя зі зворотним клапаном ДР2. Для захоплення штиря впливають на рукоятку крана РК2, при цьому стиснене повітря підводить у штокову або поршневу порожнини пневмоциліндра Ц3.
Масло для змащення золотників і пневмоциліндрів розпорошується з масельнички М.
Для витягу штиря впливають на рукоятку крана РК1, причому середнє, положення рукоятки відповідає неодруженому (прискореному) ходу упору, положення „на себе" відповідає робочому ходу упору, а положення „от себе" відповідає зворотному ходу упору.

Рисунок 1.2 – “Схема пневмогідросистеми”
Пристрій і робота складових частин
Рама шасі машини являє собою збірну конструкцію із прокатних профілів і є підставою для монтажу всіх механізмів машини.
У задній частині рами встановлений керований міст 15 (рис. 1). Він складається з поперечної балки, із установленими в торцях поворотними кулаками з колісьми. Поворотні кулаки за допомогою важільної системи й ланцюгової передачі з'єднані з валом кермового колосся. Поворот колеса щодо поздовжньої осі машини становить 3ПРО.
У передній частині рами встановлений провідний міст 16. Він являє собою диференціал із черв'ячною передачею. Диференціал забезпечує перерозподіл крутного моменту по колесах, що виключає їхнє прослизання при повороті машини. Це значно знижує зношування гумового бандажа. Корпус диференціала провідного мосту з'єднаний з півосями, на яких за допомогою підшипників установлені колеса. Півосі, своїми постелями центрують провідний міст щодо вала маршового пневмодвигуна 17. Для компенсації перекосів і забезпечення демпфірування ударних навантажень, вал пневмодвигуна й вхідний вал провідного мосту з'єднані пружною муфтою.
У центральній частині шасі розміщена стійка 11, на яку за допомогою двох конічних підшипників монтуються поворотний стовпчик 10. У нижній частині стійки жорстко закріплене черв'ячне колесо 13 приводу обертання стовпчика.
Поворотний стовпчик складається зі звареної металоконструкції. Металоконструкція являє собою набір зварених елементів і несе на собі основне статичне й динамічне навантаження, виконана вона „двохярусної", тобто має два полики, у зв'язку із цим, робоче місце анодчика розміщається на верхньому полику, що сприяє підвищенню оглядовості робочого органа й зони обробки электролізера.
У передній частині металоконструкції розміщені місця кріплення циліндра підйому 5 і напрямної 19, а в задній частині встановлений фланець кріплення пневмодвигуна повороту.
Напрямна, за допомогою тяг і циліндра підйому має можливість обертання щодо шарнірів. Це дає можливість змінювати положення робочого органа 3 у вертикальній площині залежно від висоти розташування штиря, що витягає. У напрямної встановлений робочий орган, що складається з каретки й ізвлікачем. Кріплення ізвлікачя до каретки здійснюється за допомогою горизонтального шарніра й групи пружин, установлених вертикально. Пружини компенсують можливий перекіс ізвлекателя, що виникає внаслідок погрішності установки штиря в анод. Крім цього вони сприймають вертикальну складову зусилля, що виникає при витягу. Тим самим значно розвантажують напрямну й металоконструкцію від перевантажень.
Ізвлікач складається з корпуса, автоматичного захоплення, упору й пневмогидроциліндру. Автоматичне захоплення 1 кліщового типу приводиться в дію, через систему важелів від пневмоциліндру 2.
У задній частині поворотного стовпчика, під сидінням, розміщена насосна станція. Вона складається з гідронасоса й гідробака.
У якості пневмодвигуна використається пневмомотор П12-12. Такий же пневмомотор використаний і як маршовий двигун, що розміщений на шасі 18.
Сидіння 12 анодчика перебуває над пневмодвигуном.
Пневмогидропривід машини складається із пневматичної й гідравлічної систем, взаємозалежних між собою. Пневмосистема управляє рухом машини, обертанням поворотного стовпчика, підйомом напрямної, подачею робочого органа, роботою автоматичного захоплення й забезпечує функціонування гідросистеми. Гідросистема є силовий, тому що працює на високих тисках 200-230 кГс/див2. Це тиск і створює зусилля на захопленні ізвлекателя, необхідне для витягу штиря.
Пневмогидропривід містить два пневмомотора, педальний золотник керування рухом машини, педальний золотник обертання поворотного стовпчика, кран керування роботою ізвлекателя, кран керування автоматичним захопленням, гідробак, золотник подачі робочого органа, золотник підйому напрямних, пневмоциліндр автоматичного захоплення, пневмоциліндр підйому напрямних, пневмоциліндр робітника органа, гідронасос, масельничка, теплообмінник,
Гідронасос і пневмоциліндр подачі робочого органа розміщені в нижньому „ярусі" металоконструкції поворотного стовпчика. Педальний золотник пересування машини встановлений з лівої сторони на верхньому полику, а педальний золотник обертання стовпчика перебуває із правої сторони на верхньому полику (по ходу руху машини). У задній частині поворотного стовпчика, під нижнім поликом перебуває теплообмінник.
На правій щоці металоконструкції стовпчика розміщений кран керування ізвлекателя, а на лівій щоці - золотник подачі робочого органа. На пневмоциліндрі підйому робочого органа розташований золотник підйому й кран включення автоматичного захоплення. По осі обертання стовпчика встановлені вал і кермове колеса.
Гідробак призначен для забезпечення прискорення хід упор ізвлекателя (вперед, назад), створен підпір в усмоктувальній магістралі гідронасос і для зберігання масла. Гідробак являє собою циліндр із поршнем, що розділяє внутрішній простір циліндра на дві порожнини: повітряну й масляну.
2. ВИДИ РОБІТ ПРИ ПАТЕНТНИХ ДОСЛІДЖЕННЯХ ОБ’ЄКТУ ГОСПОДАРСЬКОЇ ДІЯЛЬНОСТІ НА СТАДІЇ ЖИТТЄВОГО ЦИКЛУ "РОЗРОБЛЕННЯ ОГД"
Відповідно до стандарту ДСТУ 3575—97 суб'єкт господарської діяльності виконує патентні дослідження протягом життєвого циклу ОГД.
Життєвий цикл ОГД — це сукупність взаємопов'язаних процесів його створення, використання та послідовного удосконалення.
Стандарт ДСТУ 3278—95 «Система розроблення та поставлення продукції на виробництво» регламентує стадії, з яких складається життєвий цикл:
— дослідження та обґрунтування розробки;
— розроблення продукції;
— виробництво продукції;
— експлуатація (споживання) або застосування продукції.
Кожна стадія життєвого циклу являє собою творчий або виробничий процес, який виконується суб'єктом господарської діяльності та, природно, закінчується створенням відповідної продукції, що має корисні властивості і призначена для використання споживачами.
ОГД, до якого належать продукт (пристрій, речовина, штам мікроорганізму, культура клітин, рослин і тварин), спосіб, позначення товарів і послуг, є частиною продукції — матеріального результату трудової діяльності або виробничих процесів, що має також корисні властивості і призначений для використання споживачем.
Процеси створення, використання та послідовного удосконалення на кожній стадії життєвого циклу ОГД передбачають застосування заходів, націлених на забезпечення його конкурентоспроможності, тобто його здатності бути проданим на конкретному ринку в певні терміни за наявності аналогічних товарів-конкурентів. Ця найважливіша комплексна ринкова характеристика властива як ринку зовнішньому, так і внутрішньому Тому суб'єкту господарської діяльності необхідно провести маркетингові дослідження, тобто виконати комплекс дій, спрямованих на систематичне збирання, відображення та аналізування даних з проблем, пов'язаних з маркетингом ОГД.
Стадія «Розроблення ОГД» полягає у зміні стану ОГД — від формулювання вимог технічного завдання щодо виконання НДР, ДКР (ДТР) на створення (модернізацію) ОГД до втілення їх у нових (модернізованих) дослідних зразках, матеріалах, послугах, тобто до їх матеріалізації. На цій стадії суб'єктом господарської діяльності виконуються наступні види робіт: НДР, ДКР (ДТР). Необхідно прийняти до уваги, що коли на попередній стадії приймається рішення про купівлю ліцензії щодо ОГД в цілому, то розроблення ОГД не здійснюється.
ДКР — це сукупність робіт над створенням конструкторської та технологічної документації, виготовленням та випробуванням дослідного або головного зразка ОГД.
ДТР — це сукупність робіт над створенням нових речовин, матеріалів та (або) технологічних процесів.
На етапах, що входять до складу ДКР (ескізний проект, технічний проект, розробка робочої конструкторської документації для виготовлення дослідного зразка, виготовлення дослідного зразка і проведення попередніх випробувань, проведення державних випробувань дослідного зразка, коректування робочої конструкторської документації та доопрацювання дослідного зразка), здійснюється втілення задуму в реальний ОГД. При цьому техніко-економічні, екологічні та естетичні показники створюваного ОГД повинні забезпечити його конкурентоспроможність.
Маркетингові дослідження, які продовжує проводити суб'єкт господарської діяльності в процесі виконання НДР, ДКР (ДТР) із врахуванням результатів, одержаних на попередній стадії, включають: визначення ключових чинників успіху та позиціювання ОГД на ринку; проведення дослідження ринків збуту; формування бюджету маркетингу; визначення кон'юнктури ринку та дослідження попиту; формування та реалізацію тактики маркетингу; визначення попиту та портфеля замовлень; рекламу тощо.
Саме в процесі виконання НДР з'являються об'єкти промислової власності, стосовно яких необхідно вирішити питання правової охорони.
При виконанні ДКР (ДТР) ОГД вже достатньо деталізований, тому і об'єкти промислової власності дуже конкретні. Вже, як правило, з'являються промислові зразки, знаки для товарів та послуг, програми для ЕОМ та ін.
Слід зауважити, що ОГД, розроблені на цій стадії, не повинні порушувати права власників чинних охоронних документів та заявників на об'єкти промислової власності.
Тому на цій стадії життєвого циклу ОГД з урахуванням попередніх результатів продовжується проведення патентних досліджень у складі таких робіт: формування замовлення виконавцям, проектування, вибору напрямів дослідження в разі створення нових і модернізації існуючих ОГД, науково-технічного співробітництва, придбання обладнання та ліцензій, продажу, експонування на виставках, ярмарках, продажу ліцензій, правової охорони об'єктів промислової власності. Виконання патентних досліджень здійснюють в такому обсязі: визначення патентоспроможності ОГД; визначення ситуації щодо використання прав на об'єкти промислової власності; виявлення порушення прав власників чинних охоронних документів та заявників на об'єкти промислової власності (далі — виявлення порушення прав).
За результатами патентних досліджень складається звіт, матеріали якого використовуються під час розроблення тематичних карток, заявок на розроблення ОГД, вихідних вимог замовника, звітів про проведення НДР, ДКР (ДТР), технічних умов, стандартів, карт технічного рівня та якості, заявок на видачу охоронних документів на об'єкти промислової власності, патентних формулярів.
Остаточним результатом цієї стадії є: науково-технічні звіти про НДР, ДКР (ДТР); технічна документація, до якої належать конструкторська, технологічна, програмна документація тощо; дослідні зразки; нові речовини; матеріали; технологічні процеси у формі охоронних документів, ноу-хау та ліцензійних договорів.
2.1 Виявлення об’єктів промислової власності в об’єкті господарської діяльності “Машина для виймання анодних штирів алюмінієвого електролізера”
Патентоспроможність — це властивість, якої набуває ОГД, його складові частини в разі відповідності умовам надання правової охорони винаходу, корисній моделі, промисловому зразку та іншим об'єктам промислової власності згідно з чинним законодавством держави
2.1.1 Визначення патентоспроможності корисної моделі
Корисна модель відповідає умовам патентоспроможності, якщо вона є новою і промислово придатною.
Корисна модель визнається новою, якщо вони не є частиною рівня техніки. Об'єкти, що є частиною рівня техніки, для визначення новизни винаходу та конструкції для визначення новизни корисної моделі можуть враховуватись лише окремо.
Рівень техніки включає всі відомості, які стали загальнодоступними у світі до дати подання заявки до патентного відомства або, якщо заявлено пріоритет, до дати її пріоритету.
Правила розгляду заявки на корисну модель визначають коло джерел інформації, які містять загальнодоступні відомості: опубліковані описи до охоронних документів, викладені заявки, вітчизняні друковані видання і друковані видання СРСР, депоновані рукописи, статті, огляди, монографії тощо, звіти про науково-дослідні роботи, пояснювальні записки до дослідно-конструкторських робіт та інша конструкторська, технологічна і проектна документація, яка є в органах науково-технічної інформації, нормативно-технічна документація, матеріали дисертацій, виданих на правах рукопису тощо.
Згідно з ДСТУ 3575—97 вся відібрана документація, що . стосується ОГД в цілому або його складових частин, систематизується у такому порядку.
Патентну документацію, відібрану для подальшого аналізу, наводять у формі Г.1.1.
У графі 1 форми Г.1.1 вказують ОГД та його складові частини.
У графі 2 — наводять такі бібліографічні дані відібраного охоронного документа: держава видачі, вид документа (А.с. — авторське свідоцтво, А.з. — акцептована заявка, В.з. — викладена заявка, 3. — заявка, Пат. — патент, С. — свідоцтво), номер документа, класифікаційний індекс (МПК, НПК), відомості про заявника та власника охоронного документа (найменування, держава заявника та власника), номер заявки, дата подання заявки, дата публікації, відомості щодо конвенційного пріоритету (дата та номер пріоритету, держава), назва об'єкта промислової власності.
У графі 3 подаються відомості щодо дії охоронних документів на момент проведення патентних досліджень (діє/не діє із зазначенням джерела інформації про припинення дії охоронного документа).
Форма Г.1.1. Патентна документація, відібрана для подальшого аналізу
До даної форми доцільно включити графу 4, яку можна назвати «Примітка» і наводити в ній коротку суть відібраного технічного рішення.
Іншу науково-технічну документацію, відібрану для подальшого аналізу, наводять у формі Г.1.2.
У графі 1 форми Г.1.2 подають ОГД та його складові частини.
У графі 2 — наводиться назва відібраного джерела інформації. Назви зарубіжних джерел інформації подаються мовою оригіналу. Якщо попередні відомості про ОГД, його складові частини одержані з джерел сигнальної інформації, наприклад реферативного журналу РЖ ВІНІТІ, то в цій графі зазначаються не тільки вихідні бібліографічні дані та номер рефератeу, а й основний його зміст; якщо знайдено промисловий каталог чи фірмовий проспект — подається його назва мовою оригіналу.
У графі 3 подають такі бібліографічні дані: автор, вихідні бібліографічні дані першоджерела, в якому документ опубліковано, місце, орган та рік видання, номер, сторінки. Стосовно фірмової інформації подають назву фірми мовою оригіналу її національну належність та вихідні бібліографічні дані джерела інформації. Далі наведено приклад заповнення форми Г.1.2.
Форма Г.1.3 заповнюється в тих випадках, коли в процесі пошуку виявлено посилання на документацію, яка необхідна для аналізу, але з тих чи інших причин вона не була проаналізована.
У графі 1 вказують бібліографічні дані джерела посилання, в якому були виявлені відомості про документ, що становить інтерес.
У графі 2 вказують назву документа, на який посилаються, та його бібліографічні дані. Нижче наведено приклад заповнення форми Г.1.3.
Форма Г.1.3. Документація, що відома з джерел посилання, але не виявлена в процесі пошуку
Характеристики технічної досконалості створюваних ОГД базуються на зіставлені значень техніко-економічних показників. Зокрема, на стадії життєвого циклу «Дослідження та обґрунтування розробки», необхідно визначити ті техніко-економічні показники, які повинні забезпечити в майбутньому створення ОГД з покращеними показниками, що становлять інтерес для споживачів; на стадії життєвого циклу «Розроблення ОГД» необхідно визначити його місце у представленому рівні техніки (форми Г.1.1—Г.1.3 основної частини звіту про патентні дослідження), виявити техніко-економічні показники об'єктів аналогічного призначення (об'єктів-аналогів) та порівняти їх з техніко-економічними показниками ОГД. Для цього визначають номенклатуру показників, які необхідні та достатні для порівняння; формують групу об'єктів-аналогів та виявляють значення їх показників; проводять зіставлення розроблюваного ОГД з об'єктами-аналогами; складають висновки за результатами оцінки.
Номенклатура показників повинна забезпечити можливість зіставлення різних об'єктів аналогічного призначення, тому приймається однаковою для всіх об'єктів-аналогів та ОГД, що створюється. Номенклатура показників включає класифікаційні та оціночні показники: класифікаційні — характеризують призначення та галузь застосування ОГД і об'єктів аналогічного призначення, а оціночні — відзначають їх функціональні, ресурсозберігаючі, природоохоронні, ергономічні та естетичні якості. Всі техніко-економічні показники об'єктів-аналогів необхідно привести до єдиної системи одиниць вимірювання.
Відомості, що характеризують техніко-економічні показники ОГД та об'єктів аналогічного призначення, заносяться у форму Г.1.4.
У графі 1 форми Г.1.4 вказують найменування та одиниці виміру основних техніко-економічних показників, за якими проводять порівняння.
У графах 2—7 подають техніко-економічні показники: об'єкта за стандартом або технічними умовами; об'єктів-аналогів. Якщо такі об'єкти під час пошуку не виявлені, у графі 2 зазначають — «Не виявлено». Як правило, об'єкти-аналоги мають бути промислове освоєними, а як виняток, ними можуть бути технічні рішення за охоронними документами; ОГД та перспективного зразка. Кількість граф визначається кількістю об'єктів-аналогів, а в кожній графі подаються такі відомості: держава, фірма або організація, модель, рік освоєння.
Удосконалення навантажувача повинне передбачати заходи, які дадуть змогу досягти значень техніко-економічних показників, що не нижчі, ніж показники перспективного зразка.
Як було наведено вище, саме на стадії життєвого циклу «Розроблення ОГД» з'являються об'єкти промислової власності і суб'єкт господарської діяльності має вирішувати питання щодо їх правової охорони.
Для одержання правової охорони необхідно здійснити аналіз розроблюваного ОГД на відповідність умовам патентоспроможності. Визначення патентоспроможності полягає у визначенні її критеріїв, тобто новизни та промислової придатності корисної моделіу який буде створено.
Аналіз новизни здійснюють шляхом порівняння сукупності ознак корисної моделі, що передбачається, з сукупністю ознак виявленого найбільш близького аналога (прототипу).
Корисна модель є промислове придатним, якщо його може бути використано в промисловості, сільському господарстві, медицині чи іншій сфері діяльності.
Аналіз можливості використання корисної моделі здійснюється на основі відомостей про його призначення, відомостей про засоби і методи, за допомогою яких можливе здійснення корисної моделі, а також відомостей про те, що реалізація вказаного призначення дійсно можлива в разі здійснення корисної моделі.
У графі 1 форми Г.1.5 подається назва ОГД або тих його складових частин, на які подано заявку на видачу патенту на корисну модель, а також тих його складових частин, які вже мають правову охорону.
У графі 2 вказують сукупність ознак винаходу який створено в процесі розроблення ОГД або його складових частин.
У графі 3 подають бібліографічні дані прототипу. У графі 4 вказують сукупність ознак прототипу.
У графі 5 вказують очікуваний технічний результат. При цьому під технічним результатом, якого можна досягти при здійсненні винаходу, розуміють виявлення нових технічних властивостей об'єкта винаходу, що обумовлені введенням до нього нових суттєвих ознак.
У графі б наводять відомості про можливість використання корисної моделі в промисловості або інший сфері діяльності, тобто промислову придатність.
У графі 7 подаються відомості стосовно об'єкта промислової власності, на який подано заявку або одержано патент. А якщо заявці ще не присвоєно номер, то вказуються вихідні дані матеріалів заявки.
Результати аналізу новизни, винахідницького рівня та промислової придатності машини для виймання анодних штирів алюмінієвого електролізера наведені у формі Г.1.5.
2.1.2 Визначення патентоспроможності промислового зразка
На стадії «Розроблення ОГД» можливе створення також художньо-конструкторських рішень, які стосуються зовнішнього вигляду ОГД, що розроблюється. Вони можуть одержати правову охорону як промислові зразки.
Для того, щоб одержати патент на промисловий зразок. треба провести дослідження зовнішнього вигляду ОГД на відповідність його умовам патентоспроможності. Промисловий зразок відповідає умовам патентоспроможності, якщо він є новим.
Промисловий зразок визнається новим, якщо сукупність його суттєвих ознак не стала загальнодоступною у світі до дати подання заявки до ДП “Укрпетенту” або, якщо заявлено пріоритет, до дати її пріоритету.
Необхідно пам'ятати, що промисловому зразку надається правова охорона, якщо він не суперечить суспільним інтересам принципам гуманності і моралі. Не можуть одержати правову охорону об'єкти архітектури (крім малих архітектурних форм) промислові, гідротехнічні та інші стаціонарні споруди друкована продукція як така, об'єкти нестійкої форми з рідких, газоподібних, сипких або подібних їм речовин тощо.
Об'єктом промислового зразка може бути форма, малюнок чи розфарбування або їх поєднання, які визначають зовнішній вигляд промислового виробу і призначені для задоволення естетичних та ергономічних потреб.
Зовнішній вигляд виробу характеризується сукупністю ознак, які зумовлюють зоровий образ, тобто суттєвими ознаками. Суттєві ознаки промислового зразка мають бути пов'язані з художньою інформаційністю виробу, цілісністю композиції, раціональністю його форми через естетичні та/або ергономічні особливості.
Для того, щоб упевнитись у новизні зовнішнього вигляду ОГД для одержання його правової охорони, проводять порівняння сукупності суттєвих ознак, які характеризують зовнішній вигляд ОГД, з відомими аналогічними рішеннями того самого призначення. Порівняння проводять шляхом співставлення кожної суттєвої ознаки зовнішнього вигляду ОГД з відповідною ознакою кожного відомого аналога.
Промисловий зразок не є новим, якщо всі суттєві ознаки збігаються з ознаками одного з аналогів. Порівняння зовнішнього вигляду ОГД з аналогами стосовно несуттєвих ознак не проводяться.
Якщо під час співставлення ознак зовнішнього вигляду ОГД з відомими аналогами не буде знайдено аналогів, ознаки яких збігаються з ознаками зовнішнього вигляду ОГД, що досліджується, можна дійти висновку, що розроблений промисловий зразок є новим.
Оцінювання новизни здійснюється за такими суттєвими ознаками:
— наявністю нового елемента;
— геометричною новизною форми;
— новим композиційним рішенням;
— новим взаємним розташуванням елементів;
— новим конструктивним рішенням;
— новим пластичним рішенням;
— новим колористичним рішенням;
— новим декоративним оформленням (новим декором);
— новими матеріалами.
Таке оцінювання здійснюється як за естетичними ознаками, так і за ергономічними. Оцінюють як зовнішній вигляд ОГД в цілому, так і окремі елементи ОГД.
При визначенні відповідності розробленого промислового зразка ергономічним вимогам необхідно приймати до уваги такі основні показники:
— зручність керування виробом;
— зручність обслуговування (ремонт, наладка) виробу;
— безпечні умови використання виробу.
Ергономічні показники можуть бути виражені якісними і кількісними характеристиками.
Результати аналізу машини для виймання анодних штирів алюмінієвого електролізера як промислового зразка також наведені у табл.. 1.5.
2.2 Звіт про патентні дослідження
ЗАТВЕРДЖУЮ
_______________
«__»___________2005 р.
ЗВІТ
про патентні дослідження
09.07.2005 р. № 19/2005
«Машина для виймання анодних штирів алюмінієвого електролізера»
Етап: Розроблення ОГД
Виконавець
«__»_____________2005 р.
Харків 2006
ЗМІСТ
СПИСОК ВИКОНАВЦІВ
Загальні дані про машину для виймання анодних штирів алюмінієвого електролізера
Г.1 Визначення патентоспроможності ОГД (новизни, винахідницького рівня та промислової придатності).
Форма Г.1.1 – Патентна документація, відібрана для подальшого аналізу
Форма Г.1.2 – Інша науково-технічна документація, відібрана для подальшого аналізу
Форма Г.1.3 – Документація, що відома з джерел посилання, але не виявлена в процесі пошуку
Форма Г.1.4 – Техніко-економічні показники машини для виймання анодних штирів алюмінієвого електролізера та об’єктів аналогічного призначення
Форма Г.1.5 – Аналіз новизни, винахідницького рівня та промислової придатності ОГД
Висновки до розділу Г.1
ДОДАТОК А. ЗАВДАННЯ
ДОДАТОК Б. РЕГЛАМЕНТ ПОШУКУ
ДОДАТОК В. ДОВІДКА ПРО ПОШУК
СПИСОК ВИКОНАВЦІВ
Черняєва О.Л.
Загальні данні про машину для виймання анодних штирів алюмінієвого електролізера
Підприємство-розробник – КП Харківське конструкторське бюро з машинобудування імені О.О. Морозова (КП ХКБМ)
Підприємство-виробник – КП Харківське конструкторське бюро з машинобудування імені О.О. Морозова (КП ХКБМ)
Початок розробки – 21.07.2004
Дата постановки на виробництво – 23.11.2005
Призначення, галузь застосування, Стислий опис конструкції
Винахід належить до області електрометалургії, зокрема до устроїв для виймання анодних штирів з електролізних ванн із боковим підводом струму.
Машина складається із самохідного шасі, поворотного столу, робочого органу на шарнірній підвісці, механізмів повороту і подання, механізму підйому на – 30...+15º і захвату.
Основними вимогами, що запропоновані до поданих машин є швидкодія, яка пов´язана з оперативним настроюванням робочого органу на захват штирів та їх швидке виймання, щонайменші габарити та безпека у роботі.
Машина працює за рахунок енергії стисненого повітря, преутвореної пневмоприводом у поступальний рух машини й технологічні рухи поворотного стовпчика, робочого органа, витяг штирів з анода здійснюється ізвлекателем.
Пневмогідросистема дозволяє здійснювати наступні операції:
-рух машини вперед, назад;
-повороти стовпчика вправо, уліво;
-підняття, опускання робочого органа;
-робота ізвлекателем
Г. 1.1 Патентна документація, відібрана для подальшого аналізу
|
ОХД, его составные части |
Документи на объекты промышленной собственности |
||
|
Библиографические данные |
Відомості про їх дію |
||
|
1 |
2 |
3 |
|
|
Машина для виймання анодних штирів алюмінієвого електролізера |
СРСР А.С.№ 981456 МПК С25С3/10 Заявник: Дальневосточный филиал ВНИИПКИ подъемно- транспортного машиностроения погрузо-разгрузочного и складского оборудования и контейнеров Заявка № 3256826/22-02 від 04.01.1981 Публ. 15.12.1982 Машина для перестановки анодов в алюминиевых электролизерах с обоженными анодами |
Не діє |
|
|
СРСР А.С.№ 854275 МПК С25С3/10 Заявник: Иностранная фирма «Алюминиюм Пэшине» Фр. Заявка № 2475609/22-02 від 03.05.1977 Публ. 07.08.1981 Устройство для очистки огарков обоженных анодов алюминиевых электролизеров |
Не діє |
||
|
СРСР А.С.№ 855081 МПК С25С3/10 Заявник: Д.П. Александров, А.Ф. Норин, Б.А. Углев, А.Л. Медведев и др Заявка № 2838865/22-02 від 31.10.1979 Газогорелочное устройство для сжигания анодных газов алюминиевого электролизера |
Не діє |
||
|
СРСР А.С.№ 876793 МПК С25С3/10 Заявник: Всесоюзный НИПИ алюминиевой, магниевой и электродной промышленности Заявка № 2890407/22-02 від 10.03.1980 Публ. 30.10.1981 Электролизер с обоженными анодами |
Не діє |
||
|
|
СРСР А.С.№ 885359 МПК С25С3/10 Заявник: ВАМИ Заявка № 2891673/22-02 від 11.03.1980 Публ. 30.11.1981 Устройство для захвата анододержателя |
Не діє |
|
|
СРСР А.С.№ 908960 МПК С25С3/10 Заявник: Новокузнецкий алюминиевый завод Заявка № 2785292/22-02 від 19.06.1979 Публ. 28.02.1982 Катодное устройство алюминиевого электролизера |
Не діє |
||
|
СРСР А.С.№ 935541 МПК С25С3/10 Заявник: Днепропетровский завод металлургического оборудования Заявка № 2928816/22-02 від 23.05.1980 Публ. 15.06.1982 Машина для обслуживания алюминиевых электролизеров |
Не діє |
||
|
СРСР А.С.№ 891807 МПК С25С3/10 Заявник: Мичков А.Ф. Заявка № 2855298/22-02 від 21.12.1979 Публ. 23.12.1981 Катодное устройство алюминиевого электролизера |
Не діє |
||
|
СРСР А.С.№ 996521 МПК С25С3/10 Заявник: Иркутский алюминиевый завод Заявка № 3321078/22-02 від 23.07.1981 Публ. 15.02.1983 Устройство для формирования анода алюминиевого электролизера |
Не діє |
Продовження Г 1.1
|
1 |
2 |
3 |
|
СРСР А.С.№ 1148905 МПК С25С3/10 Заявник: Красноярский КПИ и Дальневосточный филиал ВНИИПКИ подъемно-транспортного машиностр. Заявка № 3676895/22-02 від 20.12.1983 Публ. 07.04.1985 Мостовой кран для обслуживания алюминиевых электролизеров |
Не діє |
|
|
СРСР А.С.№ 1225879 МПК С25С3/10 Заявник: ВНИПИ алюминиевой, магниевой и электродной промышленности Заявка № 3817228/22-02 від 20.11.1984 Публ. 23.04.1986 Устройство для обслуживания алюминиевого электролизера с обоженными анодами |
Не діє |
|
|
СРСР А.С.№ 1341247 МПК С25С3/10 Заявник: ВНИПИ алюминиевой, магниевой и электродной промышленности Заявка № 4053742/22-02 від 09.04.1986 Публ. 30.09.1987 Устройство для обслуживания алюминиевого электролизера |
Не діє |
|
|
СРСР А.С.№ 1623569 МПК С25С3/10 Заявник: Темко КАР С.П.А. (IT) Заявка № 4355938/02 від 27.06.1988 Публ. 09.07.1987 Устройство для механизированной замены анодов в электролизере для получения алюминия |
Не діє |
Продовження Г 1.1
|
1 |
2 |
3 |
|
СРСР А.С. №33578 МПК С25С3/08 Заявник: Иркутский алюминиевый завод Заявка №1438602 от 01.01.1972 Публ. 01.01.1972 Катодный кожух алюминиевого электролизера |
Не діє |
|
|
СРСР А.С. №324294 МПК 6С25С3/10, С25С3/12 Заявник: Всесоюзный научно-исследовательский, проектный институт алюминиевой, магниевой и электродной промышленности Заявка №1438603 от 01.01.1972 Публ. 01.01.1972 Захват для перестановки анодных штырей алюминиевых электролизеров с верхнем подводом тока |
Не діє |
|
|
СРСР А.С. №329242 МПК С25С3/10 Заявник: Всесоюзный научно-исследовательский, проектный институт алюминиевой, магниевой и электродной промышленности Заявка №1409927 от 01.01.1972 Публ. 01.01.1972 Установка для укладки анодных штырей |
Не діє |
|
|
СРСР А.С. №383757 МПК С25С3/10 Заявник: Ингул Днепропетровский ордена Ленина алюминиевый завод С.М. Кирова Заявка №1358800 от 01.01.1973 Публ. 01.01.1973 Устройство для замены обоженных анодов алюминиевого электролизера |
Не діє |
Продовження Г 1.1
|
1 |
2 |
3 |
|
СРСР А.С. №390186 МПК С25С3/10 Заявник: ВНИПИ алюминиевой, магниевой и электродной промышленности Заявка №1715186 от 01.01.1973 Публ. 01.01.1973 Устройство для затяжки и освобождения контактных зажимов |
Не діє |
|
|
СРСР А.С. №396423 МПК С25С3/10 Заявник: В.П. Антипенков, Л.Т. Тороховский, Б.В. Рабинович Заявка №1660944 от 01.01.1973 Публ. 01.01.1973 Устройство для отключения алюминиевого электролизера от регулирования |
Не діє |
|
|
СРСР А.С. №326248 МПК С25С3/10 Заявник: Государственный ВПИИ механизации производства Гипростроммеханизации Заявка №1443218 от 01.01.1972 Публ. 01.01.1972 Устройство для демонтажа подины алюминиевого электролизера |
Не діє |
|
|
Російська Федерація Патент №2266984 МПК С25С3/10 Заявник: ОАО "ВОЛГОГРАДСКИЙ АЛЮМИНИЙ" Заявка № 2004118647/02 від 2004.06.18 Публ. 2005.12.27 УСТРОЙСТВО ДЛЯ ПРОРЕЗКИ ПЕРИФЕРИИ САМООБЖИГАЮЩЕГОСЯ АНОДА АЛЮМИНИЕВОГО ЭЛЕКТРОЛИЗЕРА |
діє |
Продовження Г 1.1
|
1 |
2 |
3 |
|
Російська Федерація Патент №2210633 МПК С25С3/10 Заявник: ОАО "Сибирский научно- исследовательский, конструкторский и проектный институт алюминиевой и электродной Заявка № 2001127363/02 від 2001.10.08 Публ. 2003.08.20 ОПОРНОЕ УСТРОЙСТВО ПОД ПРОЕЗЖУЮ ЧАСТЬ КОРПУСА ЭЛЕКТРОЛИЗА |
діє |
|
|
Російська Федерація Патент №92014463 МПК С25С3/10 Заявник: ОАО Сибирский научно- исследовательский, конструкторский и проектный институт алюминиевой и электродной промышленности Заявка № 92014463/02 від 1992.12.24 Публ. 1996.11.20 РАЗЪЕМНЫЙ КАТОДНЫЙ КОЖУХ АЛЮМИНИЕВОГО ЭЛЕКТРОЛИЗЕРА |
діє |
|
|
Російська Федерація Патент №2002120610 МПК С25С3/10 Заявник: ОАО "Красноярский алюминиевый завод" Заявка № 2002120610/02 від 29.02.2002 Публ. 2004.02.27 Устройство для прорезки периферии анода алюминиевого электролизера |
діє |
|
|
Російська Федерація Патент №93052308 МПК С25С3/10 Заявник: ОАО типа "Красноярский алюминиевый завод" Заявка № 93052308/02 від 1993.11.18 Публ. 1996.12.27 УСТРОЙСТВО ДЛЯ УДАЛЕНИЯ С ДЕРЖАТЕЛЯ ОТРАБОТАННОГО АНОДА АЛЮМИНИЕВОГО ЭЛЕКТРОЛИЗЕРА |
діє |
Продовження Г 1.1
|
1 |
2 |
3 |
|
Російська Федерація Патент №95102740 МПК С25С3/10 Заявник: Акционерное общество "Красноярский алюминиевый завод" Заявка № 95102740/02 від 1995.02.24 Публ. 1996.12.27 УСТАНОВКА ДЛЯ ОБЖИГА ПОДИНЫ АЛЮМИНИЕВОГО ЭЛЕКТРОЛИЗЕРА |
діє |
|
|
Російська Федерація Патент №2044113 МПК С25С3/10 Заявник: ОАО"Сибирский НИКИПИ алюминиевой и электродной промышленности", Малое научно-внедренческое предприятие "Эленик" Заявка № 92014463/02 від 1993.07.30 Публ. 1995.09.20 Разъемний катодний кожух алюминиевого електролизера |
діє |
|
|
Російська Федерація Патент №2237751 МПК С25С3/10 Заявник: Открытое акционерное общество "Красноярский алюминиевый завод" Заявка № 2002120610/02 від 2002.07.29 Публ. 2004.10.10 Устройство для поразки перефирии анода алюминиевого електролизера |
діє |
|
|
Російська Федерація Патент №95117414 МПК С25С3/10 Заявник:ОАО"Всероссийский алюминиево-магниевый институт", ОАО "Красноярский алюминиевый завод" Заявка № 95117414/02 від 1995.10.10 Публ. 1997.09.27 УСТРОЙСТВО ДЛЯ ВРЕМЕННОЙ ПОДВЕСКИ АНОДА АЛЮМИНИЕВОГО ЭЛЕКТРОЛИЗЕРА |
діє |
Продовження Г 1.1
|
1 |
2 |
3 |
|
|
Російська Федерація Патент №96119814 МПК С25С3/10 Заявник: ОАО"Красноярский алюминиевый завод" Заявка № 96119814/02 від 1996.10.03 Публ. 1997.05.27 УСТАНОВКА ДЛЯ ОБЖИГА ПОДИНЫ АЛЮМИНИЕВОГО ЭЛЕКТРОЛИЗЕРА |
діє |
||
|
Російська Федерація Патент №1324346 МПК С25С3/10 Заявник: ВНИПКИ алюминиевой, магниевой и электродной промышл. Заявка № 3813539/02 від 1984.11.19 Публ. 1997.07.27 УКРЫТИЕ АЛЮМИНИЕВОГО ЭЛЕКТРОЛИЗЕРА С ОБОЖЕННЫМИ АНОДАМИ |
Не діє |
||
|
Російська Федерація Патент №2086709 МПК С25С3/10 Заявник: АО "Красноярский алюминиевый завод" Заявка № 93052308/02 від 1993.11.18 Публ. 1997.08.10 УСТРОЙСТВО ДЛЯ УДАЛЕНИЯ С ДЕРЖАТЕЛЯ ОТРАБОТАННОГО АНОДА АЛЮМИНИЕВОГО ЭЛЕКТРОЛИЗЕРА |
діє |
||
|
Російська Федерація Патент №2088697 МПК С25С3/10 Заявник: АО "Красноярский алюминиевый завод" Заявка № 95102740/02 від 1995.02.24 Публ. 1997.08.27 УСТАНОВКА ДЛЯ ОБЖИГА ПОДИНЫ АЛЮМИНИЕВОГО ЭЛЕКТРОЛИЗЕРА |
діє |
||
|
Російська Федерація Патент №2092620 МПК С25С3/10 Заявник: ОАО "Всероссийский алюминиево-магниевый институт", Заявка № 95117414/02 від 1995.10.10 Публ. 1997.10.10 УСТРОЙСТВО ДЛЯ ВРЕМЕННОЙ ПОДВЕСКИ АНОДА АЛЮМИНИЕВОГО ЭЛЕКТРОЛИЗЕРА |
діє |
||
|
Російська Федерація Патент №2255145 МПК С25С3/10 Заявник: ООО "Инженерно-технологический центр" Заявка № 2004109421/02 від 2004.03.29 Публ. 2005.06.27 МАШИНА ДЛЯ ЗАГРУЗКИ АНОДНОЙ МАССЫ |
діє |
||
|
Російська Федерація Патент №2096531 МПК С25С3/10 Заявник: ООО "Алюминиевая компания АЛКОРУС" Заявка № 96118220/02 від 1996.09.04 Публ. 1997.11.20 КАТОДНОЕ УСТРОЙСТВО АЛЮМИНИЕВОГО ЭЛЕКТРОЛИЗЕРА |
діє |
||
|
Російська Федерація Патент №96118220 МПК С25С3/10 Заявник: Товарищество с ограниченной ответственностью "Алюминиевая компания АЛКОРУС" Заявка № 96118220/02 від 1996.09.04 Публ. 1998.03.10 КАТОДНОЕ УСТРОЙСТВО АЛЮМИНИЕВОГО ЭЛЕКТРОЛИЗЕРА |
діє |
||
|
Російська Федерація Патент №97109217 МПК С25С3/10 Заявник: Открытое акционерное общество "Красноярский алюминиевый завод" Заявка № 97109217/02 від 1997.06.03 Публ. 1998.04.20 УСТРОЙСТВО ДЛЯ ОБЖИГА УГЛЕРОДНОЙ ФУТЕРОВКИ КАТОДА АЛЮМИНИЕВОГО ЭЛЕКТРОЛИЗЕРА |
діє |
||
|
Російська Федерація Патент №2104335 МПК С25С3/10 Заявник: ОАО "Красноярский алюминиевый завод" Заявка № 96119814/02 від 1996.10.03 Публ. 1998.02.10 УСТАНОВКА ДЛЯ ОБЖИГА ПОДИНЫ АЛЮМИНИЕВОГО ЭЛЕКТРОЛИЗЕРА |
діє |
||
|
Російська Федерація Патент №2111289 МПК С25С3/10 Заявник: ОАО "Красноярский алюминиевый завод" Заявка № 97109217/02 від 1997.06.03 Публ. 1998.05.20 УСТРОЙСТВО ДЛЯ ОБЖИГА УГЛЕРОДНОЙ ФУТЕРОВКИ КАТОДА АЛЮМИНИЕВОГО ЭЛЕКТРОЛИЗЕРА |
діє |
||
|
Російська Федерація Патент №2112083 МПК С25С3/10 Заявник: ОАО "Красноярский алюминиевый завод" Заявка № 97113621/02 від 1997.07.31 Публ. 1998.05.27 ПЕРЕКРЫТИЕ КАТОДНЫХ ШИН АЛЮМИНИЕВОГО ЭЛЕКТРОЛИЗЕРА |
діє |
||
|
Російська Федерація Патент №2265083 МПК С25С3/10 Заявник: ОАО "Волгоградский алюминий" Заявка № 2004118648/02 від 2004.06.18 Публ. 2005.11.27 СТАНОК ДЛЯ ОЧИСТКИ АНОДНЫХ ШТЫРЕЙ АЛЮМИНИЕВЫХ ЭЛЕКТРОЛИЗЕРОВ А |
діє |
||
|
Російська Федерація Патент №99111406 МПК С25С3/10 Заявник Открытое акционерное общество "Братский алюминиевый завод" Заявка № 99111406/02 від 1999.06.01 Публ. 2001.04.10 УСТРОЙСТВО ДЛЯ ПРОРЕЗКИ ПЕРИФЕРИИ АНОДА АЛЮМИНИЕВОГО ЭЛЕКТРОЛИЗЕРА |
діє |
||
|
Російська Федерація Патент №2167959 МПК С25С3/10 Заявник ОАО "Братский алюминиевый завод" Заявка № 99111406/02 від 1999.06.01 Публ. 2001.05.27 УСТРОЙСТВО ДЛЯ ПРОРЕЗКИ ПЕРИФЕРИИ АНОДА АЛЮМИНИЕВОГО ЭЛЕКТРОЛИЗЕРА |
діє |
||
|
Російська Федерація Патент №2191851 МПК С25С3/10 Заявник ОАО "Всероссийский алюминиево-магниевый институт" Заявка № 2001108949/02 від 2001.04.04 Публ. 2002.10.27 УСТРОЙСТВО ДЛЯ ВРЕМЕННОЙ ПОДВЕСКИ ОБОЖЖЕННЫХ АНОДОВ |
прекратил не не діє |
||
|
Російська Федерація Патент №2197566 МПК С25С3/10 Заявник Братский государственный технический университет Заявка № 2001105415/02 від 2001.02.26 Публ. 2003.01.27 УСТРОЙСТВО ДЛЯ ИЗВЛЕЧЕНИЯ ВЕРТИКАЛЬНЫХ АНОДНЫХ ШТЫРЕЙ ИЗ АЛЮМИНИЕВОГО ЭЛЕКТРОЛИЗЕРА |
діє |
||
|
Російська Федерація Патент №2001105415 МПК С25С3/10 Заявник Братский государственный технический университет Заявка № 2001105415/02 від 2001.02.26 Публ. 2003.01.27 УСТРОЙСТВО ДЛЯ ИЗВЛЕЧЕНИЯ ВЕРТИКАЛЬНЫХ АНОДНЫХ ШТЫРЕЙ ИЗ АЛЮМИНИЕВОГО ЭЛЕКТРОЛИЗЕРА |
діє |
||
|
Російська Федерація Патент №2001108949 МПК С25С3/10 Заявник Акционерное общество открытого типа "Всероссийский алюминиево-магниевый институт" Заявка № 2001108949/02 від 2001.04.04 Публ. 2003.02.10 УСТРОЙСТВО ДЛЯ ВРЕМЕННОЙ ПОДВЕСКИ ОБОЖЖЕННЫХ АНОДОВ |
діє |
||
|
США Патент №1341247 МПК С25С3/10 Заявник ВНІ ПI Алюмініевої Магнієвої Заявка № 19864053742 від 1986.04.09 Публ. 1987-09-30 Пристрій для обслуговування алюмінієвого електролізера |
Не діє |
||
|
США Патент № 1623569 МПК С25С3/10 Заявник Текмо кар дз ра фірма Заявка № 19884355938 від 1988.06.27 Публ. 1991-01-23 Пристрій длямеханізованої заміни анодів у електролізерах для алюмінієвого виробництва |
Не діє |
||
|
США Патент № 5876585 МПК С25С3/10 Заявник Дженк Родней Заявка № 19970864210 від 1997.05.28 Публ. 1999-03-02 Защим аноду |
діє |
||
|
США Патент № US2001035344 МПК С25С3/10 Заявник Дастолфо лерой E (США); Лаззаро Джиасеп (Италия) Заявка № US20010759949 від 2001.01.12 Публ. 2001-11-01 Машина для виймання анодних штирів алюмінієвого електролізера |
діє |
||
|
США Патент № 6090264 МПК С25С3/10 Заявник Пирон Жерард Заявка № 19990249875 від 1999.02.16 Публ. 2000-07-18 Пристрій, приводящий пристій для виймання й передачі анодів в центрі алюмінієвой фабриці та обладнання, щоб привести в дію такий пристій |
діє |
||
|
США Патент № 60023530D МПК С25С3/10 Заявник Рил Сеінт Сай AУ Mонт Д ор; Асмі Дечі Заявка № DE20006023530 від 2000.12.19 EP20000420261 2000.12.19 Публ. 2005-12-01 Пристрій для под’йому структури аноду ячейки электроліза для виробництва алюмінію |
діє |
||
|
США US 6153066 А МПК С25С3/00 Заявник: Пирон Жерард Заявка №250633 від 16.02.1999 Публ. 28.11.2000 Приор. Дан.EP 1999 99420037 від 12.02.1999 NO 1999 990724 від 16.02.1999 Оборудование и держатель инструмента для извлечения анодов и доставки их в центр завода по выплавке алюминия |
діє |
||
|
Німеччина Патент № 1333782 МПК С25С3/10 Заявник Ілкем алюминиум Заявка № CA19880581998 від 1988.11.02 Публ. 1995-01-03 Машина для перестановки анодов в алюминиевых электролизерах с обоженными анодами |
Не діє |
||
|
Німеччина Патент № EP1597494 МПК С25С3/10 Заявник ЕКЛ Заявка № EP20040714820 від 2004.02.26 WO2004FR00429 від 2004.02.26 FR20030002493 від 2003.02.28 Публ. 2005-11-23 ПРИВОД ГОЛОВОК ЧТОБЫ ПЕРЕМЕЩАТЬ(ЗАМЕЩАТЬ) СТРУКТУРУ(РАМКУ) АНОДА ЯЧЕЙКИ ЭЛЕКТРОЛИЗА ДЛЯ ПРОИЗВОДСТВА АЛЮМИНИЯ |
діє |
||
|
Німеччина Патент № EP1597188 МПК С25С3/10 Заявник ЕКЛ Заявка № EP20040714818 2004.02.26 FR20030002500 від 2003.02.28 Публ. 2005-11-23 Машина обслуживания ячейкиелктролизера для производства алюминия |
діє |
||
|
Німеччина Патент № EP1597494 МПК С25С3/10 Заявник ЕКЛ Заявка № EP20040714820 від 2004.02.26 FR20030002493 від 2003.02.28 Публ. 2005-11-23 Машина для перестановки анодов в алюминиевых электролизерах с обоженными анодами |
діє |
||
|
Німеччина Патент № DE10200910 МПК С25С3/10 Заявник VAW ALUMINIUM TECHNOLOGIE GMBH (DE) Заявка № DE20021000910 від 2002.01.12 Публ. 2003-07-24 Пристрій длямеханізованої заміни анодів у електролізерах для алюмінієвого виробництва |
діє |
||
|
Австрія Патент № AU620626B МПК С25С3/10 Заявник NKM NL KRAANBOUW Заявка № AU19890037968 від 1989.07.07 Публ. 1992-02-20 Привод головок для замені рамки анода из ячейки електролизера для производства алюминия |
Не діє |
||
|
Австрія Патент № AU3796889 Заявник NKM NKM NL KRAANBOUW Заявка № AU19890037968D від 1989.07.07 Публ. 1990-01-11 Устройство для замены анодов електрических ячеек для производства алюминия |
Не діє |
||
|
Австрія Патент № AU769833B МПК С25С3/10 Заявник SRA TECHNOLOGIES PTY LTD Заявка № AU20000064160 від 2000.08.11 WO2000AU00959 від 2000.08.11 Публ. 2004-02-05 Собрание анода |
діє |
||
|
Австрія Патент № AU6416000 МПК С25С3/10 Заявник SRA TECHNOLOGIES PTY LTD Заявка № AU20000064160D від 2000.08.11 Публ. 2001-03-13 Собрание анода |
діє |
||
|
Бразилія Патент № BR9201425 МПК С25С3/10 Заявник THYSSEN FUNDICOES LTDA Заявка № BR19920001425 від 1992.04.16 Публ. 1993-10-19 Машина для перестановки анодов в алюминиевых электролизерах с обоженными анодами |
діє |
||
|
Бразилія Патент № BR9303422 МПК С25С3/10 Заявник PECHINEY ALUMINIUM Заявка № BR19930003422 від 1993.08.19 Публ. 1994-03-15 Суперструктура для очень высокой ячейки электролиза власти(мощи) для производства алюминия |
діє |
||
|
Нова Зеландія Патент № NZ517086 МПК С25С3/10 Заявник SRA TECHNOLOGIES PTY LTD Заявка № NZ20000517086 від 2000.08.11 AU1999PQ02188 від 1999.08.13 WO2000AU00959 від 2000.08.11 Публ. 2003-10-31 Собрание анода |
діє |
||
|
Нова Зеландія Патент № NZ506372 МПК 2002-06-28 Заявник NIPPON LIGHT METAL CO Заявка № NZ19990506372 від 1999.09.09 JP19980358643 від 1998.12.17 WO1999JP04907 від 1999.09.09 Публ. 2003-10-31 Устройство для замены обоженных анодов алюминиевого электролизера |
діє |
||
|
Нова Зеландія Патент № NZ232186 МПК 2002-06-28 Заявник NORSK HYDRO AS Заявка № NZ19900232186 1990.01.23 Публ. 1992-02-25 АЛЮМИНИЕВАЯ ЯЧЕЙКА ЭЛЕКТРОЛИЗА С НЕПРЕРЫВНЫМ АНОДОМ |
діє |
||
|
Бразилія Патент № WO2005095676 МПК С25С3/10 Заявник ЕКЛ; Ван Аскір Aлейн; Делесклус Патрик; Mорел Беноист Заявка № WO2005FR00695 від 2005.03.22 FR20040003080 від 2004.03.25 Публ. 2005-10-13 КОМПАКТНЫЙ МОДУЛЬ ОБСЛУЖИВАНИЯ(СЛУЖБЫ), КОТОРЫЙ ПРЕДНАЗНАЧЕН ДЛЯ ЭЛЕКТРОЛИТИЧЕСКИХ АЛЮМИНИЕВЫХ ЗАВОДОВ |
діє |
||
|
ЕВП Патент№ SU855081 МПК С25С3/10 Заявник: Александров Д.; Норин А.; Углев Б.; Мельніков А.; Медведев А.; Попченков І. Заявка № SU19792838865 від 1979.10.31 Пул. 1981-08-15 Машина для перестановки анодов в алюминиевых электролизерах с обоженными анодами |
Не діє |
||
|
ЕПВ Патент № SU981456 МПК С25С3/10 Заявник: Дальневосточ ВНІ ПК I Подем Заявка № SU19813256826 від 1981.01.04 Пул. 1982-12-15 Машина для обслуживания алюминиевых электролизеров |
Не діє |
||
|
ЕПВ Патент № SU996521 МПК С25С3/10 Заявник: Ір ВНІ ПІ Алюмінівой; Iр Aлюмінівий З. Заявка № SU19813321078 від 1981.07.23 Пул. 1983-02-15 АППАРАТ ДЛЯ ФОРМИРУЮЩЕГОСЯ АНОДА АЛЮМИНИЯ електролізера |
Не діє |
||
|
ЕПВ Патент № SU935541 МПК С25С3/10 Заявник: ДН З Метал Обору Заявка № SU19802928816 від 1980.05.23 Пул. 1982-06-15 МАШИНА ДЛЯ ОБСЛУЖИВАНИЯ АЛЮМИНИЯ електролізера |
Не діє |
||
|
ЕПВ Патент № SU891807 МПК С25С3/10 Заявник: Мічков А. Заявка № SU19792855298 від 1979.12.21 Пул. 1981-12-23 МАШИНА ДЛЯ УДАЛЕНИЯ ПРУТОВ АНОДА АЛЮМИНИЯ електролізера С БОКОВОЙ ТЕКУЩЕЙ ПОДАЧЕЙ |
Не діє |
||
|
ЕПВ Патент № SU986968 МПК С25С3/10 Заявник: Iр ВНI ПI Алюмінівой; Братскій Алюмінівий З. Заявка № SU19813278685 від 1981.04.20 Пул. 1983-01-07 Машина для обслуживания алюминиевых электролизеров |
Не діє |
||
|
Китай Патент № CN2721656Y МПК С25С3/10 Заявник: Гуйланг Алюмініум анд Магнесі Заявка № CN200420061054U від 2004.08.31 Пул. 2005-08-31 Пластина структура электролитической ванны |
діє |
||
|
Китай Патент № CN2725316Y МПК С25С3/10 Заявник: Гуйланг Десігн инст оф Ал анд Заявка № CN200420061036U від 2004.08.30 Пул. 2005-09-14 Алюминиевая электролитическая голова луча опоры ванны, укрепляющая структуру |
діє |
||
|
Франція Патент № 288873 МПК С25С3/10 Заявник: Рил; АСМІ Заявка № FR19990014580 від 1999.11.19 Пул. 2005-02-15 Машина для перестановки анодов в алюминиевых электролизерах с обоженными анодами |
діє |
||
|
Норвегія Патент № NO20052340 Заявник: EКЛ (Франція) МПК С25С3/10 Заявка № NO20050002340 від 2005.05.12 WO2002FR03513 від 2002.10.14 Пул. 2005-05-12 ЭЛЕКТРОЛИТИЧЕСКИЙ ОГРАНИЧИТЕЛЬ УТЕЧКИ ЯЧЕЙКИ |
діє |
||
|
Канада Патент № CA2119100 МПК С25С3/10 Заявник: Норск Худро Ес (NO) Заявка № CA19942119100 від 1994.03.15 Пул. 1994-09-18 Машина для обслуживания алюминиевых электролизеров |
діє |
Г.1.2 Інша науково-технічна документація, відібрана для подальшого аналізу
|
ОГД, його складові частини |
Джерела інформації |
Бібліографічні дані |
|
1 |
2 |
3 |
|
Машина для виймання анодних штирів алюмінієвого електролізера |
Положення з алюмінієм у світі й у США |
Всеросійський науково-дослідний кон'юнктурний інститут Бюлетень іноземної комерційної інформації Машини й устаткування №43 15 квітня 2003 р. с. 14-15 |
|
Прогноз ринку основних кольорових металів в 2003 році |
Всеросійський науково-дослідний кон'юнктурний інститут Бюлетень іноземної комерційної інформації Машини й устаткування №21 22 лютого 2003р. с. 14-15 |
|
|
Зростання виробництва основних кольорових металів у КНР |
Всеросійський науково-дослідний кон'юнктурний інститут Бюлетень іноземної комерційної інформації Машини й устаткування №99 4 вересня 2003р. с. 13-14 |
|
|
Стан і перспективи ринку алюмінію в СНД |
Всеросійський науково-дослідний кон'юнктурний інститут Бюлетень іноземної комерційної інформації Машини й устаткування №95 26 серпня 2003р. с. 13 - 14 |
|
|
Перспективи розвитку алюмінієвої промисловості Китаю |
Всеросійський науково-дослідний кон'юнктурний інститут Бюлетень іноземної комерційної інформації Машини й устаткування №80 17 липня 2003 р. с. 15 |
|
|
На бразильському ринку алюмінію й алюмінієвої сировини |
Всеросійський науково-дослідний кон'юнктурний інститут Бюлетень іноземної комерційної інформації Машини й устаткування №125 1 листопада 2003 р. с. 14-15 |
|
|
Виробництво й запаси кольорових металів у Японії в 2002 році |
Всеросійський науково-дослідний кон'юнктурний інститут Бюлетень іноземної комерційної інформації Машини й устаткування №112 2 жовтня 2003 с. 13-14 |
|
|
Стан і перспективи ринку алюмінію |
Всеросійський науково-дослідний кон'юнктурний інститут Бюлетень іноземної комерційної інформації Машини й устаткування №145 18 грудня 2004 с. 14-15 |
|
|
Виробництво й запаси кольорових металів у Японії в 2003 році |
Всеросійський науково-дослідний кон'юнктурний інститут Бюлетень іноземної комерційної інформації Машини й устаткування №136 27 листопада 2004 с. 14 |
|
|
Положення з алюмінієм у світі й у США |
Всеросійський науково-дослідний кон'юнктурний інститут Бюлетень іноземної комерційної інформації Машини й устаткування №130 13 листопада 2004 с. 14 |
|
|
На Японському ринку алюмінію |
Всеросійський науково-дослідний кон'юнктурний інститут Бюлетень іноземної комерційної інформації Машини й устаткування №122 26 жовтня 2004 с. 13-14 |
|
|
Стан і перспективи ринку алюмінію |
Всеросійський науково-дослідний кон'юнктурний інститут Бюлетень іноземної комерційної інформації Машини й устаткування №120 21 жовтня 2004 с. 14-15 |
|
|
Зміна в структурі ринку й динаміку споживання алюмінію на світовому ринку |
Всеросійський науково-дослідний кон'юнктурний інститут Бюлетень іноземної комерційної інформації Машини й устаткування №109 25 вересня 2004 с. 13-14 |
|
|
Світовий ринок чорних і основних кольорових металів |
Всеросійський науково-дослідний кон'юнктурний інститут Бюлетень іноземної комерційної інформації Машини й устаткування №46 23 квітня 2005 с. 12-14 |
|
|
Виробництво й запаси кольорових металів у Японії в 1-ом полуг. 2004 року |
Всеросійський науково-дослідний кон'юнктурний інститут Бюлетень іноземної комерційної інформації Машини й устаткування №5 18 січня 2005 с. 15 |
|
|
В алюминиевой промышленности СНГ |
Всероссийский научно-исследовательский конъюнктурный институт Бюллетень иностранной коммерческой информации Машины и оборудование №45 20 апреля 2004 с. 12-13 |
|
|
Производство и запасы цветных металлов в Японии в 2002 году |
Всероссийский научно-исследовательский конъюнктурный институт Бюллетень иностранной коммерческой информации Машины и оборудование №26 4 марта 2004 с. 14-15 |
Г.1.3 Документація, відома з посилальних джерел, але не виявлена в процесі пошуку
|
Бібліографічні дані щодо |
|
|
джерела посилання |
документа, на який посилаються |
|
1 |
2 |
|
РЖ ВИНИТИ Металлургия. Технологический процесс. Москва. – 2005. – № 6. Реф. 15Г.8. |
Проблемы совершенствования технологии и оптимизации показателя металлургического производства. ОАО «ГМК «Норильский Никель». Мурикатин Л.М. (ОАО «ГМК «Норильский Никель»). цв. мет., 2004, №12, с.6-10, табл. 1. Библ.6. Рус.:рез.англ. |
|
РЖ ВИНИТИ Металлургия. Технологический процесс. Москва. – 2002. – № 1. Реф. 15Г.1. |
Обзор современного состояния промышленности цветных металлов России. Березкин К.Э. Сб. тр. мол. ученых СПГГИ, 2001, №6, с.131 – 134. Рус.; рез. англ. |
|
РЖ ВИНИТИ Металлургия. Технологический процесс. Москва. – 2002. – № 1. Реф. 15Г.12. |
Nalco увеличит мощности по производству алюминия и глинозема Nalco to boost aluminium and alumina output Norways T., Elcridge D. Metall Bull. 2003, №8762, с.5. Англ. |
|
РЖ ВИНИТИ Металлургия. Технологический процесс. Москва. – 2003. – № 9. Реф. 15Г.10. |
Алюминиевая промышленность Германии. Aluminiumdusrtie wachst. Werkst. Fertig. 2002, №4, с.18. Нем. |
|
РЖ ВИНИТИ Металлургия. Технологический процесс. Москва. – 2003. – № 12. Реф. 15Г.2. |
Алюминиевая промышленность СНГ сегодня. Прокопов И.В. (НП «Алюминий»). Цв. мет., 2003, Спец. Вып., с.26 – 32, 5л., табл.4. Рус. |
|
РЖ ВИНИТИ Технология машиностроения. Москва. – 2003. – № 12. Реф. 14 Б.263 |
Изготовитель производственного оборудования и инструментов. Familienunternehmen Welterfolg. Technica (Suisse). 2002. 51. №18, с.14, 1 ил. Нем. |
|
РЖ ВИНИТИ Металлургия. Технологический процесс. Москва. – 2003. – № 7. Реф. 15Г.8. |
Состояние и проблемы развития алюминиевой промышленности. Северо-Западного региона России. Сизяков В.М. Научные и теоретические исследования в металлургии легких металлов. Сборник научных трудов. Всерос. Алюм. – магн. Ин – т. СПб: Изд – во ВАМИ. 2000, с.15 – 22, 285 Рус. |
|
РЖ ВИНИТИ Металлургия. Технологический процесс. Москва. – 2003. – № 8. Реф. 15Г.9 |
Alcoa скрепил сделку с Quebec om по расширению завода Alcoa inks deal with Quebec to expand smelter. Brooks P. Metaii Bull. 2003, №8758, с.5. Англ. |
|
РЖ ВИНИТИ Металлургия. Технологический процесс. Москва. – 2003. – № 8. Реф. 15Г.6. |
Исландский алюминиевый завод намерен удвоить мощность. Icelandie smelter seeks to double capacity. Docherty S. Metall Bull. 2003,№8757, с.5, Англ. |
|
РЖ ВИНИТИ Металлургия. Технологический процесс. Москва. – 2003. – № 8. Реф. 15Г.7. |
Simsen собирается увеличить производство алюминия в КНР. Simsen plans aluminium expansion. Metall Bull. 2003, №8756, с.7. Англ. |
|
РЖ ВИНИТИ Металлургия. Технологический процесс. Москва. – 2003. – № 2. Реф. 15Г.11. |
Методы и модели автоматизированного проектирования роботоавтономных систем для цветной металлургии. Ашимов А.А., Байбатшаев М.Ш., Байсембаев А.А. |
|
РЖ ВИНИТИ Металлургия. Технологический процесс. Москва. – 2003. – № 6. Реф. 15Г.5. |
Крупнейшие потребители первичного алюминия в мире. Информация руководителю. Черметинформация. 2004, №23, с.15. Рус. |
|
РЖ ВИНИТИ Металлургия. Технологический процесс. Москва. – 2003. – № 9. Реф. 15Г.10. |
Алюминиевые надежды. Металлы мира. 2003, №5, с.18 – 25. Рус. |
Г.1.4 Техніко-економічні показники ОГД та об’єктів аналогічного призначення
|
Найменування та одиниці виміру |
Техніко – економічні показники |
||||
|
об’єкта за стандартом або технічними умовами |
об’єкта-аналога (держава, фірма, організація, модель, рік освоєння) |
ОГД |
перспективного зразка |
||
|
Захват для перестановки анодных штырей алюминиевых электролизеров с верхнем подводом тока ОАО"Красноярский алюминиевый завод" 2000р.0 |
МИАШ-1 |
МИАШ - 5 |
|||
|
Робочий тиск, мПа(кГс/див2) |
4,0 |
0,5 |
0,4-0,63 (4-6,3) |
0,4-0,63 (4-6,3) |
|
|
Тиск масла в робітнику циліндрі, мПа(кГс/див2), не менш |
170 |
16 |
15 (150) |
15 (150) |
|
|
Діаметр робочого циліндра, мм |
150 |
160 |
160 |
160 |
|
|
Хід упору робочого органа, мм |
275 |
274 |
2742 |
2742 |
|
|
Зусилля що розвиває на упорі, кн (кгс), не менш |
30000 |
40000 |
300 (30000) |
300 (30000) |
|
|
Маса машини, кг |
820 |
206 |
1400 |
1400 |
|
|
Габаритні розміри, мм: |
1980 х 930 х 1520 |
2080 х 600 х 1335 |
2410х650х1635 |
2410х650х1635 |
Форма Г.1.5 Аналіз новизни, винахідницького рівня та промислової придатності ОГД
|
ОГД, його складові частини |
Найближчий аналог |
Очікуваний результат |
Можливості використання у промисловості або іншій сфері діяльності |
Номер поданої заявки, дата подачі заявки |
||
|
назва |
сукупність ознак |
бібліографічні данні |
сукупність ознак |
|||
|
1 |
2 |
3 |
4 |
5 |
6 |
7 |
|
Машина для виймання анодних штирів алюмінієвого електролізера |
Пневмогідроперетворувач виконаний як циліндр, внутрішня порожнина якого за допомогою поршня розділена на пневматичну і гідравлічну; насос виконаний плунжерним з двох гідравлічних порожнин і пневматичної частини; механізм повороту платформи, пневмогідроперетворювач і сидіння для оператора встановлені один над другим. |
А.С. СРСР № 330206 від 27.06.1984 |
Машина для виймання анодних штирів алюмінієвого електролізера, що містить самохідне шасі, поворотну платформу, де розміщені робочий орган із захватом, закріплений на опорно-направляючому пристрої, пневмопривід, гідровузол, що складається з насоса і клапанного розподільника, механізм повороту платформи і механізми подачі і підйому робочого органу, гідравлічні і пневматичні магістралі і сидіння для оператора, до того ж насос через клапанний розподільник сполучений з робочим органом, яка відрізняється тим, що машинаобладнанапневмо- гідроперетворювачем. |
Створення машини, де за рахунок введення нових вузлів можна збільшити швидкодію, зменшити габарити і підвищити безпеку роботи оператора. |
Корисна модель належить до електрометалургії, зокрема до устроїв для виймання анодних штирів з електролізних ванн із боковим підводом струму |
№1872 від 14.09.2005 |
|
1 |
2 |
3 |
4 |
5 |
6 |
7 |
|
Машина для виймання анодних штирів алюмінієвого електролізера |
основними формоутворюючими елементами якої є шасі 1, поворотна колонка 10, робочий орган 3, сиденья 4. Основою шасі 1 є лита рама складної форми з прямокутною передньою частиною, на якій установлені рама 18, пневмодвигун 17, ведучий міст 16, керуємий міст 15. Поворотна колонка 10 установлена на стійці в середній частині рами і являє собою зваренуконструк. |
№ 95102740/02 від 1995.02.24 |
основними формоутворюючими елементами якої є шасі 1, поворотна колонка 10, робочий орган 3. Основою шасі 1 є лита рама складної форми з округлою передньою частиною, на якій установлені рама 18. Поворотна колонка 10 установлена на стійці в середній частині рами і являє собою зварену конструкцію. |
Поліпшення показників егроекономіки |
Промисловий зразок належить до електрометалургії, зокрема до устроїв для виймання анодних штирів з електролізних ванн із боковим підводом струму |
№S200501036 від 11.11.2005 |
Висновки до розділу Г.1
Пошук за патентною документацією був проведений по відношенню охоронних документів України, Російській Федерації, СРСР, інших країн світу, а також патентних документів Європейського патентного відомства (ЄПВ) та міжнародних заявок, виданих за процедурою РСТ (Patent Cooperation Treaty – Договір про патентну кооперацію). Ретроспективність пошуку була прийнята в межах 30 років (1976-2005рр.). Для пошуку було використано офіційний бюлетень “Промислова власність” Державного патентного відомства України, описи винаходів СРСР та тематичні добірки “Винаходи країн світу”, які доступні у Харківській державній науковій бібліотеці ім. Короленко (ХДНБ ім. Короленко). Також пошук по патентній документації проводився у мережі Internet по електронних базах даних патентного відомства Російської Федерації (“Федеральний інститут промислової власності”), ведучих країн світу, Європейського патентного відомства та міжнародних заявок РСТ. Пошук проводився за допомогою класифікаційних індексів Міжнародної патентної класифікації (МПК): С25С 3/10, С25С 3/12.
Результати пошуку за патентною документацією наступні:
Російська Федерація – 28 документи;
СРСР – 22 документів;
Австрія – 3 документи;
Бразилія – 3 дркументи;
Норвегія – 1 документ;
Канада – 1 документ;
Китай – 2 документ;
Німеччина – 5 документ;
Нова Зеландія – 3 документа;
США – 7 документ;
Франція – 1 документів;
ЄПВ – 6 документів;
Взагалі було знайдено 81 охоронних документів, релевантних предмету та меті пошуку.
На основі відібраних охоронних документів було заповнено форму по країнах із наведенням бібліографічних даних щодо охоронних документів (форма Г.1.1). Патентна документація систематизована за державами видачі охоронних документів.
Пошук по науково-технічній документації був проведений по статтям журналів „Бюллетень иностранной коммерческой информации” та реферативних журналів „Металургія”, які доступні у ХДНБ ім. Короленко та бібліотеці НТУ „ХПІ”. Пошук був проведений з 1990 року до 2005 року включно. У результаті було виявлено 17 джерел науково-технічної інформації (форма Г.1.2) і 13 джерел, відомих з джерел посилання, але не виявлених у процесі пошуку (форма Г.1.3).
Також у даному розділі були розглянуті техніко-економічні показники машини для виймання анодних штирів алюмінієвого електролізера та об’єктів аналогічного призначення (форма Г.1.4). За своїми техніко-економічними показниками ця машина відповідає аналогами.
ДОСЛІДЖЕННЯ ЗАКОНОДАВЧОЇ БАЗИ З НАБУТТЯ ПРАВ НА КОРИСНУ МОДЕЛЬ
3.1 Корисна модель як об'єкт правової охорони
Згідно з Законом України “Про охорону прав на винаходи і корисні моделі”, корисна модель - це результат інтелектуальної діяльності людини в будь-якій сфері технології.
Правова охорона надається корисній моделі, що не суперечить публічному порядку, принципам гуманності і моралі та відповідає умовам патентоздатності. Пріоритет, авторство і право власності на корисну модель засвідчуються деклараційним патентом.
Строк дії деклараційного патенту на корисну модель становить 10 років від дати подання заявки до Установи. Обсяг правової охорони, що надається, визначається формулою корисної моделі. Тлумачення формули повинно здійснюватися в межах опису корисної моделі та відповідних креслень.
Умови патентоздатності корисної моделі
1. Корисна модель відповідає умовам патентоздатності, якщо вона є новою і промислово придатною.
2. Корисна модель визнається новим, якщо він не є частиною рівня техніки. Об'єкти, що є частиною рівня техніки, для визначення новизни винаходу повинні враховуватися лише окремо.
3. На визнання корисної моделі патентоздатним не впливає розкриття інформації про нього винахідником або особою, яка одержала від винахідника прямо чи опосередковано таку інформацію, протягом 12 місяців до дати подання заявки до Установи або, якщо заявлено пріоритет, до дати її пріоритету. При цьому обов'язок доведення обставин розкриття інформації покладається на особу, заінтересовану у застосуванні цієї частини.
4. корисна модель визнається промислово придатним, якщо його може бути використано у промисловості або в іншій сферідіяльності.
Корисна модель як службовий твір
Ч. 1 статті 462 ЦК встановлює, що набуття права інтелектуальної власності на корисну модель засвідчується патентом.
Суб'єкт майнових прав інтелектуальної власності на службовий винахід, визначається у ч. 2 ст. 429 ЦК, яка говорить про об'єкт, створений у зв'язку з виконанням трудового договору, а також відповідно у ст. 9 Закону України "Про охорону прав на винаходи і корисні моделі" (далі - Закон про винаходи), яка присвячена праву на одержання патенту на службовий винахід роботодавцем.
Слід зазначити, що ст. 429 ЦК передбачає, що в разі створення об'єкта у зв'язку з виконанням трудового договору, особисті немайнові права належать працівникові-творцеві, а майнові права належать спільно працівникові-творцеві та роботодавцю, якщо інше не встановлено договором.
Наведені норми законів та ЦК стосуються майнових прав інтелектуальної власності на корисну модель, створену працівником, але мають різний понятійний апарат та не співпадають за колом правовідносин, що регулюють, а тому виникає необхідність їх поглибленого правового аналізу з метою правильного застосування.
Отже, почнемо з визначення об'єкта регулювання. Так, ст. 429 ЦК, говорячи про об'єкт права інтелектуальної власності, оперує поняттям "об'єкт, створений у зв'язку з виконанням трудового договору". В той же час, ст. 9 Закону говорить про "службовий винахід". Ст. 1 Закону, визначаючи поняття "службового винаходу", відносить до нього три категорії об'єктів, створених винахідниками-працівниками: 1) створені у зв'язку з виконанням службових обов'язків; 2) створені за дорученням роботодавця; 3) створені з використанням досвіду, виробничих знань, секретів виробництва і обладнання роботодавця.
Чи охоплюються ці категорії винаходів (корисних моделей) поняттям "об'єкт, створений у зв'язку з виконанням трудового договору", що містить ст. 429 ЦК?
Ст. 21 Кодексу законів про працю України , даючи поняття трудового договору, вказує, що за ним працівник зобов'язується виконувати певну роботу з підляганням внутрішньому трудовому розпорядкові. Таким чином, виконанням трудового договору з боку працівника є виконання роботи, що є його трудовою функцією, яка може бути визначена як в самому трудовому договорі, так і в локально-нормативних документах роботодавця (зокрема, посадовій інструкції чи положенні), додержуючись правил внутрішнього трудового розпорядку, в тому числі виконуючи встановлений режим праці та відпочинку.
Виходячи з цього, можна зробити висновок, що норма ЦК, яка аналізується, охоплює перші дві категорії службових винаходів, оскільки доручення роботодавця в межах спеціальності, професії працівника стає його трудовим обов'язком, а тому його виконання здійснюється в межах виконання трудового договору. Що ж стосується третьої категорії службових винаходів (створені з використанням досвіду, виробничих знань, секретів виробництва і обладнання роботодавця), то вони залишаються поза межами об'єкта регулювання ст. 429 ЦК.
Віднесення до службових винаходів, створених з використанням досвіду, виробничих знань, секретів виробництва і обладнання роботодавця, має на меті охоплення тих винаходів, що не підпадають під створені у зв'язку з виконанням службових обов'язків та за дорученням роботодавця. В тому числі, якщо створено винахід поза робочим часом або не в межах трудових обов'язків.
Підсумовуючи вказане вище, можна зробити висновок, що ст. 429 ЦК може застосовуватись лише щодо винаходів, створених на виконання службових обов'язків та за дорученням роботодавця. А відносини стосовно винаходів, які створені з використанням досвіду, виробничих знань, секретів виробництва і обладнання роботодавця, регулюються лише Законом про винаходи.
Частина 2 ст. 429 ЦК встановлює презумпцію, що майнові права інтелектуальної власності на об'єкт, створений у зв'язку з виконанням трудового договору, належать роботодавцю і працівнику спільно, що право на одержання патенту на службовий винахід належить роботодавцю.
Виходячи із ч. 1 ст. 462 ЦК, яка встановлює, що набуття права інтелектуальної власності на винахід, корисну модель, засвідчується патентом, можна говорити, що "право на одержання патенту", що міститься в Законі про винаходи по суті є правом на набуття права інтелектуальної власності на винахід. Саме власник патенту є носієм майнових прав інтелектуальної власності. Звідси випливає, що норми ч.1 ст. 9 Закону про винаходи, першого речення ч.1 ст. 8 регулюють ті ж самі правовідносини по відношенню до винаходів, створених у зв'язку з виконанням трудового договору, а тому виникає конкуренція норм.
Норма ч. 2 ст. 429 ЦК не носить відсилочного характеру та не встановлює можливості зміни її спеціальним законом. Вона дозволяє змінити порядок розподілу прав лише за договором між роботодавцем та творцем-працівником; Враховуючи те, що ЦК прийнятий пізніше, ніж Закони, і ЦК має вищу юридичну силу порівняно із Законами, оскільки згідно з ч. 2 ст. 4 ЦК він є основним актом цивільного законодавства України, пріоритет повинен надаватись нормі ч. 2 ст. 429 ЦК, порівняно з ч.1 ст. 9 Закону про винаходи.
Отже, ч. 2 ст. 429 ЦК встановлює, що якщо роботодавець і творець не домовились про інше, то майнові права інтелектуальної власності на об'єкт, створений у зв'язку з виконанням трудового договору, належать їм спільно. Що стосується порядку реалізації спільного права, то тут мають застосовуватись абз. З ч. 2 ст. 28 Закону про винаходи , оскільки ч. З ст. 429 ЦК встановлює, що законом можуть встановлюватись особливості здійснення майнових прав інтелектуальної власності на об'єкт, створений у зв'язку з виконанням трудового договору. Тобто, кожен із суб'єктів спільних майнових прав інтелектуальної власності, якщо інше не обумовлено між ними, може використовувати винахід на свій розсуд, але розпоряджатись майновими правами чи надавати дозволи іншим особам на використання винаходу можуть лише за взаємної згоди.
Необхідно зауважити, що ст. 429 ЦК, визначаючи суб'єкта майнових прав інтелектуальної власності, регулює правовідносини між роботодавцем і працівником, починаючи з моменту виникнення права інтелектуальної власності. Говорячи про винахід, цим моментом є дата публікації відомостей про видачу патенту.
Що ж стосується відносин між цими суб'єктами до моменту виникнення права інтелектуальної власності, то вони ЦК не врегульовані. Ці відносини регулюються частинами 2, 3,4, 5 ст. 9 Закону про винаходи,
які встановлюють умови набуття права інтелектуальної власності (права на одержання патенту) роботодавцем.
Умови набуття роботодавцем права на одержання патенту на винахід:
Винахідник подає роботодавцю письмове повідомлення про створений ним об'єкт з описом, що розкриває ясно і повно суть винаходу.
Протягом 4-х місяців роботодавець повинен вчинити наступні дії:
а) прийняти одне з таких рішень:
подати заявку на одержання патенту до Укрпатенту;
передати право на одержання іншій особі;
зберігати винахід як конфіденційну інформацію.
б) укласти з винахідником письмовий договір щодо розміру та умови виплати винагороди, відповідно до вигоди, яка може бути одержана роботодавцем.
В разі, якщо роботодавець не виконає дій, вказаних в п. а) чи б), а також якщо роботодавець протягом більше, як 4-х років зберігав винахід як конфіденційну інформацію і не використовував його, то право на одержання патенту переходить до винахідника чи його правонаступника, тобто винахідник буде єдиним суб'єктом права інтелектуальної власності на винахід (в тому числі і майнових прав). Роботодавець, не виконавши умов для набуття ним майнових прав інтелектуальної власності на винахід, втрачає свою частку права.
Якщо ж роботодавець виконав вказані у ч. З ст. 9 Закону про винаходи умови і приймає рішення запатентувати винахід, то враховуючи ч. 2 ст. 429 ЦК, він зобов'язаний включити до кола заявників і винахідника, в разі, якщо винахідник за договором не передав йому свої майнові права інтелектуальної власності.
Виникає питання, якщо роботодавець приймає рішення зберігати винахід як конфіденційну інформацію, то чи означає це, що не виникають права інтелектуальної власності на винахід?
Винахід, який зберігається як конфіденційна інформація, є об'єктом правової охорони та підпадає за своїм змістом під визначення такого об'єкта права інтелектуальної власності, як комерційна таємниця, правовідносини з приводу якої регулюються гл. 46 ЦК.
Слід зазначити, що на відміну від винаходу, який є результатом творчості, комерційна таємниця є не лише певним ідеальним об'єктом, результатом творчості. Для того, щоб результат творчості став комерційною таємницею як об'єктом правової охорони і як об'єктом права інтелектуальної власності необхідна наявність додаткових умов, які містяться у ч. 1 ст. 505 ЦК:
це має бути інформація, яка є невідомою та не є легкодоступною для осіб, які звичайно мають справу з таким видом інформації;
вона повинна мати комерційну цінність;
є предметом адекватних існуючим обставинам заходів щодо збереження її секретності.
Таким чином, винахід при додержанні цих умов стає таким об'єктом права інтелектуальної власності як комерційна таємниця. Хто ж є суб'єктом майнових прав інтелектуальної власності на неї?
Ч. 2 ст. 506 ЦК встановлює, що майнові права інтелектуальної власності на комерційну таємницю належать особі, яка правомірно визначила інформацію комерційною таємницею, якщо інше не встановлено договором.
З цієї норми виходить, що оскільки роботодавець приймає рішення про збереження винаходу як конфіденційної інформації, то він буде суб'єктом майнових прав інтелектуальної власності на комерційну таємницю, якщо інше не встановлено в договорі між роботодавцем і винахідником.
Тобто має місце конкуренція норм, оскільки ч. 2 ст. 429 ЦК презюмує спільну приналежність майнових прав. Отже, яку норму необхідно застосовувати?
На мою думку, в цьому випадку діє норма ч. 2 ст. 506 ЦК, оскільки ст. 429 ЦК регулює відносини з приводу об'єкта, створеного у зв'язку з виконанням трудового договору. Тобто ця стаття регулює відносини стосовно тих об'єктів права інтелектуальної власності, які за своєю суттю є результатом творчості, створюються. Як зазначалося вище, комерційна таємниця як об'єкт права інтелектуальної власності є інформацією, що має певний статус (відповідає певним вимогам) і не завжди ця інформація може бути результатом творчості, оскільки ч. 2 ст. 505 ЦК говорить, що комерційною таємницею можуть бути відомості технічного, організаційного, комерційного, виробничого та іншого характеру. Тобто комерційна таємниця є особливим видом об'єктів права інтелектуальної власності як і, наприклад, зазначення походження товару.
Отже, ч. 2 ст. 505 ЦК є спеціальною нормою стосовно визначення суб'єкта майнових прав інтелектуальної власності на комерційну таємницю, а тому саме роботодавець буде суб'єктом майнових прав інтелектуальної власності на винахід, що зберігається як конфіденційна інформація.
Після закінчення створення службового винаход автори повинні повідомити про це роботодавця в письмовій формі. Розробляється повідомлення про створення об’єкта промислової власності.
При передачі прав на службовий винахід розробляється договор між роботодавцем і автором про передання права на одержання патенту на корисну модель, створену у зв’язку з виконанням трудового договору.
4. РОЗРОБКА ДОКУМЕНТІВ ЗАЯВКИ НА КОРИСНУ МОДЕЛЬ
4.1 Вимоги щодо оформлення документів на корисну модель
Відповідно до статті 1 Закону корисна модель - це результат інтелектуальної діяльності людини в будь-якій сфері технології.
Згідно з частиною 1 статті 6 Закону правова охорона надається корисній моделі, що не суперечить публічному порядку, принципам гуманності і моралі та відповідає умовам патентоздатності, визначеним статтею 7 Закону.
Винахід відповідає умовам патентоздатності, якщо він є новим, має винахідницький рівень і є промислово придатним.
Корисна модель відповідає умовам патентоздатності,якщо вона є новою і промислово придатною.
4.1.1 Оформлення документів
4.1.1.1 Склад заявки
Заявка повинна містити:
- заяву про видачу патенту України на корисну модель;
- опис корисної моделі;
- формулу корисної моделі;
- креслення (якщо на них є посилання в описі);
- реферат.
4.1.1.2. Оформлення документів заявки
- Документи заявки, а саме: заяву про видачу патенту, опис і формулу корисної моделі, креслення і реферат подають у трьох примірниках. Документи, які потребують подальшого перекладу, можуть бути подані мовою оригіналу в одному примірнику, а їх переклад - у трьох примірниках.
- Усі документи заявки на винахід (корисну модель) слід оформляти таким чином, щоб можна було зберігати їх тривалий час і безпосередньо репродукувати в необмеженій кількості копій.
- Документи заявки друкують на аркушах білого паперу форматом 210 х 297 мм. Кожний документ заявки починають на окремому аркуші, при цьому другий і наступні аркуші нумерують арабськими цифрами. Кожний аркуш використовують лише з одного боку з розміщенням рядків паралельно меншому боку аркуша.
Мінімальний розмір полів аркушів опису, формули, реферату становить, мм:
ліве - 25;
верхнє - 20;
праве і нижнє - 20.
Креслення виконують на аркушах білого паперу форматом 210 х 297 мм.
Мінімальний розмір полів аркушів креслень становить, мм:
ліве - 25;
верхнє - 25;
праве - 10;
нижнє - 15.
- Усі документи друкують шрифтом чорного кольору. Текст опису, формули винаходу (корисної моделі) і реферату друкують через 2 інтервали або через 1,5 інтервалу при комп'ютерному наборі з висотою літер не менше ніж 2,1 мм.
- Латинські назви, латинські і грецькі літери, графічні символи, математичні і хімічні формули допускається вписуватичорнилом, пастою або тушшю чорного кольору.
Бібліографічні дані джерел інформації в документах заявки наводяться таким чином, щоб можна було знайти це джерело інформації.
4.1.1.3 Графічні зображення
- Графічні зображення (власне креслення, схеми, діаграми) виконують відповідно до правил креслення, на щільному, білому, гладкому папері чорними чіткими лініями і штрихами, які не витираються, без розтушовування і розмальовування.
- Масштаб і чіткість зображень вибирають такими, щоб при репродукуванні з лінійним зменшенням розмірів до 2/3 можливо було розпізнати всі деталі. Висота цифр і літер має бути не менше 3,2 мм. Цифрові та літерні позначення мають бути чіткими, товщина їх ліній повинна відповідати товщині ліній зображення. Цифри та літери не слід брати в дужки та лапки.
- На кресленнях використовують переважно прямокутні (ортогональні) проекції (у різних видах, розрізах й перерізах), в окремих випадках допускається також використання аксонометричної проекції. Кожний елемент на кресленні виконують пропорційно всім іншим елементам, за винятком випадків, коли для чіткого зображення елемента необхідне розрізнення пропорцій.
- Розміри на кресленнях не позначають, їх наводять, за потреби, в описі.
Креслення виконують без будь-яких написів, за винятком необхідних слів, таких як "вода", "пара", "відкрито", "закрито", "розріз за А-А".
- Окремі фігури розміщують таким чином, щоб аркуші були максимально заповненими і креслення можна було читати при вертикальному розташуванні довших боків аркуша. Якщо фігури, що розміщені на двох і більше аркушах, являють собою частини єдиного креслення, то їх розміщують таким чином, щоб це креслення можна було скомпонувати без пропусків будь-якої із зображених на різних аркушах фігур. На одному аркуші креслення можна розміщувати декілька фігур, при цьому слід чітко відмежовувати їх одну від одної.
- Елементи фігур позначають арабськими цифрами відповідно до посилань на них у описі винаходу (корисної моделі). Одні й ті самі елементи на декількох фігурах позначають одними й тими ж цифрами. Позначення, про які не згадують в описі винаходу (корисної моделі), на кресленнях не проставляють і навпаки
- Якщо графічні зображення представлені у вигляді схеми, то при її виконанні застосовують стандартизовані умовні графічні позначення. Якщо схема представлена у вигляді прямокутників як графічних позначень елементів, то крім цифрового позначення безпосередньо в прямокутник, якщо це можливо, вписують і назву елемента. Якщо розміри графічного зображення елемента не дозволяють цього зробити, то назву елемента можна зазначити на виносній лінії (за потреби, у вигляді напису під цим елементом). На схемах одного виду допускається зображення окремих елементів схем іншого виду (наприклад, на електричній схемі допускається зображення елементів кінематичних, гідравлічних схем тощо).
- Кожне графічне зображення нумерується послідовно арабськими цифрами (фіг. 1, фіг. 2 тощо) незалежно від виду цього зображення (креслення, схема, діаграма тощо) і нумерації аркушів відповідно до черговості наведення їх у тексті опису. Якщо опис винаходу (корисної моделі) пояснює лише одне графічне зображення, то воно не має нумерації
4.1.1.4 Загальні вимоги до змісту документів заявки
- Заявку складають українською мовою. Якщо опис і формулу винаходу (корисної моделі) викладено іншою мовою, то для збереження дати подання їх переклад повинен надійти до Укрпатенту протягом двох місяців від дати подання заявки.
- Матеріали заявки не повинні містити висловів, креслень, малюнків, фотографій та будь-яких інших матеріалів, що суперечать публічному порядку, принципам гуманності і моралі, зневажливих висловлювань стосовно винаходів (корисних моделей) та результатів діяльності інших осіб, а також відомостей і матеріалів, які вочевидь не стосуються або не є необхідними для визнання документів заявки такими, що відповідають вимогам Правил.
- У формулі, описі, рефераті і пояснювальних матеріалах до опису використовують, як правило, стандартизовані терміни і скорочення, а за їх відсутності - загальновживані в науковій і технічній літературі. При використанні термінів і позначень, що не є загальновживаними, необхідно пояснити їх значення при першому вживанні в тексті. Усі умовні позначення слід розшифровувати.
- У описі, формулі винаходу (корисної моделі) та рефераті необхідно зберігати єдиність термінології, тобто одні і ті самі ознаки в зазначених документах повинні називатися однаково. Вимога єдиності термінології стосується також умовних позначень і розмірності фізичних одиниць, які використовуються в матеріалах заявки. Назва винаходу (корисної моделі), за потреби, може містити символи латинської абетки та цифри. Використання символів інших абеток, спеціальних знаків у назві не допускається. Одиниці вимірювання фізичних величин переважно вживаються в одиницях діючої Міжнародної системи одиниць.
- Заяву про видачу патенту України на винахід (корисну модель) слід подавати українською мовою за формою, яка наведена в додатку 1 до Правил. Якщо відомості не можуть бути повністю розміщені за браком місця у відповідних графах, то їх наводять на додатковому аркуші за тією самою формою із зазначенням у відповідній графі заяви - "див. на окремому аркуші".
4.3 Опис
Машина для виймання анодних штирів алюмінієвого електролізера
МКВ6С25СЗ/10
Винахід належить до області електрометалургії, зокрема до устроїв для виймання анодних штирів з електролізних ванн із боковим підводом струму.
Відома машина для виймання анодних штирів алюмінієвого електролізера з бічним підводом струму (а.с. СРСР № 187316), що складається із самохідного шасі, поворотного столу, робочого органу на шарнірній підвісці, механізмів повороту і подання, механізму підйому на -ЗО...+ 15°і захвату.
Основними вимогами, що запропоновані до поданих машин є швидкодія, яка пов'язана з оперативним настроюванням робочого органу на захват штирів та їх швидке виймання, щонайменші габарити та безпека у роботі.
Недоліками поданої машини є мала швидкодія, яка пов'язана з обмеженим регулюванням робочого органу у вертикальній площині, великі габарити, низька безпека роботи оператора.
Найближчим до технічного рішення, що заявляється, є машина для виймання анодних штирів алюмінієвого електролізера з боковим підводом струму (а.с. СРСР № 330206).
Машина містить самохідне шасі, поворотну платформу, де розташовані робочий орган із захватом, закріплений на опорно-направляючому пристрої, пневмогідроперетворувачь, гідропривід, гідровузол, що складається з насоса і клапанного розподільника, механізм повороту платформи і механізми подачі і підйому робочого органу, гідравлічні і пневматичні магістралі і сидіння для оператора, до того ж насос через клапанний розподільник сполучений з робочим органом.
Повернення робочого органу у вихідне становище здійснюється за допомогою гідравліки.
Відома машина дозволяє робити налагодження робочого органу в горизонтальній і вертикальній площині, уздовж фронту робіт -перпендикулярно електролізеру.
Проте, машина має малу швидкодію, пов'язану з недостатньою оперативністю настроювання робочого органу і повільним ходом упору робочого органу, великі габарити і небезпечна в роботі, бо повернення робочого органу у вихідне становище здійснюється гідравлікою, що небезпечно в умовах електролізних цехів.
В основу теперішнього винаходу поставлена задача створення машини для виймання анодних штирів алюмінієвого електролізера, де за рахунок введення нових вузлів: пневмогідроперетворювача, який виконаний у вигляді циліндра, внутрішня порожнина якого, за допомогою поршня розділена на пневматичну і гідравлічну, і зворотного клапану, що керується, а також новому виконанню вузлів машини (клапанного розподільника і насоса) і зв'язків між вузлами і їхнім новим розташуванням, дозволило збільшити швидкодію, зменшити габарити і підвищити безпеку роботи оператора.
Для цього, у теперішній машині для виймання анодних штирів алюмінієвого електролізера, що містить самохідне шасі, поворотну платформу, де розміщені робочий орган із захватом, закріплений на опорно-направляючому пристрої, пневмопривід, гідровузол, що складається з насоса і клапанного розподільника, механізм повороту платформи і механізми подачі і підйому робочого органу, гідравлічні і пневматичні магістралі і сидіння для оператора, до того ж насос через клапанний розподільник сполучений з робочим органом, відповідно до винаходу, машина забезпечена пневмогідроперетворювачем, а клапанний розподільник -зворотним клапаном, що керується, до того ж пневмогідроперетво-рювач через клапанний розподільник підключений до насоса.
Також, у машині, відповідно до винаходу, пневмогідроперетворювач виконано як циліндр, внутрішня порожнина якого, за допомогою поршня розділена на пневматичну і гідравлічну.
Крім того, у машині, відповідно до винаходу, насос виконаний плунжерним з двох гідравлічних порожнин та пневматичної частини .
Також, у машині, відповідно до винаходу, клапанний розподільник виконаний з чотирьох зворотних клапанів і зворотного клапану, що керується, до того ж два зворотних клапана і зворотний клапан, що керується, встановлені з можливістю перепуска рідини в лінії пневмогідроперетворювач—клапанний розподільник— гідравлічні порожнини насосу і робочий орган, а два інших зворотних клапана, по черзі, у лінії гідравлічна порожнина насосу—клапанний розподільник—робочий орган, з одночасним перепуском рідини в лінії пневмогідроперетворювач—гідравлічна порожнина насосу.
До того ж, у машині, відповідно до винаходу, механізм подачі робочого органу, гідровузол, механізм повороту платформи, пневмогідроперетворювач і сидіння для оператора встановлені один над другим.
І нарешті, у машині, згідно до винаходу, робочий орган і сидіння для оператора розміщені на одній лінії.
Введення пневмогідроперетворювача і зворотного клапана, що керується, до нової конструкції, розміщення один над другим вузлів машини та їх нове приєднання, дозволяє зменшити габарити, а також підвищити швидкодію за рахунок прискорення хода упору та оперативності настроювання робочого органа.
До того ж операція повернення робочого органу у вихідне становище здійснюється завдяки використанню пневматики, що вважається кращим з боку безпеки роботи в умовах електролізних цехів .
Також, додатковою перевагою є те, що зменшені габарити машини дозволяють виймати штирі по всьому периметру електорлізе-ра.
Сутність винаходу пояснюють креслення, де на Фіг. 1 показаний загальний вигляд машини на Фіг. 2 - пневматична і гідравлічна схеми машини; на Фіг.З - вигляд машини позаду; на Фіг. 4 - вигляд машини зверху.
Машина для виймання анодних штирів алюмінієвого електорлі-зера містить чотириколісне самохідне шасі 1, де встановлена двох'ярусна поворотна платформа 2, сполучена з шасі 1 за допомогою підшипникового вузла.
На платформі 2 розміщені: робочий орган 3 з механізмами переміщення у вертикальній і горизонтальній площинах, як уздовж фронту робіт, так і перпендикулярно електролізеру 4, механізми керування з сидінням 5 для оператора і механізмами для замикання і розмикання автоматичного захвату.
Робочий орган 3 змонтований на каретці 6 і пересувається разом з нею, наприклад, за допомогою роликів по опорно-направляючому пристрою 7, перпендикулярно електролізеру 4.
Каретка б кінематично сполучена з механізмом подачі робочого органа 3 - пневмоциліндром 8, розташованого в нижньому ярусі платформи 2. Опорно-направляючий пристрій 7 закріплений у передній частині платформи 2 за допомогою горизонтального шарніра 9 і фіксується щодо платформи 2 за допомогою тяги 10, сполученої з механізмом підйому робочого органа 3 - пневмоциліндром 11.
Пневмоцилиндри 8 та 11 призначені для настроювання робочого органу 3 у вертикальній площині і перпендикулярно злектролизеру 4.
Робочий орган 3 містить корпус, що виконаний у вигляді циліндра високого тиску з поршнем усередині, що утворює дві порожнини: пневматичну 12 і гідравлічну 13. Поршень з боку пневмопорожнини 12 механічно сполучений з упором 14, який проходить через корпус, де закріплений захват 15, а гідропорожнина 13 че рез гідромагістраль 16 підключена до гідровузла 17 машини.
Захват 15 виконаний у вигляді двох горизонтальних такі сполучених поперечною брущатою платформою (на мал. не показані) .
Пневмогідропривід машини містить гідровузол 17, що включа плунжерний насос 18 подвійної дії і розподільник 19, пневмогідроперетворювач 20, механізми переміщення машини та робочого органу, а також органи керування, які мають систему гнучких жорстких магістралей.
Насос 18 виконаний з двох гідравлічних порожнин, де кожний має розміщений в собі плунжер і пневматичної частини з золотником, що включає в роботу ту або іншу гідропорожнин насоса 18.
Насос 18 призначений для створення тиску на його виходах
у з'єднуючих трубках 21 і передає тиск через розподільник 19 по
гідромагістрали 16 робочому органу 3. Гідровузол 17 розташований у нижньому ярусі платформи 24.
Пневмогідроперетворювач 2 0 виконаний у вигляді циліндра, внутрішня порожнина якого, за допомогою поршня 22 розділена ш пневматичну 23 і гідравлічну 24.
Порожнина 23, як і порожнина 12 робочого органу 3, сполучена через кран керування 25 робочим органом 3 з джерелом тиску, що надходить від заводської пневмосіті, через теплообміню-вач 26. Теплообмінювач 2 6 призначений для обігріву стиснутогс повітря, що потрапляє в систему холодної пори року і виглядає, наприклад, як радіатор куди покладено розпеченого стрижня.
Гідравлічна порожнина 24 пневмогідроперетворювача
20 спо
лучена з насосом 18 через
розподільник 19.
Розподільник 19 включає до себе зворотний клапану що керується 27 і блок з чотирьох зворотних клапанів 28, що сполучені за допомогою гідромагістралей 2 9 з гідропорожниною 2 4 пневмогідроперетворювача 2 0 і гідропорожниною 13 робочого органа 3, а за допомогою з'єднуючих трубок 21 розподільник 19 з'єднаний з гідропорожнинами насоса 18. Магістралі 16 і 29 при подачі тиску до робочого органу 3 діють як напорні, а при поверненні робочого органу у вихідне становище, як усмоктувальні. Зворотний клапан, що керується, 27 і пневматична частина насоса 18 через кран 25 підключені до джерела повітряного тиску від заводської магістралі.
Пневмодвигун ЗО є механізмом переміщення машини, а пнев-модвигун 31 є механізмом повороту платформи 2.Вони можуть бути, наприклад, типу ПІ2-12.
Органи керування складаються з керма 32, що пов'язане з шасі 1 за допомогою, наприклад, вала і ланцюгової передачі, правого 33 і лівого 34 педальних золотників, золотників подачі 35 і підйому 3 6 каретки б, сполучених за допомогою магістралей з відповідними механізмами подачі - пневмоциліндром 8 і підйому - пневмоциліндром 11; крана автоматичного захвату 37 сполученого з пневмоциліндром захвату 38, що через шток 3 9 та систему тяг з'єднується з захватом 15, і крана керування 25 робочим органом 3.
Кран 2 5 розташований на вході подачі тиску повітря від заводської магістралі послідовно за теплообмінювачем 26. Через кран 25, за допомогою пневматичних магістралей 4 0, джерело повітряного тиску від заводської магістралі підключено до розподільника 19, пневмопорожнини 12 робочого органу 3, пневмопорожнини 23 пневмогідроперетворювача 20,. насоса 18.
Пневмогідроперетворювач 20, механізм повороту платформи -пневмодвигун 31, органи керування і сидіння для оператора 5 розташовані у верхньому ярусі платформи 2, до того ж робочий орган 3 і сидіння для оператора 5 розміщені на одній лінії перпендикулярно електролізеру 4.
Машина працює таким чином. Машину підключають через гнучкий шланг до заводської магістралі стиснутого повітря. Оператор, що розташований на робочому місці (сидінні 5), натискає на лівий педальний золотник 34, завдяки чому стиснуте повітря подається через теплообмінювач 2 6 до пневмодвигуна 3 0, що приводить до пересування машини. Користуючись кермом 32, оператор встановлює машину на потрібне місце. Внаслідок впливу на правий педальний золотник 33, здійснюють подачу повітряного тиску в пневмодвигун 31, що приводить до повороту платформи 2 так, щоб опорно-направляючий пристрій 7 з кареткою 6 і закріпленим на ній робочим органом 3 був розміщений біля електролізера 4.
Золотником підйому 3 6 опорно-направляючого пристрою 7, що сполучений з платформою 2 завдяки горизонтальному шарніру 9 і закріпленому на ній за допомогою тяги 10 і пневмоциліндра 11, настроюють робочий орган 3 у вертикальній площині. Потім, керуючи золотником подачі 35 каретки 6, за допомогою пневмоциліндра 8 висувають робочий орган 3 доти, доки захват 15 не розташується на головці штиря 41.
Внаслідок керування краном автоматичного захвату 37, що з'єднаний за допомогою магістралей з пневмоциліндром захвату 38, Захоплюють штир 41.
Далі оператор, повертаючи кран керування 25, подає стисну-те повітря (під тиском ж 5 кгс/см2). У пневматичну порожнину 23 пневмогідроперетворювача 20. Зусилля, що виникає пересуває поршень 22 пневмогідроперетворювача 20 у бік гідравлічної порожнини 24, звідкіля масло по магістралях 2 9 надходить у розподільник 19, відкриває два зворотних клапана 28, заповнює гідравлічну частину гідровузла 17, відкриває зворотний клапан, що керується 27 і через магістраль 16 надходить у гідравлічну порожнину 13 циліндра робочого органа 3. Внаслідок цього упор висувається на холостім ходу до його торкання з електролізером 4.
Потім довертають кран 25, і стиснуте повітря потрапляє, крім порожнини 2 3 пневмогідроперетворювача 20, у пневматичну частину насоса 18, що включає його.
У залежності від положення золотника насоса 18 створюється робочий тиск в одній з гілок 21 гідровузла 17.Внаслідок цього, масло під робочим тиском проходить по відповідній з'єднуючий трубці 21, закриває два зворотних клапана 2 8 і зворотний кла-панд/ що керується 27, відчиняє один (той що не діє) зворотний клапан 2 8 розподільника 19. Масло по магістралі 16 надходить у гідропорожнину 13 робочого органу 3. Після виштовхування порції масла з функціонуючої гілки 21 гідровузла 17, відбувається переключення золотника насоса 18, що призводить до початку роботи іншої гілки гідровузла 17 і повторення циклу, що приведений вище . Одночасно відбувається усмоктування масла з гідравлічної порожнини 24 пневмогідроперетворювача 20 через магістраль 29 у непрацюючу гілку 21 гідровузла 17. При цьому, масло відчиняє четвертий (той, що не діє) зворотний клапан 28 розподільника 19, що функціонує одночасно з іншими.
Цикли, що приведені вище, повторюються доти, доки робочий орган 3 не створить зусилля на упорі 14, яке необхідне для виймання штиря 41.
Для повернення робочого органу 3 у вихідне становище, оператор повертає ручку крана 2 5 у другий бік, що приводить до подачі стиснутого повітря в повітряну порожнину 12 робочого органу 3 і на зворотний клапан, що керується 27, відкриваючи його. Одночасно припиняється подача стиснутого повітря в порожнину 2 7 пневмогідроперетворювача 20 і в повітряну частину насоса 18, що призводить до його відключення. Зусилля, що утворюється в пневматичній порожнині 12 робочого органу 3, виштовхує масло з гідравлічної порожнини 13 по магістралі 16 через відкритий зворотний клапан, що керується 27 і магістраль 2 9 у порожнину 2 4 пневмогідроперетворювача 20, що приводить до повернення упора 14 робочого органу 3 у вихідне становище.
Після цього, машину встановлюють навпроти іншого штиря 41, що підлягає вийманню, і операція повторюється.
Заступник начальника КП ХКБМ Л.Г.Луценко
4.4 Формула корисної моделі
Формула винаходу
1.Машина для виймання анодних штирів алюмінієвого електролізера, що містить самохідне шасі, поворотну платформу, де розміщені робочий орган із захватом, закріплений на опорно-направляючому пристрої, пневмопривід, гідровузол, що складається з насоса і клапанного розподільника, механізм повороту платформи і механізми подачі і підйому робочого органу, гідравлічні і пневматичні магістралі і сидіння для оператора, до того ж насос через клапанний розподільник сполучений з робочим органом, яка відрізняється тим, що машина обладнана пневмогідро-перетворювачем, а клапанний розподільник – зворотним клапаном, що керується, до того ж пневмогідроперетворювач через клапанний розподільник підключений до насоса.
2.Машина за п.1, яка відрізняється тим, що пневмогідро перетворювач виконаний як циліндр, внутрішня порожнина якого за допомогою поршня розділена на пневматичну і гідравлічну.
3. Машина за одним з п.1, 2, яка відрізняється тим, що насос виконаний плунжерним з двох гідравлічних порожнин і пневматичної частини.
4. Машина за одним з п.1, 3, яка відрізняється тим, що клапанний розподільник виконаний з чотирьох зворотних клапанів і зворотного клапану, що керується, до того ж два зворотних клапана і зворотний клапан, що керується, встановлені з можливістю пере пуску рідини в лінії пневмогідроперетворювач - клапанний розподільник - гідравлічні порожнини насоса і робочий орган, а два інших зворотних клапана встановлені з можливістю перепуску рі дини, по черзі, у лінії гідравлічна порожнина насоса - клапанний розподільник - робочий орган, з одночасним перепуском ріди ни в лінії пневмогідроперетворювач - гідравлічна порожнина насоса ..
5. Машина за одним з п. 1, 4 яка відрізняється тим, що механізм подачі робочого органу, гідровузол, механізм повороту платформи, пневмогідроперетворювач і сидіння для оператора встановлені один над другим.
6. Машина за одним з п.1,5 яка відрізняється тим, що робочий орган і сидіння для оператора розміщені на одній лінії.
Заступник начальника
КП ХКБМ Л.Г. Луценко
4.5 Креслення
Машина для виймання анодних штирів алюмінієвого електролізера

Фіг. 1
Фіг. 2
Машина для виймання анодних штирів алюмінієвого електролізера

Фіг. 3

Фіг. 4
4.6 Реферат
Реферат
1. Об'єкт винаходу. Машина для виймання анодних штирів алюмінієвого електролізера.
2. Галузь застосування. Винахід належить до області електрометалургії, зокрема до устроїв для виймання анодних штирів з електролізних ванн з боковим підводом струму.
Сутність винаходу. Машина, що містить самохідне шасі, поворотну платформу, де розміщені робочий орган з захватом, який закріплений на опорно-направляючому пристрою, пневмопривід, гідровузол, що складається з плунжерного насосу, який має дві гідравлічні порожнини і пневматичну частину та клапанного розподільника, який включає до себе чотири зворотних клапана та клапан, що керується, пневмогідроперетворювач, механізм повороту платформи, механізми подачі і підйому робочого органу, гідравлічні та пневматичні магістралі, сидіння для оператора. Пневмогідроперетворювач виконаний як циліндр, де внутрішня порожнина за допомогою поршня розділена на пневматичну і гідравлічну, до того ж два зворотних клапана і зворотний клапан, що керується, встановлені з можливістю перепуску рідини в лінії пневмогідро перетворювач—клапанний розподільник—гідравлічні порожнини насосу і робочий орган, а два інших зворотних клапана встановлені з можливістю перепуску рідини, по черзі, в лінії гідравлічна порожнина насосу— клапанний розподільник—робочий орган, з одночасним перепуском рідини в лінії пневмогідроперетворювач—гідравлічна порожнина насосу. Крім того, механізм подачі робочого органа, гідровузол, механізм повороту платформи, пневмогідроперетворювач і сидіння для оператора встановлені один над другим, а робочий орган і сидіння для оператора розміщені на одній лінії.
5. РОЗРОБКА ДОКУМЕНТІВ ЗАЯВКИ НА ПРОМИСЛОВИЙ ЗРАЗОК
5.1 Вимоги щодо документів заявки на промисловий зразок
Загальні вимоги до змісту документів заявки
- Заявку складають українською мовою;
- Документи заявки, які потребують подальшого перекладу, можуть бути подані мовою оригіналу в одному примірнику, їх переклад - також у одному примірнику.Якщо опис промислового зразка викладено іншою мовою, то для збереження дати подання його переклад повинен надійти до Укрпатенту протягом двох місяців від дати подання заявки;
- Заявка не повинна містити матеріалів, що суперечать публічному порядку, принципам гуманності і моралі, зневажливих висловлювань стосовно промислових зразків та результатів діяльності інших осіб, а також відомостей і матеріалів, які вочевидь не стосуються або не є необхідними для визнання документів такими, що відповідають вимогам цих Правил;
- В описі промислового зразка і пояснювальних матеріалах до опису використовують, як правило, стандартизовані терміни і скорочення, а за їх відсутності - загальновживані в науковій і технічній літературі.
При використанні термінів і скорочень, що не є загальновживаними, необхідно пояснити їх значення при першому
вживанні в тексті.
- В описі промислового зразка необхідно зберігати єдність термінології, тобто одні й ті самі ознаки повинні називатися однаково.
5.1.2 Вимога єдності промислового зразка
- Згідно з пунктом 3 статті 11 Закону заявка повинна стосуватися одного промислового зразка і може містити його варіанти (вимога єдності).
5.13 Склад заявки
Заявка повинна містити:
-заяву про видачу патенту в одному примірнику;
-комплект зображень виробу (власне виробу чи у вигляді його макета, - або малюнка), що дають повне уявлення про зовнішній вигляд виробу у двох примірниках;
-опис промислового зразка в одному примірнику;
-креслення, схему, карту в одному примірнику.
5.1.4 Заява про видачу патенту
Заяву про видачу патенту (далі - заява) подають за встановленою формою, наведеною в додатку до цих Правил. Якщо відомості не можуть бути повністю розміщені за браком місця у відповідних графах, то їх наводять на додатковому аркуші за тією самою формою із зазначенням у відповідній графі заяви -"див. на окремому аркуші".
5.1.5 Комплект зображень виробу
- Комплект зображень виробу (власне виробу чи у вигляді його макета або малюнка) повинен давати повне уявлення про зовнішній вигляд виробу. Зокрема, комплект зображень тривимірного виробу може містити загальний вигляд виробу, вигляди спереду, зліва, справа, ззаду, зверху, знизу та зображення фрагментів виробу тощо. Для двовимірного виробу достатньо, як правило, навести одне зображення. Комплект зображень виробу з повторюваним малюнком має містити окреме зображення цього малюнка.
- Комплект зображень виробу, який може трансформуватися (розчинятися, складатися тощо), такого як холодильник, пилосос, кухонний комбайн тощо, має містити окреме зображення такого виробу у трансформованому вигляді.
- Комплект зображень набору (комплекту) виробів має містити зображення загального вигляду набору (комплекту) та зображення потрібних виглядів кожного виробу, що входить до набору (комплекту). Якщо загальний вигляд набору (комплекту) виробів технічно неможливо представити на одному зображенні, комплект зображень набору (комплекту) виробів має містити зображення фрагментів набору (комплекту), сукупність яких дає повне уявлення про загальний вигляд набору (комплекту).
- Зображення виробу, однією із суттєвих ознак якого є колір, наводяться в кольоровому виконанні. В іншому разі зображення виробу наводяться лише в чорно-білому виконанні.
- Зображення виробу мають бути чіткими і ясними. Виріб зображається повністю при рівномірному освітленні на нейтральному фоні, як правило, без сторонніх предметів. Окремі деталі виробу мають добре проглядатися не тільки на освітленому, але й на тіньовому його боці.
- Зображення виробу представляються фотографіями та/або іншими репродукціями, виконаними будь-якими засобами, зокрема засобами комп'ютерної графіки. Їх розмір має бути в межах від 30х30 мм до 160х160 мм.
- Фотографії та інші репродукції наклеюються або відтворюються безпосередньо на аркушах білого паперу формату А4. На одному аркуші паперу розміщуються не більше 25 зображень виробу.
- На кожному аркуші комплекту зображень виробу зверху зазначається назва промислового зразка. Якщо промисловий зразок стосується набору (комплекту) виробів, під назвою промислового зразка зазначається назва виробу, зображення якого представлені на аркуші.
- Під кожним зображенням виробу зазначаються номер зображення та вид вигляду ("Загальний вигляд", "Вигляд спереду" іт. ін.), назва фрагмента тощо. Номер зображення виробу складається з двох чисел, розділених крапкою. Перше число означає номер варіанта виробу, друге число - порядковий номер вигляду виробу. Наприклад, зображення першого варіанта виробу нумеруються відповідно 1.1, 1.2, 1.3 і т. ін., зображення десятого варіанта виробу нумеруються відповідно 10.1, 10.2, 10.3 і т. ін. Зображення загального вигляду виробу нумерується першим, потім інші вигляди. Зображення загального вигляду набору (комплекту) виробів або його фрагментів нумеруються в порядку, установленому цим пунктом для нумерації зображень виробу.
5.1.6 Опис промислового зразка
Опис містить такі розділи:
- назва промислового зразка;
- прізвище, ініціали автора промислового зразка;
- призначення та галузь застосування промислового зразка;
- перелік зображень, креслень та схем, схем та карт;
Назва промислового зразка повинна характеризувати його призначення, відображати його суть і, за можливості, відповідати певній рубриці МКПЗ. Назва промислового зразка маловідомого або нового призначення повинна містити посилання на галузь його застосування, наприклад: "Машина для виймання анодних штирів алюмінієвого електролізера". Якщо промисловий зразок має варіанти виконання відповідно до пункту 3.4 цих Правил, то після назви в дужках указують кількість варіантів. Зокрема, якщо колір є суттєвою ознакою виробу, то варіантами виконання такого виробу можуть бути варіанти його виконання у різних кольорах, наприклад: "Чайний сервіз (три варіанти)".
Розділ "Призначення та галузь застосування промислового зразка" доцільно починати словами: "Заявляється зовнішній вигляд виробу, призначеного для ...". Далі за текстом розкривається, в якій галузі промисловості або іншій сфері діяльності буде використовуватись заявлений виріб із зазначенням його функціонального призначення. За потреби, у цьому ж розділі вказуються об'єкти (системи), з якими використовується виріб.
5.1.7 Креслення, схеми, карти
- Креслення, схеми та карти включаються до складу заявки в разі потреби пояснення суті промислового зразка, визначення габаритів та співвідношень розмірів загального вигляду виробу чи його елементів, пояснення ергономічних особливостей зовнішнього вигляду виробу тощо.
- Креслення, схеми та карти мають бути пояснені в описі промислового зразка та відповідати зображенням виробу.
- Креслення та схеми позначаються словом "Рисунок" з відповідним тексту опису наскрізним номером, а саме: "Рисунок 1", "Рисунок 2" тощо. На кожному аркуші креслень та схем зазначається назва промислового зразка.
- Креслення та схеми виконуються відповідно до правил креслення на щільному, білому, гладкому папері чіткими чорними лініями і штрихами, які не витираються, без розтушовування і розмальовування.
- Конфекційна карта виробу (зразок тканини, шкіри, фурнітури, обробки тощо, що рекомендується для виготовлення виробу) представляється, якщо промисловий зразок стосується виробу легкої та текстильної промисловості. Конфекційна карта виробу з повторюваним малюнком (килими, тканини тощо) представляється в розмірі цього малюнка.
5.3 Опис
Машина для виймання анодних штирів алюмінієвого електролізера
Автори: Лізунов К. М.
Журавльов С. В.
Липовець В. В.
Косолапенко В. О.
Гращенков Г. П.
Заявляється зовнішній вигляд виробу, призначенного для використання в електрометалургії, зокрема для виймання анодних штирів алюмінієвого електролізера при виробництві первинного алюмінію.
Суть промислового зразка, що заявляється, відобрадена на зображеннях і кресленнях.
Зображення 1 – загальний вигляд;
Зображення 2 – вигляд ззаду;
Зображення 3 – вигляд спереду;
Зображення 4 – вигляд зправа;
Зображення 5 – вигляд зліва;
Зображення 6 – зверху;
Фіг. 1 – креслення.
Машина для виймання анодних штирів алюмінієвого електролізера являє собою розвинену об ємно-просторову композицію, основними формоутворюючими елементами якої є шасі 1, поворотна колонка 10, робочий орган 3, сиденья 4.
Основою шасі 1 є лита рама складної форми з прямокутною передньою частиною, на якій установлені рама 18, пневмодвигун 17, ведучий міст 16, керуємий міст 15.
Поворотна колонка 10 установлена на стійці в середній частині рами і являє собою зварену конструкцію. В нижній частині колонки 10 закріплений циліндричний робочий орган3.
Напрямні 19 робочого органу 3 також являють собою зварену конструкцію, мають прямокутну форму, з’єднані з пневмоциліндром під’йому напрямних 5, на якому знаходиться кран керування автоматичним захватом 6 і золотник під’йому напрямної 20. Між напрямними розташований робочий орган.
Знизу робочого органу 3 знаходиться автоматичний захват 1. Над робочим органом 3 знаходитьсяпневмоциліндр автоматичного захвату 2.
Зверху на поворотній колонці 10 встановлене кермо 7, в основі якого знаходиться масленка 21. Інші органи керування розміщені ліворуч кран керування роботою ізвликачем 8 розміщені ліворуч і праворуч від керма
Сидіння 12 для оператора має м’яку горизонтальну основу в формі квадрата з заокругленними кутами, яка розміщена на вертикальних стійках, закріплених на спільній з поворотною колонкою 10 підлозі. Рішення зовнішнього вигляду машини характеризується функціональною пристосованістю, інформаційною виразністю, симетричним конпонуванням, є врівноваженим і доцільним.
На лівій бічній поверхні поворотної колонки 10 угорі розташована табличка, на якій зображений знак для товарів і послуг підприємства – виробника, тип машини, дата випуску і т.п.
Колір не є суттєвою ознакою промислового зразка, що заявляється.
Заступник начальника Л.Г. Луценко
КП ХКБМ
5.4 Креслення

Фіг. 1
6. РОЗРОБКА СХЕМИ ДАНИХ ЩОДО ПІДТРИМКИ ПОШУКУ ПАТЕНТНОЇ ДОКУМЕНТАЦІЇ ТА НАУКОВО – ТЕХНІЧНОЇ ІНФОРМАЦІЇ
6.1 Концептуальна схема бази даних
База даних для роботи з заявкоюскладається з 8 таблиць. На рис. 6.1 показана концептуальна схема бази даних
Рисунок 6.1 –
Концептуальна схема бази даних
Реалізація даного проекту була проведена без залучення могутніх засобів роботи з базами даних, які дуже громіздкі, тому що носять універсальний характер і розраховані на зберігання і обробку великих і надвеликих об'ємів інформації. Для реалізації проекту бази даних була вибрана СУБД Microsoft Access.
Система управління базами даних надає можливість контролювати задання структури і опис своїх даних, роботу з ними і організацію колективного користування цією інформацією. СУБД також істотно збільшує можливості і полегшує каталогізацію і ведення великих об'ємів що зберігається в численних таблицях інформації. СУБД включає три основні типи функцій: визначення (задання структури і опис) даних, обробка даних і управління даними. Всі ці функціональні можливості повною мірою реалізовані в Microsoft Access. В практиці, як правило, необхідно вирішувати і задачі з використанням електронних таблиць і текстових процесорів. Наприклад, після підрахунку або аналізу даних необхідно їх відрекомендувати у вигляді певної форми або шаблони. У результаті користувачу доводиться комбінувати програмні продукти для отримання необхідного результату. В цьому значенні все істотно спростять можливості, надані Microsoft Access.
Microsoft Access - це функціонально повна реляційна СУБД. В ній передбачені всі необхідні засоби для визначення і обробки даних, а також для управління ними при роботі з великими об'ємами інформації. Що стосується легкості використовування, то Microsoft Access вчинив тут справжній переворот, і багато хто для створення своїх власних баз даних і додатків звертається саме до нього.
Фізична структура бази даних розроблялася вже з урахуванням синтаксису СУБД Microsoft Access, результат фізичного проектування зведений в наступних табл.. 6.1 – 6.8.
Таблиця 6.1 – Заява
|
№ |
Назва столбца |
Тип даних |
Ключ |
|
1 |
2 |
3 |
4 |
|
1 |
Заява_id |
Числовий |
РК |
|
2 |
МПК_id |
Числовий |
FK |
|
3 |
Дата_подання |
Дата/час |
|
|
4 |
Пріоритет |
Дата/час |
|
|
5 |
Назва |
Текстовий (50) |
|
|
6 |
опис |
Текстовий (50) |
|
|
7 |
формула |
Текстовий (50) |
|
|
8 |
креслення |
Текстовий (50) |
|
|
9 |
реферат |
Текстовий (50) |
|
|
10 |
документ сплати збору |
Логічний |
|
|
11 |
документ_депонування |
Логічний |
Прдовдення Таблиці 6.1
|
1 |
2 |
3 |
4 |
|
12 |
копія попередньої заявки |
Текстовий (50) |
|
|
1 |
2 |
3 |
4 |
|
13 |
переклад заявки |
Текстовий (50) |
|
|
14 |
документ_ПП |
Текстовий (50) |
|
|
15 |
інші документи |
Текстовий (50) |
|
|
16 |
міжнародний звіт пошуку |
Текстовий (50) |
Таблиця 6.2 – Автори
|
№ |
Назва столбца |
Тип даних |
Ключ |
|
1 |
2 |
3 |
4 |
|
1 |
Автори_id |
Текстовий (50) |
РК |
|
2 |
Особа_id |
Числовий |
FK |
|
3 |
Заява_id |
Числовий |
FK |
Таблиця 6.3 – Заявник
|
№ |
Назва столбца |
Тип даних |
Ключ |
|
1 |
2 |
3 |
4 |
|
1 |
Заявник_id |
Текстовий (50) |
|
|
2 |
Заява_id |
Числовий |
РК |
|
3 |
Особа_id |
Текстовий (50) |
FK |
|
4 |
ЄДРПОУ |
Числовий |
Таблиця 6.4 – Країна
|
№ |
Назва столбца |
Тип даних |
Ключ |
|
1 |
2 |
3 |
4 |
|
1 |
Країна_id |
Числовий |
РК |
|
2 |
Назва |
Текстовий (50) |
|
|
3 |
Код |
Числовий |
Таблиця 6.5 – Особа
|
№ |
Назва столбца |
Тип даних |
Ключ |
|
1 |
2 |
3 |
4 |
|
1 |
2 |
3 |
4 |
|
1 |
Особа_id |
Текстовий (50) |
РК |
|
2 |
Ім´я |
Текстовий (50) |
|
|
3 |
Тип |
Логічний |
|
|
4 |
Країна_id |
Числовий |
FK |
|
5 |
Місто_id |
Числовий |
FK |
|
6 |
Адреса |
Текстовий (50) |
|
|
7 |
Телефон |
Числовий |
|
|
8 |
Факс |
Числовий |
|
|
9 |
E_mail |
Текстовий (50) |
Таблиця 6.6 – Місто
|
№ |
Назва столбца |
Тип даних |
Ключ |
|
1 |
2 |
3 |
4 |
|
1 |
Місто_id |
Числовий |
РК |
|
2 |
Місто |
Текстовий (50) |
Таблиця 6.7 – МПК
|
№ |
Назва столбца |
Тип даних |
Ключ |
|
1 |
2 |
3 |
4 |
|
1 |
МПК_id |
Текстовий (50) |
РК |
|
2 |
МПК_код |
Текстовий (50) |
Таблиця 6.8 – Патентний повірений
|
№ |
Назва столбца |
Тип даних |
Ключ |
|
1 |
2 |
3 |
4 |
|
1 |
ПП_id |
Текстовий (50) |
Продовження Таблиці 6.8
|
1 |
2 |
3 |
4 |
|
2 |
Особа_id |
Текстовий (50) |
FK |
|
3 |
Заява_id |
Числовий |
РК |
|
4 |
№Гос_регістрації |
Числовий |
Графічний інтерфейс користувача реалізований з використанням форм Microsoft Access. Форми - це об'єкти, в які розташовуються інші об'єкти для створення призначеного для користувача інтерфейсу будь-якого додатку. Модулі складаються з коду, який реалізує функціонування додатку, обробники подій для форм і їх компонент.
В програмі присутні 2 форми, «Пошук», і «Бібліографічні дані», що наведені на рис. 6.2

Рисунок 6.2 – Форма «Бібліографічні дані»
Форма «Пошук», містить поля (критерії), за якими оператор виконує пошук потрібних йому заявок. Форма «Пошук» показана на рисунку 6.3

Рисунок 6.3 – Форма «Пошук»
Були створені запити, за якими оператор веде пошук потрібних йому заявок:
- Знайти заявку за “датою подачі”
- Знайти заявку за “датою публікації”
- Знайти заявку за “номером публікації”
- Знайти заявку за “регістраційним номером”
- Знайти заявку за “назвою”
- Знайти заявку за “МПК”
6.2 Опис функціональності програмного приложення
6.2.1 Діаграма варіантів використання
Для опису функціональних можливостей даного програмного забезпечення використовується діаграма варіантів використання (діаграма прецедентів) мови UML і текстовий опис прецедентів. Діаграма варіантів використання, що представлена на мал. 6.4, показує взаємодію оператора із системою у процесі перегляду заявок на корисну модель.

Рисунок 6.4 – Діаграма варіантів використання
Дана діаграма є вихідним концептуальним представленням або концептуальною моделлю системи в процесі просмотру заявок на корисну модель.
6.2.2 Опис прецедентів
6.2.2.1 Потік подій для прецеденту «Введення інформації»
1. Передумова. Оператор вибрав режим «Введення інформації»
2.Головний потік. Система відображає діалогове вікно, що містить меню для вибору режиму роботи оператора – добавлення інформації, редактування (правка) інформації, видалення інформації. Оператор дає запит на потрібну йому дію. Система відкриває потрібний операторові запит. Оператор виконує потрібні йому дії. Після закінчення роботи оператор дає запит на закінчення роботи. Система зберігає нову інформацію. Прецедент завершується.
2.1 Подпотік “Додання інформації о заявке”.
Система відображає діалогове вікно, що містить запит “Додання інформації о заявке” та “Вихід”. Оператор дає запит на потрібну йому дію. Система відкриває потрібний операторові запит. Оператор виконує потрібні йомудії. Після закінчення роботи оператор дає запит на закінчення роботи. Система зберігає нову інформацію. Прецедент завершується.
2.2 Подпотік “Правка інформації”.
Система відображає діалогове вікно, що містить запит “Правка інформації” та “Вихід”. Оператор дає запит на потрібну йому дію. Система відкриває потрібний операторові запит. Оператор виконує потрібні йомудії. Після закінчення роботи оператор дає запит на закінчення роботи. Система зберігає нову інформацію. Прецедент завершується.
2.2 Подпотік “Видалення інформації о заявке”.
Система відображає діалогове вікно, що містить запит “Видалення інформації о заявке” та “Вихід”. Оператор дає запит на потрібну йому дію. Система відкриває потрібний операторові запит. Оператор виконує потрібні йомудії. Після закінчення роботи оператор дає запит на закінчення роботи. Система зберігає нову інформацію. Прецедент завершується.
6.2.2.2 Потік подій для прецеденту «Перегляд інформації»
1.Передумова. Оператор вибрав режим « Перегляд інформації ».
2.Головний потік. Система відображає діалогове вікно, що містить меню вибору. Користувач вибирає необхідний фільтр. Система фільтрує зображення і надає користувачу. При необхідності користувач запитує інший фільтр. Після закінчення роботи користувач дає запит на закінчення роботи з зображенням. Система зберігає зображення. Прецедент завершується.
6.2.2.3 Потік подій для прецеденту «Друк»
1.Передумова. Оператор вибрав режим «Друк».
2.Головний потік. Користувач дає запит на друк заявки на корисну модель. Система видає оператору параметри друку і запитує дію. Оператор вибирає необхідні параметри. Система роздруковує інформацію о заявке. Оператор дає запит на закінчення роботи. Прецедент завершується.
6.3 Рекомендації до розробки бази даних
Основні відомості
Додаток Microsoft Access 97/2000 (далі Access) є потужною й високопродуктивною 32-розрядною системою керування реляционной базою даних (далі СУБД).
Системні вимоги пропоновані СУБД Access
Intel 486DX2 – 66 +
Windows 98/2000/XP або Windows NT (версія не нижче 4.51)
Не меньш 64 Мб оперативної пам'яті (для спільної роботи з іншими додатками не менш 128 Мб)
Близько 300 Мб дискового простору (тільки для Access і нових баз даних).
СУБД розробляються з метою забезпечення ефективної обробки більших обсягів інформації.
СУБД може легко зв'язувати будь-яка кількість таблиць так, що для користувача вони будуть представлятися однією таблицею. Реалізувати таку можливість в електронних таблицях практично неможливо.
СУБД мінімізують загальний обсяг бази даних. Для цього таблиці, що містять повторювані дані, розбиваються на кілька зв'язаних таблиць.
Як реляційна СУБД Access забезпечує доступ до всіх типів даних і дозволяє одночасно використати кілька таблиць бази даних. Працюючи в середовищі Microsoft Office, користувач одержує у своє розпорядження повністю сумісні з Access текстові документи (Word), електронні таблиці (Excel), презентації (PowerPoint). За допомогою нових розширень для Internet можна прямо взаємодіяти з даними з World Wide Web і транслювати подання даних мовою HTML, забезпечуючи роботу з такими додатками як Internet Explorer і Netscape Navigator.
Access спеціально спроектований для створення многопользовательских додатків, де файли бази даних є поділюваними ресурсами в мережі. База даних зберігатися в одному файлі, але професійні користувачі воліють розділяти базу даних на два файли: в одному зберігаються об'єкти даних (таблиці, запити), в іншому об'єкти додатка (форми, звіти, макроси, модулі).
В Access реалізована надійна система захисту від несанкціонованого доступу до файлів.
Висновки по розділу
У даному розділі дипломної роботи був розроблен проект бази даних для документів заявки. Функціональні можливості проекту представлені у виді діаграми варіантів використання із описом прецедентів, що демонструє взаємодію оператора із системою в процесі роботи з інформацією про заявки. Архітектурна частина представлена у виді таблиць, що ілюструють загальну архітектурну схему проекту бази даних для роботи з інформацією про заявках.
Запропонована модель повинна бути уточнена на етапі проектування.
7. ВИЗНАЧЕННЯ РОЗМІРУ ВИНАГОРОДИ АВТОРАМ ЗА СТВОРЕННЯ І ВИКОРИСТАННЯ КОРИСНОЇ МОДЕЛІ
Нормативне регулювання виплати авторської винагороди
Виплата винагороди авторам об’єктів промислової власності проводиться відповідно до Закону України “Про охорону прав на винаходи та корисні моделі”, “Тимчасового положення про охорону об´єктів промислової власності та раціоналізаторських пропозицій в Україні” №479/92, а також відповідно з “Медодичними рекомендаціями по виплаті винагороди авторам об´єктів промислової власності”, ухваленими Методичною радою Держпатента України 07.08.1997р.
Згідно з пунктом 1 статті 9 Закону України “Про охорону прав на винаходи та корисні моделі” роботодавець використовує право на отримання патенту на об´єкт промислової власності (ОПВ), а його автори – на отримання винагороди. Розмір і порядок виплати винагороди за використання ОПВ визначаються умовами письмового договору між роботодавцем та авторами.
У разі, якщо автором використованого ОПВ є особа, яка не знаходиться у трудових відносинах з роботодавцем (керівник підприємства, особи, які пішли на пенсію, звільнені згідно з зкороченням штату і т.п., а також особи, які не є працівниками на період створення ОПС) стосунки між авторами та патентовласниками, використавшими ОПВ, регулюються договором про винагороду за використання ОПВ. (п. 54 “Тимчасового положення про охорону об´єктів промислової власності та раціоналізаторських пропозиціях в Україні” №479/92)
Розмір авторської винагороди за використання ОПВ визначаються умовами Договору між автором і роботодавцем.
Розрахунок прибутку від використання ОПВ і/або собівартості продукції проводиться планово – економічною службою підприємства згідно методичним рекомендаціям Держпатенту України “Визначення прибутку від використання об´єктів промислової власності”.
Порядок виплати винагороди також визначається умовами Договору між авторами і роботодавцем, але винагорода сплачується не пізніше 3-х місяців після закінчення кожного року, в якому використовувався ОПВ і не пізніше 3-х місяців після отримання виручки від продажу ліцензії протягом строку дії патенту.
Дата початку використання ОПВ і технічний об’єкт, в якому він використан, визначається “Актом про використання об’єкту промислової власності” за типовою формою №ІВ – 6.
В КП ХКБМ діє Положення про порядок виплати винагороди за створення та використання ОПВ, згідно якому для виплати авторської винагороди за використання ОПВ повинні бути представлені наступні документи:
Патент (свідоцтво);
Акт технічної та патентно – правової експертизи на відповідність використання технічного рішення формулі винаходу (корисної моделі);
Акт за типовою формою №ІВ – 6;
Договір між автором та роботодавцем про винагороду;
Розрахунок собівартості ОПВ, прибутку, виручки від використання у власному виробництві, або від продажу ліцензії на використання ОПВ, засвідчений керівником планово – економічної служби;
договір співавторів про вклад у створення об’єкта права інтелектуальної власності (ОПІВ) та розподіл винагороди.
7.1.1 Визначення прибутку, одержуваного від використання корисної моделі „Машина для виймання анодних штирів алюмінієвого електролізера”
Корисна модель, яка розглядається, використовується у власному виробництві. Виготовляється продукція згідно з положенням підприємства та договіром між авторами та підприємством.
Згідно “Медодичними рекомендаціями по виплаті винагороди авторам об´єктів промислової власності”, ухваленими Методичною радою Держпатента України 07.08.1997р. пибуток від реалізації продукції – це різниця між виручкою від реалізації продукції в діючих цінах без податку на додану вартість та витратами на її виробництво та реалізацію;
П = Д В, (7.1)
де Д – виручка від реалізації продукції, робіт, послуг (далі – продукція) без ПДВ, гривень;
В – витрати підприємства на виготовлення і реалізацію продукції, гривень.
Виручка від реалізації продукції (далі – доход) визначається за наступною формулою
Д = Ц А, (7.2)
де Ц – ціна одиниці продукції, гривень;
А – обсяг реалізації, натуральних одиниць.
Таблиця 7.1 – Калькуляція вартості на виготовлення одиниці продукції (машини для виймання анодних штирів алюмінієвого електролізера)
|
№ п/п |
Найменування статей витрат |
Усього грн. |
|
1 |
2 |
3 |
|
1 |
Матеріали |
3345,55 |
|
2 |
Спецобладнання для виконання робіт |
---- |
|
3 |
Основні витрати на оплату праці |
1350,60 |
|
4 |
Додаткові витрати на оплату праці |
472,71 |
|
5 |
Відрахування на соцстрах. (37,5% до 3+4) |
683,74 |
|
6 |
Витрати по роботах, виконані сторонніми організаціями |
---- |
|
7 |
Витрати на відрядження |
---- |
|
8 |
Накладні витрати |
3376,50 |
|
9 |
Собівартість |
9229,10 |
|
10 |
Ціна одиниці продукції без урахування ПДВ |
10150,00 |
На підприємстві було виготовлено 17 одиниці продукції корисної моделі. Ціна одиниці продукції дорювнює 10150 грн. Таким чином виручка від реалізації продукції складає:
Д = 10150 17=172550 (грн.)
Витрати підприємства на виготовлення і реалізацію одиниці продукції дорівнюють 9229,10 гривень, отже витрати на 17 одиниць продукції дорівнює 156894,7 гривень.
Таким чином прибуток від реалізації продукції буде:
П = 172550 156894,7 = 15655,3 (грн.)
Таким чином чистий (ЧП) прибуток буде складати:
ЧП=(172550 156894,7) 0,75=11741,475 (грн.)
Розрахунок винагороди за створення та використання корисної моделі
Сума винагороди складає 7 % згідно Договору між авторами і роботодавцем про передання права на одержання патенту на корисну модель, створену у зв’язку з виконанням трудового договору (Додаток Г) від чистого прибутку, отриманого від використання корисної моделі в одиниці продукції, визначеного згідно з Положенням про порядок виплати авторської винагороди за створення та використання ОПІВ. Авторський колектив, який розробляв корисну модель нараховує 5 авторів. Згідно Договору між співавторами про вклад у створення об'єкта права інтелектуальної власності та розподіл винагороди (Додаток Д) розмір творчого вкладу у створення корисної моделі відображен у табл. 7.2 – “Про авторський вклад у створення винаходу”
Таблиця 7.2 – Про авторський вклад у створення винаходу
|
Автори |
Внесок у створення винаходу |
|
1 |
2 |
|
Лізунов К.М |
20 % |
Журавльов С |
20 % |
|
Липовець В.В. |
20 % |
|
Косолапенко В.О |
20 % |
|
Гращенков Г.П |
20 % |
Отже, прибутки, отримані від продажу корисної моделі рахуються наступним чином:
Як вже було зазначено вище винагорода за створення та використання складає 7 % від чистого прибутку, тобто 821,90 гривень. Суму винагороди кожному автору буде розраховано виходячи з їх внеску у створення корисної моделі. Результати розрахунків буде внесено у табл. 7.3. – “Виплата авторської винагороди” , яка буде приведена нижче.
При розрахунку суми авторської винагороди, яку отримають автори необхідно враховувати той факт, що законодавством України передбачене оподаткування доходів, які були отримані фізичними особами, що складає 13 відсотків від суми отриманих доходів.
Дані по виплаті винагороди і нарахованому податку буде приведено в таблиці.
Таблиця 7.3 – Виплата авторської винагороди
|
Автори |
Внесок у створення винаходу |
Сума винагороди, грн |
Податок, грн |
Сума к виплаті, грн |
|
Лізунов К.М |
20 % |
6589,58 |
856,65 |
5732,93 |
|
Журавльов С |
20 % |
6589,58 |
856,65 |
5732,93 |
|
Липовець В.В. |
20 % |
6589,58 |
856,65 |
5732,93 |
|
Косолапенко В.О |
20 % |
6589,58 |
856,65 |
5732,93 |
|
Гращенков Г.П |
20 % |
6589,58 |
856,65 |
5732,93 |
Заохочувальна винагорода
7.2.1 Нормативне регулювання виплати авторської винагороди
В цілях стимулювання винахідницької діяльності співробітників, створення охороноспроможних технічних рішень, які використовуються в розробках підприємства, підприємством передбачене одноразове заохочувальна винагорода авторам ОПВ не пізніше двох місяців після одержання охоронного документа на створений ними об’єкт, відображений у конструкторській документації.
Розмір винагороди визначається згідно Договору між авторами і Роботодавцем про передання права на одержання патенту на корисну модель, створену у зв’язку з виконанням трудового договору (Додаток Г), у залежності від вида ОПВ (винахід, корисна модель, промисловий зразок), від вида охоронного документу, а також техніко – економічної значущості ОПВ.
Згідно Положенню гл. Iv розмір единоразової заохочувальної винагороди за винахід, корисну модель визначаеться за формулою
В= З*К1*К2*К3*К4 (7.3)
Де:
З – середня місячна заробітня платня працівників за 3 попередні місяці, до отримання охоронного документу;
К1 – коефіцієнт досягнутого позитивного ефекту;
К2 – коефіціент складності рішення технічної задачи;
К3 – коефіціент новізни;
К4 – коефіцієнт значущості (вагомості).
Значення коефіцієнтів К1, К2, К3, К4 приведені в табл. 7.4 – 7.7.
Таблиця 7.4 – Коефіцієнт досягнутого позитивного ефекту К1
|
№ п/п |
Досягнутий позитивний ефект |
Значення коефіцієнту К1 |
||
|
Для винаходу |
Для винаходу без проведення кваліфікаційної експертизи і корисної моделі |
Для раціоналізаторських пропозицій |
||
|
1 |
2 |
3 |
4 |
5 |
|
1 |
Покращення другорядних технічних показників продукції (технологічного процесу) |
1,25 |
0,9 |
0,4 |
|
2 |
Покращення основних технічних показників продукції |
1,4 |
1,1 |
0,6 |
|
3 |
Досяження якісно нових основних технічних показників |
1,6 |
1,3 |
0,8 |
Продовження Таблиці 7.4
|
1 |
2 |
3 |
4 |
5 |
|
4 |
Получення нової продукції (технологічного процесу), володіючий більш високими основними технічними показників серед аналогічних відомих видов. |
2 |
1,5 |
1,0 |
Таблиця 7.5 – Коефіцієнт складності рішення технічної задачі К2
|
№ п/п |
Складності рішення технічної задачи |
Значення коефіціенту К2 |
||
|
Для винаходу |
Для винаходу без проведення кваліфікаційної експертизи і корисної моделі |
Для раціоналізаторських пропозицій |
||
|
1 |
2 |
3 |
4 |
5 |
|
1 |
Конструкція однієї простої деталі, зміна одного параметра або операції процесу |
0,9 |
0,8 |
0,2 |
|
2 |
Конструкція складної або зборочної деталі, узла, який не є основним, механізму, зміна двох чи більш параметров або операцій процесу |
1,0 |
0,9 |
0,5 |
|
3 |
Конструкція декількох узлов, які не є основними, механізмів або одного основного узла |
1,2 |
1,0 |
0,6 |
|
4 |
Конструкція декількох основних узлів |
1,4 |
1,2 |
0,7 |
Продовження Таблиці 7.5
|
1 |
2 |
3 |
4 |
5 |
|
5 |
Конструкція машини, станку, приладу, апарату |
1,6 |
1,3 |
0,8 |
|
6 |
Конструкція машини, апарату зі складною кінематикою, апараткрою контролю, з радіоелектроною схемою |
1,7 |
1,4 |
0,9 |
|
7 |
Системи керування та реагування |
1,8 |
1,5 |
1,0 |
Таблиця 7.6 – Коефіцієнт новизни К3
|
№ п/п |
Новизна |
Значення коефіцієнту К3 |
|
1 |
2 |
3 |
|
1 |
Винахід (корисна модель), яка складається в нової совокупності відомих ознак |
0,7 |
|
2 |
Винахід (корисна модель), більшість суттевих ознак якого збігається з прототипом |
0,9 |
|
3 |
Винахід (корисна модель), половини суттевих ознак якого збігається з прототипом |
1,1 |
|
4 |
Винахід (корисна модель), меншість суттевих ознак якого збігається з прототипом |
1,3 |
Таблиця 7.7 – Коефіцієнт значущості (вагомості) К4
|
№ п/п |
Степень значущості складових частин виробу, які містять винахід (корисну модель) |
Значення коефіціенту К4 |
|
1 |
2 |
3 |
|
1 |
Другорядні |
0,65 |
|
2 |
Важливі |
1,5 |
|
3 |
Основні |
2,0 |
Для визначення розміру заохочувальної винагороди прийняті наступні значення коефіцієнтів:
Значення З – середня місячна заробітня платня працівників за 3 попередні місяці, отриманню охоронного документу дорівнює 1000 (грн).
Корисна модель є новою і обладає більш високими основними технічними показниками серед аналогічних відомих видів, тому значення
К1= 1,5;
Корисна модель є конструкцією машини, тому значення К2=1,3;
Значення К3=1,3 , тому що меншість суттевих ознак якого збігається з прототипом;
Ступень значущості складових частин виробу, які містять корисну модель є основними, тому значення К4=2;
Значення З – середня місячна заробітня платня працівників за 3 попередні місяці, до отримання охоронного документу дорівнює 1000 (грн).
Визначення розміру заохочувальної винагороди
В=К1*К2*К3*К4*З
В=1,5*1,3*1,3*2*1000=5070 (грн.)
Доля кожного співавтора буде складати 20% від загальної суми одноразової заохочувальної винагороди за корисну модель 8640 гривень.
20% від 8640 = 1014 (грн).
Висновки до розділу
В даному розділі була розглянута нормативно – правовая база щодо відносин працівника та роботодавця на службовий твір при передачі прав на одержання патенту на корисну модель, створену у зв’язку з виконанням трудового договору. Розглянуте нормативне регулювання виплати авторської винагороди за створення і використання корисної моделі. Також була розглянута виплата заохочувальної винагороди, яка не передбачена Законодавством ы не э обов’язковою, а виплачується за власним бажанням роботодавця.
Була виконана практична частина розділу. Був визначений розмір чистого прибутку, одержуваного від використання корисної моделі, на основі якого був розрахований розмір авторської винагороди. Також був розрахований розмір заохочувальної винагороди згідно їх творчого вкладу у створення корисної моделі.
ОХОРОНА ПРАЦІ
Вимоги до основних елементів конструкції що забезпечують безпечну експлуатацію (відповідно ДО ГОСТу 12.2.003 - 74. Система стандартів безпеки праці «Устаткування виробниче»)
8.1. Вимоги до основних елементів конструкції що забезпечують безпечну експлуатацію:
8.1.1. Конструкція виробничого встаткування, що має пневмосистему, виконана відповідно до вимог безпеки, що діють для цієї системи з урахуванням специфічних умов її роботи в складі комплексів і технологічних систем;
8.1.2. Елементи конструкції виробничого встаткування не мають гострих кутів, крайок і поверхонь із нерівностями, що представляють джерело небезпеки;
8.1.3. Сидіння, що входять у конструкцію встаткування, виконані відповідно до ергономічних вимог;
8.1.4. Виробниче встаткування має засобу гальмування, ефективність дії якої, достатня для забезпечення безпеки й відповідає вимогам стандартів на виріб;
8.1.5. Застосовуваний для забезпечення безпеки, екстрений останов, не створює небезпеки в результаті спрацьовування засобів екстреного останова;
8.1.6. Робочі органи виробничого встаткування, а також захоплюючий пристрій обладнані засобами, що запобігають виникнення небезпеки при повнім або частковому припиненні подачі стисненого повітря до приводів цього пристрою, а також засобами, що виключають самовключення приводів робочих органів при відновленні подачі стисненого повітря.
Вимоги до органів керування:
8.2.1 Органи керування виробничим устаткуванням відповідають наступним основним вимогам:
- мають форму, розміри й поверхню, безпечні й зручні для роботи;
- розташовуються в робочій зоні так, щоб відстань між ними, а також стосовно інших елементів конструкції не утрудняє виконання операцій;
- розміщаються з обліком необхідних для їхнього переміщення зусиль і напрямків; компонування органів керування враховує послідовність і частоту їхнього використання, а також значимість їхніх функцій;
- приводяться в дію зусиллями, що не перевищують установлених стандартом СЭВ норм, з урахуванням частоти користування.
- Форма, розміри, характер, поверхні й вказівки по розміщенню органів керування, відстаням між ними й припустимими зусиллями відповідають нормам, установленим у галузях для відповідних груп устаткування.
Вимоги до засобів захисту, що входить у конструкцію виробничого встаткування:
8.3.1 Знімні, відкидні й розсувні огородження робочих органів, що запобігаютьнебезпеку при роботі виробничого встаткування, а також, що відкриваються дверцята, кришки, щитки в цих огородженнях або в корпусі встаткування мають пристрою, що виключають їхнє випадкове зняття й відкривання, а також мають блокування, що забезпечують припинення робочого процесу при зніманні або відкриванні огородження.
9. ЦИВІЛЬНА ОБОРОНА
Оказання медичної допомоги населенню при надзвичайних ситуацій є однієї з найважливіших функцій держави при забезпеченні національної безпеки й стійкості розвитку країни.
Надзвичайна ситуація - порушення нормальних умов життя й діяльності людей на об'єкті або певній території, акваторії, викликане аварією, катастрофою, стихійним або екологічним нещастям (епізоотія, епифеотия), застосуванням супротивником сучасних засобів поразки, приведшим або здатної привести до людських і матеріальних втрат.
Катастрофа - аварія з людськими жертвами, з руйнуванням або знищенням об'єктів і інших матеріальних цінностей, із завданням збитків навколишньому середовищу.
Стихійні лиха - руйнівні природні явища, у результаті які може виникнути або виникає загроза життю й здоров'ю людей, відбувається руйнування або знищення матеріальних цінностей і елементів навколишнього природного середовища.
Екологічні нещастя - аномалії, що виникають у природі в результаті стихійних лих і техногенних аварій або впливу господарської діяльності людини на природні процеси, що приводять до несприятливих змін природного середовища, до загрози життю й здоров'ю людей, а також до збитку народного господарства.
Епідемія - прогресуюче в часі й просторі масове інфекційне захворювання людей у межах певного регіону, значне підвищення звичайно регістрируємих на даній території захворювань.
Епізоотія - одночасне поширення інфекційних захворювань серед великого числа одного або багатьох видів тварин.
Епитофитотія - широке поширення інфекційних хвороб рослин і сільськогосподарських культур на значній території в плині певного часу.
У надзвичайних ситуаціях імовірне виникнення складних умов обстановки, які будуть визначальним образом впливати на організацію й проведення заходів охорони здоров'я по наданню медичної допомоги й лікуванню потерпілих. Основними із цих умов є:
-масовість, одномоментность (у короткий період часу) виникнення втрат серед населення, різноманітний характер і вага поразки;
-порушення працездатності медичний установ;
-можливе зараження великих районів місцевості, продовольства, води
РВ, ОВ, бактеріальними засобами, сильнодіючими й отрутними речовинами;
-складність санітарно- епідеміологічної обстановки у вогнищах масового поразки й у районах розміщення населення в ході евакуаційних заходів цивільної оборони;
-невідповідність потреби в силах і засобах охорони здоров'я їх наявності;
-складність керування силами й засобами при ліквідації наслідків нападу супротивника.
Разом з тим кожна область (край, республіка) має свої, тільки їй властиві особливості умов, які також можуть вплинути на організацію й проведення заходів охорони здоров'я у вогнищах масового поразки й районах стихійних лих. Серед них найбільше значення мають наступні:
1.Климато-географические особливості (пора року й погода, рельєф місцевості, наявність перевалів, гірських рік і т.д.). Вони можуть впливати навражаюча дія ядерного й іншого видів зброї, організацію евакуації уражених, надання їм медичної допомоги і їхнє лікування. Наприклад, на шляхах евакуації уражений через гірські перевали навіть у теплий час буде потрібно утеплювати транспортні засоби, розгортати обігрівальні пункти й ін.
2.Наявність у деяких областях (краях, республіках) крайової патології в виді ендемічних вогнищ інфекційних захворювань, наприклад, вогнища кліщового енцефаліту, чуми й ін. При плануванні медичних заходів це вимагає включення комплексу протиепідеміологічних заходів.
3.Наявність об'єктів сильнодіючих і отруйних речовин. Вони можуть бути вогнищами вторинного хімічного зараження зі специфічним поразкою робітників та службовців цих підприємств і населення прилягаючих до них житлових кварталів. Виникає необхідність у планах передбачати виділення медичних формувань і установ, їхню підготовку й оснащення з урахуванням роботи в можливих вторинних вогнищах зараження відповідного профілю.
4. Характер і ступінь розвиненості дорожніх, водних і інших шляхів повідомлення. Їхній стан буде в значній мірі визначати організацію евакуаційних заходів, зокрема обсяг необхідних робіт транспортних засобів для евакуації уражених (поліпшення амортизації автомобілів, використання підстилкового матеріалу й ін.).
Організувати медичне забезпечення населення в таких досить складних умовах, використовуючи існуючу мережу медичних установ охорони здоров'я мирного часу вкрай важко. Це обумовило створення в системі охорони здоров'я спеціальної організації - медичної служби цивільної оборони (МС ГО) і розробку відповідних форм і методів роботи її формувань, установ і органів керування.
Медична служба цивільної оборони
МС ГО - це спеціальна організація в системі охорони здоров'я, призначена для медичного забезпечення населення в умовах надзвичайних ситуаціях.
Ця служба є функціональною системою в охороні здоров'я для рішення завдань в особливих умовах, що виникли в країні або окремих її районах.
МС ГО країни створює Міністерство охорони здоров'я РФ, вона є загальнодержавною службою в системі цивільної оборони.
На місцях її створюють територіальні органи керування. На підприємствах, установах, організаціях начальник МС ГО - головний лікар медико-санітарної частини (здравпункта, поліклініки). Начальники МС ГО підкоряються відповідним начальникам цивільної оборони республіки (області, краю й ін.), а за фахом - вищестоящому начальникові МС ГО.
Крім сил і засобів територіальної охорони здоров'я для медичного забезпечення населення використаються сили й засоби медичної служби інших міністерств і відомств, а також широко залучається місцеве населення.
На МС ГО покладають наступні основні завдання:
- найшвидше відновлення здоров'я постраждалого населення, повернення його до праці, зниження інвалідності й летальності;
- попередження виникнення й поширення масових інфекційних захворювань;
- забезпечення санітарного благополуччя населення, усунення несприятливих санітарних наслідків надзвичайних ситуацій, охорона здоров'я особового складу установ цивільної оборони.
Виконання цих завдань забезпечується проведенням комплексу заходів (підготовка сил і засобів служби, підтримка їх у постійній готовності, проведення лечебно евакуаційних, санітарно- гігієнічних, протиепідемічних і інших заходів). Характер, організація й порядок здійснення цих заходів має свої особливості, обумовлені змістом кожної з основних завдань МС ГО.
Успішне виконання першого основного завдання МС ГО - найшвидше відновлення здоров'я постраждалого населення, повернення його до праці, зниження інвалідності й летальності - в умовах надзвичайної ситуації може бути досягнуте при правильній організації й проведенні комплексу наступних науково обґрунтованих заходів.
1. Підготовка сил і засобів МС ГО, підтримка їх у готовності для медичного забезпечення населення при проведенні заходів цивільної оборони й правильна організація їхньої роботи. Важливе місце серед них займає підготовка необхідної кількості формувань, установ і органів керування ними. З огляду на вкрай високу потребу лікарських кадрів для виконання першого основного завдання, важливо забезпечити готовність середнього медичного персоналу взяти на себе проведення ряду досить складних медичних заходів, звільнивши від них лікаря (переливання крові й кровезаменителей, виконання новокаїнових блокад, підготовка операційного поля й ін.). Великого значення набуває також використання сучасних досягнень медичної науки й техніки, підвищення продуктивності праці медичного персоналу для того, щоб мінімальними силами й засобами виконувати більший обсяг роботи, використовуючи прогресивні методи організації праці ( бригадні методи роботи й ін. ), здійснюючи раціональний маневр обсягом медичної допомоги, а також наявними силами й засобами з обліком складної медико-тактичної обстановки.
Особливе місце приділяється своєчасному і якісному наданню медичній допомозі й наступному лікуванню уражених. Важливого значення набувають заходу щодо підготовки населення, особового складу формувань цивільної оборони до надання першої медичної допомоги у вогнищах масової поразки. Велике значення має також спеціальна підготовка медичного складу формувань і установ МС ГО з питань патогенезу, клініки й лікування потерпілих від зброї масової поразки; уміння лікарів нехірургічних спеціальностей надавати медичну допомогу при невідкладних станах в уражених (шок, кровотеча й ін. ) .
2. Проведення комплексу заходів МС ГО по захисту населення від зброї масової поразки ( використання засобів, що попереджають або ослабляющих поразку населення радіоактивним випромінюванням , ОВ , БС, сильнодіючими отруйними речовинами ).
3. Організацій взаємодії сил і засобів МС ГО з іншими службами цивільної оборони, а також відомчими медичними службами.
Друге основне завдання МС ГО - попередження виникнення й поширення масових інфекційних захворювань. Успішне її виконання зажадає проведення наступного науково обґрунтованого комплексу заходів.
1. Проведення заходів протибактеріологічного захисту населення в першу чергу на випадок аерогенного інфікування (бактеріологічної розвідки, екстреної профілактики заражених БС, своєчасного використання індивідуальних і колективних засобів захисту, організації карантину й ін.).
2. Виявлення захворіла , їхня ізоляція й госпіталізація, розгортання інфекційних стаціонарів, перепрофілювання лікарень МС ГО в інфекційні стаціонари, забезпечення протиепідемічного режиму роботи у всіх лікувальних установах і ін.
3. Посилення контролю за проведенням санітарно-гігієнічних і протиепідемічних заходів серед населення.
4. Організація й проведення дезінфекційних заходів в бактеріологічних вогнищах.
5. Підготовка сил і засобів МС ГО для виконання всіх перерахованих заходів протибактеріологічного захисту.
Виконання третє завдання МС ГО - забезпечення санітарного благополуччя населення, усунення несприятливих санітарних наслідків надзвичайних ситуацій, охорона здоров'я особового складу установ цивільної оборони вимагає участі не тільки сил МС ГО, але й охорони здоров'я в цілому, а також ряду служб цивільної оборони. Серед заходів, спрямованих на виконання цього завдання, важливого значення набувають наступні.
1. Лабораторний контроль зараження питної води й продуктів РВ, ОВ і БС.
2. Санітарно- гігієнічний контроль за умовами розміщення населення, за санітарною обробкою людей, а також за збиранням і похованням трупів людей і тварин у вогнищах масової поразки.
3. Участь у розробці відповідних рекомендацій з режиму роботи й життя населення на території, зараженої РВ, ОВ і БС.
4. Проведення масової санітарно-просвітньої роботи серед населення і ін.
Таким чином, виконання основних завдань МС ГО зажадає планомірного проведення складного комплексу лікувально-евакуаційних, протиепідемічних і санітарно-гігієнічних заходів. Ці заходи становлять зміст поняття "медичний захист населення" у системі цивільної оборони.
9.2 Сутність системи лікувально-евакуаційного забезпечення уражених
Під лікувально-евакуаційним забезпеченням уражених прийнято розуміти систему науково обґрунтованих заходів щодо надання ураженому населенню медичної допомоги і його лікуванню, пов'язаному з евакуацією за межі вогнищ масової поразки. Воно є одним з найважливіших видів діяльності МС ГО, спрямованим на виконання її першого основного завдання. У системі лікувально-евакуаційного забезпечення уражених передбачається надання трьох видів надання медичної допомоги: перша медична допомога, перша лікарська й спеціалізована медична допомога.
Перша медична допомога
Перша медична допомога виявляється безпосередньо на місці поразки або поблизу від нього з використанням табельних і підручних засобів надання допомоги. Вчасно й правильно надана перша медична допомога рятує життя ураженому й попереджає розвиток несприятливих исходов. Вона виконується самим ураженим (самодопомога) або іншою особою (взаємодопомога). У зв'язку з тим, що формуванням цивільної оборони для висування у вогнище потрібне певний час, своєчасність надання першої медичної допомоги ураженим може бути забезпечене в порядку саме- і взаємодопомоги. При організації першої медичної допомоги особлива увага необхідно обертати на своєчасність її надання при травмах, що супроводжуються кровотечею, шоком, асфіксією, втратою свідомості, отруєнням окисом вуглецю, на зменшення або повне припинення впливу на потерпілого вражаючих факторів РВ, ОВ і ін., а також у підготовці уражених до евакуації.
В обсязі першої медичної допомоги особливого значення набуває виконання таких заходів, як зупинка зовнішньої кровотечі за допомогою тампонади рани подушечками перев'язного пакета, що давить пов'язки, накладення джгута (закручення з підручних засобів), введення знеболюючих засобів, усунення асфіксії, проведення штучного подихи, непрямий масаж серця з метою відновлення серцевої діяльності, закриття раневой поверхні пов'язкою й ін.
З огляду на сказане, перша медична допомогу повинна бути зроблена як можна раніше в порядку саме- і взаємодопомоги й особовим складом цивільної оборони.
Для надання першої медичної допомоги ураженим у складі рятувальних (зведених) загонів (команд) об'єктів цивільної оборони у вогнище уводяться санітарні дружини. Командир загону ставить їм завдання, визначаючи місце й час виконання роботи з надання ураженим першої медичної допомоги, виділяє із загону носіїв для виносу уражених до місця їхнього навантаження на транспорт і здійснення навантаження.
Безпосереднє керівництво санітарною дружиною з питань надання медичної допомоги здійснює начальник МС ГО постраждалого об'єкта через начальника медичного пункту рятувального (зведеного) загону. Допомога їм у цьому здійснює заступник начальника загону першої медичної допомоги (ОПМ) по масових формуваннях, що забезпечує також поповнення санітарних дружин засобами надання медичної допомоги.
Перша лікарська допомога
Перша лікарська допомога - комплекс лікувально-профілактичних заходів, виконуваних лікарями на першому етапі медичної евакуації з метою усунення наслідків поразки, безпосереднього загрозливого життя ураженого, попередження розвитку надалі раневой інфекції й підготовки уражених до евакуації. Її роблять лікарі, що мають загальлікарську підготовку, і лікарі-хірурги загального профілю.
Надання постраждалої першому лікарської допомоги в найближчі годинники з моменту поразки прибулих у вогнище загонах першої медичної допомоги, збережених у вогнищі лікувально-профілактичних установ, забезпечить ефективну боротьбу за порятунок життя більшості з них. Вони з'являться першим етапом медичної евакуації на шляху виносу й вивозу уражених за межі вогнища масових втрат, що забезпечують першу лікарську допомогу з виконанням хірургічних втручань по невідкладних життєвих показниках (остаточна зупинка серця й ін.)
Поряд з наданням ураженим медичної допомоги по життєвим показникам ним забезпечується проведення заходів щодо підготовки до евакуації (виправлення дефектів пов'язок, засобів іммобілізації, введення знеболюючих і інших лікарських засобів), а також по профілактиці раневой інфекції (введення антибіотиків, протиправцевої, протигангренозної сироватки й ін.). Первинну хірургічну обробку ран при відсутності життєвих показників доцільно відстрочити під прикриттям антибіотиків, Місцеве застосування антибіотиків у вигляді аерозолю при лікуванні ран в 2,5 рази зменшує ймовірність виникнення раневой інфекції.
Перша лікарська медична допомога повинна бути зроблена як можна раніше з моменту поразки.
Спеціалізована медична допомога
Спеціалізована медична допомога - комплекс лечебно- профілактичних заходів, виконуваних лікарями-фахівцями в лікувальних установах МС ГО заміської зони з використанням спеціального медичного оснащення й устаткування. Вона є вищим видом медичної допомоги і її наданням завершується повний обсяг медичної допомоги, тобто вона носить вичерпний характер з наступним лікуванням уражених до остаточного результату.
Спеціалізована медична допомога в прийнятій системі лікувально-евакуаційного забезпечення організується за межами вогнища масової поразки в лікарнях МС ГО заміської зони, що розгортають на базе лікувально-профілактичних установ сільської місцевості й евакуйованих з міста.
ЗАКЛЮЧЕННЯ
Суть дипломної роботи полягала у складанні патенто-правових документів на “Машину для виймання анодних штирів алюмінієвого електролізера”. На першому етапі дипломної роботи були проведені патентні дослідження. Пошук за патентною документацією був проведений по відношенню охоронних документів України, Російської Федерації, СРСР та інших країн світу. Для пошуку були використані періодичні видання Держпатенту, а токож пошук був проведений в мережі Internet по електронним базам даних Російської Федерації (“Федеральний Інститут Промислової Власності”) та відучих країн світу. Була визначена патентоспроможність ОГД.
Була досліджена законодавча база України з набуття прав на корисну модель, як взагалі, так як і на службовий твір. Були дослідженні правові відносини між автором в роботодавцем.
У технічній частині була розроблена схема БД щодо підтримки пошуку патентної документації та науково – технічної інформації.
Виконана економічна частина корисної моделі “Машина для виймання анодних штирів електролізера”, в якій було розглянуте нормативне регулювання виплати винагороди авторам за створення та використання корисної моделі та розрахована винагорода. Була розрахована заохочувальна винагорода.
Були розглянуті вимоги щодо основних елементів конструкції, що забезпечують безпечну експлуатацію.
В данній роботі була виконана частина з цивільної оборони.
В практичній частині були розроблені документи щодо набуття прав, а саме: Звіт про патентні дослідження, заявка на промисловий зразок, заявка на корисну модель, повідомлення авторами роботодавця про створення корисної моделі, договор про передачу права на одержання патенту на корисну модель, договор між співавторами про вклад у створення та розподіл винагороди, що використаний в об’єкті господарської діяльності – “Машина для виймання анодних штирів алюмінієвого електролізера”.
Тема дипломної роботи розкрита в повному обсягу.
СПИСОК ДЖЕРЕЛ ІНФОРМАЦІЇ
Патентні дослідження: Методичні рекомендації / За ред. В.Л.Петрова. — К.: Видавничий дім "Ін Юре", 1999. — 264 с.
Скорняков Э.П. Информационное обеспечение патентных исследований. – М.: ВНИИПИ, 1990.
Скорняков Э.П., Шведова В.В., Мельникова Л.И. Оценка технического уровня продукции – необходимое условие выхода на рынок. – М.: ВНИИПИ, 2000.- 92 с.
Скорняков Э.П. Методические ДСТУ 3574-97. Патентний формуляр. Основні положення. Порядок складання та оформлення. — Чинний від 01.01.98. — Держстандарт України, 1997. — 6 с.
ДСТУ 3574-97. Патентні дослідження. Основні положення та порядок проведення. — Чинний від 01.01.98. — Держстандарт України, 1997. — 14 с.
Виявлення порушення прав власників чинних охоронних документів та заявників на об'єкти промислової власності. Порядок складання та оформлення патентного формуляра. Методичні рекомендації / За ред. В. Л. Петрова. — К.: Нора-прінт, 2000. — 127 с.
Киселева Т.С. Исследование технического уровня объектов техники на различных этапах их создания и освоения: Учебное пособие. – М.: ВНИИПИ, 1990. – 73 с.
Кравец Л.Г. Патентно-информационный анализ. – М.: ИНИЦ, 2000. – 45 с.
Кравец Л.Г. Патентно-информационный анализ. — М.: ВНИИПИ, 1997.
Мельникова Л.И., Романова Н.И., Столяров А.М. Патентные исследования на различных этапах создания и освоения объектов техники: Учебное пособие. — М.: ВНИИПИ, 1987.
Методические рекомендации по проведению патентно-конъюнктурных исследований. – М.:ВНИИПИ, 1990. – 40 с.
Добриніна Г.П., Пархоменко В.Д. Патентна інформація та документація. Патентні дослідження. - К.:ЗАТ Інститут інтелектуальної власності і права, 2000.- 84 с.
Скорняков Э.П., Смирнова В.Р., Гаврилов С.В. Использование Интернета при проведении патентных исследований.-М.: ИНИЦ, 2003.-61 с.
Скорняков Э.П. Предплановые патентные исследования //Вопросы изобретательства. – 1981. - №7. – С.48 – 52.
Ненахов Г.С. Кекишева Н.П., Максимова В.В. Проведение патентных поисков в удаленных базах даных.-М.:ИНИЦ, 1999.-104 с.
Закон України “Про охорону прав на винаходи і корисні моделі” в редакції від 22.05.2003
Закон України “Про охорону прав на промислові зразки” в редакції від 22.05.2003
Правила складання і подання заявки на винахід та заявки на корисну модель. Зареєстровано в Міністерстві юстиції України 27 лютого 2001р. за №173/5364 (із змінами від 26 лютого 2004 р.)
Правила розгляду заявки на винахід та заявки на корисну модель. Зареєстровано в Міністерстві юстиції України 15 квітня 2002 р. за №364/6652
Правила складання і подання заявки на промисловий зразок. Зареєстровано в Міністерстві юстиції України 6 березня 2002 р. за №226/6514 (із змінами від 11 листопада 2003 р.)
Правила розгляду заявки на промисловий зразок. Затвержено наказом Міністерства освіти і науки України 18.03.2002 №198.
Порядок сплати зборів за дії, пов’язані з охороною прав на об’єкти інтелектуальної власності. Затверджено постановою Кабінету Міністрів України від 23 грудня 2004 р. №1716.
Тофило А.В., Левичева Е.Д.. Експертиза объектов промышленной собственности. Часть 2. - К.: Институт интеллектуальной собственности и права , 2002. – 140 с.
Промислова власність: Офіційний бюлетень Державного Департамента Інтелектуальної власності.
Журнал “Інтелектуальна власність”
Журнал “Інтелектуальний капитал”
Журнал “Промышленная собственность»
Журнал “Патенты и лицензии”
www.fips.ru
Конституція України
Цивільний кодекс