Интеллектуальная собственность (работа 4)
Министерство образования и науки Украины
Донбасская Государственная Машиностроительная Академия
Кафедра "МОТ"
Самостоятельная работа
по дисциплине
"Интеллектуальная собственность"
Выполнила:
ст. гр. Ф-05-Т
Шерстобитова Я.С.
Краматорск 2010
1. Формула изобретения и ее назначение
2. Заявка на выдачу патента на промышленный образец
3. Условия патентоспособности изобретения
4. Какие сведения об изобретениях считаются общедоступными?
5. Определить индекс МПК изобретения "Пристрій для прокатки порошкових матеріалів на металевій підкладці" и составить формулу изобретения по его описанию
1. Формула изобретения и ее назначение
Формула изобретения – это составленная по установленным правилам краткая словесная характеристика технической сущности изобретения, которая содержит совокупность его существенных признаков, достаточных для достижения определённого заявителем технического результата. Формула изобретения базируется на описании изобретения и может быть однозвенной и многозвенной. Основные назначения формулы изобретения:
кратко и четко выразить техническую сущность изобретения, то есть отобразит в логическом определении объект изобретения совокупностью его существенных признаков;
определить границы изобретения, то есть границы прав владельца патента на изобретение, установленные нормативными актами;
служить средством отличия объекта изобретения от других объектов или определения сходства для установления факта использования изобретения;
давать краткую, но достаточную информацию соответствующим специалистам об устройстве или процессе, достигаемом изобретением в области, к которой оно относится.
Формулу изобретения излагают в виде одного предложения, отдельные части которого отделяют ",", а не ";". Состав формулы изобретения:
1. Ограничительная часть, включающая в себя название и признаки, общие для предлагаемого объекта изобретения и прототипа.
2. Разделительная часть, которая должна выражаться фразой "… отличающиеся тем, что …".
3. Отличительная часть, включающая в себя признаки, которые отличают объект изобретения от прототипа (т.е. новые признаки).
Формула изобретения должна отображать только техническое решение задачи, а не постановку задачи.
2. Заявка на выдачу патента на промышленный образец
Промышленный образец – новое художественно-конструкторское решение изделия, определяющее его внешний вид, соответствующее требованиям технической эстетики, пригодное к осуществлению промышленным способом и дающее положительный эффект. Объектом промышленного образца может быть: форма, рисунок, расцветка или их сочетание, определяющее внешний вид промышленного изделия и предназначенные для удовлетворения эстетических и эргономических нужд. Промышленные образцы могут быть (классификация): объемными (модели); плоскими (рисунки); комбинированными. На промышленный образец выдается патент, срок действия которого 10 лет, а по ходатайству еще 5 лет.
Заявку подают:
автор (ы) изобретения;
законный наследник автора или иное физическое или юридическое лицо, которое получило от автора или его наследника право на подачу заявки на договорной основе;
работодатель автора при наличие документа, подтверждающего передачу полномочий работодателю.
Заявка на оформление промышленного образца составляется на украинском языке и должна иметь следующую обязательную структуру описания:
Название промышленного образца.
Фамилия и инициалы автора(-ов).
Международная классификация промышленных образцов – класс.
Назначение и область применения. Начинается словами "Заявляется решение общего вида изделия, предназначенного для…".
Характеристика аналогов и прототипа (особенности решения, тенденций развития области художественного конструирования, описание признаков, библиографические данные).
Сравнение заявляемого промышленного образца с прототипом.
Перечень фотографий, чертежей и схем.
Сущность и существенные признаки решения, которое заявляется (описание всех признаков, формирующих наглядный визуальный образ).
Обоснование эстетических и эргономических особенностей решения, которое заявляется.
Пригодность для воспроизводства промышленным способом (сведения по технологии изготовления в промышленных условиях).
Подписи.
Заявка на промышленный образец должна относится к одному образцу и может содержать его варианты (стулья одной формы, отличающиеся разной фактурой, цветом декоративной обивочной ткани).
3. Условия патентоспособности изобретения
Патент – выдаваемое компетентным государственным органом свидетельство (охранная грамота), удостоверяющее признание технического решения или селекционного достижения изобретением, приоритет (первенство) изобретения, авторство (не во всех странах) и исключительное (монопольное) право патентообладателя в пределах территории государства, выдавшего патент, в течение срока, установленного законодательством данного государства.
Изобретению предоставляется правовая охрана, если оно является:
новым;
имеет изобретательский уровень;
промышленно применимым.
Уровень техники изобретения определяется по всем видам сведений, общедоступным в Украине или иностранных государствах до даты приоритета изобретения.
Требования единства изобретения признается соблюденным, если:
заявка относится к одному объекту изобретения, т.е. к одному устройству, способу, веществу, штамму микроорганизма, культуры клеток растений и животных или применению известного ранее устройства, способа, вещества, штамма по новому назначению;
заявка относится к группе изобретений, в частности:
к объекту изобретения, один из которых предназначен для получения (изготовления) другого;
к объекту изобретения, один из которых предназначен для осуществления другого (например, способ и устройство для осуществления способа);
к объекту изобретения, один из которых предназначен для использования в другом (например, способ и вещество, предназначенное для использования в способе);
к объекту изобретения одного вида, одинакового назначения, обеспечивающим получение одного и того же технического результата принципиально одним и тем же путем (варианты исполнения).
Различают основное и дополнительное изобретения. Основное изобретение юридически не связано с какими-либо другими изобретениями и может быть применено само по себе. Дополнительное изобретение представляет собой усовершенствование другого (основного) изобретения в целом или в частности и не может быть без его применения использовано.
Предложения, не признаваемые изобретениями:
научные теории;
методы организации и управления хозяйством;
условные обозначения, расписания, правила;
методы выполнения умственных операций;
алгоритмы и программы для вычислительных машин;
проекты и схемы планировки сооружений, зданий, территорий;
предложения, касающиеся лишь внешнего вида изделий, направленные на удовлетворение эстетических потребностей.
Не предоставляется правовая охрана изобретениям, противоречащим принципам гуманности и морали (например, оружие массового уничтожения).
4. Какие сведения об изобретениях считаются общедоступными?
Сведения являются общедоступными, если они содержатся в следующих источниках информации, с которыми любое лицо имело возможность ознакомиться само, либо о содержании которого могло быть ему законным путем сообщено:
опубликованные описания к охранным документам, опубликованные заявки на изобретения – с даты публикации;
отечественные издания – с даты подписания в печать;
иные издания – с даты выпуска в свет;
депонированные рукописи статей, обзоров, монографий и др. материалов – с даты депонирования;
отчеты о НИР и др. конструкторская, технологическая и проектная документация, находящаяся в органах НТИ – с даты поступления в эти органы;
нормативно-техническая документация (ГОСТ, ТУ и т.д.) – с даты регистрации ее в уполномоченных на это органах;
материалы и авторефераты диссертаций, изданные на правах рукописи – с даты поступления в библиотеку;
принятые на конкурс работы – с даты выкладки их для ознакомления, подтвержденной документами, относящимися к проведению конкурса;
визуально воспринимаемые источники информации (плакаты, проспекты, чертежи, схемы, фотоснимки, модели, изделия и т.п.) – с даты, когда стало возможным их обозрение при наличии подтверждения официальным документом;
экспонаты, помещенные на выставках – с даты начала их показа, подтвержденной официальным документом;
устные доклады, лекции, выступления – с даты, когда они были сделаны, если они зафиксированы аппаратами звуковой записи или стенографическом порядке, установленном действовавшими на указанную дату правилами проведения соответствующих мероприятий;
сообщение посредством радио, телевидения, кино и т.д. – с даты такого сообщения, если оно зафиксировано на соответствующем носителе информации в установленном порядке, действовавшем на указанную дату;
сведения о техническом средстве, ставшие известными в результате его использования в производственном процессе, в изготовляемой или эксплуатируемой продукции, в том числе в опытном образце, переданном в эксплуатацию, либо иного введения в хозяйственный оборот – с даты, указанной в официальном документе, подтверждающем общедоступный характер таких сведений.
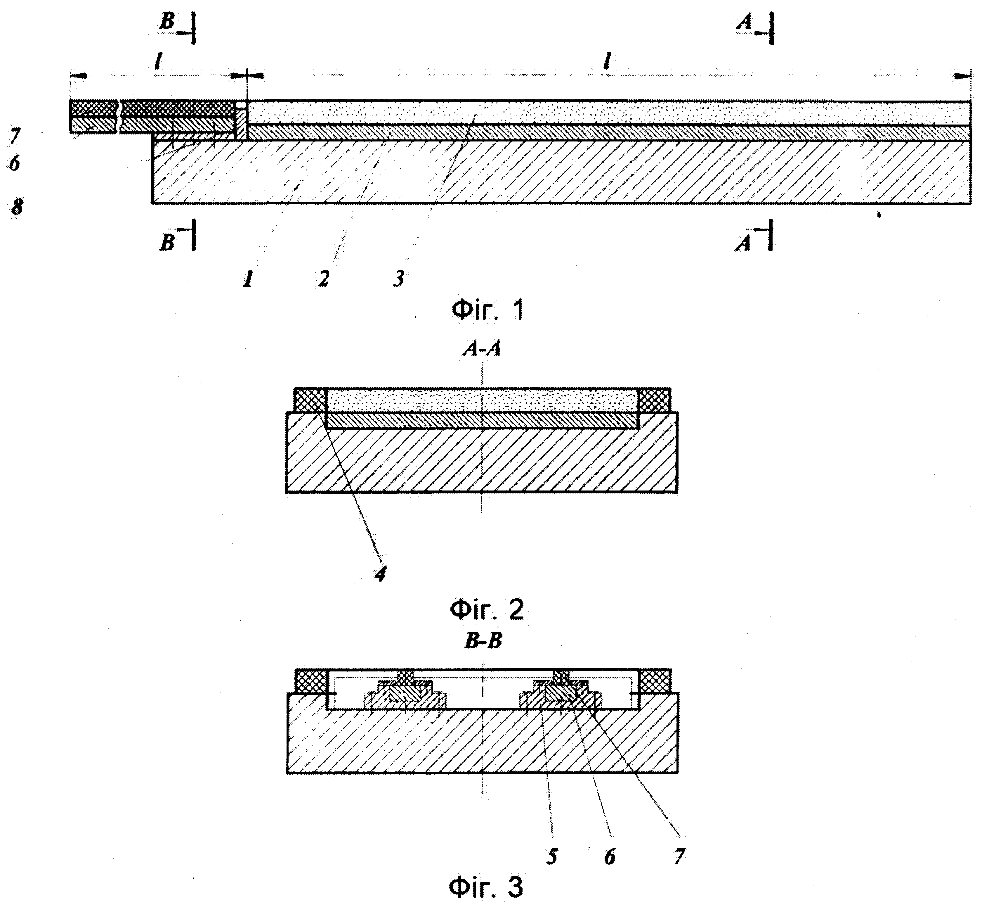
5. Определить индекс МПК изобретения "Пристрій для прокатки порошкових матеріалів на металевій підкладці" и составить формулу изобретения по его описанию
Формула изобретения
Устройство для прокатки металлических порошков, которое состоит из плиты с пазом и эластичных элементов, отличается тем, что после прокатки возвращается в исходное положение само без помощи дополнительных устройств и механизацией снятия листа с плиты.
Реферат
Объект изобретения: Устройство для прокатки порошковых материалов на металлической подкладке.
Область применения: порошковая металлургия.
Суть изобретения: Устройство состоит из плиты с металлической подкладкой, эластичных элементов, которые закреплены на боковых внешних кромках паза, и опор, на которых установлены штанги с эластичными элементами и линейкой. После выхода листа с огня устройство упирается в упоры и пружинные элементы входят в контакт с рабочими валками под действием которых начинается перемещение штанг с линейкой в направлении прокатки. После снятия листа с плиты, станок останавливают и начинают оборачивать валки в обратную сторону, за счет создавшегося трения устройство возвращается в исходное положение.
Технический результат: обеспечивается повышение равномерности распределения порошка и предотвращение его рассыпания, снижение величины пауз в ритме прокатки за счет механизации снятия листа с плиты и автоматизация возвращения устройства в исходное положение.
Приложение





