Выбор и расчет средств по пылегазоочистке воздуха (работа 2)
Выбор и расчет средств по пылегазоочистке воздуха
1. Подобрать циклон, обеспечивающий степень эффективности очистки газа от пыли не менее = 0.87
Циклоны предназначены для сухой очистки газов от пыли со средним размером частиц 10…20 мкм. Все практические задачи по очистке газов от пыли с успехом решаются циклонами НИИОГАЗа: цилиндрическим серии ЦН и коническим серии СК. Избыточное давление газов, поступающих в циклон, не должно превышать 2500 Па. Температура газов во избежание конденсации паров жидкости выбирается на 30…500С выше температуры точки росы, а по условиям прочности конструкции – не выше 4000С. Производительность циклона зависит от его диаметра, увеличиваясь с ростом последнего. Цилиндрические циклоны серии ЦН предназначены для улавливания сухой пыли аспирационных систем. Их рекомендуется использовать для предварительной очистки газов при начальной запыленности до 400 г/м3 и устанавливать перед фильтрами и электрофильтрами.
Конические циклоны серии СК, предназначенные для очистки газов от сажи, обладают повышенной эффективностью по сравнению с циклонами типа ЦН за счет большего гидравлического сопротивления. Входная концентрация сажи не должна превышать 50 г/м3.
Исходные данные:
количество очищаемого газа - Q = 1.4 м3/с;
плотность газа при рабочих условиях - = 0,89 кг/м3;
вязкость газа - = 22,210-6 Нс/м2;
плотность частиц пыли - П = 1750 кг/м3;
плотность пыли – dП = 25 мкм;
дисперсность пыли - lgп = 0,6;
входная концентрация пыли – Свх = 80 г/м3.
Расчет: Задаёмся типом циклона и определяем оптимальную скорость газа опт, в сечении циклона диаметром Д:
Выберем циклон ЦН-15, оптимальная скорость газа, в котором опт = 3,5 м/с.
Определяем диаметр циклона, м

Ближайшим стандартным сечением является сечение в 700 мм.
По выбранному диаметру находим действительную скорость газа в циклоне, м/с
м/с,
где n – число циклонов.
Вычисляем коэффициент гидравлического сопротивления одиночного циклона:

где К1 – поправочный коэффициент на диаметр циклона;
К2 - поправочный коэффициент на запыленность газа;
500
– коэффициент гидравлического
сопротивления одиночного циклона
диаметром 500 мм.
Определяем гидравлическое сопротивление циклона:
Па
По
таблице 2.4 определяем значение параметров
пыли
и
lg:
Для
выбранного типа циклона -
=4.5
мкм lg=0.352
Ввиду
того, что значения
,
приведенные в таблице 2.4, определены по
условиям работы типового циклона (Дт =
0,6 м; пт = 1930 кг/м3; т = 22,210-6; т = 3,5 м/с),
необходимо учесть влияние отклонений
условий работы от типовых на величину
d50:
мкм
Рассчитываем параметр x:


по табл. 2.5 находим значение параметра Ф(x):
Ф(x)=0.8413
Определяем степень эффективности очистки газа в циклоне:

Расчетное значение = 0,92 больше необходимого условия = 0,87, таким образом циклон выбран верно.

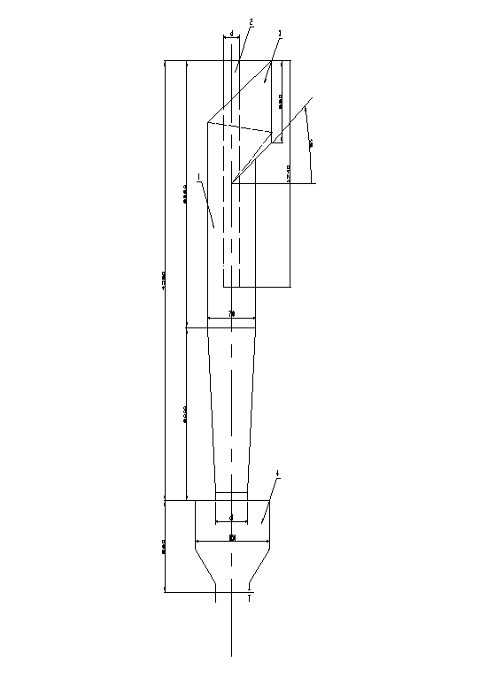
Рис.
4.1 Цилиндрический циклон
1 – корпус
2 – входная труба
3 – патрубок
4 – буннер
2. Рассчитать эффективность применения скруббера Вентури для очистки от пыли производственных выбросов.
Скрубберы Вентури нашли наибольшее применение среди аппаратов мокрой очистки газов с осаждением частиц пыли на поверхности капель жидкости. Они обеспечивают эффективность очистки 0.96…0.98 на пылях со средним размером частиц 1…2 мкм при начальной концентрации пыли до 100 г/м3 . Удельный расход воды на орошение при этом составляет 0.4…0.6 л/м3 .
Исходные данные:
Загрязнитель – конвекторная пыль В = 9,88 10-2; n = 0,4663
Плотность газа в горловине г = 0,9 кг/м3
Скорость газа в горловине Wг = 135 м/с
Массовый расход газа Мг = 0,9 кг/с
Массовый расход орошающей жидкости Мж = 0,865 кг/с
Удельный расход жидкости m = 1,5 л/м3
Давление жидкости ж = 300 кПа
Плотность жидкости ж = 1000 кг/м3
Коэффициент
гидравлического сопротивления сухой
трубы -
=0.15
Требуемая эффективность очистки от пыли не менее 0.9
Расчет:
Определяем гидравлическое сопротивление сухой трубы Вентури,

Рассчитываем
гидравлическое сопротивление,
обусловленное введением орошающей
жидкости,


Н/ м2 , где
ж
– коэффициент гидравлического
сопротивления трубы, обусловленный
вводом жидкости



Находим гидравлическое сопротивление трубы Вентури, Н/ м2


Находим суммарную энергию сопротивления Кт, Па

где
Vж
и Vг
– объемные расходы жидкости и газа
соответственно, м3/с
Vж = Мж/ж = 0,865/1000 = 8,65 10-4 м3/с
Vг = Мг/г = 0,9/0,9 = 1 м3/с
Кт = 10662855 + 300103(8,6510-4/1) = 10663114 Па
Определяем эффективность скруббера Вентури



Эффективность
скруббера Вентури, полученная в результате
расчетов (величина
),
удовлетворяет заданному условию, т.е.
обеспечивает очистку газов от пыли с
эффективностью не менее 0.9.
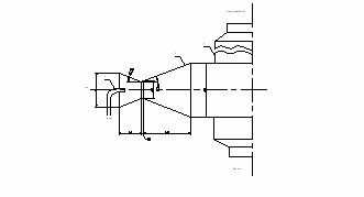
Рис. 2.1 Скруббер Вентури
1 – форсунки
2 – сопло
3 – пылеуловитель
1
= 28;

2
= 8; l2
= 0.15 d2;

3. Определить размеры, энергозатраты и время защитного действия адсорбера для улавливания паров этилового спирта, удаляемых местным отсосом от установки обезжиривания при условии непрерывной работы в течение 8 часов.
Метод адсорбции основан на физических свойствах некоторых твердых тел с ультрамикроскопической структурой селективно извлекать и концентрировать на своей поверхности отдельные компоненты из газовой среды. При расчете определяют необходимое количество сорбента, продолжительность процесса поглощения, размеры адсорбционной аппаратуры и энергетические затраты.
Исходные данные:
Производительность местного отсоса - Lм=250 м3/ч
Начальная концентрация спирта - Со=11 г/м3
Температура в адсорбере - tр=20 оС
Давление в адсорбере - Р=9.8*104 Н/м2
Плотность паровоздушной смеси - г=1.2 кг/м3
Вязкость паровоздушной смеси - =0.15*10-4 м2/с
Диаметр гранул поглотителя (активированный уголь) - d=3 мм
Длина гранул - l=5мм
Насыпная плотность - н=500 кг/м3
Кажущаяся плотность - к=800 кг/м3
Эффективность процесса очистки = 0,99
По изотерме адсорбции (рис. 3.1) и заданной величине Со, г/м3, находим статическую емкость сорбента: 0=175 г/кг
Определяем весовое количество очищаемого газа:
кг/с
Переводим весовую статическую емкость сорбента 0, в объемную 0’:
кг/м3
Определяем массу сорбента:
,
кг,
где К=1.1…1.2 – коэф. запаса;
- продолжительность процесса сорбции, с.
Выбираем скорость потока газа в адсорбере W, м/с. Обычно фиктивная скорость паровоздушной смеси или скорость, рассчитанная на полное сечение слоя, выбирается в пределах 0.1…0.25 м/с. Выберем W=0.2 м/с.
6. Определяем геометрические размеры адсорбера. Для цилиндрического аппарата:
-
диаметр
м
длина (высота) слоя адсорбента
м
Находим
пористость сорбента

Рассчитываем эквивалентный диаметр зерна сорбента:
м
9. Коэффициент трения находим в зависимости от характера движения
при Re<50 =220/Re
при Re50 =11.6/Re0.25,
где
- критерий Рейнольдса
откуда: =220/Re=220/49 =4.5
Определяем гидравлическое сопротивление, оказываемое слоем зернистого поглотителя при прохождении через него потока очищаемого газа
,
где Ф=0.9 – коэффициент формы
Определяем коэффициент молекулярной диффузии паров этилового спирта в воздухе при заданных условиях: Д0 = 0,101 10-4 при Т0 = 273 К и Р0 = 9,8 104 Па:

Находим диффузионный критерий Прантля

Для заданного режима течения газа (определяется значением Rе) вычисляем величину коэффициента массопередачи для единичной удельной поверхности, м/с
при
Rе<30
при
Rе>30

т.к. в нашем случае Re=49, то

По изотерме адсорбции (рис 2.1) находим:
- количество вещества, максимально сорбируемое поглотителем при данной температуре а=175 г/кг
- величину концентрации поглощаемого вещества на входе в адсорбер Сх= 2,5 г/м3
Рассчитываем удельную поверхность адсорбента:
м2/м3
Определяем концентрацию паров этилового спирта на выходе из аппарата:
,
где - эффективность очистки
Находим продолжительность защитного действия адсорбера:

Полученные в результате расчета параметры обеспечивают заданный режим работы адсорбера в течении более чем 8 часов. В целях экономии адсорбента можно уменьшить высоту его слоя.

Рис.
3.1. Адсорбер вертикальный
труба для ввода газа
слой пористого сорбента
труба для удаления чистого газа
барбатер
5. труба для выхода пара
Список литературы
Безопасность жизнедеятельности: Уч. пособие под ред. Бережного С.А. и др. – Тверь: ТГТУ, 1996.
Бережной С.А., Седов Ю.С. Сборник типовых расчетов и заданий по экологии: Уч. пособие. - Тверь: ТГТУ, 1999.
Для подготовки данной работы были использованы материалы с сайта http://www.5ka.ru