Основы электробезопасности при выполнении лабораторных работ (работа 2)
“Основы электробезопасности при выполнении абораторных работ”
Выполнил студент группы ОПР-97-1
Самойлов М.А.
1. ОБЩИЕ ПОЛОЖЕНИЯ
1.1. Что такое электробезопасность?
Электробезопасность - это система организационных и технических мероприятий и средств, обеспечивающих защиту человека от вредного и опасного воздействия на организм электрического тока, электрической дуги, электромагнитного поля и статического электричества.
1.2. Как обеспечивается электробезопасность?
Электробезопасность обеспечивается:
- строгим выполнением инструкций, прилагаемых к электроустановкам;
- высоким уровнем организации эксплуатации электроустановок;
- техническими способами и средствами общей и индивидуальной защиты от поражения электрическим током.
1.3. Каковы причины и последствия электротравм?
Электротравмы составляют в среднем 3 — 5 % от общего числа производственных травм. Однако на электротравмы со смертельным исходом приходится 20 — 30 % всех несчастных случаев.
Значительная часть пострадавших переходит на инвалидность. Наблюдается и отдаленные последствия электротравм.
1.4. Каковы условия поражения электрическим током?
Возникновение электротравм чаще всего обусловлено следующими причинами:
- случайным прикосновением к токоведущим частям электроустановок;
- появлением напряжения на металлических нетоковедущих частях установок в результате повреждения их изоляции;
- появлением напряжения на отключенных токоведущих частях вследствие либо случайного включения установки, либо обратной трансформации;
- возникновением шагового напряжения в результате замыкания фазы на Землю и появлением разности потенциалов между двумя точками на Земле на расстоянии шага;
- действием атмосферного электричества при грозовых разрядах или разрядах, обусловленных накоплением статического электричества.
Причины электротравм подразделяются на:
технические - несоответствие средств защиты требованиям электробезопасности и условиям их применения, в том числе неисправность электроинструмента;
организационно-технические - несвоевременная замена инструмента, не прошедшего обязательный контроль качества;
организационные - невыполнение или отдельные нарушения инструкции по электробезопасности;
организационно-социальные - определяются работой в сверхурочное время, несоответствием специальности и квалификации исполнителя работ, допуском к работе лиц моложе 18 лет, привлечением к работе лиц, не имеющих допуск к работе с электроустановками, и лиц, имеющих медицинские противопоказания;,
социально-гигиенические - неблагоприятные метеорологические условия работы, плохая освещенность, повышенные уровни шума и вибрации в производственных помещениях и др.
1.5. Как классифицируются производственные помещения по условиям среды?
Помещения, в которых размещаются электроустановки, разделяется на сухие, влажные, сырые, жаркие.
Сухими называются помещения с относительной влажностью воздуха < 60 %.
К влажным относятся помещения, в которых пары или конденсирующая влага выделяются лишь кратковременно в небольших количествах, а относительная влажность воздуха 60 ~ 70 %.
Сырыми считаются помещения, в которых относительная влажность > 75 %. Особо сырыми являются помещения с влажностью до 100 %.
К жарким относятся помещения, в которых температура постоянно превышает 35 °С.
1.6. Как классифицируются помещения по степени опасности?
По степени опасности поражения электрическим током помещения подразделяются на:
- без повышенной опасности;
- с повышенной опасностью, характеризующиеся наличием в них хотя бы одного из следующих условий - сырости и токопроводящей пыли, токопроводящих полов (металлические, земляные, железобетонные, кирпичные), высокой температуры (> 35 С), возможности одновременного прикосновения человека к имеющим соединение с землей металлоконструкциями здания с одной стороны и к металлическим корпусам электрооборудования - с другой;
- особо опасные помещения характеризуются наличием одного из следующих условий - особой сырости, химически активной среды, одновременного наличия двух и более условий повышенной опасности.
1.7. Как различаются производственные помещения по доступности электрооборудования?
Различают следующие виды помещений:
- замкнутые, в которых электрооборудование не требует постоянного надзора;
в которых оборудование требует постоянного надзора специальным персоналом;
в которых работа с электрооборудованием не требует специальной подготовки персонала.
1.8 О. Как разделяются электроустановки по условиям электробезопасности?
В соответствии с правилами устройства электроустановок (ПУЭ) они разделяются на установки с напряжением < 1 кВ и > 1 кВ.
2. ДЕЙСТВИЕ ЭЛЕКТРИЧЕСКОГО ТОКА НА ОРГАНИЗМ ЧЕЛОВЕКА
2.1. В чем заключается действие электрического тока на организм человека?
Электрический, ток проходя через организм человека воздействует на него:
- термически - проявляется в ожогах кожных покровов и нагревании до высоких температур внутренних органов;
- электролитически - выражается в разложении органических жидкостей (крови, лимфы), вызывая нарушение их физико-химического состава;
- биологически - проявляется в раздражении тканей организма и в нарушении внутренних биоэлектрических процессов;
- механически - выражается в повреждении тканей организма (главным образом мышечных), стенок кровеносных сосудов, легочной ткани в результате электродинамического эффекта.
2.2. Какие существую виды электротравм?
Условно электротравмы подразделяются на три вида:
местные, общие (называемые электрическим ударом) и смешанные.
2.3. Что представляют собой местные электротравмы?
Местные электротравмы - это четко локализованные нарушения целостности тканей организма человека, чаще всего повреждения кожи, а также связок и костей.
Характерные виды местных электротравм - электрические ожоги, электрические знаки, металлизация кожи, электроофтальмия и механические повреждения.
2.4. Что является причиной электрического ожога?
Ожог - наиболее распространенный вид местных электротравм (65 % от общего количества травм). Ожоги бывают двух видов:
- токовый (или контактный) - возникает в результате контакта человека с токоведущей частью электроустановки;
- дуговой - обусловлен воздействием электрической дуги в которой развивается очень высокая температура.
В отдельных случаях дуга может от токоведущих частей перебросится на Тело человека. При этом происходит обугливание тканей на пути прохождения тока.
2.5. Чем характеризуются электрические знаки?
Электрические знаки возникают в результате поверхностных нарушений кожного покрова и лимфатических путей и представляют собой четко очерченные пятна на коже серого или серо-желтого цвета. Их форма часто повторяет форму токоведущих частей с которыми произошел контакт.
2.6. Что такое металлизация кожи?
Металлизация возникает в результате проникновения в верхние слои кожи расплавленных частичек металла токопровода при возникновении электрической дуги.
Пораженный участок кожи имеет шероховатую поверхность, окраска которого определяется цветом металла токопровода: зеленая при контакте с медью, серая с алюминием, сине-зеленая - с латунью, желто-серая со свинцом.
2.7. Каковы условия возникновения электроофтальмии?
Электроофтальмией называются воспаление наружных оболочек глаза в результате воздействия мощного ультрафиолетового излучения при возникновении электрической дуги.
2.8. Чем характеризуются механические повреждения?
Под действием электрического тока у человека возникают судорожные сокращения мышц, которые могут привести к разрывам кожного покрова, кровеносных сосудов, связок и нервных тканей, а также к вывихам и переломам костей.
2.9. Что такое электрический удар?
Электрическим ударом называется возбуждение живых тканей организма проходящим через него электрическим током, сопровождающееся непроизвольным сокращением мышц.
Электроудары подразделяются на четыре степени:
- судорожное сокращение мышц без потери сознания;
- судорожное сокращение мышц с потерей сознания, но с сохранением дыхания и работы сердца;
- потеря сознания и нарушение сердечной деятельности и дыхания;
- клиническая смерть, т.е. отсутствие дыхания и кровообращения.
Клиническая смерть - это переходный период от жизни к биологической смерти, наступающей с момента прекращения работы сердца и легких.
Признаком клинической смерти являются: отсутствие дыхания, отсутствие сокращений мышцы сердца, отсутствие реакции на болевые раздражения, расширенные и не реагирующие на свет зрачки.
При клинической смерти первыми начинают погибать чувствительные к кислородному Голоданию клетки коры головного мозга. Длительность состояния клинической смерти от 4 до 8 мин., после чего процесс становится необратимым, так как сопровождается распадом белковых структур.
Прекращение работы сердца является результатом прямого воздействия тока на мышцу сердца. Этому предшествует фибрилляция, т.е. хаотическое сокращение волокон сердечной мышцы (фибрилл), что нарушает кровообращение.
2.10. Какие факторы определяют опасность поражения электрическим током?
Степень опасности воздействия тока на организм зависит от:
- электросопротивления тканей кожного покрова и внутренних органов;
- силы электрического тока и приложенного напряжения;
- длительности воздействия тока;
- пути прохождения тока через организм;
- рода и частоты тока;
- состояния организма человека;
- внешних условий (от состояния окружающей Среды).
2.11. Чем определяется электросопротивление тела человека?
Ткани тела являются проводником электрического тока.
Ниже приведены значения удельного электросопротивления (Ом-м) разных видов ткани при действии переменного тока в 50 Гц:
кожа сухая 3 .103 - 2104
кости 104 - 106
жировая ткань 30 - 100
мышечная ткань 1,5 3,0
кровь 1,0 - 2,0
спинномозговая жидкость 0,5 - 0,6
Кожа, кости, жировые ткани обладают большим, а мышечные ткани, кровь, спинной и головной мозг меньшим электросопротивлением.
Наибольшим сопротивлением обладает кожа особенно ее верхний слой (эпидермис). При удалении эпидермиса сопротивление снижается до 500 - 700 Ом, наличие на коже различных повреждений, потертостей, порезов, ссадин, - резко уменьшает в этих местах электросопротивление.
Сопротивление тела человека, непостоянно. Оно зависит от состояния кожи, параметров электрической цепи, физиологических факторов, состояния окружающей среды.
Сопротивление тела человека резко падает в случае увлажнения кожи, наличия на ней пота и грязи. Кроме того, имеются участки тела особенно уязвимые для поражения током (акупунктурные точки площадью 2-3 мм2). Зоны акупунктации - тыльная часть кисти, шея, висок, район позвоночника, передняя часть ноги. Сопротивление тела падает при увеличении силы тока и длительности его воздействия, происходит это за счет местного нагрева кожи, приводящего к усилению снабжения этого участка кровью и увеличению потовыделения. Повышение напряжения также существенно (в десятки раз) уменьшает сопротивление кожи в результате пробоя и возрастания силы тока.
Кроме того, сопротивление тела зависит от рода и частоты тока, от пола и возраста: у женщин сопротивление меньше, чем у мужчин, у детей меньше, чем у взрослых, у молодых людей меньше, чем у пожилых. Объясняется это толщиной и степенью огрубления верхнего слоя кожи.
Общая электрическая схема цепи (см. рисунок) при прохождении тока через тело человека состоит из трех последова-

Электрическая схема цепи при прохождении тока через тело человека
тельно включенных сопротивлений: двух одинаковых сопротивлений эпидермиса (2Rн) и одного внутреннего сопротивления (Rв) включающего п себя среднее сопротивление всех внутренних органов, оказывающихся на пути тока.
Сопротивление наружного слоя кожи состоит из активного и емкостного сопротивлений, включенных параллельно.
Емкостное сопротивление обусловлено тем, что в месте соприкосновения токоведущего элемента с телом образуется как бы конденсатор Сн, обкладками которого являются проводник тока и внутреннее малое сопротивление тканей, между которыми находится эпидермис с высоким сопротивлением.
Емкость такого конденсатора
Сн = /d
где S - площадь контакта тела с проводником;
d - толщина эпидермиса;
0 = 8.85*10-12 Ф/м - электрическая постоянная;
= 100...200 - диэлектрическая проницаемость эпидермиса
Для сухой кожи рук Сн = 102 пФ... 10 мкФ.
2.12. Как влияет величина тока на исход поражения?
Основным 'фактором, обусловливающим исход поражения организма является сила тока. Человек начинает ощущать воздействие проходящего через него переменного тока величиной 0,6 - 1,5 мА, который называется пороговым ощутимым. При токе 10 - 15 мА человек не может оторвать рук от токоведущих частей, такой ток называется неотпускающим. Ток 50 мА поражает органы дыхания и сердечно-сосудистую систему. При силе тока 100 мА наступает фибриляиия сердца и, затем, его остановка. Ток > 5 А приводит к немедленной остановке сердца.
2.13. Как влияет длительность воздействия тока на исход поражения?
Чем продолжительнее действие тока, тем больше вероятность тяжелого или смертельного исхода, так как с увеличением времени за счет падения электросопротивления увеличивается сила тока. Кроме того, повышается вероятность совпадения момента прохождения тока через сердце с особенно уязвимой для тока фазой Т кардоцикла. Эта фаза заканчивается в расслабленное состояние, что повышает вероятность возникновения фибриляции.
2.14. Какое значение имеет путь прохождения тока через тело человека?
Особенно опасным является прохождение тока через жизненно важные органы: сердце, легкие, головной мозг. Наиболее характерные цепи тока: рука-нога, рука-рука, рука-туловище (соответственно 56,7; 12,2; 9,8 % травм с тяжелым исходом). Наимение опасным является путь от ноги к ноге.
2.15. Как влияет род и частота тока на исход поражения?
Постоянный ток в 4 - 5 раз безопаснее переменного частотой 50 Гц. Однако это справедливо только для относительно небольших напряжений (до 200 - 250 В). При напряжении 400 - 600 В опасность постоянного тока практически одинакова с переменным, а при напряжении > 600 В даже больше, чем при переменном.
С увеличением частоты от 0 до 50 Гц переменного тока полное сопротивление тела уменьшается, и величина тока возрастает. Дальнейшее повышение частоты приводит к снижению опасности поражения (электрического удара), которая практически исчезает При частоте 450 ~ 500 Гц. Однако сохраняется опасность ожогов.
2.16. Каковы предельно допустимые уровни тока и напряжения?
При, продолжительности воздействия тока Iс напряжении 36 В допустимая сила тока в нетоковедущих частях электроустановки не должна превышать 6 мА.
3. ОПАСНОСТЬ ПОРАЖЕНИЯ ТОКОМ В РАЗЛИЧНЫХ ЭЛЕКТРИЧЕСКИХ ЦЕПЯХ
Эта опасность оценивается величиной тока, протекающего через тело человека при прикосновении к токоведущим частям электроустановок.
Опасность поражения зависит от:
- схемы "включения" человека в электросеть;
- напряжения в сети;
- схемы самой электросети и режима ее нейтрали;
- степени изоляции токоведущих частей от земли.
3.11 Каковы возможные схемы "включения” человека в электрическую сеть?
Наиболее часто встречаются две схемы включения: между двумя фазами цепи и между фазой и землей.
Возможно также прикосновение к заземленным нетоковедущим частям оказавшимся под напряжением, и попадание человека под шаговое напряжение.
3.2. Что такое нейтраль трансформатора (генератора)?
Нейтраль - это точка соединения обмоток питающего цепь трансформатора или генератора. Нейтраль может быть изолированной или заземленной.
Заземленной называется нейтраль, присоединенная к заземляющему устройству, либо непосредственно, либо через малое сопротивление.
Изолированной называется нейтраль либо не присоединенная к заземляющему проводу, либо соединенная с ним через
большое сопротивление.
При напряжении до 1000 В применяются обе схемы трехфазных сетей: трехпроводная с изолированной нейтралью и четырехпроводная с заземленной нейтралью.
Технологически более выгодной является четырехпроводная сеть, позволяющая использовать два рабочих напряжения - линейное и фазовое, т.е. питать силовую нагрузку, включая ее как между фазами на линейное напряжение 380 В, так и между фазным и нулевым проводом на фазное напряжение 220 В.
При прикосновении к фазному проваду при нормальной .работе сети более безопасной является сеть с изолированной нейтралью, а в случае аварийной ситуации - с заземленной нейтралью. Поэтому сеть с изолированной нейтралью целесообразно применять в хорошо изолированных сетях.
В тех случаях, когда невозможно обеспечить хорошую изоляцию электроустановок, например из-за высокой влажности или агресивности окружающей среды, целесообразно применять сети с заземленной нейтралью.
3.3. Что такое напряжение прикосновения?
Это напряжение между двумя точками электроцепи, которых одновременно касается человек. Так для человека, стоящего на земле и касающегося оказавшегося под напряжением заземленного корпуса прибора или другой электроустановки, напряжение прикосновения численно равно разности потенциалов между корпусом и точкой касания земли.
Напряжение прикосновения увеличивается по мере удаления от заземляющего устройства.
3.4. Каковы предельно допустимые уровни тока и напряжения прикосновения?
Предельно допустимые уровни напряжения и тока установлены в соответствии с ГОСТ 12.1.038-82 (см. таблицу)
Предельно допустимые уровни U и I
|
Род тока |
U, В |
I, mА |
|
Переменный 50 Гц |
<=2 |
<=0.3 |
|
Переменный 400 Гц |
<= 3 |
<=0.4 |
|
Постоянный |
<=8 |
<=0.1 |
З.5 Что такое шаговое напряжение?
Это напряжение между двумя точками на земле на расстоянии шага, возникающее вокруг точки замыкания на землю токонесущей линии. Наибольшая величина этого напряжения наблюдается на расстоянии 80 - 100 см от точки касания провода с землей, затем оно быстро понижается и на расстоянии 20 м практически становится равным нулю.
3.6. Какова опасность двухфазного прикосновения?
Под двухфазным понимают одновременное прикосновение к двум фазам электролинии находящейся под напряжением (рис. 3.1). Такое прикосновение является наиболее опасным, так как ток, проходящий через тело по самому опасному
Рис.
3.1. Схема двухфазного прикосновения к
сети переменного тока (фазы А, В, С)
пути (рука-рука), будет зависеть от приложенного линейного напряжения (Uл = 380 В) и от сопротивления тела человека (Rч ~ 1000 Ом):
I = U/R = 380 B/ 1000 Om = 380 mA
Такой ток смертельно опасен как в сети с изолированной, так и с заземленной нейтралью.
3.7. Чем характеризуется однофазное прикосновение?
Это прикосновение к одной фазе, при котором напряжение не превышает фазного (220 В), соответственно меньшим оказывается проходящий через тело человека ток. При этом на ток оказывает влияние режим нейтрали, сопротивление изоляции проводов сети, сопротивление поля, на котором стоит человек, сопротивление обуви и т.д.
Вместе с тем, однофазное прикосновение происходит во много раз чаще двухфазного.
3.8. В чем опасность однофазного сопротивления в сети с заземленной нейтралью?
В этом случае цепь тока, проходящего через тело (рис. 3.2), включает в себя сопротивление тела человека (Rч), его обуви (Rоб), пола (Rо)? а также сопротивление заземления нейтрали источника тока (Rо):
Iч = Uф/Rч + Rоб + Rп + Rо
В наиболее неблагоприятном случае когда Rп = 0 Rоб = О с учетом, что Rо << Rч:
Iч = Uф/Rч = 220/1000 = 220 mA
Такой ток смертельно опасен. При использовании непроводящей обуви (резиновые галоши) и изолирующего покрытая пола (деревянное покрытие) сила тока существенно меньше:
Iч = 220/1000 + 45000 + 100000 = 1,5 mA
3.9. Каковы особенности однофазного прикосновения в сети с изолированной нейтралью?
В такой сети (рис. 3.3) ток, проходящий через тело человека в земл1о возвращается к источнику тока через изоляцию проводов сети, которые (» исправном состоянии) обладают весьма большим сопротивлением (Rиз). В этом случае
Iч = Uф/Rч + Rоб + Rп + Rиз*1/3
В наиболее неблагоприятном случае, когда Rоб = 0 Rп = 0
Iч = Uф/ Rч + Rиз*1/3 = 220/1000+30000 = 7 mA
Такой ток не представляет смертельной опасности.

Рис. 3.3. Схема прикосновения к одной фазе трехфазной сети с изолированной нейтралью
4. ТЕХНИЧЕСКИЕ СПОСОБЫ ЗАЩИТЫ ОТ ПОРАЖЕНИЯ ЭЛЕКТРИЧЕСКИМ ТОКОМ
4.1. Какие технические средства защиты применяются для обеспечения электробезопасности?
Отдельно или в сочетании друг с другом применяются следующие технические способы:
- защитное заземление;
- защитное зануление;
- защитное отключение;
- изоляция токоведущих частей (рабочая, дополнительная, усиленная, двойная);
- оградительные устройства.
Все эти способы и средства защиты должны применяться с учетом:
- номинального напряжения, рода и частоты тока;
- способа электроснабжения ( от стационарной сети или автономного источника питания);
- режима нейтрали (изолированная или заземленная);
- характеристики помещения по степени опасности;
- характера возможного прикосновения к элементам электроцепи.
4.2. Как выполняется защитное заземление?
Под заземлением понимается преднамеренное электрическое соединение с землей (или ее эквивалентом) нетоковедущих частей прибора или установки, которые могут оказаться под напряжением. Заземление защищает от поражения током при прикосновении к корпусу установки (или Другим нетоковедущим частям, которые оказались под напряжением).
Защитное заземление следует отличать от рабочего -преднамеренного соединения с землей отдельных точек электросети (нейтральной точки, фазового провода и т.д.), необходимого для работы определенной электрической схемы.
Суть защитного заземления заключается в том, что нетоковедушие части установки соединяются с заземляющим устройством через малое сопротивление, во много раз меньше, чем сопротивление тела человека. В случае замыкания на корпус основная часть тока проходит через землю, в то время как ток через тело оказывается весьма малым (рис. 4.1).

Рис. 4.1. Схема заземления электроприемника
4.3. Что представляет собой заземляющее устройство?
Заземляющим устройством называется совокупность заземляющих проводников и заземлителя. Заземлитель - это проводник большой площади (например пластина), находящийся в соприкосновении с землей и соединенный с заземляющими проводниками, контактирующими с заземляемой частью электроустановки.
Диаметр круглых пластинчатых заземлителей неоцинкованных и оцинкованных соответственно 10 и 6 мм. Сечение прямоугольных заземлителей 48 мм при толщине пластины >= 4 мм.
4.4. Какие части электроустановок подлежат обязательному заземлению?
Заземлению подлежат:
- корпуса электрических машин, трансформаторов, приборов, светильников;
- приводы электрических аппаратов;
- вторичные обмотки трансформаторов;
- каркасы распределительных щитов управления;
- кабельные соединительные муфты;
- металлические оболочки и броня силовых кабелей напряжением до 42 В переменного тока и до 110 В постоянного.
Для заземления электроустановок различных назначений территориально приближенных одна к другой рекомендуется применять одно заземляющее устройство.
4.5. В чем заключается основной недостаток защитного заземления?
Недостаток защитного заземления в том, что при замыкании на заземленный корпус в сети с изолированной нейтралью напряжение на нем сохраняется, как правило, длительное время.
4.6. В чем состоит сущность зануления электроустановок?
Зануление - это основная мера защиты от поражения током людей в случае прикосновения к корпусам электрооборудования и другим деталям, оказавшимся под напряжением из-за повреждения изоляции или однофазного короткого замыкания в сети с заземленной нейтралью.
Зануление заключается в преднамеренном соединении с нулевым защитным проводником металлических нетоковедущих частей, которые могут оказаться под напряжением (рис. 4.2).
Нулевым защитным проводником называется проводник, соединиющий зануляемые части с заземленной нейтралью источника тока. Такое соединение превращает всякое замыкание токоведущих частей на землю или на корпус в однофазное короткое замыкание, что приводит к срабатыванию механизма защитного отклонения.

Рис. 4.2. Схема зануления электроприемника:
Rо, Rн и Rф - сопротивление соответственно нейтрали, нулевого провода и фазного провода.
4.7. Каково основное различие между нулевым защитным проводником и нулевым рабочим проводником?
Нулевым рабочим проводником называется проводник, используемый для питания электроприемников, соединенный с заземленной нейтралью генератора (трансформатора) в сетях трехфазного тока с заземленным выводом источника однофазного тока.
Нулевые рабочие проводники длжны быть рассчитаны на длительное протекание рабочего тока.
4.8. В чем заключается принцип работы устройств автоматического отключения?
Эти устройства предназначены для быстрого отключения питающей электроцепи от электроустановки. По принципу действия они делятся на два типа: разового отключения и временного отключения.
К устройствам разового отключения относятся элементы, разрывающие питающую сеть без ее автоматического включения. Это плавкие предохранители и электромагнитные устройства, обеспечивающие контакт выключателя только при заданных режимах тока и напряжения. При срабатывании защиты контакт разрывается и самостоятельно не восстанавливается.
Вторая группа устройств (временного отключения) работает по принципу срабатывания отключения при аварийных ситуациях с последующем автоматическим замыканием контактов цепи при нормализации параметров тока и напряжения.
4.9. Каковы условия обеспечения автоматического отключения в сети с заземленной нейтралью?
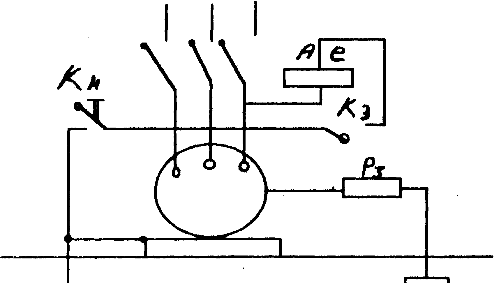
На рис. 4.3 в качестве примера приведена наиболее простая схема защитного отключения, реагирующая на напряжение корпуса электроустановки относительно земли.

% '—^
Рис. 4.3. Схема защитного отключения
Здесь датчиком служит реле напряжения Pз ? включенное между корпусом и вспомогательным заземлителем; Кз - замыкающие контакты;
Rз, Rн - вспомогательные заземления.
4.10 Как обеспечивается недоступность токоведущих частей для случайного прикосновения?
Недоступность токоведущих частей электроустановок обеспечивается их изоляцией, ограждениями, размещением на недоступной высоте и др. Оголенные провода и шипы должны быть ограждены специальными, сплошными или сетчатыми щитами высотой >= 1,7 м или размещаться на высоте 7 - 8 м от поля (для линий с напряжением > 1000 В и 3,5 - 5 м для линий с меньшим напряжением.
5. СРЕДСТВА И МЕРЫ ЗАЩИТЫ ОТ ПОРАЖЕНИЯ ЭЛЕКТРИЧЕСКИМ ТОКОМ
Средства защиты предназначены для предотвращения или уменьшения воздействия на человека опасных или вредных производственных факторов.
Существуют две категории: средства индивидуальной и средства коллективной защиты, предусмотренные ГОСТ 12.4.011 –75*
Средства защиты подразделяются на основные и дополнительные.
5.1. Что относится к основным индивидуальным электрозащитным средствам?
Основные средства защиты должны обеспечивать надежную изоляцию в течение длительного времени. К ним относятся:
- изолирующие штанги;
- изолирующие и электроизмерительные клещи;
- указатели напряжения;
- изолирующие лестницы.
5.2. Что относится к дополнительным индивидуальным средствам электрозащиты?
Дополнительными являются средства, не способные самостоятельно обеспечить защиту от поражения током, и применялся совместно с основными электрозащитными средствами.
К дополнительным средствам при напряжении рабочей цепи > 1000 В относятся:
- диэлектрические перчатки и боты;
- диэлектрические коврики;
- изолирующие подставки и накладки;
- переносные заземления;
- плакаты и знаки безопасности.
________________________________
* Описанные в разделе 4 техническис устройства защиты (заземление, зануление и гл.) в понятие средств защиты не входят.
5.3. Какие организационные меры принимаются для защиты от поражения током?
Меры защиты учитывают как индивидуальные качества человека, работающего с электрооборудованием, так и внешние условия работы. Организационные меры обеспечиваются руководством предприятия и контролируются профсоюзной организацией. Эти меры предусматривают обязательное обучение и специальные инструктажи работающих с электроустановками в соответствии с "Общими правилами устройства и Правилами технической эксплуатации электроустановок", а также "Оперативными инструкциями по технике безопасности" для конкретных условий работы.
В соответствии с этими нормативными документами работающим с электрооборудованием присваивается одна из пяти квалификационных групп.
5.4. Кому может быть присвоена квалификационная группа с I по V?
Группа I присваивается лицам, имеющим представление об опасности электрического тока и мерах электробезопасности, а также оказанию первой помощи пострадавшему.
Группа I присваивается не электротехническому персоналу (например студентам) после проверки знаний безопасных методов работы на низковольтных электроустановках под непосредственным руководством лиц с группой по электробезопасности не ниже III. Присвоение группы I офjрмляется в специальном журнале с подписью проверяющего и проверяемого.
Группа II присваивается лицам, имеющим минимальный стаж работы на электроустановках не менее двух месяцев. Для присвоения этой группы необходимо техническое ознакомление с электроустановками, практические навыки оказания первой помощи пострадавшим.
Группа III присваивается лицам, имеющим стаж работы с электроустановками не менее трех месяцев в группе II. Для этих лиц необходимо знакомство с устройством и правилами обслуживания, знание общих правил электробезопасности и конкретных мер ее обеспечения на своем рабочем месте, умение вести надзор за работающими под их руководством, умение оказывать первую доврачебную медицинскую помощь пострадавшим.
Ни I, ни II группы не дают права самостоятельной работы (или ремонтных работ).
Группа IV присваивается лицам с минимальным стажем работы с электрооборудованием не менее трех месяцев в группе III и имеющим среднее техническое образование, стаж работы на электроустановках 2 месяца в группе III.
Для присвоения IV категории необходимо знание: электротехники, правил техники безопасности (ПТБ) и правил электробезопасности (ПТЭ), электроустановок и их обслуживания, условий безопасной работы и ремонта, правил оказания первой помощи, умение обучать персонал низших групп ПТБ и ПТЭ.
V группа (высшая) присваивается лицам, ответственным за установки с напряжением > 1000 В. Стаж работы в предыдущей группе должен быть нс менее двенадцати месяцев для лиц, имеющих среднее образование и не менее трех месяцев для лиц, имеющих высшее техническое образование.
Для присвоения V квалификационной группы обязательно знание: элсктросхем и оборудования своего участка, ПТБ и ПТЭ, умение организовать безопасное проведение эксплуатационных и ремонтных работ на установках любого напряжения, умение обучить персонал ПТБ и ПТЭ и оказанию первой помощи пострадавшим.
5.5. Что принимается во внимание при оценке условий эксплуатации электроустановок?
Элсктробезопасность персонала в большей степени зависит от условий эксплуатации:
- особенностей окружающей среды (температура, влажность, запыленность помещения, наличие агрессивных сред и т.д.);
- степени допустимости токонесущих частей оборудования;
- величины напряжения, силы тока и рода электрическою тока с учетом принятых мер защиты.
5.6. Какова классификация рабочих помещений по особенностям окружающей среды?
Все рабочие помещения подразделяются на помещения без повышенной опасности, с повышенной опасностью, опасные и особо опасные.
Помещения с повышенной опасностью характеризуются:
- высокой влажностью (до 75 %);
- высокой температурой (> 30 °С);
- наличием токопроводящей пыли;
- наличием токопроводящего пола;
- возможностью замыкания на тедо человека токонесу-щих коммуникаций.
Каждый из перечисленных факторов в отдельности относит помещения к разделу повышенной опасности.
Опасные помещения характеризуются:
- повышенной влажностью (> 65 %), поддерживаемой долгое время по производственным или климатическим условиям;
- наличием химически активных сред;
- наличием двух или более признаков помещений с повышенной опасностью.
К особо опасным относятся:
- пожароопасные, в которых применяются или хранятся легко воспламеняющиеся вещества;
- взрывоопасные, в которых имеется возможность выделения горючих газов или паров, а также наличие горячей пыли во взвешенном состоянии.
5.7. Как классифицируются рабочие помещения в зависимости от имеющегося там электрооборудования и доступности токоведущих частей?
По рабочему напряжению электроустановки подразделяются на три группы:
- установки высокого напряжения (> 250 В);
- установки низкого напряжения (до 250 В), а также с напряжением 380 В с заземленной нейтралью;
- установки малого напряжения (ло 36 В).
В зависимости от доступности токоведущих частей оборудования все помещения подразделяются на 4 группы.
Группа 1. - замкнутые электромашинные помещения (подстанции, трансформаторные будки, щитовые помещения). В них разрешается находится только квалифицированному персоналу (V группа), только ограниченное время.
Группа 2. обычные электромашинные помещения, где персонал (IV, V группа) находится постоянно,
Группа 3. производственные или учебные помещения, где кроме квалифицированного (не ниже III группы) персонала могут находится другие работники или учащиеся.
Группа 4. бытовые или административные помещения.
6. ПЕРВАЯ МЕДИЦИНСКАЯ ПОМОЩЬ ПОСТРАДАВШИМ ОТ ЭЛЕКТРИЧЕСКОГО ТОКА
Доврачебная помощь включает в себя комплекс мероприятий, направленных на восстановление или сохранение жизни пострадавшего, осуществляемых непосредственно на месте несчастного случая не медицинскими работниками.
6.1. Какой фактор является определяющим при оказании первой помощи?
Главным условием успешной помощи является ее срочность. Чем быстрее она оказывается, тем больше вероятность благоприятного исхода.
Возможность успешного возвращения пострадавшего к жизни сохраняется, если* прекращение кровообращения (отсутствие пульса) длилось не более 4 мин. и весьма сомнительна при продолжительности клинической смерти 7 - 10 мин.
Предельные сроки наступления биологической смерти организма составляют 10-15 мин. Однако мероприятия по спасению человека необходимо продолжать даже в случае наличия признаков смерти до прихода квалифицированного медицинского персонала.
Следует помнить, что каждое действие подготовки к оживлению нужно прежде всего оценивать с точки зрения затрат времени.
Практика показывает, что часто очень много времени напрасно теряется на перенос пострадавшего в более теплое помещение, на стремление его удобно уложить, снять одежду и т. д.
Поэтому, даже если есть необходимость снять или расстегнуть одежду, прежде всего нужно запрокинуть голову пострадавшего, выполнить несколько вдувании воздуха в рот и и хотя бы десятью сжатиями сердца восстановить кровообращение.
6.2. Какова последовательность действий по оказанию первой помощи?
Первая помощь пострадавшему состоит из трех мероприятий:
- освобождение пострадавшего от действия тока;
- оказание доврачебной помощи;
- немедленный вызов квалифицированного медицинского персонала.
6.3. Каким образом освободить пострадавшего от действия тока?
Первым действием должно быть быстрое отключение той части электрической цепи, с которой произошло соприкосновение. Отключение производится с помощью аварийного рубильника или путем удаления предохранителя.
Необходимо учитывать, что отключение напряжения может вызывать падение пострадавшего из-за прекращения рефлекторного удерживания руками токоведущих частей.
Для предотвращения механических травм следует подложить под падающего человека какую-либо мягкую подстилку (одежду, чехол от оборудования и т. д.) но ни в коей случае не поддерживать его руками, так как поддерживающий сам может оказаться под напряжением. Для поддержки можно воспользоваться любым не токопроводящим предметом: штангой, деревянной палкой и т. д.
При невозможности быстрого отключения установки следует перерубить провода. При напряжении до 1000 В разрешается перерубать провода инструментом с изолирующей рукояткой (топор, стамеска и пр.) или перекусывать их кусачками.
Перерубать (перекусывать) необходимо каждый провод в отдельности на расстоянии между точками перекуса 10 - 15 см, чтобы не вызвать короткое замыкания и электрическую дугу» способную нанести дополнительные травмы как пострадавшему, так и оказывающему помощь.
При напряжении > 1000 В любые спасательные операции можно проводить только в диэлектрических перчатках и с помощью инструментов (клещи, штанги) с изоляцией, рассчитанной на напряжение лапной установки.
Наконец, освобождение пострадавшего может быть проведено преднамеренным замыканием накоротко и заземлением фаз электроустановки. Этот способ наиболее эффективен при высоком (> 1000 В) напряжении сети, поскольку высоковольтные установки всегда оснащены надежной и быстродействующей релейной защитой. Однако сама операция замыкания накоротко опасна и может применятся в исключительных случаях, когда нет возможности применить другие способы.
6.4. Как оказывать пострадавшему доврачебную медицинскую помощь?
Прежде всего необходимо вызвать медицинскую помощь по телефону 03 или из медицинского пункта. До прихода врача, после освобождения пострадавшего от действия тока немедленно приступить к оказание первой помощи на месте поражения.
Переносить пострадавшего в другое место следует только в тех случаях, когда сохраняется опасность повторного поражения пострадавшего или оказывающего помощь.
Меры первой помощи зависят от состояния пострадавшего. Для определения этого состояния пострадавшего необходимо уложить на спину, откинуть назад его голову, подложив под лопатки скатанную в валик одежду или другой мягкий предмет.
Проверить наличие дыхания (по ритму и силе подъема и опускания грудной клетки или с помощью поднесенного к губам зеркала) и пульса (по пульсации сонной артерии, или лучевой артерии левой руки у основания большого пальца).
Если пострадавший находится в сознании, но до этого был в обморке, необходимо: уложить его на сухую подстилку и накрыть чем-нибудь из одежды, удалить из помещения посторонних и до прихода врача обеспечить пострадавшему покой, наблюдая за дыханием и пульсом.
Ни в коем случае нельзя позволять пострадавшему двигаться, вставать, даже если субъективно он чувствует себя хорошо и не имеет видимых повреждений, так как хорошее самочувствие может быть следствием нервного возбуждения и неожиданно перейти в шоковое состояние.
Если пострадавший находится без сознания, но с сохранением устойчивого дыхания и пульса, необходимо: уложить его
на сухую подстилку, расстегнуть одежду и пояс, обеспечить приток свежего воздуха, поднести к носу вату с нашатырным спиртом, растирать и согревать тело (особенно грудную клетку и конечности), удалить из помещения посторонних и наблюдать за состоянием пострадавшего до прихода врача.
При отсутствии у пострадавшего признаков жизни (отсутствии дыхания, сердцебиения, реакции на болевые раздражения, реакции зрачков на свет) необходимо уложить пострадавшего на спину на сухую подстилку и немедленно начать искусственное дыхание и массаж сердца.
Никогда не следует прекращать медицинскую помощь и считать пострадавшего мертвым даже в случае отсутствия дыхания и кровообращения. Констатировать биологическую смерть имеет право только врач!
Искусственное дыхание может осуществляться различными способами. Наиболее эффективным является способ "изо рта в рот" когда воздух вдувается в рот или в нос пострадавшего. Другим способом является сгибание рук пострадавшего от положения скрещенных на груди в положение широко раскинутых.
При невозможности применения этих способов используется метод, при котором лежащему грудью вниз, пострадавшему производится надавливание на нижнюю часть спины в область подреберья снизу вверх и одновременно от боков к позвоночнику.
6.5. Как выполняется искусственное дыхание?
Для выполнения искусственного дыхания необходимо:
- освободить пострадавшего от стесняющей дыхание одежды;
- уложить его на спину на сухую подстилку, подложив под лопатки валик из свернутой одежды;
- запрокинуть голову пострадавшего, чтобы подбородок оказаться на одном уровне с шеей; при таком положении язык отходит от входа в гортань, обеспечивая свободный проход воздуха в легкие,
- на рот и на нос наложить чистый платок или марлю,
- оказывающий помощь делает глубокий вдох и с силой вдувает воздух в рот и нос пострадавшего;
- контроль за поступлением воздуха в легкие осуществляется по расширению грудной клетки; в минуту делается 10 - 12 вдувании;
- при появлении у пострадавшего первых самостоятельных слабых вдохов, следует приурочить искусственный вдох к началу самостоятельного;
- искусственное дыхание продолжается до восстановления глубокого и ритмичного самостоятельного дыхания.
6.6. Как выполняется массаж сердца?
Непрямой (наружный) массаж сердца производится ритмичным надавливание на грудную клетку на два пальца выше мягкого конца грудины при одновременном выполнении искусственного дыхания. Надавливание производится скрещенными ладонями быстрым толчком вниз, смещая грудную клетку на 3 -4 см с частотой один раз в секунду.
После быстрого толчка нажатие продолжается еще пол секунды, после чего давление плавно снимается.
При оказании помощи одним человеком искусственное дыхание и массаж следует чередовать, проводя их в ритме 2-3 вдувания и 15-20 надавливаний на грудную клетку.
Независимо от принимаемых мер в любом случае к пострадавшему необходимо срочно вызывать квалифицированную медицинскую помощь. Самостоятельное применение любых лекарственных препаратов, в том числе внутримышечных и внутривенных инъекций категорически запрещается. По прибытии медицинского работника всем присутствующим следует строго выполнять его предписания по дальнейшей помощи или госпитализации пострадавшего.
ЛИТЕРАТУРА
1. Кораблев В. П. Электробезопасность. - М.: Московский рабочий, 1988 200 с.
2. Долин П. А. Основы техники безопасности в электроустановках. М.: Энергия, 1979 - 153 с.
3. Вайнштейн Л. И. Меры безопасности при эксплуатации электрохозяйства потребителей. - М.: Энергоатомиздат, 1984 - 70 с.
4. Гордон Г. Ю., Вайнштейн Л. И. Электротравматизм и его предупреждение. - М.: Энергоатомиздат, 1986 - 50 с.