Средства тушения и обнаружения пожаров
средства тушения и обнаружения пожаров
Средства тушения пожаров
Пожаротушение – это комплекс мер, направленных на ликвидацию пожаров. Для возникновения и развития процесса горения необходимо одновременное присутствие горючего материала, окислителя и беспрерывного потока тепла от огня пожара к горючему материалу(источника огня), то для прекращения горения достаточно отсутствие какого-нибудь из этих компонентов.
Таким образом, прекращение горения можно добиться снижением содержимого горючего компонента, уменьшением концентрации окислителя, уменьшением энергии активации реакции и, наконец, снижением температуры процесса.
В соответствии с вышесказанным существуют следующие основные способы пожаротушения:
-охлаждение источника огня или горения ниже определённых температур;
- изоляция источника горения от воздуха;
-понижение концентрации кислорода воздуха путём разведения негорючими газами;
- торможение (ингибирование) скорости реакции окисления;
- механический срыв пламени сильной струей газа или воды, взрывом;
-создание условий огнезаграждения, при которых огонь распространяется через узкие каналы, диаметр которых меньше диаметра гашения;
Для достижения этого применяют различные огнегасящие материалы и смеси (называемые далее веществами гашения или способами гашения).
Основными способами гашения являются:
- вода, которая может подаваться в огонь пожара цельными или распыленными струями;
- пены (воздушно-механические и химические разной кратности), которые представляют собой коллоидные системы, состоящие из пузырьков воздуха (в случае воздушно-механической пены), окруженных пленкой воды;
- инертные газовые разбавители (диоксид углерода, азот, аргон, водяной пар, дымовые газы);
- гомогенные ингибиторы – галогеноуглеводороды (хладоны) с низкой температурой кипения;
- гетерогенные ингибиторы - порошки для гашения огня;
- комбинированные смеси.
Выбор способа гашения и его подачи определяется классом пожара и условиями его развития.
В качестве средств тушения пожаров применяются вода, паровоздушная смесь, аэрозольное облако, инертные и негорючие газы, химические вещества, пены, огнетушащие порошки, взрывчатые вещества. Вода имеет большую теплоёмкость, охлаждает поверхность, образует на смоченной поверхности горящего вещества плёнку, препятствующую доступу кислорода. При подаче воды в виде компактных струй можно сбивать пламя, уменьшать концентрацию реагирующих веществ в зоне горения. С этой целью используют ручные или лафетные стволы, которые подают воду на 70 – 80 м.
В сравнении с другими средствами вода отличается такими преимуществами, как широкая доступность и низкая стоимость, большая теплоёмкость, обеспечивающая отвод тепла из труднодоступных мест, высокая транспортабельность, химическая нейтральность и нетоксичность.1л воды при нагревании от 0 до 100°С поглощает 419 кДж теплоты, а при испарении – 2260 кДж.
Тушение водой веществ, вступающих с ней в реакцию (металлического калия, кальция, карбида кальция и т.п., магния, его сплавов в раздробленном состоянии и смесей этих металлов с окислителями, термитно-натриевых, термитно-калиевых и фосфорно-натриевых зажигательных веществ), не допускается. Для тушения электрооборудования, находящегося под напряжением, применение воды запрещается.
При попадании на раскалённые металлы вода не разлагается на кислород и водород, и не образует взрывоопасную горючую смесь из-за недостатка температуры. Термостойкость воды свыше 1700°С. Нельзя тушить струёй воды горящий бензин, ацетон, скипидар, спирт, керосин, мазут, смазочные масла и т.п., так как эти вещества всплывают на поверхность воды и продолжают гореть. Тушить эти вещества следует распылённой водой. При тушении воспламенённого угля воду из стволов подавать запрещается, ибо угольная пыль, поднимаемая струёй воды под большим давлением, образует с воздухом взрывчатую смесь.
Пена – ещё более эффективное средство тушения. Она лёгкая, обладает огромной проникающей способностью. Пена незаменима при тушении пожаров в больших резервуарах с горючими жидкостями. Вода тонет в горючей жидкости, а пена накрывает пламя и тушит его. В резервуаре пена может подаваться и сверху и снизу. Применяют пену при тушении пожаров в подвалах, трюмах, машинных отделениях кораблей. Существует химическая и воздушно-механическая пена.
Химическая пена получается в результате реакции, при которой в жидкой среде образуется какой-либо газ. Обычно применяют пеногенераторный порошок из сернокислого алюминия Al2(SO4) 3 – кислотная часть состава – и бикарбоната натрия, NaHCO3 – щелочная часть. При растворении порошка в воде 1: 10 в результате взаимодействия кислотной и щелочной частей выделяется углекислый газ и образуется пена, которая содержит 80% - СО2, 19,7% - водного раствора Na2SO4 с гидратом оксида алюминия Al(OH) 3 и 0,3% поверхностно-активного вещества (ПАВ). Плотность пены обычно 200 кг/м3.
Воздушно-механическая пена образуется при механическом смешении воздуха, воды и ПАВ. Состав воздушно-механической пены – 90% воздуха и 10% водного раствора пенообразователя.
В последнее время применяется высокократная воздушно-механическая пена. Для её приготовления применяется пеногенератор, обеспечивающий подсасывание большого количества воздуха.
Использовать пену для тушения электроустановок, находящихся под напряжением, запрещается. При тушении возгораний ЛВЖ существенное значение имеет толщина слоя химической пены. Необходимая толщина слоя пены для нефти, мазута, керосина, бензина – 20 см. Необходимая толщина слоя воздушно-механической пены для мазута, нефти, керосина, бензина – 50см. Эту пену следует применять для тушения ЛВЖ и ГЖ.
Водяной пар применяют для тушения пожаров в помещениях объёмом до 500 м3. Пар увлажняет горящие предметы и снижает концентрацию кислорода. Огнегасительная концентрация водяного пара в воздухе составляет примерно 35% по объёму.
Инертные и негорючие газы (азот, аргон, гелий) понижают концентрацию кислорода в очаге горения и тормозят интенсивность горения. Инертные газы обычно применяют в сравнительно небольших по объёму помещениях. Огнегасительная концентрация этих газов при тушении в закрытом помещении составляет 31–36% по отношению к объёму помещения.
Для тушения пожаров применяют углекислый газ, азот, топочные газы. Огнегасительная концентрация углекислого газа в воздухе обычно 30 – 35% по объёму. Учитывая, что этот газ тяжёлый и стелется по земле, концентрация его в нижней части помещения будет более высокой, что способствует эффективному тушению пожара. Но давать большие концентрации СО2 опасно для людей и неэкономично. Оптимальное количество СО2 подаваемое в зону пожара, определяется по содержанию кислорода на исходящей струе воздуха. Обычно горение прекращается, если содержание кислорода понижается до 10–13%. Исходя из физической характеристики газа и характера развития пожаров, можно рекомендовать применение СО2 для эффективного тушения в сравнительно небольших помещениях в начальной стадии пожара, когда пламя не охватило всё помещение. Обычно углекислый газ подают в очаг пожара из железнодорожных цистерн или баллонов.
Углекислый газ (диоксид углерода). При содержании в воздухе 12 – 15% углекислого газа пламя гаснет, а при 25 - 30% прекращается и тление. Углекислота не электропроводна, и её следует применять для тушения ЛВЖ и ГЖ, электрооборудования, пылеобразных материалов.
Применять углекислоту для тушения возгораний взрывчатых веществ, целлулоида и веществ, содержащих в своём составе магний, запрещается. Необходимо помнить, что содержание углекислоты в воздухе (3 – 4%) действует на организм человека отравляюще.
Четырёххлористый углерод – очень эффективное средство при тушении пожаров, так как при содержании в воздухе 10% четырёххлористого углерода, попавшего на горящую поверхность, образуется примерно 145 л пара.
Применение четырёххлористого углерода даёт вероятность образования фосгена, поэтому во время тушения пожара необходимо удалить из помещения людей и обеспечить противогазами личный состав, занятый на тушении.
Азот легче воздуха, переходит в жидкое состояние при весьма низкой температуре (-195,8°С), поэтому его доставляют в район пожара для тушения в специальных машинах-ёмкостях. Обычно огнегасительная концентрация азота равна 35% по объёму.
В стране разработаны установки по сжиганию различных горючих веществ (мазута, керосина и др.), продукты, сгорания которых после охлаждения также применяются для тушения пожаров. При этом содержание О2 должно быть не более 3%, СО – не более 0,01%.
Химические вещества прекращают или замедляют процесс горения вследствие химического торможения реакции интенсивного окисления. Так, например, галоидированные углеводороды (хладоны), введённые в состав воздуха, тушат пламя за счёт обрыва цепей, радикалов процесса горения.
Огнетушащие порошки представляют собой мелко измельчённые минеральные соли с разными добавками. Огнетушащие порошки отличаются универсальностью и могут применяться для тушения различных веществ: твёрдых и горючих жидкостей различных классов, металлов и оборудования, которое находится под напряжением. Механизм огнегасящего действия порошков состоит в ингибировании процесса горения путём уничтожения активных центров пламя на поверхности твёрдых частиц или в результате их взаимодействия с газоподобными продуктами разложения порошков. Порошки применяют для поверхностного гашения, а также в установках флегматизации и обезвреживания взрыва.
Наиболее широко применяемые порошки:
Порошок ПСБ-3 (на основе бикарбоната натрия) относится к порошкам общего назначения. Используется для тушения легковоспламеняющихся и горючих жидкостей, газов, электрооборудования, двигателей. Порошок ПСБ-3 непригодный для тушения тлеющих материалов, а также щелочных металлов.
Огнетушащие порошки П2-АП, П-2АПМ (на основе аммофоса) общего назначения имеют такую же область применения, как порошок ПСБ-3, но вдобавок успешно гасят углеродные тлеющие материалы (бумагу, древесину, уголь).
Порошок Пирант-А и его модификации Пирант-АН, Пирант-АК изготовляются на основе фосфорно-амониевых солей. Применяются для тушения тлеющих и твёрдых горючих металлов, горючих жидкостей, газов, электроустановок.
Порошок П-4АП предназначенный для объёмного тушения. Гасит горючие газы, тлеющие материалы в закрытых объёмах. С целью остановки горения при объёмном тушении необходимо создать в течение нескольких секунд по всей зоне горения такую концентрацию порошка, при которой его общая поверхность обеспечит необходимую скорость ликвидации активных центров реакции горения. Это достигается подачей порошка с необходимой интенсивностью и равномерным его распределением по всей зоне горения.
Порошок К-30 тушит щелочные металлы, титановую стружку, горящие на открытых площадях. Необходимым условием остановки горения при тушении этим порошком является покрытие горящей поверхности слоем огнетушащего порошка определённой толщины.
Срок хранения большинства порошков не менее 5 лет. Температурный диапазон использования от - 50°С до +50°С
Применение огнетушителей.
Среди первичных способов пожаротушения наибольшая роль отводится самым эффективнейшим из них – огнетушителям.
По видам огнегасящего вещества огнетушители делятся на:
- водные (с зарядом воды или воды с добавками);
- пенные (с зарядом пенообразователи разнообразных видов);
- воздушно-пенные (с зарядом водного раствора пенообразующих добавок);
- химически-пенные (с зарядом химических веществ, которые на момент приведения огнетушителя в действие вступают в реакцию с образованием пены и чрезмерного давления);
- порошковые (с зарядом огнетушащего порошка);
- углекислотные (с зарядом диоксида углерода);
- хладонные (с зарядом огнетушащего вещества на основе галогенизированных углеводородов);
- комбинированные (с зарядом двух и более огнетушащих веществ).
Выброс огнетушащего вещества в разных типах огнетушителей осуществляется:
- под давлением газа-вытеснителя, который содержится в отдельном малолитражном баллоне;
- под давлением газа-вытеснителя, который постоянно находится в корпусе (такие огнетушители называют закачными);
- под давлением газов, образующихся в результате химической реакции.
В табл.4.4.3., 4.4.4. приведены основные технические характеристики, применяемых в данное время огнетушителей.
Химические пенные огнетушители выпускаются следующих марок: ОХП-10; ОХПВ-10 (рис.4.2), (сняты с производства).
Химический пенный огнетушитель ОХП-10 (или ОХВП-10) состоит из сваренного баллона (1), изготовленного из листовой углеродной стали, переходника с горловиной, нижнего сферического днища, крышки (5), пластмассового стакана (10), который закрывается резиновым клапаном, стойким к кислотам и щелочей, под действием пружины (7), штока (6), который пропущен через крышку огнетушителя. К штоку прикрепляется рукоятка с профильным кулачком на конце (3). С помощью рукоятки клапан поднимается и опускается. Спрыск (сопло) огнетушителя (2) расположенный на горловине и закрытый специальной мембраной, которая предотвращает выход заряда (кислоты и раствора щёлочи) к их полному смешиванию. Мембрана выдерживает гидравлическое давление 80…140 кПа.
Щелочная часть заряда представляет собой водный раствор двууглекислой соды (бикарбонат натрия NaHCO3) и солодового экстракта. Кислотная часть заряда – это смесь серной кислоты H2SO4 с сернокислым окисным железом Fe2(SO4) 3, сернокислым алюминием. Для устранения замерзания раствора щелочной части заряда огнетушителя до - 20°С, добавляют этиленгликоль. При соединении щелочной и кислотной частей происходит следующая реакция:
2NaHCO3+H3SO4→Na2SO4+2H3O+2CO2
; 6NaHCO+Fe2(SO4) 3→3Na2SO4+2Fe(OH) 3+6CO2 .
Углекислый газ, который образовался, интенсивно перемешивает, вспенивает щелочной раствор и выталкивает его через спрыск наружу.
Экстракт и гидроокись железа, образующиеся в ходе реакции, Fе(ОН) 3 повышают устойчивость пены.
Корпус огнетушителя периодически подвергают гидравлическим испытаниям в течение 1 мин под давлением 2 МПа. Корпус бракуют с появлением течи, разрывов и отдельных капель.
Осматривают огнетушители не реже одного раза в месяц. В процессе осмотра проверяют наличие пломб, прочищают спрыски, протирают корпуса огнетушителей. Состояние огнетушителей отражают в специальном журнале.
Р
ис.4.4.2.
Огнетушитель химически-пенный ОХП-10:
1 – корпус; 2 – спрыск; 3 – рычаг запуска; 4 – кольцо уплотнительное; 5 – крышка; 6 – шток; 7 – пружина; 8 – шайба упорная; 9 – клапан; 10 – стакан; 11 – ручка.
Для приведения в действие огнетушителя ОХП-10 необходимо: взять огнетушитель с подвеса, прочистить спрыск и поднести к месту возгорания; повернуть рукоятку клапана на 180°С; перевернуть огнетушитель вверх дном; направить струю пены на огонь.
Воздушно-пенные огнетушители (ОВП-10; ОВП-100).
Воздушно-пенные огнетушители применяются для тушения пожаров класса А и В (горение твёрдых и жидких веществ), за исключением щелочных металлов, веществ, горящих без доступа воздуха, и электроустановок под напряжением. Строение воздушно-пенного огнетушителя приведено на рис.4.3.
Для приведения огнетушителя в действие необходимо удалить приспособление, которое предотвращает случайное приведение в действие (выдернуть чеку 21); нажать и отпустить кнопку 19, в результате чего игла разрушает мембрану баллона 4 и газовытеснитель подаётся в корпус огнетушителя 1 и образует в нём излишнее давление.
После этого огнетушитель готовый к подаче огнегасительного вещества в очаг пожара. В дальнейшем необходимо поднять огнетушитель за ручку 10; держась одной рукой за рукав Направить пеногенератор в направлении очага пожара. Нажать на рычаг управления клапаном 9 и начать тушение.
Углекислотные огнетушители предназначены для тушения небольших возгораний всех горючих и тлеющих материалов, а также электроустановок, находящихся под напряжением. В качестве заряда в углекислотных огнетушителях применяется жидкая углекислота СО2, которая в момент приведения огнетушителя в действие быстро испаряется, образуя твёрдую углекислоту (снег) с температурой - 72°С.
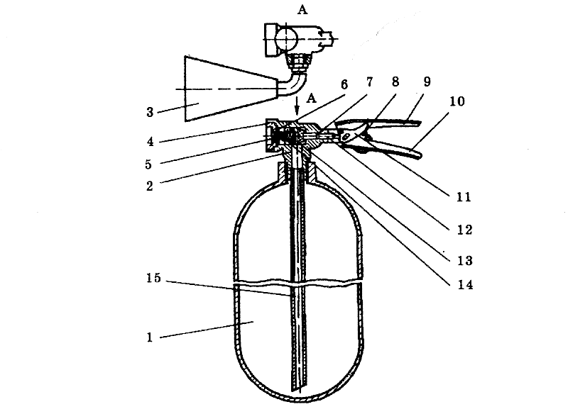
Углекислотные огнетушители (ОУ-2; ОУ-5; ОУ-25; ОУ-40; ОУ-80).
Применяются в основном для тушения пожаров класса В и электроустановок до 1000В (рис.4.4.4). Углекислотный огнетушитель (рис.4.4.4) состоит из стального баллона, в горловину которого завинчивается запорно-пусковое приспособление – латунный вентиль с сифонной трубкой. Сифонная трубка не доходит до дна баллона на 3…4мм.
Р
ис.4.4.3.
Огнетушитель воздушно-пенный ОВП - 10:
1 – корпус; 2 – головка; 3 – рукав; 4 – балон с рабочим газом; 5 – трубка сифона; 6 – пеногенератор; 7 – сетка; 8 – корпус фильтра; 9 – рычаг управления клапаном; 10 – ручка; 11 – кольцо уплотнительное; 12 – клапан; 13 – переходник; 14 – гайка накидная; 15 – кольцо уплотнительное; 16 – штифт; 17 – пружина; 18 – ось; 19 – кнопка с иглой; 20 – пружина; 21 – предохранительная чека; 22 – кольцо уплотнительное; 23 – предохранительный клапан.
Таблица 4.4.3.
Основные технические характеристики переносных огнетушителей
|
Показатель |
ОХП-10 |
ОХВП-10 |
ОВП-10 |
ОП-2 |
ОП-5 |
ОП-10 |
ОХ-3 |
ОУ-2 |
ОУ-5 |
|
Емкость корпуса, л |
10 |
10 |
10 |
2 |
5 |
10 |
3 |
2 |
5 |
|
Заряд |
Щелочная и кислотная часть |
Щелочной и кислотный, пенообразователь |
6% водный раствор пенообразователя |
Огнетушащие порошки типа Пирант, ПСБ-3, П-2АП |
Хладон 114В2 |
Диоксид углерода |
|||
|
Количество заряда, л (кг) |
8,7 |
8,7 |
9 |
(2) |
(5) |
(10) |
(4,5) |
(1,4) |
(3,5) |
|
Масса газовытеснителя, м |
- |
- |
75 |
12 |
25 |
55 |
- |
- |
- |
|
Продолжительность подачи огнетушащего вещества минимальная, с |
80 |
60 |
45 |
10 |
12-15 |
18-20 |
20 |
15 |
15 |
|
Длина струи огнетушащего вещества минимальная, м |
6,0 |
6,0 |
4,5 |
2,7 |
5,0 |
5,0 |
3,0 |
1,5 |
4,5 |
|
Диапазон температур эксплуатации,° С |
5… 45 |
5… 45 |
5… 45 |
-40 …50 |
±50 |
±50 |
-60 …50 |
-40 …50 |
-40 …50 |
|
Огнетушащая способность гашения модельного огня пожара класса, м2 А |
4,78 |
4,78 |
4,78 |
4,78 |
12,2 |
19,2-25,34 |
Данных нет |
- |
- |
|
В |
1,1 |
1,1 |
1,76 |
0,41- 0,7 |
2,81 |
4,52- 5,75 |
0,70 |
0,41 |
0,70 |
|
Габаритные размеры, мм: - диаметр - высота |
148 745 |
148 445 |
170 700 |
108 450 |
156 450 |
170 700 |
127 410 |
108 440 |
140 540 |
|
Продолжение таблицы 4.4.3 |
|||||||||
|
1 |
2 |
3 |
4 |
5 |
6 |
7 |
8 |
9 |
10 |
|
Масса огнетушителя полная, кг |
14,0 |
14,0 |
15,5 |
4,5 |
10,5 |
15,5 |
7,1 |
7,0 |
13,0 |
Таблица 4.4.4.
Основные технические характеристики передвижных огнетушителей
|
Показатель |
ОВП-100 |
Огнетушащие порошки типа |
ОК-100 |
Диоксид углерода |
|||
|
Пирант |
ПСБ-3 |
||||||
|
Емкость корпуса, л |
100 |
2×50 |
|||||
|
Заряд |
6% водный раствор пенообразователя |
Раствор пенообразователя и порошок |
|||||
|
Количество заряда, кг (л) |
(85) |
45 |
90 |
45 (47) |
17 |
28 |
56 |
|
Емкость газового баллона, л |
2 |
- |
10 |
10 |
- |
- |
- |
|
Продолжительность подачи огнетушащего вещества минимальная, с |
90 |
25 |
45-60 |
40/30 |
20 |
15 |
50 |
|
Длина струи огнетушащего вещества минимальная, м |
5 |
8 |
11 |
- |
- |
- |
- |
|
Диаметр, количество и длина рукавов, м∙шт-1∙м-1 |
18/1×5 |
15/1×3,5 |
32/1×10 |
25/2×10 |
9/1×3 |
9/1×5 |
9/2×10 |
|
Диапазон температур эксплуатации,°С |
5…50 |
-20 …50 |
-35 …50 |
5…50 |
-40 …50 |
-40 …50 |
-40 …50 |
|
Огнетушащая способность погашения модельного огня пожара класса, м2 А |
40,29 |
51,5 |
83,27 |
Нет данных |
4,78 |
- |
12,26 |
|
В |
6,5 |
8,0 |
7,1 |
2,27 |
2,6 |
4,52 |
|
|
Продолжение таблицы 4.4.4 |
|||||||
|
1 |
2 |
3 |
4 |
5 |
6 |
7 |
8 |
|
Габаритные размеры, мм: - диаметр - ширина - высота |
800 660 1350 |
700 550 1050 |
850 800 1300 |
900 900 1200 |
480 400 1140 |
480 400 1650 |
800 760 1700 |
|
Масса огнетушителя полная, кг |
155 |
100 |
180 |
190 |
73 |
110 |
245 |
Р
ис.4.4.4.
Огнетушители углекислотные ОУ-2 и ОУ-5:
1 – корпус; 2 – головка; 3 – распылитель; 4 – гайка; 5 – предохранительная мембрана; 6 – шайба; 7 – кольцо уплотнительное; 8 – предохранительная часть; 9 – рычаг управления клапаном; 10 – ручка; 11 – кулачок; 12 – шток; 13 – клапан; 14 – пружина; 15 – трубка сифона.
Вентиль-запор имеет предохранительную мембрану, рассчитанную на взрыв при температуре 50°С, которая предотвращает от чрезмерного повышения давления углекислоты в корпусе огнетушителя (выше 18…21 МПа).
Первичную зарядку углекислотных огнетушителей выполняют заводы изготовители. На каждом баллоне возле горловины штампуют название или марку завода-изготовителя, массу баллона, рабочее и испытанное давление (6 и 25,5 МПа), ёмкость, номер и клеймо ВТК завода-изготовителя. Вентиль и колпачок огнетушителя пломбируют.
Углекислотные огнетушители, поступившие в эксплуатацию, регистрируют в учётном журнале, где указывают номер огнетушителя, его паспортные данные, дату последней зарядки и массу заряда.
Каждые 3 месяца углекислотные огнетушители взвешивают для проверки на утечку углекислоты. Массу после взвешивания сопоставляют с первичной массой заряда, при уменьшении которой на 10% и более, огнетушитель стоит подзарядить или перезарядить на специальной зарядной станции. Внешний осмотр огнетушителей стоит проводить не реже двух раз в месяц. Не реже 1 раза в 5 лет баллоны всех огнетушителей, находящихся в эксплуатации, необходимо осмотреть на зарядных станциях для определения пригодности их к эксплуатации, осмотреть внешнюю и внутреннюю поверхность баллонов, провести гидравлические испытания и проверить состояние вентилей.
Для приведения в действие таких огнетушителей нужно:
распылитель огнетушителя 3 направить на очаг пожара (распылитель легко фиксируется в удобной позиции для подачи огнетушительного вещества);
- удалить предохранительную чеку 8;
- нажать на рычаг управления клапаном 9, одновременно держась за ручку 10.
Во время тушения пожара распылитель огнетушителя должен быть направлен в сторону очага пожара, находящегося ближе всего к оператору.
При тушении огня пожара углекислотным огнетушителем запрещается:
- направлять распылитель огнетушителя в сторону людей;
- удерживать распылитель руками (это может привести к обморожению рук).
Углекислотно-бромэтиловые жидкие огнетушители ОУБ-3А, ОУБ-7А, ОЖ-7 предназначенные для тушения небольших очагов горения волокнистых и других твёрдых материалов, а также электроустановок, находящихся под напряжением не выше 380 В. Указанные огнетушители эффективнее углекислотных в 4 раза, но не пригодны для тушения щелочных и щелочноземельных металлов и сплавов на их основе, потому что могут усилить горение, вызвав взрыв. Нельзя ими тушить и те вещества, которые горят без доступа воздуха.
Огнетушители представляют собой цилиндрические стальные баллоны сваренной конструкции, состоящие из обечайки и двух штампованных днищ. В верхней части корпуса вварена горловина, в которую вкручена запорная головка с распыляющей насадкой.
Таблица 4.4.5
Характеристики углекислотно-бромэтиловых огнетушителей
|
Огнетушители |
Состав л |
Масса заряда, кг |
Продолжительность действия, с |
Дальность струи, м |
Масса без заряда и кронштейна, кг |
|
ОУБ-3А |
3,2 |
3,5 |
40 |
3…4 |
2,6 |
|
ОУБ-7А |
7,4 |
8,0 |
40 |
3…4 |
4,3 |
|
ОЖ-7 |
7,0 |
5,0 |
30…35 |
6…8 |
- |
Головка состоит из корпуса, клапана, пружины, штока, накидной гайки, с помощью которой головка присоединяется к корпусу огнетушителя, рычага, ушка и штуцера, в который вкручена сифонная трубка. Сифонная трубка не доходит до дна баллона на 1,5…3 мм, что обеспечивает практически полный выход заряда из огнетушителя.
Углекислотно-бромэтиловые огнетушители (ОУБ-3А, ОУБ-7А) имеют огнетушащий заряд на основе галоидных углеводородов. Он состоит из 98% (по массе) бромистого этила и 2% углекислоты с добавкой воздуха до давления 0,86МПа при 20°С.
Углекислота применяется как вытеснительное вещество. Вместо углекислоты можно применять воздух или инертные газы. Бромистый этил не проводит электрический ток и имеет высокую намокательную способность. Он является летучей жидкостью, потому что имеет низкую температуру кипения (+38°С). Работа заряда обеспечивается в диапазоне температур от - 60°С до +55°С.
Чтобы обеспечить выброс заряда в любых температурных условиях, в огнетушители ОЖ-7 нагнетают воздух под давлением до 0,9МПа, что усложняет условия их эксплуатации и является существенным недостатком (при изменении температуры окружающей среды давление в баллоне ОЖ-7 и ОУБ изменяется). Существенным недостатком является и то, что пары бромистого этила токсичны, а в смеси с воздухом могут образовывать взрывоопасные концентрации. Поэтому при работе с такими огнетушителями необходимы предохраняющие меры и использовать их безопаснее в открытых установках, а не в помещении. Огнетушители стоит периодически испытывать на прочность гидравлическим давлением.
Порошковые огнетушители ручные (ОП-2; ОП-9; ОП-10; ОП-100) применяют для тушения щелочных и щелочноземельных металлов и их сплавов, малых очагов горения топлива, которое разлилось, электроустановок, находящихся под напряжением до 380В.
Схема огнетушителя ОП-9 приведена на рис.4.4.5.
В качестве огнетушащего заряда используют порошок ПСГ-2, П-1А или ПСБ. Первый порошок предназначен для тушения легковоспламеняющихся жидкостей и газов, второй – тлеющих материалов.
Состав ПСБ нетоксичный и не вызывает вредного влияния на материалы. Он состоит из кальционированной соды, графита, стеаратов железа, алюминия и стеариновой кислоты. Благодаря этому его можно использовать в соединении с распылённой водой и пенами для тушения на всех видах транспорта.
Подача порошкового состава ПСБ может осуществляться под давлением углекислоты, воздуха, других инертных газов, а также за счёт гравитационных сил. При работе порошковых огнетушителей образуется плотное порошковое облако, которое быстро гасит пламя.
Перемещение иглы для разрушения мембраны баллона с газом-вытеснителем может осуществляться как в других моделях огнетушителей, например, ОПУ-5, не нажатием кнопки, а поднятием ручки 2.
При работе огнетушителя необходимо охранять органы дыхания и глаза от попадания порошка. Продолжительность действия огнетушителя не менее 10с.
Первичные средства пожаротушения
Для ликвидации возможных очагов пожара силами рабочих и служащих все производственные, складские, вспомогательные помещения, наружные установки, а также пожароопасные участки территории предприятия (организации) должны быть обеспечены по действующим нормам первичными средствами пожаротушения, пожарным ручным инструментом и пожарным инвентарём.
К первичным средствам пожаротушения относятся: огнетушители, пожарный инвентарь (покрывала из негорючего теплоизоляционного полотна, ящики с песком, бочки с водой, пожарные вёдра, совковые лопаты) и пожарный инструмент (крюки, ломы, топоры и т.д.).
Бочки для хранения воды с целью тушения пожара в соответствии с ГОСТом 12.4.009-83 должны быть вместимостью не менее 200л. Пожарные щиты (стенды) устанавливаются на территории объекта из расчёта один щит (стенд) на площадь 5000м2. В комплект средств пожаротушения, которые размещаются на нём, должны быть включены: огнетушители – 3шт., ящик с песком – 1шт., покрывало из негорючего теплоизоляционного материала размером 2м. х 2м. – 1шт., крюки – 3шт., лопаты – 2шт., ломы – 2шт., топоры – 2шт.
Каждый работник должен знать место расположения первичных средств пожаротушения и уметь ими пользоваться; работники должны знать правила поведения при пожаре, пути эвакуации.
В табл.4.4.6. приведены рекомендуемые огнетушащие вещества при тушении различных классов пожаров.
Таблица 4.4.6.
Рекомендуемые огнетушащие вещества в зависимости от классификации пожаров.
|
Класс пожара |
Характеристика горючей среды или горящего объекта |
Рекомендуемые огнетушащие вещества |
|
А |
Обычные твёрдые горючие материалы (дерево, уголь, бумага, резина, текстильные материалы и др.). |
Все виды огнетушащих веществ (прежде всего вода). |
|
В |
Горючие жидкости и плавящиеся при нагревании материалы (мазут, бензин, лаки, масла, спирт, стеарин, каучук, некоторые синтетические материалы и др.). |
Распылённая вода, все виды пен, составы на основе галогеналкидов, порошки. |
|
С |
Горючие газы (водород, ацетилен, углеводороды и др.). |
Газовые составы: инертные разбавители (N2, CO2), галогеноуглеводороды, порошки, вода (для охлаждения). |
|
D |
Металлы и их сплавы (калий, натрий, алюминий, магний). |
Порошки (при спокойной подаче на горящую поверхность). |
|
E |
Оборудование под напряжением. |
Порошки, СО2, хладоны. |