Явления при стекании тока в землю через одиночный и групповой заземлитель
КОНТРОЛЬНАЯ РАБОТА
по основам безопасности жизнедеятельности
на тему:
ЯВЛЕНИЯ ПРИ СТЕКАНИИ ТОКА В ЗЕМЛЮ ЧЕРЕЗ ОДИНОЧНЫЙ И ГРУППОВОЙ ЗАЗЕМЛИТЕЛЬ
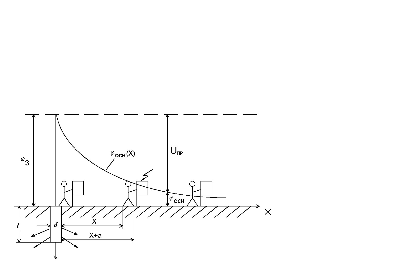
Расчет одиночного вертикального заземлителя
Задание: определить U>ПР>, U>Ш> и ток через тело человека для одиночного вертикального заземлителя радиусом r = 0,05 м и длиной l = 5 м, на расстоянии x = 2; 10; 20 м - для U>ПР>, и на расстоянии x = 0,8; 10; 20 м - для U>Ш>. Ток стекания в землю I>З> = 30 А, удельное сопротивление земли >З> = 120 Омм, сопротивление тела человека R>h> = 1 кОм.
Уравнение потенциальной кривой
.
Выполнение работы

Определим напряжение прикосновения при разных значениях x и ток через тело человека.
U>ПР> = >З> - >ОСН>,
где >З> – потенциал заземлителя; >ОСН> = >X> – потенциал основания.
= 686,92 В.
а) x = 2 м
>X> = 188, 85 В;U>ПР> = 686,92 - 188,85 = 498,07 В;I>h> = U>ПР>/R>h> = 0,498 А.
б) x = 10 м
>X> = 55,17 В;U>ПР> = 686,92 - 55,17 = 631,75 В;I>h> = U>ПР>/R>h> = 0,632 А.
в) x = 20 м
>X> = 28,37 В;U>ПР> = 686,92 - 28,37 = 658,55 В;I>h> = U>ПР>/R>h> = 0,659 А.
Определяем напряжение шага по формуле:
,
где >X> – потенциал в точке x, >X>>+>>a> – потенциал в точке X+a; а = 0,8 м – расстояние шага.
а) x = 0,8 мU>Ш> = 290,30 – 212,93 = 77,37 В;
б) x = 10 мU>Ш> = 55,17 – 51,34 = 3,83 В;
в) x = 20 мU>Ш> = 28,37 – 27,30 = 1,07 В.
II. Расчет защитного заземления
Задание: рассчитать групповой заземлитель для помещения длиной 60 м и шириной 30 м, в котором используется электрооборудование на напряжение 380 В, суммарной мощностью питающих трансформаторов Р>> = 400 кВА. Удельное сопротивление грунта для вертикального электрода >В> = 120 Омм и горизонтального электрода >Г> = 180 Омм. Тип заземляющего устройства контурный. Ток срабатывания релейной защиты I>СР> = 90 А.
Выполнение работы
Определяем расчетный ток замыкания на землю I>З>. Принимаем в качестве I>З> ток срабатывания релейной защиты от межфазного замыкания I>СР>
I>З> = 1,5I>СР> = 135 А.
Определяем требуемое сопротивление заземляющего устройства. Т.к. в нашем случае
U < 1000 В и Р>> > 100 кВА, то получаем R>З> = 4 Ом.
Вычерчиваем предварительную схему размещения электродов в этом устройстве.

Тип заземляющего устройства контурный. Вертикальные электроды имеет форму стержня круглого сечения и расположены у поверхности земли. Длина вертикальных электродов l>В> = 6 м, диаметр d = 0,1 м. Горизонтальные - в виде протяженной на поверхности земли полосы шириной b = 0,04 м и длиной l>Г> = 6 м. Количество вертикальных электродов равно n>B> = 30.
Определяем сопротивления вертикального и горизонтального электродов.
Ом
Ом,
где d = 0,5b = 0,02 м.
Находим для данного случая коэффициенты использования >В> = 0,44 и >Г> = 0,24. Рассчитаем групповое сопротивление заземлителя
Ом.
Сравним полученное расчетное сопротивление с требуемым. Должно выполняться следующее условие:


Следовательно, выбранная нами конструкция защитного заземления рассчитана верно.