Расчеты освещения и акустических характеристик
Расчеты освещения и акустических характеристик
Задача 1. Расчет искусственного освещения
Задачей расчета является определение потребной мощности электрической осветительной установки для создания в производственном помещении заданной освещенности. Для расчета общего равномерного освещения применим метод светового потока (коэффициента использования).
Исходные данные:
-
Тип
светильника
Размеры помещения, м
Разряд
Подразряд
Коэффициенты
отражения
,
%Длина
А
Ширина
В
Высота
Н
Зрительных работ
Потолка
Стен
ЛСП01
18
18
14
IV
Б
70
50
Определение площади, подлежащей освещению
.
2. Установление нормы освещенности на рабочих поверхностях в зависимости от разряда зрительных работ по СНиП 23-05-95
— нормируемая минимальная освещенность.
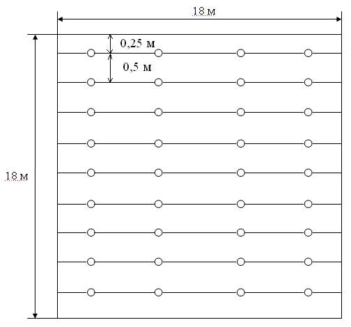
3. Выбор схемы размещения светильников в зависимости от ширины помещения
Т.к. ширина помещения равна 18 метрам, то
выберем 3 схему размещения светильников:
.
4. Определение количества светильников в одном ряду и общее количество светильников в помещении
Так как длина одного светильника – 1,5 м + зазор между светильниками 0,5 м и длина комнаты 18 м, то
,
тогда
— число светильников в одном ряду, а
так как рядов 4, то
— общее число светильников.
5. Определение количества ламп
Так как в задании используются
люминесцентные лампы, то
.
Тогда общее число ламп равно 72.
6. Определение индекса помещения i
;
.
7. Выбор коэффициента использования
светового потока

Так как в таблице нет подходящего значения, то используем формулу
интерполяции
.
8. Расчет величины светового потока для одной лампы
— коэффициент минимальной освещенности.
— коэффициент запаса.
.
9. Выбор конкретной марки лампы
Выбираем люминесцентную лампу ЛД80 со значением светового потока 4070 лм.
,
значит отклонение в пределах допустимого.
10. Эскиз системы общего равномерного освещения

Для создания в данном помещении нормированной освещенности в 200 лк и выполнения зрительных работ IV разряда требуется 72 лампы СД80
Задача 2. Расчет и проверка достаточности естественного освещения

Проверка достаточности естественного освещения осуществляется путем сравнения коэффициента естественной освещенности (КЕО) в расчетной точке помещения с нормативным значением КЕО для данного вида работ. Расчетная точка находится на уровне условной поверхности (0,8 м от пола) на расстоянии 1 м от стены, наиболее удаленной от световых проемов.
Исходные данные:
|
Размеры помещения |
Размер объекта различения |
Коэффициенты отражения |
Высота противостоящего здания |
Расстоя ние до здания |
Отделоч ный материал |
Вид остекле ния |
Вид переплета |
|||
|
ДлинаА |
Глубина В |
потолка |
стен |
пола |
||||||
|
9 |
6 |
2 |
0,6 |
0,45 |
0,4 |
5 |
10 |
Кирпич |
Двойной |
Разд-сп. |
1. Расчёт площади световых проёмов геометрическим методом
,
где:
S>о> - площадь световых проемов при боковом освещении;
S>п> - площадь пола помещения;
е>н> - нормированное значение КЕО;
>о>- световая характеристика окон;
К>зд>- коэффициент, учитывающий затенение окон противостоящим зданием;
>о> - общий коэффициент светопропускания, определяемый по формуле:
>0 >= >1> >2> >3> >4> >5>, где:
>1> - коэффициент светопропускания материала;
>2> - коэффициент, учитывающий потери света в переплетах светопроема;
>3> - коэффициент, учитывающий степень загрязнения светопропускающего материала;
>4 >- коэффициент, учитывающий потери света в несущих конструкциях;
>5> - коэффициент, учитывающий потери света в солнцезащитных устройствах;
r>1> - коэффициент, учитывающий повышение КЕО при боковом освещении благодаря свету, отраженному от поверхностей помещения и подстилающего слоя, прилегающего к зданию.
- коэффициент светового климата, для
Тульской области, при боковом освещении
и ориентации окон на запад или восток
;
Расчет необходимых параметров:
Определим площадь пола:
;
Определим нормированное значение КЕО:
,
Так как
,
то К>ЗД>=1,1.
;
— высота от уровня условной поверхности
до верха окна.
.
Для выбора световой характеристики окон используем формулу интерполяции:
.
Определим общий коэффициент светопропускания:
,
,
,
,
.
;
Определим средневзвешенный коэффициент отражения потолка, стен и пола:
,
,
.
Поскольку площади пола и потолка равны, то
,
— площадь 3-х стен,
.
—
расстояние от наружной стены до расчётной
точки.
.
Тогда коэффициент
.
Определим площадь оконного проёма:
,
значит
.
2. Определим количество и размеры окон
Так как высота окна 2,6 м, то ширина будет равна 5,4 м. Поэтому спроектируем 2 окна размерами 2,7м на 2,6м.
3. Рассчитаем действительное значение КЕО в расчетной точке по методу А.М.Данилюка

,
.
Противостоящее
здание
2323

,
.
Определим геометрический КЕО:

— между линией рабочей поверхности и
линией, соединяющей расчетную точку с
оптическим центром светопроема;
— коэффициент, учитывающий неравномерную
яркость облачного неба;
— коэффициент, учитывающий относительную
яркость противостоящего здания.
— коэффициент, учитывающий свет,
отраженный от противостоящего здания,
определяемый по выражению.
.
4. Сравним рассчитанное действительное значение КЕО с нормативным значением
Нормативное значение КЕО равно 1%,
Действительное значение КЕО равно 0,93%.

Таким образом, действительное значение КЕО меньше на 7%, что находится в пределах допустимого отклонения. Это означает, что оконные проёмы запроектированы правильно и естественно освещения достаточно для выполнения данного вида работ.
Задача 3. Акустический расчет
Задачами акустического расчета являются:
- определение уровня звукового давления в расчетной точке, создаваемого источником шума,
- расчет необходимого снижения шума.
- разработка мероприятий по снижению шума до допустимых величин,
- определение толщины стального облицованного кожуха, необходимой для достижения эффективной звукоизоляции.

Исходные данные
|
Номер Источника шума |
Хар-ка Помещения |
Размеры помещения |
Расстояние от ИШ до РТ, r |
Вид деятельности |
Материал Кожуха |
||
|
Длина А |
Ширина В |
Высота Н |
|||||
|
8 |
1 |
34 |
20 |
8 |
6 |
1 |
Сплав А |
1. Расчет уровня звукового давления, создаваемого источником шума, в каждой октавной полосе
— фактор направленности для
равномерного шума;
— площадь поверхности, на которую
распределяется излучаемая энергия;
;
— постоянная помещения на частоте
1000 Гц.
а) 63 Гц.
;
;
.
б) 125 Гц.
;
;
.
в) 250 Гц.
;
;
.
г) 500 Гц.
;
;
.
д) 1000 Гц.
;
;
.
е) 2000 Гц.
;
;
.
ж) 4000 Гц.
;
;
.
з) 8000 Гц.
;
;
.
2. Определение допустимых уровней звукового давления для заданного вида работ

3. Расчет требуемого снижения уровня звукового давления








4. Выбор октавной полосы, в которой требуемое снижение уровня звукового давления имеет наибольшую величину
Такой полосой является полоса
с


5. Определение толщины кожуха
Исходя из условия, что кожух обеспечивает необходимую звукоизоляцию, получаем:

Найдём толщину кожуха.
— коэффициент звукопоглощения
материала;
Так как
и
,
то
,
откуда
,
,
,
,
— поверхностная плотность
материала кожуха.
Так как
,
то
,
тогда
.
Таким образом, толщина кожуха из сплава А равна 21мм.