Безопасность жизнедеятельности на предприятии (работа 2)
Министерство сельского хозяйства Российской Федерации
Федеральное государственное образовательное учреждение
Высшего профессионального образования
Ижевская государственная сельскохозяйственная академия
Кафедра Безопасности жизнедеятельности
Контрольная работа
По дисциплине
Безопасность жизнедеятельности на предприятии
Выполнил: студент Жуйкова Н.Н.
Ижевск 2005
1. Целевой инструктаж. Содержание, проведение, оформление
Целевой инструктаж проводят при выполнении разовых работ, не связанных с прямыми обязанностями по специальности, ликвидации последствий аварий, стихийных бедствий и т.п., проведении экскурсии на предприятии или других массовых мероприятий (спортивные мероприятия и т.п.), а также при производстве работ с повышенной опасностью (с пестицидами, в канализационных колодцах, при сварке в закрытых емкостях ит.п.). Факт проведения целевого инструктажа фиксируют только в случае выполнения работ с повышенной опасностью в наряде-допуске или другой документации, разрешающей проведение этих работ.
Инструктажи завершают проверкой знаний, а проводимые на рабочем месте – проверкой приобретенных навыков безопасной работы. Лиц, показавших неудовлетворительные знания, к самостоятельной работе или практическим занятиям не допускают. Они обязаны пройти инструктаж вновь. Организационную работу по охране труда на сельскохозяйственных предприятиях выполняют в соответствии с Временным положением об организации работы по охране труда на предприятиях и в организациях агропромышленного комплекса Российской Федерации, в котором перечислены обязанности по охране труда должностных лиц всех уровней производственно-хозяйственного механизма. Руководитель сельскохозяйственного предприятия ежегодно должен издавать приказ о назначении ответственных лиц за состоянием охраны труда по отраслям (цехам) и производственным подразделениям. Знакомят с содержанием приказа упомянутых в нем лиц под роспись.
Порядок разработки, утверждения и введения в действие нормативных правовых актов, содержащих государственные требования по охране труда, в том числе типовых инструкций по охране труда и инструкций по охране труда для работников, указан в Постановлении №30 Министерства труда и социального развития РФ от 06.04.2001 г. «Об утверждении методических рекомендаций по разработке государственных нормативных требований охраны труда».
Межотраслевые правила по охране труда разрабатываются Минтрудом России в соответствии с настоящими Методическими рекомендациями:
В межотраслевые и отраслевые правила по охране труда рекомендуется включать главы.
Общие требования.
Требования безопасной организации работ к производственным (технологическим) процессам.
Требования к производственным помещениям и производственным площадкам (для процессов, выполняемых вне производственных помещений).
Требования к производственному оборудованию, его размещению и организации рабочих мест.
Требования к исходным материалам, заготовкам и полуфабрикатам, а также способам хранения и транспортирования исходных материалов, заготовок, полуфабрикатов, готовой продукции и отходов производства.
При необходимости в межотраслевые и отраслевые правила по охране труда могут быть включены другие главы.
Любая инструкция по охране труда должна содержать следующие разделы: общие требования безопасности, требования безопасности перед началом работы, требования безопасности во время работы, требования безопасности в аварийных ситуациях, требования безопасности по окончании работы. При необходимости в инструкции включают дополнительные разделы, например «Введение», «Средства индивидуальной защиты», «Порядок приема и сдачи смены» и др. Каждой инструкции присваивают наименование и номер. После предварительных консультаций с профсоюзным комитетом, службой охраны труда, а при необходимости и с другими заинтересованными службами и должностными лицами инструкции утверждает руководитель предприятия. Служба охраны труда выдает инструкции всем руководителям заинтересованных подразделений с регистрацией в журнале учета выдачи инструкций.
2. Вентиляция, её назначение. Виды вентиляции, принцип действия
Вентиляция — система устройств для удаления из помещений избыточной теплоты, влаги, пыли, вредных газов и паров и создания микроклимата в соответствии с требованиями ГОСТ 12.1.005—76. Она предназначена для создания и поддержания благоприятных условий труда, повышения производительности и уменьшения профессиональных заболеваний и т.д. Вентиляция подразделяется на: 1) естественную (через форточки и каналы за счет разности температур и давлений внутри помещения и вне его); 2) искусственную механическую (вентилятор); 3) смешанную (естественная + механическая). Нерегулируемая естественная вентиляция (инфильтрация) осуществляется через неплотности строительных конструкций зданий – поры стен, перегородок, щели дверей, окон и пр. Организованный и управляемый воздухообмен за счет естественных природных сил (ветрового и теплового напоров) называется аэрацией (рис. 1). Применение аэрации эффективно и экономически выгодно в горячих цехах.
Вентиляция может быть приточной, вытяжной или приточно-вытяжной. Вытяжная общеобменная вентиляция необходима для активного удаления воздуха, загрязненного по всему объему помещения, при малой кратности воздухообмена. Приточная общеобменная вентиляция применима в помещениях с локальным выделением вредностей для создания воздушного подпора, усиливающего эффективность работы местной вентиляции. Приточно-вытяжная вентиляция, которая может быть только общеобменной, целесообразна для обеспечения интенсивного и надежного обмена воздуха в помещениях. По месту действия вентиляция бывает общеобменной и местной. Общеобменная вентиляция осуществляет воздухообмен во всем помещении, а местная — лишь в определенных местах.





_

_
_ +


_
+
Потоки теплого воздуха
_ _ +_ +
_ + + +
Направление ветра
_ +
+ +
_
_ +
И
И
_ +
_ _
+ +

Рис. 1. Сема возникновения теплового и ветрового напоров:
И – источники выделения теплоты; + - зоны повышенного давления;
- - зоны разрежения
Эффективность вентиляции зависит от следующего: направление потока приточного воздуха должно быть таким, чтобы он не проходил через зоны с большим загрязнением вредностями в зоны помещений с меньшим загрязнением; поток приточного воздуха направляют непосредственно на рабочую или обслуживаемую зону так, чтобы он не нарушал работу местных отсосов; удаляемый из помещения воздух необходимо забирать непосредственно от мест выделения вредностей или из зон наибольшего загрязнения. Недопустимо, чтобы поток удаляемого загрязненного воздуха проходил через зону дыхания людей или через зону частого их пребывания. Выброс загрязненного воздуха не следует допускать в непроветриваемые участки прилегающей территории.
3. Организация безопасного использования сосудов, работающих под давлением
Баллоном называют сосуд, имеющий одну или две горловины с отверстиями для ввинчивания вентилей и штуцеров. Эксплуатация баллонов, заполненных сжатыми, сжиженными или растворенными газами, связана с опасностью взрыва, причинами которого могут служить: перегрев баллонов (от посторонних источников теплоты или при быстром наполнении баллоном газом); переполнение баллонов сжиженными газами без оставления свободного нормированного пространства; удары сосудов о твердые предметы при неправильной транспортировке или переноске (особенно в условиях низких или высоких температур); попадание масла на вентиль кислородного баллона) наличие окалины или ржавчины в кислородном баллоне перед наполнением; низкое качество или осадка пористой массы в ацетиленовых баллонах, а также их заполнение газом, для которого они не предназначены (например, метаном или попадание кислорода в количестве более 1 % в водородный баллон). Другие сопутствующие опасности связаны со следующими обстоятельствами: перемещением тяжелых предметов; энергией сжатого газа (давлением); специфическими свойствами содержащегося в баллоне газа, который может быть воспламеняющимся, отравляющим, окисляющим и т.д. Для предотвращения взрывов и других негативных явлений при работе с баллонами следует соблюдать утвержденные Госгортехнадзором Правила устройства и безопасной эксплуатации сосудов, работающих под давлением. Перед эксплуатацией баллоны подвергает освидетельствованию завод-изготовитель. После этого оформляют ведомость за подписью представителя ОТК завода-изготовителя. В нее вносят: заводской номер, дату изготовления, дату испытания, массу и вместимость баллона, значения рабочего и пробного давления. Эксплуатируемые баллоны подвергают периодическому освидетельствованию не реже одного раза в пять лет; баллоны, предназначенные для заполнения вызывающими коррозию газами (хлор, сероводород и т.п.), - не реже одного раза в два года.
Следует соблюдать следующие правила:
- избегать механических повреждений баллонов (вмятин, разрезов и т.д.;
- хранить баллоны вдали от источников теплоты, защищать их от прямого солнечного света;
- соединять баллоны только с тем оборудованием, которое предназначено для применения в данных условиях эксплуатации;
- защищать баллоны колпаками при транспортировке;
- во избежание падения баллонов в процессе работы, при котором может быть сбит или поврежден клапан, их следует надежно закреплять;
- не изменять конструкцию предохранительных устройств;
- при низкой температуре предохранять баллоны от ударов, так как сталь в таких условиях становиться хрупкой;
- предотвращать коррозию, снижающую прочность стенок баллонов.
При эксплуатации баллонов с горючими газами необходимо:
- организовать их хранение отдельно от баллонов с другими газами в хорошо проветриваемом помещении выше уровня земли;
- не применять оборудование, допускающее утечку газа;
- хранить и использовать баллоны только в вертикальном положении;
- не курить и не пользоваться открытым огнем в местах хранения баллонов и работы с ними.
4. Охарактеризуйте опасные и вредные производственные факторы при работе с пневматическим инструментом. Правила т/б при использовании этих инструментов
Анализ производственного травматизма при выполнении ремонтных работ показал, что значительное число травм происходит при выполнении разборочно-сборочных операций. Поэтому правильная организация рабочего места и соблюдение правил пользования инструментом, оборудованием и приспособлениями – главные условия безопасности слесаря-сборщика. Разбирают и собирают машины, агрегаты и сборочные единицы на специально отведенных площадках или рабочих местах с использованием средств малой механизации и подъемно-транспортных механизмов. Отсоединенные круглые и длинномерные составные части машин размещают на специальных подставках или стеллажах. Тяжелые детали укладывают на их нижние полки. Не допускается хранение деталей навалом возле разбираемой машины или на верстаках. Очень опасной операцией считают снятие и установку пружин сжатия. При ее выполнении необходимо использовать специальные приспособления, снабженные защитными кожухами, или съемники. Выпрессовывают и запрессовывают втулки, подшипники и другие детали с помощью специальных приспособлений и прессов или молотков с медными бойками. Для проверки соосности совмещения отверстий нужно применять специальные оправки и бородок. Запрещается проверять совмещение отверстий пальцами. При рубке закрепленного в тисках металла следует надевать очки для защиты органов зрения от отлетающих частиц. Для безопасности находящихся рядом работающих рабочие места ограждают. Снижению травмоопасности при выполнении разборочно-сборочных операций во многом способствуют использование исправного инструмента и соблюдение правил работы с ним. За состоянием инструмента обязан следить сам рабочий. Для облегчения отворачивания заржавевших резьбовых соединений наносят на них кисточкой (с применением защитных очков) керосин и выдерживают в течение 10…15 мин. Длина зубил, бородков, крейцмейселей, выколоток и другого подобного инструмента должна быть достаточной для безопасного удержания их во время работы рукой, но не менее 150 мм. Запрещается работать с инструментом, у которого обнаружены трещины, заусеницы, неровная (сбитая) поверхность бойка. Такие дефекты устраняются с помощью заточного станка. Перед работой пневматического инструмента (гайковертов и др.) убеждаются в его исправности наружным осмотром и опробованием действия на холостом ходу. Рабочую часть устанавливают в шпиндель только при отключенном от сети инструменте. Шланги и электрические провода не должны быть натянуты и пересекать проезжие части производственной территории. Нельзя держать инструмент за вращающиеся или подвижные части даже после его выключения и остановки рабочих органов. Шланги пневматического инструмента в местах соединения закрепляют хомутами. Присоединять и отсоединять шланги можно только после перекрытия кранов или вентилей воздушной сети, не допуская переломов. Ручные пневматические инструменты (клепальные и рубильные молотки, сверлильные и шлифовальные машинки и т.д.) должны быть оборудованы эффективными глушителями шума и выпуска сжатого воздуха.
5. За что выплачивается моральный вред?
5.1 Оценить опасность различных схем включения человеком в электрическую сеть
Все случаи поражения человека
током в результате электрического удара
– следствие прикосновения не менее чем
к двум точкам электрической сети и схемы
включения в нее человека. Опасность
такого прикосновения во многом зависит
от особенностей электрической сети и
схемы включения в нее человека. Определив
силу тока I
,
проходящего через человека с учетом
этих факторов, можно выбрать соответствующие
защитные меры для снижения опасности
поражения.
Двухфазное включение человека в цепь тока (рис. 2.1, а). Оно происходит довольно редко, но более опасно по сравнению с однофазным, так как к телу прикладывается наибольшее в данной сети напряжение – линейное, а сила тока, А, проходящего через человека, не зависит от схемы сети, режима ее нейтрали и других факторов, т.е.
I = U
/R
=
U
/R
,
где U
и U
- линейное и фазное напряжение, В; R
- сопротивление тела человека, Ом
(согласно Правилам устройства
электроустановок в расчетах R
принимают равным 1000 Ом).
Случаи двухфазного прикосновения могут произойти при работе с электрооборудованием без снятия напряжения, например, при замене сгоревшего предохранителя на вводе в здание, применении диэлектрических перчаток с разрывами резины, присоединении кабеля к незащищенным зажимам сварочного трансформатора и т.п.
Однофазное включение. На ток, проходящий через человека, влияют различные факторы, что снижает опасность поражения по сравнению с двухфазным прикосновением.
В однофазной двухпроводной сети,
изолированной от земли, силу тока, А,
проходящего через человека, при равенстве
сопротивления изоляции проводов
относительно земли r
=
r
=
r, определяют по формуле
I
= U/(2 R
+ r),
где U – напряжение сети, В; r – сопротивление изоляции, Ом.
В трехпроводной сети с изолированной
нейтралью при r
=
r
=
r
=
r ток пойдет от места
контакта через тело человека, обувь,
пол и несовершенную изоляцию к другим
фазам (рис. 2.1, б). Тогда
I
= U
/(R
+ r/3),
где R
- общее сопротивление, Ом; R
=
R
+
R
+ R
;
R
- сопротивление обуви, см: для резиновой
обуви R
≥ 50 000 Ом; R
- сопротивление пола, Ом: для сухого
деревянного пола, R
≈ 60 000 Ом; r – сопротивление
изоляции проводов, Ом (согласно ПУЭ
должно быть не менее 0,5 Мом на фазу
участка сети напряжением до 1000 В).
В трехфазных четырехпроводных сетях ток пойдет через человека, его обувь, пол, заземление нейтрали источника и нулевой провод (рис. 2.1, в). Сила тока, А, проходящего через человека,
I
= U
/(R
+ R
),
где R
- сопротивление заземления нейтрали,
Ом.
Пренебрегая сопротивлением R
,
получим:
I
= U
/R
.
На предприятиях сельского
хозяйства в основном применяют
четырехпроводные электрические сети
с глухозаземленной нейтралью напряжением
до 1000 В. Их преимущество состоит в том,
что посредством их можно получить два
рабочих напряжения: линейное U
= 380 В и фазное U
=
220 В. К таким сетям не предъявляют высоких
требований к качеству изоляции проводов
и их применяют при большой разветвленности
сети. Несколько реже используют трехфазную
сеть с изолированной нейтралью при
напряжении до 1000 В – более безопасную,
если сопротивление изоляции проводов
поддерживается на высоком уровне.
Напряжение прикосновения. Оно возникает в результате касания находящихся под напряжением электроустановок или металлических частей оборудования.
Если электрический ток течет через стержневой заземлитель, погруженный в землю так, что его верхний конец расположен на уровне земли, то напряжение прикосновения, В,
U>пр> =
где I>3> – сила тока замыкания на землю, А; ρ – удельное сопротивление основания (грунта, пола и т.д.), на котором находится человек, Ом · м; l и d – длина и диаметр заземлителя, м; x – расстояние от человека до центра заземлителя, м; α – коэффициент напряжения прикосновения.
Тогда
α = R
/(R
+
R
+ R
)
= R
/
R
.
Пренебрегая сопротивлением обуви (когда она мокрая или при ее отсутствии), можно записать для следующих случаев:
- ступни ног удалены одна относительно другой на расстоянии шага
α = 1/(1 + 1,5ρ/ R>ч>);
- ступни ног находятся рядом
α = 1/(1 + 2ρ/ R>ч>).
Шаговое напряжение. Это напряжение U>ш> на теле человека при положении ног в точках поля растекания тока с заземлителя или от упавшего на землю провода, где находятся ступни, когда человек идет в направлении заземлителя (провода) или от него (рис. 2.2).
Если одна нога находится на расстоянии x от центра заземлителя, то другая – на расстоянии x+a, где a – длина шага. Обычно в расчете принимают a = 0,8 м.
Максимальное напряжение в этом случае возникает в точке замыкания тока на землю, а по мере удаления от нее оно снижается по закону гиперболы. Считают, что на расстоянии 20 м от места замыкания потенциал земли равен нулю.
Шаговое напряжение, В,
U>ш> =
.
Даже при небольшом шаговом напряжении (50…80 В) может возникнуть непроизвольное судорожное сокращение мышц ног и, как следствие этого – падение человека на землю. При этом он одновременно касается земли руками и ногами, расстояние между которыми больше, чем длина шага, поэтому действующее напряжение увеличивается. Кроме того, в таком положении человека образуется новый путь прохождения тока, затрагивающий жизненно важные органы. При этом создается реальная угроза смертельного поражения.
При уменьшении длины шага шаговое напряжение снижается. Поэтому для того чтобы выбраться из зоны действия шагового напряжения, следует передвигаться прыжками на одной ноге или на двух согнутых ногах или как можно более короткими шагами (в последнем случае допустимым считают напряжение не более 40 В).
6. Микроклимат производственных помещений. Действие его на человека. (ГОСТ 12.1.005 – 88) СанПиН 2.2.4.548 – 96 Нормирование параметров микроклимата
Микроклимат производственных помещений – это климат внутренней среды помещений, который определяется совместно действующими на организм человека температурой, относительной влажностью и скоростью движения воздуха, а также температурой окружающих поверхностей (ГОСТ 12.1.005 «Общие санитарно-гигиенические требования к воздуху рабочей зоны»). Требования этого государственного стандарта установлены для рабочих зон – пространств высотой до 2 м над уровнем пола или площадки на которых находятся места постоянного и временного пребывания работающих. Постоянным считается рабочее место, на котором человек находится более 50 % рабочего времени (или более 2 ч непрерывно). Если при этом работа осуществляется в различных пунктах рабочей зоны, постоянным рабочим местом считается вся зона. Факторы, влияющие на микроклимат, можно разделить на две группы: нерегулируемые (комплекс климатообразующих факторов данной местности) и регулируемые (особенности качество строительство зданий и сооружений, интенсивность теплового излучения от нагревательных приборов, кратность воздухообмена, количество людей и животных в помещении и др.). Для поддержания параметров воздушной среды рабочих зон в пределах гигиенических норм решающее значение принадлежит факторам второй группы. ГОСТ 12.1.005 установлены оптимальные и допустимые микроклиматические условия.
При длительном и систематическом пребывании человека в оптимальных микроклиматических условиях сохраняется нормальное функциональное и тепловое состояние организма без напряжения механизмов терморегуляции. При этом ощущается тепловой комфорт (состояние удовлетворения внешней средой), обеспечивается высокий уровень работоспособности. Такие условия предпочтительны на рабочих местах. Допустимые микроклиматические условия при длительном и систематическом воздействии на человека могут вызвать переходящие и быстро нормализующиеся изменения функционального и теплового состояния организма и напряжение механизмов терморегуляции, не выходящие за пределы физиологических приспособительных возможностей. При этом не нарушается состояние здоровья, но возможны дискомфортные теплоощущения, ухудшение самочувствия и снижение работоспособности.
Из таблицы 1.1 видно, что параметры микроклимата производственных помещений зависят от степени тяжести выполняемых работ и периода года (теплым принято считать период года со среднесуточной температурой наружного воздуха выше 10 °С, холодным – с температурой 10 °С и ниже). Оптимальные параметры микроклимата распространяются на всю рабочую зону производственных помещений без разделения рабочих мест на постоянные и непостоянные. Если по технологическим требованиям, технически и экономически обоснованным причинам оптимальные параметры микроклимата не могут быть обеспечены, то устанавливают пределы их допустимых значений (табл. 1.2). Определяя характеристику помещения по категории выполняемых работ (уровню энергозатрат), ориентируются на те из них, которые выполняются 50 % (и более) работающими.
1.1. Оптимальные значения параметров микроклимата на рабочих местах производственных помещений* при относительной влажности воздуха в диапазоне 40…60 %
|
Период года |
Категория работ (по уровню энергозатрат, Вт) |
Температура воздуха, °С |
Температура поверхностей, °С |
Скорость движения воздуха, м/с |
|
Холодный Теплый |
Iа (до 139) Iб (140…174) IIа (175…232) IIб (233…290) III (более 290) Iа (до 139) Iб (140…174) IIа (175…232) IIб (233…290) III (более 290) |
22…24 21…23 19…21 17…19 16…18 23…25 22…24 20…22 19…21 18…20 |
21…25 20…24 18…22 16…20 15…19 22…26 21…25 19…23 18…22 17…21 |
0,1 0,1 0,2 0,2 0,3 0,1 0,1 0,2 0,2 0,3 |
1.2 Допустимые значения параметров микроклимата на рабочих местах производственных помещений при относительной влажности воздуха в диапазоне 15…75 %
|
Период года |
Категория работ (по уровню энергозат-рат, Вт) |
Температура воздуха, °С |
Температу-ра поверхнос-тей, °С |
Скорость движения воздуха, м/с, не более |
||
|
ниже оптима-льных значе-ний |
выше оптима-льных значе-ний |
Для диапазона температур воздуха ниже оптималь-ных значений |
Для диапазона температур воздуха выше оптималь-ных значений** |
|||
|
Холодный Теплый |
Iа (до 139) Iб (140…174) IIа (175…232) IIб (233…290) III (более 290) Iа (до 139) Iб (140…174) IIа (175…232) IIб (233…290) III (более 290) |
20…21,9 19…20,9 17…18,9 15…16,9 13…15,9 21…22,9 20…21,9 18…19,9 16…18,9 15…17,9 |
24,1…25 32,1…24 21,1…23 19,1…22 18,1…21 25,1…28 24,1…28 22,1…27 21,1…27 20,1…26 |
19…26 18…25 16…24 14…23 12…22 20…29 19…29 17…28 15…28 14…27 |
0,1 0,1 0,1 0,2 0,2 0,1 0,1 0,1 0,2 0,2 |
0,1 0,2 0,3 0,4 0,4 0,2 0,3 0,4 0,5 0,5 |
*При температуре воздуха на рабочих местах 25°С и выше максимально допустимые значения относительной влажности, %, должны быть не более: 70 при 25°С; 65 при 26°С; 60 при 27°С; 55 при 28°С.
**При температуре воздуха 26…28°С скорость движения его, указанная в таблице для теплового периода года, должна соответствовать диапазону, м/с: 0,1…0,2 для работ категории Iа; 0,1…0,3 для работ категории Iб; 0,2…0,4 для работ категории IIа; 0,2…0,5 для работ категории IIб и III.
Кроме указанных в таблице 1.1 параметров микроклимата нормируется также интенсивность теплового облучения работников. Допустимое значение теплового облучения на постоянных рабочих местах не должно превышать 35 Вт/м2, если в зоне облучения находится 50 % и более поверхности тела. При размере последней от 25 до 50 % предел допустимой интенсивности облучения составляет 70 Вт/м2, а при облучении менее 25 % поверхности тела – 100 Вт/м2.интенсивность открытых источников теплового излучения (пламя, нагретый металл и т.п.) не должна превышать 140 Вт/м2 при облучении не более 25 % поверхности тела и обязательном использовании средств индивидуальной защиты, в том числе лица и глаз. Нагрев кожи человека до 45 °С вызывает ее повреждение и болевые ощущения, а при температуре 52 °С происходит необратимое свертывание белков тканей. Поэтому в целях профилактики тепловых травм температура нагретых поверхностей машин, оборудования или ограждающих их конструкций должна быть не выше 45 °С. Допустимые перепады температуры воздуха по высоте рабочей зоны не должна превышать 3 °С для работ всех категорий, а по горизонтали 4 °С для легких работ, 5 °С для работ средней тяжести и 6 °С для тяжелых работ. Во всех случаях абсолютные значения температуры воздуха, измеренной на разной высоте и в различных участках производственных помещений в течение смены, должны входить в пределы, устанавливаемые таблицами 1.1 и 1.2.
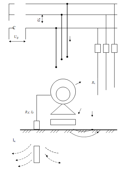
7. Защитное заземление. Назначение, устройство. Выбор его параметров
Защитное заземление называют преднамеренное электрическое соединение с землей или ее эквивалентом металлических нетоковедущих частей электроустановок, которые могут оказаться под напряжением. Заземляют все электрические установки, работающие при номинальном напряжении переменного тока более 120 В (кроме светильников, подвешенных в помещениях без повышенной опасности поражения электрическим током на высоте не менее 2 м при условии изоляции крючка для подвески светильника пластмассовой трубкой). Заземляющее устройство (рис. 2) состоит из заземлителя и проводника, соединяющего металлические части электроустановок с заземлителем. В качестве искусственных заземлителей применяют заглубленные в землю стальные трубы, кабели с металлической оболочкой (кроме алюминиевой), обсадные трубы артезианских колодцев и т.п. Принцип действия защитного заземления заключается в снижении до безопасных значений напряжений прикосновения и шага в случае появления электрического потенциала вследствие замыкания тока на металлические корпуса электрооборудования, разряда молнии или других причин.
Каждую электроустановку следует присоединить к заземляющей магистрали отдельным проводником. Последовательное соединение заземленных частей не допускается. Соединение должно быть надежным, обычно их выполняют сваркой или с помощью болтов. Не разрешается прокладывать в земле неизолированные алюминиевые проводники из-за их быстрой коррозии. С целью защиты от нее заземляющие в сырых помещениях устраивают на расстоянии не ближе 10 мм от стен.
А
Р
ис.
2. Принципиальная схема защитного
заземления
Сопротивление, Ом, стержневого вертикального заземлителя с диаметром d круглого сечения у поверхности земли (рис 3, а):
R>3> = 0,366
lg
,
где ρ –удельное сопротивление грунта, Ом·м; l и b длина и ширина заземлителя, м; h – расстояние от поверхности земли до середины заземлителя, м.
Значения ρ могут быть от 1 (морская вода)до 106 (граниты). При колебаниях влажности грунтов сильно изменяется их удельное сопротивление, например, при снижении влажности красной глины с 20 до 10 % оно возрастает в 13 раз. Значительно увеличивается ρ в случае промерзания грунта. Вот почему стержневые заземлители рекомендуют забивать на глубину, большую глубины промерзания, и по возможности ниже уровня грунтовых вод. Сопротивление, Ом, стержневого вертикально заглубленного заземлителя круглого сечения (рис. 3, б):
R>3> = 0,366
lg
+ 0,5lg
.
Сопротивление заземлителя, Ом, выполненного в виде горизонтальной полосы (рис. 3, в), заглубленной в землю,
R>3> = 0,366
lg
.
Число стержней n>3> в контуре заземления:
n>3> =
,
где k>C> – коэффициент сезонности (для средней полосы России k>C> = 1,8); R>Н.З> – нормальное сопротивление заземлителя, Ом; n>Э> - коэффициент экранирования, зависящий от формы и длины заземлителей, их числа в контуре, расстояния между ними; при снижении числа заземлителей от 20 до 2 коэффициент n>Э> изменяется от 0,09 до 0,94.
Сопротивление заземления проверяют специальными приборами-измерителями М-416, МС-08 и др. Если контролируют не в период максимального промерзания грунта, то показания прибора следует умножить на коэффициент сезонности.
С помощью омметров М-372 обычно измеряют сопротивление цепи «оборудование – заземлитель». Сопротивление контура вместе с сопротивление проводника и есть полное сопротивление заземляющего устройства.





































d




d
б
а























l

в
Рис. 3. Схемы заземлителей:
а – стержневого вертикального круглого сечения у поверхности земли; б – стержневого круглого сечения, вертикально заглубленного в землю; в – горизонтальной полосы, заглубленной в землю.
8. Статистическое электричество. В чём опасность статистического электричества? Меры борьбы со статистическим электричеством
Статическое электричество (согласно ГОСТ 12.1.018) – это совокупность явлений, связанных с возникновением, сохранением и релаксацией свободного электрического заряда на поверхности (или в объеме) диэлектриков или на изолированных проводниках.
Искровые разряды статического электричества представляют собой большую пожаро- и взрывоопасность. Электрический заряд, возникающий при выполнении некоторых производственных процессов, может достигать нескольких тысяч вольт. Например, при трении частиц песка и пыли о днище кузова при движении автомобиля генерируется потенциал до 3 кВ; при перекачке бензина по трубопроводу – до 3,6 кВ; при наливании электризующихся жидкостей (этилового спирта, бензина, бензола, этилового эфира и др.) в незаземленные резервуары в случае свободного падения струи жидкости в наполняемый сосуд и большой скорости истечения – до 18…20 кВ; при трении ленты транспортера о вал – до 45 кВ; при трении трансмиссионных ремней о шкивы – до 80 кВ. Статическое электричество может накапливаться и на теле человека при ношении одежды из шерсти или искусственного волокна, движении по токонепроводящему покрытию пола или в диэлектрической обуви, соприкосновении с диэлектриками, достигая в отдельных случаях потенциала 7 кВ и более. Количество накопившегося на людях электричества может быть вполне достаточным для искрового разряда при контакте с заземленным предметом. Физиологическое действие статического электричества зависит от освободившейся при разряде энергии и может ощущаться в виде слабых, умеренных или сильных уколов, а в некоторых ситуациях – в виде легких, средних и даже острых судорог. Так как сила тока разряда статического электричества ничтожно мала, то в большинстве случаев такое воздействие неопасно. Статическое электричество может также нарушить нормальное течение технологических процессов, создавать помехи в работе электронных приборов автоматики и телемеханики, средств радиосвязи. Меры защиты статического электричества направлены на предупреждение возникновения и накопления зарядов статического электричества, создание условий рассеивания зарядов и устранение опасности их вредного воздействия. Предотвращение накопления зарядов статического электричества достигается заземлением оборудования и коммуникаций, на которых они могут появиться, причем каждую систему взаимосвязанных машин, оборудования и конструкций, выполненных из металла (пневмосушилки, смесители, газовые и воздушные компрессоры, мельницы, закрытые транспортеры, устройства для налива и слива жидкостей с низкой электропроводностью и т.п.), заземляют не менее чем в двух местах. Трубопроводы, расположенные параллельно на расстоянии до 10 см, соединяют между собой металлическими перемычками через каждые 25 м. все передвижные емкости, временно находящиеся под наливом или сливом сжиженных горючих газов и пожароопасных жидкостей, на время заполнения присоединяют к заземлителю. Автозаправщики и автомобильные цистерны заземляют металлической цепью, соблюдая длину касания земли не менее 200мм. Снижение интенсивности возникновения зарядов статического электричества достигается соответствующим подбором скорости движения веществ, исключением разбрызгивания, дробления и распыления веществ, отводом электростатического заряда, подбором поверхностей трения, очисткой горючих газов и жидкостей от примесей. При подаче жидкостей в резервуары необходимо исключить их разбрызгивание, распыление и бурное перемешивание. Наливную трубку необходимо удлинить до дна сосуда с направлением струи вдоль его стенки. При первоначальном заполнении резервуаров жидкость подают со скоростью, не превышающей 0,5…0,7 м/с. Лучший способ снижения интенсивности накопления зарядов статического электричества в ременных передачах – увеличение электропроводимости ремней, например, с помощью прошивки внутренней поверхности ремня тонкой медной проволокой в продольном направлении или смазыванием его внутренней поверхности токопроводящими составами (содержащими, например, сажу и графит в соотношении 1:2,5 по массе и др.). Следует также уделять внимание регулировке натяжения ремней и по возможности снижению скорости их движения до 5 м/с. Если предотвратить накопление зарядов статического электричества заземлением не удается, то следует применять меры по уменьшению объемных и поверхностных диэлектрических сопротивлений обрабатываемых материалов. При невозможности использования средств защиты от статического электричества рекомендуется нейтрализовать заряды ионизацией воздуха в местах их возникновения или накопления. Для этого используют специальные приборы – ионизаторы, создающие вокруг наэлектризованного объекта положительные и отрицательные ионы. Для отвода статического электричества с тела человека предусматривают токопроводящие полы или заземленные зоны, рабочие площадки, поручни лестниц, рукоятки приборов и т.д.; обеспечивают рабочих токопроводящей обувью с сопротивлением подошвы не более 108 Ом, а также антистатической спецодеждой.