Информационная система складского терминала
МПС Российской Федерации
Департамент кадров и учебных заведений
Самарский институт инженеров железнодорожного транспорта
КАФЕДРА______________Информатики___________________________
ДИПЛОМНЫЙ ПРОЕКТ
на тему: Информационная система складского терминала.
Допущен к защите______________________________________
Зав. кафедрой ________________ ( Юшков )
Руководитель проекта ________________ ( Тюмиков )
Н. контроль ________________ ( Юшков )
Консультант по эконом. части ________________ ( Карпова )
Консультант по охране труда _________________ ( Агеева )
Консультант по гражданской
обороне__________________ ( Мухин )
Консультант по патентному
поиску___________________ ( Тюмиков )
Рецензент ____________________ ( )
Студент ____________________ ( Абраменко )
г. САМАРА
2
001
Форма № 24
_________Самарский Институт Инженеров железнодорожного транспорта__________________
(наименование вуза)
Факультет________________электротехнический________________________________________
Специальность__________________АТС_______________________________________________
УТВЕРЖДАЮ:
Зав. кафедрой
«_____» _______________2000 г.
З а д а н и е
по дипломному проекту (работе) студента
_____________________________Абраменко Алексей Юрьевич ________________________
(фамилия, имя, отчество)
1. Тема проекта (работы)________Информационная система складского терминала ________
________________________________________________________________________________
________________________________________________________________________________
________________________________________________________________________________
утверждена приказом по институту от «_____» __________________ 2000 г. № ____________
2. Срок сдачи студентом законченного проекта (работы) _______________________________
3. Исходные данные к проекту (работе) ______________________________________________
________________________________________________________________________________
________________________________________________________________________________
________________________________________________________________________________
________________________________________________________________________________
________________________________________________________________________________
4.Содержание расчетно-пояснительной записки (перечень подлежащих разработке вопросов)
________________________________________________________________________________
________________________________________________________________________________
________________________________________________________________________________
________________________________________________________________________________
________________________________________________________________________________
________________________________________________________________________________
5. Перечень графического материала (с точным указанием обязательных чертежей) ________
________________________________________________________________________________
________________________________________________________________________________
________________________________________________________________________________
________________________________________________________________________________
________________________________________________________________________________
________________________________________________________________________________
________________________________________________________________________________
________________________________________________________________________________
________________________________________________________________________________
________________________________________________________________________________
________________________________________________________________________________
________________________________________________________________________________
6. Консультанты по проекту (работе, с указанием относящихся к ним разделов проекта)
Раздел |
Консультант |
Подпись, дата |
|
|
задание выдал |
задание принял |
||
|
Экономический |
Карпова Л.П. |
||
|
Охрана труда |
Агеева Н.В. |
||
|
Чрезвычайные ситуации |
Мухин В.Ф. |
||
7. Дата выдачи задания ___________________________________________________________
Руководитель ___________________________________________
(подпись)
Задание принял к исполнению ___________________________________________________
(подпись)
КАЛЕНДАРНЫЙ ПЛАН
|
№ п/п |
Наименование этапов дипломного проекта (работы) |
Срок выполнения этапов проекта (работы) |
Примечание |
Студент-дипломник __________Абраменко А.Ю._____________________
Руководитель проекта __________Тюмиков Д.К.______________________
Содержание
1. Анализ комплекса складских терминалов как объекта информатизации
1.1. Территориально-административная структура предприятия
1.2. Организация существующей ЛВС предприятия
1.2.1. Топология ЛВС
1.2.2. Логическая организация сети
1.3. Постановка задачи
1.3.1. Наименование, область применения, цель создания системы
1.3.2. Задачи, решаемые с помощью системы
1.3.3. Требования к защите информации в ЛВС подразделения
1.3.4. Характеристика объектов обработки
1.3.5. Функциональные требования к системе
1.3.6. Характеристика процессов обработки
1.3.7. Выходная информация информационной системы
1.3.8. Требования к системе
2. Описание функциональной структуры информационной системы складского терминала
3. Описание программы
3.1. Алгоритм функционирования информационной системы складского терминала
3.2. Информационная структура базы данных
3.3. Описание модулей программы
4. Защита информации в ЛВС подразделения
4.1. Анализ возможностей системы разграничения доступа ОС Windows NT
4.2. Обоснование применения специальных средств защиты информации
4.3. Выбор программно-аппаратных средств защиты информации
4.4. Принципы работы сервера безопасности
4.5. Шифрование трафика сети
5. Безопасность и экологичность проекта
5.1. Охрана труда на рабочем месте программиста
5.1.1. Описание рабочего места программиста
5.1.2. Расчет информационной нагрузки программиста
5.1.3. Расчет вентиляции
5.1.4. Охрана окружающей среды
5.2. Безопасность жизнедеятельности в чрезвычайных ситуациях
5.2.1. Оценка пожарной обстановки в населенных пунктах
5.2.2. Комплексная задача по прогнозированию и оценке пожарной обстановки
6. Патентный поиск
6.1. Правовая охрана программ для ЭВМ и баз данных
7. Экономический раздел
7.1. Расчет себестоимости разработки программного обеспечения
Заключение
Список используемых источников
Приложения
1. Анализ комплекса складских терминалов как объекта информатизации
. Территориально-административная структура предприятия
Компания «Русь» находится на российском рынке около двух лет и имеет на данный момент огромные площади для производства продуктов питания. Номенклатура производимых товаров составляет несколько сотен наименований и постоянно увеличивается. Предприятия компании расположены в различных регионах страны и работают независимо друг от друга под руководством головного офиса в г.Москва. Распределение готовой продукции осуществляется через региональные офисы компании, которые располагаются в различных регионах страны. Непосредственно продвижение товаров от производства до покупателя осуществляется логистической компанией «Новый день». Данный посредник осуществляет транспортировку готовой продукции с производства по регионам, ее складирование, хранение и отгрузку клиентам. Использование посредника в данном случае представляет определенные выгоды. Резко уменьшается число контактов производителя с вероятными покупателями товара (рис. 1.1). /1/
П
роцесс
получения товара клиентом следующий:
Клиент приезжает в региональный офис
компании «Русь», оплачивает необходимые
товары и после оформления соответствующих
документов отправляется на склад
посредника, где по оформленным документам
непосредственно производится отгрузка
продукции клиенту.
В настоящее время у компании «Русь» существует развернутая сеть производителей. Компания является владельцем нескольких фабрик производящих товары народного потребления. Фабрики находятся в следующих городах:
г. Жуковский
г. Самара
г. Барнаул
г. Пермь
г. Тимашевск
Основной офис компании располагается в городе Москва. Сбыт продукции осуществляется через региональные офисы компании. Региональные офисы компании находятся в городах:
г. Санкт-Петербург
г. Ростов-на-Дону
г. Екатеринбург
г. Новосибирск
г. Владивосток
г. Воронеж
г. Нижний Новгород
г. Самара
Территориальное расположение фабрик компании, а также региональных офисов показано на рис. 1.2. В связи с тем, что предприятия фирмы размещены в различных районах и специализирующихся на выпуске одного или нескольких видов продукции используется децентрализованная форма управления. При варианте децентрализованного управления типичная схема ее организации предусматривает отдельную ответственность за снабжение производства и сбыт на каждом предприятии фирмы, специализирующемся на выпуске определенных видов продукции. Эта схема предполагает концентрацию функций материально-технического обеспечения в рамках одной

службы каждого предприятия, отвечающего за тот или иной вид продукции.
На рис. 1.3. представлена структурная схема децентрализованного управления производством и материально-техническим обеспечением. Система состоит из трех уровней. В непосредственном подчинении высшего руководства фирмы находятся четыре подразделения: ведающие финансовыми активами фирмы и ценными бумагами, юридической службой, кадровыми вопросами и связями с общественностью (они не показаны на рис. 1.3.).

Эти подразделения отражают функции, возложенные на аппарат руководства. Второй уровень управления составляют функциональные подразделения, непосредственно организующие вопросы финансирования производства, исследовательские и опытно-конструкторские разработки, а также весь комплекс вопросов, связанных с выпуском отдельных видов продукции. Третье звено управления находится в непосредственном подчинении этих подразделений и отвечает за исследование рынка и сбытовую политику (маркетинг); оно связано с подразделением, занимающимся контролем финансовой деятельности и статическим учетом. В функции подразделения материально-технического обеспечения входит вся технологическая цепочка, включая транспортировку и складирование материалов, а также обслуживание покупателей готовой продукции. Линейная служба подразделения, ведающая контролем за запасами, осуществляет функции планирования производства совместно со службами производственного подразделения. При этом она исходит из наличия и номенклатуры запасов на складе фирмы. /2/
1.2 Организация существующей ЛВС предприятия.
1.2.1 Топология ЛВС
Т
ермин
"топология сети" относится к пути,
по которому данные перемещаются по
сети. Существуют три основных вида
топологий: "общая шина", "звезда"
и "кольцо". ЛВС предприятия построена
по топологии «звезда» рис.1.4. В качестве
среды передачи сигналов используется
витая пара (Twisted Pair)
пятой категории, что позволяет передавать
информацию на скорости до 100 Мбит/с. Сеть
построена по самой популярной технологии
Ethernet, и представляет собой
архитектуру сетей с разделяемой средой
и широковещательной передачей. Это
означает, что все узлы сегмента сети
получают пакет одновременно.
В классическом варианте архитектуры с шинной топологией используется метод множественного доступа с прослушиванием несущей и обнаружением коллизий – CSMA/CD (Carrier Sense Multiple Access/Collision Detect). Суть этого метода заключается в том, что любой абонент может пытаться получить доступ к среде (начать передачу пакета) в любой момент времени, но будет делать это осмотрительно. Если в процессе передачи передающий узел обнаруживает коллизию (столкновение с работой другого передатчика), то он прекратит передачу, и будет выжидать случайный интервал времени до возобновления попытки передачи. Такой метод доступа относиться к классу недетерминированных с децентрализованным управлением (все узлы равноправны). Как было сказано выше, для реализации Ethernet на витой паре применяется звездообразная физическая топология. Логически все узлы оказываются объединенными в шину. /3/ На рис. 1.5. представлена схема информационных потоков в рассматриваемом подразделении.

Наиболее подробно показаны информационные потоки в пределах одного регионального представительства. В других представительствах картина потоков информации аналогична.
1.2.2 Логическая организация сети
Основным элементом централизованного администрирования в Windows NT Server является домен. Домен - это группа серверов, работающих под управлением Windows NT Server, которая функционирует, как одна система. Все серверы Windows NT в домене используют один и тот же набор учетных карточек пользователя, поэтому достаточно заполнить учетную карточку пользователя только на одном сервере домена, чтобы она распознавалась всеми серверами этого домена. Группирование компьютеров в домены дает два важных преимущества сетевым администраторам и пользователям. Наиболее важное - серверы домена составляют (формируют) единый административный блок, совместно использующий службу безопасности и информацию учетных карточек пользователя. Каждый домен имеет одну базу данных, содержащую учетные карточки пользователя и групп, а также установочные параметры политики безопасности. Все серверы домена функционируют либо как первичный контроллер домена, либо как резервный контроллер домена, содержащий копию этой базы данных. Это означает, что администраторам нужно управлять только одной учетной карточкой для каждого пользователя, и каждый пользователь должен использовать (и помнить) пароль только одной учетной карточки. Расширяя административный блок с единственного компьютера на целый домен, Windows NT Server сохраняет усилия администраторов и время пользователей. Второе преимущество доменов сделано для удобства пользователей: когда пользователи просматривают сеть в поисках доступных ресурсов, они видят сеть, сгруппированную в домены, а не разбросанные по всей сети серверы и принтеры. Минимальное требование для домена - один сервер, работающий под управлением Windows NT Server,
к
оторый
служит в качестве первичного
контроллера домена и хранит
оригинал базы данных учетных карточек
пользователя и групп домена. В дополнение
к сказанному, домен может также иметь
другие серверы, работающие под управлением
Windows NT Server и служащие в качестве резервных
контроллеров домена, а
также компьютеры, служащие в качестве
стандартных серверов, серверов LAN Manager
2.x, клиентов Windows NT Workstation и других
клиентов, как например, работающих с
MS-DOS(рис.1.6.). Первичный контроллер домена
должен быть сервером, работающим под
управлением Windows NT Server. Все изменения
базы данных, учетных карточек пользователя
и групп домена должны выполняться в
базе данных первичного контроллера
домена. Резервные контроллеры домена,
работающие под управлением Windows NT Server,
хранят копию базы данных учетных карточек
домена. База данных учетных карточек
копируется во все резервные контроллеры
домена. Все резервные контроллеры домена
дополняют первичный контроллер и могут
обрабатывать запросы на начала сеанса
от пользователей учетных карточек
домена. Если домен получает запрос на
начало сеанса, первичный контроллер
домена или любой из резервных контроллеров
домена может идентифицировать попытку
начала сеанса. Дополнительно к первичным
и резервным контроллерам домена,
работающим под управлением Windows NT Server,
есть другой тип серверов. Во время
установки Windows NT они определяются, как
“серверы”, а не контроллеры домена.
Сервер, который входит в домен, не
получает копию базы данных пользователей
домена. Для организации сети существует
четыре модели: модель
единственного домена, модель основного
домена, модель многочисленных основных
доменов и модель полного доверия.
Для построения ЛВС предприятия
использована модель основного домена.
Эта модель дает централизованное
управление и организационные преимущества
управления многими доменами. В этой
модели один домен - основной домен, в
котором регистрируются все пользователи
и глобальные группы. Все другие домены
сети доверяют этому домену и таким
образом можно использовать пользователей
и глобальные группы, зарегистрированные
в них. Основная цель главного домена -
управление сетевыми учетными карточками
пользователя. Другие домены в сети -
домены ресурса; они не хранят учетные
карточки пользователя и не управляют
ими, а только обеспечивают ресурсы (как
например, файлы и принтеры коллективного
использования) сети. В этой модели только
первичные и резервные контроллеры
домена в основном домене имеют копии
учетных карточек пользователей сети.
/4/ Логическая структура сети
показана на рис. 1.7.
Все пользователи
Глобальные группы
Локальные группы
Основной
домен
3-ое региональное представительство
1-ое региональное представительство
2-ое региональное представительство
Отдел по связям с общественностью
Локальные группы
Локальные группы
Локальные группы
Рис. 1.7. Логическая структура ЛВС
Функциональная схема подразделения приведена на рис. 1.8.

Рис. 1.8. Функциональная схема ЛВС подразделения
1.3 Постановка задачи
1.3.1 Наименование, область применения, цель создания системы
Разрабатываемая система, называемая «Информационная система комплекса складских терминалов» предназначена для автоматизации процесса управления движением материальных потоков складского комплекса. Цель разработки – перевод устаревшей СУБД на новую архитектуру клиент-сервер, исправление обнаруженных недостатков существующей системы. Существующая программа «Складской терминал» работает под управлением операционной системой MS-DOS. При этом она «вешает» машину при попытке запуска из-под Windows’95, поэтому, для работы с программой приходится перезагружать компьютер в режиме командной строки. Тот факт, что она написана под DOS, уже свидетельствует о неудобном интерфейсе пользователя. Отсутствие поддержки мышки, сложность, запутанность и непонятность назначения некоторых диалоговых окон, отсутствие системы помощи (не говоря уже о гибкой системе контекстной подсказки), неудобство ввода информации и многое другое еще меньше привлекает к программе. Система управления базой данных построена на технологии файл-сервер. При этом программа может работать как с локальной, так и с сетевой базой данных. Заметим, что при отсутствии доступа к сетевой базе, программа автоматически переключается на локальную базу, не выдавая при этом никаких предупреждений и сообщений. Еще несколько лет назад, среди СУБД наибольшей популярностью пользовались СУБД dBase, Paradox, Rbase, получившие общее название Xbase (созданных на технологии файл-сервер), а в качестве инструментальных средств самыми распространенными были Clipper и FoxPro. Сейчас на рынке этих СУБД распространенны Access, FoxPro, Paradox, dBase. В ходе эксплуатации таких систем были выявлены общие недостатки архитектуры файл-сервер, которые состоят в следующем:
вся тяжесть вычислительной работы ложится на компьютер клиента; например, если в результате запроса клиент должен получить 2 записи из таблицы объемом 100000 записей, все 100000 записей будут скопированы с файл-сервера на клиентский компьютер; в результате возрастает загрузка сети (сетевой трафик) и увеличиваются требования к аппаратным мощностям пользовательского компьютера; заметим, что потребности в постоянном увеличении вычислительных мощностей клиентского компьютера обуславливаются постоянно возрастающим объемом накапливаемой и обрабатываемой информации;
поскольку БД представляет собой набор файлов на сетевом сервере, доступ к таблицам регулируется только сетевой операционной системой, что делает такие БД по сути беззащитными от случайного или намеренного искажения хранящейся в ней информации, уничтожения или хищения;
недостаточно развитый аппарат транзакций локальных СУБД служит потенциальным источником ошибок как при одновременном внесении изменений в одну и ту же запись, так и при реализации отката результатов серии объединенных по смыслу в единое целое операций над БД, когда некоторые из них завершились успешно, а некоторые – нет; это может нарушать ссылочную и смысловую целостность БД.
Но самый главный недостаток таких СУБД, это то, что только данная конкретная программа способна правильно производить изменения в БД, сохраняя их целостность. Любое стороннее вмешательство в базу данных может привести к полному разрушению данных и потере всей информации.
1.3.2 Задачи, решаемые с помощью системы
Из всех задач, решаемых данной системой можно выделить ряд основных задач – необходимость которых обязательна для любой информационной системы подобного рода. К таким задачам относятся:
Учет продукции поступающей в зону складского комплекса.
Учет продукции отгруженной из зоны складского комплекса.
Возможность постоянного контроля состояния складского комплекса (наличие свободных, занятых ячеек и т.д.)
Идентификация пользователей системы.
Формирование необходимой документации.
1.3.3 Требования к защите информации в ЛВС подразделения
Чтобы обеспечить требуемый уровень безопасности информации в ЛВС подразделения, система безопасности должна иметь следующие средства:
Средства идентификации и проверки полномочий
Средства обеспечения защиты файлов
Средства защиты ОС и программ пользователей
Средства шифрования/дешифрования трафика сети
Средства уничтожения остатков информации в системе
Средства регистрации обращений к системе.
1.3.4 Характеристика объектов обработки
В соответствии с перечисленными задачами, реализуемыми системой, дадим характеристику соответствующих объектов обработки информации:
Приемка продукции на склад. Продукцию на склад доставляют автомобильным или железнодорожным транспортом. В процессе разгрузки продукция укладывается на деревянные поддоны по определенным правилам. На один поддон укладывается продукция одного наименования с одним и тем же сроком годности. Максимальное количество коробов, располагаемое на одном поддоне, определяется исходя из их размера и веса. После формирования поддоны упаковывают пленкой (паллетизируют). Упакованный поддон с продукцией называется паллетой. После этого каждой паллете определяется адрес на складе. Водители электропогрузчиков развозят паллеты по адресам.
Отгрузка продукции клиентам. Из отдела продаж заведующий складом получает накладную, в которой указан ассортимент продукции необходимый клиенту, а также его количество. Система определяет адреса на складе, где находится необходимая продукция. Выдает на печать приказы водителям электропогрузчиков на перемещение продукции из адресов в определенное место (место заказа). После перемещения продукции из адресов проверяется
наличие всех наименований продукции, а также их количество. По прибытию клиента заказ отгружается из зоны заказа в машину или вагон.
1.3.5 Функциональные требования к системе
ввод, запись и хранение информации о приходе или отгрузке продукции на складе;
при приеме продукции на склад система должна обеспечивать два режима работы:
Прием продукции в ручном режиме.
Прием продукции в автоматическом режиме.
При приеме продукции в ручном режиме адреса, в которых будет расположена продукция, выбираются оператором самостоятельно и заводятся вручную. При приеме продукции в автоматическом режиме система должна сама выбирать удобное расположение для поступающей на склад продукции. Оператор заводит в базу данных только код и срок годности товара. Адрес для него система определяет автоматически.
При отгрузке товара система также должна обеспечивать два режима:
Формирование заказа в автоматическом режиме.
Формирование заказа в ручном режиме.
При формировании заказа в ручном режиме оператор заводит в базу данных всю информацию – код продукции, необходимой клиенту, количество коробов, адрес из которого их нужно взять. При формировании заказа в автоматическом режиме оператор заводит только ассортимент продукции и количество коробов необходимое клиенту. Адреса, из которых необходимо будет их взять система должна просчитывать автоматически. При автоматическом просчете заказа система должна включать в заказ код продукта необходимый клиенту с самым ранним сроком годности.
Доступ к системе должен быть разграничен на два уровня:
администратор базы данных;
оператор базы данных;
Для операторов базы данных должны быть недоступны некоторые функции, которые доступны администратору базы данных. Оператор не должен иметь доступа к редактированию и дополнению баз карточка товара, операторы, клиенты. Администратор базы данных должен иметь возможность редактирования этих баз (добавить товар, оператора, удалить, отредактировать имеющиеся записи). Редактирование всех сохраненных документов в системе должно быть запрещено для всех работников имеющих допуск. Все документы, когда-либо созданные в системе не должны подвергаться каким – либо коррекциям или удалению. Система должна позволять операторам получать информацию о текущем состоянии склада (состоянии ячеек; товаре, находящемся в ячейках), а также обеспечивать возможность блокировки, разблокировки ячеек склада. Это необходимо для того, чтобы система при приемке продукции на склад в автоматическом режиме не использовала заблокированные ячейки.
1.3.6 Характеристика процессов обработки
В проектируемой системе каждая из представленных функций будет реализована соответствующим программным модулем, каждый из которых будет иметь возможность выполнения ряда операций, таких как корректировка информации, поиск данных, формирование отчетов. Процессы заполнения, корректировки и поиска данных будут реализованы однотипным способом во всех модулях. При добавлении и редактировании данных будет применяться контроль правильности ввода пользователем информации, путем ее сравнения с необходимым типом, диапазоном изменения возможных значений, маской ввода и т.д. При заполнении некорректной информации будет использована система уведомляющих сообщений, автоматически выдаваемых для предупреждения и помощи пользователю. Для добавления и редактирования данных будут использованы экранные формы со всеми необходимыми полями ввода, а также пояснениями и управляющими элементами (например, кнопками), предназначенными для выработки управляющих воздействий (сохранение, отмена изменений) и навигации (перемещению) по БД. Для обеспечения поиска данных также будут использованы экранные формы, позволяющие задавать различные значения (диапазоны значений) интересующей информации, с контролем допустимости значений условий поиска. Поиск информации можно будет производит как по отдельным полям таблиц, так и по совокупности полей, на частичное, либо полное совпадение условий поиска, без учета регистра букв для удобства пользователя, для численных полей и полей типа «дата» будет реализована возможность указания диапазонов изменения значений и т. д. В каждом из программных модулей системы предполагается наличие всех необходимых отчетных форм для формирования и печати документов установленной формы. Все отчеты генерируются автоматически, используя выборки информации из БД.
1.3.7 Выходная информация ИС.
Выходная информация ИС классифицируется на следующие виды –
информация, связанная с приемом продукции на склад;
информация, связанная с отгрузкой продукции со склада;
справочная информация, отражающая состояние на складе.
Информация, связанная с приемом продукции на склад, состоит из следующих документов:
акт о разгрузке;
журнал прихода;
Эти документы подтверждают прием продукции на склад. Акт о разгрузке содержит следующие данные:
название склада, производящего прием продукции;
номер акта разгрузки;
дата приема товара на склад;
место приемки товара и составления данного акта;
информация о составе комиссии производившей приемку продукции на склад, а именно:
оператор (зав. складом) производивший прием продукции на склад;
водитель автомобиля, доставившего продукцию на склад;
номер автомобиля доставившего продукцию на склад;
название организации, откуда доставлен груз;
дата и время отправки груза;
время доставки на склад;
время окончания разгрузки;
номер товарно-транспортной накладной, по которой товар был доставлен на склад;
количество принятых мест (коробов) с указанием даты реализации продукта;
состояние пломбы на прицепе автомобиля;
наличие рекламных материалов, оборудования и т.п., не указанных в сопроводительных документах;
Журнал прихода содержит следующие данные:
номер журнала прихода (совпадает с номером акта о разгрузке);
дата прихода продукции на склад;
наименование склада производившего прием продукции;
наименование организации, откуда была доставлена продукция;
информацию о приходе товара на склад с учетом разделения товара на паллеты, а именно:
код товара;
число коробов на паллете;
срок годности продукции;
адрес местонахождения продукции на складе;
информация об операторе (зав. складом), производившем приемку товара;
Формы выходных документов прихода (акт о разгрузке, журнал прихода) приведены в приложении. Информация, связанная с отгрузкой продукции на склад, состоит из следующих документов:
лист отгрузки со склада;
журнал расхода;
Эти документы подтверждают факт отгрузки продукции со склада. Лист отгрузки со склада содержит следующие данные:
название склада, с которого была отгружена продукция;
номер заказа;
код клиента, получающего продукцию;
название клиента;
дата и время отгрузки;
код отгружаемой продукции;
название отгружаемой продукции;
срок годности отгружаемой продукции;
количество отгружаемых коробов;
информация об операторе, производившем отгрузку;
Журнал расхода содержит следующие данные:
номер журнала расхода;
название склада производившего отгрузку;
информацию о расходе товара с учетом разделения товара на паллеты, а именно:
код товара;
число коробов на паллете;
срок годности продукции;
адрес местонахождения продукции на складе;
информация об операторе (зав. складом), производившем отгрузку товара;
Формы выходных документов расхода (лист отгрузки со склада, журнал расхода) приведены в приложении. Помимо указанных выше документов, во время приема продукции на склад должны формироваться наклейки, которые наклеиваются на паллеты и содержат:
код продукта;
наименование продукта;
срок годности продукта;
количество коробов на паллете;
адрес, в который необходимо поместить паллету.
Пример наклейки приведен в приложении. При подборке заказа клиенту, система должна формировать и выводить на печать приказы на перемещение паллет из адресов в зону заказа, которые выдаются водителям электропогрузчиков. Приказ на перемещение должен содержать:
код перемещаемого продукта;
наименование перемещаемого продукта;
адрес, с которого необходимо переместить продукцию;
количество коробов находящихся в данном адресе;
срок годности перемещаемой продукции;
номер заказа, для которого производится перемещение;
количество коробов, которое необходимо переместить из адреса в зону заказа
Пример приказа на перемещение представлен в приложении. Формы выходной справочной информации достаточно разнообразны и должны формироваться системой самостоятельно, таким образом, как это может наблюдать пользователь на своем мониторе.
1.3.8 Требования к системе
Общие требования. Разрабатываемая система должна представлять собой законченный программный продукт, реализующий автоматизацию процесса управления складским комплексом в установленном объеме задач. Для обеспечения эффективной работы система должна иметь дружественный графический интерфейс с пользователем, понятное назначение функций и наглядный результат обработки информации, надежно функционировать в существующем программном окружении и условиях эксплуатации, обладать средствами защиты от сбоев и восстановления. Система должна быть открытой для дальнейшего масштабирования и наращивания функциональных возможностей отдельных программных модулей. Необходимым и обязательным является наличие встроенной интерактивной справочной информации по работе с системой и программной документации на систему: техническое задание, описание программы, исходный текст программы, руководства системного программиста и пользователя.
Требования к видам обеспечения и компонентам. По техническому обеспечению: персональный компьютер, с достаточным объемом оперативной памяти, наличие дисковых накопителей (НЖМД, НГМД) для хранения БД, документов и их архивных копий, монитор, принтер для печати отчетной документации.
По программному обеспечению:
системное: операционная система, драйвера для встроенных и внешних устройств;
прикладное: программы диагностики аппаратных средств и антивирусной защиты.
По информационному обеспечению: информационное обеспечение процесса управления движением материальных потоков складского комплекса можно представить следующей схемой.

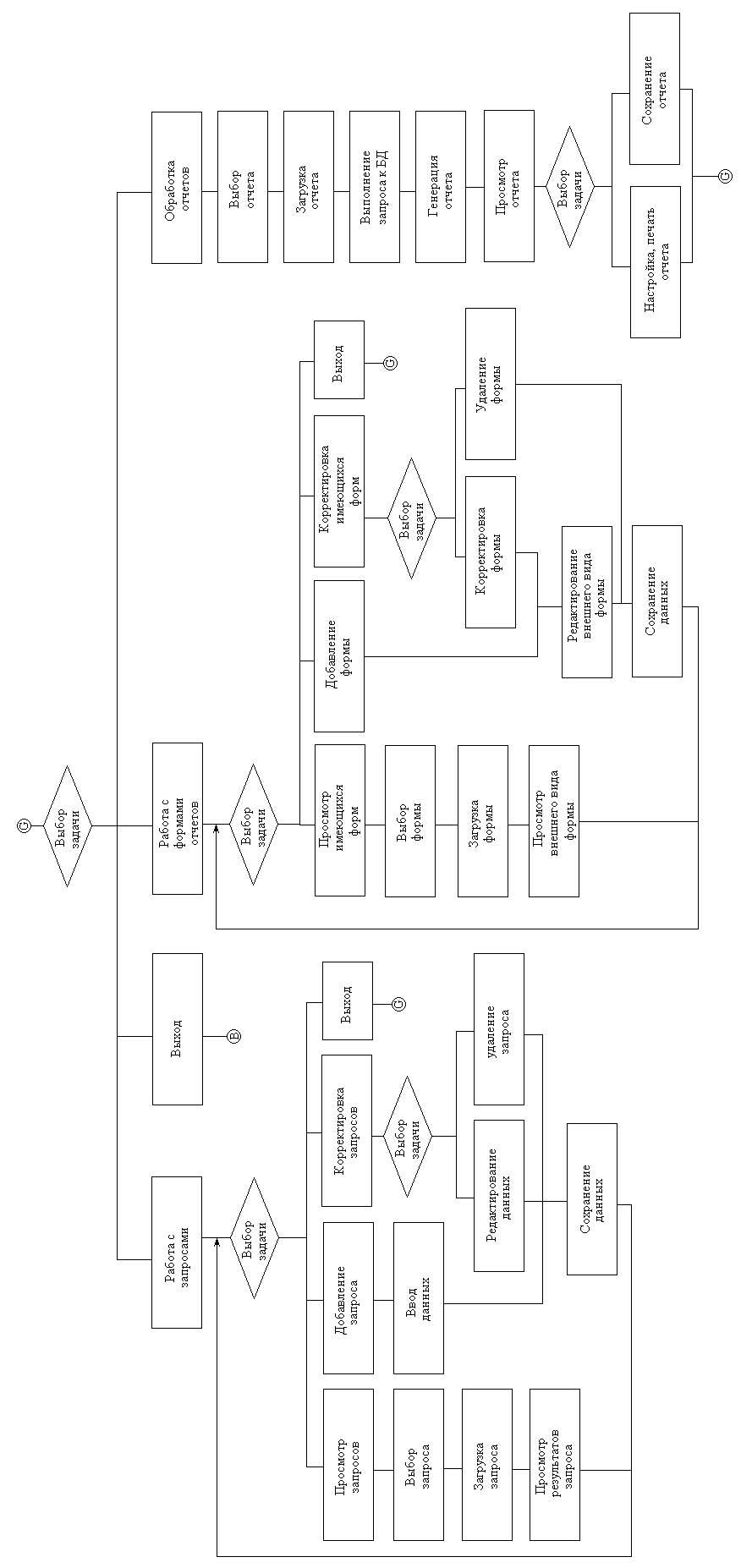
Описание функциональной структуры информационной системы складского терминала
В соответствии с техническим заданием структуру задач, решаемых системой можно представить следующей схемой рис. 2.1.

Для выполнения первой задачи – идентификации пользователей, необходимо чтобы система могла:
Разрешать работу с системой только зарегистрированным пользователям.
Обеспечивать гибкую настройку доступности процедур системы для каждого отдельного пользователя.
Обеспечивать сохранение информации в базе данных системы о пользователе и изменениях, им произведенных.
Реализация описанных выше процедур системы обеспечивается работой первой функции <Идентификация пользователей>, выполнение которой обеспечивают четыре подфункции: <Ввод информации о пользователях системы>, <Просмотр данных>, <Обработка информации>, <Сохранение информации о произведенных пользователем операциях>.
Подфункция системы <Ввод информации о пользователях системы> реализуется с помощью подфункций второго уровня <Добавление данных>, <Проверка правильности ввода информации> и <Сохранение информации>.
Подфункция <Обработка информации> может быть реализована тремя подфункциями второго уровня <Поиск информации>, <Сортировка информации>, <Изменение информации>, которые в свою очередь реализуются подфункциями третьего уровня. Для подфункции <Поиск информации> это:
<Задание условий поиска>
<Выполнение условий поиска>
<Просмотр результатов поиска>
<Печать результатов поиска>
Для подфункции <Сортировка информации> это:
<Задание условий сортировки>
<Выполнение условий сортировки>
<Просмотр результатов сортировки>
<Печать результатов сортировки>
Для подфункции <Изменение информации> это:
<Добавление информации>
<Исправление информации>
<Проверка правильности ввода информации>
<Удаление информации>
<Просмотр результатов>
<Сохранение изменений>
Подфункция системы <Сохранение информации о произведенных пользователем операциях> имеет важное значение, и поэтому выделена в отдельную подфункцию. Назначение данной подфункции состоит в сохранении идентификатора пользователя и времени в служебных полях базы данных при произведении пользователем, каких либо действий с базой данных системы. Это необходимо для восстановления информации о том – кто, когда и какие операции производил. Структурную схему функции системы <Идентификация пользователей> можно представить схемой, представленной на рис. 2.2.

Для выполнения второй задачи – учета продукции поступающей в зону складского комплекса, необходимо чтобы система могла:
Обеспечивать возможность ввода информации о приходе продукции на склад в двух режимах:
Автоматический режим – режим, при котором на систему ложится задача выбора оптимального расположения продукции на складе. Оператор вводит в систему принимаемую продукцию, система определяет – где ее расположить.
Ручной режим – режим, при котором оператор вручную определяет расположение принимаемой продукции на складе.
Обеспечивать возможность корректировки введенной информации.
Обеспечивать просмотр имеющейся информации.
Контролировать правильность ввода информации.
Автоматически сохранять введенную информацию.
Обеспечивать возможность удаления информации.
Обеспечивать возможность поиска необходимых данных.
Обеспечивать возможность сортировки имеющейся информации.
Обеспечивать формирование необходимой документации и вывод ее на печать.
Реализация описанных выше процедур системы обеспечивается работой второй функции <Учет продукции поступающей на склад>, выполнение которой обеспечивают такие подфункции как <Ввод информации о поступлении продукции на склад>, <Просмотр всех имеющихся данных>, <Обработка имеющейся информации>, <Формирование необходимой документации>.
Подфункция системы <Ввод информации о поступлении продукции на склад> реализуется с помощью подфункций второго уровня <Автоматический режим> и <Ручной режим>. Данные подфункции, в свою очередь, реализуются с помощью подфункций третьего уровня:
<Добавление данных>
<Проверка правильности ввода данных>
<Внесение изменений>
<Удаление информации>
<Просмотр результата>
<Выдача необходимой информации на печать>
<Автоматическое сохранение информации>
Для реализации подфункции <Автоматический режим> также необходима подфункция третьего уровня <Автоматическое определение необходимой информации и занесение ее в базу данных системы>. В задачи данной подфункции входит определение наиболее оптимального расположения продукции на складе и выдача соответствующих адресов склада для принимаемой продукции.
Подфункция системы <Просмотр всех имеющихся данных> реализуется с помощью подфункций второго уровня <Просмотр документов> и <Печать документов>. Подфункция системы <Обработка имеющейся информации> может быть реализована с помощью двух подфункций второго уровня <Поиск информации>, <Сортировка информации>. Выполнение задач подфункции <Поиск информации> осуществляется подфункциями третьего уровня:
<Задание условий поиска информации>
<Выполнение поиска информации>
<Просмотр результатов поиска>
<Печать результатов поиска>
а подфункции <Сортировка информации> в свою очередь подфункциями:
<Задание условий сортировки>
<Выполнение сортировки>
<Просмотр результатов сортировки>
<Печать результатов сортировки>
Подфункция системы <Формирование необходимой документации> реализуется четырьмя подфункциями второго уровня:
<Формирование отчетных форм>
<Формирование отчетов>
<Просмотр и печать отчетов>
<Сохранение отчетов>
На основании вышеизложенного, реализацию функции <Учет продукции поступающей на склад> можно описать схемой представленной на рис. 2.3.
Для выполнения третьей задачи - учета продукции отгруженной из зоны складского комплекса, необходимо чтобы система могла:
Обеспечивать возможность ввода информации об отгрузке продукции со склад в двух режимах:
Автоматический режим – режим, при котором на систему ложится задача оптимального выбора адресов склада, с которых будет производиться отгрузка продукции клиентам. Оператор вводит в систему отгружаемую продукцию, система определяет – где ее взять.

Ручной режим – режим, при котором оператор вручную определяет расположение отгружаемой продукции на складе.
Обеспечивать возможность корректировки введенной информации.
Обеспечивать просмотр имеющейся информации.
Контролировать правильность ввода информации.
Автоматически сохранять введенную информацию.
Обеспечивать возможность удаления информации.
Обеспечивать возможность поиска необходимых данных.
Обеспечивать возможность сортировки имеющейся информации.
Обеспечивать формирование необходимой документации и вывод ее на печать.
Реализация описанных выше процедур системы обеспечивается работой второй функции <Учет продукции отгруженной со склада>, выполнение которой обеспечивают такие подфункции как <Ввод информации об отгрузке продукции со склада>, <Просмотр всех имеющихся данных>, <Обработка имеющейся информации>, <Формирование необходимой документации>. Как видно, перечень выполняемых данной функцией процедур аналогичен списку процедур предыдущей функции, поэтому будет целесообразно использовать структуру функции <Учет продукции поступающей на склад>, с разницей лишь в том, что процедуры будут выполняться для информации из базы данных документов отгрузки со склада. Так же, для реализации функции <Учет продукции отгруженной со склада> изменится назначение подфункции третьего уровня <Автоматическое определение необходимой информации и занесение ее в базу данных системы>. В задачи данной подфункции входит определение наиболее оптимального расположения продукции на складе и выдача соответствующих адресов склада для отгружаемой продукции. Структурная схема функции системы <Учет продукции отгруженной со склада> будет аналогична схеме функции <Учет продукции поступающей на склад> рис. 2.3.
Для выполнения четвертой задачи – контроль за состоянием складского комплекса, необходимо чтобы система могла вести:
Учет поставщиков продукции.
Учет клиентов складского комплекса.
Учет наименований продукции складского комплекса.
Возможность произведения операций с виртуальными ячейками склада.
Реализация описанных выше процедур системы обеспечивается работой четвертой функции <Контроль за состоянием складского комплекса>, выполнение которой осуществляется подфункциями: <Просмотр ячеек склада>, <Операции с ячейками склада>, <Учет поставщиков продукции>, <Учет клиентов>, <Учет наименований продукции>. Подфункция <Операции с ячейками склада> реализуется четырьмя подфункциями второго уровня:
<Создание виртуальных ячеек>
<Удаление виртуальных ячеек>
<Редактирование информации о ячейках>
<Блокировка ячеек>
Подфункция <Учет поставщиков продукции> также реализуется четырьмя подфункциями второго уровня:
<Добавление поставщика>
<Просмотр имеющихся поставщиков>
<Удаление поставщика>
<Редактирование информации о поставщике>
Подфункции <Учет клиентов> и <Учет наименований продукции> реализованы также как и предыдущая подфункция, и имеют по четыре подфункции, отвечающие за добавление информации, просмотр имеющихся данных, удаление информации и редактирование информации. Структурная схема функции системы <Контроль за состоянием складского комплекса> представлена на рис. 2.4.
Для выполнения пятой задачи – формирование необходимой документации, необходимо чтобы система могла:
Поиск информации для составленных отчетов.
Просмотр сформированных отчетов.
Создание запросов для связи отчетов с данными.
Создание форм отчетов.
Генерацию отчетов.
Настройку представления отчетов.
Печать и сохранение отчетов в различных форматах.

Реализация описанных выше процедур системы обеспечивается работой пятой функции <Формирование необходимой документации>, выполнение которой осуществляется подфункциями <Создание запросов для связи отчетов с данными>, <Создание форм отчетов>, <Формирование отчетов> и <Обработка отчетов>. Подфункция <Создание запросов для связи отчетов с данными> предназначена для создания запросов к базе данных. В запросах указываются таблицы данных и необходимые условия выборки данных. Каждый запрос имеет свое имя, ссылаясь на которое производится формирование данных для отчета, вызвавшего данный запрос. Функционирование данной подфункции осуществляется пятью подфункциями второго уровня:
<Просмотр списка запросов>
<Добавление запроса>
<Редактирование запроса>
<Удаление запроса>
<Просмотр результатов запроса>
Подфункция <Создание форм отчетов> предназначена для создания шапок отчетов. В форме отчета создаются необходимые надписи (заголовок отчета, заголовки столбцов и т.д.) а также указываются используемые запросы, необходимые для формирования данного отчета. Функционирование данной подфункции осуществляется пятью подфункциями второго уровня:
<Просмотр списка форм>
<Редактирование существующих форм>
<Добавление формы>
<Удаление формы>
<Просмотр формы>

Подфункция <Формирование отчетов> реализуется в системе с помощью подфункций второго уровня: <Поиск данных для отчета>, <Выбор формы отчета>, <Выбор запроса для отчета>, <Генерация отчета>. Подфункция <Обработка отчетов> реализуется в системе с помощью подфункций второго уровня: <Просмотр и настройка отчетов> <Печать отчетов> <Загрузка отчетов> <Сохранение отчетов в необходимом формате>. Составим структурную схему функции системы <Формирование необходимой документации> рис. 2.5.
3. Описание программы
Информационная система складского терминала (далее ИС или программа) представляет собой Windows – приложение, созданное с помощью программной среды Delphi 5. Программа функционирует как приложение для работы с базами данных, построенное на имеющихся для этого программных средствах Delphi 5. ИС работает под управлением операционной системы Windows 95/98/NT. Аппаратная часть ИС – компьютера (процессор Pentium 266 МГц, ОЗУ – 32 МБ, HDD – 2.4 Гб, видеопамять 4 МБ); дисплея 17´´; принтера (Lexmark Optra S 1855); принтера наклеек DATAMAX DMX 600. Характерной особенностью созданных с помощью Delphi программ для работы с базами данных (БД) является непременное использование в них BDE (Borland Database Engine – машина баз данных Borland), которая осуществляет роль связующего моста между программой и таблицами БД. BDE представляет собой набор DLL – библиотек, обеспечивающих низкоуровневый доступ к локальным и клиент – серверным БД и должна устанавливаться на каждом компьютере, который использует приложения для работы с БД, написанные на Delphi. BDE не является частью программы, содержится в нескольких каталогах и должна регистрироваться в реестре Windows 32. При установке ИС на компьютер все необходимые DLL – библиотеки копируются по умолчанию в каталог C:\Program Files\BDE\. В каталоге …IS\MODULS находятся исходные файлы программы. Запускающим файлом ИС является исполнимый файл START.EXE, находящийся в папке IS. Экранные формы информационной системы представлены на рисунках 3.1; 3.2; 3.3; 3.4.

Рис. 3.1. Экранная форма заголовка расходной накладной

Рис. 3.2. Экранная форма строк расходной накладной
Рис.3.3. Экранная форма редактора списков сотрудников

Рис 3.4. Экранная форма редактора классификаторов товаров
3.1 Алгоритм функционирования информационной системы
складского терминала
Функционирование ИС осуществляется согласно структурному алгоритму, построенному исходя из требований, предъявляемых к выполняемым программой функциям (разделы 1.3 и 2). Работу всей системы можно представить алгоритмом, изображенным на рис. 3.5, 3.6, 3.7, 3.8.

Рис. 3.5. Алгоритм работы информационной системы складского терминала
3.2 Информационная структура базы данных.
Проектирование базы данных начинается с выявления атрибутов и подбора данных. Проектируемая база данных будет содержать объектное отношение документов прихода и объектное отношение документов отгрузки со склада. Анализ информации, которая должна содержатся в акте о приходе продукции на склад, показывает, что следует выделить следующие атрибуты объектного отношения документов прихода:
№ акта о разгрузке;
оператор, производящий приемку продукции на склад (зав. складом);
№ товарно-транспортной накладной, по которой продукция прибыла на склад;


Рис. 3.6. Алгоритм работы информационной системы складского терминала




дата создания акта о разгрузке;
время создания акта о разгрузке;
№ машины, с которой прибыла продукция;
поставщик продукции;
водитель машины;
дата разгрузки;
время разгрузки;
код продукта;
наименование продукта;
срок годности продукта;
количество коробов продукции;
вес короба продукции;
цена короба продукции;
адрес разгруженной продукции на складе;
Данное объектное отношение также должно содержать информацию о поставщике продукции (адрес, телефон и т.д.). Используя данное объектное отношение, мы получим слишком громоздкую базу данных, с огромной избыточностью. Так как принятая продукция будет иметь определенное количество разных адресов на складе для каждого кода продукции в отдельности, то мы получим большое число строк, в которых будет повторяться информация о поставщиках, продукции, операторах. Исходя из данного анализа целесообразно будет разбить объектное отношение документов прихода на несколько отдельных объектных отношений: документы прихода, карточка товара, поставщики, операторы, расположение.
Определим атрибуты объектного отношения «Карточка товара»:
наименование товарной единицы;
производитель товарной единицы;
код продукта;
вес короба продукции;
высота короба продукции;
ширина короба продукции;
длина короба продукции;
цена короба продукции.
Определим атрибуты объектного отношения «Поставщики»:
код поставщика;
название поставщика;
адрес поставщика;
телефон поставщика;
расчетный счет поставщика;
№ договора с поставщиком;
Определим атрибуты объектного отношения «операторы»:
фамилия оператора;
имя оператора;
отчество оператора;
адрес оператора;
телефон оператора;
Определим атрибуты объектного отношения «Документы прихода»:
№ акта разгрузки;
оператор;
№ товарно-транспортной накладной;
время создания акта разгрузки;
дата создания акта разгрузки;
№ машины, с которой прибыла продукция;
поставщик;
водитель машины;
дата разгрузки;
время разгрузки;
Определим атрибуты объектного отношения «Расположение»:
№ акта разгрузки;
код продукта;
количество коробов;
срок годности продукции;
адрес;
Информация о товарах будет располагаться в файле с именем «tovar.dbf» со следующей структурой файла (Таблица 3.1.):
Таблица 3.1.
|
Название |
Имя поля |
Тип поля |
Длина |
|
Название товара |
Nаim_tov |
текстовый |
30 |
|
Производитель товарной единицы |
Naim_proizvod |
текстовый |
15 |
Код продукта |
Kod_prod |
числовой |
6 |
Вес короба продукции |
Ves_prod |
числовой |
4 |
Ширина короба продукции |
Shir_prod |
числовой |
3 |
Высота короба продукции |
Visot_prod |
числовой |
3 |
Длина короба продукции |
Dlin_prod |
числовой |
3 |
Цена короба продукции |
Cena_prod |
числовой |
4 |
Информация о поставщиках будет располагаться в файле с именем «postav.dbf» со следующей структурой файла (Таблица 3.2):
Таблица 3.2.
|
Название |
Имя поля |
Тип поля |
Длина |
|
код поставщика |
Kod_post |
числовой |
5 |
|
название поставщика |
Naim_post |
текстовый |
15 |
|
адрес поставщика |
Adres_post |
текстовый |
30 |
|
телефон поставщика |
Telef_post |
числовой |
6 |
|
расчетный счет поставщика |
Ras_shet |
числовой |
30 |
|
№ договора с поставщиком |
№_dogov |
числовой |
10 |
Информация об операторах будет располагаться в файле с именем «operators.dbf» со следующей структурой файла (Таблица 3.3.):
Таблица 3.3.
|
Название |
Имя поля |
Тип поля |
Длина |
Фамилия оператора |
FIO1_oper |
текстовый |
10 |
Имя оператора |
FIO2_oper |
текстовый |
8 |
|
Отчество оператора |
FIO3_oper |
текстовый |
10 |
Адрес оператора |
Adres_oper |
текстовый |
30 |
Телефон оператора |
Telef_oper |
числовой |
6 |
Информация о документах прихода будет располагаться в файле с именем «prihod.dbf» со следующей структурой файла (Таблица 3.4.):
Таблица 3.4.
|
Название |
Имя поля |
Тип поля |
Длина |
|
№ акта разгрузки |
№_akt |
числовой |
10 |
Оператор |
operator |
текстовый |
10 |
|
№ товарно-транспортной накладной |
№_TTN |
числовой |
5 |
|
Время создания акта о разгрузке |
Time |
time |
8 |
|
Дата создания акта о разгрузке |
Data |
data |
10 |
|
№ машины, с которой прибыла продукция |
№_cars |
общий |
10 |
Код поставщик |
Kod_post |
текстовый |
15 |
Водитель машины |
Voditel |
текстовый |
10 |
Дата разгрузки |
Data1 |
data |
10 |
Время разгрузки |
Time1 |
time |
8 |
Информация о расположении будет располагаться в файле с именем «adress.dbf» со следующей структурой файла (Таблица 3.5.):
Таблица 3.5.
|
Название |
Имя поля |
Тип поля |
Длина |
|
№ акта разгрузки |
№_acts |
числовой |
10 |
Код продукта |
Kod_prod |
числовой |
6 |
|
Количество коробов |
Kol_case |
числовой |
3 |
|
Срок годности продукции |
BBD |
общий |
15 |
|
Адрес |
Аdress |
общий |
15 |
Определим необходимые атрибуты объектного отношения документов отгрузки. Анализ информации, которая должна содержатся в акте об отгрузки продукции со склада, показывает, что следует выделить следующие атрибуты объектного отношения документов отгрузки со склада:
№ акта об отгрузки;
№ заказа;
оператор;
время создания акта;
дата создания акта;
код клиента;
название клиента;
адрес клиента;
телефон клиента;
дата отгрузки
время отгрузки
код продукции
адрес продукции на складе
количество коробов
срок годности продукции
Используя данное объектное отношение, мы получим слишком громоздкую базу данных, с огромной избыточностью. Так как отгружаемая продукция будет иметь определенное количество разных адресов на складе для каждого кода продукции в отдельности, то мы получим большое число строк, в которых будет повторяться информация о клиентах, продукции, операторах. Исходя из данного анализа целесообразно будет разбить объектное отношение документов отгрузки на несколько отдельных объектных отношений: документы отгрузки, карточка товара, клиенты, операторы, адрес отгрузки.
Объектные отношения карточка товара и операторы представлены выше. Определим атрибуты объектного отношения «Клиенты»:
код клиента;
название клиента;
адрес клиента;
телефон клиента;
Определим атрибуты объектного отношения «Документы отгрузки»:
№ акта отгрузки;
№ заказа;
оператор;
время создания акта отгрузки;
дата создания акта отгрузки;
код клиента;
дата отгрузки;
время отгрузки;
Определим атрибуты объектного отношения «адрес отгрузки»:
1. код продукта;
2. количество коробов;
срок годности продукции;
адрес продукции
Информация о клиентах будет располагаться в файле с именем «klient.dbf» со следующей структурой файла (Таблица 3.6.):
Таблица 3.6.
|
Название |
Имя поля |
Тип поля |
Длина |
|
код клиента |
Kod_klien |
числовой |
5 |
|
название клиента |
Naim_klien |
текстовый |
15 |
|
адрес клиента |
Adres_klien |
текстовый |
30 |
|
телефон клиента |
Telef_klien |
числовой |
6 |
Информация о документах отгрузки будет располагаться в файле с именем «otgryska.dbf» со следующей структурой файла (Таблица 3.7.):
Таблица 3.7.
|
Название |
Имя поля |
Тип поля |
Длина |
|
№ акта отгрузки |
№_akt1 |
числовой |
10 |
№ заказа |
№_zakaz |
числовой |
10 |
Оператор |
operator |
текстовый |
10 |
|
Время создания акта oб отгрузки |
Time2 |
time |
8 |
|
Дата создания акта об отгрузки |
Data2 |
data |
10 |
Код клиента |
Kod_klien |
общий |
5 |
Дата отгрузки |
Data3 |
data |
10 |
Время отгрузки |
Time3 |
time |
8 |
Информация о расположении будет располагаться в файле с именем «adress1.dbf» со следующей структурой файла (Таблица 3.8.):
Таблица 3.8.
|
Название |
Имя поля |
Тип поля |
Длина |
|
№ акта oтгрузки |
№_acts |
числовой |
10 |
Код продукта |
Kod_prod |
числовой |
6 |
|
Количество коробов |
Kol_case |
числовой |
3 |
|
Срок годности продукции |
BBD |
общий |
15 |
|
Адрес |
Аdress |
общий |
15 |
Инфологическая модель баз данных "Приход", "Уход" построенная с помощью языка "таблицы-связи" представлена на рис. 3.9. /5/
3.4 Описание модулей программы
В виду громоздкости программного кода проекта в данном разделе приведем описание одного модуля программы на примере модуля Unit1.pas. Этот модуль описывает работу формы ввода пароля. Соответствующий листинг представлен в приложении. Представленный исходный код модуля Delfi, написанный на объектно-ориентированном языке Object Pascal реализует интерфейс пользователя для ввода пароля. В списке Uses данного модуля присутствуют ссылки на модули Unit2 и Unit 3. Благодаря этому данный


модуль
может вызывать во время выполнения
программы вышеперечисленные модули
обращаться к их элементам. В разделе
type
перечислены визуальные компоненты,
принадлежащие форме Form1,
а также приведены объя
вления
процедур, используемых в данном модуле.
Процедура TForm1.Button1Click выполняется при
нажатии кнопки <ОК>. Она нажимается
тогда, когда пароль введен в поле
MaskEdit1. Процедура проверяет, есть ли в
записях базы данных «операторы» в поле
«password»
значение введенное в поле MaskEdit1. Если
найдена хотя бы одна запись, имеющая в
поле «password»
значение, введенное в MaskEdit1, то программа
продолжает работать. Если значение
введенное в MaskEdit1 не найдено приложение
прекращает свою работу. После проверки
пароля проверяется статус человека,
набравшего пароль. Если в базе данных
«операторы» в поле «status»
стоит значение «оператор», то кнопки
на главной форме, доступные для
администратора БД, делаются недоступными.
Если поле «status»
содержит значение «администратор», то
все кнопки на главной форме становятся
доступными. Значение полей «Fam»
и «Status» присваивается меткам на главной
форме. В конце процедуры формы Form1
и Form2
делаются невидимыми. Главная форма
Form3
делается видимой. Процедура
TForm1.MaskEdit1KeyDown необходима для того, чтобы
процедура TForm1.Button1Click запускалась не
только при нажатии кнопки <ОК>, но и
при нажатии клавиши <Enter>.
Процедура TForm1.FormClose выполняется всегда,
при закрытии формы Form1. Форма Form1 делается
невидимой, а главная форма Form3 наоборот
отображается на экране как модальная.
4. Защита информации в ЛВС подразделения
4.1 Анализ возможностей системы разграничения доступа ОС Wndows NT.
Windows NT имеет средства обеспечения безопасности, встроенные в операционную систему. Рассмотрим наиболее значимые из них:
Централизованное управление безопасностью
Для повышения удобства Windows NT имеет централизованные средства управления безопасностью сети. Имеется возможность установки области и связей доверия для централизации сетевого учета пользователей и другой информации, относящийся к безопасности, в одном месте, облегчая управление сетью и использование ее. При централизованном управлении безопасностью для каждого пользователя имеется только одна учетная карточка и она дает пользователю доступ ко всем разрешенным ему ресурсам сети. Можно использовать только один сетевой компьютер, чтобы проследить за активностью на любом сервере сети.
Управление рабочими станциями пользователей
Профили пользователя в Windows NT позволяют обеспечить большое удобство пользователям и в то же самое время ограничить их возможности, если это необходимо. Чтобы использовать профили пользователя для большей продуктивности, имеется возможность сохранить на сервере профили, содержащие все характеристики пользователя и установочные параметры, как например, сетевые соединения, программные группы и даже цвета экрана. Этот профиль используется всякий раз, когда пользователь начинает сеанс на любом компьютере с Windows NT так, что предпочитаемая им среда следует за ним с одной рабочей станции на другую. Для того, чтобы применять профили при ограничении возможностей пользователя, необходимо добавить ограничения к профилю, как например, предохранить пользователя от изменения программных групп и их элементов, делая недоступными части интерфейса Windows NT, когда пользователь будет регистрироваться в сети.
Слежение за деятельностью сети
Windows NT Server дает много инструментальных средств для слежения за сетевой деятельностью и использованием сети. ОС позволяет просмотреть серверы и увидеть, какие ресурсы они совместно используют; увидеть пользователей, подключенных к настоящему времени к любому сетевому серверу
и увидеть, какие файлы у них открыты; проверить данные в журнале безопасности; записи в журнале событий; и указать, о каких ошибках администратор должен быть предупрежден, если они произойдут.
Начало сеанса на компьютере Windows NT
Всякий раз, когда пользователь начинает сеанс на рабочей станции Windows NT, экран начала сеанса запрашивают имя пользователя, пароль и домен. Затем рабочая станция посылает имя пользователя и пароль в определенный домен для идентификации. Сервер в этом домене проверяет имя пользователя и пароль в базе данных учетных карточек пользователей домена. Если имя пользователя и пароль идентичны данным в учетной карточке, сервер уведомляет рабочую станцию о начале сеанса.
Сервер также загружает другую информацию при начале сеанса пользователя, как например установки пользователя, свой каталог и переменные среды. По умолчанию не все учетные карточки в домене позволяют входить в систему серверов домена. Только карточкам групп администраторов, операторов сервера, операторов управления печатью, операторов управления учетными карточками и операторов управления резервным копированием разрешено это делать.
Учетные карточки пользователей
Каждый человек, который использует сеть, должен иметь учетную карточку пользователя в некотором домене сети. Учетная карточка пользователя содержит информацию о пользователе, включающую имя, пароль и ограничения по использованию сети, налагаемые на него. Имеется возможность также сгруппировать пользователей, которые имеют аналогичные работы или ресурсы, в группы; группы облегчают предоставление прав и разрешений на ресурсы, достаточно сделать только одно действие, дающее права или разрешения всей группе.
Журнал событий безопасности
Windows NT позволяет определить, что войдет в ревизию и будет записано в
журнал событий безопасности всякий раз, когда выполняются определенные действия или осуществляется доступ к файлам. Элемент ревизии показывает выполненное действие, пользователя, который выполнил его, а также дату и время действия. Это позволяет контролировать как успешные, так и неудачные попытки каких-либо действий.
Права пользователя
Права пользователя определяют разрешенные типы действий для этого пользователя. Действия, регулируемые правами, включают вход в систему на локальный компьютер, выключение, установку времени, копирование и восстановление файлов сервера и выполнение других задач. В доменах Windows NT Server права предоставляются и ограничиваются на уровне домена; если группа находится непосредственно в домене, участники имеют права во всех первичных и резервных контроллерах домена. В каждой рабочей станции Windows NT и в каждом компьютере Windows NT Server, который не является контроллером домена, предоставленные права применяются только к этому единственному компьютеру.
Установка пароля и политика учетных карточек
Для каждого домена можно определить все аспекты политики пароля: минимальную длину пароля (по умолчанию 6 символов), минимальный и максимальный возраст пароля (по умолчанию устанавливается 14 и 30 дней) и исключительность пароля, который предохраняет пользователя от изменения его пароля на тот пароль, который пользователь использовал недавно (по умолчанию должен предохранить пользователей от повторного использования их последних трех паролей). Дается возможность также определить и другие аспекты политики учетных карточек:
Должна ли происходить блокировка учетной карточки.
Должны ли пользователи насильно отключаться от серверов домена по истечении часов начала сеанса.
Должны ли пользователи иметь возможность входа в систему, чтобы изменить свой пароль.
Когда разрешена блокировка учетной карточки, тогда учетная карточка блокируется в случае нескольких безуспешных попыток начала сеанса пользователя, и не более, чем через определенный период времени между любыми двумя безуспешными попытками начала сеанса. Учетные карточки, которые заблокированы, не могут быть использованы для входа в систему. Если пользователи принудительно отключаются от серверов, когда время его сеанса истекло, то они получают предупреждение как раз перед концом установленного периода сеанса. Если пользователи не отключаются от сети, то сервер произведет отключение принудительно. Однако отключения пользователя от рабочей станции не произойдет. Если от пользователя требуется изменить пароль, то, когда он этого не сделал при просроченном пароле, он не сможет изменить свой пароль. При просрочке пароля пользователь должен обратиться к администратору системы за помощью в изменении пароля, чтобы иметь возможность снова входить в сеть. Если пользователь не входил в систему, а время изменения пароля подошло, то он будет предупрежден о необходимости изменения, как только он будет входить и помощь администратора ему будет не нужна. /4/
4.2 Обоснование применения специальных средств защиты информации.
При всех неоспоримых положительных качествах, встроенных средств обеспечения безопасности Windows NT в нашем случае их не достаточно. Этот вывод сделан на основании того, что не все требования, перечисленные в разделе 1.3.3, выполняются встроенными средствами безопасности ОС Windows NT, а именно:
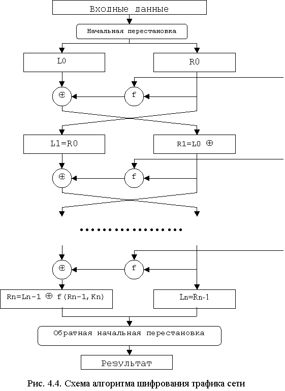
нет возможности шифрования трафика сети;
дополнительной идентификации пользователей;
затирания остатков информации в системе.
4.3 Выбор программно-аппаратных средств защиты информации
Так как Windows NT не может обеспечить требуемый уровень безопасности данных в локальной вычислительной сети нашего подразделения, то логичным является путь установки дополнительных средств защиты. Сегодня на рынке присутствует достаточное количество дополнительных средств защиты данных, требующихся нашей системе. Проанализируем возможности, предоставляемые этими средствами, и сделаем оптимальный выбор.
Комплекс “Аккорд”
В состав комплекса входит одноплатный контроллер, вставляемый в свободный слот компьютера, контактное устройство (съемник информации), программное обеспечение и персональные идентификаторы DS199x Touch Memory в виде таблетки. Съемник устанавливается на передней панели компьютера, а идентификация осуществляется прикосновением идентификатора (таблетки) к съемнику.
Аутентификация выполняется до загрузки операционной системы. Дополнительно может быть поставлена библиотека программ для подключения средств шифрования и электронной подписи. /6/ Таким образом, комплекс “Аккорд” не предоставляет всех необходимых нам услуг по защите информации. Шифрование и затирание остатков информации на носителях может быть произведено при помощи дополнительных утилит, аналогичных Diskreet и Wipeinfo из пакета Norton Utilities.
Комплекс Dallas Lock
В соответствии со спецификацией версия Dallas Lock 3.1 должна обеспечивать полномасштабную защиту рабочей станции, а также связь со станцией мониторинга. Комплекс предусматривает регистрацию пользователя на рабочей станции и вход его в сеть посредством касания электронной карточки Touch Memory. Число вариантов серийных номеров – 48 триллионов.
Dallas Lock обеспечивает:
возможность доступа к компьютеру и загрузки операционной системы только по предъявлении личной электронной карты пользователя и вводе личного пароля,
многоуровневое разграничение доступа по отношению к ресурсам компьютера,
защиту операционной системы,
ведение системных журналов событий,
установку для пользования опции гарантированного стирания файлов при их удалении,
защиту собственных файлов и контроль целостности среды. /6/
Комплекс Secret Net NT
Ассоциация “Информзащита” предлагает систему защиты Secret Net, предназначенную для защиты хранимой и обрабатываемой информации на персональных компьютерах в ЛВС от НСД и противодействия попыткам нарушения нормального функционирования ЛВС и прикладных систем на ее основе. В качестве защищаемого объекта выступает ЛВС персональных ЭВМ типа IBM PC/AT и старше, объединенных при помощи сетевого оборудования Ethernet, Arcnet или Token-Ring. Система включает средства:
идентификации и аутентификации пользователей (в том числе и при использовании карт Touch Memory и Smart Card),
разграничения доступа к ресурсам,
контроля целостности,
регистрации событий в журнале безопасности,
затирания остатков данных на носителях информации,
шифрования трафика сети,
управления средствами защиты и др.
Система Secret Net имеет сертификат Гостехкомиссии РФ /7/.
Проанализировав возможности рассмотренных выше комплексов защиты информации в локальных сетях, можно прийти к выводу, что лишь Secret Net NT удовлетворяет всем трем пунктам наших требований, изложенных в разделе 1.3.3.
4.4 Принципы работы сервера безопасности
В целях обеспечения защиты данных Secret Net следует следующим принципам:
Пользователь должен идентифицировать себя только раз в начале сессии. Это включает ввод имени и пароля клиента.
Пароль никогда не посылается по сети в открытом виде. Он всегда зашифрован. Дополнительно пароль никогда не хранится на рабочей станции или сервере в открытом виде.
Каждый пользователь имеет пароль, и каждая служба имеет пароль.
Единственным устройством, которое знает все пароли, является сервер безопасности. Этот сервер работает под серьезной охраной.
Рассмотрим схему работы сервера безопасности (рис. 4.1.):
Пользователь вводит имя.
Перед вводом пароля выдается через сеть сообщение на сервер аутентификации. Это сообщение содержит имя пользователя вместе с именем Ticket-Granting Server (TGS). Это сообщение не нуждается в шифровании, так как знание имен в сети необходимо всем для электронной почты.
Сервер аутентификации по имени пользователя и имени TGS сервера извлекает из базы данных ключи для каждого из них.
Сервер аутентификации формирует ответ, который содержит Ticket (билет), который гарантирует доступ к запрашиваемому серверу. Ticket все-

гда посылается в закрытом виде. Ticket содержит временную марку и дату создания. Сервер аутентификации шифрует этот ticket , используя ключ TGS сервера (полученного на шаге 3). Это дает sealed ticket (запечатанный билет), который передается на рабочую станцию в зашифрованном виде (на ключе пользователя).
Рабочая станция, получив зашифрованное сообщение, выдает запрос на ввод пароля. Пароль пользователя используется внутренним дешифратором для расшифровывания сообщения. Затем ключ пользователя удаляется из памяти. На этот момент на рабочей станции имеется sealed ticket.
Рассмотрим сценарий, когда пользователь хочет воспользоваться некоторой службой сети, например, запросить некий сервер (end server). Каждый запрос этой формы требует, прежде всего, получения ticket для данного сервера.
Рабочая станция создает сообщение, состоящее из sealed-ticket, sealed-authenticator и имени сервера, которое посылается TGS. Authenticator состоит из login-name, WS-net-address и текущего времени. Закрытый аутентификатор (sealed-authenticator) получается шифрованием.
TGS, получив сообщение, прежде всего, расшифровывает sealed-ticket и sealed-authenticator, используя ключ TGS. Таким образом, TGS получает все параметры для проверки достоверности:
Login-name,
TGS-name,
Сетевой адрес рабочей станции.
Наконец, сравнивается текущее время в authenticator, чтобы определить, что сообщение сформировано недавно. Это требует, чтобы все рабочие станции и сервера держали время в пределах допустимого интервала. TGS по имени сервера из сообщения определяет ключ шифрования сервера.
TGS формирует новый ticket, который базируется на имени сервера. Этот ticket шифруется на ключе сервера и посылается на рабочую станцию.
Рабочая станция получает сообщение, содержащее sealed-ticket, который она расшифровать не может.
Рабочая станция посылает сообщение, содержащее sealed-ticket, sealed-authenticator и имя сервера (сообщение не шифруется).
Сервер принимает это сообщение и прежде всего дешифрует sealed-ticket, используя ключ, который только этот сервер и Secret Net знают.
Сервер далее расшифровывает authenticator и делает проверку также как в пункте 7.
Ticket и аутентификаторы являются ключевыми моментами для понимания применения сервера безопасности. Для того, чтобы рабочая станция использовала сервер, требуется билет (ticket). Все билеты, кроме первого, получаются из TGS. Первый билет является специальным: это билет для TGS и он получается из сервера аутентификации. Билеты, получаемые рабочей станцией, не являются исчерпывающей информацией для нее. Они зашифрованы на ключе сервера, для которого они будут использованы. Каждый билет имеет время жизни. Когда билет уничтожается, пользователь должен идентифицировать себя снова, введя свое имя и пароль. Чтобы выполнить это уничтожение, каждый билет содержит время его создания (выпуска) и количество времени, в течении которого он действителен.
В отличие от билета, который может повторно использоваться, новый аутентификатор требуется каждый раз, когда клиент инициирует новое соединение с сервером. Аутентификатор несет временной штамп (метку), и уничтожается в течение нескольких минут после создания. Вот почему мы предполагаем,
что все рабочие станции и серверы должны поддерживать синхронизацию часов. Точность этой синхронизации и размер сети определяют максимум рационального времени жизни аутентификатора.
Сервер должен поддерживать историю предыдущих запросов клиента, для которых временная метка аутентификатора еще действительна (т.е. историю всех запросов внутри последних нескольких минут). Таким образом, сервер может отсечь дубликаты запросов, которые могут возникнуть в результате украденных билетов и аутентификаторов. Поскольку, как билет, так и аутентификатор содержат сетевой адрес клиента, другая рабочая станция не может использовать украденные копии без изменения их сущности, связанной с сетевым адресом владельца. Далее, поскольку аутентификатор имеет короткое время жизни и действителен только один раз, то взломщик должен проделать это до смерти аутентификатора, обеспечив также уверенность, что оригинальная копия билета и аутентификатора не достигнет нужного конечного сервера, и модифицировать их сетевой адрес, чтобы выглядеть как истинный клиент. Поскольку сервер подтверждает запрос клиента на обслуживание, то клиент и сервер разделяют одинаковый ключ шифрования. При желании клиент и сервер могут шифровать все данные их сессии, используя этот ключ, или они могут выбрать не шифровать данные вообще. Поскольку сервер удостоверил клиента, остальные шаги служат для удостоверения сервера. Это решает проблему неперсонифицированного вторжения в качестве сервера (т.е. подмены сервера). Клиент в этом случае требует, чтобы сервер послал назад сообщение, состоящее из временного штампа и аутентификатора клиента вместе со значением временной марки. Это сообщение зашифровано. Если сервер поддельный, он не знает действительного ключа шифрования сервера. Таким образом, вторгнуться в систему можно только тогда, когда взломщик может узнать имя и пароль клиента. /7/
4.5. Шифрование трафика сети
Для преобразования (шифрования) информации обычно используется некоторый алгоритм или устройство, реализующее заданный алгоритм, которые могут быть известны широкому кругу лиц. Управление процессом шифрования осуществляется с помощью периодически меняющегося кода ключа, обеспечивающего каждый раз оригинальное представление информации при использовании одного и того же алгоритма или устройства. Знание ключа позволяет просто и надежно расшифровать текст. Однако, без знания ключа эта процедура может быть практически невыполнима даже при известном алгоритме шифрования. Даже простое преобразование информации является весьма эффективным средством, дающим возможность скрыть ее смысл от большинства неквалифицированных нарушителей. Структурная схема шифрования информации представлена на рис. 4.2.

Для построения средств защиты от НСД необходимо иметь представление о методах криптографии. Их классификация приведена на рис. 4.3.
Сам процесс криптографического закрытия данных может осуществляться как программно, так и аппаратно, однако аппаратная реализация обладает рядом преимуществ, главным из которых является высокая производительность.
Сформулирована следующая система требований к алгоритму шифрования:
зашифрованный текст должен поддаваться чтению только при наличии ключа шифрования,
число операций для определения использованного ключа шифрования по фрагменту шифрованного текста и соответствующему ему открытого текста, должно быть не меньше общего числа возможных ключей,
знание алгоритма шифрования не должно влиять на надежность защиты,
незначительные изменения ключа шифрования должны приводить к существенному изменению вида зашифрованного текста,
незначительные изменения шифруемого текста должны приводить к существенному изменению вида зашифрованного текста даже при использовании одного и того же ключа,
длина шифрованного текста должна быть равна длине исходного текста,
любой ключ из множества возможных должен обеспечивать надежную защиту информации,
алгоритм должен допускать как программную, так и аппаратную реализацию. /6/
Современные широко применяемые методы шифрования можно разделить на два наиболее общих типа: с секретным ключом и с открытым ключом. Шифрование с секретным ключом симметрично – ключ, с помощью которого текст шифруется, применяется и для его дешифровки. Шифрование с открытыми ключами осуществляется с помощью двух ключей, поэтому оно относится к асимметричным системам шифрования. Открытый ключ не является секретным; более того, его доступность для всех и каждого, например за счет публикации в каталоге или включения в незащищенное сообщение электронной почты, имеет принципиальное значение для функционирования всей системы. Другой ключ, личный, служит для шифрования текстов, дешифруемых с помощью открытого ключа. /8/

Криптографические системы с открытым ключом используют необратимые или односторонние функции, для которых при заданном значении Х относительно просто вычислить значение f(x), однако если y=f(x), то нет простого пути для вычисления значения Х. Другими словами, чрезвычайно трудно рассчитать значение обратной функции. /6/ На практике криптографические системы с секретными ключами, как правило, быстрее систем с открытыми ключами, обеспечивающими ту же степень защиты.

В системе шифрования трафика сети комплекса Secret Net используется метод шифрования с секретным ключом. В ее основу положен алгоритм, основанный на известном стандарте DES, и соответствующий ГОСТ 28147-89.
Суть алгоритма заключается в линейном преобразовании: S = L * t, где L – невырожденная матрица случайного линейного преобразования бит. И хотя расшифровывание в этом случае придется осуществлять решением систем линейных уравнений, но каждый бит шифровки начинает уже зависеть от каждого бита текста. Шифры на основе этого преобразования называют скремблерами (взбивателями). Для того, чтобы матрица L была невырожденной, случайной и при расшифровывании не нужно было производить много вычислений, американскими криптографами был предложен оригинальный алгоритм. Входной блок данных делится на левую L’ и правую R’ части. После этого формируется выходной массив так, что его левая часть L” представлена правой частью R’ входного, а правая часть R” формируется как сумма L’ и R’ операцией XOR. Далее, выходной массив шифруется перестановкой с заменой. После нескольких таких взбиваний каждый бит выходного блока может зависеть от каждого бита сообщения (рис. 4.4.). /9/
5. Безопасность и экологичность проекта
5.1. Охрана труда на рабочем месте программиста.
Охрана труда - система законодательных актов, социально-экономических, организационных, технических, гигиенических и лечебно-профилактических мероприятий и средств, обеспечивающих безопасность, сохранение здоровья и работоспособности человека в процессе труда. Научно-технический прогресс внес серьезные изменения в условия производственной деятельности работников умственного труда. Их труд стал более интенсивным, напряженным, требующим значительных затрат умственной, эмоциональной и физической энергии. Это потребовало комплексного решения проблем эргономики, гигиены и организации труда, регламентации режимов труда и отдыха.
Охрана здоровья трудящихся, обеспечение безопасности условий труда, ликвидация профессиональных заболеваний и производственного травматизма составляет одну из главных забот человеческого общества. Обращается внимание на необходимость широкого применения прогрессивных форм научной организации труда, сведения к минимуму ручного, малоквалифицированного труда, создания обстановки, исключающей профессиональные заболевания и производственный травматизм.
Данный раздел дипломного проекта посвящен рассмотрению следующих вопросов:
организация рабочего места программиста;
определение оптимальных условий труда программиста.
5.1.1. Описание рабочего места программиста
Рабочее место - это часть пространства, в котором инженер осуществляет трудовую деятельность, и проводит большую часть рабочего времени. Рабочее место, хорошо приспособленное к трудовой деятельности инженера, правильно и целесообразно организованное, в отношении пространства, формы, размера обеспечивает ему удобное положение при работе и высокую производительность труда при наименьшем физическом и психическом напряжении.
При правильной организации рабочего места производительность труда инженера возрастает с 8 до 20 процентов.
Согласно ГОСТ 12.2.032-78 конструкция рабочего места и взаимное расположение всех его элементов должно соответствовать антропометрическим, физическим и психологическим требованиям. Большое значение имеет также характер работы. В частности, при организации рабочего места программиста должны быть соблюдены следующие основные условия:
оптимальное размещение оборудования, входящего в состав рабочего места;
достаточное рабочее пространство, позволяющее осуществлять все необходимые движения и перемещения;
необходимо естественное и искусственное освещение для выполнения поставленных задач;
уровень акустического шума не должен превышать допустимого значения.
Главными элементами рабочего места программиста являются письменный стол и кресло. Основным рабочим положением является положение сидя. Рабочее место для выполнения работ в положении сидя организуется в соответствии с ГОСТ 12.2.032-78.
Рабочая поза сидя вызывает минимальное утомление программиста. Рациональная планировка рабочего места предусматривает четкий порядок и постоянство размещения предметов, средств труда и документации. То, что требуется для выполнения работ чаще, расположено в зоне легкой досягаемости рабочего пространства.
Моторное поле - пространство рабочего места, в котором могут осуществляться двигательные действия человека.
Максимальная зона досягаемости рук - это часть моторного поля рабочего места, ограниченного дугами, описываемыми максимально вытянутыми руками при движении их в плечевом суставе.
Оптимальная зона - часть моторного поля рабочего места, ограниченного дугами, описываемыми предплечьями при движении в локтевых суставах с опорой в точке локтя и с относительно неподвижным плечом.

Зоны досягаемости рук в горизонтальной плоскости.
а - зона максимальной досягаемости;
б - зона досягаемости пальцев при вытянутой руке;
в - зона легкой досягаемости ладони;
г - оптимальное пространство для грубой ручной работы;
д - оптимальное пространство для тонкой ручной работы.
Рассмотрим оптимальное размещение предметов труда и документации в зонах досягаемости рук:
ДИСПЛЕЙ размещается в зоне а (в центре);
КЛАВИАТУРА - в зоне г/д;
СИСТЕМНЫЙ БЛОК размещается в зоне б (слева);
ПРИНТЕР находится в зоне а (справа);
ДОКУМЕНТАЦИЯ
в зоне легкой досягаемости ладони - в (слева) - литература и документация, необходимая при работе;
в выдвижных ящиках стола - литература, неиспользуемая постоянно.
При проектировании письменного стола следует учитывать следующее:
высота стола должна быть выбрана с учетом возможности сидеть свободно, в удобной позе, при необходимости опираясь на подлокотники;
нижняя часть стола должна быть сконструирована так, чтобы программист мог удобно сидеть, не был вынужден поджимать ноги;
поверхность стола должна обладать свойствами, исключающими появление бликов в поле зрения программиста;
конструкция стола должна предусматривать наличие выдвижных ящиков (не менее 3 для хранения документации, листингов, канцелярских принадлежностей, личных вещей).
Параметры рабочего места выбираются в соответствии с антропометрическими характеристиками. При использовании этих данных в расчетах следует исходить из максимальных антропометрических характеристик (М+2).
При работе в положении сидя рекомендуются следующие параметры рабочего пространства:
ширина не менее 700 мм;
глубина не менее 400 мм;
высота рабочей поверхности стола над полом 700-750 мм.
Оптимальными размерами стола являются:
высота 710 мм;
длина стола 1300 мм;
ширина стола 650 мм.
Поверхность для письма должна иметь не менее 40 мм в глубину и не менее 600 мм в ширину.
Под рабочей поверхностью должно быть предусмотрено пространство для ног:
высота не менее 600 мм;
ширина не менее 500 мм;
глубина не менее 400 мм.
Важным элементом рабочего места программиста является кресло. Оно выполняется в соответствии с ГОСТ 21.889-76. При проектировании кресла исходят из того, что при любом рабочем положении программиста его поза должна быть физиологически правильно обоснованной, т.е. положение частей тела должно быть оптимальным. Для удовлетворения требований физиологии, вытекающих из анализа положения тела человека в положении сидя, конструкция рабочего сидения должна удовлетворять следующим основным требованиям:
допускать возможность изменения положения тела, т.е. обеспечивать свободное перемещение корпуса и конечностей тела друг относительно друга;
допускать регулирование высоты в зависимости от роста работающего человека ( в пределах от 400 до 550 мм );
иметь слегка вогнутую поверхность,
иметь небольшой наклон назад.
Исходя из вышесказанного, приведем параметры стола программиста:
высота стола 710 мм;
длина стола 1300 мм;
ширина стола 650 мм;
глубина стола 400 мм.
Поверхность для письма:
в глубину 40 мм;
в ширину 600 мм.
Важным моментом является также рациональное размещение на рабочем месте документации, канцелярских принадлежностей, что должно обеспечить работающему удобную рабочую позу, наиболее экономичные движения и минимальные траектории перемещения работающего и предмета труда на данном рабочем месте.
Создание благоприятных условий труда и правильное эстетическое оформление рабочих мест на производстве имеет большое значение как для облегчения труда, так и для повышения его привлекательности, положительно влияющей на производительность труда. Окраска помещений и мебели должна способствовать созданию благоприятных условий для зрительного восприятия, хорошего настроения. В служебных помещениях, в которых выполняется однообразная умственная работа, требующая значительного нервного напряжения и большого сосредоточения, окраска должна быть спокойных тонов - малонасыщенные оттенки холодного зеленого или голубого цветов
При разработке оптимальных условий труда программиста необходимо учитывать освещенность, шум и микроклимат.
5.1.2. Расчет информационной нагрузки программиста
Программист, в зависимости от подготовки и опыта, решает задачи разной сложности, но в общем случае работа программиста строится по следующему алгоритму:
Таблица 2
|
Этап |
Содержание |
Затрата времени, % |
|
I II |
Постановка задачи Изучение материала по поставленной задаче |
6.25 |
|
III |
Определение метода решения задачи |
6.25 |
|
IV |
Составление алгоритма решения задачи |
12.5 |
|
V |
Программирование |
25 |
|
VI |
Отладка программы, составление отчета |
50 |
Данный алгоритм отражает общие действия программиста при решении поставленной задачи независимо от ее сложности.
Таблица 3
|
Этап |
Член алгоритма |
Содержание работы |
Буквенное обозначение |
|
I |
1 |
Получение первого варианта технического задания |
A>1> |
|
2 |
Составление и уточнение технического задания |
B>1> |
|
|
3 |
Получение окончательного варианта технического задания |
C>1>j>1 ↑>2 |
|
|
4 |
Составление перечня материалов, существующих по тематике задачи |
H>1>j>2> |
|
|
5 |
Изучение материалов по тематике задачи |
A>2> |
|
|
6 |
Выбор метода решения |
C>2>J>3> |
|
|
7 |
Уточнение и согласование выбранного метода |
B>2> ↑ 6 |
|
|
8 |
Окончательный выбор метода решения |
C>3>j>4> |
|
|
9 |
Анализ входной и выходной информации, обрабатываемой задачей |
H>2> |
|
|
10 |
Выбор языка программирования |
C>4>j>5> |
|
|
11 |
Определение структуры программы |
H>3>C>5>q>1> |
|
|
12 |
Составление блок-схемы программы |
C>6>q>2> |
|
|
13 |
Составление текстов программы |
C>7>w>1> |
|
|
14 |
Логический анализ программы и корректирование ее |
F>1>H>4>w>2> |
|
|
15 |
Компиляция программы |
F>2> ↓ >18> |
|
|
16 |
Исправление ошибок |
D>1>w>3> |
|
|
17 |
Редактирование программы в единый загрузочный модуль |
F>2>H>5>B>3>w>4> |
|
|
18 |
Выполнение программы |
F>3> |
|
|
19 |
Анализ результатов выполнения |
H>6>w>5> ↑ 15 |
|
|
20 |
Nестирование |
C>8>w>6> ↑ 15 |
|
|
21 |
Подготовка отчета о работе |
F>4> |
Подсчитаем количество членов алгоритма и их частоту (вероятность) относительно общего числа, принятого за единицу. Вероятность повторения i-ой ситуации определяется по формуле:
p>i> = k/n,
где k – количество повторений каждого элемента одного типа.
n – суммарное количество повторений от источника информации, одного типа.
Результаты расчета сведем в таблицу 4:
Таблица 4.
|
Источник информации |
Члены алгоритма |
Символ |
Количество членов |
Частота повторений p>i> |
|
1 |
Афферентные – всего (n), в том числе (к): |
6 |
1,00 |
|
|
Изучение технической документации и литературы |
A |
2 |
0,33 |
|
|
Наблюдение полученных результатов |
F |
4 |
0, 67 |
|
|
2 |
Эфферентные – всего, В том числе: |
18 |
1,00 |
|
|
Уточнение и согласование полученных материалов |
B |
3 |
0,17 |
|
|
Выбор наилучшего варианта из нескольких |
C |
8 |
0,44 |
|
|
Исправление ошибок |
D |
1 |
0,06 |
|
|
Анализ полученных результатов |
H |
6 |
0,33 |
|
|
Выполнение механических действий |
K |
0 |
0 |
|
|
3 |
Логические условия – всего в том числе |
13 |
1,00 |
|
|
Принятие решений на основе изучения технической литературы |
j |
5 |
0,39 |
|
|
Графического материала |
q |
2 |
0,15 |
|
|
Полученного текста программы |
w |
6 |
0,46 |
|
|
Всего: |
37 |
Количественные характеристики алгоритма (Табл.4) позволяют рассчитать информационную нагрузку программиста. Энтропия информации элементов каждого источника информации рассчитывается по формуле, бит/сигн:
,
где m – число однотипных членов алгоритма рассматриваемого источника информации.
H>1> = 2 * 2 + 2 * 4 = 10
H>2> = 3 * 1,585 + 8 * 3 + 0 + 6 * 2,585 = 44, 265
H>3> = 5 * 2,323 + 2 * 1 + 6 + 2,585 = 29,125
Затем определяется общая энтропия информации, бит/сигн:
H>Σ> = H>1> + H>2> + H>3>,
где H>1>, H>2>, H>3> – энтропия афферентных, эфферентных элементов и логических условий соответственно.
H>Σ> = 10 + 44,265 + 29,125 = 83,39
Далее определяется поток информационной нагрузки бит/мин,
,
где N – суммарное число всех членов алгоритма;
t – длительность выполнения всей работы, мин.
От каждого источника в информации (члена алгоритма) в среднем поступает 3 информационных сигнала в час, время работы - 225 часов,
Ф =
= 2,6 бит/с
Рассчитанная информационная нагрузка сравнивается с допустимой. При необходимости принимается решение об изменениях в трудовом процессе.
Условия нормальной работы выполняются при соблюдении соотношения:


где Ф>доп.мин.> и Ф>доп.макс.> – минимальный и максимальный допустимые уровни информационных нагрузок (0,8 и 3,2 бит/с соответственно);
Ф>расч.> – расчетная информационная нагрузка
0,8 < 2,6 <3,2
5.1.3. Расчет вентиляции
Системы отопления и системы кондиционирования следует устанавливать так, чтобы ни теплый, ни холодный воздух не направлялся на людей. На производстве рекомендуется создавать динамический климат с определенными перепадами показателей. Температура воздуха у поверхности пола и на уровне головы не должна отличаться более, чем на 5 градусов. В производственных помещениях помимо естественной вентиляции предусматривают приточно-вытяжную вентиляцию. Основным параметром, определяющим характеристики вентиляционной системы, является кратность обмена, т.е. сколько раз в час сменится воздух в помещении.
Расчет для помещения
V>вент> - объем воздуха, необходимый для обмена;
V>пом> - объем рабочего помещения.
Для расчета примем следующие размеры рабочего помещения:
длина В = 7.35 м;
ширина А = 4.9 м;
высота Н = 4.2 м.
Соответственно объем помещения равен:
V >помещения >= А В H =151,263 м3
Необходимый для обмена объем воздуха V>вент> определим исходя из уравнения теплового баланса:
V>вент> С( t>уход> - t>приход> ) Y = 3600 Q>избыт>
Q>избыт> - избыточная теплота (Вт);
С = 1000 - удельная теплопроводность воздуха (Дж/кгК);
Y = 1.2 - плотность воздуха (мг/см).
Температура уходящего воздуха определяется по формуле:
t>уход> = t>р.м.> + ( Н - 2 )t ,
где: t = 1-5 градусов - превышение t на 1м высоты помещения;
t>р.м.> = 25 градусов - температура на рабочем месте;
Н = 4.2 м - высота помещения;
t>приход> = 18 градусов.
t>уход> = 25 + ( 4.2 - 2 ) 2 = 29.4
Q>избыт >= Q>изб.1 >+ Q>изб.2 >+ Q>изб.3> ,
где: Q>изб. >- избыток тепла от электрооборудования и освещения.
Q>изб.1 >= Е р ,
где: Е - коэффициент потерь электроэнергии на топлоотвод ( Е=0.55 для освещения);
р - мощность, р = 40 Вт 15 = 600 Вт.
Q>изб.1 >= 0.55 * 600=330 Вт
Q>изб.2 >- теплопоступление от солнечной радиации,
Q>изб>>.2 >=m S k Q>c> ,
где: m - число окон, примем m = 4;
S - площадь окна, S = 2.3 * 2 = 4.6 м2;
k - коэффициент, учитывающий остекление. Для двойного остекления
k = 0.6;
Q>c> = 127 Вт/м - теплопоступление от окон.
Q>изб.2 >= 4.6 * 4 * 0.6 * 127 = 1402 Вт
Q>изб.3> - тепловыделения людей
Q>изб.3> = n q ,
где: q = 80 Вт/чел. , n - число людей, например, n = 15
Q>изб.3> = 15 * 80 = 1200 Вт
Q>избыт >= 330 +1402 + 1200 = 2932 Вт
Из уравнения теплового баланса следует:
V>вент>>
>м3
Оптимальным вариантом является кондиционирование воздуха, т.е. автоматическое поддержание его состояния в помещении в соответствии с определенными требованиями (заданная температура, влажность, подвижность воздуха) независимо от изменения состояния наружного воздуха и условий в самом помещении.
Выбор вентилятора
Вентиляционная система состоит из следующих элементов:
1. Приточной камеры, в состав которой входят вентилятор с электродвигателем, калорифер для подогрева воздуха в холодное время года и жалюзная решетка для регулирования объема поступающего воздуха;
2. Круглого стального воздуховода длиной 1.5 м;
3. Воздухораспределителя для подачи воздуха в помещение.
Потери давления в вентиляционной системе определяются по формуле:
,
где: Н - потери давления, Па;
R - удельные потери давления на трение в воздуховоде, Па/м;
l - длина воздуховода, м;
V - скорость воздуха, ( V = 3 м/с );
р - плотность воздуха, (р = 1.2 кг/м ).
Необходимый диаметр воздуховода для данной вентиляционной системы:
Принимаем в качестве диаметра ближайшую большую стандартную величину -0.45 м, при которой удельные потери давления на трение в воздуховоде - R=0.24 Па/м. Местные потери возникают в железной решетке (=1.2), воздухораспределителе (=1.4) и калорифере (=2.2). Отсюда, суммарный коэффициент местных потерь в системе:
= 1.2 +1.4 + 2.2 = 4.8
Тогда
С учетом 10 %-го запаса:
Н = 110% * 26.28 = 28.01 Па
V>вент> = 110% *1442 = 1586.2 м/ч
По каталогу выбираем вентилятор осевой серии МЦ4: расход воздуха - 1600, давление - 40 Па, КПД - 65% , скорость вращения - 960 об/мин, диаметр колеса - 400 мм, мощность электродвигателя - 0.032 кВт.
В этой части дипломной работы были изложены требования к рабочему месту программиста (пользователя). Созданные условия должны обеспечивать комфортную работу. На основании изученной литературы по данной проблеме, были указаны оптимальные размеры рабочего стола и кресла, рабочей поверхности, расчет вентиляции, а также расчет информационной нагрузки. Соблюдение условий, определяющих оптимальную организацию рабочего места программиста, позволит сохранить хорошую работоспособность в течение всего рабочего дня, повысит, как в количественном, так и в качественном отношениях производительность труда программиста, что в свою очередь будет способствовать быстрейшей разработке и последующему внедрению новой технологии производства.
5.1.4. Охpана окружающей среды.
В современном обществе резко возрастает роль промышленной экологии, призванной на основе оценки степени вреда, приносимого природе индустриализацией разрабатывать и совершенствовать инженерно - технические средства защиты окружающей среды. По мере развития промышленности, энергетики, средств транспорта антропогенное загрязнение окружающей среды возрастает. Рациональное решение экологических проблем возможно при оптимальном взаимодействии природы и общества, обеспечивающем дальнейшее развитие общества и сохранение восстановительных сил в природе.
Состояние окружающей среды требует от создателей новых технологий и машин пристального внимания к вопросам экологии. Любое техническое решение должно приниматься не только с учетом технологических и экономических требований, но и экологических аспектов. Разрабатываемая система устанавливается в помещении складского терминала, все элементы системы стандартизированы и сертифицированы Госстандартом России на допустимость побочных излучений. На рабочем месте оператора рекомендуется установить защитные экраны на мониторы. Вредных воздействий на окружающую среду система не оказывает.
5.2. Безопасность жизнедеятельности в чрезвычайных ситуациях
Обеспечение безопасности человека – одна из главных задач общества. Для этого создается система безопасности человека в чрезвычайных ситуациях (ЧС). В мирное время чрезвычайные ситуации могут возникать в результате производственных и транспортных аварий, катастроф, стихийных бедствий (землетрясений, ураганов, затоплений, эпидемий, лесных пожаров), диверсий или факторов военно-политического характера.
За последнее десятилетие число аварий и катастроф в промышленности возросло. Причины: сложность современной промышленной технологии, недостаточная квалификация и бдительность персонала, попустительство контролирующих органов, низкое качество проектных решений и слабая технологическая и трудовая дисциплина.
Статистика показывает, что более 80% аварий (катастроф) на производстве носит антропогенный характер, 64% аварий происходит за счет нарушения правил эксплуатации техники и 16% - за счет некачественного строительства. Наиболее крупные аварии последних лет: 1986 г. – взрыв цистерн с метилизоцианатом в г. Бхопал (Индия), в результате погибло 3150 чел. и более 200 тыс. человек отравлено; 1989 г. – разрушение изотермического резервуара с аммиаком на заводе г. Иокава (Литва) привело к гибели 8 чел., отравлено более 60 чел., заражение площади в 400 км2, эвакуировано около 40 тыс. чел. Катастрофической была авария на башкирском продуктопроводе в мае 1989 г. – взрыв газоконденсатного облака по мощности равный взрыву 300 т. тротила привел к гибели 780 человек. Подобная авария (взрыв 120 т. гексогена ) в Арзамасе привела к гибели 91 человека, ущерб составил 76 млн. рублей. Загрязнение реки Шугуровка (г. Уфа) фенолом в марте 1990 г. превысило ПДК в 4000 раз, ущерб составил 162 млн. рублей.
Радиационные аварии потенциально еще более опасны. Авария в 1979 г. на АЭС «Три-Майл-Айленд» (США) привела к радиоактивному заражению территории в 1000 км2, активность выброса составила 1.5 млн. Ки. ущерб исчислялся более чем 1 млрд. долл.
В результате Чернобыльской катастрофы (1986 г.) погибло более 100 человек, острой формой лучевой болезни заболело 380 человек, радиоактивному заражению подверглось одиннадцать областей России, Украины и Беларуси с населением 17 млн. человек, активность выброса составила 50 млн. Ки, ущерб исчисляется в 15 млрд. рублей. С 1971 по 1991 г. в мире произошло более 150 аварий на АЭС. За последние 20 лет в результате возникновения чрезвычайных ситуаций погибло 3 млн. человек, пострадало 800 млн. чел.
В СНГ в зонах химически опасных объектов проживает около 60 млн. человек, в радиационно-опасных зонах – 120 млн. человек. Таким образом, при авариях (катастрофах) на радиационно, пожаро-, взрыво- и химически опасных объектах происходят радиоактивное, химическое заражение окружающей среды, разрушения и пожары, характеризующиеся:
длительностью, масштабностью заражения (площадь радиоактивного заражения от ЧАЭС составляет 1.5 млн. га, радиус разрушений при взрыве под Уфой – 15 км);
серьезным морально-психологическим воздействием на человека вследствие необычности поражающего действия (внешняя картина, высокие температуры, отравление атмосферы, нечувствительность людей к поражающим факторам на начальных этапах развития аварии), вызывающего оцепенение, потерю воли, фобии и т.д.;
трудоемкостью, малоэффективностью и большой стоимостью защиты (эффективность дезактивационных работ составляет 5% от вложенных средств, ликвидация последствий продолжается месяцами, годами);
массовыми жертвами и большими материальными потерями (ежегодно в СНГ происходит около 19 млн. несчастных случаев; 700 тыс. человек травмируются на производстве, в том числе 14 тыс. погибает, инвалидами производства становятся 30 тыс. человек. Материальный ущерб от пожаров только в 1990 г. составил 1 млрд. руб.).
Опыт показывает, что при ликвидации последствий ЧС на объектах народного хозяйства оценка обстановки в ряде случаев производилась с запозданием и неточно, прогнозирование игнорировалось, руководители, рабочий персонал объекта и население района аварии не были подготовлены по вопросам пожарной, химической, радиационной безопасности.
5.2.1. Оценка пожарной обстановки в населенных пунктах
Пожарная обстановка в населенных пунктах определяется, исходя из характера застройки, огнестойкости зданий и категории пожарной опасности объектов. Исходные данные для оценки обстановки:
R – расстояние между зданиями, м;
L – длина фронта пожара, м;
– влажность воздуха, %;
тип защитных сооружений (встроенные, отдельно стоящие, негерметичные).
V>в> – скорость ветра, м/с.
Устанавливаем степень огнестойкости зданий и сооружений объекта, исходя из типа материала и времени развития пожара (t>разв>)
I ст. огнестойкости (t>разв >до 2 часов) – основные сооружения из негорючих материалов повышенной сопротивляемости
II ст. огнестойкости (t>разв > 2 часа) – основные элементы сооружений – негорючие материалы
III ст. огнестойкости (t>разв> ≤ 1,5 часа) – сооружения каменные с деревянными оштукатуренными переборками
IV ст. огнестойкости (t>разв> ≤ 1 час) – оштукатуренные деревянные здания
V ст. огнестойкости (t>разв> ≤ 1 час) – деревянные здания и сооружения
Кроме того, следует учитывать, что в зданиях I – II ст. огнестойкости пожар возникает от повреждения газовых и электрических сетей при взрывах от ∆P>ф >= 30÷50 кПа, в IV – V – от ∆P>ф >≈ 20 кПа.
Устанавливаем категорию пожарной опасности (ПО) объекта исходя из характера технологического процесса и типа промышленного производства. Категории объектов по ПО:
А – нефтеперерабатывающие заводы, химические производства, склады бензина, растворителей, красок.
Б – производства приготовления и транспортировки угольный пыли, древесной муки, цеха СТК, воздушные коммуникации.
В – деревообрабатывающие производства, склады леса, масел, текстильные производства, стапеля с деревянными лесами.
Г – металлургические производства, котельные, литейные, транспортные цеха.
Д – предприятия по холодной обработке металлов, трубомедницкие, корпусные, механосборочные цеха.
На объектах категории А и Б пожары возникают при разрушении систем жизнеобеспечения от ∆P>ф >= 10÷30 кПа.
Определяем плотность застройки объекта, населенного пункта по формуле:

где
- площадь зданий, км2
- площадь района, км2
Определяем вероятность возникновения и распространения пожара (график, рис 5.2.)

P = f (R, П)
Можно определить вероятность распространения пожара в зависимости от R – расстояния между зданиями (табл. 5.4.).
Таблица 5.4.
-
R, м
10
20
30
50
P, %
65
27
23
3
Определяем скорость распространения пожара.
Для средних топографических и климатических условий определение производится по графику (рис. 5.2.) Скорость распространения пожара в населенных пунктах с деревянной застройкой составляет при υ>в> = 3 - 4 м/с,
V>п > = 150 - 300 м/ч, время развития пожара 0.5 часа. В населенных пунктах с каменными зданиями (при этой же скорости ветра) V>п > = 60 - 120 м/ч
При высокой и средней скорости распространения пожара требуется срочная эвакуация населения, рис 5.3.
Определение проходимости улиц для эвакуации и тушения пожара (П>р>) табл. 5.5.
П>р> = f (Cт.0, t>гор>)
Таблица 5.5.
|
Степень огнестойкости, Ст.0 |
Общая продолжительность пожара |
Время наступления максимальной скорости горения, ч |
Безопасные расстояния от горящих зданий, м |
|
|
Зона слабых разрушений |
Зона сильных разрушений |
|||
|
I, II |
2 – 3 |
1 – 2 |
0.1-0.5 |
50-20 |
|
III |
5 – 6 |
7 – 8 |
0.2-1.2 |
50-20 |
|
IV, V |
2 – 3 |
8 – 10 |
0.3-1.5 |
50-20 |
Определение характера воздействия пожара на людей, находящихся в защитных сооружениях. Люди в зоне пожара подвергаются воздействию высокой температуры (ВТ) и вредных примесей газовой среды (дым, окись углерода), в результате чего получают легкое, среднее или тяжелое отравление (ЛО,СО,ТО). Характер воздействия газовой среды на человека отражен в табл. 5.6.

Таблица 5.6.
|
Вид пожара |
Тип убежища |
Характер воздействия за время, ч |
||||
|
0.25 |
0.5 |
1.0 |
3.0 |
6.0 |
||
|
Сплошной пожар на ОНХ, в населенном пункте |
с нарушением герметизации |
— |
— |
ЛО, ВТ |
СО, ВТ |
ТО, ВТ |
|
Встроенные |
— |
— |
— |
ЛО, ВТ |
СО, ВТ |
|
|
Отдельно стоящие |
— |
— |
— |
ЛО |
СО |
Потребность в силах и средствах пожаротушения рассчитывается по формуле:
N>отд>
=

где N>отд >– число отделений пожаротушения,
L>фр >– длина фронта на одно отделение.
Структурно-логическая схема прогнозирования и оценки обстановки при пожарах показана на рис. 5.4.
5.2.2. Комплексная задача по прогнозированию и оценке пожарной обстановки
При сильном урагане возник мощный очаг пожара в населенном пункте, прилегающем к железнодорожной станции. Состав зданий: населенный пункт, станция (кирпично-деревянные). Расстояние между зданиями 10 – 15 м, S>застр.> = 30 км2, S>района> = 100 км2. Метеоусловия V>в> = 7-8 м/с, φ = 60 %. Защитные сооружения встроенные, негерметичные. Оценить пожарную обстановку.
Решение
Определяем степень огнестойкости зданий (Ст.0) и категорию пожароопасности (КПО).
Стапели, поселок, станция (деревянные) – V Ст.0, КПО «В»
Кирпичные дома – III Ст.0, КПО «Г»
При ∆P>ф >= 30 кПа в поселке возможен пожар от разрушения коммуникаций
Определяем плотность застройки поселка

Определяем вероятность распространения пожара
Р = f(П) 65 % (рис. 5.2.)
Определяем скорость распространения пожара в населенном пункте при средних условиях (рис. 5.3.).
Скорость распространения небольшая ( 120 м/ч)
Определяем проходимость улиц (таблица 5.5.).
При Ст.0 III-V t>разв. пож.> = 1,2 часа, R>без проезда> = 20-50 м.

Определяем воздействие на людей (таблица 5.6.).
Люди в ЗСГО – герметичные встроенные (за 3 часа возможно ЛО и ВТ – легкое отравление и температурное воздействие);
- негерметичные (за 3 часа) СО и ВТ.
Выводы из оценки обстановки:
Пожары в населенном пункте вызовут временную потерю трудоспособности людей.
Скорость распространения пожара небольшая.
Для предотвращения пожара необходима его локализация в течении 1 часа.
6. Патентный поиск
6.1. Правовая охрана программ для ЭВМ и баз данных
Авторское право
Авторское право на программу для ЭВМ или базу данных возникает в силу их создания. Для признания и осуществления авторского права на программу для ЭВМ или базу данных не требуется депонирования, регистрации или соблюдения иных формальностей. Правообладатель для оповещения о своих правах может, начиная с первого выпуска в свет программы для ЭВМ или базы данных, использовать знак охраны авторского права, состоящий из трех элементов:
символ “”;
наименование (имени) правообладателя;
года первого выпуска программы для ЭВМ или базы данных в свет.
Автором программы для ЭВМ или базы данных признается физическое лицо, в результате творческой деятельности которого они созданы. Если программы для ЭВМ или базы данных созданы совместной творческой деятельностью двух и более физических лиц, то независимо от того, состоит ли программа для ЭВМ или база данных из частей, каждая из которых имеет самостоятельное значение, или является неделимой, каждое из этих лиц признается автором такой программы для ЭВМ или базы данных. В случае если часть программы для ЭВМ или базы данных имеют самостоятельное значение, каждый из авторов имеет право авторства на созданную им часть.
Регистрация программных средств
Правообладатель всех имущественных прав на программу для ЭВМ или базу данных непосредственно через своего представителя в течение срока действия авторского права может по своему желанию зарегистрировать программу для ЭВМ или базу данных путем подачи заявления в Российское агентство по правовой охране программ для ЭВМ, баз данных и топологий интегральных схем (далее - Роспатент). Заявка на официальную регистрацию программы для ЭВМ или базы данных (далее - заявка на регистрацию) должна относится к одной программе для ЭВМ или одной базе данных.
Заявка на регистрацию должна содержать:
заявление на официальную регистрацию программы для ЭВМ или базы данных с указанием правообладателя, а также автора, если он не отказался быть упомянутым в качестве такового, и их местонахождение (местожительства);
депонируемые материалы, идентифицирующие программу для ЭВМ или базу данных, включая реферат;
документ, подтверждающий уплату регистрационного сбора в установленном размере или основания для освобождения от уплаты регистрационного сбора, а также для уменьшения его размера.
Правила оформления заявки на регистрацию определяет Роспатент. После поступления заявки на регистрацию в Роспатенте проверяется наличие необходимых документов и их соответствие требованиям, изложенным выше. При положительном результате проверки Роспатент вносит программу для ЭВМ или базу данных в Реестр программ для ЭВМ или Реестр баз данных, выдает заявителю свидетельство об официальной регистрации и публикует сведения о зарегистрированных программах для ЭВМ и базах данных в официальном бюллетене Роспатента.
По запросу Роспатента или по собственной инициативе заявитель вправе по публикации сведений в официальном бюллетене дополнять, уточнять и исправлять материалы заявки. Сведения, внесенные в Реестр программ для ЭВМ или Реестр баз данных, считаются достоверными до тех пор, пока не будет доказано обратное.
Порядок регистрации программных средств в автоматизированной информационной базе ОФАП МПС
1.Обязательной регистрации в автоматизированной информационной базе ОФАП МПС подлежат программные средства для всех типов ЭВМ, разработанные предприятиями (организациями) и предназначенные для тиражирования в отрасли.
2. Регистрируются и ставятся на учет ПО АС и его компоненты имеющие статус продукции производственно-технического назначения и научно-технической продукции отраслевого и межотраслевого применения после приемки в постоянную эксплуатацию на головном объекте.
3 Управление вычислительной техники МПС PФ осуществляет контроль за соблюдением данного порядка подведомственными предприятиями и организациями.
4. Регистрацию программных средств в автоматизированной информационной базе ОФАПМПС и выдачу регистрационного номера осуществляет служба регистрации Отраслевого фонда алгоритмов и программ.
5. Состав материалов, представляемых для регистрации и учета АС в ОФАПМПС:
по 1-й категории 1) Заявление на регистрацию ПС, подписанное
руководителем организации;
2) Заполненная анкета.
по 2-й категории 1) Заявление на регистрацию ПС, подписанное
руководителем организации;
2) Комплект эксплуатационной документации сопровождения согласно требованиям ТЗ на разработку, выполненной в соответствии ГОСТ ЕСПД и "Информационная технология".
3) Заполненная анкета.
по 3-й категории 1) Заявление на регистрацию ПС, подписанное
руководителем организации;
2) Комплект эксплуатационной документации.
3) Заполненная анкета.
4) Акт о приемке в опытную (промышленную) эксплуатацию, или акт о внедрении на одном из объектов.
по 4-й категории 1) Заявление на регистрацию ПС, подписанное
руководителем организации;
2) Заполненная анкета;
3) Копия сертификата качества.
6. После регистрации ПС в информационной базе документация и магнитные носители с программным обеспечением возвращаются организации разработчику.
7. Ответственность за полноту, достоверность и правильность оформления информации в анкете несут разработчики.
8. Регистрация в информационной базе ОФАП не означает процедуры фондирования, а также передачи программного обеспечения для тиражирования.
Порядок регистрации программных средств в Российском агентстве по правовой охране программ для ЭВМ и баз данных и топологий интегральных схем (РосАПО)
1. Регистрация программ, разрабатываемых организациями и предприятиями МПС РФ (независимо от форм собственности) осуществляется в Роспатенте.
2. В первом случае регистрация осуществляется путем подачи заявки на специальном бланке (непосредственно в Роспатенте).
3. Для регистрации в Роспатенте предоставляются:
заявление на официальную регистрацию;
депонируемые материалы идентифицирующие программы для ЭВМ или БД, включая реферат;
документ, подтверждающий уплату регистрационного сбора в уставном размере.
4. При подаче заявки на регистрацию должна быть предоставлена доверенность, подтверждающая полномочия представителя.
5. Документ “Правила составления, подачи и рассмотрения заявок на официальную регистрацию программ для ЭВМ и баз данных” включены в информационные материалы ОФАП и поставляются по заявкам. Согласно положению о регистрационных сборах за официальную регистрацию программ для ЭВМ, баз данных и топологий интегральных схем взимаются регистрационные сборы в следующем порядке:
а) за подачу заявки на официальную регистрацию программ для ЭВМ, баз данных и топологий интегральных микросхем - в размере 50,09 рублей
б) за внесение в Реестр программ для ЭВМ - в размере 25,04 рублей;
в) за выдачу свидетельства об официальной регистрации программы для ЭВМ - в размере 16,7 рублей, за свидетельство выданное каждому из авторов;
г) за публикацию сведений об официально зарегистрированной программе для ЭВМ – 16,7 рублей;
д) за внесение уточнений и исправлений в материалы заявки на регистрацию – 16,7 рублей;
е) за выдачу свидетельства о регистрации связанной с внесением изменений - 33,4 рубля.
Итого за официальную регистрацию программ для ЭВМ в нашем случае составит регистрационный сбор в размере 158,63 рубля.
В связи с тем, что среда визуализации Delphi 5 лицензирована Кбш.ж.д., разрешение на использование при написании программы отпадает.
Выводы: для того чтобы иметь устойчивое положение на рынке программных продуктов, определенные гарантии защиты имущественных интересов от неправомерного использования, разрабатываемую систему необходимо зарегистрировать в Роспатенте. Для этого необходимо выполнить вышеописанные процедуры. Т.к. программный продукт может использоваться на других дорогах России, целесообразно зарегистрировать его в порядке рекламы в каталоге баз данных Информрегистра.
7. Экономический раздел
7.1. Расчет себестоимости разработки программного обеспечения
Себестоимость - это величина расходов данного предприятия, приходящаяся на единицу продукции. Уровень себестоимости зависит от многих факторов: технического прогресса, объема выпускаемой продукции, производительности труда, норм расхода рабочей силы, материалов, топлива, энергии. Для определения себестоимости продукции могут использоваться различные методы: метод приведения к базовому узлу, метод удельных весов, метод учета затрат на единицу веса изделия, расчет себестоимости по статьям затрат.
Работа над программным обеспечением состоит из следщих этапов, и задействованы следующие работники:
постановка задачи (150 часов) – инженер технолог;
разработка алгоритма и структуры базы данных (100 часов) инженер - технолог;
написание программы (850 часов)- инженер программист;
отладка программы (300 часов) - инженер программист;
подготовка программной документации (160 часов)- техник.
Себестоимость разработки программного обеспечения Ср складывется из:
основной зарплаты инженера-программиста 8 разряда, инженера технолога 10 разряда, техника 8 разряда - Зосн (руб.);
дополнительной зарплаты Здоп (руб.);
отчислений на социальные нужды Ссоц. нуж. (руб.);
затрат на электроэнергию Сэ/э (руб.);
амортизационных отчислений A (руб.).
Таким образом, себестоимость разработки программного обеспечения рассчитаем по следующей формуле:
Ср = Зосн + Здоп +Ссоц. нуж. + Сэ/э + А
1. Рассчитаем основную заработную плату работников.
Месячные оклады работников вычисляются по формуле:

где
- тарифный коэффициент.
Месячный оклад для инженера 8 разряда составит:

Месячный оклад для инженера 10 разряда составит:

Месячный оклад для техника 8 разряда составит:

Часовая тарифная ставка вычисляется по формуле:

Часовая тарифная ставка у инженера программиста:

Часовая тарифная ставка у инженера технолога:

Часовая тарифная ставка у техника:

Расчет фонда заработной платы представлен в таблице 7.1.
Таблица 7.1.
|
Наименование этапа |
Количество часов, час. |
Часовая тарифная ставка, руб/час. |
Стоимость этапа, руб. |
|
1. постановка задачи |
150 |
21,51985 |
3227,9775 |
|
2. разработка алгоритма и структуры базы данных |
100 |
21,51985 |
2151,985 |
|
3. написание программы |
850 |
16,8 |
14280 |
|
4. отладка программы |
300 |
16,8 |
5040 |
|
5. подготовка программной документации |
160 |
11,3 |
1808 |
|
ИТОГО: |
26507,96 |
||
|
Дополнительная зарплата(10%) |
2650,796 |
||
|
ВСЕГО |
29158,76 |
2. Отчисления на социальные нужды принимаются в размере 38,5% от суммы основной и дополнительной зарплат:


3. Рассчитаем расход средств на оплату электроэнергии, израсходованной для работы компьютера при написании, отладке программы, а также при составлении программной документации. Воспользуемся следующей формулой:
,
где P=0,4- мощность, потребляемая компьютером при работе (кВт);
T>раб> – время работы компьютера, равное
T>раб> = 850+160+300 = 1310 (часов);
0,43 – стоимость киловатта электроэнергии на данный момент (руб.).

4. Амортизационные отчисления (аренда помещения) определим по формуле:
,
где S – площадь помещения, S=7м x 7м = 49 м2
d – количество рабочих дней, затраченных на разработку программы, d = (150+100+850+300)/24 = 59;
Ссут – суточная плата за аренду помещения, примем Ссут = 1.63 руб.

Таким образом себестоимость разработки программного обеспечения составит:
Cр= 26507,96+2650,796 + 11226,1226+225,32 + 1770 = 42380,1986 (руб.)
Заключение
В дипломном проекте представлена разработка информационной системы складского терминала. Внедрение данного проекта позволит в значительной степени повысить качество и производительность работы персонала складского терминала.
В дипломном проекте разработан алгоритм работы информационной системы, разработана база данных информационной системы с теоретическим обоснованием на основе правил ER – декомпозиции. Разработан интерфейс информационной системы складского терминала. В дипломном проекте также рассмотрены вопросы конфиденциальности информации, хранимой в информационной системе, вопросы экономики, охраны труда, гражданской обороны и патентного поиска.
Список используемых источников
1. А.А. Смехов Введение в логистику: - M: Транспорт, 1993. – 110 с.
2. Б.А. Аникин Логистика: Учебник. – М.: ИНФРА-М, 2000. – 352 c.
3. М. Гук Аппаратные средства IBM PC: Энциклопедия. – СПб: Питер Ком, 1999. – 816 с.
4. А.Юдин. ”Концепции и руководство по планированию Microsoft Windows NT Server”.
5. В.В. Кириллов СitForum «Основы проектирования реляционных баз данных»
6. В.Мельников. ”Защита информации в компьютерных системах”. Москва. ”Финансы и статистика”. ”Электроинформ”. 1997.
7. “Руководство администратора безопасности системы “Secret Net NT”. Информзащита.
8. С.Штайнке. “Идентификация и криптография”. LAN\Журнал сетевых решений. 1998. №2.
9. В.Жельников. “Криптография от папируса до компьютера”. ABF. Москва. 1997.
10. Фаронов В.В., Шумаков П.В. Delfi 4. «Руководство разработчика баз данных» - М.: «Нолидж», 1999.-560с.
11. Архангельский А.Я. «Разработка прикладных программ для Windows в Delfi 5» - М.: ЗАО «Издательство БИНОМ», 1999. – 256 с.
12. 11. Архангельский А.Я. «100 компонентов общего назначения библиотеки Delfi 5» - М.: ЗАО «Издательство БИНОМ», 1999. – 272 с.
13. Яковлев В.В. «Локальные сети персональных ЭВМ»: Учебное пособие. Часть 1. – С.Петербург: ПИИТ, 1993. – 52 с.
Приложения
Склад № 17
Акт о разгрузке
№ 00589/12.10.99
Дата: 12.10.1999
Место приемки товара и составления данного акта: Кинель
Комиссия в составе:
Заведующий складом: Данилова А.Н.
Водитель: Новиков Ю.С.
Номер автомобиля (прицепа): 08-27 КШП
Груз доставлен из: КО «Россия»
Дата и время отправки груза: ______________
Время доставки на склад: ______________
Время окончания разгрузки: ______________
Номер товарно-транспортной накладной: 2748
Количество мест (коробов) с указанием даты реализации продукта:
|
Код товара |
Наименование |
Годен до |
|
050660 |
Птичье молоко 18´170г |
11.11.1999 |
|
Количество по документам 205 |
||
|
Фактически получено: 205 |
Из них брак: 0 |
|
|
Недовложено: 0 |
|
Код товара |
Наименование |
Годен до |
|
050663 |
Признание 12´230г |
11.02.2000 |
|
Количество по документам 812 |
||
|
Фактически получено: 812 |
Из них брак: 0 |
|
|
Недовложено: 0 |
Страница 1 Всего страниц 2
Состояние пломбы: ____________________________
Наличие рекламных материалов, оборудования и т.п., не указанных в сопроводительных документах: __________________________________
______________________________________________________________
Примечание: ________________________________________________
_____________________________________________________________
Представители:
Заведующий складом: Водитель:
Данилова А.Н. Новиков Ю.С.
_________________ _________________
Страница 2 Всего страниц 2
Журнал прихода № 00596/12.10.1999
На склад: Кинель
От: КО «Россия»
-
№
стр
Код товара
Число
коробов
Срок
годности
Адрес
паллеты
Оператор
001
050660
49
12.11.99
0007230103
Данилова
002
050660
49
12.11.99
0011250101
Данилова
003
050662
49
12.04.00
0011260103
Данилова
004
050662
49
12.04.00
0011350103
Данилова
005
050662
49
12.04.00
0011420103
Данилова
006
050662
49
12.04.00
0011430101
Данилова
007
050662
49
12.04.00
0012100102
Данилова
008
050641
49
08.02.00
0012480103
Данилова
009
050641
29
08.02.00
0005290103
Данилова
010
050648
49
06.02.00
0003310103
Данилова
011
050648
49
06.02.00
0007460101
Данилова
012
050648
9
06.02.00
0010490103
Данилова
013
050639
49
09.02.00
0003130103
Данилова
014
050639
49
09.02.00
0006130103
Данилова
015
050639
49
09.02.00
0012060101
Данилова
016
050727
36
12.01.00
0012580101
Данилова
017
050727
49
12.01.00
0013430101
Данилова
018
050635
49
12.02.00
0014180103
Данилова
019
050635
49
12.02.00
0014330103
Данилова
020
050635
49
12.02.00
0015290103
Данилова
Страница 1 Всего страниц 1
Журнал расхода № 04765
Со склада: Кинель
-
№
стр
Код товара
Число
коробов
Срок
годности
Адрес
паллеты
Оператор
001
050417
49
12.11.99
0007230103
Плотников
002
050417
49
12.11.99
0011250101
Плотников
003
050417
49
12.04.00
0011260103
Плотников
004
050033
49
12.04.00
0011350103
Плотников
005
050033
49
12.04.00
0011420103
Плотников
006
050033
49
12.04.00
0011430101
Плотников
007
050049
49
12.04.00
0012100102
Плотников
008
050049
49
08.02.00
0012480103
Плотников
009
050502
29
08.02.00
0005290103
Плотников
010
050503
49
06.02.00
0003310103
Плотников
011
050666
49
06.02.00
0007460101
Плотников
012
050648
9
06.02.00
0010490103
Плотников
013
050639
49
09.02.00
0003130103
Плотников
014
050639
49
09.02.00
0006130103
Плотников
015
050639
49
09.02.00
0012060101
Плотников
016
050727
36
12.01.00
0012580101
Плотников
017
050727
49
12.01.00
0013430101
Плотников
018
050635
49
12.02.00
0014180103
Плотников
019
050635
49
12.02.00
0014330103
Плотников
020
050635
49
12.02.00
0015290103
Плотников
Страница 1 Всего страниц 1
Лист отгрузки со склада
Со склада: Кинель
ЗАКАЗ № ОС00006092
Код клиента: S010
Название клиента: ООО «Виктория Холдинг»
Отгрузка произведена: 12.02.2000 13:45
|
Код продукта |
Название продукта |
Срок годности |
Количество коробов |
Примечание |
|
050029 |
Родные просторы 24´370г |
22.05.2000 |
30 |
|
|
050265 |
Незнакомка 24´225г |
01.06.2000 |
30 |
|
|
050265 |
Незнакомка 24´225г |
01.06.2000 |
30 |
|
|
050265 |
Незнакомка 24´225г |
01.06.2000 |
30 |
|
|
050265 |
Незнакомка 24´225г |
01.06.2000 |
30 |
|
|
050428 |
Фрегат 6´20´100г |
09.08.2000 |
60 |
|
|
050471 |
Нестле с апельсином |
27.06.2000 |
23 |
|
|
050049 |
Восторг 6´20´100г |
23.01.2001 |
30 |
|
|
050427 |
Кофе с молоком 6´20´100г |
18.01.2001 |
15 |
|
|
050033 |
Палитра (ассорти) 33´240г |
02.06.2000 |
30 |
|
|
050033 |
Палитра (ассорти) 33´240г |
02.06.2000 |
30 |
|
|
050033 |
Палитра (ассорти) 33´240г |
02.06.2000 |
30 |
|
|
050033 |
Палитра (ассорти) 33´240г |
02.06.2000 |
30 |
|
|
050371 |
Рябиновый аромат 33´240г |
04.06.2000 |
20 |
|
|
050371 |
Рябиновый аромат 33´240г |
04.06.2000 |
30 |
|
|
050371 |
Рябиновый аромат 33´240г |
04.06.2000 |
30 |
|
|
050371 |
Рябиновый аромат 33´240г |
04.06.2000 |
30 |
|
|
050431 |
Кокос 6´20´100г |
05.07.2000 |
6 |
|
|
050431 |
Кокос 6´20´100г |
05.07.2000 |
3 |
|
|
050470 |
Нестле с персиком |
25.06.2000 |
18 |
|
|
050061 |
Нестле классик 225г |
24.08.2000 |
2 |
|
|
050476 |
Совершенство |
27.02.2001 |
5 |
|
|
050406 |
Жигули 6´16´100г |
01.07.2001 |
7 |
|
|
050433 |
Елена 6´18´100г |
03.08.2000 |
20 |
Страница 1 Всего страниц 2
|
050324 |
Коллекция 8´430г |
01.06.2000 |
30 |
|
|
050420 |
Ананас 6´20´100г |
29.06.2000 |
20 |
|
|
050421 |
Нестле Кл. с рисом |
12.07.2000 |
15 |
|
|
050410 |
Сударушка 6´20´100г |
19.08.2000 |
25 |
|
|
050003 |
Шок с шок. нач. 8´36´50г |
02.08.2000 |
15 |
|
|
050001 |
Шок с арахисом 8´36´50г |
29.07.2000 |
12 |
|
|
050015 |
Путешествие 20´30´25г |
04.02.2001 |
9 |
Всего коробов отгружено: 1341
Заведующий складом: Плотников А.Н.
Указанный выше товар сдала представителю получателя
полностью ___________________
Получатель: ООО «Виктория Холдинг»
Товар получил в соответствии с наименованиями,
спецификациями и количествами, указанными в настоящем
документе ___________________
Страница 2 Всего страниц 2
Листинг модуля программы Unit1.pas
unit Unit1;
interface
uses
Windows, Messages, SysUtils, Classes, Graphics, Controls, Forms, Dialogs,
StdCtrls, Grids, DBGrids, Db, DBTables, Mask;
type
TForm1 = class(TForm)
Label1: TLabel;
Button1: TButton;
MaskEdit1: TMaskEdit;
Table1: TTable;
Table1Pasword: TFloatField;
Table1Fam: TStringField;
Table1Im: TStringField;
Table1Ot: TStringField;
Table1Adres: TStringField;
Table1Telefon: TStringField;
Table1Status: TStringField;
DataSource1: TDataSource;
procedure Button1Click(Sender: TObject);
procedure MaskEdit1KeyDown(Sender: TObject; var Key: Word;
Shift: TShiftState);
procedure FormClose(Sender: TObject; var Action: TCloseAction);
{ Private declarations }
public
{ Public declarations }
end;
var
Form1: TForm1;
s,p,s1 : string;
implementation
uses Unit2, Unit3;
{$R *.DFM}
procedure TForm1.Button1Click(Sender: TObject);
begin
Form1.Table1.Locate('Pasword',MaskEdit1.Text,[loPartialKey]);
if Form1.Table1.Locate('Pasword',MaskEdit1.Text,[loPartialKey])=false then Application.Terminate;
if Form1.Table1.Locate('Pasword',MaskEdit1.Text,[loPartialKey])=true then
begin
Form1.Table1.Edit;
s:=Form1.Table1Status.Text;
p:=Form1.Table1Fam.Text;
Form1.Table1.Post;
Form3.Label1.Caption:=p;
Form3.Label2.Caption:=s;
if Form1.Table1Status.Text='Администратор' then Form3.Button2.Visible:=true else Form3.Button2.Visible:=false;
if Form1.Table1Status.Text='Администратор' then Form3.Button3.Visible:=true else Form3.Button3.Visible:=false;
Form2.Visible:=false;
Form1.Visible:=false;
Form3.Show;
Form1.MaskEdit1.Text:='';
end;
end;
procedure TForm1.MaskEdit1KeyDown(Sender: TObject; var Key: Word;
Shift: TShiftState);
begin
if (key = VK_RETURN) then Form1.Button1.Click;
end;
procedure TForm1.FormClose(Sender: TObject; var Action: TCloseAction);
begin
Form1.Visible:=false;
Form3.ShowModal;
end;
end.
