Вибрация и ее влияние на организм человека
Реферат на тему:
«ВИБРАЦИЯ И ЕЕ ВЛИЯНИЕ НА ОРГАНИЗМ ЧЕЛОВЕКА»
Введение
Вибрация представляет собой механические колебания, простейшим видом которых являются гармонические колебания.
Вибрация возникает при работе машин и механизмов, имеющих неуравновешенные и несбалансированные вращающиеся органы с движениями возвратно-поступательного и ударного характера. К такому оборудованию относятся металлообрабатывающие станки, ковочные и штамповочные молоты, электро- и пневмоперфораторы, механизированный инструмент, а также приводы, вентиляторы, насосные установки, компрессоры. С физической точки зрения между шумом и вибрацией принципиальных различий нет. Разница заключается в восприятии: вибрация воспринимается вестибулярным аппаратом и средствами осязания, а шум органами слуха. Колебания механических тел с частотой менее 20 Гц воспринимаются как вибрация, более 20Гц - как вибрация и звук.
Вибрацию применяют на предприятиях стройиндустрий при уплотнении и укладки бетонной смеси, дроблении и сортировке инертных материалов, разгрузке и транспортировании сыпучих материалов и т.д.
Под воздействием вибрации в организме человека наблюдается изменение сердечной деятельности, нервной системы, спазм сосудов, изменения в суставах, приводящие к ограничению их подвижности. Длительное воздействие вибраций приводит профессиональному заболеванию - вибрационной болезни. Она выражается в нарушении многих физиологических функций человека. Эффективное лечение возможно только на ранней стадии заболевания. Очень часто в организме наступают необратимые изменения, приводящие к инвалидности.

Рис. Вероятность отсутствия виброболезни: 1-7- при продолжительности работы соответственно 1,2,5,10,15,20 и 25 лет.
Простейшей колебательной системой с одной степенью свободы является масса, укрепленная на пружине. Эта система совершает гармонические или синусоидальные колебания.
Основными параметрами, характеризующими вибрацию, являются: амплитуда (наибольшее отклонение от положение равновесия) А, м; частота колебаний f, Гц (число колебаний в секунду); колебательная скорость V, м/с; ускорение колебаний W, м/с2; период колебаний Т, сек.
Степень воздействия вибрации на физиологические ощущения человека определяется величиной колебательного ускорения и скоростью колебаний:
,м/c,
(2.5.26)
,м/c2,
(2.5.27)
где f- число колебаний в 1 c;
амплитуда колебаний, м.
Вибрация отмечается вблизи оборудования, при работе пневматического инструмента, при неправильной балансировке валов машин, при транспортировании жидкостей и газов по трубопроводам, при технологических процессах укладки бетона с применением вибрационных агрегатов.
Вибрацию не синусоидального характера всегда можно представить в виде суммы синусоидальных составляющих с помощью разложения в ряд Фурье.
Для исследования
вибрации весь диапазон частот (так как
и для шума) разбивается на основные
диапазоны. Среднегеометрические значения
частот, на которых исследуют вибрацию,
следующие: 2, 4, 8, 16, 31, 50, 63, 125, 250, 500, 1000 Гц.
Уровни вибраций измеряются не на каждой
отдельной частоте, а в некоторых полосах
(интервалах) частот октавных и
третьоктавных. У октавных отношение
верхних границ частот к нижней fв/fн=2,
а у третьоктавных
.
Учитывая, что абсолютные
значения параметров характеризующих
вибрацию, применяются в широких пределах,
на практике пользуются понятием уровней
параметров виброскорости
(V) и
виброускорения (W).
Согласно ГОСТ 12.1.012-90 ”Вибрация, общие требования безопасности” (ССБТ). Логарифмитические уровни виброскорости Lv и виброускорения Lw определяются по формуле:
;
(2.5.28)
где V, W-колебательная скорость,м/с и виброускорение, м/с² ;
V>0
,>Wо -пороговые значения
скорости и ускорения
м/с,
м/с2.
Вибрация>, >воздействующая на человека, нормируется для каждого направления в каждой октавной полосе. Важное гигиеническое значение имеет частота вибраций. Частоты порядка 35-250 Гц наиболее характерные при работе с ручным инструментом, могут вызвать вибрационную болезнь со спазмой сосудов.
Частоты ниже 35 Гц вызывают изменения в нервно-мышечной системе и суставах. Наиболее опасны производственные вибрации равные или близкие к частоте колебания человеческого организма или отдельных органов и равные 6-10 Гц (собственная частота колебаний рук и ног 2-8 Гц, живота 2-3 Гц, груди 1-12 Гц). Колебания с такой частотой влияют на психологическое состояние человека. Одной из причин гибели людей в Бермудском треугольнике может являться колебание водной среды в спокойную погоду, когда частота колебаний равна 6-10 Гц. Частота колебания небольших судов совпадает с частотой колебания среды и у людей появляется чувство опасности, страха. Моряки стремятся покинуть корабль. Длительная вибрация может привести к гибели людей. Вибрация оказывает опасное действие на отдельные органы тела и организм человека в целом, нарушая нормальное функционирование нервной системы и органов, связанных с обменом веществ. Вибрация может вызывать нарушения деятельности сердечно-сосудистых и дыхательных органов, заболевания рук и суставов. Особенно опасны вибрации с большой амплитудой, которые оказывают в основном неблагоприятное действие на костно-суставный аппарат. При малой интенсивности и кратковременном воздействии вибрация оказывает даже благоприятное влияние. При высокой интенсивности и продолжительном действии вибрация может привести к развитию профессиональной вибрационной болезни, которая при известных условиях может перейти в «церебральную» форму (поражение центральной нервной системы), практически неизлечимую.
Согласно ГОСТ 12.1.012-90, ДСН 3.3.6.039-95 по способу передачи на человека, вибрация подразделяется на: общую, передающуюся через опорные поверхности на тело человека; локальную (местную), передающуюся в основном через руки человека(рис.2.5.10.).

Рис. Направление координат осей при общей вибрации (а и б) и локальной(в):
а – положение стоя; б – положение сидя; Z – вертикальная ось, перпендикулярная к поверхности; Х – горизонтальная ось от спины к груди; ось Y – горизонтальная от правого плеча к левому; при действии локальной ибрации,положение руки на сферической и цилиндрической поверхности.
Вибрация действует вдоль осей ортогональной системы координат XYZ (для общей вибрации Z-вертикальная, перпендикулярная опорной поверхности; Х - горизонтальная от спины к груди; У – горизонтальная от правого плеча к левому).
При локальной вибрации ось Хл совпадает с осью охвата, ось Zл лежит в плоскости Xл и направлена на подачу или приложение силы. Общая вибрация по источнику её возникновения подразделяется на: транспортную, возникающую при движении машин; транспортно-технологическую, возникающую при работе машин, выполняющих технологическую операцию; технологическую, которая возникает при работе стационарных машин.
ИЗМЕРЕНИЕ И НОРМИРОВАНИЕ ВИБРАЦИИ
Выпускаемая в настоящее время измерительная аппаратура основана на использовании электрических методов, обеспечивающих высокую точность преобразования механических колебаний в электрические с помощью магнитно-электрических и пьезо-электрических датчиков (приемников вибрации: сигнал усиливается, преобразуется (интегрируется, дифференцируется) и подается на регистрирующий прибор).
Приборы подразделяют на: оптические, механические, электрические.
Измерение параметров вибрации должно производится в соответствий с установленными стандартами требований к измерительным приборам, датчикам.
Для измерения вибрации используют приборы: виброметры ВМ-1, ВИП-2, ИШВ-1 измеритель шума и вибраций (1-3000 Гц), 00042 ( Роботрон ГДР), 3513, 2512, 2513 ( Брюль и Кери- Дания), ВИП-4(15-200 Гц), ЭДИВ (электродистанционный прибор), аппаратура контрольно-измерительная типа ВВК-003, ВВК-005, измерители шума ВШВ-003 и др.
Аппаратура для измерения параметров вибраций должна соответствовать ГОСТ 12.4.012-83 «Вибрация». Средства измерения и контроля вибрации на рабочих местах. Технические требования”. Замеры вибрации проводят в наиболее виброопасных точках согласно методике исследований ДСН 3.3.6.039-99
При измерении локальной вибрации замеры производят у места контакта оператора с поверхностью, которая вибрирует.
При измерении общей вибраций точка измерения должна находится в местах контакта опорной поверхности тело человека с вибрирующей поверхностью: сидение оператора; пол рабочей зоны.
Измерения постоянной вибрации на протяжении рабочей смены проводится не менее 3-х раз с нахождением средне логарифмического значения.
Общая вибрация нормируется по следующим октавным полосам частот: 1, 2, 3, 8, 16, 31, 50, 63; локальная: 8, 16, 31, 50, 63…1000 Гц.
Общая вибрация, воздействующая на человека, нормируется отдельно в каждой октавной полосе по вертикальному направлению (оси Z) или горизонтальному направлению (оси Х, У). Выбор нормирования определяется в зависимости от интенсивности: по более интенсивному направлению.
Гигиенические нормы технологической вибрации, воздействующей на операторов стационарных машин в течение 480мин(8 часов), приведены в ГОСТ 12.1.012-90, ДСН 3.3.6.-039-99 (Табл.2.5.3.-2.5.4.).
Таблица
Предельно допустимые уровни локальной вибрации
|
Средне геометрические частоты октавных полос, Гц. |
Предельно допустимые уровни по осях Xл,Yл,Zл |
|||
|
Виброскорость |
Виброускорение |
|||
|
м/с*10-2 |
дБ |
м/с2 |
дБ |
|
|
8 16 31,5 63 125 250 500 1000 |
2,8 115 1,4 1,4 1,4 1,4 1,4 1,4 |
115 109 109 109 109 109 109 109 |
1,4 1,4 2,7 5,4 10,7 21,3 42,5 85,0 |
73 73 79 85 91 97 103 109 |
|
Корректированный эквивалентный уровень |
2,0 |
112 |
2,0 |
76 |
Таблица 2.5.4.
Предельно допустимые параметры импульсной локальной вибрации
|
Диапазон длительности вибрационных импульсов |
Измеренные пиковые урони виброускорения, дБ |
||||||||
|
120 |
125 |
130 |
135 |
140 |
154 |
150 |
155 |
160 |
|
|
Допустимое количество импульсов |
|||||||||
|
1-30* |
160000** |
160000** |
50000 |
16000 |
5000 |
1600 |
500 |
160 |
30 |
|
20000** |
20000** |
6250 |
2000 |
625 |
200 |
62 |
20 |
6 |
|
|
31-1000* |
160000** |
50000** |
16000 |
5000 |
1600 |
500 |
160 |
50 |
- |
|
20000 |
6250 |
2000 |
625 |
200 |
62 |
20 |
6 |
- |
* - Вибрационные
импульсы 1-30
имеют место при применении немеханизированного
инструмента, 31-1000
- на механизированном инструменте.
** - Значение отвечает максимально возможному количеству импульсов за восьмичасовую смену при частоте 5,6 Гц. В скобках допустимое количество импульсов за 1 час.
При продолжительности смены 7 часов предельно допустимые скорректированные эквивалентные уровни локальной вибраций равны значениям для 8-часовой продолжительности смены.
При 6-ти
часовой продолжительности эти показатели
равны для виброскорости 113 дБ (
м/с), а виброускорение -78дБ (2,3 м/с2).
Работа в условиях действий локальной вибрации, которая превышает предельно допустимую норму более чем на 1 дБ, запрещена.
Если время воздействия меньше 480 мин и отсутствуют перерывы через каждый час работы, то для каждой октавной полосы значение нормируемого параметра определяется по зависимости:
(2.5.28)
где t -время фактического воздействия вибраций(мин);
U>480> -допустимое воздействие вибрации за время воздействия480мин.
СРЕДСТВА И МЕТОДЫ ЗАЩИТЫ ОТ ВИБРАЦИИ
Средства защиты от вибраций подразделяются на: коллективные и индивидуальные. Основные мероприятия по защите от вибраций условно можно свести к таким группам: технические, организационные и лечебно-профилактические.
К техническим мероприятиям относятся: устранение вибраций в источнике и на пути их распространения. Устранение или уменьшение вибрации в источнике решается, начиная со стадии проектирования и изготовления машин. Закладываются в их конструкцию решения, обеспечивающие вибробезопасные условия труда: замену ударных процессов на безударные, применение деталей из пластмассы, ременных передач вместо цепных, шестерен с глобоидальным и шевронным зацеплением вместо прямозубых, выбор оптимальных рабочих режимов, тщательная балансировка вращающихся деталей, повышение класса точности их изготовления и чистоты обработки поверхности и другое.
При эксплуатации техники уменьшенные вибрации достигается современной подтяжкой креплений, устранением люфтов, зазоров, качественной смазкой трущихся поверхностей, правильной регулировкой рабочих органов.
В конструкциях, по которым происходит распространение колебаний, делаются разрывы, заполняемые вибро- и звукоизоляционными материалами; замена вибрирующего оборудования или процесса на безвибрационный.
Для снижения вибраций на пути распространения применяют: виброизоляцию, виброгашение, вибродемпфирование.
Виброизоляция:
В инженерной практике одной из действенных мер по уменьшению вибраций на пути её распространения от источника вибраций является виброизоляция. Виброизоляция бывает пассивной и активной.
Виброизоляция называется активной, если для ее уменьшения используется дополнительный источник энергии.
Пассивная виброизоляция применяется, если требуется защитить рабочее место от колебаний вибрирующих машин или защитить остальные машины от колебаний неуравновешенных деталей (ССБТ ГОСТ 12.4.046-78 «Методы и средства вибрационной защиты. Классификация.»).
Виброизоляция ослабляет передачу колебаний от источника на основание, пол, рабочее место и.т.д. за счет устранения между ними жестких связей и установки упругих элементов (виброизоляторов).

Рис. Схема виброизоляции динамической не уравновешенной машины
В качестве виброизоляторов применяют: стальные пружины или рессоры, прокладки из резины, войлока, а также резинометаллические, пружинно-пластмасовые и пневморезиновые конструкции, использующие упругие свойства материалов и воздуха и т.д. (рис.2.5.11.)
Принцип пассивной виброизоляции хорошо видно на примере виброизоляции неуравновешенной машине массой М с эксцентриком массой m на расстоянии R от оси вращения (рис.2.5.12.).
При вращении вала машины с угловой скоростью ω возникает центробежная сила Fmax=m ω 2 R, изменение которой во времени (t) носит гармонический характер:
(2.5.29)

Рис. Пассивная виброизоляция машины
(а) и рабочего места (б)
Для виброизоляции машины установлены пружинные виброизоляторы. Под действием силы (2.5.29) пружины деформируются, и в пружинах возникает сила упругости:
,
(2.5.30)
где К-жесткость амортизаторов;
Х-деформация пружины под действием динамической силы
Эффективность
виброизоляции будет тем выше, чем меньшая
динамическая сила передается на
основание, т.е. чем меньше
(сила
возмущения F уравновешивается
силой инерции от массы М)
Эффективность пассивной виброизоляции оценивается коэффициентом передачи μ, который показывает какую долю динамической силы, возбуждаемой машиной, передают амортизаторы на основание:
(2.5.31)
Если пренебречь затуханием колебаний виброизоляторов, то коэффицент передачи вибраций:

Рис. Зависимость коэффициента передачи от f/f>0>:
1 – при использовании стальных пружинных виброизоляторов
(D0); 2 –то же, резиновых виброизоляторов (D=0,2).
(2.5.32)
где f - частота вынужденных колебаний,
Гц;
f>0 >-> >частота собственных колебаний, Гц.
Следовательно, для достижения малого значения коэффициента передачи необходимо, чтобы частота собственных колебаний была значительно меньше частоты вынужденных колебаний. При f=f>0 >наступает резонанс - резкое увеличение интенсивности колебаний виброизоляционной машины (при частоте собственных колебаний близкой к частоте вынужденных колебаний применение виброизоляторов бесполезно), при f/ f>0 >>2 резонансные> >колебания исключаются, а при f/f>0>=3-4> >достигается эффективность работы виброизоляторов.
Пружинные виброизоляторы широко применяют в машинах и механизмах. Они обладают высокой виброизолирующей способностью и долговечностью (μ=1/90…1/60). Однако из-за небольшого внутреннего трения стальные пружинные виброизоляторы плохо рассеивают энергию колебаний, поэтому затухание колебаний происходит не мгновенно, а за 15-20 периодов, что не всегда целесообразно при использовании машин, работающих в кратковременном режиме (краны, экскаваторы и.т.д).

Рис. Виброизоляторы:
а – резинометаллический типа АКСС с допускаемой нагрузкой до 4000 Н;
б – пружинно-резиновый типа АД с пневмодемпфированием;
в – Тима АЦП;
г – пневмоамортизаторы;
д – виброизоляторы типа АПН сильнодемпфированные пластмассовые ;
е – виброизоляторы типа ДК.
Пружинные амортизаторы в основном используют для виброизоляции бетоноукладчиков, вентиляторов, двигателей внутреннего сгорания, бетоносмесителей и.т.д.
Р
ис.
Схема пружинно-резиновых амортизаторов:
1, 2, 3-опора машины
Р
ис.
Схемы пружинно-резиновых амортизаторов:
1 – резина; 2 – стальная пружина; 3 –
опора виброизолированной машины.
Пружинные амортизаторы в сочетании с гидроамортизаторами (комбинированные) находят широкое применение и для виброизоляции кабин управления экскаваторов, бульдозеров и т.д.
Для уменьшения времени затухания колебаний применяют резиновые виброизоляторы, в которых большое внутреннее трение (коэффициент неупругого сопротивления 0,03-0,25). Однако виброизолирующая способность резиновых виброизоляторов меньше чем пружинных ( μ =1/5…1/20).
Положительные свойства пружинных и резиновых виброизоляторов хорошо сочетаются в комбинированных виброизоляторах с применением пневмо- и гидроамортизаторов.

Рис. Виброизоляция сиденья оператора
(1- гидроамортизатор)

Рис. Схемы виброизоляции виброактивного оборудования: а – опорный вариант; б – подвесной вариант; в – виброизоляция от вертикальных и горизонтальных колебаний.
Оценка виброизоляции оборудования
Одним из способов снижения вибрации оборудования является правильный выбор виброизоляторов, которые могут быть резиновыми или стальными в виде пружин(2.5.19.).
Используя схему расчетов на рис. 2.5.19, рассмотрим пример выбора стальных и резиновых виброизоляторов.
Необходимо определить количество пружин виброизоляторов для двигателя весом Q=15000кг. В качестве виброизоляторов решено использовать стальны пружины высотой H>0>=0,264м, со средним диаметром D=0,132м, с диаметром прутка d=0,016м, с числом рабочих витков i=5,5.
На основе
имеющихся данных устанавливаем индекс
пружин
.
Для расчета жесткости одной пружины в
продольном (вертикальном) направлении
(K1>z>:
)
необходимо знать модуль упругости на
сдвиг G. Для всех пружинных
сталей G принимается
равным 78453200000 Па.
Согласно
рис.2.5.20:

При выборе
виброизоляторов H>0>/D
< 2, в нашем случае
.

Рис. Выбор виброизоляторов
По графику на рис. 2.5.19. находим коэффициент (К), учитывающий повышение напряжения в средних точках сечения прутка, вследствие деформации сдвига, который равен 1,18. Для определения статистической нагрузки Р>ст> необходимо знать допустимое для пружинной стали напряжение при кручений τ. Если нет сведений о сорте стали, то τ принимают равным 392266000 Па. В нашем примере статическая нагрузка будет равна:
H
Общее количество стальных пружин:
.
Общая жесткость пружин виброизоляторов равна:

Для нормальной работы двигателя нужно установить 4 пружины виброизолятора с Но=0,264м; D = 0,132м; d = 0,016м.
Необходимо определить количество резиновых виброизоляторов для центрифуги весом Q= 14240 кг, которой создается усилие 139694,4 Н. Расчетная величина центробежной силы Рz - 9810Н. Виброизоляторы изготовлены в форме кубиков с поперечным размером А (диаметр или сторона квадрата) равным 0,1м (площадью основания - F =0,01м 2) из резины сорта 4049, динамический модуль упругости Еg - 10787315 Па. Замеренная частота возмущающей силы fo =24Гц. Величину возмущающих сил (P>k>>z>) необходимо уменьшить до 196,2 Н. Учитывая, что имеющиеся в распоряжении виброизоляторы удовлетворяют требованию 0,25 < 0.1 / 0.1 < 1,1, определим жесткость в вертикальном направлении Kz одного резинового виброизолятова ( рис.2.5.19):
,
Оценим минимальное отношение (а>zmin>) частоты возмущающей силы к частоте собственных колебаний виброизолированного объекта (рис.2.5.19.).

Теперь можем рассчитать частоту
собственных вертикальных колебаний
(fz) виброизолятора при
заданном > >а>zmin>:
Гц
Общая максимальная вертикальная жесткость Kzmах виброизоляторов равна:
н/м
С учетом жесткости находим
необходимое общее количество (n>p>)
резиновых виброизоляторов (рис.2.5.19.):

Горизонтальная жесткость (Кх;
Ку) резинового виброизолятора с учетом
модуля упругости (
Па)
равна:


Следовательно, для того, чтобы уменьшить возмущающие силы до 196,2 Н необходимо использовать 5 резиновых виброизоляторов в форме кубика с А≥ 10см.

Рис. Виброизоляция поста управления:
1 – пневмоамортизатор; 2 – железобетонная плита; 3 – пульт управления.
На рис. представлена схема виброизоляции поста оператора с применением пневмоамортизаторов. Воздух в пневмоамортизаторе находится под давлением 3-20 кПа, а нагрузка на пневмоамортизатор, выполненный в виде автомобильной камеры составляет 1000-4000 Н.
Частота собственных колебаний виброизолированного поста в зависимости от нагрузки находится в пределах 2…4 Гц, что обеспечивает виброизоляцию с µ= 1/ 150 при частоте вибрации 50 Гц.

Рис. Принципиальные схемы пассивной виброизоляции рабочих мест.
1 – пассивно виброизолированния плита.
2 – виброизолятор.
3 – колеблющееся основания .
4 – направления колебания .
5 и 6 – опоры и подвески плиты.
Для рабочего места оператора (рис.2.5.17.) предусматривается виброизолированное сидение с использованием гидравлического демпфера, обеспечивающего коэффициент затухания 0.2...0.3, а снижение вибрации на частотах 16…63 Гц достигает 8 дБ

Рис. Схема виброизоляции насосной установки
Вибропоглощение – поглощение амплитуды виброскорости упруговязким материалом. Сущность вибропоглощеня заключается в нанесении на вибрирущую поверхность упруговязких материалов: пластика, пористой резины, вибропоглощающих покрытий и мастик.
Вибропоглощение покрытий эффективно при условии, что протяженность поглоща-ющего слоя равна нескольким длинам волн колебаний изгиба.
Вибропоглощение малоэффективно при снижении интенсивности продольных волн, которые переносят большую колебательную энергию на высоких частотах. Выбор материала для покрытий принимают исходя из данных спектра вибраций. В зависимости от величины модуля упругости вибропоглощающие покрытия делятся на жесткие (Е=109 Па) и мягкие (Е=107 Па). Жесткие вибропоглощающие покрытия применяются в основном для снижения колебаний низких и средних частот. Мягкие применяют для снижения интенсивности высокочастотных вибраций. Высокой вибропоглощающей эффективностью обладают комозиционные материалы: «Полиакрил», «Випонит», листовые материалы - винипор, пенопласт и др., которые приклеиваются к металлическим частям оборудования (кожухам) при оптимальной толщине покрытия 2…3 толщины покрываемой конструкции. Такое покрытие эффективно и для снижения уровня шума.
Рис. Динамические гасители вибраций: а – принципиальная схема гасителя; б – динамическое гашение колебаний дымовой трубы.
Виброгашение
Динамические гасители вибрации наиболее эффективно применяются для уменьшения вибрации машин со стабильной частотой колебаний (насосов, турбогенераторов, силовых установок и т.д.). Работа виброгасителя сводится к следующему (рис.2.5.20). Виброгаситель массой m и жесткостью К! присоединяется к вибрирующему механизму, колебания которого необходимо погасить (масса механизма М и жесткость К). Колебания механизма под действием возмущающей силы происходят по гармоническому закону F>0> * sin ωt . Массу и жесткость виброгасителя m и К! подбирают таким образом, чтобы частота собственных колебаний виброгасителя была равна ω = ω>0 >. При этом, в каждый момент времени сила F1 от виброгасителя действует против силы F (виброгаситель входит в резонансные колебания, а колебания механизма массой М уменьшаются). Виброгашение применяется для снижения колебаний высотных объектов (теле- и радиоантенны, дымовые трубы, памятники). Частота собственных колебаний виброгасителей подбирается таким образом, чтобы она совпадала с частотой пульсации ветровой нагрузки. Недостатком применения динамических гасителей является то, что они позволяют снизить вибрацию только на одной частоте(2.5.23).
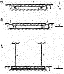
Виброгасящее основание
Уменьшить воздействие вибрации от динамически неуравновешенных машин на основные конструкции зданий и сооружений можно следующим образом: увеличить массу фундамента, выполнить виброгасящее основание. Конструктивно виброгасящее основание выполняют из легких упругих материалов в виде акустических швов по периметру фундамента вибрирующей машины (дробилки, виброплощадки, мельницы, вентиляторы). На рис.2.5.24-2.5.27.приведены схемы виброгасящих оснований.

Рис. Виброгасящее основание:
1 – виброплощадка; 2 – основание (фундамент); 3 – акустический шов.

Рис. Установка агрегатов на виброгасящие основания: а – на фундаменте и на грунте; б – на перекрытии.

Рис. Схема установки резинового коврика под фундамент виброплощадки.

Рис. Виброплощадка на «открытой воздушной подушке»:
1 - виброплощадка ; 2 - вентилятор;
3 – форма с бетоном
Средства индивидуальной защиты от вибрации
Если техническими средствами не удается достичь выполнения гигиенических норм на рабочем месте, то необходимо применять средства индивидуальной защиты: виброзащитные рукавицы и виброзащитную обувь, наколенники, коврики, нагрудники, специальные костюмы. Виброзащитные свойства применяемых упругих материалов нормируются в октавных полосах 8…2000 Гц и должны быть в пределах 1…5 дБ при толщине вставки 5 мм и 1…6 дБ при толщине вставки 10 мм. Сила нажатия при оценке виброзащитных свойств рукавиц варьируется от 50 до 200 Н. Виброзащитные рукавицы должны быть гигиеничны, не стеснять выполнение технологических операций, не вызвать раздражение кожных покровов (Гост 12.4 002-74 «Средства индивидуальной защиты рук о вибрации. Общие технические требования»).
Виброизоляционную обувь изготавливают из кожи (или искусственных заменителей) и снабжают стельками из упругопластичных материалов для защиты от вибрации на частотах выше 11 Гц. Эффективность виброизоляционной обуви нормируется на частотах 16; 31,5; 63 Гц и должна составлять 7…10 Дб. Требование к изготовлению виброизоляционной обуви и методы определения защитной эффективности приведены в Гост 12.4.024-76* «Обувь специальная виброзащитная. Общие технические требования».
К организационно-профилактическим мероприятиям по снижению вредного влияния вибрации следует отнести рациональный режим труда и отдыха и применение лечебно-профилактических мер. При работе с инструментом, имеющим колебания до 1200 в минуту, рабочим необходим 10 –минутный перерыв после каждого часа работы; при работе с инструментом, имеющим 4000 и более колебаний в минуту, необходим получасовой перерыв после каждого часа работы.

Рис. Виброгасящая обувь:
а – амплитуда колебаний подошвы;
б – амплитуда колебаний верхней поверхности стельки
1 – общий вид; 2 – виброгасящая вкладная стелька.
Не следует допускать воздействия вибрации в течение более 65% рабочего времени. Согласно санитарных норм запрещается работа с пневматическим инструментом при температуре ниже 160С, влажности 40-60% и скорости воздуха более 0,3 м /с.
При работе с виброинструментом для предупреждения заболеваний масса удерживаемого в руках инструмента не должна превышать 10 кг, а сила нажима работающих на вибрирующее оборудование не должна превышать 200 Н.