Системы диагностики ПК
министерство образования РФ
Таганрогский радиотехнический университет
Реферат
по курсу «основы эксплуатации ЭВМ»
на тему: ««сИСТЕМЫ ДИАГНОСТИКИ МИКРО эВМ И пК»»
Выполнил: Суспицын Д.Ю
Проверил: Евтеев Г.Н.
Таганрог 2001
Содержание:
1. ХАРАКТЕРИСТИКИ СИСТЕМ ДИАГНОСТИРОВАНИЯ 3
2. МЕТОД ДВУХЭТАПНОГО ДИАГНОСТИРОВАНИЯ 8
3. МЕТОД ПОСЛЕДОВАТЕЛЬНОГО СКАНИРОВАНИЯ. 13
4. МЕТОД МИКРОДИАГНОСТИРОВАНИЯ. 15
5. МЕТОД ЭТАЛОННЫХ СОСТОЯНИЙ 18
6. МЕТОД ДИАГНОСТИРОВАНИЯ С ПОМОЩЬЮ СХЕМ ВСТРОЕННОГО КОНТРОЛЯ. 20
7. МЕТОД ДИАГНОСТИРОВАНИЯ С ПОМОЩЬЮ САМОПРОВЕРЯЕМОГО ДУБЛИРОВАНИЯ. 22
8. МЕТОД ДИАГНОСТИРОВАНИЯ ПО РЕЗУЛЬТАТАМ РЕГИСТРАЦИИ СОСТОЯНИЯ. 22
Список использованной литературы: 24
1. ХАРАКТЕРИСТИКИ СИСТЕМ ДИАГНОСТИРОВАНИЯ
Быстро увеличивается число ЭВМ» находящихся в эксплуатации, и возрастает их сложность. В результате растет численность обслуживающего персонала и повышаются требования к его квалификации. Увеличение надежности машин приводит к тому, что поиск неисправных элементов и ремонт их производятся сравнительно редко. Поэтому наряду с повышением надежности машин наблюдается тенденция потери эксплуатационным персоналом определенных навыков отыскания и устранения неисправностей. Та-ким образом, возникает проблема обслуживания непрерывно усложняющихся вычислительных машин и систем в условиях, когда не хватает персонала высокой квалификации.
Современная вычислительная техника решает эту проблему путем создания систем автоматического диагиостирования неисправностей, которые призваны облегчать обслуживание и ускорить ремонт машин.
Система автоматического диагностирования представляет собой комплекс программных, микропрограммных и аппаратурных средств и справочной документации (диагностических справочников, инструкций, тестов).
Введем некоторые определения, которые потребуются в дальнейшем при описании различите систем автоматического диагностирования.
Различают системы тестового и функционального диагностирования. В системах тестового диагностирования воздействия на диагностируемое устройство (ДУ) поступают от средств диагностирования (СД). В системах функционального диагностирования воздействия, поступающие на ДУ, заданы рабочим алгоритмом функционирования. Обобщенные схемы систем тестового и функционального диагностирования показаны на рис. 1.
Классификация средств диагностирования приведена на рис. 2.

Рис.1. Обобщенные схемы систем тестового (а) и функционального (б) диагностирования

Рис. 2. Классификация средств автоматического диагиостирования
В средних и больших ЭВМ используются, как правило, встроенные (специализированные) средства диагностирования. В микро-ЭВМ чаще используются встроенные средства подачи тестовых воздействий в внешние универсальные средства (например, сигнгатурные анализаторы) для снятия ответов и анализа результатов.
Процесс диагностирования состоит из определенных частей (элементарных проверок), каждая из которых характеризуется подаваемым на устройство тестовым или рабочим воздействием я снимаемым с устройства ответом. Получаемое значение ответа (значения сигналов в контрольных точках) называется результатом злементарной проверки.
Объектом элементарной проверки назовем ту часть аппаратуры диагностируемого устройства на проверку которой рассчитано тестовое или рабочее воздействие элементарной проверки.
Совокупность элементарных проверок, их последовательность и правила обработки результатов определяют алгоритм диагностирования.
А
лгоритм
диагностирования называется безусловным.
если он задает одну фиксированную
последовательность реализации
элементарных проверок.
Рис3. Процесс диагностирова- Рис.4 Структурная схема встроен-
ния по принципу раскрутки. ных средств тестового диагности-
рования.
Алгоритм диагностирования называется условным, если он задает несколько различных последовательностей реализации элементарных проверок.
Средства диагностирования позволяют ЭВМ самостоятельно локализовать неисправность при условии исправности диагностического ядра, т. е. той части аппаратуры, которая должна быть заведомо работоспособной до начала процесса диагностирования.
При диагностировании ЭВМ наиболее широкое распространение получил принцип раскрутки, или принцип расширяющихся областей, заключающийся в том, что на каждом wane диагностирования ядро и аппаратура уже проверенных исправных областей устройства представляют собой средства тестового диагностирования, а аппаратура очередной проверяемой области является объектом диагностирования.
Процесс диагностирования по принципу раскрутки, или расширяющихся областей, показан на рис. 3. Диагностическое ядро проверяет аппаратуру первой области, затем проверяется аппаратура второй области с использованием ядра и уже проверенной первой области и т.д.
Диагностическое ядро, или встроенные средства тестового диагностирования (СТД), выполняет следующие функции:
загрузку диагностической информации;
подачу тестовых воздействий на вход проверяемого блока;
опрос ответов с выхода проверяемого блока;
сравнение полученных ответов с ожидаемыми (эталонными);
анализ и индикацию результатов.
Для выполнения этих функций встроенные СТД в общем случае содержат устройства ввода (УВ) и накопители (Н) диагностической информации (тестовые воздействия, ожидаемые ответы, закодированные алгоритмы диагностирования), блок управления (БУ) чтением и выдачей тестовых воздействий, снятием ответа, анализом и выдачей результатов диагностирования, блок коммутации (БК), позволяющий соединить выходы диагностируемого блока с блоком сравнения, блок сравнения (БС) и устройство вывода результатов диагностирования (УВР). На рис. 4 приведена структурная схема встроенных средств тестового диагностирования.
Показанные на структурной схеме блоки и устройства могут быть частично или полностью совмещенными с аппаратурой ЭВМ. Например, в качестве устройств ввода могут использоваться внешние запоминающие устройства ЭВМ, в качестве накопителя—часть оперативной или управляющей памяти, в качестве блока управления — микропрограммное устройство управления ЭВМ, в качестве блока сравнения—имеющиеся в ЭВМ схемы сравнения, в качестве блока коммутации — средства индикации состояния аппаратуры ЭВМ, в качестве устройства вывода результатов— средства индикации пульта управления или пишущая машинка.
Как видно из структурной схемы, приведенной на рис. 4. встроенные средства диагностирования имеют практически те же блоки и устройства, что и универсальные ЭВМ. И не удивительно, что с развитием интегральной микроэлектроники и массовым выпуском недорогих микропроцессоров и микро-ЭВМ их стали использовать в качестве средств диагностирования ЭВМ. Такие специализированные процессоры, используемые в целях обслуживания и диагностирования ЭВМ, получили название сервисных процессоров (рис. 5). Благодаря своим универсальным возможностям и развитой периферии, включающей пультовый накопитель, клавиатуру, пишущую машинку и дисплей, сервисные процессоры обеспечивают комфортные условия работы и представление результатов диагностирования обслуживающему персоналу в максимально удобной форме.
Для классификации технических решений, используемых при реализации систем диагностирования, введем понятие метода диагностирования.
Метод диагностирования характеризуется объектом элементарной проверки, способом подачи воздействия и снятия ответа.
Существуют следующие методы тестового диагностирования:
двухэтапное диагностирование;
последовательное сканирование;
эталонные состояния;
микродиагностирование;
диагностирование, ориентированное на проверку сменных блоков.

Рис. 5. Структурная схема средств тестового диагностирования на базе сервисного процессора

Рис 6. Этапы проектирования систем тестового диагностирования
Методы функционального диагностирования включают в себя:
диагностирование с помощью схем встроенного контроля;
диагностирование с помощью самопроверяемого дублирования; диагностирование по регистрации состояния.
Процесс разработки систем диагностирования состоит из следующих этапов (рис. 6):
выбора метода диагностирования;
разработки аппаратурных средств диагностирования разработки диагностических тестов;
разработки диагностических справочников;
проверки качества разработанной системы диагностирования.
Для сравнения .различных систем диагностирования и оценки их качества чаще всего используются следующие показатели:
вероятность обнаружения неисправности (F);
вероятность правильного диагностирования (D). Неисправность диагностирована правильно, если неисправный блок указан в разделе диагностического справочника, соответствующем коду останова. В противном случае неисправность считается обнаруженной, но нелокализованной. Для ЭВМ с развитой системой диагностирования Обычно F>0,95, D>0,90. В том случае, когда неисправность только обнаружена, необходимы дополнительные процедуры по ее локализации. Однако благодаря тем возможностям, которые система диагностирования предоставляет обслуживающему персоналу (возможность зацикливания тестового примера для осциллографирования, эталонные значения сигналов в схемах на каждом примере, возможность останова на требуемом такте), локализация неисправности после ее обнаружения не требует больших затрат времени;
средняя продолжительность однократного диагностирования (т>д>). Величина т>д> включает в себя продолжительность выполнения вспомогательных операций диагностирования и продолжительность собственно диагностирования. Часто удобнее использовать коэффициент продолжительности диагностирования

где Т>в> — время восстановления. Коэффициент k>д> показывает, какая часть времени восстановления остаемся на восстановительные процедуры. Так, например, если т>д>= = 15 мин, а Т>в>= 60 мин, k>д>= 1—15/60=0,75;
глубина поиска дефекта (L). Величина L указывает составную часть диагностируемого устройства с точностью, до которой определяется место дефекта.
В ЭВМ за глубину поиска дефекта L принимается число предполагаемых неисправными сменных блоков (ТЭЗ), определяемое по формуле

где n>i> — число предполагаемых неисправными сменных блоков (ТЭЗ) при 1-й неисправности; N — общее число неисправностей.
В качестве показателя глубины поиска дефекта можно также использовать коэффициент глубины поиска дефекта k>г.п.д>, определяющий долю неисправностей, локализуемых с точностью до М сменных блоков (ТЭЗ), М=l, 2, 3, ..., m.
Пусть d>i>==l, если при i-й неисправности число подозреваемых сменных блоков не превышает М. В противном случае а>i>=0. Тогда (n>i><M)

Для ЭВМ с развитой системой диагностирования для M<3 обычно k>г.п.д>>0,9. Это означает, что для 90 % неисправностей число предполагаемых неисправными сменных блоков, указанных в диагностическом справочнике, не превышает трех; объем диагностического ядра h — доля той аппаратуры в общем объеме аппаратуры ЭВМ, которая должна быть заведомо исправной до начала процесса диагностирования. В качестве показателя объема диагностического ядра можно пользоваться также величиной

Для ЭВМ, использующих принцип раскрутки и метод микродиагностирования, H>0,9.
.В качестве интегрального показателя системы диагностирования можно пользоваться коэффициентом

Для приведенных в качестве примеров количественных показателей системы диагностирования интегральный коэффициент
k>и> = 0,95.0,90.0,75.0,90.0,90 = 0,51.
2. МЕТОД ДВУХЭТАПНОГО ДИАГНОСТИРОВАНИЯ
Метод двухэтапного диагностирования — это метод диагностирования, при котором объектами элементарных проверок на разных этапах диагностирования являются схемы c памятью (регистры и триггеры) и комбинационные схемы.

Рис. 7. Обобщенная схема системы диагностирования, реализующей метод двухэтапного диагностирования: ДУ — диагностируемое устройство: 1, ...,i l,..., n — регистры; KC>i>.... KС>m>—комбинационные схемы
Диагностическая информация, включающая в себя данные тестового воздействия, результат и состав контрольных точек элементарной проверки, адреса следующих элементарных проверок в алгоритме диагностирования, имеет стандартный формат, называемый тестом локализации неисправностей (ТЛН).
Обобщенная, схем а системы диагностирования, использующей метод двухэтапного диагностирования, показана на рис. 7.
Подача тестовых воздействий, снятие ответа, анализ и выдача результатов реализации алгоритма диагностирования выполняются с помощью стандартных диагностических операций «Установка», «Опрос», «Сравнение» и «Ветвление».

Рис. 8. Формат ТЛН
Стандартный формат ТЛН показан на рис. 8. Тест локализации неисправностей содержит установочную и управляющую информацию, адрес ячейки памяти, в которую записывается результат элементарной проверки, эталонный результат, адреса ТЛН, которым передается управление при совпадении и несовпадении результата с эталонным, и номер теста. Стандартные диагностические операции, последовательность которых приведена на рис. 9, могут быть реализованы аппаратурно или микропрограммно.
Диагностирование аппаратуры по этому методу выполняется в два этапа:
на первом этапе проверяются все регистры и триггеры, которые могут быть установлены с помощью операции «Установка» и опрошены по дополнительным выходам операцией «Опрос»;
на втором этапе проверяются все комбинационные схемы, а также регистры и триггеры, не имеющие непосредственной установки или опроса.
Каждая элементарная проверка, которой соответствует один ТЛН, выполняется следующим образом: c помощью операции «Установка» устанавливаются регистры и триггеры ДУ, в том числе и не проверяемые данным ТЛН, в состояние, заданное установочной информацией ТЛН (установка регистров и триггеров может выполняться по существующим или дополнительным входам). Управляющая информация задает адрес микрокоманды (из числа рабочих микрокоманд), содержащей проверяемую микрооперацию и число микрокоманд, которые необходимо выполнить, начиная с указанной. В тестах первого этапа эта -управляющая информация отсутствует, так как после установки сразу выполняется опрос.

Рис. 9 Операции, выполняемые при диагностировании по методу двухэтапного диагностирования
В тестах, предназначенных для проверки комбинационных схем, управляющая информация задает адрес микрооперации приема сигнала с выхода комбинационной схемы в выходной регистр (рис. 10).

Рис.10. Схема выполнения одного ТЛН
Управляющая информация может задавать адреса микроопераций, обеспечивающих передачу тестового воздействия на вход проверяемых средств и транспортировку результата в триггеры, имеющие опрос.
С помощью операции «Опрос» записывается состояние всех регистров и триггеров ДУ в оперативную или служебную память.
Для выполнения операции «Опрос» в аппаратуру ДУ вводятся дополнительные связи с выходов регистров и триггеров на вход блока коммутации СТД, связанного с информационным входом оперативной или служебной памяти.
С помощью операции «Сравнение я ветвление» обеспечивается сравнение ответа ДУ на тестовое воздействие с эталонной информацией. ТЛН задается адрес состояния проверяемого регистра или триггера в оперативной и служебной памяти, записываемого с помощью операции «Опрос», а также его эталонное состояние. Возможны два исхода операции «Сравнение и ветвление»— совпадение и несовпадение ответа с эталоном. Метод двухэтапного диагностирования использует, как правило, условный алгоритм диагностирования. Поэтому ТЛН содержит два адреса ветвления, задающих начальный адрес следующих ТЛН в оперативной памяти.
Для хранения ТЛН, как правило, используется магнитная лента, а для их ввода — стандартные или специальные каналы ввода.
Тесты локализации неисправностей обычно загружаются в оперативную память и подзагружаются в нее по окончании выполнения очередной группы ТЛН. Поэтому до начала диагностики по методу ТЛН проверяется оперативная память и микропрограммное управление.
При обнаружении отказа на пульте индицируется номер теста, по которому в диагностическом справочнике отыскивается неисправный сменный блок.
В качестве примера реализации метода двухэтапного диагностирования рассмотрим систему диагностирования процессора ЭВМ ЕС-1030. Для нормальной загрузки и выполнения диагностических тестов процессора ЭВМ ЕС-1030 необходима исправность одного из селекторных каналов и начальной области оперативной памяти (ОП). Поэтому вначале выполняется диагностирование ОП. Для этого имеется специальный блок, обеспечивающий проверку ОП в режимах записи и чтения нулей (единиц) тяжелого кода/обратного тяжелого кода. Неисправность ОП локализуется с точностью до адреса и бита.
Следующие стадии диагностирования, последовательность которых приведена на рис. 11, используют уже проверенную оперативную память.
На нервов стадии диагностические тесты загружаются в начальную область ОП (первые 4 Кслов) и затем выполняются с помощью диагностического оборудования. Тесты расположены на магнитной ленте в виде массивов. После выполнения тестов очередного массива в ОП загружается и выполняется следующий массив тестов. Загрузка тестов выполняется по одному из селекторных каналов в специальном режиме загрузки ТЛН.

Рис. 11. порядок диагностирования блоков и к и устройств в ЭВМ
На второй стадии диагностирования проверяется микропрограммная память процессора, которая используется на следующих стадиях диагностирования. В ней содержатся микропрограммы операций установки, опроса, сравнения и ветвления.
На третьей стадии диагностирования выполняется проверка триггеров (регистров) процессора. Эти тесты называются тестами нулевого цикла. Опрос состояния триггеров (регистров) выполняется по дополнительным линиям опроса. Триггеры (регистры) проверяются на установку в 0-1-0. Результаты проверки сравниваются с эталонными, записанными в формате теста. Место неисправности определяется по номеру теста, который обнаружив несоответствие. В диагностическом справочнике тестов нулевого цикла номеру теста соответствует конструктивный адрес и название неисправного триггера на функциональной схеме.
С помощью тестов единичного цикла проверяются комбинационные схемы. Их последовательность определяется условным алгоритмом диагностирования. Тесты комбинационных схем выполняются следующим образом: с помощью операции установки в регистре процессора, расположенном на входе проверяемой комбинационной схемы, задается состояние, соответствующее входному тестовому воздействию. Выполняется микрооперация приема выходного сигнала комбинационной схемы в регистр расположенный на выходе комбинационной; схемы; Состояние этого регистра записывается в диагностическую область ОП, а затем сравнивается с эталонным. В зависимости от исхода теста выполняется переход к следующему тесту При обнаружении неисправности индицируется .номер теста. В диагностическом справочнике тестов единичного цикла указаны не только подозреваемые ТЭЗ, но и значения сигналов на входах, промежуточных точках и выходах комбинационной схемы. Такая подробная информация дозволяет уточнить локализацию до монтажных связей или микросхем. На следующих стадиях диагностирования, использующих другие методы диагностирования, проверяются мультиплексный и селекторный каналы, а также функциональные средства ЭВМ с помощью тест-секций диагностического монитора.
3. МЕТОД ПОСЛЕДОВАТЕЛЬНОГО СКАНИРОВАНИЯ.
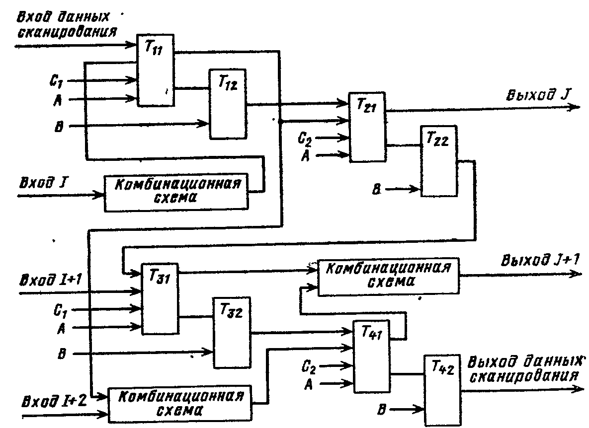
Метод последовательного сканирования является вариантом метода двухэтапного диагностирования, при котором схемы с памятью (регистры и триггеры) в режиме диагностирования превращаются в один сдвигающий регистр с возможностью установки его в произвольное состояние и опроса с помощью простой операции сдвига.
Обобщенная схема системы диагностирования, использующей метод последовательного сканирования, показана на рис. 12,

Рис. 12. Обобщенная схема системы диагностирования, реализующей метод последовательного сканирования:
1,...,i, l,... n — основная часть регистра; 1', ...i', l',..., n'—дополнительная часть регистра (триггеры образования сдвигового регистра)
Этот метод получил распространение в ЭВМ на больших интегральных микросхемах (БИС). Вместе с очевидными достоинствами БИС их использование затрудняет проблему диагностирования ЭВМ в связи с ограниченными возможностями доступа к схемам, расположенным внутри БИС. При диагностировании ЭВМ, построенной на БИС,

Рис. 13. Основной триггер и триггер сканирования
возникает проблема проверки БИС, содержащих комбинационные схемы и схемы с памятью при небольшом числе дополнительных входов и выходов.
Для превращения всех триггеров БИС в один сдвигающий регистр каждому триггеру логической схемы придается дополнительный триггер типа D, причем каждая пара триггеров, основной и дополнительный, соединяется таким образом, что образует один разряд сдвигающего регистра.
Первый триггер каждой пары, или триггер данных (рис. 8.13), используется как для выполнения основных функций при работе машины, так и для тестирования. Поэтому он имеет два входа данных: рабочий и сканирования, а также два входа синхронизации: от процессора и от средств тестового диагностирования.
Второй триггер пары, или триггер сканирования, используется главным образом для тестирования. Его вход постоянно соединен с выходом первого триггера, а синхросигнал поступает только от средств тестового диагностирования.
В режиме диагностирования состояние первого триггера передается второму триггеру по сигналам СТД, и таким образом могут быть опрошены СТД, которые посылают синхросигнал на второй триггер и путем сдвига выдают его информацию через выходной контакт данных сканирования.
Эти триггерные пары соединяются последовательно в несколько сдвигающих регистров. Выход данных одной пары триггеров соединяется с входами данных сканирования другой пары и т. д. (рис. 14).
Средства тестового диагностирования могут подавать синхросигналы на все триггеры сканирования и путем сдвига выдавать их содержимое в виде последовательности бит до одной линии. Поскольку каждый бит в этой последовательности соответствует своей триггерной паре, можно определить состояние каждого триггера логической схемы.

Рис. 14. Соединение триггеров схемы в режиме диагностирования.
Средства тестового диагностирования могут задавать любое состояние триггеров, подавая на линию входа данных сканирования требуемую установочную последовательность.
Диагностирование выполняется в два этапа.
Первый этап. Диагностирование схем с памятью (регистров и триггеров). Выполняется следующим образом:
устанавливается режим сдвигающего регистра;
осуществляется проверка сдвигающего регистра и, таким образом, всех схем с памятью путем последовательного сдвига по нему нулей и единиц.
Второй этап. Диагностирование комбинационных схем.
Выполняется следующим образом:
устанавливается режим сдвигающего регистра;
входной регистр комбинационной схемы устанавливается в состояние, соответствующее тестовому воздействию, путем подач последовательного потока данных на вход сдвигающего регистра:
выполняется переход в нормальный режим;
выполняется микрооперация передачи сигналов с выходов комбинационной схемы;
выполняется опрос состояния выходного регистра комбинационной схемы (результата) путем последовательного сдвига его содержимого в аппаратуру тестового диагностирования;
осуществляется сравнение результата с эталоном.
4. МЕТОД МИКРОДИАГНОСТИРОВАНИЯ.
Совокупность процедур, диагностических микропрограмм и специальных схем, обеспечивающих транспортировку тестового набора на вход проверяемого блока, выполнение проверяемой микрооперации, транспортировку результатов проверки к схемам анализа, сравнение с эталоном и ветвление по результатам сравнения, называется микродиагностикой.
Различают два типа микродиагностики: встроенную и загружаемую.
В случае встроенной микродиагностики диагностические микропрограммы размещаются в постоянной микропрограммной памяти ЭВМ, а при загружаемой — на внешнем носителе данных.
При хранении в постоянной микропрограммной памяти микродиагностика представляет собой обычную микропрограмму, использующую стандартный набор микроопераций. Однако вследствие ограниченного объема постоянной микропрограммной памяти на объем микродиагностики накладываются довольно жесткие ограничения, в результате чего приходится использовать различные способы сжатия информации. Для этой цели иногда используют специальные микрокоманды генерации тестовых наборов. Это позволяет уменьшить требуемый для тестовых констант объем микропрограммной памяти.
Как правило, при хранении микродиагностики в постоянной микропрограммной памяти для транспортировки результатов проверки к месту сравнения с эталонов используются стандартные микрооперации, а для сравнения — такие схемы, как сумматор, схемы контроля или анализа условий. В качестве микропрограммы анализа используется также микропрограмма опроса состояния схем контроля ЭВМ.
Встроенная микродиагностика применяется обычно в малых ЭВМ с небольшим объемом микродиагностики.

Рис. 15. Варианты загрузки и выполнения загружаемой микродиагностики.
Для средних и больших ЭВМ при большом объеме микродиагностики применяется загружаемая микродиагностика. Существует несколько вариантов загрузки и выполнения загружаемой микродиагностики:
внешний носитель данных — регистр микрокоманд (РгМк) (рис. 15,а);
внешний носитель данных — оперативная память (ОП)—регистр микрокоманд (рис. 15,б);
внешний носитель данных — загружаемая управляющая память (ЗУП) микрокоманд—регистр микрокоманд (рис. 15, в).
В качестве устройства ввода микродиагностики чаще всего используются так называемые пультовые накопите» ли на гибких магнитных дисках или кассетных магнитных лентах.
Первый вариант загрузки скорее имитирует «быстрый» тактовый режим, чем выполнение микрокоманд с реальным быстродействием, так как накопление и выполнение микрокоманд определяются скоростью ввода данных с внешнего носителя. Микрокоманды выполняются по мере их поступления из внешнего носителя данных.
Второй вариант загрузки предусматривает возможность хранения и выполнения микрокоманд из основной памяти ЭВМ, т. е. совместимость форматов оперативной" и управляющей памятей. В этом варианте должен быть предусмотрен специальный вход в регистр микрокоманд из оперативной памяти.
Третий вариант загрузки обеспечивает загрузку в управляющую память микродиагностики определенного объема и выполнение ее. с реальным быстродействием. По окончании выполнения загружается следующая порция микродиагностики.
Существуют и другие варианты загрузки и выполнения, несущественно отличающиеся от приведенных выше. Возможно также использование разных вариантов загрузки и выполнения на разных этапах диагностирования ЭВМ.
Для средних и больших ЭВМ с хранением микродиагностики на внешних носителях данных, для опроса состояния и сравнения его с эталоном используется дополнительная аппаратура. В последнее время эти функции все больше передаются так называемым сервисным процессорам, имеющим универсальные возможности по» управлению пультовыми накопителями, опросу состояния ЭВМ, сравнению результатов с эталонными и индикации списка возможных неисправностей. При микродиагностировании с использованием дополнительной аппаратуры средства тестового диагностирования выполняют специальные диагностические операции, такие как запуск микрокоманд, опрос состояния, сравнение с эталоном и сообщение о неисправности. Процедура выполнения микродиагностики обычно такова: средства тестового диагностирования загружают в ЭВМ микрокоманды и дают приказ на их выполнение; ЭВМ отрабатывает микрокоманды, после чего средства тестового диагностирования производят опрос состояния, сравнение с эталоном и сообщение о неисправности. Обычно при. микродиагностике тестовые наборы являются частью микрокоманды (поле констант). Глубина поиска дефекта при микродиагностике зависит от числя схем, для которых, предусмотрена возможность непосредственного опроса состояния. В связи с этим в современных ЭВМ имеется возможность непосредственного опроса состояния практически всех триггеров и регистров ЭВМ.
Регистр микрокоманд устанавливается средствами тестового диагностирования с помощью диагностической операции «Загрузка РгМк».
Состояние регистров поступает в СТД, где выполняется диагностическая операция сравнения с эталоном.
При несовпадении результата с эталоном происходит останов с индикацией номера останова.
5. МЕТОД ЭТАЛОННЫХ СОСТОЯНИЙ
Метод эталонных состояний характеризуется тем, что объектом элементарных проверок является аппаратура, используемая на одном или нескольких тактах выполнения рабочего алгоритма функционирования, реализуемого в режиме диагностирования.

Рис. 16. Обобщенна» схема системы диагностирования, реализующей метод эталонных состояний
В качестве результата элементарной проверки используется состояние аппаратурных средств диагностируемого устройства.
Процесс диагностирования по методу эталонных состояний, заключается в потактовом выполнении рабочих алгоритмов ДУ, опросе состояния ДУ на каждом такте, сравнении состояния ДУ с эталонным и ветвлении в зависимости от исхода сравнения к выполнению следующего такта или сообщению о неисправности.
При реализации метода эталонных состояний средства тестового диагностирования представляют собой совокупность аппаратурных и программных средств.
Обобщенная схема системы диагностирования, реализующей метод эталонных состояний, приведена на рис. 16.
При представлении алгоритмов операций ЭВМ в виде графов каждому пути i из множества путей на графе можно поставить в соответствие последовательность состояний ЭВМ на каждом такте: S>i0>, S>i1>,..., S>il>, ... ,S>in>,
Рис. 17. Процедура диагностирования по методу эталонных состоя6ний: j- номер такта ветви алгоритма; I – номер ветви алгоритма
Рис. 18. Схема взаимодействия диагностирующего и диагностируемого устройств при диагностированию по методу эталонных состояний.
где п—число вершин граф-схемы алгоритма, соответствующее числу тактов выполнения операции с конкретными условиями. Эталонной последовательностью состояний считается последовательность состояний S>il>, l=0, 1,...,п, имеющих место при отсутствии ошибок.
Проверка выполняется путем сравнения реального состояния ЭВМ S>il> на l-м такте i-го пути с эталонным Sэ>il>.
Несовпадение S>il> и Sэ>il> является признаком неисправности.
Процедура диагностирования по методу эталонных состояний приведена на рис. 17.
Для реализации метода эталонных состояний средства тестового диагностирования должны иметь:
средства управления потактовой работой ЭВМ;
средства опроса состояния ЭВМ;
средства сравнения состояния с эталонным и средства сообщения о неисправности.
Обычно этот метод используется в тех случаях, когда средства тестового диагностирования имеют достаточно большие возможности. Например, этот метод может использоваться при диагностировании каналов с помощью процессора. Наибольшее применение этот метод находит в устройствах со схемной интерпретацией алгоритмов функционирования.
В силу неопределенности состояний некоторых триггеров каждому состоянию S>il> может соответствовать некоторое подмножество состояний S>ilk>, где k=0,1,..., т, т — множество неопределенных состояний. Поэтому обычно до сравнения с эталоном выполняется маскирование состояний. Маска снимает неопределенные состояния .
Обычно управление потактовой работой устройства и опрос состояния устройства выполняются с помощью команды ДИАГНОСТИКА, а сравнение с эталоном, маскирование и сообщение о неисправности—с помощью команд на программном уровне.
Команда ДИАГНОСТИКА адресует управляющее слово в ОП, которое поступает на вход диагностируемого устройства, как показано на рис. 8.18. Сочетание бит управляющего слова обеспечивает продвижение тактов, а также опрос состояния и запись его в ОП.
Остальные операции, такие как маскирование состояния с целью исключения неопределенных бит, сравнение его с эталонным состоянием и сообщение о неисправности, выполняются программой диагностирующего устройства.
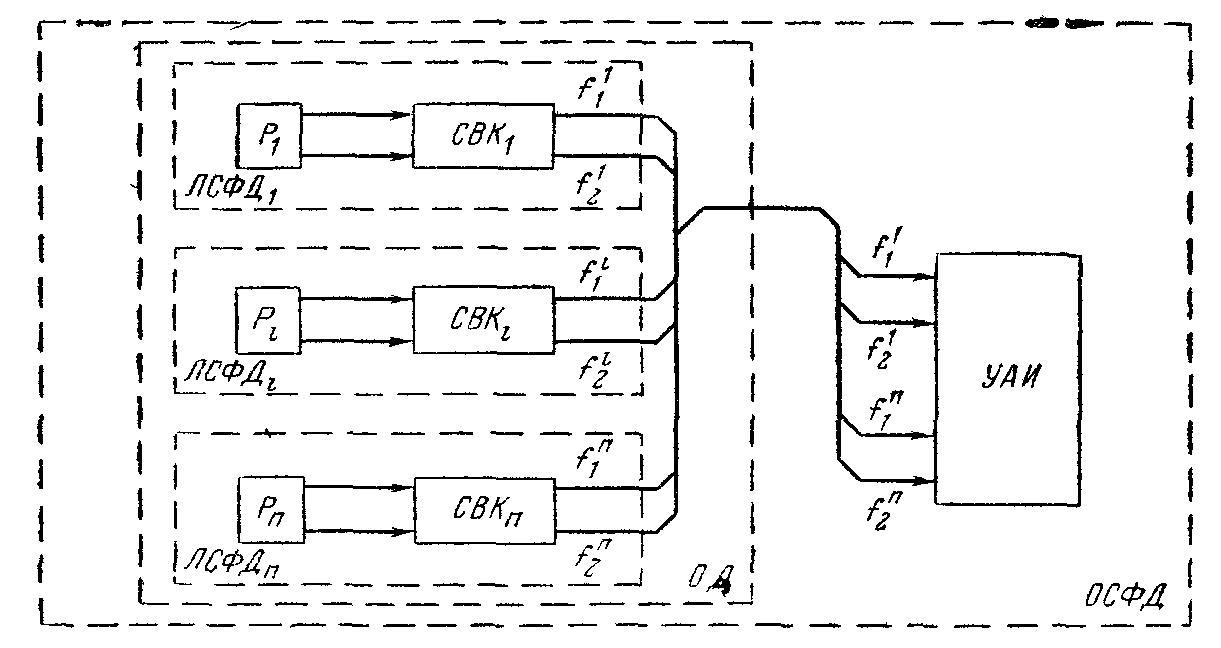
6. МЕТОД ДИАГНОСТИРОВАНИЯ С ПОМОЩЬЮ СХЕМ ВСТРОЕННОГО КОНТРОЛЯ.
Этот метод характеризуется тем, что объектом элементарной проверки является сменный блок, а средствами функционального диагностирования являются схемы встроенного контроля (СВК), конструктивно совмещенные с каждым) сменным блоком.
На рис. 19 показаны диагностируемое устройство и схемы встроенного контроля, образующие самопроверяемый сменный блок. Наибольшая вероятность правильного диагностирования достигается при полной проверяемости ДУ и самопроверяемости СВК.
Поэтому здесь приводится только определение полной проверяемости ДУ.

Рис. 19 Самопроверяемый сменный блок.
Диагностируемое устройство называется полностью проверяемым, если любая его неисправность заданного класса обнаруживается СВК в момент ее первого проявления на выходных устройствах .

Рис 20 Структура системы диагностирования, использующей схемы встроенного контроля
Требование полной проверяемости. ДУ и самопроверяемости СВК приводит к значительным аппаратурным затратам, что ограничивает применяемость данного метода устройствами, реализованными в основном на больших интегральных микросхемах.
На рис. 20 приведена структура системы функционального диагностирования. Локальными средствами функционального диагностирования ЛСФД являются самопроверяемые СВК с парами выходов fi>1>, fi>2>, приданные каждому сменному блоку Б>i> общим средством функционального диагностирования ОСФД—устройство анализа и индикации УАИ. Назначением последнего является синхронизация сигналов ошибок от сменных блоков с учетом их связей, предотвращение возможной неоднозначности индикации из-за распространения сигналов ошибок и однозначная индикация неисправного блока.
Достоинством метода диагностирования с помощью схем встроенного контроля является практически мгновенное диагностирование сбоев и отказов, сокращение затрат на локализацию перемежающихся отказов и на разработку диагностических тестов.
7. МЕТОД ДИАГНОСТИРОВАНИЯ С ПОМОЩЬЮ САМОПРОВЕРЯЕМОГО ДУБЛИРОВАНИЯ.
Этот метод аналогичен предыдущему, так как он тоже основан на принципе самопроверяемости сменных блоков. Разница состоит в том, что самопроверяемость сменных блоков достигается введением в него дублирующей аппа-

Рис. 21 Структурная схема самопроверяемого блока: Cж>1>,.., Cж>k>>->>l> — схемы сжатия.
ратуры и самопроверяемых схем сжатия, обеспечивающих получение сводного сигнала ошибки, свидетельствующего о неисправности сменного блока. На рис. 21 приведена структурная схема самопроверяемого блока. Этот способ обеспечения самопроверяемости приводит к большим, дополнительным затратам аппаратуры, что оправдывает его применение в больших интегральных .микросхемах. При реализации ЭВМ на больших и сверхбольших интегральных микросхемах последние часто используются неполностью, так как ограничивающим фактором является не число вентилей БИС, а число выводов. Поэтому введение в БИС дублирующих схем, обеспечивающих ее самопроверяемость, позволяет более полно использовать возможность БИС без значительного увеличения объема аппаратуры .
8. МЕТОД ДИАГНОСТИРОВАНИЯ ПО РЕЗУЛЬТАТАМ РЕГИСТРАЦИИ СОСТОЯНИЯ.
Этот метод диагностирования характеризуется тем, что неисправность или сбой локализуется по состоянию ЭВМ, зарегистрированному в .момент проявления ошибки и содержащему информацию о состоянии схем контроля, регистров ЭВМ, адресов микрокоманд, предшествующих моменту появления ошибки, и другую информацию. Место возникновения ошибки определяется по зарегистрированному состоянию путем прослеживания трассы ошибки от места ее проявления до места ее возникновения. Диагноз выполняется с помощью программных средств диагностирования самой ЭВМ, если Диагностируется место возникновения сбоя, либо другой ЭВМ, если диагностируется отказ. В ЭВМ, имеющих сервисные процессоры, диагноз выполняется с помощью микропрограмм сервисного процессора.
Для пояснения метода диагностирования по регистрации состояния рассмотрим схему, показанную на рис, 22. Эта схема размещена в трех разных блоках б>1>-б>з>. Выходы регистров Pгl — РгЗ. триггеров ошибок Тг0ш1 — ТгОшЗ, а также состояние регистра микрокоманд (на схеме не показав) поступают на регистрацию состояния.
Предположим, что. в момент возникновения ошибки зарегистрировано следующее состояние:
Тг0ш1 =1; Pгl (0—7, К) = 111011111;
Тг0ш2=0; Рг2 (0—7, К) =00000000 1;
ТгОш3=0;РгЗ(0—7,К)=11111111 1.
Регистр микрокоманд содержит код микрооперации Рг1:=РгЗ.

Рис. 22. Пример к методу диагностирования по регистрации состояния
После анализа Тг0ш1 программные или микропрограммные средства диагностирования анализируют состояние Рг1 с целью обнаружения в нем несоответствия информационных и контрольных бит. Поскольку такое несоответствие обнаружено, выполняется анализ регистра передатчика. В конкретном случае это — регистр РгЗ, так как регистр микрокоманд в момент сбоя содержал код микрооперации Рг1:=РгЗ. Анализ содержимого регистра РгЗ показывает отсутствие в нем ошибок. В результате этого делается заключение о том, что наиболее вероятной причиной ошибки является сменный блок Б>1> или связи между блоком Б>3> и Б>1>.
Список использованной литературы:
Б.М. Каган, И.Б. Мкртумян «Основы эксплуатации ЭВМ»
А.П. Волков «К вопросу об автоматической генерации диагностических средств»
В.А. Орлов, Д.М. Бурляев «Эксплуатация и ремонт ЭВМ. Организация работы ВЦ»